JP2007155273A - Filter cleaning device - Google Patents

Filter cleaning device Download PDF

Info

Publication number
JP2007155273A
JP2007155273A JP2005354174A JP2005354174A JP2007155273A JP 2007155273 A JP2007155273 A JP 2007155273A JP 2005354174 A JP2005354174 A JP 2005354174A JP 2005354174 A JP2005354174 A JP 2005354174A JP 2007155273 A JP2007155273 A JP 2007155273A
Authority
JP
Japan
Prior art keywords
filter
dust
box
suction
air
Prior art date
Legal status (The legal status is an assumption and is not a legal conclusion. Google has not performed a legal analysis and makes no representation as to the accuracy of the status listed.)
Pending
Application number
JP2005354174A
Other languages
Japanese (ja)
Inventor
Hiroyuki Iida
弘之 飯田
Current Assignee (The listed assignees may be inaccurate. Google has not performed a legal analysis and makes no representation or warranty as to the accuracy of the list.)
Sharp Corp
Original Assignee
Sharp Corp
Priority date (The priority date is an assumption and is not a legal conclusion. Google has not performed a legal analysis and makes no representation as to the accuracy of the date listed.)
Filing date
Publication date
Application filed by Sharp Corp filed Critical Sharp Corp
Priority to JP2005354174A priority Critical patent/JP2007155273A/en
Publication of JP2007155273A publication Critical patent/JP2007155273A/en
Pending legal-status Critical Current

Links

Images

Landscapes

  • Air Filters, Heat-Exchange Apparatuses, And Housings Of Air-Conditioning Units (AREA)
  • Filtering Of Dispersed Particles In Gases (AREA)

Abstract

<P>PROBLEM TO BE SOLVED: To provide a filter cleaning device capable of easily discarding dust generated by filter cleaning without discharging the dust to the outside. <P>SOLUTION: The filter cleaning device is for removing dust in the air and is equipped with dust removal boxes 10, 11 for removing and capturing dust A adhered to a filter 4, and a suction fan 12 for sucking air inside the dust removal boxes 10, 11. A dust collecting means 32 is interposed in a suction passage 14a between the dust removal boxes 10, 11 and the suction fan 12. <P>COPYRIGHT: (C)2007,JPO&INPIT

Description

本発明は、空気中の塵埃を除去するフィルターを清掃するフィルター清掃装置に関するものである。   The present invention relates to a filter cleaning device that cleans a filter that removes dust in the air.

従来、空気調和機のエアフィルターを清掃する清掃装置としては、特許文献1に示すように、塵埃を除去するブラシを備えたダストボックスをフィルターに接触するように配設し、フィルターを移動させることによりフィルターを清掃し、塵埃をダストボックス内に貯留するものが知られている。   Conventionally, as a cleaning device for cleaning an air filter of an air conditioner, as shown in Patent Document 1, a dust box provided with a brush for removing dust is disposed so as to contact the filter, and the filter is moved. What cleans a filter and stores dust in a dust box is known.

また、特許文献2に示すように、フィルターに付着した塵埃を吸入する移動可能な吸入ノズルを設け、この吸入ノズルに吸込みダクトを設け、さらに吸込みダクトに連結する吸引排気装置と吸込んだ塵埃を室外に排気する排気ダクトを備えたフィルター装置も知られている。
特開2005−188808号公報 特開2004−283703号公報
Moreover, as shown in Patent Document 2, a movable suction nozzle for sucking dust adhering to the filter is provided, a suction duct is provided in the suction nozzle, and a suction / exhaust device connected to the suction duct and the sucked dust are outdoors. A filter device having an exhaust duct for exhausting air is also known.
JP 2005-188808 A JP 2004-283703 A

しかしながら、上記特許文献1記載の空気調和機においては、ダストボックスに溜まった塵埃を廃棄するためには、ダストボックスごと空気調和機から取り外して掃除機でダストボックス内を吸引することが必要とされ、手間がかかって煩わしいといった問題が生じていた。一方、特許文献2記載のフィルター装置においては、塵埃を含む空気を屋外に排出するため、周囲の環境を損なうといった問題が生じていた。   However, in the air conditioner described in Patent Document 1, in order to discard the dust accumulated in the dust box, it is necessary to remove the dust box from the air conditioner and suck the inside of the dust box with a vacuum cleaner. It was troublesome. On the other hand, in the filter device described in Patent Document 2, since air containing dust is discharged outdoors, there is a problem that the surrounding environment is damaged.

そこで、本発明においては、フィルター清掃によって生じる塵埃を屋外に排出することなく、容易に廃棄可能なフィルター清掃装置を提供することを目的とする。   Therefore, an object of the present invention is to provide a filter cleaning device that can be easily discarded without discharging dust generated by filter cleaning outdoors.

上記目的を達成するため、本発明では、空気中の塵埃を除去するフィルターの清掃装置であって、フィルターに付着した塵埃を除去して捕集する塵埃除去ボックスと、該塵埃除去ボックス内の空気を吸引する吸引手段とを備え、塵埃除去ボックスと吸引手段との間の吸引路に集塵手段を介在させたことを特徴とする。   In order to achieve the above object, according to the present invention, there is provided a filter cleaning device for removing dust in the air, the dust removing box for removing and collecting the dust attached to the filter, and the air in the dust removing box. And a suction means for sucking the dust, and a dust collecting means is interposed in a suction path between the dust removal box and the suction means.

上記構成によれば、フィルターから除去された塵埃を屋外に排出することなく、集塵手段によって捕集することが可能となる。また、フィルター全体に広範に付着した塵埃を集塵手段に集約することで塵埃の廃棄を容易に行なうことができる。   According to the above configuration, the dust removed from the filter can be collected by the dust collecting means without being discharged outdoors. In addition, it is possible to easily dispose of the dust by collecting the dust adhering to the entire filter to the dust collecting means.

集塵手段としては、吸引路に配置され、空気中の塵埃を除去する集塵フィルター部と、該集塵フィルター部に付着した塵埃を払い落とすクリーニング部材と、集塵フィルター部の下方に設置され、集塵フィルター部から落下した塵埃を受ける集塵ボックスとを備えた構成とすることができる。これにより、集塵フィルター部に付着した塵埃を引き剥がすことが可能であるとともに、引き剥がした後の塵埃を重力を利用して集塵ボックス一箇所に集めることができ、より容易に塵埃を廃棄することが可能となる。   The dust collecting means is disposed in the suction path, and is installed below the dust collecting filter part, a dust collecting filter part for removing dust in the air, a cleaning member for removing dust adhering to the dust collecting filter part, and the dust collecting filter part. A dust collection box that receives dust that has fallen from the dust collection filter section can be provided. As a result, it is possible to remove the dust adhering to the dust collection filter section, and it is possible to collect the dust after peeling off in one place of the dust collection box using gravity, which makes it easier to discard the dust. It becomes possible to do.

上記構成において、集塵フィルター部は、清掃対象のフィルターよりも目が細かく、かつフィルター面積が小さくなるように形成することにより、吸引手段を大型化することなく塵埃を確実に集塵手段で捕集することが可能となる。さらに、フィルター面積を小さくすることで集塵フィルター部に付着した塵埃の払い落しを容易に行なうことができる。   In the above configuration, the dust collection filter section is formed so that the eyes are smaller than the filter to be cleaned and the filter area is small, so that the dust collection means can reliably capture dust without increasing the size of the suction means. It becomes possible to collect. Furthermore, the dust attached to the dust collecting filter portion can be easily removed by reducing the filter area.

集塵フィルター部としては、クリーニング部材との摩擦に強いものであればよく、例えば、メッシュフィルターを挙げることができる。クリーニング部材としては、集塵フィルター部の表面に接触するクリーニングブレードと、該クリーニングブレードを前記集塵フィルター部に対して相対的に移動させる移動手段とを備えた構成とすることができる。クリーニングブレードとしては、ゴムブレードやブラシを用いることができる。   The dust collection filter portion may be any member that is resistant to friction with the cleaning member, and examples thereof include a mesh filter. The cleaning member may include a cleaning blade that comes into contact with the surface of the dust collection filter portion, and a moving unit that moves the cleaning blade relative to the dust collection filter portion. A rubber blade or a brush can be used as the cleaning blade.

移動手段は、集塵フィルター部を固定した状態でクリーニングブレードを移動させるものであってもよいし、クリーニングブレードを固定した状態で集塵フィルター部を移動させるものであってもよい。クリーニングブレードを移動させる場合には、例えば、クリーニングブレード中央を回転中心としてクリーニングブレードを回転させてもよいが、クリーニングブレードをワイパ装置のワイパアームに取り付けて往復動させれば、容易に集塵フィルター部の塵埃を払い落すことが可能となる。   The moving means may move the cleaning blade with the dust collection filter portion fixed, or may move the dust collection filter portion with the cleaning blade fixed. When moving the cleaning blade, for example, the cleaning blade may be rotated about the center of the cleaning blade, but if the cleaning blade is attached to the wiper arm of the wiper device and reciprocated, the dust collecting filter section can be easily moved. It becomes possible to remove dust.

また、集塵フィルター部を移動させる場合には、例えば、集塵フィルター部として、長尺のメッシュフィルターを使用し、これを間隔を隔てて平行に設置された2本のロールに掛渡し、長手方向両端部をそれぞれロールに巻き付けてフィルターを張設する。そして、フィルター表面にクリーニングブレードを接触させた状態で固定し、2本のロールを移動手段として同期回転させてフィルターを一方向に繰り出すことでフィルター表面に付着した塵埃を払い落すことが可能となる。   Moreover, when moving a dust collection filter part, for example, a long mesh filter is used as a dust collection filter part, and this is passed over two rolls installed in parallel at a distance, Each end of the direction is wound around a roll and the filter is stretched. Then, the cleaning blade is fixed in contact with the filter surface, and the two rolls are synchronously rotated to move the filter in one direction so that dust attached to the filter surface can be removed. .

また、集塵ボックスに帯電防止加工を施せば、塵埃が集塵ボックスに残ることなく容易に廃棄できる点で好ましい。帯電防止加工としては、例えば、集塵ボックスが合成樹脂製の場合、樹脂表面を過マンガン酸カリウム等の酸化剤で酸化分解して表面に親水性基を生成させたり、樹脂原料に帯電防止剤を混合したり、あるいは成形後のプラスチック表面に帯電防止剤を塗布する方法を採用することが可能である。   In addition, it is preferable to apply an antistatic process to the dust collection box because dust can be easily discarded without remaining in the dust collection box. As antistatic processing, for example, when the dust collection box is made of synthetic resin, the resin surface is oxidatively decomposed with an oxidizing agent such as potassium permanganate to generate hydrophilic groups on the surface, or an antistatic agent is used on the resin raw material. Or a method of applying an antistatic agent to the molded plastic surface can be employed.

本発明で使用される塵埃除去ボックスとしては、開口を有し、フィルターに付着した塵埃を除去して前記開口から内部空間に捕集するものであればよい。具体的には、塵埃除去ボックスに吸引手段を接続し、塵埃除去ボックスの開口面をフィルター表面に接触させた状態で吸引手段を稼動させればよい。これにより、空気がフィルター裏面側から塵埃除去ボックスに向って吸込まれ、それとともに塵埃がフィルターから剥離し、塵埃除去ボックス内に捕集された後、直ちに吸引手段まで吸引される。   The dust removal box used in the present invention may have any opening as long as it has an opening, removes dust adhering to the filter, and collects it from the opening in the internal space. Specifically, the suction means may be operated in a state where the suction means is connected to the dust removal box and the opening surface of the dust removal box is in contact with the filter surface. As a result, air is sucked from the back side of the filter toward the dust removal box, and at the same time, the dust is separated from the filter, collected in the dust removal box, and immediately sucked to the suction means.

塵埃除去ボックスの別の形態としては、半割状の塵埃除去ボックス同士をその開口面が対向するように配置し、両ボックスでフィルターを挟み込むようにしたものを用いることもできる。この場合、ボックス内は密閉空間となるため、ボックス内にブラシを設置してフィルター表面をブラシで払拭することで塵埃をボックス内に捕集することができる。両ボックス内に捕集された塵埃は吸引手段で吸引すればよい。なお、吸引手段は、ブラシによるフィルター払拭と同時に稼動させることもできる。   As another form of the dust removal box, it is also possible to use a halved dust removal box disposed so that its opening faces face each other, and a filter is sandwiched between both boxes. In this case, since the inside of the box is a sealed space, dust can be collected in the box by installing a brush in the box and wiping the filter surface with the brush. Dust collected in both boxes may be sucked by suction means. The suction means can be operated simultaneously with the filter wiping with a brush.

上記半割状の塵埃除去ボックスを用いる場合、塵埃除去ボックスをフィルターを横切るように長く形成し、両ボックスをフィルターを挟んで対向配置し、ボックスのフィルター横断方向一端側に吸気口を形成し、他端側に空気を吸引する吸引手段を接続することも可能である。   When using the halved dust removal box, the dust removal box is formed long so as to cross the filter, both boxes are placed opposite to each other with the filter in between, and an air inlet is formed on one end side of the box in the filter transverse direction. It is also possible to connect a suction means for sucking air to the other end side.

上記構成によれば、塵埃除去ボックスの一端側から他端側に向けてボックス内の空間全体に流速の速い空気流を発生させることが可能となり、これによりボックス内のフィルターに付着した塵埃を効率よく除去することができる。すなわち、フィルターの側方から流速の速い空気流を当てることにより塵埃を除去することが可能となる。   According to the above configuration, it is possible to generate an air flow having a high flow velocity in the entire space in the box from one end side to the other end side of the dust removal box, thereby efficiently removing dust attached to the filter in the box. Can be removed well. That is, dust can be removed by applying an air flow having a high flow velocity from the side of the filter.

以上説明したフィルター清掃装置は、吸込口及び吹出口と、その間に介在して空気中の塵埃を除去するフィルターとを備えた空気調節装置に搭載することができる。空気調節装置としては、例えば、空気調和機、加湿機、除湿機、空気清浄機、ヒーター等を挙げることができる。   The filter cleaning device described above can be mounted on an air conditioner that includes a suction port and an air outlet and a filter that is interposed between the suction port and the air outlet to remove dust in the air. Examples of the air conditioner include an air conditioner, a humidifier, a dehumidifier, an air cleaner, and a heater.

以上のように、本発明によれば、フィルターに付着した塵埃を除去して捕集する塵埃除去ボックスと、該塵埃除去ボックス内の空気を吸引する吸引手段とを備え、塵埃除去ボックスと吸引手段との間の吸引路に集塵手段を介在させたため、塵埃を屋外に排出することなく、集塵手段によって捕集することが可能となり、また、フィルター全体に広範に付着した塵埃を集塵手段に集約することで塵埃の廃棄を容易に行なうことができる。   As described above, according to the present invention, the dust removal box that removes and collects dust attached to the filter and the suction unit that sucks the air in the dust removal box are provided, and the dust removal box and the suction unit Since the dust collecting means is interposed in the suction path between the two, the dust collecting means can collect the dust without discharging it outdoors, and the dust that has adhered to the entire filter is collected. It is possible to easily dispose of dust by concentrating on.

以下、図面に基づいて本発明の実施の形態を説明する。本実施形態においては、空気調節装置として冷暖房機能をメイン機能とするセパレート型空気調和機の室内機を用い、この室内機に本発明に係るフィルター清掃装置を搭載した場合について説明する。図1は、空気調和機の室内機の外観斜視図であり、図2は、その断面図を示す。   Hereinafter, embodiments of the present invention will be described with reference to the drawings. In the present embodiment, a description will be given of a case where a separate type air conditioner indoor unit having a cooling / heating function as a main function is used as an air conditioner, and the filter cleaning device according to the present invention is mounted on the indoor unit. FIG. 1 is an external perspective view of an indoor unit of an air conditioner, and FIG. 2 is a cross-sectional view thereof.

図1及び図2において、空気調和機の室内機本体1の上部と下部にはそれぞれ吸込口2と吹出口3とが形成されており、本体1の内部には、吸込口2から吹出口3の間に通風路が形成され、この通風路内には吸込口2側を上流側として、フィルター4、室内熱交換器5、送風ファン6がこの順に配置されている。そして、本室内機には、フィルター4を清掃するフィルター清掃装置が設けられている。   In FIG.1 and FIG.2, the suction inlet 2 and the blower outlet 3 are each formed in the upper part and the lower part of the indoor unit main body 1 of an air conditioner, and the blower outlet 3 from the suction inlet 2 is formed in the inside of the main body 1. FIG. A ventilation path is formed between the filter 4, the filter 4, the indoor heat exchanger 5, and the blower fan 6 in this order, with the suction port 2 side as the upstream side. The indoor unit is provided with a filter cleaning device for cleaning the filter 4.

吹出口3には、空気の流れの向きを上下方向に変えるルーバー9が揺動自在に取り付けられている。なお、このルーバ9は冷暖房気流の送風をOFFしたときには速やかに稼働し、図示のごとく、吹出口3を閉じた状態にする。すなわちルーバ9は、吹出口3の開閉パネルの役割も有する。   A louver 9 for changing the direction of the air flow in the vertical direction is swingably attached to the air outlet 3. Note that the louver 9 operates quickly when the cooling / heating air flow is turned off, and closes the outlet 3 as shown. That is, the louver 9 also has a role of an open / close panel of the blowout port 3.

上記構成の室内機において空気調和運転を行なうと、先ず、送風ファン6が稼動して吸込口2から室内空気が吸い込まれ、その室内空気はフィルタ4を通過して室内熱交換器5と接触する。室内熱交換器5で暖められたり、冷やされることによって調和された室内空気は吹出口3から室内に放出される。   When the air conditioning operation is performed in the indoor unit configured as described above, first, the blower fan 6 is operated to suck indoor air from the suction port 2, and the indoor air passes through the filter 4 and comes into contact with the indoor heat exchanger 5. . The indoor air conditioned by being warmed or cooled by the indoor heat exchanger 5 is discharged into the room through the outlet 3.

室内機本体1の前面部分は、前面パネル7によって開閉自在に形成されている。前面パネル7の内側にはフィルターガイド8が形成されており、図3に示すように、前面パネル7を上方に引き上げて開けることにより、これに連動してフィルターガイド8の先端が回動して前方に向き、これによりフィルター4を挿入することが可能となる。前面パネル7を閉めると、フィルターガイド8の先端も連動して下方に回動し、図2に示すように、フィルター4が室内機本体1内にセットされるようになっている。   The front portion of the indoor unit body 1 is formed to be openable and closable by a front panel 7. A filter guide 8 is formed inside the front panel 7. As shown in FIG. 3, when the front panel 7 is lifted upward and opened, the tip of the filter guide 8 rotates in conjunction with this. Oriented forward, this makes it possible to insert the filter 4. When the front panel 7 is closed, the front end of the filter guide 8 is also interlocked and rotated downward, and the filter 4 is set in the indoor unit body 1 as shown in FIG.

図2及び図4に示すように、吸込口2は、本体1上面の左右2箇所に形成されており、その下方(下流側近傍)には、各吸込口2に対応して縦長長方形に形成されたフィルター4が左右横並びに2枚配置されている。フィルター4の横方向の長さは、各吸込口2とほぼ同じに形成されている。フィルター4の縦方向の長さは、吸込口2の縦方向長さよりも長く形成され、このフィルター4下部は前面パネル7を閉じた状態でフィルターガイド8に沿って屈曲保持されている。   As shown in FIG. 2 and FIG. 4, the suction ports 2 are formed at two left and right positions on the upper surface of the main body 1, and below (in the vicinity of the downstream side) are formed in a vertically long rectangle corresponding to each suction port 2. Two filters 4 are arranged side by side. The length of the filter 4 in the horizontal direction is substantially the same as that of each suction port 2. The vertical length of the filter 4 is longer than the vertical length of the suction port 2, and the lower portion of the filter 4 is bent and held along the filter guide 8 with the front panel 7 closed.

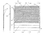
図4は室内機のパネルを取り外した状態を示す斜視図であり、図5はそこからさらにフィルター4を除いた状態を示す斜視図である。フィルター清掃装置は、フィルター4に付着した塵埃を除去するための基本構成として、塵埃除去ボックス10及び11と、塵埃除去ボックス10及び11の内部の空気を吸引する吸引手段としての吸引ファン12と、フィルター4を縦方向に往復移動させる移動手段とを備えている。そして、本実施形態においては、フィルター清掃装置として、塵埃除去ボックス10及び11と吸引ファン12とを接続する配管14内の吸引路14aに介在する集塵手段32を備えている。以下、フィルター清掃装置の基本構成について説明する。   FIG. 4 is a perspective view showing a state where the panel of the indoor unit is removed, and FIG. 5 is a perspective view showing a state where the filter 4 is further removed therefrom. The filter cleaning device has, as a basic configuration for removing dust attached to the filter 4, a dust removal box 10 and 11, and a suction fan 12 as suction means for sucking air inside the dust removal box 10 and 11. Moving means for reciprocating the filter 4 in the vertical direction. In this embodiment, the filter cleaning device includes dust collecting means 32 interposed in the suction path 14a in the pipe 14 that connects the dust removal boxes 10 and 11 and the suction fan 12. Hereinafter, the basic configuration of the filter cleaning device will be described.

塵埃除去ボックス10と塵埃除去ボックス11とは、半割状に形成されており、両者は細長い形状とされ、2枚のフィルター4を横切るように長手方向をフィルター横方向に配向させて設置されている。そして、塵埃除去ボックス10及び11は、フィルター4を挟んで両者の開口端面同士10a及び11aが対向するように間隔xをあけて配置されている。   The dust removal box 10 and the dust removal box 11 are formed in a halved shape, both of which are elongated, and are installed with the longitudinal direction oriented in the horizontal direction of the filter so as to cross the two filters 4. Yes. The dust removal boxes 10 and 11 are arranged with an interval x so that the opening end faces 10a and 11a of the two are opposed to each other with the filter 4 in between.

具体的には、図5に示すように、表側ボックス10及び裏側ボックス11の長手方向一端側には通気口15が形成され、他端側は両者の間に間隔xを保持した状態で配管14に嵌合保持されている。配管14の他端側は、吸引ファン12に接続されている。   Specifically, as shown in FIG. 5, a vent 15 is formed at one end in the longitudinal direction of the front side box 10 and the back side box 11, and the other end side is maintained with a gap x between them. Is held fitted. The other end side of the pipe 14 is connected to the suction fan 12.

すなわち、両ボックス10及び11は、互いに対向配置されることにより、一端側に通気口15が形成され、他端側に吸引ファン12が接続されたボックス体16を構成する。そして、このボックス体16で囲まれた空間が空気流路17とされる。空気流路17は、ボックス体16の通気口15を入口とし、この入口から吸引ファン12まで空気を吸引することで空気流を発生させる構成とされている。ボックス体16には、長手方向に2本のスリット状の隙間18(間隔x)が形成され、この隙間18をフィルター4が縦方向に移動可能とされている。   That is, the boxes 10 and 11 are arranged to face each other, thereby forming a box body 16 in which a vent hole 15 is formed on one end side and the suction fan 12 is connected on the other end side. A space surrounded by the box body 16 is an air flow path 17. The air flow path 17 has a vent 15 of the box body 16 as an inlet, and is configured to generate an air flow by sucking air from the inlet to the suction fan 12. Two slit-shaped gaps 18 (interval x) are formed in the box body 16 in the longitudinal direction, and the filter 4 can move in the longitudinal direction in the gap 18.

図6はフィルターを示す平面図及びそのA−A断面及びB−B断面を示す。フィルター4は、メッシュフィルター19の周囲に設けられた縦枠31a及び横枠31bからなる枠体31と、フィルターを補強するための縦リブ20及び横リブ21とを備えている。縦リブ20及び横リブ21は、合成樹脂製でそれぞれメッシュフィルター19の表面に等間隔に複数形成されている。   FIG. 6 shows a plan view of the filter and its AA and BB cross sections. The filter 4 includes a frame body 31 including a vertical frame 31a and a horizontal frame 31b provided around the mesh filter 19, and vertical ribs 20 and horizontal ribs 21 for reinforcing the filter. A plurality of the vertical ribs 20 and the horizontal ribs 21 are made of synthetic resin and formed on the surface of the mesh filter 19 at equal intervals.

横枠31b及び横リブ21がフィルター4の反りや波うちを防止するために十分な厚さで形成されているのに対して、縦枠31a及び縦リブ20は横リブ21に比べて薄く形成されている。これにより、フィルター4は、横方向の剛性を維持しつつ、縦方向には容易に屈曲可能とされている。   Whereas the horizontal frame 31b and the horizontal rib 21 are formed with a sufficient thickness to prevent warping and waviness of the filter 4, the vertical frame 31a and the vertical rib 20 are formed thinner than the horizontal rib 21. Has been. Thereby, the filter 4 can be easily bent in the vertical direction while maintaining the rigidity in the horizontal direction.

フィルター4の左右両端に形成された縦枠31aにはラック部22が設けられている。ラック部22は、後述する移動手段であるピニオン28に噛合してフィルター4を縦方向に往復移動させるものであり、帯状材を波形に成形した形状を有し、この山部がラックとして機能するようになっている。このように、ラック部22を波形に形成することで、フィルター4の縦方向の屈曲性を維持するようにしている。   Racks 22 are provided on the vertical frames 31 a formed at the left and right ends of the filter 4. The rack portion 22 meshes with a pinion 28 which is a moving means described later, and reciprocates the filter 4 in the vertical direction. The rack portion 22 has a shape obtained by forming a strip-like material into a corrugated shape, and this peak portion functions as a rack. It is like that. In this way, the rack portion 22 is formed in a waveform so that the vertical flexibility of the filter 4 is maintained.

フィルター4の上部には、吸込口2から吸込まれた空気を通過させるメッシュフィルター19が張設されており、フィルター下部はメッシュフィルター19の代わりに薄い樹脂製シート23が使用され、フィルター下部は空気が通過しない構造とされている。なお、樹脂製シート23は、縦リブ20と同様に厚さが薄く形成されており、これによりフィルター4全体にわたって縦方向の屈曲性が確保されている。   A mesh filter 19 that allows the air sucked from the suction port 2 to pass through is stretched at the upper part of the filter 4. A thin resin sheet 23 is used in the lower part of the filter instead of the mesh filter 19, and the lower part of the filter is air. Has a structure that does not pass through. In addition, the resin sheet 23 is formed to be thin like the vertical ribs 20, so that the flexibility in the vertical direction is secured over the entire filter 4.

フィルター4を縦方向に往復移動させる移動手段は、図2及び図5に示すように、フィルター4を保持するフィルター保持手段24と、モータ25によってフィルター4を移動させる駆動手段26とを備えている。フィルター保持手段24は、フィルター4の左右両端部を挿入可能な一対の案内路から構成されている。フィルター保持手段24の断面形状を図2において黒塗り部分として表す。   The moving means for reciprocating the filter 4 in the vertical direction includes a filter holding means 24 for holding the filter 4 and a driving means 26 for moving the filter 4 by the motor 25, as shown in FIGS. . The filter holding means 24 is composed of a pair of guide paths into which the left and right ends of the filter 4 can be inserted. The cross-sectional shape of the filter holding means 24 is represented as a black portion in FIG.

フィルター保持手段24は、図2に示すように、吸込口2に沿って設けられており、吸込口2よりも前方側ではゆるやかに下方に傾斜しつつ、塵埃除去ボックス10及び11の間を通過し、そこから前面パネル7に沿ってほぼ垂直に下降した後に、内側にUターンして吸込口に向って上昇するU字形経路24aが形成されている。なお、前述したフィルターガイド8は、前面パネル7を閉じた状態でフィルター保持手段24の一部を構成するようになっている。   As shown in FIG. 2, the filter holding unit 24 is provided along the suction port 2, and passes between the dust removal boxes 10 and 11 while being gently inclined downward on the front side of the suction port 2. From there, a U-shaped path 24a is formed that descends substantially vertically along the front panel 7 and then U-turns inward and rises toward the suction port. The filter guide 8 described above constitutes a part of the filter holding means 24 with the front panel 7 closed.

駆動手段26は、モータ25と、モータ25に連結された駆動ギヤ27と、駆動ギヤ27に噛合するピニオン28及びゴムローラ29とから構成されている。ゴムローラ29の回転軸には図示しないピニオンと同形のギヤが取り付けられており、これによりピニオン28とゴムローラ29とは同じ方向に回転するようになっている。   The drive means 26 includes a motor 25, a drive gear 27 connected to the motor 25, a pinion 28 and a rubber roller 29 that mesh with the drive gear 27. A gear having the same shape as a pinion (not shown) is attached to the rotation shaft of the rubber roller 29, so that the pinion 28 and the rubber roller 29 rotate in the same direction.

ピニオン28は、ボックス体16の近くのフィルター保持手段24から一部露出して、フィルター4に設けられたラック部22の裏面側に噛合するように配置される。ゴムローラ29は、U字形経路24aに一部露出するように配置され、U字形経路24a中のフィルター4の裏面側に当接して回転することにより、その摩擦力によって屈曲状態のフィルター4の移動がスムーズに行なえるような構成とされている。   The pinion 28 is partly exposed from the filter holding means 24 near the box body 16 and is disposed so as to mesh with the back surface side of the rack portion 22 provided in the filter 4. The rubber roller 29 is disposed so as to be partly exposed in the U-shaped path 24a, and rotates while contacting the back side of the filter 4 in the U-shaped path 24a, so that the frictional force causes the movement of the bent filter 4 to move. It is configured to perform smoothly.

駆動手段26は、フィルター保持手段24の左右の案内路ごとに1組づつ取り付けられているが、モータ25は、図5に示すように、2組の駆動手段26に対して1台とし、左右に配された各駆動ギヤ27がモータ25に連結された同一の回転軸30に固定され、左右同じように回転駆動するようになっている。   One pair of driving means 26 is attached to each of the left and right guide paths of the filter holding means 24. However, as shown in FIG. The drive gears 27 arranged on the left and right sides are fixed to the same rotary shaft 30 connected to the motor 25, and are driven to rotate in the same way on the left and right.

フィルター4を室内機本体1にセットする場合は、フィルター上部を先頭にして、フィルターガイド8からフィルター保持手段24内に挿入し、フィルター4を吸込口2の下方に配置する。このとき、両ボックス10及び11の間隔xは、横リブ21の厚さとフィルターの厚さを合せた厚さyよりも若干大きくなるように設定しておくことにより、フィルター4と両ボックス10及び11との間で大きな摩擦を生じることなく、スムーズにフィルター4をセットすることが可能となる(図7参照)。なお、フィルター4は、横リブ21が形成された面を表面として、この面を上にしてセットする。   When the filter 4 is set in the indoor unit main body 1, the filter upper part is inserted into the filter holding means 24 from the filter guide 8, and the filter 4 is disposed below the suction port 2. At this time, the distance x between the boxes 10 and 11 is set to be slightly larger than the thickness y of the thickness of the lateral rib 21 and the thickness of the filter. It is possible to set the filter 4 smoothly without generating a large friction with 11 (see FIG. 7). The filter 4 is set with the surface on which the lateral ribs 21 are formed as the surface, and this surface is facing up.

図7は、室内機本体1にフィルター4をセットしたときの両ボックスとフィルターの状態を示す概略断面図である。フィルター4には、ボックス10及び11の幅(塵埃除去ボックスの開口端面10a及び11a間の距離)とほぼ同じ間隔zで横リブ21が形成されている。これにより、ボックス体16に形成される2ヶ所の隙間18に横リブ21を位置させて隙間18を塞ぐことが可能となる。このように、表側ボックス10、裏側ボックス11及びその間に介在する横リブ21とで隙間のない筒状のボックス体16を形成することが可能となる。   FIG. 7 is a schematic cross-sectional view showing the state of both boxes and the filter when the filter 4 is set in the indoor unit body 1. In the filter 4, horizontal ribs 21 are formed at substantially the same interval z as the width of the boxes 10 and 11 (the distance between the opening end faces 10a and 11a of the dust removal box). As a result, it is possible to close the gap 18 by positioning the lateral ribs 21 in the two gaps 18 formed in the box body 16. Thus, it becomes possible to form the cylindrical box body 16 without a gap with the front side box 10, the back side box 11, and the horizontal rib 21 interposed therebetween.

次に、集塵手段32について説明する。図8は、集塵手段を示す斜視図である。集塵手段32は、吸引路14aに介在する集塵フィルター部33と、集塵フィルター部33に付着した塵埃を払い落すクリーニング部材と、集塵フィルター部33の下方に設置された集塵ボックス36とを備えている。集塵フィルター部33は、メッシュフィルターからなり、フィルター4よりも目の細かいものを使用している。集塵フィルター部33のフィルター面積はフィルター4のフィルター面積よりもかなり小さくなっており、これにより集塵フィルター部33に付着した塵埃Aをワイパ装置35によって容易に払い落とすことができる。   Next, the dust collecting means 32 will be described. FIG. 8 is a perspective view showing the dust collecting means. The dust collecting means 32 includes a dust collecting filter portion 33 interposed in the suction path 14 a, a cleaning member that removes dust attached to the dust collecting filter portion 33, and a dust collecting box 36 installed below the dust collecting filter portion 33. And. The dust collection filter unit 33 is made of a mesh filter and uses a finer mesh than the filter 4. The filter area of the dust collection filter unit 33 is considerably smaller than the filter area of the filter 4, and thus the dust A adhering to the dust collection filter unit 33 can be easily removed by the wiper device 35.

集塵ボックス36には内壁に帯電防止剤が塗布され、これにより帯電防止加工が施されている。クリーニング部材は、クリーニングブレード34と、クリーニングブレード34を往復動させるワイパ装置35とから構成されている。   The dust collection box 36 is coated with an antistatic agent on the inner wall, thereby being subjected to antistatic processing. The cleaning member includes a cleaning blade 34 and a wiper device 35 that reciprocates the cleaning blade 34.

本実施形態ではクリーニングブレード34としてブラシブレードを使用しており、クリーニングブレード34はワイパアーム35aに装着されている。なお、集塵ボックス36は、配管14において集塵フィルター部33の上流側底部に形成された凹部14bに取出可能に収容されている。そして、溜まった塵埃を廃棄するときは、室内機側面から直接集塵ボックス36を引き出すことができるようになっている。   In this embodiment, a brush blade is used as the cleaning blade 34, and the cleaning blade 34 is attached to the wiper arm 35a. In addition, the dust collection box 36 is accommodated in the pipe 14 so as to be able to be taken out in a recess 14 b formed in the upstream bottom portion of the dust collection filter portion 33. When the accumulated dust is discarded, the dust collection box 36 can be pulled out directly from the side of the indoor unit.

上記構成のフィルター清掃装置で、フィルター4を清掃する場合について説明すると、室内機本体1にフィルター4をセットして空気調和機の運転を行なうことにより、吸込口2から空気が吸い込まれ、横リブ21によって区分されたメッシュフィルター19の各区画4aの表面に空気中の塵埃Aが付着する。   The case where the filter 4 is cleaned with the filter cleaning device having the above configuration will be described. When the filter 4 is set in the indoor unit body 1 and the air conditioner is operated, air is sucked from the suction port 2 and the horizontal rib The dust A in the air adheres to the surface of each section 4 a of the mesh filter 19 divided by 21.

室内機本体1内には、入力回路、CPU、メモリ、出力回路を備えた制御手段が設けられており、例えば、空気調和機の運転時間が所定時間に達したと判断した場合や、光センサ等の汚れ検出手段の検出結果等に基づいてフィルター4表面が汚れていると判断した場合に、吸引ファン6や移動手段等の稼動を制御してフィルターの清掃が行なわれる。   The indoor unit body 1 is provided with a control means including an input circuit, a CPU, a memory, and an output circuit. For example, when it is determined that the operation time of the air conditioner has reached a predetermined time, When it is determined that the surface of the filter 4 is dirty based on the detection result of the dirt detection means, etc., the operation of the suction fan 6 and the moving means is controlled to clean the filter.

具体的には、先ず、移動手段が稼動し、図7に示すように、フィルター4を縦方向に横リブ21間の間隔zだけ移動させて停止する。このようにして、当初、空気流路17に隣接していた区画4aを空気流路17に入れ、さらに、ボックス体16の隙間18に横リブ21を位置させることができる。   Specifically, first, the moving means is operated, and the filter 4 is moved in the vertical direction by the interval z between the horizontal ribs 21 and stopped as shown in FIG. In this way, the section 4 a that was initially adjacent to the air flow path 17 can be put into the air flow path 17, and further, the lateral rib 21 can be positioned in the gap 18 of the box body 16.

次いで、吸引ファン6が稼動し、空気流路17の入口である通気口15から吸引ファン12まで空気を吸引する。これにより、空気流路17内に流速の大きな空気流が発生し、区画4a表面に付着していた塵埃Aを吹き飛ばして除塵する。以後、上記動作を繰り返すことにより、区画4aごとにフィルター4の清掃を行なうことができ、除去された塵埃Aは吸引路14aに設置された集塵フィルター部33に付着する。最後の区画4aの清掃が終了すると、フィルター4は移動手段によって元の位置まで移動される。   Next, the suction fan 6 is operated, and air is sucked from the vent 15 which is the inlet of the air flow path 17 to the suction fan 12. As a result, an air flow having a high flow velocity is generated in the air flow path 17, and the dust A adhering to the surface of the section 4a is blown off to remove the dust. Thereafter, by repeating the above operation, the filter 4 can be cleaned for each section 4a, and the removed dust A adheres to the dust collecting filter portion 33 installed in the suction path 14a. When the cleaning of the last section 4a is completed, the filter 4 is moved to the original position by the moving means.

フィルター4全体の清掃が終了した後、ワイパ装置35が稼動し、集塵フィルター部33に付着した塵埃Aを払い落とす。集塵フィルター部33から落下した塵埃Aは、凹部14bに収容された集塵ボックス36に集められ、容易に廃棄することができる。   After the cleaning of the entire filter 4 is completed, the wiper device 35 is operated, and the dust A adhering to the dust collection filter portion 33 is removed. The dust A falling from the dust collection filter part 33 is collected in the dust collection box 36 accommodated in the recess 14b and can be easily discarded.

本発明の実施形態を示す空気調和機の室内機斜視図Indoor unit perspective view of an air conditioner showing an embodiment of the present invention 図1における室内機断面図Cross section of indoor unit in FIG. 図1の前面パネル開放状態を示す一部断面図1 is a partial cross-sectional view showing the front panel opened state of FIG. 図1の室内機のパネルを外した状態を示す斜視図The perspective view which shows the state which removed the panel of the indoor unit of FIG. 図4からフィルターを除いた状態を示す斜視図The perspective view which shows the state which removed the filter from FIG. 図1の室内機で使用されるフィルターの平面図及び断面図Plan view and sectional view of the filter used in the indoor unit of FIG. 図1における塵埃除去ボックスとフィルターの状態を示す概略断面図Schematic sectional view showing the state of the dust removal box and filter in FIG. 図4の一部拡大斜視図Partially enlarged perspective view of FIG.

符号の説明Explanation of symbols

1 室内機本体
2 吸込口
3 吹出口
4 フィルター
5 室内熱交換器
6 送風ファン
7 前面パネル
8 フィルターガイド
9 ルーバー
10 表側ボックス
11 裏側ボックス
12 吸引ファン
13 上面パネル
14 配管
14a 吸引路
15 通気口
16 ボックス体
17 空気流路
18 スリット
19 メッシュフィルター
20 縦リブ
21 横リブ
22 ラック部
23 樹脂製シート
24 フィルター保持手段
25 モータ
26 駆動手段
27 駆動ギヤ
28 ピニオン
29 ゴムローラ
30 回転軸
31 枠体
31a 縦枠
31b 横枠
32 集塵手段
33 集塵フィルター部
34 クリーニングブレード
35 ワイパ装置
35a ワイパアーム
36 集塵ボックス
DESCRIPTION OF SYMBOLS 1 Indoor unit body 2 Inlet 3 Outlet 4 Filter 5 Indoor heat exchanger 6 Blower fan 7 Front panel 8 Filter guide 9 Louver 10 Front side box 11 Back side box 12 Suction fan 13 Top panel 14 Piping 14a Suction path 15 Vent 16 Box Body 17 Air flow path 18 Slit 19 Mesh filter 20 Vertical rib 21 Horizontal rib 22 Rack part 23 Resin sheet 24 Filter holding means 25 Motor 26 Drive means 27 Drive gear 28 Pinion 29 Rubber roller 30 Rotating shaft 31 Frame body 31a Vertical frame 31b Horizontal Frame 32 Dust collection means 33 Dust collection filter section 34 Cleaning blade 35 Wiper device 35a Wiper arm 36 Dust collection box

Claims (6)

空気中の塵埃を除去するフィルターの清掃装置であって、前記フィルターに付着した塵埃を除去して捕集する塵埃除去ボックスと、該塵埃除去ボックス内の空気を吸引する吸引手段とを備え、前記塵埃除去ボックスと吸引手段との間の吸引路に集塵手段を介在させたことを特徴とするフィルター清掃装置。 A filter cleaning device for removing dust in the air, comprising: a dust removal box that removes and collects dust attached to the filter; and a suction unit that sucks air in the dust removal box, A filter cleaning device comprising a dust collecting means interposed in a suction path between a dust removal box and a suction means. 前記集塵手段は、吸引路に配置され、空気中の塵埃を除去する集塵フィルター部と、該集塵フィルター部に付着した塵埃を払い落とすクリーニング部材と、前記集塵フィルター部の下方に設置され、集塵フィルター部から落下した塵埃を受ける集塵ボックスとを備えたことを特徴とする請求項1記載のフィルター清掃装置。 The dust collecting means is disposed in the suction path, and is installed below the dust collecting filter part, a dust collecting filter part for removing dust in the air, a cleaning member for removing dust attached to the dust collecting filter part, and the dust collecting filter part The filter cleaning apparatus according to claim 1, further comprising a dust collection box that receives dust that has fallen from the dust collection filter section. 前記集塵フィルター部は、前記フィルターよりも目が細かく、かつフィルター面積が小さくなるように形成されたことを特徴とする請求項2記載のフィルター清掃装置。 3. The filter cleaning device according to claim 2, wherein the dust collecting filter portion is formed so as to have finer eyes and a smaller filter area than the filter. 前記クリーニング部材は、前記集塵フィルター部の表面に接触するクリーニングブレードと、該クリーニングブレードを前記集塵フィルター部に対して相対的に移動させる移動手段とを備えたことを特徴とする請求項2又は3記載のフィルター清掃装置。 3. The cleaning member includes a cleaning blade that contacts a surface of the dust collection filter portion, and a moving unit that moves the cleaning blade relative to the dust collection filter portion. Or the filter cleaning apparatus of 3. 前記移動手段が、前記クリーニングブレードを往復動させるワイパ装置であることを特徴とする請求項4記載のフィルター清掃装置。 5. The filter cleaning device according to claim 4, wherein the moving means is a wiper device that reciprocates the cleaning blade. 前記集塵ボックスに帯電防止加工が施されたことを特徴とする請求項2〜5のいずれかに記載のフィルター清掃装置。 6. The filter cleaning apparatus according to claim 2, wherein the dust collection box is subjected to antistatic processing.
JP2005354174A 2005-12-07 2005-12-07 Filter cleaning device Pending JP2007155273A (en)

Priority Applications (1)

Application Number Priority Date Filing Date Title
JP2005354174A JP2007155273A (en) 2005-12-07 2005-12-07 Filter cleaning device

Applications Claiming Priority (1)

Application Number Priority Date Filing Date Title
JP2005354174A JP2007155273A (en) 2005-12-07 2005-12-07 Filter cleaning device

Publications (1)

Publication Number Publication Date
JP2007155273A true JP2007155273A (en) 2007-06-21

Family

ID=38239878

Family Applications (1)

Application Number Title Priority Date Filing Date
JP2005354174A Pending JP2007155273A (en) 2005-12-07 2005-12-07 Filter cleaning device

Country Status (1)

Country Link
JP (1) JP2007155273A (en)

Cited By (4)

* Cited by examiner, † Cited by third party
Publication number Priority date Publication date Assignee Title
US10335005B2 (en) 2011-10-21 2019-07-02 Samsung Electronics Co., Ltd. Robot cleaner
CN114413399A (en) * 2022-01-19 2022-04-29 湖南伊恩医疗科技有限公司 Electrostatic air disinfection device
CN114939305A (en) * 2022-06-22 2022-08-26 惠州市雄伟冷气有限公司 Filter element cleaning device for air energy central air conditioner maintenance
CN119333917A (en) * 2024-10-25 2025-01-21 帕瑞尔(常州)环境科技有限公司 A filter self-cleaning indoor air purifier

Citations (3)

* Cited by examiner, † Cited by third party
Publication number Priority date Publication date Assignee Title
JPS5581629A (en) * 1978-12-15 1980-06-19 Matsushita Electric Industrial Co Ltd Dust collecting box of vacuum cleaner
JPS6346919A (en) * 1986-08-13 1988-02-27 Kasai Kogyo Co Ltd Interior parts for automobile
JP2005308274A (en) * 2004-04-20 2005-11-04 Matsushita Electric Ind Co Ltd Air conditioner

Patent Citations (3)

* Cited by examiner, † Cited by third party
Publication number Priority date Publication date Assignee Title
JPS5581629A (en) * 1978-12-15 1980-06-19 Matsushita Electric Industrial Co Ltd Dust collecting box of vacuum cleaner
JPS6346919A (en) * 1986-08-13 1988-02-27 Kasai Kogyo Co Ltd Interior parts for automobile
JP2005308274A (en) * 2004-04-20 2005-11-04 Matsushita Electric Ind Co Ltd Air conditioner

Cited By (5)

* Cited by examiner, † Cited by third party
Publication number Priority date Publication date Assignee Title
US10335005B2 (en) 2011-10-21 2019-07-02 Samsung Electronics Co., Ltd. Robot cleaner
CN114413399A (en) * 2022-01-19 2022-04-29 湖南伊恩医疗科技有限公司 Electrostatic air disinfection device
CN114413399B (en) * 2022-01-19 2023-05-23 湖南伊恩医疗科技有限公司 Electrostatic air disinfection device
CN114939305A (en) * 2022-06-22 2022-08-26 惠州市雄伟冷气有限公司 Filter element cleaning device for air energy central air conditioner maintenance
CN119333917A (en) * 2024-10-25 2025-01-21 帕瑞尔(常州)环境科技有限公司 A filter self-cleaning indoor air purifier

Similar Documents

Publication Publication Date Title
JP4456168B1 (en) Filter and air conditioner having the same
WO2004079271A1 (en) Air conditioner having indoor unit with automatic air filter celaning function
JP4546377B2 (en) Filter cleaning device
JP2004156794A (en) Air conditioner
JP5215128B2 (en) Air conditioner
JP5720611B2 (en) Air conditioning indoor unit
CN101517332B (en) Filter and air conditioning apparatus using the same
JP5284762B2 (en) Filter cleaning device and air conditioning device
JP2009115424A (en) Filter cleaning device
JP2004283704A (en) Air conditioner filter device
JP2007155273A (en) Filter cleaning device
JP4119453B2 (en) Filter cleaning device
JP4533366B2 (en) Filter, filter cleaning device, and air conditioner
JP5215118B2 (en) Filter cleaning device
JP5192351B2 (en) Air conditioner
JP4134768B2 (en) Air conditioner
JP4119458B2 (en) Filter cleaning device
JP4843479B2 (en) Filter cleaning device
JP4755065B2 (en) Air conditioner
JP2007152307A (en) Filter and filter feeder
JP5261524B2 (en) Filter cleaning device and air conditioning device
JP4763574B2 (en) Air conditioner
JP2008215688A (en) Cleaning device for electric or electronic parts, and air conditioning device using the same
JP4550743B2 (en) Filter cleaning device
JP2009115383A (en) Filter cleaning device

Legal Events

Date Code Title Description
A621 Written request for application examination

Free format text: JAPANESE INTERMEDIATE CODE: A621

Effective date: 20080220

A977 Report on retrieval

Free format text: JAPANESE INTERMEDIATE CODE: A971007

Effective date: 20100726

A131 Notification of reasons for refusal

Free format text: JAPANESE INTERMEDIATE CODE: A131

Effective date: 20100803

A521 Request for written amendment filed

Free format text: JAPANESE INTERMEDIATE CODE: A523

Effective date: 20100909

A02 Decision of refusal

Free format text: JAPANESE INTERMEDIATE CODE: A02

Effective date: 20101221

A521 Request for written amendment filed

Free format text: JAPANESE INTERMEDIATE CODE: A523

Effective date: 20110204

A911 Transfer to examiner for re-examination before appeal (zenchi)

Free format text: JAPANESE INTERMEDIATE CODE: A911

Effective date: 20110221

A912 Re-examination (zenchi) completed and case transferred to appeal board

Free format text: JAPANESE INTERMEDIATE CODE: A912

Effective date: 20110318