JP2007153601A - Level-wound coil and level-wound coil package - Google Patents
Level-wound coil and level-wound coil package Download PDFInfo
- Publication number
- JP2007153601A JP2007153601A JP2005355013A JP2005355013A JP2007153601A JP 2007153601 A JP2007153601 A JP 2007153601A JP 2005355013 A JP2005355013 A JP 2005355013A JP 2005355013 A JP2005355013 A JP 2005355013A JP 2007153601 A JP2007153601 A JP 2007153601A
- Authority
- JP
- Japan
- Prior art keywords
- tube
- level
- wound coil
- lwc
- wound
- Prior art date
- Legal status (The legal status is an assumption and is not a legal conclusion. Google has not performed a legal analysis and makes no representation as to the accuracy of the status listed.)
- Granted
Links
Images
Landscapes
- Packaging Of Annular Or Rod-Shaped Articles, Wearing Apparel, Cassettes, Or The Like (AREA)
- Winding Filamentary Materials (AREA)
- Unwinding Of Filamentary Materials (AREA)
- Filamentary Materials, Packages, And Safety Devices Therefor (AREA)
Abstract
【課題】いかなる長さの管であっても、その管が健全である限り、高い歩留まりで、レベルワウンドコイルおよびレベルワウンドコイル梱包体を提供する。
【解決手段】底板と、天板とを備え、管を円筒状に巻回してなる少なくとも1段のコイル部を前記底板と天板とで挟み込んだレベルワウンドコイルであって、前記レベルワウンドコイルから前記管を巻き解きするときの前記管の巻き解き開始管端が前記レベルワウンドコイルの最外周に位置し、且つ、最外周にある前記管が底板から天板方向に巻回されていることを特徴とするレベルワウンドコイル。
【選択図】図7The present invention provides a level wound coil and a level wound coil package with a high yield as long as the tube is healthy.
A level-wound coil comprising a bottom plate and a top plate and sandwiching at least one coil portion formed by winding a tube in a cylindrical shape between the bottom plate and the top plate, the level-wound coil from The unwinding start tube end of the tube when unwinding the tube is positioned on the outermost periphery of the level wound coil, and the tube on the outermost periphery is wound from the bottom plate toward the top plate. A characteristic level wound coil.
[Selection] Figure 7
Description
本発明は、エアコンなどの空調冷凍機の伝熱管(内面溝付管および平滑管など)、建築物の給湯・給水配管などに使用されるもので、銅又は銅合金管などをコイル状に多層に整列巻きし、その軸方向が垂直になるように配置され、巻き解かれるレベルワウンドコイルおよび、そのレベルワウンドコイルで構成されるレベルワウンドコイル梱包体に関する。 The present invention is used for heat transfer pipes (such as internally grooved pipes and smooth pipes) of air conditioning refrigerators such as air conditioners, hot water supply / water supply pipes for buildings, etc., and copper or copper alloy pipes are multilayered in a coil shape. And a level-wound coil package comprising the level-wound coil and the level-wound coil that is arranged and unwound so that its axial direction is vertical.
レベルワウンドコイル(Level Wound Coil:以下、LWCと称す)は、通常、図10に示すように、複数個のLWCが、その軸方向が垂直になるように配置された多段積みLWC梱包体として提供される。図10において、10は多段積みLWC梱包体、11はLWC、8は多段積みしたLWCを仕切る板材(緩衝材となるドーナツ紙など)、12はLWCを巻き解く場合の管2を案内するガイド、13はLWCを積載するパレットである。
A level-wound coil (hereinafter referred to as LWC) is usually provided as a multi-stage LWC package in which a plurality of LWCs are arranged so that their axial directions are vertical as shown in FIG. Is done. In FIG. 10, 10 is a multi-stage stacked LWC package, 11 is an LWC, 8 is a plate material (such as donut paper as a buffer material) that partitions the multi-stage LWC, 12 is a guide for guiding the
このような多段積みLWC梱包体10のLWC11を巻き解く場合、特許文献1〜3で示されるように、最上段にあるLWC11の巻き解き開始の管端は、通常、巻回の容易なこと、および管端の取り出しの容易なことからLWC11の最内周の上面または下面に設けられている。
When unwinding the LWC 11 of such a multi-stage LWC
しかしながら、特許文献1の図7、特許文献2の図6、特許文献3の図6のように、LWCの巻き解き終了の管端が、LWCの最外周に位置し、その最外周の管がLWCの上から下へ巻回されている場合、LWCの下面レベルに到達していないと巻回された管は、下にずり落ちる可能性が高く、したがって、管表面を傷つけたり、管そのものが折れたりしてしまう恐れがある。このような品質の低下を防止するためには、最外周の管がLWCの上から下へ巻回される場合において、LWCの下面レベルに管が到達しないことが明らかなときは、その前の奇数層の下面レベルに管が到達した時点で、管の巻回を終了し、残りの管は切断してしまう必要があり、それゆえ歩留まりの低下を招く結果となる。
However, as shown in FIG. 7 of
また、特許文献1から特許文献3で提案されるLWCの構造では、図8に示すようにターンテーブルを用いないで管を巻き解く、ターンテーブル不使用方式による巻き解き方法を採用し、管を内側の管端から巻き解く場合には、LWCの管の巻層の数は奇数層にすることが好ましいという制約ができてしまい、これも余分な管の発生原因となってしまう。
更に、管を内側の管端から巻き解く場合、LWCの内径が変化する。そのため、巻き解きの途中で管の不良が発見された際、残りのLWCは把持具で持ち上げ、廃棄することになるが、LWCを内側から押し付けて持ち上げるタイプの把持具で押圧把持することが困難になるために、LWCの廃棄が困難になってしまうという問題が生じる。
In addition, in the LWC structure proposed in
Furthermore, when unwinding the tube from the inner tube end, the inner diameter of the LWC changes. Therefore, when a tube defect is discovered during unwinding, the remaining LWC is lifted and discarded by the gripping tool, but it is difficult to press and hold with a gripping tool that pushes the LWC from the inside and lifts it. Therefore, there arises a problem that it becomes difficult to discard the LWC.
本発明は、このような状況に鑑みなされたもので、いかなる長さの管であっても、その管が健全である限り、高い歩留まりで管を巻回することができ、且つ管の不良が発見された際に残りのLWCの廃棄が容易なLWC、LWC梱包体およびLWC巻き解き方法を提供するものである。 The present invention has been made in view of such a situation. As long as the pipe is healthy, the pipe can be wound at a high yield as long as the pipe is healthy. It is intended to provide an LWC, an LWC package, and an LWC unwinding method that can easily discard the remaining LWC when discovered.
請求項1記載の発明は、管を円筒状に巻回してなる少なくとも1段のコイル部を前記底板と天板とで挟み込んだLWCであって、前記LWCから前記管を巻き解きするときの前記管の巻き解き開始管端が前記LWCの最外周に位置し、且つ、最外周にある前記管が底板から天板方向に巻回されていることを特徴とするLWCである。
The invention according to
請求項2記載の発明は、底板と、天板と、前記底板と天板との間に、管を円筒状に巻回してなるLWCを少なくとも1段配置したLWC梱包体であって、前記LWC梱包体から前記管を巻き解きするときの前記管の巻き解き開始の管端が、前記LWC梱包体の最上段にあるLWCの最外周に位置し、且つ最外周にある前記管が底板から天板方向に巻回されていることを特徴とするLWC梱包体である。
The invention according to
請求項3記載の発明は、管を円筒状に巻回してなるLWCの最内周管に沿って支持部材が備えられていることを特徴とする請求項2記載のLWC梱包体である。 A third aspect of the present invention is the LWC package according to the second aspect, wherein a support member is provided along the innermost peripheral tube of the LWC formed by winding the tube into a cylindrical shape.
請求項4記載の発明は、前記支持部材が、隣り合うLWCに跨って設けられることを特徴とする請求項3記載のLWC梱包体である。
The invention according to
請求項5記載の発明は、管を円周状に巻回し、径方向に複数層整列巻してなるLWCを非回転状態に載置し、前記管の最外層から巻き解くことを特徴とするLWC巻き解き方法である。
The invention according to
本発明に係るLWCは、底板と天板と、それらで挟み込んだ少なくとも1段のコイル部からなるもので、最外周に巻き解き開始となる管端を有し、更に、最外周にある管が底板から天板方向に巻回されていることにより、LWCを構成する管の歩留まりを高く維持する効果を有する。
また、本発明に係るLWC梱包体は、最外周に巻き解き開始となる管端を有し、且つLWC内周に接して支持部材が設けられていることにより、LWCの外周部側から管の巻き解きを行っても、LWCが崩れることなく巻き解きができ、更に、LWC梱包体の輸送時には、支持部材がLWCの揺れを抑えることで、管が傷つくことを予防し、歩留まりの低下を防ぐ効果を示す。
The LWC according to the present invention is composed of a bottom plate, a top plate, and at least one stage of a coil portion sandwiched between them, and has a tube end that starts unwinding on the outermost periphery, and further has a tube on the outermost periphery. By being wound in the direction from the bottom plate to the top plate, there is an effect of maintaining a high yield of the tubes constituting the LWC.
In addition, the LWC package according to the present invention has a tube end that starts unwinding on the outermost periphery, and is provided with a support member in contact with the inner periphery of the LWC, so that the tube from the outer peripheral side of the LWC is provided. Even when unwinding, the LWC can be unwound without collapsing, and when the LWC package is transported, the support member prevents the LWC from shaking, preventing the tube from being damaged and preventing the yield from decreasing. Show the effect.
図を参照して本発明の実施形態を具体的に説明する。
図1は、本発明の第一の実施形態を示す縦断面図である。図1において、1はLWC(レベルワウントコイル)、2は管、3は最外周(第1周)に位置する管、3aは巻き解き開始の管端、4は第2周に位置する管、5は第3周に位置する管、6は第4周に位置する管、6aは巻き解き終了管端、66は第4周に位置する管、7は第5周に位置する管、7aは巻き解き終了管端、100はLWCの下面レベル、101はLWCの上面レベルである。
図1(a)は、5周からなるLWC1で、管7が最内周管で、下面レベル100から巻回されている。図1(b)は、4周からなるLWC1で、管66が最内周管で、上面レベル101から巻回されている。
An embodiment of the present invention will be specifically described with reference to the drawings.
FIG. 1 is a longitudinal sectional view showing a first embodiment of the present invention. In FIG. 1, 1 is an LWC (level-wound coil), 2 is a pipe, 3 is a pipe located on the outermost circumference (first circumference), 3a is a pipe end of unwinding start, and 4 is a pipe located on the second circumference. 5 is a pipe located on the third circumference, 6 is a pipe located on the fourth circumference, 6a is an unrolled pipe end, 66 is a pipe located on the fourth circumference, 7 is a pipe located on the fifth circumference, 7a Is the unwound end pipe end, 100 is the lower surface level of the LWC, and 101 is the upper surface level of the LWC.
FIG. 1A shows an LWC 1 consisting of five turns, and the
通常、管を巻回してLWCを作製する場合、LWCの内周の管から巻回が始められ、供給された長さを巻回して終了するが、最外周の管が外周の上面レベルから下面レベル方向に巻回され、且つ下面レベルに到達していない場合には、LWCの保管時や管の巻き解き時に、管のずり落ちなどが生じて管を損傷させる恐れが多くなることから、先の上面レベルの位置で管の巻回をやめて管を切断する。したがって、残りの管は余剰となってしまう。 Normally, when an LWC is manufactured by winding a tube, the winding starts from the inner tube of the LWC and ends by winding the supplied length, but the outermost tube is turned from the upper surface level of the outer surface to the lower surface. If it is wound in the direction of the level and has not reached the lower surface level, the pipe may fall off when the LWC is stored or the pipe is unwound, and the pipe may be damaged. At the position of the upper surface level, stop winding the tube and cut the tube. Therefore, the remaining pipes become redundant.
これに対し、本実施形態に係るLWC1は、図1(a)、(b)で示すように、最外周管3は、必ずLWC1の下面レベル100から巻回されているので、LWCの保管時や管の巻き解きにおいて、最外周の管のずり落ちによる管の損傷は生じない。また、本実施形態のLWC1は、最外周の管が天板方向に巻回されているため、図8に示すように最外周の管端からスムーズに巻き解くことができる。
なお最内周の管について、最外周の管端から巻き解きたいときには、最後に巻き解かれることになるので、管のずり落ち防止のために、管端が底板9b側にあることが望ましい。更に、このような場合のLWC1の内径は、巻き解きの間では変わらない。したがって、管の巻き解きの途中で管に不良が発見された場合には、最内周の管側にLWC1の内側から押し付けるタイプの把持具を押し付けて持ち上げ、LWC1を廃棄することが容易である。
On the other hand, in the LWC 1 according to the present embodiment, as shown in FIGS. 1A and 1B, the outermost
When the innermost tube is to be unwound from the outermost tube end, it is unwound at the end. Therefore, it is desirable that the tube end is on the bottom plate 9b side in order to prevent the tube from slipping off. Further, the inner diameter of the LWC 1 in such a case does not change during unwinding. Therefore, when a defect is found in the tube during the unwinding of the tube, it is easy to press and lift a gripping tool of the type that is pressed from the inside of the LWC 1 to the innermost tube side, and discard the LWC 1 .
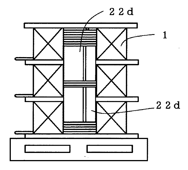
図2は、本発明の第二の実施形態に使用される支持部材の説明図である。図2において、9bは底板、13はパレット、22は支持部材、22a〜22dは支持部材の実施例の一例を示すもので、各支持部材は、LWC1の内面1aに沿うように置かれ、22aは円筒形、22b、22cは多角中空体、22dは方形シートを丸めた切欠き円筒形の支持部材である。 FIG. 2 is an explanatory view of a support member used in the second embodiment of the present invention. In FIG. 2, 9b is a bottom plate, 13 is a pallet, 22 is a support member, 22a to 22d are examples of support members, and each support member is placed along the inner surface 1a of the LWC 1, and 22a Are cylindrical hollow bodies, 22b and 22c are polygonal hollow bodies, and 22d is a notched cylindrical support member obtained by rounding a rectangular sheet.
本実施形態では、図2に示すように、LWC1の内側にボビンを有しない、いわゆるボビンレスのLWC1を用いている。ボビンが不必要であることから、樹脂成形品であるボビン掛かるコストを削減することが可能となるが、ボビンによるLWC1の構造を支持できる効果がその分損なわれることになる。そこで、図2に示すような簡単な支持部材22aから22cを代わりに用い、これをLWC1の内側に矢印に示すように挿入し、LWC1を内側から支持することで、LWC1の構造が崩れることを防止することができる。
また、本実施形態では、最外周から管を巻解くので、最後に最内周の管を巻解くことになる。支持部材22aから22cは、このように最後に残った最内周の管を支持するので、管のずり落ちと、それによる管の表面に傷が入ることを防止することができる。
In this embodiment, as shown in FIG. 2, a so-called bobbin-less LWC 1 that does not have a bobbin inside the LWC 1 is used. Since the bobbin is unnecessary, it is possible to reduce the cost of the bobbin that is a resin molded product, but the effect of supporting the structure of the LWC 1 by the bobbin is impaired accordingly. Therefore, instead of using the simple support members 22a to 22c as shown in FIG. 2 and inserting them into the LWC1 as shown by the arrows, and supporting the LWC1 from the inside, the structure of the LWC1 is destroyed. Can be prevented.
In this embodiment, since the tube is unwound from the outermost periphery, the innermost tube is finally unwound. Since the support members 22a to 22c support the innermost peripheral pipe remaining at the end in this way, it is possible to prevent the pipe from slipping and thereby causing damage to the surface of the pipe.
図3は、他の支持部材を示す説明図である。図3において、緩衝材8(例えば紙ダンボール製)に十字スリット8aを設け、そこに2枚の矩形ダンボール片220eを十字に組み合わせてなる十字形支持部材22eを取り付けたものである。
このような構成によれば、非常に簡易に組み立て可能な支持部材22により、最内周の管を支持することができ、好ましい。
FIG. 3 is an explanatory view showing another support member. In FIG. 3, a cross-shaped slit 8a is provided in a cushioning material 8 (for example, made of paper cardboard), and a cross-shaped support member 22e formed by combining two
According to such a configuration, the innermost tube can be supported by the
図4〜図7は、先に示した支持部材22を用いた実施形態に係るLWC梱包体の縦断面図である。図4は、円筒形支持部材22aを用いた場合、図5は、多角中空体22cを用いた場合、図6は、切欠き円筒形支持部材22dを用いた場合、図7は十字形支持部材22eを用いた場合を示している。なお、図4中の符号9aは天板を示す。
支持部材22a〜22eは、二つのLWC1に跨って設けられる。そのため、輸送中に加わる振動によるLWC1の位置ずれを防止できる。更に、巻き解き作業時では、巻き解きを行うLWC1の下面レベルに支持部材22の端を移動させることで、巻き解きによる管の崩れを防止する。
FIGS. 4-7 is a longitudinal cross-sectional view of the LWC package which concerns on embodiment using the supporting
The support members 22a to 22e are provided across the two
図8に示すように本実施形態のLWC41は、ターンテーブル不使用方式で最外周から巻き解かれる。なお、この場合、巻き方によっては底板44(若しくは緩衝材44)に接した管が、それより1つ上の管と挟まれて巻き解くことが困難になる場合が生じる。
表1は、ターンテーブル不使用方式において、管を最外層の管端から巻き解く場合に好ましい層構成とLWCの置き方の組み合わせ(表1中で好適と表記)、及びその逆の好ましくない組み合わせ(表1中で非好適と表記)を示すものである。
As shown in FIG. 8, the LWC 41 of this embodiment is unwound from the outermost periphery in a turntable non-use method. In this case, depending on the winding method, it may be difficult to unwind the tube in contact with the bottom plate 44 (or the buffer material 44) by being sandwiched by the tube one above it.
Table 1 shows the preferred combination of layer structure and LWC placement (noted as preferred in Table 1) when unwinding the pipe from the outermost pipe end in the turntable non-use method, and vice versa. (Denoted as unpreferable in Table 1).
表1において、「N−1巻」と表示したものは、図9(a)に示すように、LWCの整列巻において、最内層をN回巻いた構成としたときに、その一つ外側をN−1回巻き、それを外側の層に向かうごとに繰り返す構成である。「N巻」、「N+1巻」(図9(b)参照)も同様に巻き数を変えたものである。なお、N巻の場合は、巻き取り時にフランジ側で折り返す場合(表1中、フランジ側折り返し、図9(d)参照)と、フランジ側とは逆側に折り返す場合(表1中、管側折り返し、図9(c)参照)がある。
このように、できるだけ表1において、好適とされる組み合わせの配置を採用することで、管の巻き解きを効率よく行うことができ、管に対する損傷も少なくてすむものである。
以上説明したように、本発明によれば、いかなる管の長さであっても、その管が健全である限り、高い歩留まりで管を巻回することができ、且つ管の不良が発見された場合に、残りのLWCの廃棄が容易なLWC、LWC梱包体およびLWCの巻き解き方法を提供することができる。
In Table 1, "N-1 roll" is indicated as shown in Fig. 9 (a). In the LWC aligned winding, when the innermost layer is wound N times, one of the outer sides is indicated. This is a configuration in which N-1 turns are repeated each time it goes to the outer layer. “N roll” and “N + 1 roll” (see FIG. 9B) are also the same in which the number of turns is changed. In the case of N windings, when winding back on the flange side during winding (refer to FIG. 9 (d), flange side folding in Table 1), or when folding back to the opposite side of the flange side (Table 1, pipe side) Folded, see FIG. 9 (c)).
In this way, by adopting a suitable combination arrangement in Table 1, the unwinding of the tube can be efficiently performed, and damage to the tube can be reduced.
As described above, according to the present invention, as long as the tube is healthy, the tube can be wound with a high yield as long as the tube is healthy, and a defective tube has been found. In this case, it is possible to provide an LWC, an LWC package, and an LWC unwinding method that can easily discard the remaining LWC.
1 レベルワウンドコイル
1a レベルワウンドコイル内周部
3 最外周管
3a 外周部管端
6a 内周部管端
66 最内周管
7 最内周管
7a 内周部管端
8 緩衝材
9a 底板
9b 天板
10 レベルワウンドコイル梱包体
11 レベルワウンドコイル
12 ガイド
13 パレット
22 支持部材
22a 円筒形支持部材
22b 多角形支持部材(五角形断面)
22c 多角形支持部材(六角形断面)
22d 切欠き円筒形支持部材
22e 十字形支持部材
40 レベルワウンドコイル梱包体
41 レベルワウンドコイル
42 ガイド
43 パレット
44 底板又は緩衝材
1 Level Wound Coil 1a Level Wound
22c Polygonal support member (hexagonal cross section)
22d Notched cylindrical support member 22e
Claims (5)
管を円筒状に巻回してなる少なくとも1段のコイル部を前記底板と天板とで挟み込んだレベルワウンドコイルであって、
前記レベルワウンドコイルから前記管を巻き解きするときの前記管の巻き解き開始管端が前記レベルワウンドコイルの最外周に位置し、且つ、最外周にある前記管が底板から天板方向に巻回されていることを特徴とするレベルワウンドコイル。 A bottom plate and a top plate,
A level-wound coil in which at least one coil portion formed by winding a tube in a cylindrical shape is sandwiched between the bottom plate and the top plate,
When unwinding the tube from the level wound coil, the unwinding tube end of the tube is located at the outermost periphery of the level wound coil, and the tube at the outermost periphery is wound from the bottom plate toward the top plate. Level-wound coil characterized by being made.
天板と、
前記底板と天板との間に、管を円筒状に巻回してなるレベルワウンドコイルを少なくとも1段配置したレベルワウンドコイル梱包体であって、
前記レベルワウンドコイル梱包体から前記管を巻き解きするときの前記管の巻き解き開始の管端が、前記レベルワウンドコイル梱包体の最上段にあるレベルワウンドコイルの最外周に位置し、且つ最外周にある前記管が底板から天板方向に巻回されていることを特徴とするレベルワウンドコイル梱包体。 The bottom plate,
With the top plate,
Between the bottom plate and the top plate, a level wound coil package in which at least one level wound coil is formed by winding a tube in a cylindrical shape,
The unwinding pipe end when unwinding the pipe from the level wound coil package is located at the outermost circumference of the level wound coil at the uppermost stage of the level wound coil package, and the outermost circumference. The level-wound coil package is characterized in that the tube is wound from the bottom plate toward the top plate.
Priority Applications (1)
| Application Number | Priority Date | Filing Date | Title |
|---|---|---|---|
| JP2005355013A JP4865316B2 (en) | 2005-12-08 | 2005-12-08 | Level wound coil package |
Applications Claiming Priority (1)
| Application Number | Priority Date | Filing Date | Title |
|---|---|---|---|
| JP2005355013A JP4865316B2 (en) | 2005-12-08 | 2005-12-08 | Level wound coil package |
Publications (2)
| Publication Number | Publication Date |
|---|---|
| JP2007153601A true JP2007153601A (en) | 2007-06-21 |
| JP4865316B2 JP4865316B2 (en) | 2012-02-01 |
Family
ID=38238437
Family Applications (1)
| Application Number | Title | Priority Date | Filing Date |
|---|---|---|---|
| JP2005355013A Expired - Fee Related JP4865316B2 (en) | 2005-12-08 | 2005-12-08 | Level wound coil package |
Country Status (1)
| Country | Link |
|---|---|
| JP (1) | JP4865316B2 (en) |
Citations (6)
| Publication number | Priority date | Publication date | Assignee | Title |
|---|---|---|---|---|
| JPS6015882A (en) * | 1983-07-08 | 1985-01-26 | Olympus Optical Co Ltd | Identification signal recording system for software recording medium |
| JPS6211776A (en) * | 1985-07-10 | 1987-01-20 | Nippon Oil & Fats Co Ltd | Thermosetting resin composition for coating |
| JPH0753123A (en) * | 1993-08-09 | 1995-02-28 | Rohm Co Ltd | Withdrawing guide device for metallic wire material |
| JPH10192970A (en) * | 1996-12-27 | 1998-07-28 | Mitsubishi Materials Corp | Rotating jig for uncoiler and uncoiler |
| JP2004231348A (en) * | 2003-01-29 | 2004-08-19 | Kobe Steel Ltd | Supply method for pipe from level wound coil and supply method for pipe from level wound coil packing body |
| JP2005289593A (en) * | 2004-03-31 | 2005-10-20 | Kobelco & Materials Copper Tube Inc | Level wound coil, level wound coil package, and method of supplying pipe from level wound coil |
-
2005
- 2005-12-08 JP JP2005355013A patent/JP4865316B2/en not_active Expired - Fee Related
Patent Citations (6)
| Publication number | Priority date | Publication date | Assignee | Title |
|---|---|---|---|---|
| JPS6015882A (en) * | 1983-07-08 | 1985-01-26 | Olympus Optical Co Ltd | Identification signal recording system for software recording medium |
| JPS6211776A (en) * | 1985-07-10 | 1987-01-20 | Nippon Oil & Fats Co Ltd | Thermosetting resin composition for coating |
| JPH0753123A (en) * | 1993-08-09 | 1995-02-28 | Rohm Co Ltd | Withdrawing guide device for metallic wire material |
| JPH10192970A (en) * | 1996-12-27 | 1998-07-28 | Mitsubishi Materials Corp | Rotating jig for uncoiler and uncoiler |
| JP2004231348A (en) * | 2003-01-29 | 2004-08-19 | Kobe Steel Ltd | Supply method for pipe from level wound coil and supply method for pipe from level wound coil packing body |
| JP2005289593A (en) * | 2004-03-31 | 2005-10-20 | Kobelco & Materials Copper Tube Inc | Level wound coil, level wound coil package, and method of supplying pipe from level wound coil |
Also Published As
| Publication number | Publication date |
|---|---|
| JP4865316B2 (en) | 2012-02-01 |
Similar Documents
| Publication | Publication Date | Title |
|---|---|---|
| CN101903272A (en) | Unwinding method of flat wound coil | |
| JP4865316B2 (en) | Level wound coil package | |
| KR100209257B1 (en) | Pallet Supports and Methods and Apparatus for Producing Pallets Bonded to the Supports | |
| US7121500B2 (en) | Stackable winding core and method of making same | |
| US7631828B2 (en) | Level wound coil, method of manufacturing same, and package for same | |
| JP4424225B2 (en) | Pipe supply from level-wound coil | |
| JP2007145538A (en) | Level-wound coil loading holder and level-wound coil unwinding method | |
| ES3023312T3 (en) | Convolute cardboard tube | |
| JP4776343B2 (en) | Level wound coil package | |
| JP4804850B2 (en) | Level-wound coil pipe supply method | |
| CN117222584B (en) | Loading and retaining body for flat-wound coils, bundling body for flat-wound coils, and padding plate for loading and retaining body of flat-wound coils. | |
| JP4309655B2 (en) | Spacer for coil products | |
| JP5913660B1 (en) | Swirl coil laminate and stack of spiral coil laminate | |
| JP5901536B2 (en) | Metal tube supply method | |
| CN117222584A (en) | Loading and retaining body for flat-wound coils, packing body for flat-wound coils, and pads for loading and retaining bodies of flat-wound coils | |
| JP2005126198A (en) | Pipe supplying method from level wound coil and pipe supplying method and unwinding device from package of level wound coil | |
| JP3599110B2 (en) | Method of supplying pipe from level-wound coil and method of supplying pipe from level-wound coil package | |
| JP2007269382A (en) | Spacer for metal coil | |
| JP2003072876A (en) | Roll loading spacer | |
| JP2007070026A (en) | Level wound coil | |
| JP5065469B2 (en) | Level-wound coil pipe supply method | |
| JP2021054555A (en) | Wire winding method and aligned winding coil | |
| CN1833974A (en) | Level wound coil mounted on pallet, and package for same | |
| JP3599111B2 (en) | Level wound coil package and pipe supply method therefrom | |
| CN100491220C (en) | Uniformly wound pipe roll, method of manufacturing the same, and package for uniformly wound pipe roll |
Legal Events
| Date | Code | Title | Description |
|---|---|---|---|
| A621 | Written request for application examination |
Free format text: JAPANESE INTERMEDIATE CODE: A621 Effective date: 20080801 |
|
| A977 | Report on retrieval |
Free format text: JAPANESE INTERMEDIATE CODE: A971007 Effective date: 20101213 |
|
| A131 | Notification of reasons for refusal |
Free format text: JAPANESE INTERMEDIATE CODE: A131 Effective date: 20101217 |
|
| RD03 | Notification of appointment of power of attorney |
Free format text: JAPANESE INTERMEDIATE CODE: A7423 Effective date: 20110118 |
|
| A521 | Request for written amendment filed |
Free format text: JAPANESE INTERMEDIATE CODE: A523 Effective date: 20110214 |
|
| A02 | Decision of refusal |
Free format text: JAPANESE INTERMEDIATE CODE: A02 Effective date: 20110621 |
|
| A521 | Request for written amendment filed |
Free format text: JAPANESE INTERMEDIATE CODE: A523 Effective date: 20110921 |
|
| A911 | Transfer to examiner for re-examination before appeal (zenchi) |
Free format text: JAPANESE INTERMEDIATE CODE: A911 Effective date: 20110928 |
|
| TRDD | Decision of grant or rejection written | ||
| A01 | Written decision to grant a patent or to grant a registration (utility model) |
Free format text: JAPANESE INTERMEDIATE CODE: A01 Effective date: 20111101 |
|
| A01 | Written decision to grant a patent or to grant a registration (utility model) |
Free format text: JAPANESE INTERMEDIATE CODE: A01 |
|
| A61 | First payment of annual fees (during grant procedure) |
Free format text: JAPANESE INTERMEDIATE CODE: A61 Effective date: 20111110 |
|
| FPAY | Renewal fee payment (event date is renewal date of database) |
Free format text: PAYMENT UNTIL: 20141118 Year of fee payment: 3 |
|
| R151 | Written notification of patent or utility model registration |
Ref document number: 4865316 Country of ref document: JP Free format text: JAPANESE INTERMEDIATE CODE: R151 |
|
| FPAY | Renewal fee payment (event date is renewal date of database) |
Free format text: PAYMENT UNTIL: 20141118 Year of fee payment: 3 |
|
| R250 | Receipt of annual fees |
Free format text: JAPANESE INTERMEDIATE CODE: R250 |
|
| S111 | Request for change of ownership or part of ownership |
Free format text: JAPANESE INTERMEDIATE CODE: R313113 |
|
| R350 | Written notification of registration of transfer |
Free format text: JAPANESE INTERMEDIATE CODE: R350 |
|
| R250 | Receipt of annual fees |
Free format text: JAPANESE INTERMEDIATE CODE: R250 |
|
| S533 | Written request for registration of change of name |
Free format text: JAPANESE INTERMEDIATE CODE: R313533 |
|
| R350 | Written notification of registration of transfer |
Free format text: JAPANESE INTERMEDIATE CODE: R350 |
|
| R250 | Receipt of annual fees |
Free format text: JAPANESE INTERMEDIATE CODE: R250 |
|
| R250 | Receipt of annual fees |
Free format text: JAPANESE INTERMEDIATE CODE: R250 |
|
| LAPS | Cancellation because of no payment of annual fees |
