JP2007138473A - プレストレストコンクリート部材からなる土留め壁 - Google Patents
プレストレストコンクリート部材からなる土留め壁 Download PDFInfo
- Publication number
- JP2007138473A JP2007138473A JP2005331684A JP2005331684A JP2007138473A JP 2007138473 A JP2007138473 A JP 2007138473A JP 2005331684 A JP2005331684 A JP 2005331684A JP 2005331684 A JP2005331684 A JP 2005331684A JP 2007138473 A JP2007138473 A JP 2007138473A
- Authority
- JP
- Japan
- Prior art keywords
- retaining wall
- prestressed concrete
- water
- filled
- joint
- Prior art date
- Legal status (The legal status is an assumption and is not a legal conclusion. Google has not performed a legal analysis and makes no representation as to the accuracy of the status listed.)
- Pending
Links
Images
Landscapes
- Bulkheads Adapted To Foundation Construction (AREA)
Abstract
【課題】 PC部材どうしの接合部からの水漏れを防止することが可能なPC部材からなる土留め壁を提供する。
【解決手段】 柱状に形成されたPC部材11の複数を連設してなる土留め壁10であって、各PC部材の両側面には少なくとも三本の縦溝16a〜18aがそれぞれ形成され、隣接するPC部材の各縦溝どうしが対向することにより複数の接合孔16〜18が形成され、複数の接合孔のうちで両側に位置する接合孔16,18には、セメント組成物19が充填され、中間に位置する接合孔17には粉状又は粒状の水膨張性材料21が充填される。PC部材は、中間に位置する縦溝の表面に複数の凸部38が材軸方向に形成されたものを使用することが好ましい。
【選択図】 図1
【解決手段】 柱状に形成されたPC部材11の複数を連設してなる土留め壁10であって、各PC部材の両側面には少なくとも三本の縦溝16a〜18aがそれぞれ形成され、隣接するPC部材の各縦溝どうしが対向することにより複数の接合孔16〜18が形成され、複数の接合孔のうちで両側に位置する接合孔16,18には、セメント組成物19が充填され、中間に位置する接合孔17には粉状又は粒状の水膨張性材料21が充填される。PC部材は、中間に位置する縦溝の表面に複数の凸部38が材軸方向に形成されたものを使用することが好ましい。
【選択図】 図1
Description
本発明は、プレストレストコンクリート部材(以下、PC部材ということもある)からなる土留め壁に関し、さらに詳細には、河川護岸壁、道路擁壁、調整池、遊水池、土砂崩れや地滑り防止の擁壁、造成地擁壁などに適用可能な土留め壁に関する。
複数のPC部材を数mm間隔で地中に打ち込んで接合することにより擁壁を構築する工法がある。用途はきわめて広く、河川護岸壁、道路擁壁、調整池、遊水池、土砂崩れや地滑り防止の擁壁、造成地擁壁など、多様な土留め構造物の構築に適用される。
この工法では、例えば、図5に示したようなPC部材50が使用される。PC部材50は、角形断面の筒状部51の中央に孔52が形成され、両側面に二本の縦溝53が形成されたものである。このPC部材50の複数を隣接させて地中に打ち込んで壁体を構築し、対向する縦溝53どうしで構成される各接合孔54から土砂を取り除き、ここにメッシュ状袋(図示せず)を挿入し、メッシュ状袋にモルタル55を充填し、これが凝結することにより土留めや止水が行われている。
この工法では、例えば、図5に示したようなPC部材50が使用される。PC部材50は、角形断面の筒状部51の中央に孔52が形成され、両側面に二本の縦溝53が形成されたものである。このPC部材50の複数を隣接させて地中に打ち込んで壁体を構築し、対向する縦溝53どうしで構成される各接合孔54から土砂を取り除き、ここにメッシュ状袋(図示せず)を挿入し、メッシュ状袋にモルタル55を充填し、これが凝結することにより土留めや止水が行われている。
かかる構成の土留め構造物において、地下水位が高い場合には、その水圧により縦溝の表面とモルタルとの隙間から漏水する懸念がある。また地震などによりモルタルにひび割れが生じた場合にも、ひび割れ箇所から地下水が浸透して水漏れが発生するという問題がある。このような水漏れを防止するために、例えば、特許文献1には、止水治具を接合孔に設けることが提案されている。この止水治具は水膨張ゴムを有するものであり、接合孔に地下水が浸透した場合には、水膨張ゴムが膨張して接合孔の表面に密着することにより、漏水を防止しようとするものである。
特開2005−155038号公報
しかしながら、建設現場でPC部材を地中に打ち込んだ場合には、PC部材どうしの間隔に多少の施工誤差が生じるものであり、接合孔の寸法も常に同じには成り難いものである。このように施工誤差が生じがちな接合孔に、定形品である止水治具を設けたとしても、水膨張ゴムを常に接合孔の表面に密着させることは難しく、ここから漏水が発生する懸念は解消できるものではない。
そこで、本発明は上記従来技術の問題点に鑑み、PC部材どうしの接合部からの水漏れを防止することが可能なPC部からなる土留め壁を提供することを目的とする。
本発明の請求項1では、柱状に形成されたプレストレストコンクリート部材の複数を連設してなる土留め壁であって、各プレストレストコンクリート部材の両側面には少なくとも三本の縦溝がそれぞれ形成され、隣接するプレストレストコンクリート部材の各縦溝どうしが対向することにより複数の接合孔が形成され、複数の接合孔のうちで両側に位置する接合孔には、セメント及び水を含む混合物が充填され、中間に位置する接合孔には粉状又は粒状の水膨張性材料が充填されたことを特徴とする、プレストレストコンクリート部材からなる土留め壁が提供される。
ここで、水膨張性材料としては、例えば、水分を含んだときに膨潤するベントナイトであって、粉状又は粒状に形成された乾燥状態のベントナイトを使用することが可能であり、その粉体又は顆粒の粒径は、中間の接合孔に隙間無く充填することが可能な程度の大きさのものを使用する。また水膨張性材料は上記ベントナイト以外にも、粉状又は粒状に形成された乾燥状態の材料を使用することが可能であり、例えば、膨潤土、膨張材を含むセメント、粘土、吸水性高分子、水膨張ゴム等の材料からなる乾燥状態の粉状体又は粒状体を使用することができる。
本発明の請求項2では、前記プレストレストコンクリート部材は、中間に位置する前記縦溝の表面に、材軸方向に延びる複数の凸部又は複数の凹部を形成するようにした。
本発明の請求項3では、前記プレストレストコンクリート部材の中間に位置する縦溝は、該縦溝によって構成される接合孔がほぼ円形断面になるように形成した。
請求項1の土留め壁では、隣り合うPC部材どうしの接合面に少なくとも三本の接合孔が形成され、そのうち中間の接合孔には水膨張性材料が充填される。したがって、両側の接合孔に充填されたセメント及び水を含む混合物(セメント組成物)の固化体にひび割れが生じても、ひび割れから浸入した水を中間の接合孔の水膨張性材料が吸収して膨張し、PC部材の接合面の隙間を塞ぐため、水が土留め壁の乾燥側に通過することを防止できる。また水膨張性材料としては粉状又は粒状のものが使用されるため、接合孔に多少の施工誤差が生じたとしても、水膨張性材料は接合孔に確実に隙間無く充填することが可能であり、建設現場であっても、信頼性の高い漏水防止施工が可能になる。さらに、中間の接合孔は、両側の接合孔に充填されたセメント組成物に挟まれて閉塞した状態となっているため、水膨張性材料は水を吸収したときに、両側のセメント組成物に拘束されて接合面の隙間から拡散することなく、接合孔の隙間を確実に塞ぐように膨張することが可能になる。
請求項2の土留め壁では、各PC部材の溝の表面に複数の凸部又は複数の凹部を設けることにより、水膨張性材料との接触面積を増加させ、溝の表面に沿って中間の接合孔を通過しようとする地下水を、水膨張性材料で確実に吸収することができる。
請求項3の土留め壁では、溝の表面に複数の凸部又は複数の凹部を設ける場合にも、その接合孔が実質的にほぼ円形断面になるように形成するものである。これにより、土中に打設した後のPC部材の接合孔からの土砂の除去作業が容易に行い得るものである。
以下、図面を参照して本発明の実施の形態を説明するが、本発明はこれに限定されるものではない。
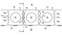
図1は土留め壁10の断面図であり、説明の便宜上、隣接した三本のPC部材11のみを図示し、他のPC部材は省略した。図1において、本発明の土留め壁10は、ほぼ角形断面のPC部材11の複数を約10mm程度の間隔で地中に連設し、隣接するPC部材11どうしを接合することにより、地中又は地上の空間41を地盤42から仕切るものである。
図2は、かかる土留め壁10を構成するPC部材11の断面図である。PC部材11は材軸方向に延びる縦孔12が断面のほぼ中央にそれぞれ形成された柱状体であり、その表面13(空間41に対向する側)と裏面14(地盤42に対向する側)がほぼ平坦に形成される一方で、両方の側面15,15には少なくとも三本の縦溝16a,17a,18aが形成されている。三本の縦溝16a〜18aはPC部材11の全長に形成されるものであり、そのうち、中間の縦溝17aは凹凸の無い滑らかな曲面でほぼ半円形断面に形成され、中間の縦溝17aを挟む両側の縦溝16a,18aは凹凸の無い滑らかな曲面で半楕円形断面に形成されている。
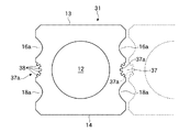
次に、図3は、図2とは異なるPC部材31の断面図である。このPC部材31は、中間の縦溝37aに複数の凸部38が材軸方向に延びるように設けられ、ほぼ半円形断面に形成されたものである。複数のPC部材31を連設し、縦溝37aどうしを対向させることにより接合孔37が形成される。図3のPC部材31において、縦溝37aに設けられた複数の凸部38以外の構成はPC部材11と同じであるため、ここでは同じ符号を付して更なる説明を省略する。
図4は図1におけるIV−IV線に沿った縦断面図である。
図1の土留め壁10では、隣接するPC部材11の各縦溝16a〜18aどうしが対向することにより各接合孔16〜18が形成され、両側の接合孔16,18のほぼ全長にメッシュ状袋(図示せず)を介してセメント組成物(モルタル19)が充填される。メッシュ状袋は、モルタル19の固形分を通過させず、水は通過可能なものが使用される。これにより、モルタル19は接合孔16,18から中間の接合孔17や外部へ流出せず、接合孔16,18に隙間無く充填されて固化し、中間の接合孔17を閉塞状態にする。またモルタル19により、隣接するPC部材11どうしが接合されて、せん断耐力が確保される。なお、接合孔16,18には、隙間無く充填できるものであれば、モルタル以外のセメント組成物を充填することも可能である。
中間の接合孔17の下端17bには、図4に示したようにモルタル20が充填され、このモルタル20の上に水膨張性材料21が充填される。モルタル20により、接合孔17の下端開口から地下水が流入することが防止され、接合孔17には水膨張性材料21を隙間無く充填することが可能になる。水膨張性材料21は、粉状又は粒状に形成された乾燥状態のベントナイトであって、水分を含んだときに膨潤するものを使用する。
図1の土留め壁10では、隣接するPC部材11の各縦溝16a〜18aどうしが対向することにより各接合孔16〜18が形成され、両側の接合孔16,18のほぼ全長にメッシュ状袋(図示せず)を介してセメント組成物(モルタル19)が充填される。メッシュ状袋は、モルタル19の固形分を通過させず、水は通過可能なものが使用される。これにより、モルタル19は接合孔16,18から中間の接合孔17や外部へ流出せず、接合孔16,18に隙間無く充填されて固化し、中間の接合孔17を閉塞状態にする。またモルタル19により、隣接するPC部材11どうしが接合されて、せん断耐力が確保される。なお、接合孔16,18には、隙間無く充填できるものであれば、モルタル以外のセメント組成物を充填することも可能である。
中間の接合孔17の下端17bには、図4に示したようにモルタル20が充填され、このモルタル20の上に水膨張性材料21が充填される。モルタル20により、接合孔17の下端開口から地下水が流入することが防止され、接合孔17には水膨張性材料21を隙間無く充填することが可能になる。水膨張性材料21は、粉状又は粒状に形成された乾燥状態のベントナイトであって、水分を含んだときに膨潤するものを使用する。
上記構成の土留め壁10では、水膨張性材料21が中間の接合孔17に充填されるので、たとえ、接合孔16,18に充填されたモルタル20にひび割れが生じても、ここから浸入した水を水膨張性材料21が吸収して膨張し、PC部材11どうしの接合面の隙間を塞ぎ、水が土留め壁10の乾燥側、すなわち地中空間又は地上空間41に通過することを防止できる。また水膨張性材料21としては粉状又は粒状に形成された乾燥状態のベントナイト等を使用するので、PC部材11の接合面に多少の施工誤差が生じたとしても、水膨張性材料21は接合孔17に確実に隙間無く充填することができる。
また土留め壁10では、接合孔17,37が実質的にほぼ円形断面になるように形成されるので、土中に打設した後のPC部材11,31の接合孔17,37からの土砂の除去作業を容易に行い得るものである。
また土留め壁10では、接合孔17,37が実質的にほぼ円形断面になるように形成されるので、土中に打設した後のPC部材11,31の接合孔17,37からの土砂の除去作業を容易に行い得るものである。
さらに土留め壁10に、図3のPC部材31を用いた場合には、複数の凸部38により接合孔37における水膨張性材料21との接触面積が増加するため、溝37aの表面に沿って中間の接合孔37を通過しようとする地下水を、水膨張性材料21で確実に吸収することができる。
10 土留め壁
11 PC部材
16 接合孔
16a 縦溝
17 接合孔
17a 縦溝
18 接合孔
18a 縦溝
19 モルタル
21 水膨張性材料
31 PC部材
37 接合孔
37a 縦溝
38 凸部
11 PC部材
16 接合孔
16a 縦溝
17 接合孔
17a 縦溝
18 接合孔
18a 縦溝
19 モルタル
21 水膨張性材料
31 PC部材
37 接合孔
37a 縦溝
38 凸部
Claims (3)
- 柱状に形成されたプレストレストコンクリート部材の複数を連設してなる土留め壁であって、各プレストレストコンクリート部材の両側面には少なくとも三本の縦溝がそれぞれ形成され、隣接するプレストレストコンクリート部材の各縦溝どうしが対向することにより複数の接合孔が形成され、複数の接合孔のうちで両側に位置する接合孔には、セメント及び水を含む混合物が充填され、中間に位置する接合孔には粉状又は粒状の水膨張性材料が充填されたことを特徴とする、プレストレストコンクリート部材からなる土留め壁。
- 前記プレストレストコンクリート部材は、中間に位置する前記縦溝の表面に、複数の凸部又は複数の凹部が材軸方向に形成されたものである請求項1に記載のプレストレストコンクリート部材からなる土留め壁。
- 前記プレストレストコンクリート部材の中間に位置する縦溝は、該縦溝によって構成される接合孔がほぼ円形断面になるように形成されたものである請求項1又は2に記載のプレストレストコンクリート部材からなる土留め壁。
Priority Applications (1)
| Application Number | Priority Date | Filing Date | Title |
|---|---|---|---|
| JP2005331684A JP2007138473A (ja) | 2005-11-16 | 2005-11-16 | プレストレストコンクリート部材からなる土留め壁 |
Applications Claiming Priority (1)
| Application Number | Priority Date | Filing Date | Title |
|---|---|---|---|
| JP2005331684A JP2007138473A (ja) | 2005-11-16 | 2005-11-16 | プレストレストコンクリート部材からなる土留め壁 |
Publications (1)
| Publication Number | Publication Date |
|---|---|
| JP2007138473A true JP2007138473A (ja) | 2007-06-07 |
Family
ID=38201680
Family Applications (1)
| Application Number | Title | Priority Date | Filing Date |
|---|---|---|---|
| JP2005331684A Pending JP2007138473A (ja) | 2005-11-16 | 2005-11-16 | プレストレストコンクリート部材からなる土留め壁 |
Country Status (1)
| Country | Link |
|---|---|
| JP (1) | JP2007138473A (ja) |
Cited By (6)
| Publication number | Priority date | Publication date | Assignee | Title |
|---|---|---|---|---|
| KR100927186B1 (ko) | 2009-03-24 | 2009-11-18 | 이규철 | 흙막이 및 차수용 연속 벽체 시공방법 |
| KR101116045B1 (ko) | 2008-09-11 | 2012-03-14 | (주)지오알앤디 | 사각지지말뚝을 이용한 연속벽체 흙막이 및 그 시공방법 |
| JP2018193797A (ja) * | 2017-05-18 | 2018-12-06 | 株式会社ケー・エフ・シー | 調整部材及びこれを用いた構造物の施工方法 |
| KR20220000780A (ko) * | 2020-06-26 | 2022-01-04 | 손승우 | 잡초 생장 억제형 친환경 보도블록 및 그의 시공방법 |
| CN116716894A (zh) * | 2023-06-21 | 2023-09-08 | 中铁一局集团(广州)建设工程有限公司 | 一种装配式地连墙后浇结构无水注浆施工方法 |
| CN117090223A (zh) * | 2023-10-09 | 2023-11-21 | 华东交通大学 | 一种基坑支护用钢支撑的预应力调节装置 |
-
2005
- 2005-11-16 JP JP2005331684A patent/JP2007138473A/ja active Pending
Cited By (8)
| Publication number | Priority date | Publication date | Assignee | Title |
|---|---|---|---|---|
| KR101116045B1 (ko) | 2008-09-11 | 2012-03-14 | (주)지오알앤디 | 사각지지말뚝을 이용한 연속벽체 흙막이 및 그 시공방법 |
| KR100927186B1 (ko) | 2009-03-24 | 2009-11-18 | 이규철 | 흙막이 및 차수용 연속 벽체 시공방법 |
| JP2018193797A (ja) * | 2017-05-18 | 2018-12-06 | 株式会社ケー・エフ・シー | 調整部材及びこれを用いた構造物の施工方法 |
| KR20220000780A (ko) * | 2020-06-26 | 2022-01-04 | 손승우 | 잡초 생장 억제형 친환경 보도블록 및 그의 시공방법 |
| KR102414115B1 (ko) * | 2020-06-26 | 2022-07-05 | 손승우 | 잡초 생장 억제형 친환경 보도블록 및 그의 시공방법 |
| CN116716894A (zh) * | 2023-06-21 | 2023-09-08 | 中铁一局集团(广州)建设工程有限公司 | 一种装配式地连墙后浇结构无水注浆施工方法 |
| CN116716894B (zh) * | 2023-06-21 | 2024-02-27 | 中铁一局集团(广州)建设工程有限公司 | 一种装配式地连墙后浇结构无水注浆施工方法 |
| CN117090223A (zh) * | 2023-10-09 | 2023-11-21 | 华东交通大学 | 一种基坑支护用钢支撑的预应力调节装置 |
Similar Documents
| Publication | Publication Date | Title |
|---|---|---|
| KR101764390B1 (ko) | 벽강관 파일 및 가변형 연결체로 구성된 3중 차수벽 구조 및 이를 이용한 차수 공법 | |
| EP3014024A1 (en) | Wall seal system | |
| JP2012132169A (ja) | 盛土の補強構造 | |
| JP6015751B2 (ja) | 鋼製壁および鋼製壁の施工方法 | |
| JP2007138473A (ja) | プレストレストコンクリート部材からなる土留め壁 | |
| CN110905600A (zh) | 煤矿地下水库箱型挡水坝 | |
| JP2009052204A (ja) | コンクリート構造物 | |
| JP2005023570A (ja) | アンダーパス側壁用杭及びアンダーパス側壁の止水方法 | |
| JP4463140B2 (ja) | 石積壁の耐震補強方法 | |
| KR100684209B1 (ko) | 콘크리트 구조물의 이음장치 및 이를 이용한 시공방법 | |
| JP2009197440A (ja) | フィルダムの止水構造および造成方法 | |
| RU2613461C1 (ru) | Гидротехнический отводящий туннель с железобетонной обделкой | |
| KR20040057061A (ko) | 벽강관말뚝의 연결구조 | |
| JP7183218B2 (ja) | 鋼製遮水壁、鋼製遮水壁の遮水方法 | |
| CN201228556Y (zh) | 矿井内的挡水墙连接水柱组合隔断墙结构 | |
| JP4938358B2 (ja) | セグメント用シール部材及びそれを用いたセグメント接合部のシール構造並びにセグメント接合方法 | |
| JP2007023656A (ja) | 坑道の支保構造体及び支保方法 | |
| KR101285987B1 (ko) | 토목, 도로, 철도, 단지, 수자원, 구조, 항만, 상하수도 및 환경분야에 적용되는 개량된 복합형 루프식 터널 공법 | |
| JP3824086B2 (ja) | 護岸矢板の笠ブロック搭載構造 | |
| JP2002227187A (ja) | 鋼管矢板の継手およびその施工法 | |
| JPS60250122A (ja) | 液状化防止基礎杭構造 | |
| JP4643471B2 (ja) | 鋼製地中連続壁 | |
| KR102437778B1 (ko) | 게비온 옹벽블록 | |
| JP2003096763A (ja) | 水密構造を有する地下施設の構築方法、及び補修方法 | |
| JP5739318B2 (ja) | トンネル用セグメントの止水構造及びトンネル用セグメントの施工方法 |
Legal Events
| Date | Code | Title | Description |
|---|---|---|---|
| A621 | Written request for application examination |
Free format text: JAPANESE INTERMEDIATE CODE: A621 Effective date: 20070702 |
|
| A977 | Report on retrieval |
Effective date: 20081128 Free format text: JAPANESE INTERMEDIATE CODE: A971007 |
|
| A131 | Notification of reasons for refusal |
Effective date: 20091117 Free format text: JAPANESE INTERMEDIATE CODE: A131 |
|
| A02 | Decision of refusal |
Effective date: 20100309 Free format text: JAPANESE INTERMEDIATE CODE: A02 |