JP2007136311A - Solid-liquid separator - Google Patents

Solid-liquid separator Download PDF

Info

Publication number
JP2007136311A
JP2007136311A JP2005332190A JP2005332190A JP2007136311A JP 2007136311 A JP2007136311 A JP 2007136311A JP 2005332190 A JP2005332190 A JP 2005332190A JP 2005332190 A JP2005332190 A JP 2005332190A JP 2007136311 A JP2007136311 A JP 2007136311A
Authority
JP
Japan
Prior art keywords
movable plate
solid
movable
plates
pressed
Prior art date
Legal status (The legal status is an assumption and is not a legal conclusion. Google has not performed a legal analysis and makes no representation as to the accuracy of the status listed.)
Granted
Application number
JP2005332190A
Other languages
Japanese (ja)
Other versions
JP4036383B2 (en
Inventor
Masayoshi Sasaki
正昌 佐々木
Current Assignee (The listed assignees may be inaccurate. Google has not performed a legal analysis and makes no representation or warranty as to the accuracy of the list.)
Amukon KK
Original Assignee
Amukon KK
Priority date (The priority date is an assumption and is not a legal conclusion. Google has not performed a legal analysis and makes no representation as to the accuracy of the date listed.)
Filing date
Publication date
Application filed by Amukon KK filed Critical Amukon KK
Priority to JP2005332190A priority Critical patent/JP4036383B2/en
Publication of JP2007136311A publication Critical patent/JP2007136311A/en
Application granted granted Critical
Publication of JP4036383B2 publication Critical patent/JP4036383B2/en
Anticipated expiration legal-status Critical
Expired - Lifetime legal-status Critical Current

Links

Images

Classifications

    • BPERFORMING OPERATIONS; TRANSPORTING
    • B30PRESSES
    • B30BPRESSES IN GENERAL
    • B30B9/00Presses specially adapted for particular purposes
    • B30B9/02Presses specially adapted for particular purposes for squeezing-out liquid from liquid-containing material, e.g. juice from fruits, oil from oil-containing material
    • B30B9/12Presses specially adapted for particular purposes for squeezing-out liquid from liquid-containing material, e.g. juice from fruits, oil from oil-containing material using pressing worms or screws co-operating with a permeable casing
    • B30B9/121Screw constructions
    • BPERFORMING OPERATIONS; TRANSPORTING
    • B30PRESSES
    • B30BPRESSES IN GENERAL
    • B30B9/00Presses specially adapted for particular purposes
    • B30B9/02Presses specially adapted for particular purposes for squeezing-out liquid from liquid-containing material, e.g. juice from fruits, oil from oil-containing material
    • B30B9/12Presses specially adapted for particular purposes for squeezing-out liquid from liquid-containing material, e.g. juice from fruits, oil from oil-containing material using pressing worms or screws co-operating with a permeable casing
    • B30B9/16Presses specially adapted for particular purposes for squeezing-out liquid from liquid-containing material, e.g. juice from fruits, oil from oil-containing material using pressing worms or screws co-operating with a permeable casing operating with two or more screws or worms
    • BPERFORMING OPERATIONS; TRANSPORTING
    • B30PRESSES
    • B30BPRESSES IN GENERAL
    • B30B9/00Presses specially adapted for particular purposes
    • B30B9/02Presses specially adapted for particular purposes for squeezing-out liquid from liquid-containing material, e.g. juice from fruits, oil from oil-containing material
    • B30B9/26Permeable casings or strainers

Landscapes

  • Engineering & Computer Science (AREA)
  • Mechanical Engineering (AREA)
  • Treatment Of Sludge (AREA)
  • Filtration Of Liquid (AREA)

Abstract

【課題】複数の固定板と、隣り合う固定板の間に配置された可動板と、固定板及び可動板を貫通して延びる脱液スクリューとを有し、脱液スクリューの回転によって汚泥を搬送しながら、その汚泥の水分を固定板と可動板の間の隙間から流下させる固液分離装置において、可動板の摩耗を防止して固液分離装置のランニングコストを低減させる。
【解決手段】可動板12に被加圧部材39を着脱可能に取り付け、その被加圧部材39に駆動スクリュー41を挿通し、駆動スクリュー41の回転により被加圧部材39を加圧して、可動板12を往復動させる。
【選択図】図6
[PROBLEMS] To provide a plurality of fixed plates, a movable plate disposed between adjacent fixed plates, and a liquid removal screw extending through the fixed plate and the movable plate, while conveying sludge by rotation of the liquid removal screw. In the solid-liquid separator that causes the sludge to flow down from the gap between the fixed plate and the movable plate, wear of the movable plate is prevented and the running cost of the solid-liquid separator is reduced.
A member to be pressurized 39 is detachably attached to a movable plate 12, a driving screw 41 is inserted into the member to be pressurized 39, and the member to be pressurized 39 is pressurized by the rotation of the driving screw 41 to be movable. The plate 12 is reciprocated.
[Selection] Figure 6

Description

本発明は、液体を含む処理対象物から液体を分離する固液分離装置に関するものである。   The present invention relates to a solid-liquid separation device that separates a liquid from a processing object including the liquid.

液体を含む処理対象物から液体を分離する固液分離装置は従来より周知である。かかる固液分離装置によって処理される処理対象物としては、例えば、廃豆腐、食品加工排水、下水処理物、或いは養豚場から排出される廃水などの有機系汚泥、切削屑を含む切削油、メッキ廃液、インク廃液、顔料廃液、塗料廃液などの無機系汚泥、或いは野菜屑や果実の皮、フスマ、食品残渣などが挙げられる。   2. Description of the Related Art Conventionally, a solid-liquid separation device that separates a liquid from a processing object including the liquid is well known. Examples of processing objects to be processed by such a solid-liquid separator include, for example, waste tofu, food processing wastewater, sewage-treated products, organic sludge such as wastewater discharged from pig farms, cutting oil containing cutting waste, plating Examples include inorganic sludge such as waste liquid, ink waste liquid, pigment waste liquid, and paint waste liquid, or vegetable waste, fruit peel, bran, food residue, and the like.

上述した固液分離装置として、複数の可動板と、これらの可動板を貫通して延びる脱液スクリューを有する固液分離装置が公知である(特許文献1乃至3参照)。この形式の固液分離装置においては、脱液スクリューの回転によって処理対象物を搬送しながら脱液し、しかもその脱液スクリューの回転により可動板を作動させて、濾液排出間隙に固形分が詰まることを防止している。   As the above-described solid-liquid separation device, a solid-liquid separation device having a plurality of movable plates and a liquid removal screw extending through these movable plates is known (see Patent Documents 1 to 3). In this type of solid-liquid separation device, liquid is removed while the object to be treated is conveyed by rotation of the liquid removal screw, and the movable plate is operated by rotation of the liquid removal screw, so that the solid content is clogged in the filtrate discharge gap. To prevent that.

ところが、この種の固液分離装置においては、可動板は、回転する脱液スクリューにより加圧されて作動するので、可動板の内周面が経時的に摩耗する。このため、摩耗の進んだ可動板を新たな可動板と交換する必要があるが、可動板はかなりコストの高い部材であるため、かかる部材の交換に伴う固液分離装置のランニングコストが上昇する欠点を免れない。   However, in this type of solid-liquid separator, the movable plate is operated by being pressurized by the rotating liquid removal screw, so that the inner peripheral surface of the movable plate is worn over time. For this reason, it is necessary to replace the movable plate with advanced wear with a new movable plate. However, since the movable plate is a considerably expensive member, the running cost of the solid-liquid separation device accompanying the replacement of the member increases. I can't escape my shortcomings.

特開平5−228695号公報JP-A-5-228695 特許第3565841号公報Japanese Patent No. 3565841 特許第3638597号公報Japanese Patent No. 3638597

本発明の目的は、従来よりもランニングコストを低減できる固液分離装置を提供することにある。   An object of the present invention is to provide a solid-liquid separation apparatus that can reduce running costs as compared with the conventional art.

本発明は、上記目的を達成するため、複数の可動板と、これらの可動板に接触することなく該可動板を貫通して延びる少なくとも1本の脱液スクリューと、各可動板に着脱可能に取り付けられた被加圧部材と、該被加圧部材を貫通して延びる駆動スクリューとを具備し、各被加圧部材は、回転する駆動スクリューにより加圧されて各被加圧部材に取り付けられた可動板と共に往復動するように形成されていることを特徴とする固液分離装置を提案する(請求項1)。   To achieve the above object, the present invention provides a plurality of movable plates, at least one drainage screw that extends through the movable plates without contacting the movable plates, and is attachable to and detachable from each movable plate. Each of the pressurized members is pressed by a rotating driving screw and attached to each of the pressurized members. The present invention proposes a solid-liquid separator characterized by being configured to reciprocate together with the movable plate.

また、上記請求項1に記載の固液分離装置において、前記脱液スクリューに接触しない状態で配置された複数の固定板を有し、隣り合う固定板の間に少なくとも1つの可動板が配置されていて、前記脱液スクリューは、前記可動板と固定板を貫通して延びていると有利である(請求項2)。   The solid-liquid separator according to claim 1, further comprising a plurality of fixed plates arranged in a state not contacting the liquid removal screw, wherein at least one movable plate is arranged between adjacent fixed plates. It is advantageous that the drainage screw extends through the movable plate and the fixed plate (Claim 2).

さらに、上記請求項1又は2に記載の固液分離装置において、処理対象物搬送方向上流側に位置する複数の上流側可動板を往復動させる第1の駆動スクリューと、前記上流側可動板よりも処理対象物搬送方向下流側に位置する複数の下流側可動板を往復動させる第2の駆動スクリューを有し、前記複数の上流側可動板が、前記複数の下流側可動板よりも高速で往復動するように、前記第1及び第2の駆動スクリューが回転駆動されるように構成されていると有利である(請求項3)。   Furthermore, in the solid-liquid separator according to claim 1 or 2, the first drive screw for reciprocating a plurality of upstream movable plates located upstream in the processing object conveyance direction, and the upstream movable plate And a second drive screw for reciprocating a plurality of downstream movable plates located downstream in the processing object conveyance direction, wherein the plurality of upstream movable plates are faster than the plurality of downstream movable plates. It is advantageous if the first and second drive screws are rotationally driven so as to reciprocate (Claim 3).

また、上記請求項1乃至3のいずれかに記載の固液分離装置において、前記可動板に取り付けられた被加圧部材が隣り合う可動板の間から離脱しないように、該被加圧部材の厚さが、隣り合う可動板の間の隙間の大きさよりも厚く形成され、前記駆動スクリューの軸線方向各端部側に位置する各被加圧部材が、保持手段によって、可動板から抜け出ることがないように保持されていると有利である(請求項4)。   Further, in the solid-liquid separation device according to any one of claims 1 to 3, the thickness of the member to be pressed is set so that the member to be pressed attached to the movable plate does not leave between adjacent movable plates. However, it is formed thicker than the size of the gap between adjacent movable plates, and each pressed member positioned on each end in the axial direction of the drive screw is held by the holding means so that it does not come out of the movable plate. It is advantageous if this is done (claim 4).

さらに、上記請求項2又は3に記載の固液分離装置において、前記可動板に取り付けられた被加圧部材が、隣り合う固定板の間に位置すると共に、該可動板とその隣りに位置する固定板の間の隙間の大きさよりも、前記被加圧部材の厚さが厚く設定されていると有利である(請求項5)。   Furthermore, in the solid-liquid separation device according to claim 2 or 3, the member to be pressurized attached to the movable plate is located between the adjacent fixed plates, and between the movable plate and the fixed plate located adjacent thereto. It is advantageous if the thickness of the member to be pressed is set to be thicker than the size of the gap.

本発明によれば、各可動板が脱液スクリューによって作動するのではなく、各可動板に着脱可能に取付けられた被加圧部材を貫通して延びる駆動スクリューの回転により作動し、可動板は脱液スクリューに接触していないので、可動板の摩耗を従来よりも著しく低減でき、ないしは可動板の摩耗を実質的に阻止することが可能である。被加圧部材の摩耗が進んだときは、これを新たな被加圧部材と交換する必要があるが、被加圧部材は、可動板よりも小サイズのコストの低い部材であるため、固液分離装置のランニングコストを確実に低減することができる。   According to the present invention, each movable plate is not operated by a dewatering screw, but is operated by rotation of a drive screw that extends through a member to be pressed that is detachably attached to each movable plate. Since it is not in contact with the liquid removal screw, the wear of the movable plate can be significantly reduced as compared with the conventional case, or the wear of the movable plate can be substantially prevented. When wear of the member to be pressed progresses, it is necessary to replace it with a new member to be pressed. However, the member to be pressed is a member having a smaller size and a lower cost than the movable plate. The running cost of the liquid separation device can be reliably reduced.

以下、本発明の実施形態例を図面に従って詳細に説明する。   Embodiments of the present invention will be described below in detail with reference to the drawings.

図1は、本例の固液分離装置の平面図であり、図2はその固液分離装置の垂直断面図である。これらの図に示した固液分離装置によって、先に例示したいずれの処理対象物又は他の処理対象物も固液分離することが可能であるが、ここでは、多量の水分を含んだ汚泥を脱水処理する場合について説明する。   FIG. 1 is a plan view of the solid-liquid separator of this example, and FIG. 2 is a vertical sectional view of the solid-liquid separator. With the solid-liquid separator shown in these figures, it is possible to solid-liquid separate any of the processing objects exemplified above or other processing objects, but here, sludge containing a large amount of water is used. A case where dehydration is performed will be described.

本例の固液分離装置は、後述するギア52,53を収容したギアボックス1と、出口部材2とを有し、これらの部材1,2の間には、複数の固定板13と可動板12が配置されている。また、可動板12と固定板13の上部は、着脱可能なカバー5によって覆われており、このカバー5は、ボルト85とナットによって、ギアボックス1と出口部材2とに着脱可能に固定されている。図3は、このカバー5を取り除いた状態での固液分離装置の平面図である。また、ギアボックス1の近傍のカバー部分には、処理対象物を投入するための投入口4が形成されている。   The solid-liquid separation device of this example includes a gear box 1 that accommodates gears 52 and 53, which will be described later, and an outlet member 2, and a plurality of fixed plates 13 and movable plates are interposed between these members 1 and 2. 12 is arranged. The upper portions of the movable plate 12 and the fixed plate 13 are covered with a detachable cover 5, which is detachably fixed to the gear box 1 and the outlet member 2 by bolts 85 and nuts. Yes. FIG. 3 is a plan view of the solid-liquid separator with the cover 5 removed. In addition, the cover portion in the vicinity of the gear box 1 is formed with a loading port 4 for loading a processing object.

図1乃至図3に示すように、出口部材2は、水平断面がほぼ矩形に形成され、かつ上部と下部が開口した形状を有している。かかる出口部材2の、固定板13と可動板12を向いた側の側壁16には開口37が形成され、これに対向して位置する側壁17には切欠38が形成されている。側壁17に形成された切欠38には、軸受板28が配置され、この軸受板28はボルト3と、これに螺着したナットとによって出口部材2に着脱可能に固定されている。ボルト3を緩めることにより、軸受板28を、出口部材2から分離することができる。出口部材2の下部開口は、脱水処理された汚泥が排出される排出口36を構成している。   As shown in FIGS. 1 to 3, the outlet member 2 has a shape in which a horizontal cross section is formed in a substantially rectangular shape and an upper part and a lower part are opened. An opening 37 is formed in the side wall 16 of the outlet member 2 facing the fixed plate 13 and the movable plate 12, and a notch 38 is formed in the side wall 17 positioned opposite thereto. A bearing plate 28 is disposed in a notch 38 formed in the side wall 17, and the bearing plate 28 is detachably fixed to the outlet member 2 by a bolt 3 and a nut screwed thereto. By loosening the bolt 3, the bearing plate 28 can be separated from the outlet member 2. The lower opening of the outlet member 2 constitutes a discharge port 36 through which the dewatered sludge is discharged.

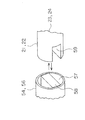
図4は複数の固定板13と複数の可動板12の配置状態を示し、図5は隣り合う2つの固定板13と、これらの固定板13の間に配置された1つの可動板12を示す斜視図である。また、図6は図2のVI−VI線断面図であって、一部の要素を簡略化して示した図である。これらの図から判るように、各可動板12は、隣り合う固定板13の間に配置されていて、各可動板12と各固定板13には、上部が開口した凹部14,15がそれぞれ形成されている。また、隣り合う固定板13の間にはリング状の複数のスペーサ30が配置され、各固定板13に形成された取付孔32,33と、各スペーサ30の中心孔とに、ステーボルト18,19が挿通されている。図示した例では、各固定板13の凹部15の下方に形成された2つの取付孔32を貫通する2本のステーボルト18と、凹部15の各側方に形成された2つの取付孔33を貫通する2本のステーボルト19の合計が4本のステーボルトが用いられている。図5には、これらのステーボルトのうちの1本のステーボルト19と、これが嵌合する1つのスペーサ30だけを示してある。このようにして、スペーサ30によって、隣り合う固定板13の間に間隙が形成され、ここに可動板12が配置されている。   4 shows an arrangement state of a plurality of fixed plates 13 and a plurality of movable plates 12, and FIG. 5 shows two adjacent fixed plates 13 and one movable plate 12 arranged between these fixed plates 13. It is a perspective view. FIG. 6 is a cross-sectional view taken along the line VI-VI in FIG. 2, in which some elements are simplified. As can be seen from these drawings, each movable plate 12 is arranged between adjacent fixed plates 13, and each movable plate 12 and each fixed plate 13 are formed with recesses 14 and 15 having an open top. Has been. Further, a plurality of ring-shaped spacers 30 are arranged between the adjacent fixing plates 13, and stay bolts 18, 33 are attached to attachment holes 32 and 33 formed in each fixing plate 13 and a center hole of each spacer 30. 19 is inserted. In the illustrated example, two stay bolts 18 that pass through two mounting holes 32 formed below the recess 15 of each fixing plate 13 and two mounting holes 33 formed on each side of the recess 15 are provided. A total of four stay bolts 19 penetrating therethrough is used. FIG. 5 shows only one of the stay bolts 19 and one spacer 30 into which the stay bolt 19 is fitted. In this way, the spacer 30 forms a gap between the adjacent fixed plates 13, and the movable plate 12 is disposed here.

図2及び図3に示すように、ステーボルト18,19は、ギアボックス1の一方の側壁50と、出口部材2の一方の側壁16を貫通し、その各ステーボルト18,19の各端部に形成された雄ねじにナット20,20Aがそれぞれ螺着されて締め付けられている。このように、各固定板13は、スペーサ30によって互いに所定の間隙をあけて、その軸線方向に配列され、かつステーボルト18,19とナット20,20Aとによって互いに一体的に固定され、ギアボックス1と出口部材2に対して固定されている。スペーサによって互いに間隙をあけて配置された各固定板を、わずかに遊動できるように組み付けることもできる。   As shown in FIGS. 2 and 3, the stay bolts 18 and 19 pass through one side wall 50 of the gear box 1 and one side wall 16 of the outlet member 2, and end portions of the respective stay bolts 18 and 19. The nuts 20 and 20A are respectively screwed and tightened to the male screws formed in the above. Thus, the fixing plates 13 are arranged in the axial direction with a predetermined gap therebetween by the spacers 30 and are integrally fixed to each other by the stay bolts 18 and 19 and the nuts 20 and 20A. 1 and the outlet member 2 are fixed. It is also possible to assemble the fixing plates arranged so as to be spaced from each other by spacers so that they can be slightly moved.

図4に示すように、各可動板12の厚さTは、各固定板13の間の間隙幅Gよりも小さく設定され、各固定板13の端面と、これに対向する可動板12の端面の間には、例えば0.1乃至1mm程度の濾液排出間隙gが形成される。この濾液排出間隙gは、後述するように汚泥から分離された液体、すなわち濾液を通過させるものである。可動板12の厚さTと固定板13の厚さtは、例えば1乃至3mm程度に設定される。   As shown in FIG. 4, the thickness T of each movable plate 12 is set to be smaller than the gap width G between each fixed plate 13, and the end surface of each fixed plate 13 and the end surface of the movable plate 12 facing this end surface. In between, a filtrate discharge gap g of, for example, about 0.1 to 1 mm is formed. As will be described later, the filtrate discharge gap g allows the liquid separated from the sludge, that is, the filtrate to pass therethrough. The thickness T of the movable plate 12 and the thickness t of the fixed plate 13 are set to about 1 to 3 mm, for example.

図6に示すように、各可動板12は、下側の2本のステーボルト18に嵌合したスペーサ30上に載せられている。これにより、各可動板12が下方に落下することが阻止され、しかも各可動板12は、隣り合う固定板13の間の隙間において、固定板13の端面と平行な方向に動くことができる。   As shown in FIG. 6, each movable plate 12 is placed on a spacer 30 fitted to two lower stay bolts 18. Accordingly, each movable plate 12 is prevented from falling downward, and each movable plate 12 can move in a direction parallel to the end face of the fixed plate 13 in a gap between the adjacent fixed plates 13.

また、図1乃至図4及び図6に示すように、固液分離装置は、2本の脱液スクリュー21,22を有し、その各脱液スクリュー21,22は、軸部23,24と、その各軸部23,24に一体に形成されたらせん状の羽根部25,26を有している。各脱液スクリュー21,22は、固定板13に形成された凹部15と、可動板12に形成された凹部14と、出口部材2の側壁16に形成された開口37を貫通して伸びている。かかる脱液スクリュー21,22は、可動板12と固定板13と側壁16に接触することはない。なお、図6においては、脱液スクリュー21,22を二点鎖線で簡略化して示してある(図7、図8、図18、図19及び図20においても同じ)。   Further, as shown in FIGS. 1 to 4 and 6, the solid-liquid separator has two draining screws 21 and 22, and each of the draining screws 21 and 22 includes shaft portions 23 and 24. , Each of the shaft portions 23 and 24 has spiral blade portions 25 and 26 formed integrally. Each drainage screw 21, 22 extends through a recess 15 formed in the fixed plate 13, a recess 14 formed in the movable plate 12, and an opening 37 formed in the side wall 16 of the outlet member 2. . The drainage screws 21 and 22 do not contact the movable plate 12, the fixed plate 13, and the side wall 16. In FIG. 6, the drainage screws 21 and 22 are shown by simplified two-dot chain lines (the same applies to FIGS. 7, 8, 18, 19, and 20).

また、図1乃至図3に示すように、出口部材2の側壁17に形成された切欠38に対向配置された軸受板28には、内部に軸受45,46が収容された軸受カップ47,48が固定され、各脱液スクリュー21,22の軸部23,24の一方の端部が、出口部材2に形成された切欠38を貫通して、各軸受カップ47,48内にそれぞれ挿入され、各軸受45,46を介して、その各軸受カップ47,48に回転自在に支持されている。さらに、ギアボックス1の各側壁50,51には、ギア52の固定されたギア軸54が、軸受を介して回転自在に支持されている。また、側壁51には減速機付きのモータ55が固定支持され、その出力軸56が両側壁50,51を貫通して延びている。この出力軸56にも、前述のギア53が固定され、このギア53と上述のギア52は、ギアボックス1の内部で互いに噛み合っている。   As shown in FIGS. 1 to 3, bearing cups 47, 48 in which bearings 45, 46 are accommodated in the bearing plate 28 disposed facing the notch 38 formed in the side wall 17 of the outlet member 2. Are fixed, and one end portions of the shaft portions 23 and 24 of the drainage screws 21 and 22 are inserted into the bearing cups 47 and 48 through the notches 38 formed in the outlet member 2, respectively. The bearing cups 47 and 48 are rotatably supported via the bearings 45 and 46, respectively. Further, a gear shaft 54 to which a gear 52 is fixed is supported on each side wall 50, 51 of the gear box 1 through a bearing so as to be freely rotatable. A motor 55 with a speed reducer is fixedly supported on the side wall 51, and an output shaft 56 extends through both side walls 50 and 51. The aforementioned gear 53 is also fixed to the output shaft 56, and the gear 53 and the gear 52 are meshed with each other inside the gear box 1.

ギア軸54の一方の端部と、出力軸56の一方の端部は、図2、図3及び図9に示すように、内部が中空に形成され、その中空部57の中央部に係合片58が固定配置されている。一方、図9に示すように、各脱液スクリュー21,22の軸部23,24の他方の端部には、係合溝59が形成され、その各軸部23,24の各端部は、図3に示すように、ギア軸54と出力軸56の中空部57に挿入され、各軸部23,24に形成された係合溝59がギア軸54と出力軸56に設けられた係合片58にそれぞれ着脱可能に係合している。   As shown in FIGS. 2, 3, and 9, one end of the gear shaft 54 and one end of the output shaft 56 are formed hollow inside and engaged with the central portion of the hollow portion 57. The piece 58 is fixedly arranged. On the other hand, as shown in FIG. 9, an engagement groove 59 is formed at the other end of each of the shaft portions 23 and 24 of the drainage screws 21 and 22, and each end of each of the shaft portions 23 and 24 is As shown in FIG. 3, engagement grooves 59 formed in the shaft portions 23 and 24 are inserted in the hollow portions 57 of the gear shaft 54 and the output shaft 56, and the gear shaft 54 and the output shaft 56 are provided. The mating pieces 58 are detachably engaged with each other.

モータ55が作動して、出力軸56が回転すると、その回転がギア53,52を介してギア軸54に伝えられると共に、出力軸56とギア軸54の回転は、互いに係合した係合片58と係合溝59を介して、各脱液スクリュー21,22に伝達され、各脱液スクリュー21,22が、図6に矢印で示したように、それぞれその中心軸線X1,X2(図3)のまわりに回転駆動される。   When the motor 55 is actuated to rotate the output shaft 56, the rotation is transmitted to the gear shaft 54 via the gears 53 and 52, and the rotation of the output shaft 56 and the gear shaft 54 is an engagement piece engaged with each other. 58 and the engagement groove 59 are transmitted to the drainage screws 21 and 22, respectively. As indicated by arrows in FIG. 6, the drainage screws 21 and 22 respectively have their central axes X1 and X2 (FIG. 3). ).

上述のように、本例の固液分離装置においては、モータ55と、その出力軸56と、ギア軸54と、その各軸に固定されたギア53,52とによって、各脱液スクリュー21,22を回転駆動する駆動手段が構成されている。勿論、他の適宜な形態の駆動手段を採用することもでき、例えば、各脱液スクリュー21,22を別々のモータにより回転駆動することもできる。この場合には、駆動手段が2つのモータを具備する。   As described above, in the solid-liquid separation device of the present example, each of the dewatering screws 21, 21 by the motor 55, its output shaft 56, the gear shaft 54, and the gears 53, 52 fixed to each shaft. Driving means for rotationally driving 22 is configured. Needless to say, other appropriate types of driving means may be employed. For example, each of the liquid removal screws 21 and 22 may be rotationally driven by a separate motor. In this case, the driving means includes two motors.

図3及び図4に示すように、本例の固液分離装置の2本の脱液スクリュー21,22は、接触することなく、その羽根部25,26の一部が互いに重なった状態で配置されている。すなわち、両脱液スクリュー21,22を、その中心軸線X1,X2の方向に見たとき、両羽根部25,26の一部がオーバラップした状態で位置しているのである。これに対し、両脱液スクリュー21,22を、これらが互いに重ならない状態に配置することもできる。   As shown in FIGS. 3 and 4, the two liquid removal screws 21 and 22 of the solid-liquid separation device of the present example are arranged in a state where the blade portions 25 and 26 partially overlap each other without being in contact with each other. Has been. That is, when both the drainage screws 21 and 22 are viewed in the direction of the central axes X1 and X2, the blade portions 25 and 26 are partially overlapped. On the other hand, both the drainage screws 21 and 22 can be arranged in a state where they do not overlap each other.

また、図示した例では、両脱液スクリュー21,22が、図3に示すように互いに平行に並置されているが、これらの脱液スクリュー21,22の中心軸線X1,X2が、0°よりも大きな角度をもった状態に、両脱液スクリュー21,22を並置してもよい。さらに、本例の固液分離装置においては、各脱液スクリュー21,22の羽根部25,26のピッチが、入口部材1の側から出口部材2の側に向けて漸次、小さくなっているが、このピッチを、各脱液スクリューの全長に亘って等しく設定することもできる。   In the illustrated example, both the drainage screws 21 and 22 are juxtaposed in parallel with each other as shown in FIG. 3, but the central axes X1 and X2 of these drainage screws 21 and 22 are from 0 °. Alternatively, both drainage screws 21 and 22 may be juxtaposed in a state having a large angle. Furthermore, in the solid-liquid separation device of the present example, the pitch of the blade portions 25 and 26 of the liquid removal screws 21 and 22 gradually decreases from the inlet member 1 side to the outlet member 2 side. The pitch can be set equally over the entire length of each drainage screw.

図2に示すように、ギアボックス1の一方の側壁50は下方に延び、その下端から水平方向に突出したフランジ部60が、固液分離装置を支持する台枠のステー61に着脱可能に固定されている。同様に出口部材2の一方の側壁16に突設されたフランジ部62も、台枠のステー63に着脱可能に固定されている。このように、複数のフランジ部60,62が台枠のステー61,63に固定されることにより、固液分離装置の全体が台枠に支持されている。   As shown in FIG. 2, one side wall 50 of the gear box 1 extends downward, and a flange portion 60 projecting horizontally from the lower end thereof is detachably fixed to a stay 61 of a frame that supports the solid-liquid separator. Has been. Similarly, a flange 62 projecting from one side wall 16 of the outlet member 2 is also detachably fixed to a stay 63 of the underframe. As described above, the plurality of flange portions 60 and 62 are fixed to the stays 61 and 63 of the underframe, whereby the entire solid-liquid separator is supported by the underframe.

また、図3、図5及び図6に示すように、各可動板12はアーム部34を有している。図10は、1つの可動板12のアーム部34を示し、図11は図10の矢印XI方向に見た図である。図5、図6、図10及び図11に示すように、アーム部34の先端部に形成された取付孔35には、被加圧部材39が着脱可能ではあるが、可動板12に対して回転することがないように嵌合している。これらの被加圧部材39には長孔40が貫通形成され、その各長孔40には駆動スクリュー41が嵌合している。この駆動スクリュー41も、軸部42と、この軸部42に一体に形成されたらせん状の羽根部43とを有し、かかる駆動スクリュー41が長孔40に貫通して延びている。その際、図11に示すように、各被加圧部材39に形成された長孔40の短軸の長さWは、駆動スクリュー41の羽根部43の直径Hよりも小さく設定され、孔40の長軸の長さLは、羽根部43の直径Hよりも大きく設定されている。なお、図4には各可動板12に嵌合した被加圧部材39の図示は省略してある。   Further, as shown in FIGS. 3, 5, and 6, each movable plate 12 has an arm portion 34. 10 shows the arm portion 34 of one movable plate 12, and FIG. 11 is a view seen in the direction of arrow XI in FIG. As shown in FIGS. 5, 6, 10, and 11, the member to be pressed 39 is detachable from the attachment hole 35 formed at the tip of the arm portion 34, but the movable plate 12 is not attached. It is fitted so that it does not rotate. Long holes 40 are formed through these pressed members 39, and drive screws 41 are fitted into the long holes 40. The drive screw 41 also has a shaft portion 42 and a spiral blade portion 43 formed integrally with the shaft portion 42, and the drive screw 41 extends through the long hole 40. At that time, as shown in FIG. 11, the length W of the short axis of the long hole 40 formed in each pressed member 39 is set to be smaller than the diameter H of the blade portion 43 of the drive screw 41. The length L of the major axis is set to be larger than the diameter H of the blade portion 43. In FIG. 4, the pressurized member 39 fitted to each movable plate 12 is not shown.

上述のように、本例の固液分離装置は、各可動板に着脱可能に取付けられた被加圧部材と、その被加圧部材を貫通して延びる駆動スクリューを具備している。   As described above, the solid-liquid separation device of this example includes a pressurized member that is detachably attached to each movable plate, and a drive screw that extends through the pressurized member.

また、この駆動スクリュー41は、図3に示すように、出口部材2の側壁16に形成された開口37(図2)を貫通して延び、その一方の端部が、出口部材2に形成された切欠38を貫通して、軸受板28に固定された軸受カップ69に挿入され、この軸受カップ69に収容された軸受70を介して、軸受カップ69に回転自在に支持されている。   Further, as shown in FIG. 3, the drive screw 41 extends through an opening 37 (FIG. 2) formed in the side wall 16 of the outlet member 2, and one end thereof is formed in the outlet member 2. The bearing cup 69 is inserted into a bearing cup 69 fixed to the bearing plate 28 through the notch 38, and is rotatably supported by the bearing cup 69 via a bearing 70 accommodated in the bearing cup 69.

一方、図3に示すように、ギアボックス1の各側壁50,51には、軸受を介して駆動軸44が回転自在に支持され、この駆動軸44に固定されたスプロケット64と、前述のギア軸54に固定されたスプロケット65には、無端状のチェーン71が巻き掛けられている。また、図12に示すように、駆動軸44も内部が中空に形成され、その中空部に係合片66が固定されている。かかる駆動軸44に同心状に駆動スクリュー41が配置され、その駆動スクリュー41の他方の端部が駆動軸44の中空部に挿入され、駆動スクリュー41の端部に形成された係合溝67が駆動軸44に固定された係合片66に着脱可能に係合している。駆動軸44と駆動スクリュー41は、脱液スクリュー21,22に対してほぼ平行に延びている。   On the other hand, as shown in FIG. 3, a drive shaft 44 is rotatably supported on the side walls 50 and 51 of the gear box 1 via bearings, and the sprocket 64 fixed to the drive shaft 44 and the above-described gears. An endless chain 71 is wound around a sprocket 65 fixed to the shaft 54. Also, as shown in FIG. 12, the drive shaft 44 is also hollow inside, and an engagement piece 66 is fixed in the hollow portion. The drive screw 41 is disposed concentrically on the drive shaft 44, the other end of the drive screw 41 is inserted into the hollow portion of the drive shaft 44, and an engagement groove 67 formed at the end of the drive screw 41 is formed. The engagement piece 66 fixed to the drive shaft 44 is detachably engaged. The drive shaft 44 and the drive screw 41 extend substantially parallel to the liquid removal screws 21 and 22.

モータ55が作動すると、前述のように、その回転がギア53,52を介してギア軸54に伝えられ、そのギア軸54の回転は、スプロケット65,64及びチェーン71を介して駆動軸44に伝えられ、その駆動軸44の回転が駆動スクリュー41に伝達され、駆動スクリュー41がその中心軸線のまわりに回転する。   When the motor 55 is operated, the rotation is transmitted to the gear shaft 54 via the gears 53 and 52 as described above, and the rotation of the gear shaft 54 is transmitted to the drive shaft 44 via the sprockets 65 and 64 and the chain 71. The rotation of the drive shaft 44 is transmitted to the drive screw 41, and the drive screw 41 rotates about its central axis.

図11に示すように、本例の可動板12に形成された取付孔35は矩形に形成され、かかる取付孔35に嵌合した被加圧部材39も矩形に形成されていて、これによって被加圧部材39が可動板12に対して回転することが阻止される。また、各被加圧部材39は、可動板12に形成された取付孔35に圧入され、被加圧部材39の外周面と取付孔35の内周面との摩擦力によって、被加圧部材39が取付孔35から離脱することなく保持されている。   As shown in FIG. 11, the mounting hole 35 formed in the movable plate 12 of this example is formed in a rectangular shape, and a member to be pressed 39 fitted in the mounting hole 35 is also formed in a rectangular shape, and thereby the covered member 35 is covered. The pressing member 39 is prevented from rotating with respect to the movable plate 12. Each pressed member 39 is press-fitted into the mounting hole 35 formed in the movable plate 12, and the pressed member is caused by the frictional force between the outer peripheral surface of the pressed member 39 and the inner peripheral surface of the mounting hole 35. 39 is held without being detached from the mounting hole 35.

次に、固液分離装置の作用を説明しながら、固液分離装置の他の構成について明らかにする。   Next, another structure of the solid-liquid separator will be clarified while explaining the operation of the solid-liquid separator.

図2に矢印Aで示すように、多量の水分を含んだ汚泥(図示せず)が投入口4から、固定板13及び可動板12の凹部15,14と、カバー5とにより区画された空間Sに流入する。処理前の汚泥の含水率は、例えば99重量%程度である。この汚泥には、予め凝集剤が混入され、その汚泥がフロック化されている。処理対象物によっては、凝集剤が混入されないものもある。   As shown by an arrow A in FIG. 2, a space in which sludge (not shown) containing a large amount of moisture is partitioned from the inlet 4 by the recessed portions 15 and 14 of the fixed plate 13 and the movable plate 12 and the cover 5. Flows into S. The moisture content of the sludge before treatment is, for example, about 99% by weight. The sludge is mixed with a flocculant in advance, and the sludge is flocked. Some processing objects do not contain a flocculant.

このとき、モータ55の作動によって、出力軸56と脱液スクリュー22が回転駆動され、この回転は、ギア53,52を介してギア軸54に伝えられ、これによって脱液スクリュー21も回転駆動される。このように、2本のスクリュー21,22が、その中心軸線X1,X2の周りに回転することにより、投入口4からに流入した汚泥は、図2に矢印Bで示すように、出口部材2の側へ向けて搬送される。各脱液スクリュー21,22の羽根部25,26の巻き方向とその回転方向は、投入口4から流入した汚泥が、両脱液スクリュー21,22の回転によってギアボックス1の側から出口部材2の側に向けて搬送されるように設定されている。   At this time, the output shaft 56 and the drainage screw 22 are rotationally driven by the operation of the motor 55, and this rotation is transmitted to the gear shaft 54 via the gears 53 and 52, whereby the drainage screw 21 is also rotationally driven. The Thus, as the two screws 21 and 22 rotate around their central axes X1 and X2, the sludge that has flowed into the inlet 4 as shown by the arrow B in FIG. It is conveyed toward the side. The direction in which the blade portions 25 and 26 of the drainage screws 21 and 22 are wound and the direction of rotation of the blades 25 and 26 is that the sludge flowing in from the inlet 4 is rotated from the gearbox 1 side by the rotation of the drainage screws 21 and 22. It is set so as to be conveyed toward the side.

上述のように、交互に配置された可動板12と固定板13の凹部14,15と、カバー5により区画された空間S中を汚泥が移動するとき、その汚泥から水分が分離され、その分離された水分、すなわち濾液が各固定板13と可動板12の間の濾液排出間隙g(図4)を通して外部に排出される。このように排出された濾液は、図2に矢印C1,C2,C3,C4で示すように下方に流下し、各ステー61,63に固定された受皿6に受け止められ、その受皿6の排出口7から下方に排出される。この濾液中には、未だ固形分が多少含まれているので、当該濾液は、再度、他の汚泥と共に水処理され、次いで固液分離装置によって脱水処理される。   As described above, when the sludge moves in the space S defined by the movable plates 12 and the recessed portions 14 and 15 of the fixed plate 13 and the cover 5 which are alternately arranged, moisture is separated from the sludge, and the separation is performed. The moisture, that is, the filtrate, is discharged to the outside through the filtrate discharge gap g (FIG. 4) between each fixed plate 13 and the movable plate 12. The filtrate discharged in this manner flows downward as indicated by arrows C1, C2, C3, and C4 in FIG. 2, and is received by a receiving tray 6 fixed to each stay 61 and 63, and an outlet of the receiving tray 6 7 is discharged downward. Since this filtrate still contains some solid content, the filtrate is again water-treated with other sludge and then dehydrated by a solid-liquid separator.

上述のようにして、空間S中を搬送される汚泥の含水率が下げられ、含水量の減少した汚泥は、図2に矢印Dで示すように、出口部材2に形成された開口37を通して、出口部材2内に排出され、排出口36から下方に落下する。このようにして脱水処理された後の汚泥の含水率は、例えば80重量%前後である。図1乃至図3に示すように、出口部材2の一方の側壁16に対向して、各脱液スクリュー21,22の軸部23,24に背圧板73,74が固定されており、これによって空間S内の汚泥に加えられる圧力を高めることができる。   As described above, the moisture content of the sludge transported in the space S is lowered, and the sludge having a reduced moisture content passes through the opening 37 formed in the outlet member 2 as shown by an arrow D in FIG. It is discharged into the outlet member 2 and falls downward from the discharge port 36. The water content of the sludge after the dehydration treatment is, for example, about 80% by weight. As shown in FIGS. 1 to 3, back pressure plates 73 and 74 are fixed to the shaft portions 23 and 24 of the drainage screws 21 and 22 so as to face one side wall 16 of the outlet member 2. The pressure applied to the sludge in the space S can be increased.

一方、ギア軸54の回転は、この軸54に固定されたスプロケット65と、チェーン71と、駆動軸44に固定されたスプロケット64を介して駆動軸44に伝えられ、その駆動軸44の回転が駆動スクリュー41に伝達される。このとき、図11を参照して先に説明したように、被加圧部材39に形成された長孔40の短軸の長さWは、駆動スクリュー41の羽根部43の直径Hよりも小さく設定されているので、駆動スクリュー41が回転することによって、長孔40の長軸に平行な各面75,76が駆動スクリューの羽根部43によって交互に加圧される。これにより、被加圧部材39は、その被加圧部材39が取り付けられた可動板12と共に、長孔40の短軸の長さWと駆動スクリュー41の羽根部43の直径の大きさによって定まる所定のストロークで往復動する。各被加圧部材39は、回転する駆動スクリュー41により加圧されて、各被加圧部材39が取り付けられた可動板12と共に往復動するように形成されているのである。以下、この点をより具体的に説明する。   On the other hand, the rotation of the gear shaft 54 is transmitted to the drive shaft 44 through the sprocket 65 fixed to the shaft 54, the chain 71, and the sprocket 64 fixed to the drive shaft 44, and the rotation of the drive shaft 44 is transmitted. It is transmitted to the drive screw 41. At this time, as described above with reference to FIG. 11, the short shaft length W of the long hole 40 formed in the pressed member 39 is smaller than the diameter H of the blade portion 43 of the drive screw 41. Thus, the rotation of the drive screw 41 causes the surfaces 75 and 76 parallel to the long axis of the long hole 40 to be alternately pressed by the blade portions 43 of the drive screw. Thereby, the member to be pressurized 39 is determined by the length W of the short axis of the long hole 40 and the diameter of the blade portion 43 of the drive screw 41 together with the movable plate 12 to which the member to be pressurized 39 is attached. Reciprocates with a predetermined stroke. Each pressurized member 39 is pressurized by a rotating drive screw 41 and is configured to reciprocate together with the movable plate 12 to which each pressurized member 39 is attached. Hereinafter, this point will be described more specifically.

図6に簡略化して示した駆動スクリュー41の羽根部43が長孔40の内周面に接触していないとき、その被加圧部材39と可動板12は中央位置を占めている。これに対し、駆動スクリュー41の回転に伴って、その羽根部43が、長孔40の一方の面75を加圧し始めると、被加圧部材39と可動板12は図6の右方に移動し、遂には図7に示した最右端位置に至る。駆動スクリュー41がさらに回転して、その羽根部43が長孔40の他方の面76を加圧し始めると、被加圧部材39と可動板12は図7の左方に移動し始め、遂には図8に示した最左端位置に至る。このようにして、駆動スクリュー41の回転によって、可動板12が、下側に位置する2つのスペーサ30に支持されながら、図6乃至図8における左右が往復するのである。なお、図7及び図8には、カバーの図示を省略してある。   When the blade portion 43 of the drive screw 41 shown in a simplified manner in FIG. 6 is not in contact with the inner peripheral surface of the long hole 40, the pressed member 39 and the movable plate 12 occupy the center position. On the other hand, when the blade 43 starts to press the one surface 75 of the long hole 40 as the drive screw 41 rotates, the member to be pressed 39 and the movable plate 12 move to the right in FIG. Finally, it reaches the rightmost position shown in FIG. When the drive screw 41 further rotates and the blade portion 43 starts to press the other surface 76 of the long hole 40, the pressed member 39 and the movable plate 12 start to move to the left in FIG. It reaches the leftmost position shown in FIG. In this way, the left and right in FIGS. 6 to 8 reciprocate while the movable plate 12 is supported by the two spacers 30 positioned on the lower side by the rotation of the drive screw 41. 7 and 8, the illustration of the cover is omitted.

これに対し、固定板13は不動であるため、可動板12は固定板13に対して相対的に作動する。このため、可動板12と固定板13の間の濾液排出間隙g(図4)に入り込んだ固形分は、固定板13に対する可動板12の運動によって、その間隙gから効率よく排出され、ここに詰まったままとなることが阻止される。   On the other hand, since the fixed plate 13 does not move, the movable plate 12 operates relative to the fixed plate 13. For this reason, the solid content that has entered the filtrate discharge gap g (FIG. 4) between the movable plate 12 and the fixed plate 13 is efficiently discharged from the gap g by the movement of the movable plate 12 relative to the fixed plate 13. The clogging is prevented.

しかも、駆動スクリュー41は、固定板13にだけでなく、可動板12にも接触することはないので、その可動板12が駆動スクリュー41との接触によって摩耗したり、削り取られることはない。このため、可動板12の寿命が極めて長くなり、或いは可動板12を交換する必要がなくなる。可動板12は、かなり大サイズのコストの高い部材であるため、その交換頻度が高まれば、固液分離装置のランニングコストが上昇するが、本例の固液分離装置によれば、このような不具合を阻止できるのである。   In addition, since the drive screw 41 does not contact the movable plate 12 as well as the fixed plate 13, the movable plate 12 is not worn or scraped off by contact with the drive screw 41. For this reason, the lifetime of the movable plate 12 becomes extremely long, or it is not necessary to replace the movable plate 12. Since the movable plate 12 is a fairly large-sized member with high cost, if the replacement frequency is increased, the running cost of the solid-liquid separation device increases. According to the solid-liquid separation device of this example, We can prevent trouble.

但し、被加圧部材39は駆動スクリュー41によって加圧されるので、被加圧部材39が経時的に摩耗することは避けられず、その摩耗が進んだ段階で、被加圧部材39を交換する必要があるが、被加圧部材39は、可動板12に比べて小サイズのコストの低い部材であるため、固液分離装置のランニングコストが従来のように高くなることはない。   However, since the member to be pressurized 39 is pressurized by the drive screw 41, it is inevitable that the member to be pressurized 39 is worn over time, and the member to be pressurized 39 is replaced when the wear progresses. However, since the pressed member 39 is a member that is small in size and low in cost as compared with the movable plate 12, the running cost of the solid-liquid separator is not increased as in the conventional case.

ところで、汚泥の脱水処理スピードを高めるには、固定板と可動板との間の濾液排出間隙に入り込んだ固形分を迅速に排出させ、濾液排出間隙を通して多量の濾液が排出されうようにする必要がある。その際、従来の固液分離装置は、脱液スクリューの回転によって可動板を押し動かしていたので、濾液排出間隙に入り込んだ固形分を迅速に排出させるには、脱液スクリューの回転速度を高め、可動板を高速度で作動させるほかはない。ところが、このようにすると、汚泥が搬送される速度も速くなるので、汚泥に対する脱水時間が短くなり、結局脱水効率が低下してしまう。   By the way, in order to increase the dewatering speed of sludge, it is necessary to quickly discharge the solids that have entered the filtrate discharge gap between the fixed plate and the movable plate so that a large amount of filtrate is discharged through the filtrate discharge gap. There is. At that time, since the conventional solid-liquid separation device pushes and moves the movable plate by the rotation of the liquid removal screw, in order to quickly discharge the solid content that has entered the filtrate discharge gap, the rotation speed of the liquid removal screw is increased. There is no choice but to operate the movable plate at high speed. However, when this is done, the speed at which the sludge is transported is increased, so that the dewatering time for the sludge is shortened, and the dewatering efficiency is lowered.

これに対し、本例の固液分離装置においては、ギア軸54に固定されたスプロケット65と、駆動軸44に固定されたスプロケット64の歯数比を変えることによって、脱液スクリュー21,22の回転数と、駆動スクリュー41の回転数の比を実質的に自由に変えることができる。このため、脱液スクリュー21,22の回転速度を遅くして、汚泥に対する脱水に充分に長い時間をかけ、汚泥の脱水効率を高めると共に、駆動スクリュー41の回転速度を速め、可動板12を高速度で作動させて濾液排出間隙gに入り込んだ固形分を迅速に排出させ、脱水処理スピードを高めることができる。   On the other hand, in the solid-liquid separation device of this example, by changing the gear ratio between the sprocket 65 fixed to the gear shaft 54 and the sprocket 64 fixed to the drive shaft 44, The ratio of the rotational speed and the rotational speed of the drive screw 41 can be changed substantially freely. For this reason, the rotational speed of the drainage screws 21 and 22 is slowed down to allow a sufficiently long time for dewatering the sludge to increase the sludge dewatering efficiency, and the rotational speed of the drive screw 41 is increased to increase the movable plate 12. By operating at a high speed, the solid content entering the filtrate discharge gap g can be quickly discharged, and the dehydration speed can be increased.

次に、被加圧部材39の交換方向の一例を説明する。   Next, an example of the exchange direction of the pressurized member 39 will be described.

先ず、モータ55の作動を停止させた状態で、図1に示したボルト85を緩めてカバー5を上方に持ち上げ、該カバーを取り外す。これにより、図3に示すように、脱液スクリュー21,22と可動板12と固定板13の上部が開放される。次に図3に示したボルト3を緩めてこれを取り外し、軸受板28を矢印E方向に引いて、各軸受カップ47,48,69を各スクリュー21,22,41の軸部23,24,42の一方の端部から離脱する。これにより、各スクリュー21,22,41の一方の端部側を拘束するものがなくなる。   First, with the operation of the motor 55 stopped, the bolt 85 shown in FIG. 1 is loosened to lift the cover 5 upward, and the cover is removed. As a result, as shown in FIG. 3, the tops of the drainage screws 21 and 22, the movable plate 12, and the fixed plate 13 are opened. Next, the bolt 3 shown in FIG. 3 is loosened and removed, the bearing plate 28 is pulled in the direction of arrow E, and the bearing cups 47, 48, 69 are attached to the shaft portions 23, 24, Detach from one end of 42. Thereby, there is no thing which restrains one edge part side of each screw 21,22,41.

次いで、脱液スクリュー21,22を矢印F方向に引くことにより、図9に示したように、各脱液スクリュー21,22の軸部23,24の他方の端部を、ギア軸54と出力軸56の中空部57から外し、各脱液スクリュー21,22を出口部材2の側壁16,17に形成された開口37と切欠38を通して矢印F方向に抜き出す。特許第3638597号公報に記載されているように、脱液スクリュー21,22を上方に持ち上げて、これを取り外すように構成することもできる。   Next, by pulling the drainage screws 21 and 22 in the direction of arrow F, the other ends of the shaft portions 23 and 24 of the drainage screws 21 and 22 are output to the gear shaft 54 as shown in FIG. It removes from the hollow part 57 of the axis | shaft 56, and each drainage screw 21 and 22 is extracted to the arrow F direction through the opening 37 and the notch 38 which were formed in the side walls 16 and 17 of the outlet member 2. FIG. As described in Japanese Patent No. 3638597, the liquid removal screws 21 and 22 can be lifted upward and removed.

同様に、駆動スクリュー41を矢印I方向に引き、図12に示したように、駆動スクリュー41の軸部42の端部を駆動軸44から外し、その駆動スクリュー41を、出口部材2の側壁16に形成された開口68と側壁17に形成された切欠38を通して矢印I方向に引き抜く。   Similarly, the drive screw 41 is pulled in the direction of arrow I, and the end of the shaft portion 42 of the drive screw 41 is removed from the drive shaft 44 as shown in FIG. 12, and the drive screw 41 is connected to the side wall 16 of the outlet member 2. It is pulled out in the direction of arrow I through the opening 68 formed in the above and the notch 38 formed in the side wall 17.

上述のように、スクリュー21,22,41を取り外した後、各可動板12を上方に持ち上げて、これを被加圧部材39と共に取り外す。このようにすれば、各可動板12に形成された取付孔35に摩擦係合した被加圧部材39を、手操作により、又は適宜な工具を用いて、取付孔35から容易に取り外すことができる。次いで、手操作により、又は適宜な工具を用いて、新たな被加圧部材39を取付孔35に押し込んで嵌合し、その取付孔35の内周面と被加圧部材39の外周面との摩擦力によって被加圧部材39を取付孔35に保持する。あとは、上述したところと逆の手順で、各可動板12とスクリュー21,22,41を組み付け、カバー5を装着すればよい。   As described above, after removing the screws 21, 22, 41, each movable plate 12 is lifted upward and removed together with the member to be pressed 39. In this way, the pressed member 39 frictionally engaged with the mounting holes 35 formed in each movable plate 12 can be easily removed from the mounting holes 35 by manual operation or using an appropriate tool. it can. Next, a new pressed member 39 is pushed into and fitted into the mounting hole 35 by manual operation or using an appropriate tool, and the inner peripheral surface of the mounting hole 35 and the outer peripheral surface of the pressed member 39 are The pressed member 39 is held in the mounting hole 35 by the frictional force. After that, the movable plate 12 and the screws 21, 22, 41 may be assembled and the cover 5 may be attached in the reverse procedure as described above.

次に、図13に示した固液分離装置においては、駆動スクリューが軸線方向に2分割されている。すなわち、処理対象物が搬送される空間Sを、その搬送方向上流側と下流側に分け、前者を濃縮ゾーンZ1とし、後者を脱水ゾーンZ2とすると共に、濃縮ゾーンZ1に位置する可動板を上流側可動板12Aとし、脱水ゾーンZ2に位置する可動板を下流側可動板12Bとしたとき、上流側可動板12Aと、下流側可動板12Bをそれぞれ別個に作動させる第1の駆動スクリュー41Aと第2の駆動スクリュー41Bが設けられている。固液分離装置が、処理対象物搬送方向上流側に位置する複数の上流側可動板12Aを往復動させる第1の駆動スクリュー41Aと、上流側可動板12Aよりも処理対象物搬送方向下流側に位置する複数の下流側可動板12Bを往復動させる第2の駆動スクリュー41Bを有しているのである。これらの駆動スクリュー41A,41Bも、軸部42A,42Bと、その各軸部42A,42Bに一体に形成されたらせん状の羽根部43A,43Bを有している。   Next, in the solid-liquid separator shown in FIG. 13, the drive screw is divided into two in the axial direction. That is, the space S in which the processing object is transported is divided into an upstream side and a downstream side in the transport direction, the former is the concentration zone Z1, the latter is the dehydration zone Z2, and the movable plate located in the concentration zone Z1 is upstream. When the movable plate 12A is the downstream movable plate 12B and the movable plate located in the dehydration zone Z2 is the downstream movable plate 12B, the first movable screw 41A and the first drive screw 41A that operate the upstream movable plate 12B and the downstream movable plate 12B separately. Two drive screws 41B are provided. The solid-liquid separator is a first drive screw 41A for reciprocating a plurality of upstream movable plates 12A located on the upstream side in the processing object conveyance direction, and on the downstream side in the processing object conveyance direction from the upstream movable plate 12A. It has the 2nd drive screw 41B which reciprocates the some downstream movable plate 12B located. These drive screws 41A and 41B also have shaft portions 42A and 42B and spiral blade portions 43A and 43B formed integrally with the shaft portions 42A and 42B.

上述の軸部42A,42Bの互いに隣接する側の各端部は、共通の軸受72に回転自在に支持されている。この軸受72は、図示していないブラケットを介して、固液分離装置の台枠に、第1及び第2の駆動スクリュー41A,41Bの軸線方向J,Kに移動可能に、かつそのブラケットに対して着脱可能に固定支持されている。軸受72が図11に示した位置にあるときは、その軸受はブラケットに対して固定されているが、この軸受け72を矢印J方向に移動させることによって、当該軸受72をブラケットから離脱することができるのである。   The end portions of the shaft portions 42A and 42B adjacent to each other are rotatably supported by a common bearing 72. This bearing 72 can be moved in the axial directions J and K of the first and second drive screws 41A and 41B to the base frame of the solid-liquid separator via a bracket (not shown) and to the bracket. It is fixed and detachably supported. When the bearing 72 is in the position shown in FIG. 11, the bearing is fixed with respect to the bracket. However, by moving the bearing 72 in the direction of arrow J, the bearing 72 can be detached from the bracket. It can be done.

また、図10に示すように、各可動板12A,12Bに形成された取付孔35A,35Bには、先に説明した固液分離装置の被加圧部材と同じく構成された被加圧部材39A,39Bが、着脱可能に嵌合し、その各被加圧部材39A,39Bに形成された長孔40A,40Bに第1及び第2の駆動スクリュー41A,41Bがそれぞれ嵌合している。この場合も、取付孔35A,35Bの内周面と、被加圧部材39A,39Bの外周面との摩擦力によって、被加圧部材39A,39Bが取付孔35A,35Bから離脱することが阻止される。また、図13に示すように、スペーサ30を介して互いに間隔をあけて配置された隣り合う固定板13,13Aの間に各可動板12A,12Bがそれぞれ配置され、第1及び第2の駆動スクリュー41A,41Bが固定板13,13Aと可動板12A,12Bに接触していないことも、先に説明した固液分離装置と変りはないが、図13に示した固液分離装置の軸受72に対向して位置する固定板13Aは、他の固定板13よりも、その厚さが厚く形成されている。   Further, as shown in FIG. 10, in the mounting holes 35A and 35B formed in the movable plates 12A and 12B, a pressurized member 39A configured in the same manner as the pressurized member of the solid-liquid separator described above. 39B are detachably fitted, and the first and second drive screws 41A, 41B are fitted in the long holes 40A, 40B formed in the pressed members 39A, 39B, respectively. Also in this case, the pressed members 39A and 39B are prevented from being detached from the mounting holes 35A and 35B by the frictional force between the inner peripheral surfaces of the mounting holes 35A and 35B and the outer peripheral surfaces of the pressed members 39A and 39B. Is done. Further, as shown in FIG. 13, the movable plates 12A and 12B are respectively arranged between the adjacent fixed plates 13 and 13A that are spaced apart from each other via the spacer 30, and the first and second drives are arranged. The fact that the screws 41A and 41B are not in contact with the fixed plates 13 and 13A and the movable plates 12A and 12B is not different from the previously described solid-liquid separator, but the bearing 72 of the solid-liquid separator shown in FIG. The fixing plate 13 </ b> A located opposite to is formed thicker than the other fixing plates 13.

第1の駆動スクリュー41Aにおける軸部42Aのギアボックス1の側の端部は、駆動軸44に、図12に示したところと同様に着脱可能に連結され、第2の駆動スクリュー41Bの軸部42Bは出口部材2の側壁16に形成された開口37を貫通し、かつその軸部42Bの出口部材2の側の端部が軸受カップ69に収容された軸受70に回転自在に支持されていることも図1乃至図12に示した固液分離装置と同様である。   The end of the first drive screw 41A on the gear box 1 side of the shaft portion 42A is detachably connected to the drive shaft 44 in the same manner as shown in FIG. 12, and the shaft portion of the second drive screw 41B. 42B penetrates the opening 37 formed in the side wall 16 of the outlet member 2, and the end portion of the shaft portion 42B on the outlet member 2 side is rotatably supported by the bearing 70 accommodated in the bearing cup 69. This is the same as the solid-liquid separator shown in FIGS.

また、駆動軸44と、ギア軸54にスプロケット64,65がそれぞれ固定され、これらのスプロケット64,65にチェーン71が巻き掛けられていることも、先に示した固液分離装置と変りはないが、図13に示した固液分離装置においては、さらに出口部材2側の第2の駆動スクリュー41Bの軸部42Bと脱液スクリュー21の軸部23にもスプロケット77,78がそれぞれ固定され、これらのスプロケット77,78に無端状のチェーン79が巻き掛けられている。このため、モータ55の回転は、別々のチェーン71と79を介して、第1の駆動スクリュー41Aと第2の駆動スクリュー41Bにそれぞれ伝達される。これにより、先に説明した実施形態例の固液分離装置と同じく、各可動板12A,12Bに着脱可能に取り付けられた被加圧部材39A,39Bが第1及び第2の駆動スクリュー41A,41Bの羽根部43A,43Bによって加圧され、各可動板12A,12Bが所定のストロークで往復動する。その際、複数の上流側可動板12Aが、複数の下流側可動板12Bよりも高速で往復動するように、第1及び第2の駆動スクリュー41A,41Bが回転駆動される。例えば、上流側可動板12Aが下流側可動板12Bよりも高速で作動するように、スプロケット64と65の歯数比と、他のスプロケット77と78の歯数比が設定されるのである。   Further, the sprockets 64 and 65 are fixed to the drive shaft 44 and the gear shaft 54, respectively, and the chain 71 is wound around these sprockets 64 and 65, which is no different from the above-described solid-liquid separator. However, in the solid-liquid separation device shown in FIG. 13, the sprockets 77 and 78 are also fixed to the shaft portion 42B of the second drive screw 41B on the outlet member 2 side and the shaft portion 23 of the liquid removal screw 21, respectively. An endless chain 79 is wound around these sprockets 77 and 78. Therefore, the rotation of the motor 55 is transmitted to the first drive screw 41A and the second drive screw 41B via separate chains 71 and 79, respectively. Thereby, like the solid-liquid separator of the embodiment described above, the pressed members 39A and 39B detachably attached to the movable plates 12A and 12B are the first and second drive screws 41A and 41B. The blades 43A and 43B are pressurized and the movable plates 12A and 12B reciprocate with a predetermined stroke. At that time, the first and second drive screws 41A, 41B are rotationally driven so that the plurality of upstream movable plates 12A reciprocate at a higher speed than the plurality of downstream movable plates 12B. For example, the gear ratio between the sprockets 64 and 65 and the gear ratio between the other sprockets 77 and 78 are set so that the upstream movable plate 12A operates at a higher speed than the downstream movable plate 12B.

一般に濃縮ゾーンZ1を移動する汚泥の含水率は非常に高いので、かかる汚泥から多量の水分を抜き出す必要がある。本例の固液分離装置においては、上流側可動板12Aは高速で往復動するので、濃縮ゾーンZ1を移動する汚泥から、可動板12Aと固定板13との間の濾液排出間隙に入り込んだ固形分を迅速に排出させることができ、多量の水分を抜き出すことができる。一方、脱水ゾーンZ2を移動する汚泥の含水率は、既に低下していて、この脱水ゾーンZ2における内圧が大きくなっている。このため、下流側可動板12Bが高速で往復動したとすると、脱水の進んだ汚泥が可動板12Bと固定板13との間の濾液排出間隙に多量に入り込んでしまう。ところが、本例の固液分離装置においては、下流側可動板12Bは低速で往復動するので、濾液排出間隙に多量の固形分が入り込む不具合を阻止することができる。   In general, the moisture content of the sludge moving through the concentration zone Z1 is very high, and it is necessary to extract a large amount of water from the sludge. In the solid-liquid separator of this example, the upstream movable plate 12A reciprocates at high speed, so that the solid that has entered the filtrate discharge gap between the movable plate 12A and the fixed plate 13 from the sludge moving in the concentration zone Z1. Minutes can be discharged quickly, and a large amount of water can be extracted. On the other hand, the moisture content of the sludge moving through the dewatering zone Z2 has already decreased, and the internal pressure in the dewatering zone Z2 has increased. For this reason, if the downstream movable plate 12B reciprocates at a high speed, a large amount of dewatered sludge enters the filtrate discharge gap between the movable plate 12B and the fixed plate 13. However, in the solid-liquid separator of this example, the downstream movable plate 12B reciprocates at a low speed, so that a problem that a large amount of solid content enters the filtrate discharge gap can be prevented.

次に図13に示した固液分離装置の被加圧部材の交換方法の一例を説明する。   Next, an example of a method for replacing the member to be pressurized of the solid-liquid separator shown in FIG. 13 will be described.

この場合も、先に説明した固液分離装置の場合と同じく、軸受板28を出口部材2から外し、脱液スクリュー21,22を矢印F方向に抜き出す。これと共に、第2の駆動スクリュー41Bを矢印I方向に引いて、その第2の駆動スクリュー41Bの軸受72側の端部をその軸受72から外して、当該第2の駆動スクリュー41Bを被加圧部材39B(図10)から抜き出す。次いで全ての下流側可動板12Bを上方に持ち上げて、これらの可動板12Bを固定板13の間から離脱する。引き続き、図13に示した軸受72を矢印J方向に移動させて、第1の駆動スクリュー41Aの軸部42Aの端部から軸受72を外すと共に、その軸受72をブラケットから離脱して該軸受72を上方に持ち上げる。さらに、第1の駆動スクリュー41Aを矢印M方向に引いて、その軸部42Aのギアボックス1の側の端部を駆動軸44から外し、第1の駆動スクリュー41Aを被加圧部材39A(図10)から抜き出す。   Also in this case, as in the case of the solid-liquid separator described above, the bearing plate 28 is removed from the outlet member 2 and the liquid removal screws 21 and 22 are extracted in the direction of arrow F. At the same time, the second drive screw 41B is pulled in the direction of arrow I, the end of the second drive screw 41B on the bearing 72 side is removed from the bearing 72, and the second drive screw 41B is pressurized. Extracted from member 39B (FIG. 10). Next, all the downstream movable plates 12 </ b> B are lifted upward, and these movable plates 12 </ b> B are detached from between the fixed plates 13. Subsequently, the bearing 72 shown in FIG. 13 is moved in the direction of arrow J to remove the bearing 72 from the end of the shaft portion 42A of the first drive screw 41A, and the bearing 72 is detached from the bracket to be removed. Lift up. Further, the first drive screw 41A is pulled in the direction of arrow M, the end of the shaft portion 42A on the gear box 1 side is removed from the drive shaft 44, and the first drive screw 41A is connected to the pressurized member 39A (FIG. 10)

その後、全ての上流側可動板12Aを上方に持ち上げて、これらの可動板12Aを固定板13の間から離脱する。このようにして固定板13の間から抜き出した各可動板12A,12Bの取付孔35A,35B(図10)に摩擦係合した被加圧部材39A,39Bを手操作又は工具を用いて取り外し、新たな被加圧部材39A,39Bをその取付孔35A,35Bに押し込んで嵌合する。あとは、上述した手順と逆の手順で、各要素を組み付ければよい。   Thereafter, all the upstream movable plates 12 </ b> A are lifted upward, and the movable plates 12 </ b> A are detached from between the fixed plates 13. In this way, the pressed members 39A and 39B frictionally engaged with the mounting holes 35A and 35B (FIG. 10) of the movable plates 12A and 12B extracted from between the fixed plates 13 are removed manually or using a tool. New pressed members 39A and 39B are fitted into the mounting holes 35A and 35B. After that, each element may be assembled in the reverse order of the above-described procedure.

図13に示した固液分離装置の他の構成は、先に説明した固液分離装置と実質的に変りはない。   The other configuration of the solid-liquid separator shown in FIG. 13 is substantially the same as that of the solid-liquid separator described above.

以上説明した固液分離装置においては、その被加圧部材39,39A,39Bが可動板12,12A,12Bに形成された取付孔35,35A,35Bに、単に摩擦係合によって取り付けられているが、これに代えて次の構成を採用することもできる。   In the solid-liquid separation apparatus described above, the members to be pressurized 39, 39A, 39B are attached to the mounting holes 35, 35A, 35B formed in the movable plates 12, 12A, 12B simply by friction engagement. However, the following configuration can be adopted instead.

図14は、各可動板12の取付孔35に嵌合した被加圧部材39の配置状態を示す概略図である。この図においては、駆動スクリューの図示を省略してあると共に、最もギアボックス1の近くに位置する被加圧部材39と、最も出口部材2の近くに位置する被加圧部材39に対して、特に符号39Xと39Yを付してある。この被加圧部材39Xは、これが嵌合した可動板12の取付孔35から抜け出ることがないように、ギアボックス1の側壁50によって押えられ、被加圧部材39Yも、これが嵌合した可動板12の取付孔35から抜け出ることがないように、出口部材2の側壁16によって押えられている。しかも、各被加圧部材39が隣り合う可動板12の間から離脱しないように、各被加圧部材39の厚さT1は、隣り合う可動板12の間の隙間Nの大きさよりも大きく設定されている。このため、各被加圧部材39は、各可動板12の取付孔35にそれぞれ嵌合した状態を維持し、各被加圧部材39が可動板12の取付孔35から離脱することが阻止される。ギアボックス1の側壁50と、出口部材2の側壁16は、端部に位置する被加圧部材39X,39Yが、可動板12の取付孔35から抜け出ることがないように、その各被加圧部材39X,39Yを押える保持手段の一例を構成するものである。   FIG. 14 is a schematic view showing an arrangement state of the pressed members 39 fitted in the mounting holes 35 of the movable plates 12. In this figure, the illustration of the drive screw is omitted, and with respect to the pressurized member 39 located closest to the gear box 1 and the pressurized member 39 located closest to the outlet member 2, In particular, reference numerals 39X and 39Y are given. The pressed member 39X is pressed by the side wall 50 of the gear box 1 so that the pressed member 39X does not come out of the mounting hole 35 of the movable plate 12 with which the pressed member 39X is fitted. It is pressed by the side wall 16 of the outlet member 2 so as not to escape from the twelve mounting holes 35. In addition, the thickness T1 of each pressed member 39 is set to be larger than the size of the gap N between the adjacent movable plates 12 so that each pressed member 39 does not leave between the adjacent movable plates 12. Has been. Therefore, each pressed member 39 is maintained in a state of being fitted in the mounting hole 35 of each movable plate 12, and each pressed member 39 is prevented from being detached from the mounting hole 35 of the movable plate 12. The The side wall 50 of the gear box 1 and the side wall 16 of the outlet member 2 are each pressed so that the pressed members 39X and 39Y located at the end portions do not come out of the mounting holes 35 of the movable plate 12. An example of the holding means for pressing the members 39X and 39Y is configured.

上述のように、図14に示した固液分離装置においては、可動板12に取り付けられた被加圧部材39が隣り合う可動板12の間から離脱しないように、その被加圧部材39の厚さが、隣り合う可動板12の間の隙間Nの大きさよりも厚く形成され、しかも駆動スクリューの軸線方向各端部側に位置する各被加圧部材39X,39Yが、保持手段によって、可動板12から抜け出ることがないように保持されているのである。かかる構成により、被加圧部材39が可動板12に形成された取付孔35から離脱してしまうことをより確実に阻止できる。   As described above, in the solid-liquid separation device shown in FIG. 14, the pressurized member 39 of the pressurized member 39 is attached so that the pressurized member 39 attached to the movable plate 12 does not leave between the adjacent movable plates 12. The pressed members 39X and 39Y, which are formed thicker than the size of the gap N between the adjacent movable plates 12 and are located on the end sides in the axial direction of the drive screw, are movable by the holding means. It is held so as not to come out of the plate 12. With this configuration, it is possible to more reliably prevent the pressed member 39 from being detached from the mounting hole 35 formed in the movable plate 12.

また、図15に示すように、各固定板13を、可動板12に形成された取付孔35に嵌合した被加圧部材39が位置するところまで長く延ばし、可動板12に取り付けられた被加圧部材39を、隣り合う固定板13の間に配置すると共に、可動板12とその隣りに位置する固定板の間の隙間g1の大きさよりも、被加圧部材39の厚さT1を厚く設定しても、被加圧部材39が可動板12に形成された取付孔35から離脱することを阻止できる。なお、図15においても、駆動スクリューの図示は省略してある。   Further, as shown in FIG. 15, each fixed plate 13 is extended to a position where a member 39 to be pressed fitted in an attachment hole 35 formed in the movable plate 12 is located, and the fixed plate 13 is attached to the movable plate 12. The pressure member 39 is disposed between the adjacent fixed plates 13, and the thickness T1 of the member to be pressed 39 is set to be larger than the size of the gap g1 between the movable plate 12 and the fixed plate located adjacent to the movable plate 12. However, it is possible to prevent the pressed member 39 from being detached from the mounting hole 35 formed in the movable plate 12. Note that the drive screw is not shown in FIG.

図14及び図15に示した固液分離装置によれば、各被加圧部材39を、可動板12の取付孔35に圧入せずに、多少の遊びをもって嵌合しても、その被加圧部材39が取付孔35から脱落することはない。このため、前述のように被加圧部材39を取付孔35から着脱するときの操作性を高めることができる。   According to the solid-liquid separator shown in FIGS. 14 and 15, even if each pressed member 39 is fitted into the mounting hole 35 of the movable plate 12 with some play without being press-fitted, The pressure member 39 does not fall out of the mounting hole 35. For this reason, the operativity when attaching / detaching the pressed member 39 from the attachment hole 35 as described above can be improved.

また、図16に示すように、被加圧部材39に形成された突起80を、可動板12に形成された凹溝81に着脱可能に嵌合して、被加圧部材39を可動板12に着脱可能に取り付けることもできる。この被加圧部材39にも、長孔40が形成され、ここに駆動スクリュー41が嵌合する。   In addition, as shown in FIG. 16, the protrusion 80 formed on the member to be pressed 39 is detachably fitted into the groove 81 formed on the movable plate 12, so that the member to be pressed 39 is moved to the movable plate 12. It can also be detachably attached. A slot 40 is also formed in the pressurized member 39, and a drive screw 41 is fitted therein.

さらに、図17に示すように、可動板12に着脱可能に取り付けられた被加圧部材39に長溝82を形成し、この長溝82に駆動スクリュー41を嵌合し、その駆動スクリュー41の回転によって被加圧部材39と可動板12を往復動させるように構成することもできる。   Further, as shown in FIG. 17, a long groove 82 is formed in a member 39 to be pressed detachably attached to the movable plate 12, and a driving screw 41 is fitted into the long groove 82, and the driving screw 41 is rotated. The member to be pressed 39 and the movable plate 12 can be configured to reciprocate.

図14乃至図17に示した各構成は、図1乃至図10に示した固液分離装置だけでなく、図13に示した固液分離装置にも適用できることは当然である。   It is natural that each configuration shown in FIGS. 14 to 17 can be applied not only to the solid-liquid separation device shown in FIGS. 1 to 10 but also to the solid-liquid separation device shown in FIG.

また、以上説明した固液分離装置は、2本の脱液スクリュー21,22を有しているが、脱液スクリューの数は1本を含む適数に設定できる。図18は、1本の脱液スクリュー21を有する固液分離装置を示し、図19は、3本の脱液スクリュー21,22,22Aを有する固液分離装置を示す。また、図20は4本の脱液スクリュー21,22,22A,22Bを有する固液分離装置を示している。いずれの固液分離装置も、可動板12と固定板13を貫通して延びる脱液スクリューが、可動板12と固定板13に接触せず、駆動スクリュー41の回転により、被加圧部材39が加圧されて、可動板12が往復動する。他の構成は、先に説明した固液分離装置の構成と実質的に変りはない。このように、本発明に係る固液分離装置は、複数の可動板と、これらの可動板に接触することなく、該可動板を貫通して延びる少なくとも1本の脱液スクリューを有しているのである。   Moreover, although the solid-liquid separation apparatus demonstrated above has the two liquid removal screws 21 and 22, the number of liquid removal screws can be set to an appropriate number including one. FIG. 18 shows a solid-liquid separation apparatus having one liquid removal screw 21, and FIG. 19 shows a solid-liquid separation apparatus having three liquid removal screws 21, 22, 22A. FIG. 20 shows a solid-liquid separation device having four liquid removal screws 21, 22, 22A, and 22B. In any of the solid-liquid separators, the liquid removal screw extending through the movable plate 12 and the fixed plate 13 does not come into contact with the movable plate 12 and the fixed plate 13, and the member to be pressurized 39 is rotated by the rotation of the drive screw 41. Pressurized, the movable plate 12 reciprocates. The other configuration is not substantially different from the configuration of the solid-liquid separation device described above. As described above, the solid-liquid separation device according to the present invention has a plurality of movable plates and at least one liquid removal screw extending through the movable plates without contacting the movable plates. It is.

さらに、それ自体周知なように、各可動板と固定板をリング状に形成し(例えば、特開平5−228695号公報及び特許第3565841号公報参照)、少なくとも1本の脱液スクリューが、その可動板と固定板の中心孔を貫通して延びるように構成することもできる。この場合も、脱液スクリューは、可動板と固定板に接触することはない。他の構成は、先に説明した各実施形態例の構成と実質的に変りはない。   Further, as is known per se, each movable plate and fixed plate are formed in a ring shape (see, for example, Japanese Patent Laid-Open No. 5-228695 and Japanese Patent No. 3565841), and at least one dewatering screw is It can also be configured to extend through the central hole of the movable plate and the fixed plate. Also in this case, the drainage screw does not contact the movable plate and the fixed plate. Other configurations are substantially the same as the configurations of the respective embodiments described above.

また、図示した例では、隣り合う固定板13の間に1つの可動板12が配置されているが、隣り合う固定板13の間に複数の可動板12を配置してもよいことは当然である。同様に、図示した固液分離装置の脱液スクリュー21,22,22A,22Bと、駆動スクリュー41,41A,41Bは、らせん状に延びる1つの羽根を有しているが、らせん状に延びる複数の羽根を有するスクリューを採用してもよいことも当然である。   In the illustrated example, one movable plate 12 is disposed between the adjacent fixed plates 13, but it is natural that a plurality of movable plates 12 may be disposed between the adjacent fixed plates 13. is there. Similarly, the liquid removal screws 21, 22, 22A and 22B and the drive screws 41, 41A and 41B of the illustrated solid-liquid separation device have one blade extending in a spiral shape, but a plurality of spiral extensions are provided. Of course, a screw having a plurality of blades may be employed.

さらに、以上説明した固液分離装置は、脱液スクリューに接触しない状態で配置された複数の固定板13を有し、隣り合う固定板13の間に少なくとも1つの可動板が配置されていて、脱液スクリューが可動板と固定板を貫通して延びるように構成されているが、固定板を設けずに、可動板だけを多数枚重ねて配置し、その多数の可動板に、少なくとも1本の脱液スクリューを貫通させ、各可動板の間の間隙を通して濾液を排出させるように構成することもできる。   Furthermore, the solid-liquid separation apparatus described above has a plurality of fixed plates 13 arranged in a state not in contact with the liquid removal screw, and at least one movable plate is arranged between the adjacent fixed plates 13, The drainage screw is configured to extend through the movable plate and the fixed plate. However, without providing the fixed plate, a large number of movable plates are arranged in a stack, and at least one of the multiple movable plates is arranged. The drainage screw may be penetrated, and the filtrate may be discharged through the gap between the movable plates.

また、それ自体公知のように、空間Sへの処理対象物投入側が、液体分の減少した処理対象物の排出側よりも低くなるように、複数の可動板を傾斜して配置し、空間S内の処理対象物が排出側に近づくに従って、その処理対象物により一層大きな圧力が加えられるように構成することもできる。   In addition, as is known per se, a plurality of movable plates are arranged to be inclined so that the processing object input side into the space S is lower than the discharge side of the processing object with a reduced liquid content. It can also be configured such that a greater pressure is applied to the processing object as the processing object inside moves closer to the discharge side.

固液分離装置の平面図である。It is a top view of a solid-liquid separator. 図1に示した固液分離装置の垂直断面図である。FIG. 2 is a vertical sectional view of the solid-liquid separator shown in FIG. 1. カバーを取り外した状態での固液分離装置の平面図である。It is a top view of a solid-liquid separation device in the state where a cover was removed. 図3に示した固液分離装置の固定板と可動板と脱液スクリューの拡大平面図である。FIG. 4 is an enlarged plan view of a fixed plate, a movable plate, and a liquid removal screw of the solid-liquid separation device shown in FIG. 3. 隣り合う固定板と、その間に配置された可動板の斜視図である。It is a perspective view of an adjacent fixed plate and a movable plate arranged between them. 図2のVI−VI拡大断面図であって、一部の要素を簡略化して示した図である。FIG. 4 is an enlarged cross-sectional view taken along the line VI-VI in FIG. 2, showing some elements in a simplified manner. 可動板の動きを説明する、図6と同様な断面図である。It is sectional drawing similar to FIG. 6 explaining the movement of a movable plate. 可動板の動きを説明する、図6と同様な断面図である。It is sectional drawing similar to FIG. 6 explaining the movement of a movable plate. ギア軸及び出力軸と、スクリューの軸部の連結状態を示す斜視図である。It is a perspective view which shows the connection state of a shaft part of a gear shaft and an output shaft, and a screw. 可動板と、この可動板に取り付けられた被加圧部材と、駆動スクリューの拡大説明図であり、図13に示した固液分離装置の説明にも用いた図である。FIG. 14 is an enlarged explanatory view of a movable plate, a member to be pressurized attached to the movable plate, and a drive screw, and is also a diagram used for explaining the solid-liquid separator shown in FIG. 13. 図10の矢印XI方向に見た図である。It is the figure seen in the arrow XI direction of FIG. 駆動スクリューと駆動軸との連結状態を示す斜視図である。It is a perspective view which shows the connection state of a drive screw and a drive shaft. 固液分離装置の他の例を示す、図3と同様な平面図である。It is a top view similar to FIG. 3 which shows the other example of a solid-liquid separator. 可動板と、その可動板に取り付けられた被加圧部材の他の例を示す図である。It is a figure which shows the other example of a movable plate and the to-be-pressurized member attached to the movable plate. 可動板と、その可動板に取り付けられた被加圧部材のさらに他の例を示す図である。It is a figure which shows the further another example of a movable plate and the to-be-pressurized member attached to the movable plate. 可動板に連結された被加圧部材の他の例を示す、図11と同様な図である。It is a figure similar to FIG. 11 which shows the other example of the to-be-pressurized member connected with the movable plate. 可動板に連結された被加圧部材の他の例を示す、図11と同様な図である。It is a figure similar to FIG. 11 which shows the other example of the to-be-pressurized member connected with the movable plate. 1本の脱液スクリューを有する固液分離装置を示す、図6と同様な断面図である。It is sectional drawing similar to FIG. 6 which shows the solid-liquid separation apparatus which has one liquid removal screw. 3本の脱液スクリューを有する固液分離装置を示す、図6と同様な断面図である。It is sectional drawing similar to FIG. 6 which shows the solid-liquid separation apparatus which has three liquid removal screws. 4本の脱液スクリューを有する固液分離装置を示す、図6と同様な断面図である。It is sectional drawing similar to FIG. 6 which shows the solid-liquid separation apparatus which has four liquid removal screws.

符号の説明Explanation of symbols

12,12A,12B 可動板
13,13A 固定板
21,22,22A,22B 脱液スクリュー
39,39A,39B,39X,39Y 被加圧部材
41,41A,41B 駆動スクリュー
g1,N 隙間
T1 厚さ
12, 12A, 12B Movable plate 13, 13A Fixed plate 21, 22, 22A, 22B Liquid removal screw 39, 39A, 39B, 39X, 39Y Pressurized member 41, 41A, 41B Drive screw g1, N Clearance T1 Thickness

Claims (5)

複数の可動板と、これらの可動板に接触することなく該可動板を貫通して延びる少なくとも1本の脱液スクリューと、各可動板に着脱可能に取り付けられた被加圧部材と、該被加圧部材を貫通して延びる駆動スクリューとを具備し、各被加圧部材は、回転する駆動スクリューにより加圧されて各被加圧部材が取り付けられた可動板と共に往復動するように形成されていることを特徴とする固液分離装置。 A plurality of movable plates; at least one drainage screw extending through the movable plates without contacting the movable plates; a pressurized member detachably attached to each movable plate; Each pressurizing member is pressed by a rotating drive screw and is reciprocated with a movable plate to which each pressurizing member is attached. A solid-liquid separator characterized by comprising: 前記脱液スクリューに接触しない状態で配置された複数の固定板を有し、隣り合う固定板の間に少なくとも1つの可動板が配置されていて、前記脱液スクリューは、前記可動板と固定板を貫通して延びている請求項1に記載の固液分離装置。 It has a plurality of fixed plates arranged in a state where it does not contact the liquid removal screw, and at least one movable plate is arranged between adjacent fixed plates, and the liquid removal screw penetrates the movable plate and the fixed plate. The solid-liquid separation device according to claim 1 extending as a result. 処理対象物搬送方向上流側に位置する複数の上流側可動板を往復動させる第1の駆動スクリューと、前記上流側可動板よりも処理対象物搬送方向下流側に位置する複数の下流側可動板を往復動させる第2の駆動スクリューを有し、前記複数の上流側可動板が、前記複数の下流側可動板よりも高速で往復動するように、前記第1及び第2の駆動スクリューが回転駆動される請求項1又は2に記載の固液分離装置。 A first drive screw that reciprocates a plurality of upstream movable plates positioned upstream in the processing object conveyance direction, and a plurality of downstream movable plates positioned downstream in the processing object conveyance direction from the upstream movable plate The first and second drive screws rotate so that the plurality of upstream movable plates reciprocate at a higher speed than the plurality of downstream movable plates. The solid-liquid separation device according to claim 1 or 2, which is driven. 前記可動板に取り付けられた被加圧部材が隣り合う可動板の間から離脱しないように、該被加圧部材の厚さが、隣り合う可動板の間の隙間の大きさよりも厚く形成され、前記駆動スクリューの軸線方向各端部側に位置する各被加圧部材が、保持手段によって、可動板から抜け出ることがないように保持されている請求項1乃至3のいずれかに記載の固液分離装置。 The pressed member attached to the movable plate is formed thicker than the gap between the adjacent movable plates so that the pressed member attached to the movable plate is not separated from between the adjacent movable plates. The solid-liquid separator according to any one of claims 1 to 3, wherein each member to be pressed positioned on each end side in the axial direction is held by a holding unit so as not to come out of the movable plate. 前記可動板に取り付けられた被加圧部材が、隣り合う固定板の間に位置すると共に、該可動板とその隣りに位置する固定板の間の隙間の大きさよりも、前記被加圧部材の厚さが厚く設定されている請求項2又は3に記載の固液分離装置。 The member to be pressed attached to the movable plate is positioned between adjacent fixed plates, and the thickness of the member to be pressed is larger than the size of the gap between the movable plate and the fixed plate positioned adjacent to the movable plate. The solid-liquid separation device according to claim 2 or 3, which is set.
JP2005332190A 2005-11-16 2005-11-16 Solid-liquid separator Expired - Lifetime JP4036383B2 (en)

Priority Applications (1)

Application Number Priority Date Filing Date Title
JP2005332190A JP4036383B2 (en) 2005-11-16 2005-11-16 Solid-liquid separator

Applications Claiming Priority (1)

Application Number Priority Date Filing Date Title
JP2005332190A JP4036383B2 (en) 2005-11-16 2005-11-16 Solid-liquid separator

Publications (2)

Publication Number Publication Date
JP2007136311A true JP2007136311A (en) 2007-06-07
JP4036383B2 JP4036383B2 (en) 2008-01-23

Family

ID=38199805

Family Applications (1)

Application Number Title Priority Date Filing Date
JP2005332190A Expired - Lifetime JP4036383B2 (en) 2005-11-16 2005-11-16 Solid-liquid separator

Country Status (1)

Country Link
JP (1) JP4036383B2 (en)

Cited By (5)

* Cited by examiner, † Cited by third party
Publication number Priority date Publication date Assignee Title
CN101879788A (en) * 2010-03-26 2010-11-10 何学文 Mud-water separator
JP4871437B1 (en) * 2011-01-24 2012-02-08 アムコン株式会社 Solid-liquid separator
CN105058842A (en) * 2015-06-11 2015-11-18 安尼康(福建)环保设备有限公司 Solid-liquid separation device with semi-cutting rings
CN105601076A (en) * 2015-09-18 2016-05-25 郑朝志 Grid screw type solid-liquid separation device
IT201800021385A1 (en) * 2018-12-28 2020-06-28 Waste Eng Sagl WET WASTE SHREDDING OR SQUEEZING MACHINES WITH OSCILLATING SHAFT

Families Citing this family (1)

* Cited by examiner, † Cited by third party
Publication number Priority date Publication date Assignee Title
CN110936647A (en) * 2018-09-21 2020-03-31 Cbc株式会社 Solid-liquid separation device

Cited By (12)

* Cited by examiner, † Cited by third party
Publication number Priority date Publication date Assignee Title
CN101879788A (en) * 2010-03-26 2010-11-10 何学文 Mud-water separator
JP4871437B1 (en) * 2011-01-24 2012-02-08 アムコン株式会社 Solid-liquid separator
WO2012101980A1 (en) * 2011-01-24 2012-08-02 Amukon Kabushiki Kaisha Solid-liquid separation device
CN103025511A (en) * 2011-01-24 2013-04-03 安尼康环保科技有限公司 Solid-liquid separation device
AU2012210082B2 (en) * 2011-01-24 2015-05-07 Amukon Kabushiki Kaisha Solid-liquid separation device
US9387641B2 (en) 2011-01-24 2016-07-12 Amukon Kabushiki Kaisha Solid-liquid separation device
CN105058842A (en) * 2015-06-11 2015-11-18 安尼康(福建)环保设备有限公司 Solid-liquid separation device with semi-cutting rings
CN105601076A (en) * 2015-09-18 2016-05-25 郑朝志 Grid screw type solid-liquid separation device
CN105601076B (en) * 2015-09-18 2018-02-16 郑朝志 A kind of grid spiral shell formula equipment for separating liquid from solid
IT201800021385A1 (en) * 2018-12-28 2020-06-28 Waste Eng Sagl WET WASTE SHREDDING OR SQUEEZING MACHINES WITH OSCILLATING SHAFT
WO2020136501A1 (en) * 2018-12-28 2020-07-02 Waste Engineering Sagl Oscillating-shaft machines for grinding or pressing organic waste
US12083763B2 (en) 2018-12-28 2024-09-10 Western Engineering Sagl Oscillating-shaft machines for grinding or pressing organic waste

Also Published As

Publication number Publication date
JP4036383B2 (en) 2008-01-23

Similar Documents

Publication Publication Date Title
JP3638597B1 (en) Solid-liquid separator
RU2411058C2 (en) Device to separate solid and liquid phases
JP3565841B1 (en) Solid-liquid separation device
JP4871437B1 (en) Solid-liquid separator
JP4374396B1 (en) Solid-liquid separator
RU2723354C2 (en) High-power extractor for juices
JP4036383B2 (en) Solid-liquid separator
JP2009220012A (en) Sludge crushing device
CA3113601C (en) Solid-liquid separation device
JP2017217618A (en) Solid-liquid separator
JP4585044B1 (en) Solid-liquid separator
JP3904582B2 (en) Solid-liquid separator
JP2012050923A (en) Solid-liquid separator
JP2006289195A (en) Solid/liquid separator
JP3791803B2 (en) Volume reduction device
JP2006198593A (en) Solid-liquid separator
KR20220016721A (en) Rotary screen using speed difference of rotating scraper
KR200452473Y1 (en) Solid and liquid separator
JP2005118678A (en) Solid/liquid separation device
JP4994267B2 (en) Solid-liquid separator
CN110936647A (en) Solid-liquid separation device
JP2006007240A (en) Screw dehydrator

Legal Events

Date Code Title Description
A621 Written request for application examination

Free format text: JAPANESE INTERMEDIATE CODE: A621

Effective date: 20070703

A871 Explanation of circumstances concerning accelerated examination

Free format text: JAPANESE INTERMEDIATE CODE: A871

Effective date: 20070703

A975 Report on accelerated examination

Free format text: JAPANESE INTERMEDIATE CODE: A971005

Effective date: 20070820

A131 Notification of reasons for refusal

Free format text: JAPANESE INTERMEDIATE CODE: A131

Effective date: 20070829

A521 Request for written amendment filed

Free format text: JAPANESE INTERMEDIATE CODE: A523

Effective date: 20071002

TRDD Decision of grant or rejection written
A01 Written decision to grant a patent or to grant a registration (utility model)

Free format text: JAPANESE INTERMEDIATE CODE: A01

Effective date: 20071024

A61 First payment of annual fees (during grant procedure)

Free format text: JAPANESE INTERMEDIATE CODE: A61

Effective date: 20071026

R150 Certificate of patent or registration of utility model

Ref document number: 4036383

Country of ref document: JP

Free format text: JAPANESE INTERMEDIATE CODE: R150

Free format text: JAPANESE INTERMEDIATE CODE: R150

FPAY Renewal fee payment (event date is renewal date of database)

Free format text: PAYMENT UNTIL: 20101109

Year of fee payment: 3

FPAY Renewal fee payment (event date is renewal date of database)

Free format text: PAYMENT UNTIL: 20111109

Year of fee payment: 4

R250 Receipt of annual fees

Free format text: JAPANESE INTERMEDIATE CODE: R250

FPAY Renewal fee payment (event date is renewal date of database)

Free format text: PAYMENT UNTIL: 20111109

Year of fee payment: 4

FPAY Renewal fee payment (event date is renewal date of database)

Free format text: PAYMENT UNTIL: 20121109

Year of fee payment: 5

R250 Receipt of annual fees

Free format text: JAPANESE INTERMEDIATE CODE: R250

FPAY Renewal fee payment (event date is renewal date of database)

Free format text: PAYMENT UNTIL: 20121109

Year of fee payment: 5

FPAY Renewal fee payment (event date is renewal date of database)

Free format text: PAYMENT UNTIL: 20131109

Year of fee payment: 6

R250 Receipt of annual fees

Free format text: JAPANESE INTERMEDIATE CODE: R250

R250 Receipt of annual fees

Free format text: JAPANESE INTERMEDIATE CODE: R250

R250 Receipt of annual fees

Free format text: JAPANESE INTERMEDIATE CODE: R250

R250 Receipt of annual fees

Free format text: JAPANESE INTERMEDIATE CODE: R250

R250 Receipt of annual fees

Free format text: JAPANESE INTERMEDIATE CODE: R250

R250 Receipt of annual fees

Free format text: JAPANESE INTERMEDIATE CODE: R250

R250 Receipt of annual fees

Free format text: JAPANESE INTERMEDIATE CODE: R250

R250 Receipt of annual fees

Free format text: JAPANESE INTERMEDIATE CODE: R250

R250 Receipt of annual fees

Free format text: JAPANESE INTERMEDIATE CODE: R250

R250 Receipt of annual fees

Free format text: JAPANESE INTERMEDIATE CODE: R250

R250 Receipt of annual fees

Free format text: JAPANESE INTERMEDIATE CODE: R250

R250 Receipt of annual fees

Free format text: JAPANESE INTERMEDIATE CODE: R250

R250 Receipt of annual fees

Free format text: JAPANESE INTERMEDIATE CODE: R250

R250 Receipt of annual fees

Free format text: JAPANESE INTERMEDIATE CODE: R250