JP2007100975A - Air conditioner - Google Patents

Air conditioner Download PDF

Info

Publication number
JP2007100975A
JP2007100975A JP2005287311A JP2005287311A JP2007100975A JP 2007100975 A JP2007100975 A JP 2007100975A JP 2005287311 A JP2005287311 A JP 2005287311A JP 2005287311 A JP2005287311 A JP 2005287311A JP 2007100975 A JP2007100975 A JP 2007100975A
Authority
JP
Japan
Prior art keywords
filter
casing
air conditioner
guide piece
movement path
Prior art date
Legal status (The legal status is an assumption and is not a legal conclusion. Google has not performed a legal analysis and makes no representation as to the accuracy of the status listed.)
Granted
Application number
JP2005287311A
Other languages
Japanese (ja)
Other versions
JP4199760B2 (en
Inventor
Kazuya Yoshikawa
一也 吉川
Current Assignee (The listed assignees may be inaccurate. Google has not performed a legal analysis and makes no representation or warranty as to the accuracy of the list.)
Sharp Corp
Original Assignee
Sharp Corp
Priority date (The priority date is an assumption and is not a legal conclusion. Google has not performed a legal analysis and makes no representation as to the accuracy of the date listed.)
Filing date
Publication date
Application filed by Sharp Corp filed Critical Sharp Corp
Priority to JP2005287311A priority Critical patent/JP4199760B2/en
Priority to CN201110285277.XA priority patent/CN102384572B/en
Priority to CN200680036267XA priority patent/CN101278159B/en
Priority to PCT/JP2006/318935 priority patent/WO2007040074A1/en
Publication of JP2007100975A publication Critical patent/JP2007100975A/en
Application granted granted Critical
Publication of JP4199760B2 publication Critical patent/JP4199760B2/en
Anticipated expiration legal-status Critical
Expired - Lifetime legal-status Critical Current

Links

Images

Classifications

    • FMECHANICAL ENGINEERING; LIGHTING; HEATING; WEAPONS; BLASTING
    • F24HEATING; RANGES; VENTILATING
    • F24FAIR-CONDITIONING; AIR-HUMIDIFICATION; VENTILATION; USE OF AIR CURRENTS FOR SCREENING
    • F24F8/00Treatment, e.g. purification, of air supplied to human living or working spaces otherwise than by heating, cooling, humidifying or drying
    • F24F8/90Cleaning of purification apparatus

Landscapes

  • Engineering & Computer Science (AREA)
  • Chemical & Material Sciences (AREA)
  • Combustion & Propulsion (AREA)
  • Mechanical Engineering (AREA)
  • General Engineering & Computer Science (AREA)
  • Air Filters, Heat-Exchange Apparatuses, And Housings Of Air-Conditioning Units (AREA)

Abstract

【課題】フィルター清掃のメンテナンスが容易な空気調節装置を提供する。
【解決手段】ケーシング4内の室内熱交換器2の前方上方側に形成された空間に、フィルター9移動のためのU字状の移動経路Aを設ける。移動経路Aは、ガイド手段10により形成され、ガイド手段10にフィルター9の両端側が保持される。U字状の移動経路Aの内側には駆動手段11が設けられ、フィルター9を前後方向に往復移動させる。また、移動経路Aの途中に清掃手段12が設けられ、フィルター9の清掃を行う。
【選択図】図2
An air conditioner that facilitates filter cleaning maintenance is provided.
A U-shaped movement path A for moving a filter 9 is provided in a space formed in a casing 4 on the front upper side of an indoor heat exchanger 2. The moving path A is formed by the guide means 10, and both ends of the filter 9 are held by the guide means 10. Driving means 11 is provided inside the U-shaped moving path A, and reciprocates the filter 9 in the front-rear direction. Further, a cleaning unit 12 is provided in the middle of the movement path A, and the filter 9 is cleaned.
[Selection] Figure 2

Description

本発明は、フィルターの清掃を行うことができる空気調節装置に関する。   The present invention relates to an air conditioner capable of cleaning a filter.

空気調和機には、室内機のケーシングの吸込口の内面側に沿ってフィルターが設けられている。フィルターは、吸込口から吸引された空気中の塵埃を除去し、ケーシング内に塵埃が侵入するのを防ぐことができる。フィルターが汚れると、目詰まりにより空気調和機の空調能力が低下してしまうので清掃する必要がある。   The air conditioner is provided with a filter along the inner surface side of the suction port of the casing of the indoor unit. The filter can remove dust in the air sucked from the suction port and prevent dust from entering the casing. If the filter becomes dirty, the air conditioning capacity of the air conditioner will be reduced due to clogging, so it must be cleaned.

そこで、フィルター清掃を自動的に行うことのできる空気調和機がある。例えば、特許文献1には、吸込口と吹出口とを備えた本体内に、摺動自在に装着されたフィルターと、同フィルターを往復的に移動させる駆動装置と、前記フィルターが通過する通過口を前後に備え、前記フィルターと接触するように配設されたフィルター清掃部を内設したダストボックスとを設けてなる空気調和機が開示されている。フィルターを往復動させることにより、フィルターの全面をフィルター清掃部で自動的に清掃することができる。   Therefore, there is an air conditioner that can automatically perform filter cleaning. For example, Patent Document 1 discloses a filter that is slidably mounted in a main body having a suction port and an outlet, a drive device that reciprocally moves the filter, and a passage port through which the filter passes. And an air conditioner provided with a dust box provided with a filter cleaning portion disposed so as to come into contact with the filter. By reciprocating the filter, the entire surface of the filter can be automatically cleaned by the filter cleaning unit.

また、エンドレス型の輪状のフィルターと、フィルターを回転移動させる駆動装置と、フィルター清掃手段とを設け、フィルターを回転移動させることにより、フィルターの全面を清掃することのできる空気調和機もある。
特開2005−188808号公報
There is also an air conditioner that can clean the entire surface of the filter by providing an endless ring-shaped filter, a drive device that rotates the filter, and a filter cleaning means, and rotating the filter.
JP 2005-188808 A

しかしながら、特許文献1記載の空気調和機では、フィルターが空気調和機の本体全面から飛び出してくるので、見た目が悪い。また、フィルターを飛び出させるためには、ケーシング前面を覆う前パネルに開口を設ける必要があり、見苦しい。   However, in the air conditioner described in Patent Document 1, the filter protrudes from the entire surface of the main body of the air conditioner, so that it looks bad. Moreover, in order to make the filter pop out, it is necessary to provide an opening in the front panel that covers the front surface of the casing, which is unsightly.

また、エンドレス型のフィルターの場合は、フィルター全長が長くなってしまう。また、輪状であるのでフィルターのみの着脱が困難である。   In the case of an endless type filter, the total filter length becomes long. Moreover, since it is ring-shaped, it is difficult to attach and detach only the filter.

本発明は、上記課題に鑑み、フィルター清掃のメンテナンスが容易な空気調節装置を提供することを目的とする。   In view of the above problems, an object of the present invention is to provide an air conditioner that can be easily maintained for filter cleaning.

上記目的を達成するため、本発明は、ケーシングの吸込口の内面側に沿って配された板状のフィルターと、フィルターを清掃する清掃手段と、清掃手段に対してフィルターをケーシング内で移動させるための移動経路とが設けられたことを特徴とする空気調節装置である。フィルターをケーシング内で移動させる移動経路が確保されているので、フィルターを清掃手段に対して移動させても、フィルターがケーシング外へ突出しない。したがって、前パネルに開口を設ける必要がない。また、フィルターが板状であるので、ケーシングからフィルターのみを取り外しやすい。板状のフィルターであれば、少なくとも吸込口と対向する長さがあればいいので、フィルターの長さがエンドレス型のものに比べて短くてすむ。   In order to achieve the above object, the present invention provides a plate-like filter disposed along the inner surface side of a suction port of a casing, a cleaning means for cleaning the filter, and the filter is moved in the casing with respect to the cleaning means. The air conditioning apparatus is characterized in that a movement path is provided. Since the movement path for moving the filter within the casing is secured, the filter does not protrude out of the casing even if the filter is moved relative to the cleaning means. Therefore, it is not necessary to provide an opening in the front panel. Moreover, since the filter is plate-shaped, it is easy to remove only the filter from the casing. In the case of a plate-like filter, it is sufficient that at least the length facing the suction port is sufficient, so the length of the filter can be shorter than that of an endless type.

移動経路の形態は、フィルターをケーシング内で移動させることができればよい。例えば、吸込口の内面側に沿って形成されると共に、その端部から内側又は外側へU字状に折り返して形成してもよいし、吸込口の内面側に沿って形成されると共に、その端部から内側又は外側に渦状に巻き上げる形態としてもよい。   The form of the movement path is not limited as long as the filter can be moved within the casing. For example, it may be formed along the inner surface side of the suction port, and may be formed by folding back from the end inward or outward in a U shape, or formed along the inner surface side of the suction port, and It is good also as a form wound up spirally inside or outside from an edge part.

移動経路をU字状に折り返して形成する形態について、その折り返す位置は、ケーシングの前方、後方、側方のいずれであってもよいが、前方が好ましい。前方で折り返す形態であれば、フィルターを移動経路に挿入しやすい。また、前方に清掃手段を設けることができるので、フィルターの清掃手段への取付作業がしやすい。   About the form which folds and forms a movement path | route in the U-shape, the position to fold may be any of the front of a casing, back, and a side, but the front is preferable. If it is a form that folds forward, it is easy to insert the filter into the movement path. Moreover, since the cleaning means can be provided in the front, it is easy to attach the filter to the cleaning means.

移動経路の両側端にガイド手段が設けられる。ガイド手段としては、例えば、ケーシングに、内レール及び外レールを設け、内レールと外レールとの間にフィルターの側端を挟持させて誘導するようにしてもよいし、ケーシングに1本のレールを設け、フィルターの側端にレールと嵌合する溝を設けてもよい。   Guide means are provided at both ends of the movement path. As the guide means, for example, an inner rail and an outer rail may be provided in the casing, and the side end of the filter may be sandwiched and guided between the inner rail and the outer rail, or one rail may be provided in the casing. And a groove fitted to the rail may be provided at the side end of the filter.

また、ケーシング内においてフィルター設置領域を区画するための区画壁が設けられる。区画壁は、格子状に形成し、空気の流通を可能とするのが好ましい。区画壁が、ガイド手段の外レールの一部を構成すれば、部品点数が多くならないですむ。   Moreover, a partition wall for partitioning the filter installation area in the casing is provided. The partition walls are preferably formed in a lattice shape to allow air to flow. If the partition wall forms a part of the outer rail of the guide means, the number of parts does not increase.

フィルターを移動させる駆動手段が設けられる。駆動手段によりフィルターを移動させれば、自動的に清掃を行うことができる。   Driving means for moving the filter is provided. If the filter is moved by the driving means, cleaning can be performed automatically.

フィルターは、フィルター網と、フィルター網の四方に設けられたフィルター枠とから構成される。フィルター枠の素材は限定されるものではないが、合成樹脂、ゴム又は紙等の可撓性のある素材が好ましい。フィルターが屈曲しやすいので、移動経路を移動しやすくなる。   The filter is composed of a filter net and filter frames provided on four sides of the filter net. The material of the filter frame is not limited, but a flexible material such as synthetic resin, rubber or paper is preferable. Since the filter is easily bent, it is easy to move along the moving path.

本発明によると、フィルターをケーシング内で移動させる移動経路が設けられているので、フィルターを移動させてもフィルターがケーシング外へ突出せず、見栄えが悪くなることはない。前パネルに開口を設ける必要もない。また、フィルターが板状であるので、ケーシングからフィルターのみを取り外しやすい。フィルターの全長は、エンドレス型のものに比べて短くてすむ。   According to the present invention, since the movement path for moving the filter within the casing is provided, the filter does not protrude out of the casing even when the filter is moved, and the appearance does not deteriorate. There is no need to provide an opening in the front panel. Moreover, since the filter is plate-shaped, it is easy to remove only the filter from the casing. The total length of the filter is shorter than that of the endless type.

以下、本発明の実施形態を図面に基づいて説明する。図1は本実施形態の空気調和機の室内機の斜視図、図2は同じく空気調和機の断面図、図3は図2の要部拡大図、図4は前パネルを開いた状態の空気調和機の断面図、図5は本実施形態の空気調和機の要部を示す斜視図、図6は同じく空気調和機の要部を示す斜視図、図7はフィルターの斜視図、図8は図7の要部拡大図、図9はフィルターの正面図、図10はA−A断面図、図11はB−B断面図である。   Hereinafter, embodiments of the present invention will be described with reference to the drawings. 1 is a perspective view of an indoor unit of an air conditioner according to the present embodiment, FIG. 2 is a cross-sectional view of the air conditioner, FIG. 3 is an enlarged view of a main part of FIG. 2, and FIG. FIG. 5 is a perspective view showing the main part of the air conditioner of the present embodiment, FIG. 6 is a perspective view showing the main part of the air conditioner, FIG. 7 is a perspective view of the filter, and FIG. FIG. 9 is a front view of the filter, FIG. 10 is an AA cross-sectional view, and FIG. 11 is a BB cross-sectional view.

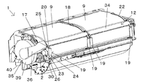
本空気調和機は、室内機1と室外機(図示せず)とから構成される。室内機1は、熱交換器2や室内ファン3等が内装されるケーシング4を備える。図1〜4に示すように、ケーシング4は、その前面開口を開閉自在に支持された前パネル5と、ケーシング4の天面側に、室内空気を吸い込むために格子状に形成された吸込口6と、ケーシング4の前面下部に、熱交換された冷暖気を吹出すために形成された吹出口7とを備える。ケーシング4の前面開口は、後述するフィルター9をケーシング4内へ装着するための開口となる。前パネル5は、その上部がケーシング4の側面に回動自在に固定され、下部を上方へ引き上げることにより、ケーシング4前面を開放することができる。前パネル5の内面には、凸状に隆起した当接部8が形成される。この当接部8は、後述するガイド片19の前板24と対向する部分に形成され、前パネル5の閉成時において前板24と当接可能とされる。   The air conditioner includes an indoor unit 1 and an outdoor unit (not shown). The indoor unit 1 includes a casing 4 in which a heat exchanger 2, an indoor fan 3, and the like are installed. As shown in FIGS. 1 to 4, the casing 4 has a front panel 5 whose front opening is supported so as to be openable and closable, and a suction port formed in a lattice shape on the top surface side of the casing 4 to suck indoor air. 6 and a blower outlet 7 formed in the lower part of the front surface of the casing 4 for blowing out the hot and cold air subjected to heat exchange. The front opening of the casing 4 serves as an opening for mounting a filter 9 described later into the casing 4. The upper part of the front panel 5 is rotatably fixed to the side surface of the casing 4, and the front surface of the casing 4 can be opened by pulling the lower part upward. On the inner surface of the front panel 5, a contact portion 8 protruding in a convex shape is formed. The abutting portion 8 is formed at a portion facing a front plate 24 of a guide piece 19 described later, and can abut on the front plate 24 when the front panel 5 is closed.

図2に示すように、ケーシング4内には、吸込口6と対向する位置に配された室内熱交換器2と、室内空気を吸込口6から吸い込み、室内熱交換器2で熱交換された空気を吹出口7から吹出すための室内ファン3とが設けられる。室内熱交換器2は、逆V字状に形成され、その前方上方側に略三角形状の空間ができる。この空間からケーシング4の吸込口6の内面に沿う位置にかけて、フィルター9移動のためのU字状の移動経路Aが設けられる。移動経路Aは、ガイド手段10により形成され、ガイド手段10にフィルター9の両端側が保持される。U字状の移動経路Aの内側には駆動手段11が設けられ、フィルター9を前後方向に往復移動させる。また、移動経路Aの途中に清掃手段12が設けられ、フィルター9の清掃を行う。   As shown in FIG. 2, in the casing 4, the indoor heat exchanger 2 disposed at a position facing the suction port 6 and the indoor air are sucked from the suction port 6, and heat is exchanged by the indoor heat exchanger 2. An indoor fan 3 for blowing out air from the air outlet 7 is provided. The indoor heat exchanger 2 is formed in an inverted V shape, and a substantially triangular space is formed on the front upper side thereof. A U-shaped movement path A for moving the filter 9 is provided from this space to a position along the inner surface of the suction port 6 of the casing 4. The moving path A is formed by the guide means 10, and both ends of the filter 9 are held by the guide means 10. Driving means 11 is provided inside the U-shaped moving path A, and reciprocates the filter 9 in the front-rear direction. Further, a cleaning unit 12 is provided in the middle of the movement path A, and the filter 9 is cleaned.

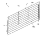
フィルター9は、右フィルターおよび左フィルターからなり、吸込口6から吸い込んだ空気中のごみや塵を除去する。図7及び図9に示すように、フィルター9は、フィルター網13と、フィルター網13の四方を支持するフィルター枠14とから構成される。フィルター枠14は、側方を支持する縦枠14aと、上方及び下方を支持する横枠14bとから構成される。   The filter 9 includes a right filter and a left filter, and removes dust and dirt in the air sucked from the suction port 6. As shown in FIGS. 7 and 9, the filter 9 includes a filter network 13 and a filter frame 14 that supports four sides of the filter network 13. The filter frame 14 includes a vertical frame 14a that supports the side and a horizontal frame 14b that supports the upper side and the lower side.

図8及び図10に示すように、縦枠14aは、側面視が波形状に形成される。波形状に形成することにより、縦枠14aの内面側には、後述する駆動手段11の従動ギア32と噛み合わせ可能な凹凸が縦方向(長手方向)に形成される。従動ギア32の回転により、フィルター9が前後に移動可能とされる。また、波形状とすることにより、凸部14cの外面側に溝部14dが形成され、凸部14cが肉厚とならずにすむ。したがって、フィルターが縦方向に撓みやすくなるため、フィルター9をU字状に折り返しやすくなる。   As shown in FIGS. 8 and 10, the vertical frame 14a is formed in a wave shape when viewed from the side. By forming it in a wave shape, unevenness that can mesh with a driven gear 32 of the driving means 11 described later is formed in the vertical direction (longitudinal direction) on the inner surface side of the vertical frame 14a. The filter 9 can be moved back and forth by the rotation of the driven gear 32. Further, by forming the wave shape, the groove portion 14d is formed on the outer surface side of the convex portion 14c, and the convex portion 14c does not have to be thick. Therefore, since the filter is easily bent in the vertical direction, the filter 9 is easily folded back into a U shape.

縦枠14aの内面側に形成される凹凸面の形状は、従動ギア32の歯と噛み合わせが可能であればよいが、凹凸のピッチと従動ギア32の歯のピッチとを同一にするのが好ましい。歯飛びをより効果的に防止することができる。   The shape of the concavo-convex surface formed on the inner surface side of the vertical frame 14a is not limited as long as it can be meshed with the teeth of the driven gear 32, but the pitch of the concavo-convex and the tooth pitch of the driven gear 32 should be the same. preferable. Tooth skipping can be more effectively prevented.

また、フィルター枠14内を格子状に区切るようにリブ15が設けられる。リブ15は、フィルター網13と固定され、フィルター網13を支持する。フィルター9の反りや波うちを防止できる。リブ15は、縦方向に配される縦リブ15aと、横方向に配される横リブ15bとから構成される。縦リブ15aは肉薄に形成され、横リブ15bは縦リブ15aに比べて肉厚に形成される。この構成により、フィルター9は、横方向の剛性を維持しつつ、縦方向には容易に屈曲可能とされる。また、図8に示すように、横リブ15bとフィルター枠14の縦枠14aとの間にはスリット16が設けられ、両者は不連続とされる。他の部分よりも剛性が高い縦枠14aと、横リブ15bとを不連続とすることにより、フィルター9の縦方向における屈曲性を保持できる。また、フィルター枠14の素材としては、可撓性のあるものであればよく、ポリプロピレン、ポリエチレンテレフタレート(PET)、軟質樹脂などの合成樹脂、ゴム、紙のいずれを用いてもよい。   Further, ribs 15 are provided so as to divide the inside of the filter frame 14 into a lattice shape. The rib 15 is fixed to the filter net 13 and supports the filter net 13. It is possible to prevent the filter 9 from warping or wavy. The rib 15 includes a vertical rib 15a arranged in the vertical direction and a horizontal rib 15b arranged in the horizontal direction. The vertical ribs 15a are formed thin, and the horizontal ribs 15b are formed thicker than the vertical ribs 15a. With this configuration, the filter 9 can be easily bent in the vertical direction while maintaining the rigidity in the horizontal direction. Moreover, as shown in FIG. 8, the slit 16 is provided between the horizontal rib 15b and the vertical frame 14a of the filter frame 14, and both are made discontinuous. By making the vertical frame 14a and the horizontal rib 15b higher in rigidity than the other parts discontinuous, the flexibility of the filter 9 in the vertical direction can be maintained. The material of the filter frame 14 may be any material as long as it is flexible, and any of synthetic resins such as polypropylene, polyethylene terephthalate (PET), and soft resin, rubber, and paper may be used.

フィルター網13の網素材としては、埃や塵などを除去するプレフィルターと室内の臭いを除去するための脱臭フィルターなどを組み合わせたものか、あるいはいずれか単体のフィルターでも構わない。   The net material of the filter net 13 may be a combination of a pre-filter for removing dust and dust and a deodorizing filter for removing indoor odors, or any single filter.

ガイド手段10は、ケーシング4の側壁17の内面側、ケーシング4の略中央を前後方向に橋渡しする中央体18の両側面及びガイド片19に設けられる。ガイド手段10は、移動経路Aの内周側をガイドする内レール21と、移動経路Aの外周側をガイドする外レール22とから構成される。ガイド手段10は、ケーシング4の吸込口6に沿った位置10aから、連結部分10b及び前パネル5に沿った位置10cを介し、その端部から後方へ折り返された折り返し位置10dに至るように、U字状に形成される。また、ガイド手段10の前パネル5に沿った位置10cと、その上流側に位置する連結部分10bとはそれぞれ略直線状に形成されており、両者の境目で折曲している。このように形成されたガイド手段10の内レール21と外レール22との間にフィルター9の端部を挟持すれば、フィルター9の移動が略U字状となるように誘導することができる。なお、移動経路Aの長さは、フィルター9を下流側へ移動させたときに、フィルター9の上流側の端部が清掃手段12と対向する位置まで達することのできる長さを有するのが好ましい。フィルター9の上流側の端部まで清掃することができる。   The guide means 10 is provided on the inner surface side of the side wall 17 of the casing 4, both side surfaces of the central body 18 that bridges the approximate center of the casing 4 in the front-rear direction, and the guide pieces 19. The guide means 10 includes an inner rail 21 that guides the inner peripheral side of the moving path A and an outer rail 22 that guides the outer peripheral side of the moving path A. The guide means 10 extends from the position 10a along the suction port 6 of the casing 4 to the folded position 10d folded back from the end through the connecting portion 10b and the position 10c along the front panel 5. It is formed in a U shape. Further, the position 10c along the front panel 5 of the guide means 10 and the connecting portion 10b located on the upstream side thereof are formed substantially in a straight line, and are bent at the boundary between them. If the end portion of the filter 9 is sandwiched between the inner rail 21 and the outer rail 22 of the guide means 10 formed in this way, the movement of the filter 9 can be guided to be substantially U-shaped. The length of the movement path A is preferably long enough to reach the position where the upstream end of the filter 9 faces the cleaning means 12 when the filter 9 is moved downstream. . The upstream end of the filter 9 can be cleaned.

また、ケーシング4の側壁17及び中央体18の前端の一部が切除され、ガイド手段10のうち、前パネル5に沿った位置10cが分断される。この切除部分にガイド片19が設けられる。ガイド片19は、清掃手段12よりもケーシング4の前方側に設けられる。ガイド片19は、ケーシング4の側壁17又は中央体18と平行に配される側板23と、側板23の前端から折曲してケーシング4前面に対向する前板24とから構成される。この側板23の内面に、内レール21及び外レール22が形成され、ガイド手段10の前パネル5に沿った位置10cを形成する。   Further, the side wall 17 of the casing 4 and a part of the front end of the central body 18 are cut away, and the position 10 c along the front panel 5 of the guide means 10 is divided. A guide piece 19 is provided at the cut portion. The guide piece 19 is provided on the front side of the casing 4 with respect to the cleaning means 12. The guide piece 19 includes a side plate 23 arranged in parallel with the side wall 17 or the central body 18 of the casing 4 and a front plate 24 bent from the front end of the side plate 23 and facing the front surface of the casing 4. An inner rail 21 and an outer rail 22 are formed on the inner surface of the side plate 23 to form a position 10 c along the front panel 5 of the guide means 10.

また、ガイド片19の側板23の上部は後方側へ延設されて、後述する従動ギア32の軸に回動自在に支持される回動部25が形成される。この構成により、ガイド片19は、図4に示すように、回動部25を中心として、下部を手前に引き上げることができる(開回動)。なお、この回動部25の開回動は、手動で行ってもよいが、フィルター9の平面状に戻ろうとする復元力により自然に持ち上がるようにするのが好ましい。ガイド片19を開回動させることにより、ガイド手段10が分断され、移動経路Aが前方に開口する。この開口から移動経路Aにフィルター9を簡単に挿入することができる。   Moreover, the upper part of the side plate 23 of the guide piece 19 is extended rearward, and the rotation part 25 supported rotatably by the axis | shaft of the driven gear 32 mentioned later is formed. With this configuration, as shown in FIG. 4, the guide piece 19 can pull up the lower portion toward the front with the rotation portion 25 as the center (open rotation). The rotation of the rotation unit 25 may be manually performed, but it is preferable that the rotation unit 25 is lifted naturally by a restoring force for returning the filter 9 to a flat shape. By rotating the guide piece 19 open, the guide means 10 is divided and the moving path A opens forward. The filter 9 can be easily inserted into the movement path A from this opening.

また、この回動部25は、ガイド手段10の前パネル5に沿った位置10cと、その上流側に位置する連結部分10bとの境目である折曲部分に形成される。ガイド手段10の前パネル5に沿った位置10cと、その上流側に位置する連結部分10bとは、それぞれ略直線状に形成されているので、ガイド片19を開回動させて両者を直線状に配することができる。さらにまた、ガイド片19の開回動時に、ガイド片19に形成されたガイド手段10(前パネル5に沿った位置10c)と、ケーシング4に形成されたガイド手段10(連結部分10b)とが直線状に位置した時点で止まるように、ガイド片19の開回動を規制するストッパー20が、ガイド片19の上方に設けられている。ガイド手段10を直線状に配すれば、フィルター9を挿入しやすい。   Further, the rotating portion 25 is formed at a bent portion that is a boundary between the position 10 c along the front panel 5 of the guide means 10 and the connecting portion 10 b located on the upstream side thereof. Since the position 10c along the front panel 5 of the guide means 10 and the connecting portion 10b located on the upstream side thereof are each formed in a substantially linear shape, the guide piece 19 is opened and rotated to make them both linear. Can be arranged. Furthermore, when the guide piece 19 is opened and rotated, the guide means 10 (position 10c along the front panel 5) formed on the guide piece 19 and the guide means 10 (connecting portion 10b) formed on the casing 4 are provided. A stopper 20 for restricting the opening and turning of the guide piece 19 is provided above the guide piece 19 so as to stop when it is positioned in a straight line. If the guide means 10 is arranged in a straight line, the filter 9 can be easily inserted.

また、ガイド片19の回動部25と対向する部分には、内レール21が形成されていない。前パネル5を閉めると、前パネル5の当接部8がガイド片19の前板24に当接し、ガイド片19が後方に押されて閉回動し、ガイド片19が閉姿勢となる。このとき、ガイド片19の内レール21の一部が形成されていないと共に、ガイド片19と対向して駆動ギア31が設けられているので、ガイド片19と駆動ギア31とでフィルター9を挟み込み、自動的にフィルター枠14の縦枠14aの凹凸と駆動ギア31の歯とを噛合させることができる。したがって、前パネル5を閉めるだけで、ガイド片19の閉成と駆動ギア31との装着とを連動して行えるので、フィルター9の装着が簡単である。   Further, the inner rail 21 is not formed on the portion of the guide piece 19 that faces the rotating portion 25. When the front panel 5 is closed, the abutting portion 8 of the front panel 5 abuts on the front plate 24 of the guide piece 19, the guide piece 19 is pushed backward to rotate and close, and the guide piece 19 is in a closed posture. At this time, a part of the inner rail 21 of the guide piece 19 is not formed, and the drive gear 31 is provided facing the guide piece 19, so that the filter 9 is sandwiched between the guide piece 19 and the drive gear 31. The unevenness of the vertical frame 14a of the filter frame 14 and the teeth of the drive gear 31 can be automatically engaged. Therefore, the filter 9 can be easily mounted because the guide piece 19 can be closed and the drive gear 31 can be interlocked simply by closing the front panel 5.

さらにまた、ガイド片19の側板23の下部は後方側へ延設され、係止部26が設けられる。係止部26の内面側には、突出した凸部27が形成され、ケーシング4の側壁17または中央体18の壁面に設けられた係止穴28に嵌合し、係止される。ガイド片19をケーシング4に固定することができる。   Furthermore, the lower part of the side plate 23 of the guide piece 19 extends rearward, and a locking portion 26 is provided. A protruding convex portion 27 is formed on the inner surface side of the locking portion 26, and is fitted and locked in a locking hole 28 provided in the side wall 17 of the casing 4 or the wall surface of the central body 18. The guide piece 19 can be fixed to the casing 4.

ケーシング4内において、フィルター9の設置領域を区画するための区画壁29が設けられる。室内熱交換器2にフィルター9が接触するのを防げる。また、前パネル5開放時に誤って使用者が触れるのを防ぐことができる。区画壁29は、空気の流通を可能とするために格子状に形成される。区画壁29は、ガイド手段10の外レール22の一部を構成する。詳しくは、区画壁29は、ガイド手段10の折り返し位置10dの外レール22を構成する。このように、区画壁29をガイド手段10として併用することにより、部品点数が多くならないですむ。   A partition wall 29 for partitioning the installation area of the filter 9 is provided in the casing 4. The filter 9 can be prevented from coming into contact with the indoor heat exchanger 2. Moreover, it can prevent that a user touches accidentally at the time of front panel 5 opening. The partition wall 29 is formed in a lattice shape so as to allow air to flow. The partition wall 29 constitutes a part of the outer rail 22 of the guide means 10. Specifically, the partition wall 29 constitutes the outer rail 22 at the folding position 10 d of the guide means 10. Thus, by using the partition wall 29 together as the guide means 10, the number of parts does not increase.

駆動手段11は、U字状のガイド手段10の内レール21の内側であって、ガイド片19と対向する位置に設けられる。駆動手段11は、駆動源であるモーター30と、モーター30の出力軸に連結されて回転する駆動ギア31と、駆動ギア31と噛み合って回転する従動ギア32と、駆動ギア31と噛み合って回転するローラーギア33とから構成される。なお、ゴムローラギア33の回転軸には、図示しないギアが取り付けられており、これによりローラーギアは回転可能とされる。従動ギア32、駆動ギア31、ローラーギア33の順に上方から配置される。従動ギア32は、フィルター枠14の凹凸と噛み合わせることにより、フィルター9を前後移動可能とする。また、ローラーギア33は、そのローラー面で、U字状に折り返されてきたフィルター9と接触して摩擦によりフィルター9の移動を補助する。駆動手段11は、ガイド片19と対向する位置に設けられているので、ガイド片19を開回動させてフィルター9を移動経路Aに挿入した後、ガイド片19を閉成する操作を行うだけで、フィルター枠14に形成された凹凸と従動ギア32の歯とを簡単に噛み合わせることができる。   The driving means 11 is provided inside the inner rail 21 of the U-shaped guide means 10 and at a position facing the guide piece 19. The drive unit 11 is engaged with the drive gear 31 and rotated by the motor 30 that is a drive source, the drive gear 31 that is connected to the output shaft of the motor 30, the driven gear 32 that is engaged with the drive gear 31, and the drive gear 31. It comprises a roller gear 33. Note that a gear (not shown) is attached to the rotation shaft of the rubber roller gear 33, so that the roller gear can be rotated. The driven gear 32, the drive gear 31, and the roller gear 33 are arranged in this order from above. The driven gear 32 can move the filter 9 back and forth by meshing with the unevenness of the filter frame 14. The roller gear 33 is in contact with the filter 9 that has been folded back in a U shape on the roller surface, and assists the movement of the filter 9 by friction. Since the driving means 11 is provided at a position facing the guide piece 19, after the guide piece 19 is opened and rotated and the filter 9 is inserted into the movement path A, only the operation of closing the guide piece 19 is performed. Thus, the unevenness formed on the filter frame 14 and the teeth of the driven gear 32 can be easily meshed with each other.

清掃手段12は、フィルター9の移動経路Aの途中であって、ケーシング4の吸込口6の前端に対向する位置よりも下流側に設けられる。吸込口6に対向しているフィルター9の全面を清掃手段12により清掃することができる。また、清掃手段12は、ガイド手段10の連結部分10bに設けられる。連結部分10bは直線状に形成されているので、清掃手段12にフィルター9を取付けやすい。さらに、清掃手段12がケーシング4の前面側に設けられるので、清掃手段12にフィルター9を取付けやすい。   The cleaning means 12 is provided in the middle of the movement path A of the filter 9 and downstream of the position facing the front end of the suction port 6 of the casing 4. The entire surface of the filter 9 facing the suction port 6 can be cleaned by the cleaning means 12. Further, the cleaning means 12 is provided in the connecting portion 10 b of the guide means 10. Since the connecting portion 10b is formed in a straight line, the filter 9 can be easily attached to the cleaning means 12. Furthermore, since the cleaning means 12 is provided on the front side of the casing 4, it is easy to attach the filter 9 to the cleaning means 12.

清掃手段12は、吸引部34と、吸引装置35と、吸引部34及び吸引装置35を連結するための筒状の吸引ダクト36とから構成される。吸引部34は、断面形状が略コの字状の上ケース37及び下ケース38から構成され、上ケース37及び下ケース38の凹部を対向させた状態で、ケーシング4の前方を横方向に橋渡しするようにしてケーシング4に固定される。上ケース37と下ケース38との間には隙間があり、この隙間をフィルター9が走行可能とされる。上ケース37及び下ケース38とフィルター9表面との間は、きわめて狭い間隔を保っている。吸引部34の左右両端は開口されている。   The cleaning unit 12 includes a suction part 34, a suction device 35, and a cylindrical suction duct 36 for connecting the suction part 34 and the suction device 35. The suction portion 34 is composed of an upper case 37 and a lower case 38 having a substantially U-shaped cross section, and the front of the casing 4 is bridged in the lateral direction with the concave portions of the upper case 37 and the lower case 38 facing each other. In this way, it is fixed to the casing 4. There is a gap between the upper case 37 and the lower case 38, and the filter 9 can travel through this gap. A very narrow space is maintained between the upper case 37 and the lower case 38 and the surface of the filter 9. Both left and right ends of the suction part 34 are opened.

吸引装置35は、吸引ファン(図示せず)と、吸引ファンの周囲を覆う吸引カバー39とから構成される。吸引カバー39には、吸引口(図示せず)と排気口40とが開口され、この吸引口と吸引部34の開口とが吸引ダクト36で連結される。排気口40は、室外と連通するダクト(図示せず)に連結される。吸引ファンを回転させることにより、吸引力が発生し、吸引部34でフィルター9の塵埃を吸引することができる。吸引した空気は排気口40より外部に排気される。   The suction device 35 includes a suction fan (not shown) and a suction cover 39 that covers the periphery of the suction fan. A suction port (not shown) and an exhaust port 40 are opened in the suction cover 39, and the suction port and the opening of the suction part 34 are connected by a suction duct 36. The exhaust port 40 is connected to a duct (not shown) communicating with the outside. By rotating the suction fan, a suction force is generated, and the dust on the filter 9 can be sucked by the suction portion 34. The sucked air is exhausted from the exhaust port 40 to the outside.

また、上ケース37及び下ケース38のそれぞれの側壁の間隔は、フィルター9の横リブ15bの間隔と略同一に設定される。上ケース37及び下ケース38の側壁と、横リブ15bとが重なった場合、吸引部34内が略密閉した空間となるので、吸引力がアップする。なお、清掃手段12として、吸引式のものを用いたが、ブラシによるかきとり式のものであってもよい。   Further, the interval between the side walls of the upper case 37 and the lower case 38 is set to be substantially the same as the interval between the lateral ribs 15 b of the filter 9. When the side walls of the upper case 37 and the lower case 38 overlap with the lateral ribs 15b, the suction portion 34 becomes a substantially sealed space, so that the suction force is increased. In addition, although the suction-type thing was used as the cleaning means 12, the scraper-type thing by a brush may be used.

以上の構成によると、フィルター9の清掃時には、駆動手段11によりフィルター9が前方に移動される。このとき、ケーシング4前方でU字状に折り返すようにガイド手段10により移動経路Aが形成されているので、前方移動に伴い、湾曲しながらフィルター9の前端が後方側(下流側)へ誘導される。このように、フィルター9をケーシング4内で移動させる移動経路Aが設けられているので、フィルター9がケーシング4外へ突出しない。したがって、清掃時に前パネル5を開放する必要もない。また、フィルター9が板状であるので、ケーシング4からフィルター9のみを取り外しやすい。   According to the above configuration, the filter 9 is moved forward by the driving means 11 when the filter 9 is cleaned. At this time, since the movement path A is formed by the guide means 10 so as to be folded in a U shape in front of the casing 4, the front end of the filter 9 is guided to the rear side (downstream side) while curving with the forward movement. The Thus, since the moving path A for moving the filter 9 within the casing 4 is provided, the filter 9 does not protrude out of the casing 4. Therefore, it is not necessary to open the front panel 5 at the time of cleaning. Moreover, since the filter 9 is plate-shaped, it is easy to remove only the filter 9 from the casing 4.

また、フィルター9のフィルター枠14が波状に形成されているので、フィルター枠14が撓みやすくなり、U字状に折り返しやすい。したがって、湾曲した移動経路Aに追随させることができる。   Moreover, since the filter frame 14 of the filter 9 is formed in a wave shape, the filter frame 14 is easily bent and easily folded back into a U shape. Therefore, the curved movement path A can be followed.

さらにまた、ガイド手段10の一部は、回動自在なガイド片19に設けられているので、ガイド片19を開回動させることにより、ガイド手段10が分断され、移動経路Aが前方に開口する。この開口からフィルター9を挿入することができるので、フィルターを挿入しやすい。   Furthermore, since a part of the guide means 10 is provided on the rotatable guide piece 19, the guide means 10 is divided by opening and turning the guide piece 19, and the moving path A opens forward. To do. Since the filter 9 can be inserted from this opening, it is easy to insert the filter.

また、ガイド片19を開回動させることにより、ガイド片19に形成されたガイド手段10(前パネル5に沿った位置10c)と、ケーシング4に形成されたガイド手段10(連結部分10b)とが、直線状に配されるので、フィルター9をより簡単に挿入することができる。また、清掃手段12は、直線状に形成されたガイド手段10の連結部分10bに設けられているので、清掃手段12にもフィルター9を挿入しやすい。   Further, by rotating the guide piece 19 open, the guide means 10 (position 10c along the front panel 5) formed on the guide piece 19 and the guide means 10 (connecting portion 10b) formed on the casing 4 are provided. However, since it is arranged in a straight line, the filter 9 can be inserted more easily. Moreover, since the cleaning means 12 is provided in the connection part 10b of the guide means 10 formed in the linear form, it is easy to insert the filter 9 also into the cleaning means 12.

また、前パネル5を閉める際には、前パネル5の当接部8がガイド片19の前板24に当接し、ガイド片19が後方に押されて閉回動し、ガイド片19が閉姿勢となる。このとき、ガイド片19と対向して駆動ギア31が設けられているので、自動的にフィルター枠14の凹凸と駆動ギア31の歯とが噛み合わされる。したがって、前パネル5を閉めるだけで、ガイド片19の閉成と駆動ギア31との装着とを連動して行えるので、フィルター9の装着が簡単である。   Further, when the front panel 5 is closed, the contact portion 8 of the front panel 5 contacts the front plate 24 of the guide piece 19 and the guide piece 19 is pushed rearward to rotate and close, so that the guide piece 19 is closed. Become posture. At this time, since the drive gear 31 is provided facing the guide piece 19, the unevenness of the filter frame 14 and the teeth of the drive gear 31 are automatically meshed with each other. Therefore, the filter 9 can be easily mounted because the guide piece 19 can be closed and the drive gear 31 can be interlocked simply by closing the front panel 5.

また、ガイド片19は上方へ回動するよう付勢されるようにしておき、前パネル5の開閉とともに回動するような構成としておけば、ガイド片19を引き上げたり押し込んだりすることなく、前パネルの開閉動作のみでフィルター9とギア32と噛合させることができる。   Further, if the guide piece 19 is urged to rotate upward and is configured to rotate with the opening and closing of the front panel 5, the guide piece 19 can be moved forward without being pulled up or pushed in. The filter 9 and the gear 32 can be engaged with each other only by opening and closing the panel.

なお、本発明は上記実施形態に限定されるものではなく、本発明の範囲内で上記実施形態に多くの修正及び変更を加え得ることは勿論である。例えば、上記の実施形態では、空気調和機としては、室内機1と室外機とが分離したセパレート型のものに限らず、一体型のものであってもよい。また、空気調節装置としては、空気調和機に限らず、空気清浄機、イオン発生装置、除湿機、加湿機あるいはファンヒータのいずれであってもよい。   In addition, this invention is not limited to the said embodiment, Of course, many corrections and changes can be added to the said embodiment within the scope of the present invention. For example, in the above embodiment, the air conditioner is not limited to the separate type in which the indoor unit 1 and the outdoor unit are separated, and may be an integrated type. The air conditioner is not limited to an air conditioner, and may be any of an air cleaner, an ion generator, a dehumidifier, a humidifier, or a fan heater.

本実施形態の空気調和機の室内機の斜視図The perspective view of the indoor unit of the air conditioner of this embodiment 同じく空気調和機の断面図Cross section of the air conditioner 図2の要部拡大図2 is an enlarged view of the main part of FIG. 前パネルを開いた状態の空気調和機の断面図Cross section of the air conditioner with the front panel open 本実施形態の空気調和機の要部を示す斜視図The perspective view which shows the principal part of the air conditioner of this embodiment. 同じく空気調和機の要部を示す斜視図The perspective view which similarly shows the principal part of an air conditioner フィルターの斜視図Perspective view of filter 図7の要部拡大図7 is an enlarged view of the main part of FIG. フィルターの正面図Front view of the filter A−A断面図A-A cross section B−B断面図BB cross section

符号の説明Explanation of symbols

A 移動経路
1 室内機
4 ケーシング
5 前パネル
8 当接部
9 フィルター
10 ガイド手段
11 駆動手段
12 清掃手段
13 フィルター網
14 フィルター枠
15 リブ
17 側壁
18 中央体
19 ガイド片
20 ストッパー
21 内レール
22 外レール
23 側板
24 前板
25 回動部
26 係止部
27 凸部
28 係止穴
29 区画壁
30 モーター
34 吸引部
35 吸引装置
36 吸引ダクト
A Movement path 1 Indoor unit 4 Casing 5 Front panel 8 Contact portion 9 Filter 10 Guide means 11 Driving means 12 Cleaning means 13 Filter net 14 Filter frame 15 Rib 17 Side wall 18 Central body 19 Guide piece 20 Stopper 21 Inner rail 22 Outer rail 23 Side plate 24 Front plate 25 Rotating portion 26 Locking portion 27 Protruding portion 28 Locking hole 29 Partition wall
30 Motor 34 Suction part 35 Suction device 36 Suction duct

Claims (6)

ケーシングの吸込口の内面側に沿って配された板状のフィルターと、該フィルターを清掃する清掃手段と、該清掃手段に対して前記フィルターをケーシング内で移動させるための移動経路とが設けられたことを特徴とする空気調節装置。 A plate-like filter disposed along the inner surface side of the suction port of the casing, a cleaning means for cleaning the filter, and a movement path for moving the filter in the casing relative to the cleaning means are provided. An air conditioner characterized by that. 前記移動経路は、前記吸込口の内面側に沿って形成されると共に、その端部からU字状に折り返されて形成されることを特徴とする請求項1に記載の空気調節装置。 2. The air conditioner according to claim 1, wherein the movement path is formed along an inner surface side of the suction port and is folded back and formed in a U shape from an end portion thereof. 前記移動経路の両側端にガイド手段が設けられたことを特徴とする請求項1又は2記載の空気調節装置。 The air conditioner according to claim 1 or 2, wherein guide means are provided at both ends of the moving path. 前記移動経路を形成する区画壁が、空気の流通を可能とする格子状に形成されたことを特徴とする請求項1〜3のいずれかに記載の空気調節装置。 The air conditioning apparatus according to any one of claims 1 to 3, wherein the partition walls forming the movement path are formed in a lattice shape that allows air to flow. 前記フィルターを移動させる駆動手段が設けられたことを特徴とする請求項1〜4のいずれかに記載の空気調節装置。 The air conditioner according to any one of claims 1 to 4, further comprising a driving means for moving the filter. 前記フィルターは、フィルター網と、該フィルター網の四方に設けられたフィルター枠とから構成され、前記フィルター枠は、合成樹脂、ゴム又は紙からなることを特徴とする請求項1〜5のいずれかに記載の空気調節装置。
The said filter is comprised from the filter net | network and the filter frame provided in the four directions of this filter net | network, The said filter frame consists of a synthetic resin, rubber | gum, or paper, The any one of Claims 1-5 characterized by the above-mentioned. An air conditioner described in 1.
JP2005287311A 2005-09-30 2005-09-30 Air conditioner Expired - Lifetime JP4199760B2 (en)

Priority Applications (4)

Application Number Priority Date Filing Date Title
JP2005287311A JP4199760B2 (en) 2005-09-30 2005-09-30 Air conditioner
CN201110285277.XA CN102384572B (en) 2005-09-30 2006-09-25 Conditioner and the filter used wherein
CN200680036267XA CN101278159B (en) 2005-09-30 2006-09-25 air conditioner
PCT/JP2006/318935 WO2007040074A1 (en) 2005-09-30 2006-09-25 Air conditioner and filter used therefor

Applications Claiming Priority (1)

Application Number Priority Date Filing Date Title
JP2005287311A JP4199760B2 (en) 2005-09-30 2005-09-30 Air conditioner

Related Child Applications (4)

Application Number Title Priority Date Filing Date
JP2006349836A Division JP4676422B2 (en) 2006-12-26 2006-12-26 Air conditioner
JP2008027137A Division JP4399009B2 (en) 2008-02-07 2008-02-07 Air conditioner
JP2008027138A Division JP4399010B2 (en) 2008-02-07 2008-02-07 Air conditioner
JP2008027139A Division JP4399011B2 (en) 2008-02-07 2008-02-07 Air conditioner

Publications (2)

Publication Number Publication Date
JP2007100975A true JP2007100975A (en) 2007-04-19
JP4199760B2 JP4199760B2 (en) 2008-12-17

Family

ID=38028108

Family Applications (1)

Application Number Title Priority Date Filing Date
JP2005287311A Expired - Lifetime JP4199760B2 (en) 2005-09-30 2005-09-30 Air conditioner

Country Status (2)

Country Link
JP (1) JP4199760B2 (en)
CN (1) CN101278159B (en)

Cited By (12)

* Cited by examiner, † Cited by third party
Publication number Priority date Publication date Assignee Title
JP2008122073A (en) * 2008-02-07 2008-05-29 Sharp Corp Air conditioner
JP2008122074A (en) * 2008-02-07 2008-05-29 Sharp Corp Air conditioner
US20090183521A1 (en) * 2008-01-18 2009-07-23 Fujitsu General Limited Air conditioner
JP2009168393A (en) * 2008-01-18 2009-07-30 Fujitsu General Ltd Air conditioner
JP2009168352A (en) * 2008-01-17 2009-07-30 Fujitsu General Ltd Air conditioner
WO2010087154A1 (en) * 2009-01-28 2010-08-05 ダイキン工業株式会社 Air-conditioning indoor unit
CN101839524A (en) * 2009-03-19 2010-09-22 富士通将军股份有限公司 air conditioner
JP2010255891A (en) * 2009-04-22 2010-11-11 Sharp Corp Air conditioner
JP2012083104A (en) * 2012-01-30 2012-04-26 Fujitsu General Ltd Air conditioner
JP2013142521A (en) * 2012-01-12 2013-07-22 Mitsubishi Electric Corp Filter cleaning device of air conditioner, and air conditioner
KR102286887B1 (en) * 2020-12-03 2021-08-06 주식회사 에코윈드 Dehumidifier
JP7089425B2 (en) 2018-07-17 2022-06-22 株式会社コロナ Air conditioner

Families Citing this family (9)

* Cited by examiner, † Cited by third party
Publication number Priority date Publication date Assignee Title
JP5108121B2 (en) * 2011-01-11 2012-12-26 シャープ株式会社 Filter holding device, filter cleaning device, and air conditioner
JP5595371B2 (en) * 2011-12-26 2014-09-24 三菱電機株式会社 Air conditioner
CN102607155A (en) * 2012-03-19 2012-07-25 海尔集团公司 Air conditioner filter screen bracket and air conditioner
CN102607107B (en) * 2012-03-19 2016-12-14 海尔集团公司 Indoor apparatus of air conditioner and air-conditioning
CN102607156A (en) * 2012-03-19 2012-07-25 海尔集团公司 Self-cleaning filtering component of air conditioner and air conditioner indoor unit
CN104197497B (en) * 2014-09-02 2017-06-23 浙江金海环境技术股份有限公司 Air filter and application thereof
JP6741915B2 (en) * 2016-08-26 2020-08-19 パナソニックIpマネジメント株式会社 Air filter automatic cleaning device and air conditioner and air cleaner using the same
CN107504559B (en) * 2017-07-21 2021-05-25 广东美的制冷设备有限公司 Air conditioner indoor unit and air conditioner with same
US11541342B2 (en) 2018-03-07 2023-01-03 Lg Electronics Inc. Indoor unit for air conditioner

Citations (4)

* Cited by examiner, † Cited by third party
Publication number Priority date Publication date Assignee Title
JPH05106859A (en) * 1991-10-17 1993-04-27 Fujitsu General Ltd Indoor unit of air conditioner
JPH0660416U (en) * 1993-01-22 1994-08-23 河野プラスチック工業株式会社 filter
JPH11287512A (en) * 1998-03-31 1999-10-19 Sanyo Electric Co Ltd Air conditioner
JP2004044933A (en) * 2002-07-12 2004-02-12 Fujitsu General Ltd Air conditioner

Patent Citations (4)

* Cited by examiner, † Cited by third party
Publication number Priority date Publication date Assignee Title
JPH05106859A (en) * 1991-10-17 1993-04-27 Fujitsu General Ltd Indoor unit of air conditioner
JPH0660416U (en) * 1993-01-22 1994-08-23 河野プラスチック工業株式会社 filter
JPH11287512A (en) * 1998-03-31 1999-10-19 Sanyo Electric Co Ltd Air conditioner
JP2004044933A (en) * 2002-07-12 2004-02-12 Fujitsu General Ltd Air conditioner

Cited By (24)

* Cited by examiner, † Cited by third party
Publication number Priority date Publication date Assignee Title
JP2009168352A (en) * 2008-01-17 2009-07-30 Fujitsu General Ltd Air conditioner
AU2009200169B2 (en) * 2008-01-18 2013-09-26 Fujitsu General Limited Air conditioner
US20090183521A1 (en) * 2008-01-18 2009-07-23 Fujitsu General Limited Air conditioner
JP2009168393A (en) * 2008-01-18 2009-07-30 Fujitsu General Ltd Air conditioner
JP2009168394A (en) * 2008-01-18 2009-07-30 Fujitsu General Ltd Air conditioner
EP2080957A3 (en) * 2008-01-18 2014-05-07 Fujitsu General Limited Air conditioner
US8631664B2 (en) 2008-01-18 2014-01-21 Fujitsu General Limited Air conditioner with automatic air filter cleaner
JP2008122074A (en) * 2008-02-07 2008-05-29 Sharp Corp Air conditioner
JP2008122073A (en) * 2008-02-07 2008-05-29 Sharp Corp Air conditioner
WO2010087154A1 (en) * 2009-01-28 2010-08-05 ダイキン工業株式会社 Air-conditioning indoor unit
EP2392871A4 (en) * 2009-01-28 2013-12-18 Daikin Ind Ltd AIR CONDITIONING INTERIOR UNIT AND METHOD FOR PRODUCING A FILTER CLEANING DEVICE
CN102292603B (en) * 2009-01-28 2015-01-21 大金工业株式会社 air conditioner indoor unit
CN103953972A (en) * 2009-01-28 2014-07-30 大金工业株式会社 Air-conditioning indoor unit
EP2392870A4 (en) * 2009-01-28 2013-04-03 Daikin Ind Ltd INDOOR AIR CONDITIONING UNIT
JP2010197034A (en) * 2009-01-28 2010-09-09 Daikin Ind Ltd Air-conditioning indoor unit and method of manufacturing filter cleaning device
EP2236948A1 (en) 2009-03-19 2010-10-06 Fujitsu General Limited Compact indoor unit of an air conditioner with filter protruding outside the casing during automatic filter cleaning
JP2010223452A (en) * 2009-03-19 2010-10-07 Fujitsu General Ltd Air conditioner
CN101839524A (en) * 2009-03-19 2010-09-22 富士通将军股份有限公司 air conditioner
US8813518B2 (en) 2009-03-19 2014-08-26 Fujitsu General Limited Air conditioner
JP2010255891A (en) * 2009-04-22 2010-11-11 Sharp Corp Air conditioner
JP2013142521A (en) * 2012-01-12 2013-07-22 Mitsubishi Electric Corp Filter cleaning device of air conditioner, and air conditioner
JP2012083104A (en) * 2012-01-30 2012-04-26 Fujitsu General Ltd Air conditioner
JP7089425B2 (en) 2018-07-17 2022-06-22 株式会社コロナ Air conditioner
KR102286887B1 (en) * 2020-12-03 2021-08-06 주식회사 에코윈드 Dehumidifier

Also Published As

Publication number Publication date
CN101278159A (en) 2008-10-01
CN101278159B (en) 2012-03-14
JP4199760B2 (en) 2008-12-17

Similar Documents

Publication Publication Date Title
JP4199760B2 (en) Air conditioner
JP4399011B2 (en) Air conditioner
JP4309450B2 (en) Air conditioner
JP4119448B2 (en) Air conditioner
CN101517333B (en) Air conditioner
JP4399010B2 (en) Air conditioner
JP4532396B2 (en) Filter and air conditioner using the same
WO2007040074A1 (en) Air conditioner and filter used therefor
JP4175408B2 (en) Air conditioner
JP4676423B2 (en) Air conditioner
WO2008038582A1 (en) Air conditioner
JP4676422B2 (en) Air conditioner
CN101517332B (en) Filter and air conditioning apparatus using the same
JP2009115424A (en) Filter cleaning device
JP4819668B2 (en) Filter and air conditioner using the same
JP4399009B2 (en) Air conditioner
JP5255664B2 (en) Filter and air conditioner using the same
JP4119453B2 (en) Filter cleaning device
JP4020931B2 (en) Air conditioner
JP2007152307A (en) Filter and filter feeder
JP4843479B2 (en) Filter cleaning device
JP4591430B2 (en) Air conditioner with filter cleaning unit
JP4832279B2 (en) Air conditioner
JP2009115383A (en) Filter cleaning device
JP2018134591A (en) Air cleaner

Legal Events

Date Code Title Description
A871 Explanation of circumstances concerning accelerated examination

Free format text: JAPANESE INTERMEDIATE CODE: A871

Effective date: 20071012

A975 Report on accelerated examination

Free format text: JAPANESE INTERMEDIATE CODE: A971005

Effective date: 20071101

A131 Notification of reasons for refusal

Free format text: JAPANESE INTERMEDIATE CODE: A131

Effective date: 20071211

A521 Request for written amendment filed

Free format text: JAPANESE INTERMEDIATE CODE: A523

Effective date: 20080207

A02 Decision of refusal

Free format text: JAPANESE INTERMEDIATE CODE: A02

Effective date: 20080520

A521 Request for written amendment filed

Free format text: JAPANESE INTERMEDIATE CODE: A523

Effective date: 20080616

A911 Transfer to examiner for re-examination before appeal (zenchi)

Free format text: JAPANESE INTERMEDIATE CODE: A911

Effective date: 20080730

TRDD Decision of grant or rejection written
A01 Written decision to grant a patent or to grant a registration (utility model)

Free format text: JAPANESE INTERMEDIATE CODE: A01

Effective date: 20080909

A01 Written decision to grant a patent or to grant a registration (utility model)

Free format text: JAPANESE INTERMEDIATE CODE: A01

A61 First payment of annual fees (during grant procedure)

Free format text: JAPANESE INTERMEDIATE CODE: A61

Effective date: 20081003

FPAY Renewal fee payment (event date is renewal date of database)

Free format text: PAYMENT UNTIL: 20111010

Year of fee payment: 3

R150 Certificate of patent or registration of utility model

Ref document number: 4199760

Country of ref document: JP

Free format text: JAPANESE INTERMEDIATE CODE: R150

Free format text: JAPANESE INTERMEDIATE CODE: R150

FPAY Renewal fee payment (event date is renewal date of database)

Free format text: PAYMENT UNTIL: 20121010

Year of fee payment: 4

FPAY Renewal fee payment (event date is renewal date of database)

Free format text: PAYMENT UNTIL: 20131010

Year of fee payment: 5

EXPY Cancellation because of completion of term