JP2007100356A - Joint for siphon drain - Google Patents

Joint for siphon drain Download PDF

Info

Publication number
JP2007100356A
JP2007100356A JP2005290412A JP2005290412A JP2007100356A JP 2007100356 A JP2007100356 A JP 2007100356A JP 2005290412 A JP2005290412 A JP 2005290412A JP 2005290412 A JP2005290412 A JP 2005290412A JP 2007100356 A JP2007100356 A JP 2007100356A
Authority
JP
Japan
Prior art keywords
joint
drainage
drain
pipe
siphon
Prior art date
Legal status (The legal status is an assumption and is not a legal conclusion. Google has not performed a legal analysis and makes no representation as to the accuracy of the status listed.)
Withdrawn
Application number
JP2005290412A
Other languages
Japanese (ja)
Inventor
Hideyuki Maruyama
秀行 丸山
Yukihiro Hosoda
幸宏 細田
Current Assignee (The listed assignees may be inaccurate. Google has not performed a legal analysis and makes no representation or warranty as to the accuracy of the list.)
Bridgestone Corp
Original Assignee
Bridgestone Corp
Priority date (The priority date is an assumption and is not a legal conclusion. Google has not performed a legal analysis and makes no representation as to the accuracy of the date listed.)
Filing date
Publication date
Application filed by Bridgestone Corp filed Critical Bridgestone Corp
Priority to JP2005290412A priority Critical patent/JP2007100356A/en
Publication of JP2007100356A publication Critical patent/JP2007100356A/en
Withdrawn legal-status Critical Current

Links

Images

Landscapes

  • Sink And Installation For Waste Water (AREA)
  • Joints With Pressure Members (AREA)

Abstract

<P>PROBLEM TO BE SOLVED: To solve problems in a convention joint wherein not only layout is difficult since the number of connection parts is large, but also water leakage may occur from the connection portions and the removal of an article is extremely difficult when the joint is clogged with the article since a reduced diameter portion is apart from a trap portion. <P>SOLUTION: This joint for siphon drain is formed by forming a drain introduction part enabling insertion of a drain pipe from a washbasin and a sink therein integrally with a reduced diameter drain outlet connected to a lateral pipe for siphon drain. The joint comprises a joint base, a through-part inserted into the drain pipes of the washbasin and the sink, and a cap nut having a female screw part threaded with the male screw. The joint base comprises a recess for storing a sealing ring in the drain introduction part and a male screw part engraved on the outside of the drain introduction part. 1: Joint base; 1a: Drain introduction part; 1b: Drain outlet part; 1c: Reduced diameter part; 2: Cap nut; 2a: Through-part; 3: Sealing ring; 11: Drain pipe; A: Joint of this invention. <P>COPYRIGHT: (C)2007,JPO&INPIT

Description

本発明はサイフォン排水に用いられる継手に関するものであり、特に言えば、洗面器・流し台等からの排水管との接続に用いられる継手に係るものである。   The present invention relates to a joint used for siphon drainage, and particularly relates to a joint used for connection with a drain pipe from a basin, a sink or the like.

サイフォン排水システムは近年急速に開発されつつあるもので、このシステムに好適な継手は特に開発されていない。具体的に言えば、サイフォン排水用の洗面器・流し台等に使用される継手は存在せず、既存のレデュ−サ−やインクリ−ザ−を繋ぎ合わせ、例えば40〜50Aの径を20A程度にまで縮径して施工することが行われていた。   Siphon drainage systems are being developed rapidly in recent years, and no joint suitable for this system has been developed. More specifically, there are no joints used in basins and sinks for siphon drainage, and existing reducers and incrementers are joined together. For example, the diameter of 40-50A is reduced to about 20A. It was done to reduce the diameter until construction.

図1は一般排水の場合の継手を示すものであり、例えば管径が32Aの洗面器排水管11に対し、管径が50Aの接続継手12及び管径が50Aのエルボ管13が接続され、これに一定の勾配をもって管径が50Aの排水横引き管14が接続されている。各管は例えば塩ビ製の管である。   FIG. 1 shows a joint in the case of general drainage. For example, a connecting joint 12 having a pipe diameter of 50A and an elbow pipe 13 having a pipe diameter of 50A are connected to a basin drain pipe 11 having a pipe diameter of 32A. The drainage horizontal pulling pipe 14 having a pipe diameter of 50A is connected to this with a certain gradient. Each tube is, for example, a PVC tube.

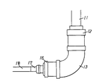
しかるに、サイフォン排水の場合、図2示すように管径が32Aの洗面器排水管11に管径が50Aの接続継手12及び管径が50Aのエルボ管13が接続され、場合によっては更にこれに50Aの接続継手15が接続され、そして、インクリ−ザ−16によって管径が50Aから40Aに縮径し、更にレデュ−サ−17によって管径が40Aから20Aに縮径してなるもので、これに管径20Aの横引き管18が無勾配で接続されるものである。各管はこれ又塩ビ製の管である。   However, in the case of siphon drainage, as shown in FIG. 2, a connecting joint 12 having a pipe diameter of 50A and an elbow pipe 13 having a pipe diameter of 50A are connected to a basin drain pipe 11 having a pipe diameter of 32A. 50A connecting joint 15 is connected, and the diameter of the pipe is reduced from 50A to 40A by the increaser 16, and further the diameter of the pipe is reduced from 40A to 20A by the reducer 17. A horizontal pulling pipe 18 having a pipe diameter of 20A is connected to this with no gradient. Each tube is also a PVC tube.

接続継手12について言えば、図3に示すように管径が32Aの洗面器排水管11に対し、一端を32Aで他端を50Aの内径を有する継手12aを嵌め込み、一端側の外側に形成した雄ネジ12bに袋ナット12cを螺着してなるものである。図中、12dは漏水防止用の止水リングであり、袋ナット12cを螺着する際に押圧してなるものである。   Speaking of the connecting joint 12, as shown in FIG. 3, a fitting 12 a having an inner diameter of 32 A at one end and an inner diameter of 50 A at the other end is fitted into the basin drain pipe 11 having a pipe diameter of 32 A, and formed outside the one end side. The cap nut 12c is screwed onto the male screw 12b. In the figure, 12d is a water stop ring for preventing water leakage, and is pressed when the cap nut 12c is screwed.

これらの各図からも分かるように接続箇所が多く、敷設が面倒であるばかりでなく、各接続箇所からの漏水が生ずる可能性もあった。又、縮径される箇所がトラップ部分から離れているため、物が詰まった際にはこれを取り除くことは極めて困難であった。   As can be seen from these figures, there are many connection points, which is not only troublesome to lay, but also water leakage from each connection point may occur. Further, since the portion to be reduced in diameter is separated from the trap portion, it is very difficult to remove this when an object is clogged.

更に、器具と接続する袋ナット状の継手は、通常は50Aの管径に接続するものであり、一方、洗面器であれば32A径、流し台であれば38A径で配管されたものを、一度50Aに接続され、これが20Aに接続される構造であったために、この分過剰スペックであり、更にメンテナンス上でも問題があった。   Further, the cap nut-shaped joint to be connected to the instrument is normally connected to a pipe diameter of 50A. On the other hand, if it is a basin, it is piped with a diameter of 32A and a sink of 38A diameter. Since it was connected to 50A and this was connected to 20A, it was overspecial, and there was also a problem in terms of maintenance.

本発明は以上のような従来技術に鑑みてなされたものであり、接続箇所を極力少なくした洗面器・流し台等の排水管に接続されて使用されるサイフォン排水用継手を提供するものである。   This invention is made | formed in view of the above prior arts, and provides the coupling for siphon drainage used by connecting to drain pipes, such as a wash basin and a sink with the connection location reduced as much as possible.

本発明の要旨は、洗面器・流し台等の排水管の差し込みを可能とした排水導入部とサイフォン排水の横引き管に接続される縮径された排水出口部とを一体に形成し、前記排水導入部の内側に止水リングを納める窪みとこの排水導入部の外側に刻設された雄ネジ部とを備えた継手基体と、洗面器・流し台等の排水管に差し込まれる貫通部と前記雄ネジに螺合する雌ネジ部を備えた袋ナットと、からなることを特徴とするサイフォン排水用継手に係るものである。   The gist of the present invention is to integrally form a drainage introduction part capable of inserting a drainage pipe such as a basin and a sink and a drain outlet part having a reduced diameter connected to a horizontal pipe for siphon drainage. A joint base having a recess for storing a water stop ring inside the introduction part and a male screw part engraved on the outside of the drainage introduction part, a penetration part inserted into a drain pipe such as a wash basin and a sink, and the male part The present invention relates to a siphon drainage joint characterized by comprising a cap nut having a female thread portion screwed onto a screw.

本発明の構成は以上の通りであり、基本的に二つの部材を組み合わせた継手であって、排水導入部と縮径部と排水出口部とを一体に形成した継手基部と、これに螺合する袋ナットと、からなる継手であって、部品点数が少ないために、安価、かつ、設置時の作業性がよく、接続箇所が極めて少なくなるために漏水のおそれも極めて少なくなったという大きな効果がもたらされる。   The configuration of the present invention is as described above, and is basically a joint that is a combination of two members, a joint base formed integrally with a drainage introduction part, a reduced diameter part, and a drainage outlet part, and screwed into this. It is a joint consisting of a cap nut that has a small effect on the cost, because it has a small number of parts, is inexpensive and has good workability during installation, and the number of connection points is extremely small, so the risk of water leakage is greatly reduced. Is brought about.

本発明は洗面器・流し台等からの排水管に接続する袋ナット状の継手とサイフォン排水で用いる20A程度の管の接続を組み合わせたものであり、更に詳しくは、片側を一般的な洗面器・流し台と接続する方法として用いられる袋ナット状の継手とし、もう片側をサイフォン排水に用いられる20A程度の管と接続できるようにした形状であり、途中で拡径部分や接続部分をなくしたことが特徴である。即ち、従来の手段にあっては、洗面器・流し台等からの排水をサイフォン排水で処理する際、複数の継手の繋ぎ合わせによって接続していたのを、1個の継手で接続可能としたものである。   The present invention is a combination of a cap nut-like joint connected to a drain pipe from a wash basin, a sink, etc. and a connection of a pipe of about 20A used for siphon drainage. It is a cap nut-shaped joint used as a method of connecting to the sink, and the other side is shaped to be connected to a pipe of about 20A used for siphon drainage, and the diameter-expanded part and the connection part have been eliminated in the middle It is a feature. In other words, in the conventional means, when waste water from a wash basin, a sink, etc. is treated with siphon waste water, it is possible to connect by connecting a plurality of joints by one joint. It is.

継手基体と袋ナットは、樹脂製であっても金属製であってもよく、樹脂製の例を挙げれば、PVC、ABS、PP等が例示されるがこれに限定されるものではない。   The joint base and the cap nut may be made of resin or metal. Examples of the resin are PVC, ABS, PP and the like, but are not limited thereto.

そして、サイフォン排水においては縮径された部分で固形物が詰まるおそれがあるが、本発明の継手を使うことにより、詰まった固形物は管の奥の方まで行かず、継手部分で止まるため、メンテナンスが容易になったものである。更に、従来の手段では、一度50Aに拡径する必要があったが、本発明の継手にあってはこれが不要となったものであり、敷設作業性が向上したことは勿論であるが、漏水等の点でも優れたものとなった。   And in the siphon drainage, there is a risk of clogging solids in the reduced diameter part, but by using the joint of the present invention, the clogged solids do not go to the back of the pipe, but stop at the joint part, Maintenance has become easier. Furthermore, in the conventional means, it has been necessary to expand the diameter to 50 A once. However, in the joint according to the present invention, this is not necessary, and it is a matter of course that the laying workability is improved. Etc. also became excellent.

排水出口部と排水導入部との位置関係は任意であるが、具体的には排水出口部は排水導入部に対して垂直方向、傾斜方向、横方向等に配置されるものであり、フロアレベルとスラブレベルとによるスペ−スの関係、排水立て管の方向等によって任意に選択できる。   The positional relationship between the drainage outlet and the drainage introduction part is arbitrary, but specifically, the drainage outlet part is arranged in a vertical direction, an inclined direction, a lateral direction, etc. with respect to the drainage introduction part, and is at the floor level. It can be arbitrarily selected according to the space relationship between the slab level and the direction of the drainage stack.

尚、継手基体の縮径部が排水導入部の直下に位置するものが好ましく、これによって固形物の詰まりが袋ナットにより近い部位になるため、これを取り除く工数は著しく簡略化されることとなる。   In addition, it is preferable that the diameter-reduced portion of the joint base is located directly below the drainage introduction portion, and this clogs the solid matter closer to the cap nut, and therefore the man-hours for removing this are remarkably simplified. .

以下、本発明を実施例をもって更に詳細に説明する。図4は本発明の洗面器・流し台等のサイフォン排水用継手Aの一部切断図であり、1は継手基体、2は袋ナットである。かかる継手基体1は塩ビ製であり、排水導入部1aと排水出口部1bとを一体に形成してなるものである。そして、排水導入部1aの直下に縮径部1cが配置されている。これらは、図例では直線状をなして垂直下向きに形成された例であり、具体的には例えば床下にスぺ−スのある戸建て住宅における排水下抜き用に好ましい形態である。   Hereinafter, the present invention will be described in more detail with reference to examples. FIG. 4 is a partially cutaway view of a siphon drainage joint A such as a wash basin and a sink according to the present invention, wherein 1 is a joint base and 2 is a cap nut. The joint base 1 is made of polyvinyl chloride, and is formed by integrally forming a drain introduction part 1a and a drain outlet part 1b. And the reduced diameter part 1c is arrange | positioned directly under the waste_water | drain introduction part 1a. These are examples that are formed in a straight line and vertically downward in the illustrated example, and are specifically preferred for drainage drainage in a detached house having a space under the floor, for example.

排水導入部1aは、洗面器・流し台等からの排水管11の差し込みを可能とした内径をなしており、この例では内径が50Aとされている。尚、かかる内径は、例えば洗面器用では32A(一部手洗い器は25A)、流し台では38Aとし、これら器具に使用されている直管が差し込み可能とする径であればよい。縮径部1cはその内径が20Aとされ、これがそのまま排水出口部1bに連なっており、排水出口部1bはサイフォン排水に利用されるものである。排水導入部1aの外周面には雄ネジ部1dが刻設されている。   The drainage introduction part 1a has an inner diameter that allows the drainage pipe 11 to be inserted from a wash basin, a sink or the like. In this example, the inner diameter is 50A. The inner diameter is, for example, 32A for a wash basin (25A for some hand wash basins) and 38A for a sink, as long as the straight pipe used in these instruments can be inserted. The reduced diameter portion 1c has an inner diameter of 20A, which is directly connected to the drain outlet 1b, and the drain outlet 1b is used for siphon drainage. A male screw portion 1d is engraved on the outer peripheral surface of the drainage introduction portion 1a.

出口側の形状としては、サイズはサイフォン排水で一般的に用いる20A程度であるが、形状は任意である。今回の、図のような塩ビ製20Aと同じ径にすることにより、20Aのソケットを用い塩ビ管と接続や、変換継手を用いてその他管材とも接続可能である。また、その他管材への直接接続可能なような形状も好ましい。   As the shape on the outlet side, the size is about 20A generally used in siphon drainage, but the shape is arbitrary. By making the diameter the same as that of PVC 20A as shown in the figure, it is possible to connect to a PVC pipe using a 20A socket, or to other pipe materials using a conversion joint. Moreover, the shape which can be directly connected to other pipe materials is also preferable.

袋ナット2はその頂部に排水管11の差し込みを可能とした貫通部2aが備えられ、内周面には前記の雄ネジ部1dと螺合可能な雌ネジ部2bが刻設されており、貫通部2aに排水管11を差し込み、かかる両ネジ部1d及び2bを螺着することによって排水管11と本発明の継手Aとが接続されることとなる。尚、排水管11と継手Aとの接続部からの漏水を防ぐため、排水導入部1aの内周側に止水リング3が装着される窪み1eを形成し、ここに止水リング3を装着しておくのがよい。尚、貫通部2aは、例えば洗面器用では32A(一部手洗い器は25A)、流し台では38Aの直管がささる大きさとするものである。   The cap nut 2 is provided with a penetrating portion 2a that allows the drainage pipe 11 to be inserted at the top thereof, and a female screw portion 2b that can be screwed with the male screw portion 1d is formed on the inner peripheral surface thereof. The drainage pipe 11 and the joint A of the present invention are connected by inserting the drainage pipe 11 into the penetrating part 2a and screwing both the threaded parts 1d and 2b. In addition, in order to prevent water leakage from the connection portion between the drain pipe 11 and the joint A, a recess 1e to which the water stop ring 3 is attached is formed on the inner peripheral side of the drain introduction portion 1a, and the water stop ring 3 is attached here. It is good to keep. The penetrating part 2a is, for example, 32A for a wash basin (25A for some hand wash basins) and 38A for a sink.

図中、1fは継手基体1に備えたフィンであり、フロアFに継手基体1が容易に取り付けられるようになっている例である。   In the figure, 1f is a fin provided in the joint base 1, and is an example in which the joint base 1 can be easily attached to the floor F.

かかるサイフォン排水継手Aを用いることにより、従来のインクリ−ザ−やレデュ−サ−を組み合わせることによって構成される継手と比べて、部品点数が少なく、安価であり、継手としてのコンパクト化が可能であり、かつ、施工性にも優れている継手となった。しかも、接続部位が極めて少ないことから、漏水の発生もほとんど無視できることとなったものである。   By using such a siphon drainage joint A, the number of parts is small and inexpensive compared to a joint constructed by combining a conventional increaser or reducer, and the joint can be made compact. It was a joint with excellent workability. Moreover, since there are very few connection parts, the occurrence of water leakage can be almost ignored.

更にかかる継手の特徴を述べれば、洗面器・流し台等からの固形物の流入は、前記した排水導入口11に近接した縮径部1cに留まることとなるため、袋ナット2を螺脱して簡単に固形物を排除することが可能となったものである。この点、従来の手段による場合には、固形物は縮径機能をなすインクリ−ザ−やレデュ−サ−部にまで流れ込んでしまいこれを取り除くには極めて困難が伴うこととなってしまう。   Further, the characteristics of such a joint will be described. Since the inflow of solid matter from a wash basin, a sink, etc. stays in the reduced diameter portion 1c close to the drainage introduction port 11 described above, the cap nut 2 can be easily screwed off. It is possible to eliminate the solid matter. In this respect, in the case of using the conventional means, the solid material flows into the reducer or reducer portion having a diameter reducing function, and it is extremely difficult to remove it.

排水出口部1bの位置について更に図示すれば、図5は本発明の洗面器・流し台等のサイフォン排水用継手Bの一部切断図であり、排水出口部1bはRをもって横向きに曲げられた形態である。この例にあっては、床下にスペ−スが取りにくい場合に好んで用いられる継手である。この例では排水出口部1bが横向きに備えられたものである。   If the position of the drain outlet 1b is further illustrated, FIG. 5 is a partially cutaway view of the siphon drain joint B such as a basin / a sink according to the present invention, and the drain outlet 1b is bent sideways with an R. It is. In this example, the joint is preferably used when it is difficult to make a space under the floor. In this example, the drain outlet 1b is provided sideways.

図6は図5の継手の変形例(継手C)であり、排水出口部1bが縮径部1cに接して形成された例であり、更にスぺ−スがない場合に好適な形態である。   FIG. 6 is a modification of the joint of FIG. 5 (joint C), in which the drain outlet 1b is formed in contact with the reduced diameter portion 1c, and is a preferred form when there is no space. .

図7は排水出口部1bが傾斜をもって備えられた継手Dであり、その後これに横引き管を接続して水平にすることが可能である。   FIG. 7 shows a joint D in which the drain outlet 1b is provided with an inclination, and a horizontal pulling pipe can be connected to the joint D to make it horizontal.

本発明は以上のような構成を有するサイフォン排水用継手であり、洗面器、流し台等に好んで用いられるが、その利用範囲は特に限定されるものではなく、例えば洗濯機等の排水にも利用できることは勿論である。   The present invention is a siphon drainage joint having the above-described configuration, and is preferably used for a wash basin, a sink, etc., but its use range is not particularly limited, and is also used for drainage of, for example, a washing machine. Of course you can.

図1は従来の一般排水の場合の継手を示す側面図である。FIG. 1 is a side view showing a joint in the case of conventional general drainage. 図2は既存の接続部材を用いたサイフォン排水用継手を示す側面図である。FIG. 2 is a side view showing a siphon drainage joint using an existing connecting member. 図3は既存の接続部材の概要を示す一部切断図である。FIG. 3 is a partially cutaway view showing an outline of an existing connecting member. 図4は本発明のサイフォン排水用継手Aの一部切断図である。FIG. 4 is a partially cutaway view of the siphon drainage joint A of the present invention. 図5は本発明のサイフォン排水用継手Bの側面図である。FIG. 5 is a side view of the siphon drainage joint B of the present invention. 図6は本発明のサイフォン排水用継手Cの一部切断図である。FIG. 6 is a partially cutaway view of the siphon drainage joint C of the present invention. 図7は本発明のサイフォン排水用継手Dの側面図である。FIG. 7 is a side view of the siphon drainage joint D of the present invention.

符号の説明Explanation of symbols

1‥継手基体、
1a‥排水導入部、
1b‥排水出口部、
1c‥縮径部、
1d‥雄ネジ部、
1e‥窪み、
1f‥フィン、
2‥袋ナット、
2a‥貫通部、
2b‥雌ネジ部、
3‥止水リング、
11 排水管、
A、B、C、D‥本発明の継手。
1 ... Joint base,
1a: Drainage introduction part,
1b: Drain outlet,
1c: Reduced diameter part,
1d ... male thread,
1e ... depression,
1f Fins,
2 ... Cap nut,
2a ... penetrating part,
2b ... female thread,
3. Stop ring,
11 Drain pipe,
A, B, C, D: Joints of the present invention.

Claims (5)

洗面器・流し台等からの排水管の差し込みを可能とした排水導入部とサイフォン排水の横引き管に接続される縮径された排水出口部とを一体に形成し、前記排水導入部の内側に止水リングを納める窪みとこの排水導入部の外側に刻設された雄ネジ部とを備えた継手基体と、洗面器・流し台の排水管に差し込まれる貫通部と前記雄ネジに螺合する雌ネジ部を備えた袋ナットと、からなることを特徴とするサイフォン排水用継手。   A drainage introduction part that allows insertion of a drainage pipe from a wash basin, sink, etc. and a drainage outlet part with a reduced diameter connected to a horizontal pipe for siphon drainage are formed integrally, inside the drainage introduction part A joint base provided with a recess for storing a water stop ring and a male threaded portion engraved on the outside of the drainage introduction part, a through part inserted into a drain pipe of a basin / a sink, and a female threadedly engaged with the male thread A siphon drainage joint comprising: a cap nut having a threaded portion. 排水出口部が排水導入部に対して垂直下向きに形成された請求項1記載のサイフォン排水用継手。   The siphon drainage joint according to claim 1, wherein the drainage outlet portion is formed vertically downward with respect to the drainage introduction portion. 排水出口部が排水導入部に対して斜め向きに形成された請求項1記載のサイフォン排水用継手。   The joint for siphon drainage according to claim 1, wherein the drainage outlet portion is formed obliquely with respect to the drainage introduction portion. 排水出口部が排水導入部に対して横向きに形成された請求項1記載のサイフォン排水用継手。   The joint for siphon drainage according to claim 1, wherein the drainage outlet portion is formed sideways with respect to the drainage introduction portion. 継手基体の縮径部が排水導入部の直下に位置する請求項1乃至4いずれか1記載のサイフォン排水用継手。   The joint for siphon drainage according to any one of claims 1 to 4, wherein the reduced diameter portion of the joint base is located directly below the drainage introduction portion.
JP2005290412A 2005-10-03 2005-10-03 Joint for siphon drain Withdrawn JP2007100356A (en)

Priority Applications (1)

Application Number Priority Date Filing Date Title
JP2005290412A JP2007100356A (en) 2005-10-03 2005-10-03 Joint for siphon drain

Applications Claiming Priority (1)

Application Number Priority Date Filing Date Title
JP2005290412A JP2007100356A (en) 2005-10-03 2005-10-03 Joint for siphon drain

Publications (1)

Publication Number Publication Date
JP2007100356A true JP2007100356A (en) 2007-04-19

Family

ID=38027562

Family Applications (1)

Application Number Title Priority Date Filing Date
JP2005290412A Withdrawn JP2007100356A (en) 2005-10-03 2005-10-03 Joint for siphon drain

Country Status (1)

Country Link
JP (1) JP2007100356A (en)

Cited By (4)

* Cited by examiner, † Cited by third party
Publication number Priority date Publication date Assignee Title
JP2011058619A (en) * 2009-09-11 2011-03-24 Hisayoshi Suyama Pipe fixing device
JP2017026066A (en) * 2015-07-23 2017-02-02 株式会社ブリヂストン Core member and pipe joint
JP2020516368A (en) * 2017-04-11 2020-06-11 マルーク,イブ Wall mounted sanitary equipment
JP2022018542A (en) * 2020-07-15 2022-01-27 株式会社ブリヂストン Drainage structure

Cited By (6)

* Cited by examiner, † Cited by third party
Publication number Priority date Publication date Assignee Title
JP2011058619A (en) * 2009-09-11 2011-03-24 Hisayoshi Suyama Pipe fixing device
JP2017026066A (en) * 2015-07-23 2017-02-02 株式会社ブリヂストン Core member and pipe joint
JP2020516368A (en) * 2017-04-11 2020-06-11 マルーク,イブ Wall mounted sanitary equipment
JP7208637B2 (en) 2017-04-11 2023-01-19 マルーク,イブ wall-mounted sanitary fixtures
JP2022018542A (en) * 2020-07-15 2022-01-27 株式会社ブリヂストン Drainage structure
JP7425689B2 (en) 2020-07-15 2024-01-31 株式会社ブリヂストン drainage structure

Similar Documents

Publication Publication Date Title
US10422114B2 (en) Sink drain with integrated trap and removable lower cover
US20150275490A1 (en) Plumbing waste arm with clean out
JP2002302977A (en) Siphon type drain system
JP2007100356A (en) Joint for siphon drain
US7530122B2 (en) Apparatus for waste line cleanout
JP2006132287A (en) Joint for down pipe
JP2002201689A (en) Adapter for drain pipe joint
US7472435B2 (en) P-trap drainage device
JP2007120218A (en) Siphon drainage joint for connecting bellow pipe
KR102134970B1 (en) Connecting pipe connecting the branch pipe to the main pipe for drainage
JP2006207371A (en) Drain pipe cleaning device
JP2006336422A (en) Elbow joint
US1185676A (en) Waste-pipe connection.
US7971288B2 (en) Waste fitting
CN205062937U (en) Adjustable basin drainage pipe
KR200438914Y1 (en) Bridge drain pipe connection
JP2005213725A (en) Connection structure of joint
JP2511105Y2 (en) Drain
JP7425689B2 (en) drainage structure
JP2001280549A (en) Pipe joint
JP2007070940A (en) Drain assembled pipe joint
JPH0412143Y2 (en)
JP2010101495A (en) Connection structure for equipment connection pipe
JP2001348925A (en) Drain pipe joint
JP2007063813A (en) Junction pipe joint

Legal Events

Date Code Title Description
A621 Written request for application examination

Free format text: JAPANESE INTERMEDIATE CODE: A621

Effective date: 20080603

A761 Written withdrawal of application

Free format text: JAPANESE INTERMEDIATE CODE: A761

Effective date: 20091028