JP2007093066A - 空気式集熱部材および空気式太陽集熱換気システム - Google Patents

空気式集熱部材および空気式太陽集熱換気システム Download PDF

Info

Publication number
JP2007093066A
JP2007093066A JP2005281219A JP2005281219A JP2007093066A JP 2007093066 A JP2007093066 A JP 2007093066A JP 2005281219 A JP2005281219 A JP 2005281219A JP 2005281219 A JP2005281219 A JP 2005281219A JP 2007093066 A JP2007093066 A JP 2007093066A
Authority
JP
Japan
Prior art keywords
air
heat
solar
pneumatic
plate
Prior art date
Legal status (The legal status is an assumption and is not a legal conclusion. Google has not performed a legal analysis and makes no representation as to the accuracy of the status listed.)
Granted
Application number
JP2005281219A
Other languages
English (en)
Other versions
JP4171014B2 (ja
Inventor
Seiji Komano
清治 駒野
Yukihisa Ebara
幸久 荏原
Current Assignee (The listed assignees may be inaccurate. Google has not performed a legal analysis and makes no representation or warranty as to the accuracy of the list.)
EOM KK
Original Assignee
EOM KK
Priority date (The priority date is an assumption and is not a legal conclusion. Google has not performed a legal analysis and makes no representation as to the accuracy of the date listed.)
Filing date
Publication date
Application filed by EOM KK filed Critical EOM KK
Priority to JP2005281219A priority Critical patent/JP4171014B2/ja
Publication of JP2007093066A publication Critical patent/JP2007093066A/ja
Application granted granted Critical
Publication of JP4171014B2 publication Critical patent/JP4171014B2/ja
Anticipated expiration legal-status Critical
Expired - Fee Related legal-status Critical Current

Links

Images

Classifications

    • YGENERAL TAGGING OF NEW TECHNOLOGICAL DEVELOPMENTS; GENERAL TAGGING OF CROSS-SECTIONAL TECHNOLOGIES SPANNING OVER SEVERAL SECTIONS OF THE IPC; TECHNICAL SUBJECTS COVERED BY FORMER USPC CROSS-REFERENCE ART COLLECTIONS [XRACs] AND DIGESTS
    • Y02TECHNOLOGIES OR APPLICATIONS FOR MITIGATION OR ADAPTATION AGAINST CLIMATE CHANGE
    • Y02BCLIMATE CHANGE MITIGATION TECHNOLOGIES RELATED TO BUILDINGS, e.g. HOUSING, HOUSE APPLIANCES OR RELATED END-USER APPLICATIONS
    • Y02B10/00Integration of renewable energy sources in buildings
    • Y02B10/20Solar thermal
    • YGENERAL TAGGING OF NEW TECHNOLOGICAL DEVELOPMENTS; GENERAL TAGGING OF CROSS-SECTIONAL TECHNOLOGIES SPANNING OVER SEVERAL SECTIONS OF THE IPC; TECHNICAL SUBJECTS COVERED BY FORMER USPC CROSS-REFERENCE ART COLLECTIONS [XRACs] AND DIGESTS
    • Y02TECHNOLOGIES OR APPLICATIONS FOR MITIGATION OR ADAPTATION AGAINST CLIMATE CHANGE
    • Y02EREDUCTION OF GREENHOUSE GAS [GHG] EMISSIONS, RELATED TO ENERGY GENERATION, TRANSMISSION OR DISTRIBUTION
    • Y02E10/00Energy generation through renewable energy sources
    • Y02E10/40Solar thermal energy, e.g. solar towers
    • Y02E10/44Heat exchange systems

Landscapes

  • Building Environments (AREA)

Abstract

【課題】集熱/熱交換効率の向上を図ることができ、また、部材構成として小さい大きさ・自由な形状で、建築などに馴染みやすいデザイン性を応えられることができる空気式集熱部材および空気式太陽集熱換気システムを提供することにある。
【解決手段】太陽放射を受ける側の受熱板11と反対側の吸熱板12を間に距離が約10mm以下の極薄通気層13を介在させて平行に配置した板状体10であり、板状体10は極薄通気層13の流れ方向に数cm〜1m程度の短い長さものであり、太陽放射を受ける受熱面全体に複数を並列させて配置し、均等に空気を吸い込むように通気抵抗を調整し、太陽放射を受ける側の空間から空気を極薄通気層13に吸い込み、極薄通気層13に通気層を通過する間に受ける放射熱と対流あるいは伝導で熱交換し、太陽放射を受ける側と反対側に熱交換した空気を吹き出す。
【選択図】 図1

Description

本発明は、換気・暖房が必要となる空間における空気式集熱部材および空気式太陽集熱換気システムに関するものである。
わが国の建物の熱性能は、省エネという観点からはとても貧しいものである。夏の暑さを電力に支えられるエアコンでしのぎ、冬は寒いといって、石油をふんだんに燃やして暖房をしてきた結果、住宅や建築がエネルギー危機や二酸化炭素による地球温暖化の現象に与えた影響はとても大きなものである。
建物の熱損失に関しては、図26に示すように床面積120m程度の住宅において新省エネルギー基準では、339kcal/℃(l0.39kW/℃)の熱損失量に対して(1℃当り)屋根(8%)、外壁(27%)、床(14%)、窓(44%)、ドア(2%)、換気(15%)という割合での損失が想定される。これが、次世代基準では186kcal/℃(0.2kW/℃)の熱損失量となり、将来基準ではさらに熱損失量が低下することが予想されるが、その中で、換気における熱損失の低下はなかなか見込むことができない。
換気用空気に関して、通常の構造の建物においては、ドアの周囲とか壁や天井の継目などの隙間を通しての自然な漏れ込みによって、十分な換気空気を建物内に流入させるのが普通であるとされ、強風とか、換気扉とか、炉で燃料を燃焼させる空気のような多くの要因によって、建物の外から内への圧力降下が起きうる。それ故に、クラックや開口があればそれを通って外気が建物内に流入することになる。
しかし、近年、断熱材の使用により、高断熱、高気密の建物が出現すると、このような隙間が少ないので、積極的に換気を行う必要性が検討される。
ところで、改正された建築基準法では健康的な生活をするために必要な建物の換気(1時間に0.5回、[その建物の体積分(気積という)]の空気が2時間に1回外部の空気と入れ代わること)を行うことと定めている。前記換気を満足させるためには、機械的換気設備を設置して24時間換気を行う。そのためには計画的な換気と空気の流れを作ることになる。
現在の換気システムについての住宅取得者の不満を見ると、図27に示すように換気で冬に寒さを感じるという割合が非常に多い。このことは、換気空気の量がコントロールされず、また、秋、冬、および春の季節の間では、外気を室内温度まで加熱するための追加的熱量を必要とすることを示している。
この問題は典型的には、流入する空気を加熱するためのガスまたは空気のヒータを備えた加熱ファンを設置することで解決されるが、今、先進国がなすべきことは、生活のレベルを低下させることなく、生活の高度化を図りつつ、環境負荷を低減させる方法を生み出すことである。そこで、風およびその他気象条件だけではなく、外部環境条件に柔軟に対応する住居および建物を建設して室内暖房、冷房、換気、除湿、および給湯のための太陽エネルギー利用を最適化することが求められる。
建物の暖房のために太陽熱パネルが用いられる場合には、空気は建物内からこのパネルを経て再度建物内へと再循環させられる。太陽熱コレクタの効率は、それに入る空気の温度が周囲温度と同じであるときに最高となる。通常の冬期の条件下では、周囲温度は室内温度より低く、したがって冬期では、太陽熱コレクタを用いての再循環は大いに悪い効率レベルで行われることになる。
これに対して建物に入る空気を加熱するためのガスや電気のヒータのような消費的エネルギー源を用いることをせず、建物内からの空気を単に太陽熱コレクタを通して建物内に戻すのではなく、建物の南に面する壁に太陽熱コレクタを位置させ、このコレクタが、換気のための新鮮なメークアップ空気を先ずそのコレクタを通過させた後に建物内に流入させるようにする方法と装置が下記特許文献にある。
特許第2675385号(換気用空気を予熱する方法および装置)
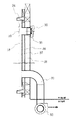
この特許文献1は、図28に示すように波形をなしていてその波形が実質上垂直方向にあり、外面において実質上垂直方向に規定され、外部に直接開放された複数のグルーブ3が形成されている日光吸収性の波形のコレクタパネル2を建物の南に面する壁1に取り付けるものである。
波形のコレクタパネル2は、黒色ペイントのような熱吸収性材料で被覆され、パネルと壁1との間に実質上垂直方向と規定される複数のチャンネル4が形成されている。波形のコレクタパネル2の上端部には、断面が四角形となっている空気集合プレナム5が設けられている。
空気集合プレナム5の中のチャンバーと連結したファンハウジング6があって、このファンハウジング6には、ファン7があるほか、建物内部から来る空気と空気集合プレナム5から来る加熱された空気と混合させるために電動ダンパ8がある。ファンハウジング6と連結した織物製の複数の開口を有しているエアダクトがある。
前記グルーブ3に沿って外気を上向きに流動させ、グルーブ3の中の空気をコレクタパネル2からの太陽熱と南に面する壁1を通して建物内部から放散する熱の組合せによって加熱し、グルーブ3からの加熱された空気をパネルの上端付近の空気集合プレナム5において取り出し、その加熱された空気をエアダクトにより建物内部に送出する。
前記特許文献1の方法と装置では、複数のグルーブ3は外部に直接開放されたものであり、風等の影響を受けると加熱された空気が分散してしまい空気集合プレナム5への集熱が困難となる。
また、この特許文献1では、グルーブ3だけからの空気を集める使い方と、グルーブ3を流れる空気とチャンネル4を流れる空気の両方を集める使い方が可能であるとされるが、チャンネル4では集熱面が、片側の空気入り口・一方向の空気流れ・もう片側の空気出口、という構成が決まっている。太陽熱を受けている集熱面では、空気入り口から入った空気を、流れ方向に沿って、空気を徐々に加温していく。そのために、利用温度に応じた集熱面の長さが必要となる。
一方、集熱通気層の高さをより小さくすることで、集熱性能が向上することは想像できるところであるが、通気層の高さを小さくするほどに通気抵抗が曲線的に大きくなり、ファンの動力や騒音が大きくなるため、現実的には採用しにくい考え方であった。
本発明の目的は前記従来例の不都合を解消し、室内に十分な換気が可能であり、また、太陽熱利用により寒い時期には、供給される外気の冷たさを緩和すことができ、しかも、極薄の通気層をもつ集熱部材を、均等に空気を吸い込む空気抵抗に調整し、ある大きさ・形状の集熱面を構成することにより、集熱/熱交換効率の向上を図ることができ、また、部材構成として小さい大きさ・自由な形状で、建築などに馴染みやすいデザイン性を応えられることができる空気式集熱部材および空気式太陽集熱換気システムを提供することにある。
前記目的を達成するため、請求項1記載の本発明は、太陽放射を受ける側の板材料と反対側の板材料を間に距離が約10mm以下の薄い厚さの通気層を介在させて平行に配置した扁平パネル形状の板状体であり、板状体は通気層の流れ方向に数cm〜1m程度の短い長さのものであり、太陽放射を受ける受熱面全体に複数を並列させて配置し、均等に空気を吸い込むように通気抵抗を調整し、太陽放射を受ける側の空間から空気を薄い厚さの通気層に吸い込み、通気層を通過する間に受ける放射熱と対流あるいは伝導で熱交換し、太陽放射を受ける側と反対側に熱交換した空気を吹き出すことを要旨とするものである。
請求項1記載の本発明によれば、極薄の通気層で熱を吸い取るものであり、集熱/熱交換効率の向上を図ることができる。すなわち、薄い通気層とすることにより、太陽放射を受ける側の板材料とこの通気層を流れる空気の接触効率を高め、熱交換性能が向上する。
さらに、温度差熱交換の場合は、流れ長さが短いほど、温度差が大きく、熱交換量も大きいので、集熱板は流れ長さが短い集熱板とすることで、より一層の熱交換性能の向上が得られる。
請求項2記載の本発明は、太陽放射を受ける側と反対側に、集合通気層を形成することを要旨とするものである。
請求項2記載の発明によれば、請求項1記載の極薄の通気層で得られる加熱空気を集合通気層に集合させて十分な量の暖かな空気を得ることができる。
請求項3記載の本発明は、板状体は、建物壁面に設置することを要旨とするものである。
請求項3記載の本発明によれば、板状体は建物壁面に設置することで、屋根に比べて設置の自由度が得られる。なお、建物壁面に設置の場合は、大きさ・形状・デザイン性など多様な条件に応えられるものが要求されるが、部材構成として小さい大きさのものを集合させるので、この要求に答えることができる。
請求項4記載の本発明は、平行する板材料の間の薄い通気層に厚さを固定用の熱伝導性スペーサを設けることを要旨とするものである。
請求項4記載の本発明によれば、平行する板材料の間の薄い通気層に設けるスペーサで通気層厚さを固定し、また、スペーサはこの熱伝導性材料とすることで集熱性能の向上が期待できる。
請求項5記載の本発明は、太陽放射を受ける側に、太陽放射を透過する材料を空気層とともに設けることを要旨とするものである。
請求項5記載の本発明によれば、太陽などの放射を受ける側に、ガラスなど太陽放射を透過する材料を空気層とともに設けることにより、風等の影響をよりなくし、この空気層での断熱も加えてより高温の加熱空気を得ることができる。
請求項6記載の本発明は、太陽放射を受ける位置に請求項1〜請求項5記載の空気式集熱部材を複数設置し、太陽放射を受ける側の外気を吸い込み、薄い通気層で太陽熱を集熱し、各空気式集熱部材から吹き出した集熱空気を集合して対象空間に供給することにより、対象空間を換気することを要旨とするものである。
請求項6記載の本発明によれば、従来にくらべて、面積あたり風量を同じ程度にすること、加えて、分割された集熱部材を均等に吸い込むように調整することにより、小さい(短い)熱交換(集熱)面で、温風供給に利用できる温度が得られるものである。
請求項7記載の本発明は、空気の流れる順序が、対象空間の空気、太陽集熱部材、そして、外気側へと、請求項6と逆の流れパターンの運転モードをもつことを要旨とするものである。
請求項7記載の本発明によれば、逆流モードをもつことで24時間換気に対応できる。また、夏の日中は、壁面に対する日射熱侵入防止になる。
請求項8記載の本発明は、空気式太陽集熱換気システムの流路において、集熱空気と接触して熱交換する位置に蓄放熱体を置くことを要旨とするものである。
請求項8記載の本発明によれば、太陽放射を受けている日中は、集熱のピーク温度を蓄放熱体に蓄熱(吸熱)することにより対象空間に供給する空気温度が高くなりすぎることを押さえることができる。そして、太陽が沈んでいく過程で、日中に蓄放熱体に蓄えた熱を放熱することにより、対象空間に吹き出す空気温度が冷たい外気温度に近づいていくことを押さえることができる。
請求項9記載の本発明は、太陽電池により発電する電力を使いながら運転することを要旨とするものである。
請求項9記載の本発明によれば、太陽電池により自立運転できるユニットを構成すれば、商用電源の供給がなくても、本ユニットのみ単独設置で、太陽集熱換気システムが実現できる。用途例としては、建築リフォームなど後付け、別荘など無人建物、その他に利用できる。
以上述べたように本発明の空気式集熱部材および空気式太陽熱集熱換気システムは、化学物質汚染・結露・カビ・ダニなどを低減するために室内に十分な換気が可能であり、一方、寒い時期には、供給される外気の冷たさを緩和するのに太陽熱利用により地球温暖化防止・エネルギー不足問題などに答えることができるものである。
しかも、極薄の通気層をもつ集熱部材を、均等に空気を吸い込む空気抵抗に調整し、ある大きさ・形状の集熱面を構成することにより、集熱/熱交換効率の向上を図ることができる。
また、集熱部材の部材構成として小さい大きさ・自由な形状で、建築などに馴染みやすいデザイン性を応えられることができるものである。
以下、図面について本発明の実施の形態を詳細に説明する。図1は本発明の空気式集熱部材および空気式太陽集熱換気システムの第1実施形態を示す縦断側面図で、図中10は、図2にも示すように、太陽放射を受ける側の板材料である受熱板11と反対側の板材料である吸熱板12を間に距離が約10mm以下の極薄通気層13を介在させて平行に配置した扁平パネル形状の板状体である。この板状体10は曲面形状とすることも可能である。また、受熱板11を両面に設けることも考えられる。
極薄通気層13は、薄い通気層とすることにより、受熱板と流れる空気の接触効率を高め、熱交換性能が向上するものであるが、およそ2mmが好適である。(ただし、処理風量が大きく違えば、通気層高さも変わる。)
板状体10を構成する材料としては、熱伝導性が比較的よい材料であれば金属等特に限定は問わないが、受熱板11は集熱表面材料として黒色金属板、選択吸収膜板などが好適である。なお、受熱板11の集熱表面材料として、太陽電池を用いることも可能である。太陽電池が冷却できることは発電効率の低下防止になる。
板状体10は、下側を空気吸込口14、上側を空気吐出口15とし、複数を連列できるように、上端に接続代16を突設した。
板状体10は、上下の長さ120mm程度とするが、60mm〜900mm程度の範囲で製品バリエーションが可能である。また、図3に示すように、全体は幅のある横長形状のものとし、太陽放射を受ける受熱面全体に、極薄通気層13の流れ方向に短い長さ(数cm〜1m程度)のものを複数並列させた配置し、均等に空気を吸い込むように通気抵抗を調整する。
本実施形態は、板状体10は、建物の壁面17に設置する場合であり、太陽放射を受ける側と反対側(壁面17との間)に、集合通気層18を形成する。
なお、空気吸込口14と空気吐出口15の位置関係は、平行、円と中心点、多角形等多様なパターンがあり、図示のような空気吸込口14を下端、空気吐出口15を上端にする場合のほか、図4に示すように空気吸込口14を上下端に形成し、空気吐出口15を吸熱板12の中央に形成する場合、図5に示すように、空気吐出口15を吸熱板12に多数の小孔として形成する場合等である。
前記板状体10を並べ、極薄通気層13の通気抵抗でバランスを考慮して、面積あたり風量を同じ程度にすること、加えて、分割された集熱部材(板状体10)を均等に吸い込むように調整することにより、小さい(短い)熱交換(集熱)面で、利用できる温度が得られるものとなる。
図6は本発明の空気式集熱部材および空気式太陽集熱換気システムの設置例を示すものであるが、多数並列した板状体10と集合通気層18に組合せによる空気式太陽集熱部に対して室内直接用ファン30をダクト35を介して設け、また、ダクト31を介して床下空間吹き出し用ファン32を設ける。室内直接用ファン30は停止時密閉タイプ、床下空間吹き出し用ファン32は停止時密閉用ダンパを別途取り付けるものである。
図中34は多数並列した板状体10と集合通気層18に組合せによる空気式太陽集熱部を設置するための見切縁(板金巻き)であり、38は該空気式太陽集熱部の下地となる外装材で、セメントサイディングと塗装からなる。37は通気層、36は下地材+透湿防水シートである。
図8〜図10に示すように、前記板状体10は、極薄通気層13の通気層厚さを固定するために、受熱板11と反対側の板材料である吸熱板12を間にアルミ等の伝熱性のよい材料を用いたスペーサ21を設ける。
このスペーサ21には、高さ≒2mmのエンボスをブレス加工したアルミ板や、図11に示すようなアコーデオン状の屈折加工したアルミ板などがよい。
図10は板状体10の取り付けの詳細を示すものであるが、接続代16の接続部にはシール材22を配設する。このシール材22にはEPDMゴム連続気泡/両面接着タイプのものを用いた。なお、板状体10を多数並列させるに際しては図示は省略するが枠にこの板状体10を取り付けて並べるようにすればよい。
また、他の実施形態として、図7に示すように、太陽放射を受ける側に、ガラスなどの太陽放射を透過する材料19を空気層20とともに設けるようにしてもよい。
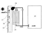
図12は本発明の空気式太陽集熱換気システムの概要を示すもので、集合通気層18と室内の対象空間23と連通部に送風機24を設置する。
このようにして、太陽放射を受ける位置に空気式太陽集熱部材としての板状体10を複数設置し、この板状体10で太陽放射を受ける側の外気を空気吸込口14より吸い込み、薄い通気層である極薄通気層13で太陽熱を集熱し、各板状体10の空気吐出口15から吹き出した集熱空気を集合通気層18で集合して送風機24により対象空間23に供給する。
本発明は、板状体10を複数並列させた配置することで、熱交換面(集放熱面)を比較的細かく分割して、分割数に応じた当該空気式熱交換部を取り付けるものである。これにより、処理風量と極薄通気層13の通気抵抗と送風機24のファン能力のバランスを取ることができる。
本発明は、薄い通気層とすることにより、受熱板と流れる空気の接触効率を高め、放射熱と対流あるいは伝導で熱交する熱交換性能を向上させるものであるが、本発明の効果を確認する試験結果を図13〜図15に示す。
図13は本発明と従来集熱の比較実験結果であるが、図16に示すように従来例1を(a)の片流れ集熱とした場合、従来例2を(b)の受熱板11に多数の孔を開けた多孔吸込式集熱とした場合で、本発明は[図16(c)]これら従来例1,2よりも熱交換性能の向上が知見できる。
要因としては、図14、図15に示すように、短い流れの長さで温度差熱交換をすることと、薄い通気層で熱交換することである。
図17は本発明の空気式太陽集熱換気システムの応用例を示すもので、送風機24を正流・逆流運転可能なものとし、空気の流れる順序が、対象空間23の空気、集合通気層18、太陽集熱部材である板状体10、そして、外気側へと逆の流れパターンの運転モードをもつこととした。
このように、逆流モードをもつことで24時間換気に対応できる。また、夏の日中は、集合通気層18、太陽集熱部材である板状体10を通過する空気でエアーカーテンを形成し、壁面に対する日射熱侵入防止になる。
さらに、他の応用例として、図18〜図21に示すように、集熱空気と接触して熱交換する位置に蓄放熱体25を設置するようにしてもよい。図18は蓄放熱体25を独立したものとした場合、図20は一体化した場合である。この蓄放熱体25には、たとえば、コンクリート・水・れんが・潜熱蓄熱材などが適用できる。
図18、図20に示すように、太陽放射を受けている日中は、集熱のピーク温度を蓄放熱体25に蓄熱(吸熱)することにより対象空間23に供給する空気温度が高くなりすぎることを押さえることができる。
そして、図19、図21に示すように、太陽が沈んでいく過程で、日中に蓄放熱体25に蓄えた熱を放熱することにより、対象空間23に吹き出す空気温度が冷たい外気温度に近づいていくことを押さえることができる。
図22、図23は、太陽電池26により発電する電力を使いながら運転する場足を示したもので、太陽電池26により制御盤27等を介して自立運転できるユニットを構成すれば、商用電源が供給なくても、本ユニットのみ単独設置で、太陽集熱換気システムが実現できる。用途例としては、建築リフォームなどで後付けの場合や、別荘など無人建物、その他が想定できる。
さらなる応用例として、図24に示すように、太陽光の代りに、輻射熱がでるストーブ28をもって、その輻射熱を板状体10の受熱板11で受け、反対側の吸熱板12で放射して、回収した輻射熱・対流熱を対象空間23に送り、または、ストーブ28の使用空間で循環するようにしてもよい。
図25は板状体10の外側にサンルーム29を形成した場合である。温室の内部で集熱加温した空気を対象空間23に送る。
空気の流れは、図1に示すように下から上への流れに限定されるものでなく、逆に上から下に流して、集熱加温した空気を対象空間23に送るようにしてもよい。
図6の場合では、冬は床下空間吹き出し用ファン32を運転して集熱加温した空気を下側に流し、床下空間に取り入れることで、集熱・押し込み換気ができる。
また、冬の非集熱時、夏の昼夜は室内直接用ファン30を排気パターンとして、この室内直接用ファン30で吸い込んだ対象空間23の空気を集合通気層18、太陽集熱部材である板状体10、そして、外気側へと、逆の流れパターンの運転モードで外へ流す。(遮熱・引っ張り換気)
さらに、室内直接用ファン30を吸気パターンとして、冬の非集熱時、夏の夜に外の空気を太陽集熱部材である板状体10、集合通気層18を介して対象空間23に取り込んでもよい。
以上の実施形態は、多数並列した板状体10と集合通気層18に組み合わせによる空気式太陽集熱部を建物の壁面17に設置する場合について説明したが、これに限定されるものではなく、屋根に設けたり、その他の場所に独立したものとして設置することも可能である。
本発明の空気式集熱部材および空気式太陽熱利用加温換気システムの第1実施形態を示す縦断側面図である。 本発明の空気式集熱部材の第1実施形態を示す縦断側面図である。 本発明の空気式集熱部材の第1実施形態を示す斜視図である。 本発明の空気式集熱部材の他の実施形態を示す縦断側面図である。 本発明の空気式集熱部材のさらに他の実施形態を示す縦断側面図である。 本発明の空気式集熱部材および空気式太陽集熱換気システムの設置例を示す縦断側面図である。 本発明の空気式集熱部材および空気式太陽熱利用加温換気システムの第1実施形態を示す縦断側面図である。 本発明の空気式集熱部材および空気式太陽熱利用加温換気システムの第3実施形態を示す縦断側面図である。 スペーサを組み込んだ本発明の空気式集熱部材の1実施形態を示す縦断側面図である。 本発明の空気式集熱部材の取付例を示す縦断側面図である。 スペーサの一例を示す斜視図である。 本発明の空気式太陽熱利用加温換気システムの説明図である。 本発明と従来集熱の比較実験結果を示すグラフである。 本発明と従来集熱の比較で、短い流れの長さでの温度差熱交換を示すグラフである。 本発明と従来集熱の比較で、薄い通気層での温度差熱交換を示すグラフである。 図13に示す本発明と従来集熱の比較で、実験対象となる装置の説明図である。 本発明の空気式太陽熱利用加温換気システムの逆流運転を示す説明図である。 本発明の空気式太陽熱利用加温換気システムで、蓄放熱体との組合せの第1例を示す日中時の説明図である。 本発明の空気式太陽熱利用加温換気システムで、蓄放熱体との組合せの第1例を示す夜間時の説明図である。 本発明の空気式太陽熱利用加温換気システムで、蓄放熱体との組合せの第2例を示す日中時の説明図である。 本発明の空気式太陽熱利用加温換気システムで、蓄放熱体との組合せの第2例を示す夜間時の説明図である。 本発明の空気式太陽熱利用加温換気システムで、太陽電池駆動との併用を示す第1例の説明図である。 本発明の空気式太陽熱利用加温換気システムで、太陽電池駆動との併用を示す第2例の説明図である。 本発明の空気式太陽熱利用加温換気システムで、輻射熱がでるストーブとの組合せを示す説明図である。 本発明の空気式太陽熱利用加温換気システムで、サンルームとの組合せを示す説明図である。 建物の熱損失に関するグラフである。 換気システムについての住宅取得者の不満を示すグラフである。 従来例を示す斜視図である。 従来例を示す要部の平面図である。
符号の説明
1…壁 2…コレクタパネル
3…グルーブ 4…チャンネル
5…空気集合プレナム 6…ファンハウジング
7…ファン 8…電動ダンパ
9…エアダクト 10…板状体
11…受熱板 12…吸熱板
13…極薄通気層 14…空気吸込口
15…空気吐出口 16…接続代
17…壁面 18…集合通気層
19…太陽放射を透過する材料 20…空気層
21…スペーサ 22…シール材
23…対象空間 24…送風機
25…蓄放熱体 26…太陽電池
27…制御盤 28…ストーブ
29…サンルーム 30…室内直接用ファン
31…ダクト 32…床下空間吹き出し用ファン
34…見切縁(板金巻き) 35…ダクト
36…下地材+透湿防水シート
37…通気層 38…外装材

Claims (9)

  1. 太陽放射を受ける側の板材料と反対側の板材料を間に距離が約10mm以下の薄い厚さの通気層を介在させて平行に配置した板状体であり、板状体は通気層の流れ方向に数cm〜1m程度の短い長さのものであり、太陽放射を受ける受熱面全体に複数を並列させて配置し、均等に空気を吸い込むように通気抵抗を調整し、太陽放射を受ける側の空間から空気を薄い厚さの通気層に吸い込み、通気層を通過する間に受ける放射熱と対流あるいは伝導で熱交換し、太陽放射を受ける側と反対側に熱交換した空気を吹き出すことを特徴とする空気式集熱部材。
  2. 太陽放射を受ける側と反対側に、集合通気層を形成する請求項2記載の空気式集熱部材。
  3. 板状体は、建物壁面に設置する請求項1または請求項2に記載の空気式集熱部材。
  4. 平行する板材料の間の薄い通気層に厚さを固定用の熱伝導性スペーサを設ける請求項1ないし請求項3のいずれかに記載の空気式集熱部材。
  5. 太陽放射を受ける側に、太陽放射を透過する材料を空気層とともに設ける請求項1ないし請求項4のいずれかに記載の空気式集熱部材。
  6. 太陽放射を受ける位置に請求項1〜請求項5記載の空気式集熱部材を複数設置し、太陽放射を受ける側の外気を吸い込み、薄い通気層で太陽熱を集熱し、各空気式集熱部材から吹き出した集熱空気を集合して対象空間に供給することにより、対象空間を換気することを特徴とする空気式太陽集熱換気システム。
  7. 空気の流れる順序が、対象空間の空気、太陽集熱部材、そして、外気側へと、請求項6と逆の流れパターンの運転モードをもつことを特徴とする請求項6記載の空気式太陽集熱換気システム。
  8. 空気式太陽集熱換気システムの流路において、集熱空気と接触して熱交換する位置に蓄放熱体を置くことを特徴とする請求項6または請求項7記載の空気式太陽集熱換気システム。
  9. 太陽電池により発電する電力を使いながら運転することを特徴とする請求項6ないし請求項8記載の空気式太陽集熱換気システム。
JP2005281219A 2005-09-28 2005-09-28 空気式集熱部材および空気式太陽集熱換気システム Expired - Fee Related JP4171014B2 (ja)

Priority Applications (1)

Application Number Priority Date Filing Date Title
JP2005281219A JP4171014B2 (ja) 2005-09-28 2005-09-28 空気式集熱部材および空気式太陽集熱換気システム

Applications Claiming Priority (1)

Application Number Priority Date Filing Date Title
JP2005281219A JP4171014B2 (ja) 2005-09-28 2005-09-28 空気式集熱部材および空気式太陽集熱換気システム

Publications (2)

Publication Number Publication Date
JP2007093066A true JP2007093066A (ja) 2007-04-12
JP4171014B2 JP4171014B2 (ja) 2008-10-22

Family

ID=37978999

Family Applications (1)

Application Number Title Priority Date Filing Date
JP2005281219A Expired - Fee Related JP4171014B2 (ja) 2005-09-28 2005-09-28 空気式集熱部材および空気式太陽集熱換気システム

Country Status (1)

Country Link
JP (1) JP4171014B2 (ja)

Cited By (7)

* Cited by examiner, † Cited by third party
Publication number Priority date Publication date Assignee Title
CN101876196A (zh) * 2010-04-13 2010-11-03 张景隆 门窗护板式变色太阳墙
CN101876197A (zh) * 2010-04-13 2010-11-03 张景隆 采暖降温式变色太阳瓦
CN101876198A (zh) * 2010-04-13 2010-11-03 张景隆 光热、光电一体式变色太阳墙
JP2012002494A (ja) * 2010-05-18 2012-01-05 Mitaka Koki Co Ltd 太陽熱式空気加熱装置
JP2012220131A (ja) * 2011-04-12 2012-11-12 Eom Kk ソーラー暖冷房換気装置およびそれを用いたソーラー暖冷房換気方法
JP2013083563A (ja) * 2011-10-11 2013-05-09 Nippon Steel & Sumitomo Metal スポット溶接部の破断解析方法、破断解析コンピュータープログラム、破断解析装置。
JP2014508872A (ja) * 2011-03-10 2014-04-10 ヴェネツィアン ソーラ アンパルトセルスカブ 建物外付け用窓シャッタユニット

Cited By (8)

* Cited by examiner, † Cited by third party
Publication number Priority date Publication date Assignee Title
CN101876196A (zh) * 2010-04-13 2010-11-03 张景隆 门窗护板式变色太阳墙
CN101876197A (zh) * 2010-04-13 2010-11-03 张景隆 采暖降温式变色太阳瓦
CN101876198A (zh) * 2010-04-13 2010-11-03 张景隆 光热、光电一体式变色太阳墙
CN101876197B (zh) * 2010-04-13 2014-12-31 张景隆 采暖降温式变色太阳瓦
JP2012002494A (ja) * 2010-05-18 2012-01-05 Mitaka Koki Co Ltd 太陽熱式空気加熱装置
JP2014508872A (ja) * 2011-03-10 2014-04-10 ヴェネツィアン ソーラ アンパルトセルスカブ 建物外付け用窓シャッタユニット
JP2012220131A (ja) * 2011-04-12 2012-11-12 Eom Kk ソーラー暖冷房換気装置およびそれを用いたソーラー暖冷房換気方法
JP2013083563A (ja) * 2011-10-11 2013-05-09 Nippon Steel & Sumitomo Metal スポット溶接部の破断解析方法、破断解析コンピュータープログラム、破断解析装置。

Also Published As

Publication number Publication date
JP4171014B2 (ja) 2008-10-22

Similar Documents

Publication Publication Date Title
US20100186734A1 (en) Solar air heater for heating air flow
KR101357665B1 (ko) 건물의 환기 공기 냉각 방법 및 장치
CN101403526B (zh) 无人值守机房或基站控温空调的节电方法改进
JP3797685B2 (ja) 建物の暖房装置
CN105020770B (zh) 一种新型太阳能储热供暖系统装置及方法
JP5370880B2 (ja) 省エネルギー建物
JP4171014B2 (ja) 空気式集熱部材および空気式太陽集熱換気システム
JP3878636B2 (ja) ソーラーシステムハウスの換気方法
JP2012220131A (ja) ソーラー暖冷房換気装置およびそれを用いたソーラー暖冷房換気方法
JP3149506U (ja) P・a(パッシブ・アクティブ)ハイブリッド冷暖房システム
JP3944181B2 (ja) 建物空調システム
CN101059279B (zh) 空气式太阳能集热换气系统
JP4541372B2 (ja) 空気式太陽集熱換気システム
JP4851147B2 (ja) 建物空調システム
JP2954872B2 (ja) 家 屋
JP5084407B2 (ja) 建物空調システム
JP5653413B2 (ja) 省エネルギー建物
JP4637005B2 (ja) ソーラシステムハウス
GB2373849A (en) Ventilation heat exchanger
JP2007100437A (ja) 二重窓の通気システム
JP4618632B2 (ja) 集熱ダクト及び集熱ダクトを利用した換気システム
JP5986532B2 (ja) 建物の床暖房システム
JP4913780B2 (ja) 換気装置及び換気システム
JP3850768B2 (ja) 建物の空気循環システム
JP3097667U (ja) 外断熱建物

Legal Events

Date Code Title Description
A977 Report on retrieval

Free format text: JAPANESE INTERMEDIATE CODE: A971007

Effective date: 20071228

A131 Notification of reasons for refusal

Free format text: JAPANESE INTERMEDIATE CODE: A131

Effective date: 20080318

A521 Written amendment

Free format text: JAPANESE INTERMEDIATE CODE: A523

Effective date: 20080516

A521 Written amendment

Free format text: JAPANESE INTERMEDIATE CODE: A821

Effective date: 20080516

TRDD Decision of grant or rejection written
A01 Written decision to grant a patent or to grant a registration (utility model)

Free format text: JAPANESE INTERMEDIATE CODE: A01

Effective date: 20080805

A01 Written decision to grant a patent or to grant a registration (utility model)

Free format text: JAPANESE INTERMEDIATE CODE: A01

A61 First payment of annual fees (during grant procedure)

Free format text: JAPANESE INTERMEDIATE CODE: A61

Effective date: 20080807

FPAY Renewal fee payment (event date is renewal date of database)

Free format text: PAYMENT UNTIL: 20110815

Year of fee payment: 3

R150 Certificate of patent or registration of utility model

Free format text: JAPANESE INTERMEDIATE CODE: R150

FPAY Renewal fee payment (event date is renewal date of database)

Free format text: PAYMENT UNTIL: 20110815

Year of fee payment: 3

FPAY Renewal fee payment (event date is renewal date of database)

Free format text: PAYMENT UNTIL: 20170815

Year of fee payment: 9

R250 Receipt of annual fees

Free format text: JAPANESE INTERMEDIATE CODE: R250

LAPS Cancellation because of no payment of annual fees