JP2007082611A - 履物 - Google Patents
履物 Download PDFInfo
- Publication number
- JP2007082611A JP2007082611A JP2005272272A JP2005272272A JP2007082611A JP 2007082611 A JP2007082611 A JP 2007082611A JP 2005272272 A JP2005272272 A JP 2005272272A JP 2005272272 A JP2005272272 A JP 2005272272A JP 2007082611 A JP2007082611 A JP 2007082611A
- Authority
- JP
- Japan
- Prior art keywords
- footwear
- user
- toes
- convex portion
- base
- Prior art date
- Legal status (The legal status is an assumption and is not a legal conclusion. Google has not performed a legal analysis and makes no representation as to the accuracy of the status listed.)
- Pending
Links
- 210000003371 toe Anatomy 0.000 claims abstract description 62
- 229920003051 synthetic elastomer Polymers 0.000 claims description 2
- 229920003002 synthetic resin Polymers 0.000 claims description 2
- 239000000057 synthetic resin Substances 0.000 claims description 2
- 239000005061 synthetic rubber Substances 0.000 claims description 2
- 210000003205 muscle Anatomy 0.000 abstract description 12
- 230000000694 effects Effects 0.000 abstract description 6
- 230000004936 stimulating effect Effects 0.000 abstract description 4
- 230000001737 promoting effect Effects 0.000 abstract description 3
- 230000003213 activating effect Effects 0.000 abstract description 2
- 230000000386 athletic effect Effects 0.000 abstract description 2
- 210000001835 viscera Anatomy 0.000 abstract 1
- 210000002683 foot Anatomy 0.000 description 15
- 230000017531 blood circulation Effects 0.000 description 13
- 238000005452 bending Methods 0.000 description 7
- 239000000463 material Substances 0.000 description 6
- 210000003813 thumb Anatomy 0.000 description 5
- 210000003811 finger Anatomy 0.000 description 4
- 210000005259 peripheral blood Anatomy 0.000 description 4
- 239000011886 peripheral blood Substances 0.000 description 4
- 208000011580 syndromic disease Diseases 0.000 description 3
- 208000008035 Back Pain Diseases 0.000 description 2
- 235000017166 Bambusa arundinacea Nutrition 0.000 description 2
- 235000017491 Bambusa tulda Nutrition 0.000 description 2
- 241001330002 Bambuseae Species 0.000 description 2
- 206010051055 Deep vein thrombosis Diseases 0.000 description 2
- 208000008930 Low Back Pain Diseases 0.000 description 2
- 206010033425 Pain in extremity Diseases 0.000 description 2
- 235000015334 Phyllostachys viridis Nutrition 0.000 description 2
- 208000007536 Thrombosis Diseases 0.000 description 2
- 206010047249 Venous thrombosis Diseases 0.000 description 2
- 230000032683 aging Effects 0.000 description 2
- 239000011425 bamboo Substances 0.000 description 2
- 210000004369 blood Anatomy 0.000 description 2
- 239000008280 blood Substances 0.000 description 2
- 230000009278 visceral effect Effects 0.000 description 2
- 208000004067 Flatfoot Diseases 0.000 description 1
- 241001227561 Valgus Species 0.000 description 1
- 238000001467 acupuncture Methods 0.000 description 1
- 238000010586 diagram Methods 0.000 description 1
- 201000010099 disease Diseases 0.000 description 1
- 208000037265 diseases, disorders, signs and symptoms Diseases 0.000 description 1
- 230000009191 jumping Effects 0.000 description 1
- 239000000203 mixture Substances 0.000 description 1
- 229940124595 oriental medicine Drugs 0.000 description 1
- 230000002265 prevention Effects 0.000 description 1
- 230000002787 reinforcement Effects 0.000 description 1
- 230000000638 stimulation Effects 0.000 description 1
- 238000005728 strengthening Methods 0.000 description 1
- 208000024891 symptom Diseases 0.000 description 1
Images
Landscapes
- Footwear And Its Accessory, Manufacturing Method And Apparatuses (AREA)
Abstract
【課題】 使用者の意思に応じて足底の刺激や足底筋を動かすことにより内臓活動を活発にして一層の健康増進を図ることが可能な履物を提供できるようにする。
【解決手段】 スリッパやサンダルなどの履物10上に、使用者の足指21の付け根21aに当接する凸状部11を形成するとともに、前記凸状部11を前記使用者の足指21の付勢力に応じて変形可能に構成することにより、足の指21の屈曲及び伸張運動を何処でも何時でも手軽に行うことができるようにして、健康の増進及び運動能力を向上させることが可能な履物10を提供できるようにする。
【選択図】 図1
【解決手段】 スリッパやサンダルなどの履物10上に、使用者の足指21の付け根21aに当接する凸状部11を形成するとともに、前記凸状部11を前記使用者の足指21の付勢力に応じて変形可能に構成することにより、足の指21の屈曲及び伸張運動を何処でも何時でも手軽に行うことができるようにして、健康の増進及び運動能力を向上させることが可能な履物10を提供できるようにする。
【選択図】 図1
Description
本発明は、スリッパやサンダルなどの履物に関するものである。
人の足の裏は東洋医学では第2の心臓ともいわれ、多くの経穴(いわゆるツボ)が存在することから、このツボを刺激して健康効果を図るものとして、刺激のための突起を設けたサンダルやスリッパなどの履物が種々提案されている。
特に、湧泉や足心などのツボを刺激するものとして、スリッパの土踏まずの当たる部分に竹踏みなるアーチ状の突起を設けたスリッパが提案されている。かかるスリッパを履いて歩行することで前記突起が湧泉や足心などのツボを押圧することにより、健康が促進され、また血行もよくなるとされている。
かかる土踏まずの当たる部分にアーチ状の突起を設けた竹踏み方式の履物は、歩行時はもちろんのこと、立っている時は体重が常時かかる土踏まずの部分がこの突起で押圧されることになり、大きな指圧効果が得られる。
しかしながら、足裏からの圧力がこの突起の頂部に集中することになって、長時間使用すると突起が当たっている部分の足裏が痛くなったり、或いはかえって疲れたりすることもある。また、足裏のほぼ中央に位置する土踏まずの部分が押し上げられるために歩行しにくいこともある。
このような問題点を解消するために、例えば、特許文献1において、長時間使用しても足裏が痛くなったり、疲れたりすることがなく、また、歩行しにくいこともなく、さらに、ツボ刺激効果だけでなくストレッチ効果も期待できる履物が提案されている。
前記特許文献1に記載の履物は、スリッパやサンダルなどの履物で、足指の付け根から指先が当たる部分の底部の上面に、側面山形の凸状部を形成している。このような構成とすることにより、足の指の付け根から指先部分が側面山形の凸状部の上に載ることから、指部分が下向きの「く」の字形に曲がり、歩行の度毎にストレッチ効果が得られると同時に、指の裏側が凸状部により下方から押圧されることになる。
これにより、指圧効果が得られて血行がよくなる利点を有している。また、指全体で凸状部を掴み込むようなかたちになるから、歩行時は指で凸状部を後方に蹴りだすことができるので、歩きやすい等の利点が得られるとされている。
しかしながら、前記特許文献1に記載の「履物」の場合、指圧効果が得られて血行がよくなる場合は、使用者が前記履物を履いて歩行するときであり、例えば、椅子に腰掛けていたりする場合には、足の指の付け根から指先部分に対する指圧効果を得ることはできない問題点があった。
したがって、例えば、飛行機などの乗り物において長時間に亘って座っている場合には、所謂エコノミー症候群の発症を防止するために、抹消血流を良くすることが求められるが、前記特許文献1に記載の履物の場合には、このような場合に、使用者の意思に応じて足底の刺激や足底筋を動かして足部の血行を良くすることができない問題点があった。
本発明は前述の問題点にかんがみ、使用者の意思に応じて足底の刺激や足底筋を動かすことにより足の筋肉及び内臓活動等を活発にして足部の血行を良くして、一層の健康増進を図ることができる履物を提供できるようにすることを目的としている。
本発明の履物は、スリッパやサンダルなどの履物であって、使用者の足指の付け根から指先が当たる部分の履物の上面に、使用者の足指の付け根に当接する凸状部を形成するとともに、前記凸状部を前記使用者の足指の付勢力に応じて変形可能に構成したことを特徴とする。
また、本発明の履物のその他の特徴とするところは、スリッパやサンダルなどの履物であって、使用者の足指の付け根から指先が当たる部分に形成されたスライド溝と、前記スライド溝内にスライド自在に配設されたスライド板と、前記スライド板上に配設され、使用者の足指の付け根に当接する凸状部と、前記スライド板を前記使用者の指先方向に常に付勢するスプリングとを有することを特徴とする。
また、本発明の他の特徴とするところは、スリッパやサンダルなどの履物であって、使用者の足指の付け根から指先が当たる部分に形成された係合凹部と、前記係合凹部内に上下動自在に配設された押圧板と、前記押圧板上に配設され、使用者の足指の付け根に当接する凸状部と、前記押圧板を前記使用者の指先が位置する上方向に常に付勢するスプリングとを有することを特徴とする。
また、本発明の履物のその他の特徴とするところは、スリッパやサンダルなどの履物であって、使用者の足指の付け根から指先が当たる部分に形成されたスライド溝と、前記スライド溝内にスライド自在に配設されたスライド板と、前記スライド板上に配設され、使用者の足指の付け根に当接する凸状部と、前記スライド板を前記使用者の指先方向に常に付勢するスプリングとを有することを特徴とする。
また、本発明の他の特徴とするところは、スリッパやサンダルなどの履物であって、使用者の足指の付け根から指先が当たる部分に形成された係合凹部と、前記係合凹部内に上下動自在に配設された押圧板と、前記押圧板上に配設され、使用者の足指の付け根に当接する凸状部と、前記押圧板を前記使用者の指先が位置する上方向に常に付勢するスプリングとを有することを特徴とする。
本発明によれば、スリッパやサンダルなどの履物上に、使用者の足指の付け根に当接する凸状部を形成するとともに、前記凸状部を前記使用者の足指の付勢力に応じて変動可能に構成したので、使用者が足指を動かすことにより前記凸状部を前後または上下方向に動かすことができて、親指の足底筋等を運動することが可能となる。これにより、長く座った状態においても下半身に血液が滞留してしまうのを防止することができ、例えば、エコノミークラス症候群と呼ばれて問題となっている病気、すなわち、飛行機の座席に長時間、同じ姿勢で座り続けることによって発生しやすくなる腰痛や足の痛み、深部静脈血栓症(俗に旅行者血栓症)などを防止するのに大きく寄与することができる。
また、足の指の屈曲及び伸張運動を継続して行うことにより、スポーツ選手の基礎力を向上させることは勿論のこと、一般の使用者の健康増進を図ることができる。
また、足の指の屈曲及び伸張運動を継続して行うことにより、スポーツ選手の基礎力を向上させることは勿論のこと、一般の使用者の健康増進を図ることができる。
(第1の実施形態)
以下、図面を参照して本発明の履物の実施形態を詳しく説明する。
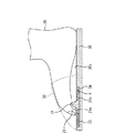
図1は、本実施形態の履物10の全体構成を示す図である。図1に示したように、本実施形態の履物10は、使用者が装着した際に、カバー12が取り付けられている先端側に位置する足指21の付け根21aから指先が当たる部分の上面に、側面山形の凸状部11を形成する。
以下、図面を参照して本発明の履物の実施形態を詳しく説明する。
図1は、本実施形態の履物10の全体構成を示す図である。図1に示したように、本実施形態の履物10は、使用者が装着した際に、カバー12が取り付けられている先端側に位置する足指21の付け根21aから指先が当たる部分の上面に、側面山形の凸状部11を形成する。
図3に示すように、前記凸状部11は、山形の頂部が足指21の第2関節に全てに対応するように、履物10の幅の略全体に亘って形成されている。なお、カバー12は固定部材で構成してもよいが、伸縮性を有する部材を使用し、履物10の少なくとも上面10aには足20の裏が滑りにくくなるようにするために、細かな凹凸形状やメッシュなどを施してもよい。
次に、本実施形態の履物10の使用例を説明する。
(第1の使用例)
履物10を履いた状態で、足20の甲部がカバー12で固定され、足指21が凸状部11の上に載る。このとき、足指21の付け根21aよりも先端部は凸状部11の先端側の傾斜部に位置し、足指21の第2関節部分が凸状部11の頂部に位置する。
(第1の使用例)
履物10を履いた状態で、足20の甲部がカバー12で固定され、足指21が凸状部11の上に載る。このとき、足指21の付け根21aよりも先端部は凸状部11の先端側の傾斜部に位置し、足指21の第2関節部分が凸状部11の頂部に位置する。
このような状態で、足指21は凸状部11の上にあって指先が下方に向くように折れ曲がり、第2関節の部分が凸状部11の頂部の上に載り、付け根21aは上方に向くように折れ曲がるから、足裏全体に体重がかかると、足指21の裏全体が凸状部11の上に押し付けられて指圧作用が得られる。その結果、本実施形態の履物10を装着しているだけで抹消血流が良好になる。また同時に、足指21が「く」の字形に曲がることでストレッチされる利点が得られる。
前述のような指圧作用やストレッチ作用は歩行することで、足指21の付け根21aの部分がさらに折れ曲がることによりさらに強化される。そして、歩行時に足を蹴りだす動作を行う際、足指21は凸状部11全体をくるむようにして掴み込んでいるから、足指21で凸状部11を後方に蹴りだすことができる。特に、指先が凸状部11の前方の傾斜部4cに対応していることで、この傾斜部により後方への押し出し力を得ることができ、良好に歩行できる。
また、足甲部を固定するカバー12を設けてあるから、足指21の付け根21aの部分をカバー12で上面10a側に固定することができ、歩行中に足指21が履物10に対して移動することを防ぐことができる。これにより、足指21を凸状部11の上に常に保持することができて、ストレッチや指圧作用を確実なものにできる。この場合、履物10の素材を滑りにくいもので形成しておけば、滑り防止作用はさらに確実になる。
また、カバー12には伸縮性のある材質のものを使用することで、歩行時に踵が持ち上がるときの足裏の返りを容易にできると同時に、着地したとき、履物の足へのフィット性を向上できる。
抹消血流量に関しては、被験者によって異なるが、何れの場合においても、通常の履物の場合は、履いている時間に従って血流量の低下が観察された。それに対して、本実施形態の履物を履いた場合は、殆どの被験者で血流量の低下は認められず、低下が認められた場合でも、通常の履物の場合に比較して血流量の高い値を示した。よって、本実施形態の履物10では、血流量の低下は生じ難く、持続して履いていても疲労を感じることが少ないものである。
さらに、本実施形態の履物10においては、凸状部11を柔軟な合成樹脂、ゴム等の柔軟な材料で形成していることにより、歩行時に付け根21aが痛過ぎることが防止される。
また、凸状部11が柔軟分材で形成されていることにより、図2に示したように、本実施形態の履物10は足の指21の付け根21a部分に凸状部11を当接させ、足の指21で前記凸状部11を引っ張ることにより、図2中に矢印Yで示したように、凸状部11を湾曲させるようにして足の指21の屈曲及び伸張運動を行うことができる。
以上のような足指21の屈曲及び伸張運動を繰返して行うことにより、足底筋の強化トレーニングを良好に行うことができる。これにより、足底筋、特に親指の足底筋を極めて効果的に強化することができる。
したがって、スポーツ選手等が本実施形態の履物10を用いて、例えば200回/日のトレーニングを続けると、親指の足底筋を短期間に著しく強化することができ、総てのスポーツの基礎力となる走力、ジヤンプ力及び瞬発力等を著しく強化することができる。
一方、本実施形態の履物10を日常の健康用具として用いると、前記の基礎体力の向上とともに、親指の外反症状や偏平足治療、矯正に極めて効果的であり、足底の刺激や足底筋の強化に伴って、内臓活動を活発にして一層の健康増進を図ることができる。
特に、自由に運動を行うことが制限される環境、例えば、飛行機や電車、或いは自動車等において長時間に亘って座った状態を強いられる環境においても下半身に血液が滞留してしまうのを防止することができる。これにより、例えば、エコノミークラス症候群と呼ばれて問題となっている病気、すなわち、飛行機の座席に、長時間、同じ姿勢で座り続けることによって発生しやすくなる腰痛や足の痛み、深部静脈血栓症(俗に旅行者血栓症)などを防止するのに大きく寄与することができる。
(第2の使用例)
図4に示すように、第2の使用例は、足の指21で凸状部11の上部を押圧して弾性変形させるようにした例を示している。
このように、足の指21を下方に押し付けて動かす運動を繰り返し行うことによっても、足底筋の強化トレーニングを良好に行うことができて、足底筋、特に親指の足底筋を極めて効果的に強化することができる。
図4に示すように、第2の使用例は、足の指21で凸状部11の上部を押圧して弾性変形させるようにした例を示している。
このように、足の指21を下方に押し付けて動かす運動を繰り返し行うことによっても、足底筋の強化トレーニングを良好に行うことができて、足底筋、特に親指の足底筋を極めて効果的に強化することができる。
(第2の実施形態)
次に、本実施形態の履物の第2の実施形態を説明する。
前述した第1の実施形態の履物10の場合は、柔軟な分材を使用して凸状部11を形成し、前記凸状部11を撓ませることにより足の指21の屈曲及び伸張運動を可能にした例を示した。
次に、本実施形態の履物の第2の実施形態を説明する。
前述した第1の実施形態の履物10の場合は、柔軟な分材を使用して凸状部11を形成し、前記凸状部11を撓ませることにより足の指21の屈曲及び伸張運動を可能にした例を示した。
それに対して、この第2の実施形態においては、図5に示したように、足の指21の付け根21aが位置する履物30にスライド溝34を形成し、このスライド溝34内にスライダー31aをスライド自在に配設している。図4において、32はカバーである。
そして、前記スライダー31a上に凸状部31を形成している。前記スライダー31aはスプリング33により履物30の先端側に常に付勢されており、先端側の移動限位置において前記凸状部31が使用者の足指21の付け根21aに当接するように構成されている。また、本実施形態においても履物30の少なくとも上面30aには足20の裏が滑りにくくなるように、細かな凹凸形状やメッシュなどを施している。
前述のように構成した本実施形態の履物30の場合の使用例は、前述した第1の実施形態の履物10と同様であるが、本実施形態の履物30においては、足の指21の屈曲及び伸張運動に伴って凸状部31を、図5中の矢印Yで示したように大きく移動させることができる。
したがって、本実施形態の履物30によれば、使用者の足指21の屈曲及び伸張運動を本格的に行うことができる。また、使用者の運動能力に応じてスプリング33の張力を加減することができるので、老若男女を問わずに手軽に使用することが可能である。
以上説明したように、本発明の履物30によれば、スポーツ選手の基礎力を向上させることは勿論のこと、一般の使用者が手軽に購入することが可能な足指運動装置を提供することができる。
(第3の実施形態)
次に、図7及び図8を参照しながら本発明の第3の実施形態を説明する。
この例の場合は、足の指21が位置する履物60に係合凹部61を形成し、この係合凹部61内に上下移動板31aを上下動自在に配設している。図7において、32はカバーである。
次に、図7及び図8を参照しながら本発明の第3の実施形態を説明する。
この例の場合は、足の指21が位置する履物60に係合凹部61を形成し、この係合凹部61内に上下移動板31aを上下動自在に配設している。図7において、32はカバーである。
本実施形態においては、前記上下移動板31a上に凸状部31を形成している。前記上下移動板31aはスプリング33により履物60の上方側に常に付勢されており、上方側の移動限位置において前記凸状部31が使用者の足指21の付け根21aに当接するように構成されている。また、本実施形態においても履物60の少なくとも上面60aには足20の裏が滑りにくくなるように、細かな凹凸形状やメッシュなどを施している。
前述のように構成した本実施形態の履物60の使用例は、常時は凸状部11が足の指21の付け根21aを押圧して、前述した第1及び第2の実施形態と同様に、足指21は凸状部11の上にあって指先が下方に向くように折れ曲がり、第2関節の部分が凸状部11の頂部の上に載り、付け根21aは上方に向くように折れ曲がるようにして使用する。このような状態において、足裏全体に体重がかかると、足指21の裏全体が凸状部11の上に押し付けられて指圧作用が得られる。その結果、本実施形態の履物60を装着しているだけで抹消血流が良好になる。また同時に、足指21が「く」の字形に曲がることでストレッチされる利点が得られる。
また、積極的に足の指21の運動を行う場合には、図7に示したように、足の指21を凸状部11の上部に載せて、前記足の指21で前記凸状部11を下方に押圧して、スプリング62,63の張力に抗して上下移動板31aを下方に移動させる。このように、足の指21のみを下方に動かす運動は、通常は行い難いので加齢による老化を防止するのに特に有効である。また、本実施形態の履物60の場合も、老若男女を問わずに手軽に使用することが可能である。
前述した第1の実施形態〜第3の実施形態においては、本発明をスリッパに適用した例を示したが、本発明はサンダルにも良好に適用することができる。
10 履物
10a 上面
11 凸状部
12 カバー
20 使用者の足
21 足の指
21a 付け根
Y 矢印
30 履物
31 凸状部
31a スライダー
32 カバー
10a 上面
11 凸状部
12 カバー
20 使用者の足
21 足の指
21a 付け根
Y 矢印
30 履物
31 凸状部
31a スライダー
32 カバー
Claims (5)
- スリッパやサンダルなどの履物であって、
使用者の足指の付け根から指先が当たる部分の履物の上面に、使用者の足指の付け根に当接する凸状部を形成するとともに、前記凸状部を前記使用者の足指の付勢力に応じて変形可能に構成したことを特徴とする履物。 - 前記凸状部を、可撓性を有する合成樹脂またはゴムにより形成したことを特徴とする請求項1に記載の履物。
- スリッパやサンダルなどの履物であって、
使用者の足指の付け根から指先が当たる部分に形成されたスライド溝と、
前記スライド溝内にスライド自在に配設されたスライド板と、
前記スライド板上に配設され、使用者の足指の付け根に当接する凸状部と、
前記スライド板を前記使用者の指先方向に常に付勢するスプリングとを有することを特徴とする履物。 - スリッパやサンダルなどの履物であって、
使用者の足指の付け根から指先が当たる部分に形成された係合凹部と、
前記係合凹部内に上下動自在に配設された押圧板と、
前記押圧板上に配設され、使用者の足指の付け根に当接する凸状部と、
前記押圧板を前記使用者の指先が位置する上方向に常に付勢するスプリングとを有することを特徴とする履物。 - 前記スプリングの張力を可変にしたことを特徴とする請求項3または4に記載の履物。
Priority Applications (1)
| Application Number | Priority Date | Filing Date | Title |
|---|---|---|---|
| JP2005272272A JP2007082611A (ja) | 2005-09-20 | 2005-09-20 | 履物 |
Applications Claiming Priority (1)
| Application Number | Priority Date | Filing Date | Title |
|---|---|---|---|
| JP2005272272A JP2007082611A (ja) | 2005-09-20 | 2005-09-20 | 履物 |
Publications (1)
| Publication Number | Publication Date |
|---|---|
| JP2007082611A true JP2007082611A (ja) | 2007-04-05 |
Family
ID=37970210
Family Applications (1)
| Application Number | Title | Priority Date | Filing Date |
|---|---|---|---|
| JP2005272272A Pending JP2007082611A (ja) | 2005-09-20 | 2005-09-20 | 履物 |
Country Status (1)
| Country | Link |
|---|---|
| JP (1) | JP2007082611A (ja) |
Cited By (5)
| Publication number | Priority date | Publication date | Assignee | Title |
|---|---|---|---|---|
| JP2012504998A (ja) * | 2008-10-10 | 2012-03-01 | ファレル,ジェラルド | 足運動装置 |
| KR200467057Y1 (ko) | 2012-01-26 | 2013-05-28 | 한호섭 | 신발용 깔창 |
| JP6854038B1 (ja) * | 2020-02-03 | 2021-04-07 | 株式会社ロバの耳 | 足底支持具 |
| JP2021139072A (ja) * | 2020-03-06 | 2021-09-16 | 美津濃株式会社 | 衣類 |
| CN114788945A (zh) * | 2021-01-26 | 2022-07-26 | 王尧 | 一种足部训练鞋 |
-
2005
- 2005-09-20 JP JP2005272272A patent/JP2007082611A/ja active Pending
Cited By (7)
| Publication number | Priority date | Publication date | Assignee | Title |
|---|---|---|---|---|
| JP2012504998A (ja) * | 2008-10-10 | 2012-03-01 | ファレル,ジェラルド | 足運動装置 |
| US9282786B2 (en) | 2008-10-10 | 2016-03-15 | Gerrard Farrell | Foot exercise device |
| KR200467057Y1 (ko) | 2012-01-26 | 2013-05-28 | 한호섭 | 신발용 깔창 |
| JP6854038B1 (ja) * | 2020-02-03 | 2021-04-07 | 株式会社ロバの耳 | 足底支持具 |
| WO2021157143A1 (ja) * | 2020-02-03 | 2021-08-12 | 株式会社ロバの耳 | 足底支持具 |
| JP2021139072A (ja) * | 2020-03-06 | 2021-09-16 | 美津濃株式会社 | 衣類 |
| CN114788945A (zh) * | 2021-01-26 | 2022-07-26 | 王尧 | 一种足部训练鞋 |
Similar Documents
| Publication | Publication Date | Title |
|---|---|---|
| JP2007082611A (ja) | 履物 | |
| US20150245938A1 (en) | Health orthosis for foot | |
| JP3134601U (ja) | 履物のインソール | |
| JP3134601U7 (ja) | ||
| JP3260668B2 (ja) | 靴のソール | |
| JP6321093B2 (ja) | 足指間パッド | |
| KR100457101B1 (ko) | 지압깔창 | |
| JP7122427B2 (ja) | 履物。 | |
| JP2614786B2 (ja) | 足指運動機能回復具 | |
| JP3106354U (ja) | 健康履物及び健康履物器具 | |
| JP2000296003A (ja) | つま先運動具付き靴 | |
| JP2000004902A (ja) | 自発性筋力強化履物 | |
| KR101853426B1 (ko) | 발가락 교정용 샌들 | |
| JP5988521B1 (ja) | 健康靴 | |
| JP3167656U (ja) | 履物 | |
| JP7715332B1 (ja) | 履物 | |
| JP3143537U (ja) | 健康器具 | |
| JP3126078U (ja) | リハビリテーション運動用の補助用具 | |
| JP3225904U (ja) | 膝裏伸ばしサンダル | |
| KR100575138B1 (ko) | 건강신발 | |
| KR100804383B1 (ko) | 수면 시 착용하는 신발 | |
| KR100613207B1 (ko) | 건강 신발 | |
| JP3122081U (ja) | フットケアバンド | |
| KR200392960Y1 (ko) | 신체균형을 위한 교정용 깔창 | |
| JP4009907B2 (ja) | 健康履物 |