JP2006336437A - Water-saving toilet bowl - Google Patents

Water-saving toilet bowl Download PDF

Info

Publication number
JP2006336437A
JP2006336437A JP2005185649A JP2005185649A JP2006336437A JP 2006336437 A JP2006336437 A JP 2006336437A JP 2005185649 A JP2005185649 A JP 2005185649A JP 2005185649 A JP2005185649 A JP 2005185649A JP 2006336437 A JP2006336437 A JP 2006336437A
Authority
JP
Japan
Prior art keywords
water
drainage
toilet
vessel
tank
Prior art date
Legal status (The legal status is an assumption and is not a legal conclusion. Google has not performed a legal analysis and makes no representation as to the accuracy of the status listed.)
Pending
Application number
JP2005185649A
Other languages
Japanese (ja)
Inventor
Masayasu Miyazaki
政安 宮崎
Current Assignee (The listed assignees may be inaccurate. Google has not performed a legal analysis and makes no representation or warranty as to the accuracy of the list.)
Individual
Original Assignee
Individual
Priority date (The priority date is an assumption and is not a legal conclusion. Google has not performed a legal analysis and makes no representation as to the accuracy of the date listed.)
Filing date
Publication date
Application filed by Individual filed Critical Individual
Priority to JP2005185649A priority Critical patent/JP2006336437A/en
Publication of JP2006336437A publication Critical patent/JP2006336437A/en
Pending legal-status Critical Current

Links

Images

Landscapes

  • Sanitary Device For Flush Toilet (AREA)

Abstract

<P>PROBLEM TO BE SOLVED: To provide a super-water-saving toilet system by a combination of a super-water-saving toilet bowl and a suction device. <P>SOLUTION: In the super-water-saving toilet system, flushing water is piped and connected to a water supply connection port of a double-vessel type toilet bowl 10. The flushing water is led to flushing water discharge ports 13, 14 of the respective section vessels of an excrement vessel 11 and a urine vessel 12 through a solenoid valve 81 and a solenoid valve 82 built in the double-vessel type toilet bowl 10. The flow of drainage in the double-vessel type toilet bowl 10 is discharged through piping connected to the respective drainage connection ports of the excrement vessel 11 and urine vessel 12. The drainage is then discharged to a soil pipe 99 through an ejector suction device 35 reducing outflow resistance to draw out a considerable water-saving effect. Ejectors 31, 32 utilizing pressurized water are disposed in the ejector suction device 35, and the outflow resistance of drainage is reduced by the ejector 31 in the excrement vessel 11 and by the ejector 32 in the urine vessel 12 to draw out the considerable water-saving effect. <P>COPYRIGHT: (C)2007,JPO&INPIT

Description

本発明は、大便槽と小便槽に区分された二槽式便器と吸引装置とを組み合わせた超節水トイレシステムに関する。  The present invention relates to a super water-saving toilet system that combines a two-tank toilet and a suction device divided into a stool and a urinal.

汎用便器の排便洗浄に使用される一回の水量は略8〜10リットルで、一般家庭のトイレに使用される水道水量は水道全体使用水量の約25%にも相当すると報告されている。  It is reported that the amount of water used for defecation washing of a general-purpose toilet is approximately 8 to 10 liters, and the amount of tap water used for a general household toilet is equivalent to about 25% of the total amount of water used.

ところで近年、世界的に水を多く使う生活スタイルへ移行していることや地球温暖化の影響により数多くの国で重大な水不足を招いていることなどから、水資源の重要性に対する意識が益々高まってきている。そのこともあり雨水の利用や雑排水の再利用や節水便器などの提案も多く関心が高まっている。  By the way, in recent years, there has been an increasing awareness of the importance of water resources due to the shift to a lifestyle that uses a lot of water worldwide and the fact that many countries have caused serious water shortages due to the effects of global warming. It is coming. For that reason, many proposals such as the use of rainwater, the reuse of miscellaneous wastewater, and water-saving toilets are attracting much attention.

節水便器に関する文献1〜3が下記の通り紹介されている。  Documents 1 to 3 related to water-saving toilets are introduced as follows.

文献1Reference 1

フレキシブル・チューブ式超節水トイレFlexible tube type super water-saving toilet

文献2Reference 2

圧送排水式トイレPumping drainage toilet

文献3Reference 3

ハイフラッシュJ式便器
上記文献1では、フレキシブル・チューブ式超節水トイレで排便洗浄開始から排出終了また給水完了までに使用される一回の水量は略3リットルとの実績が報告されている。
High flush J-type toilet In the above-mentioned document 1, it has been reported that the amount of water used once from the start of defecation cleaning to the end of drainage and the completion of water supply in a flexible tube type super water-saving toilet is about 3 liters.

文献1のフレキシブル・チューブ式超節水トイレでは、排便洗浄に使用される一回の水量は略3リットルと節水効果が優れている。
しかし、小便の排便洗浄でも略3リットルの水量が必要な便器構造であることから、本発明は、小便での排便洗浄に使用される一回の水量を略1リットル以下とし、大便では略3リットル以下の水量で便器の排便洗浄開始から排出また給水完了ができる技術的手段として超節水便器と吸引装置を組み合わせた超節水トイレシステムの提供を目的としている。
In the flexible tube type super water-saving toilet of Document 1, the amount of water used for defecation cleaning is approximately 3 liters, and the water-saving effect is excellent.
However, since the toilet structure requires approximately 3 liters of water for urine defecation cleaning, the present invention sets the amount of water used for urine defecation cleaning to approximately 1 liter or less, and for stool approximately 3 liters. The purpose is to provide a super-water-saving toilet system that combines a super-water-saving toilet and a suction device as a technical means that can discharge and complete the water supply from the start of toilet cleaning with a volume of liters or less.

本発明は、上記目的を達成するために以下の技術的手段を講じた。
第1に、便器は堰15で区分された大便槽11と小便槽12を有し、それぞれの区分槽毎に洗浄水放出口13、14が有り、前記大便槽11には排水口16が前記小便槽12には排水口17を有することを特徴とした構造の二槽式便器10としている。
In order to achieve the above object, the present invention takes the following technical means.
First, the toilet bowl has a stool tank 11 and a urinal tank 12 separated by a weir 15, each of which has a washing water discharge port 13, 14, and a drain port 16 is provided in the stool tank 11. The urinal tank 12 has a drainage port 17 and has a structure characterized by having a drainage port 17.

第2に、便器は排便洗浄開始から排出終了また給水完了までの排便洗浄工程を大便槽11と小便槽12の区分槽毎または両方同時にできることを特徴とする二槽式便器10としている。  2ndly, the toilet bowl is made into the 2 tank type toilet bowl 10 characterized by performing the defecation washing | cleaning process from the start of defecation washing to completion | finish of discharge | emission, and completion of water supply for every division tank of the stool tank 11 and the urinal tank 12, or both simultaneously.

第3に、上記二槽式便器10の各排水口16、17の下流には臭気を遮断する臭気遮断機構20を有し、更に、その下流には排水流出抵抗を低減し大幅に節水効果を引き出す吸引装置39を備えたことを特徴とする超節水トイレシステムとしている。  Thirdly, an odor blocking mechanism 20 for blocking odors is provided downstream of the drain ports 16 and 17 of the two-tank toilet 10, and further, downstream of the drainage outlets 16 and 17, a drainage outflow resistance is reduced, resulting in a significant water saving effect. The super water-saving toilet system is provided with a suction device 39 for drawing out.

本発明は、上記技術的手段の第1と第2の通りの構造の二槽式便器と第3の技術的手段の吸引装置で排水流出抵抗を低減し大幅に節水効果を引き出す、例えば、加圧水または加圧空気を利用するエジェクター吸引装置とを組み合わせることで、小便では排便洗浄開始から排出終了また給水完了までに使用する一回の水量を略1リットル以下とし、また大便では略3リットル以下の水量で便器内の排便洗浄ができる超節水トイレシステムとなる。  The present invention reduces the drainage outflow resistance and greatly brings out the water-saving effect by the two-tank toilet having the first and second structures of the technical means and the suction device of the third technical means. Or in combination with an ejector suction device that uses pressurized air, the amount of water used from the start of defecation washing to the end of drainage and the completion of water supply is reduced to approximately 1 liter or less for urine, and approximately 3 liters or less for stool. It becomes a super water-saving toilet system that can clean the defecation in the toilet bowl with the amount of water.

以下、本発明の実施の一形態を図示例を基に説明する。
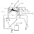
図1は、二槽式便器10の構造概念図である。
図1(a)は、二槽式便器10を側面から見て中心で切った場合の断面概略図である。
図1(b)は、二槽式便器10の堰の形状を上から見た場合の概略図である。
図1において、便器には堰15で区分された大便槽11と小便槽12を有しており、それぞれの区分槽毎に洗浄水放出口13、14が配設されている。
また、前記大便槽11の底部には排水口16が前記小便槽12の底部には排水口17を有し各排水口16、17の下流には臭気遮断機構20のサイホンS型水封21、22を有する構造の二槽式便器10となっている。
尚、大便槽11と小便槽12を仕切る堰15の両面は丸く湾曲形状となっているので排便洗浄の効果が高くまた清掃も簡単な二槽式便器10となっている。そして、堰15の高さは排便洗浄の際に排水が堰15を越えない最小の高さとなっている。
Hereinafter, an embodiment of the present invention will be described based on the illustrated examples.
FIG. 1 is a conceptual diagram of the structure of the double tank toilet 10.
Fig.1 (a) is a cross-sectional schematic diagram at the time of cutting the two tank type toilet bowl 10 in the center seeing from the side.
FIG.1 (b) is the schematic when the shape of the weir of the two tank type toilet bowl 10 is seen from the top.
In FIG. 1, the toilet includes a stool tank 11 and a urinal tank 12 divided by a weir 15, and washing water discharge ports 13 and 14 are provided for each of the divided tanks.
Further, a drainage port 16 is provided at the bottom of the stool tank 11, and a drainage port 17 is provided at the bottom of the urinal tank 12, and a siphon S-type water seal 21 of the odor blocking mechanism 20 is provided downstream of each drainage port 16, 17. This is a two tank toilet 10 having a structure having 22.
In addition, since both surfaces of the weir 15 which divides the stool tank 11 and the urinal tub 12 are round and curved, the effect of defecation cleaning is high and the two-tank toilet 10 is easy to clean. The height of the weir 15 is the minimum height at which drainage does not exceed the weir 15 during the defecation cleaning.

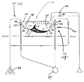
図2は、本発明の第一実施形態で、図1の二槽式便器10に接続される洗浄水と排水の流れ図であって、加圧水を利用するエジェクター吸引装置30を備えた超節水トイレシステムの概念図である。
第一実施形態の図2では、洗浄水は二槽式便器10の送水接続口に配管接続されている。そして、洗浄水は二槽式便器10に内蔵されている電磁弁81と電磁弁82を通り大便槽11と小便槽12のそれぞれの区分槽毎の洗浄水放出口13、14に導かれてる。
一方、二槽式便器10の排水の流れは大便槽11と小便槽12のそれぞれの排水接続口に接続している配管を通じて排出される。次に、排水は排水流出抵抗を低減し大幅に節水効果を引き出すエジェクター吸引装置30を通じて汚水管99に放流される。
このエジェクター吸引装置30は加圧水を利用したエジェクター31、32を配設しており大便漕11にはエジェクター31また小便槽12にはエジェクター32で排水の排水流出抵抗を低減し大幅に節水効果を引き出している。また、エジェクター31とエジェクター32のそれぞれの放出口は最終的に汚水管99に接続していて排水は合流する。
尚、雨水や雑排水を利用するエジェクター吸引装置30は加圧水ポンプ95で得られた加圧水をエジェクター31、32に高速で送水し吸引力を引き出す方法である。そして、加圧水の送水管には電動式の開閉弁91、92がそれぞれ配設されている。
FIG. 2 is a flowchart of washing water and drainage connected to the two-tank toilet 10 of FIG. 1 according to the first embodiment of the present invention, and a super water-saving toilet system provided with an ejector suction device 30 using pressurized water. FIG.
In FIG. 2 of the first embodiment, the wash water is piped to the water supply connection port of the two tank toilet 10. Then, the washing water is guided to the washing water discharge ports 13 and 14 for each of the stool tank 11 and the urinal tank 12 through the electromagnetic valve 81 and the electromagnetic valve 82 incorporated in the two-tank toilet 10.
On the other hand, the flow of the waste water of the two tank type toilet 10 is discharged through the pipes connected to the respective drainage connection ports of the stool tank 11 and the urinal tank 12. Next, the drainage is discharged to the sewage pipe 99 through the ejector suction device 30 that reduces drainage outflow resistance and greatly reduces the water-saving effect.
The ejector suction device 30 is provided with ejectors 31 and 32 using pressurized water. The ejector 31 is provided in the stool 11 and the ejector 32 is provided in the urinal tub 12 to reduce drainage drainage resistance, thereby greatly reducing the water saving effect. ing. Moreover, each discharge port of the ejector 31 and the ejector 32 is finally connected to the sewage pipe 99, and the wastewaters merge.
In addition, the ejector suction device 30 using rainwater or miscellaneous wastewater is a method in which the pressurized water obtained by the pressurized water pump 95 is sent to the ejectors 31 and 32 at high speed to extract the suction force. And the electric on-off valves 91 and 92 are arrange | positioned at the water supply pipe | tube of pressurized water, respectively.

大便の排便洗浄の流れを説明する。
排便後、大便ボタン51を押すと先ず加圧水ポンプ95が駆動し略同時に開閉弁91が開放しエジェクター31で吸引を開始する。その直後に洗浄水の電磁弁81が開放し大便槽11の排便洗浄が開始される。
次に、排便洗浄が終了すると開閉弁91が閉止し略同時に加圧水ポンプ95が停止しエジェクター31の吸引は停止する。そして大便槽11とサイホンS型水封21に洗浄水が満たされ給水が完了し全ての排便洗浄工程が終了する。
この排便洗浄工程での一回の使用水量は略3リットル以下に調整されている。
The flow of stool defecation washing will be described.
When the stool button 51 is pushed after defecation, the pressurized water pump 95 is first driven, and the on-off valve 91 is opened almost simultaneously, and the ejector 31 starts suction. Immediately after that, the electromagnetic valve 81 of the washing water is opened and the defecation washing of the stool 11 is started.
Next, when the defecation cleaning is completed, the on-off valve 91 is closed, the pressurized water pump 95 is stopped substantially simultaneously, and the suction of the ejector 31 is stopped. Then, the toilet tank 11 and the siphon S-type water seal 21 are filled with the washing water, the water supply is completed, and all the defecation washing steps are completed.
The amount of water used at one time in this defecation washing process is adjusted to about 3 liters or less.

小便の排便洗浄の流れを説明する。
排便後、小便ボタン52を押すと先ず加圧水ポンプ95が駆動し略同時に開閉弁92が開放しエジェクター32で吸引を開始する。その直後に洗浄水の電磁弁82が開放し小便槽12の排便洗浄が開始される。
次に、排便洗浄が終了すると開閉弁92が閉止し略同時に加圧水ポンプ95が停止しエジェクター32の吸引は停止する。そして小便槽11とサイホンS型水封22に洗浄水が満たされ給水が完了し全ての排便洗浄工程が終了する。
この排便洗浄工程での一回の使用水量は略1リットル以下に調整されている。
The flow of urine defecation washing will be described.
When the urine button 52 is pushed after defecation, the pressurized water pump 95 is first driven, and the on-off valve 92 is opened almost simultaneously, and the ejector 32 starts suction. Immediately thereafter, the electromagnetic valve 82 of the washing water is opened and the defecation washing of the urinal tank 12 is started.
Next, when the defecation cleaning is completed, the on-off valve 92 is closed, and the pressurized water pump 95 is stopped almost simultaneously, and the suction of the ejector 32 is stopped. Then, the urinal tank 11 and the siphon S-type water seal 22 are filled with the washing water, the water supply is completed, and all the defecation washing steps are completed.
The amount of water used at one time in this defecation washing process is adjusted to about 1 liter or less.

次に、大便小便ボタン55を押すと大便槽11と小便槽12が同時に排便洗浄される。
この場合の排便洗浄工程での一回の使用水量は略4リットル以下に調整されている。
Next, when the urinal / urine button 55 is pressed, the stool tank 11 and the urinal tank 12 are simultaneously defecation-washed.
In this case, the amount of water used at one time in the defecation washing step is adjusted to about 4 liters or less.

図3は、本発明の第二実施形態で、二槽式便器10に接続される洗浄水と排水の流れ図であって、加圧空気を利用するエジェクター吸引装置35を備えた超節水トイレシステムの概念図である。
第二実施形態の図3では、エジェクター36、37の取り付け位置をサイホンS型水封21とサイホンS型水封22下流の近傍とし図示している。
エジェクター吸引装置35は加圧空気を利用するエジェクター36、37をそれぞれ配設し、そして、排便洗浄の排水吸引方法は圧縮機98による加圧空気を開閉弁96、97によってエジェクター36、37に送り込み吸引効果を引き出している。それ以外は第一実施形態と・同動作・同作用の排便洗浄工程で排便洗浄開始から排出また給水を完了し終了する。
FIG. 3 is a flowchart of washing water and drainage connected to the two-tub toilet 10 according to the second embodiment of the present invention, and is a super water-saving toilet system provided with an ejector suction device 35 using pressurized air. It is a conceptual diagram.
In FIG. 3 of the second embodiment, the attachment positions of the ejectors 36 and 37 are illustrated in the vicinity of the downstream of the siphon S-type water seal 21 and the siphon S-type water seal 22.
The ejector suction device 35 is provided with ejectors 36 and 37 that use pressurized air, respectively, and the drainage suction method for defecation cleaning is to send pressurized air from the compressor 98 to the ejectors 36 and 37 by the on-off valves 96 and 97. Pulls out the suction effect. Otherwise, in the defecation washing process of the same operation and action as in the first embodiment, the discharge or water supply is completed from the start of the defecation washing and is finished.

尚、エジェクター吸引装置30、35は停電などで加圧水や加圧空気が利用できない場合でも排水の流出抵抗があまり生じない配置と構造となっているので排便洗浄の排水の排出には支障が生じないようになっている。  The ejector suction devices 30 and 35 have an arrangement and structure that does not generate much drainage resistance even when pressurized water or pressurized air cannot be used due to a power failure or the like. It is like that.

尚、本発明の実施形態に限らず、以下のような変更が可能である。
図1の二槽式便器10ではその排水口16、17の下流にサイホンS型水封21、22を採用しているがこれに限定せず、別の臭気遮断機構20として開閉弁等を採用してもよい。
また、吸引装置39としてはエジェクター吸引装置30、35を採用しなくてもよいし、エジェクター吸引手段とは別の吸引手段で二槽式便器10の排水の流出抵抗を低減し大幅に節水効果を引き出す方法で便器内の排便洗浄ができる超節水トイレシステムとしてもよい。
The present invention is not limited to the embodiment and can be modified as follows.
1 employs siphon S-type water seals 21 and 22 downstream of the drains 16 and 17, but is not limited thereto, and an open / close valve or the like is employed as another odor blocking mechanism 20. May be.
Moreover, the ejector suction devices 30 and 35 may not be used as the suction device 39, and the drainage resistance of the drainage of the two-tank toilet 10 is reduced by a suction means different from the ejector suction means, thereby significantly saving water. It is good also as a super water-saving toilet system which can wash the defecation in the toilet bowl by the method of pulling out.

産業上の利用の可能性Industrial applicability

本発明の二槽式便器と吸引装置とを組み合わせた超節水トイレシステムの節水の考え方は家庭から排出される雑排水や汚水の再利用また雨水の利用に関する設備機器の開発に結び付けられる。  The idea of water saving of the super water-saving toilet system combining the two-tank toilet and suction device of the present invention is linked to the development of equipment related to the reuse of miscellaneous wastewater and sewage discharged from homes and the use of rainwater.

図1は、二槽式便器10の構造概念図である。FIG. 1 is a conceptual diagram of the structure of the double tank toilet 10. 図2は、本発明の第一実施形態で、図1の二槽式便器10に接続される洗浄水と排水の流れ図であって、加圧水を利用するエジェクター吸引装置30を備えた超節水トイレシステムの概念図である。FIG. 2 is a flow chart of washing water and drainage connected to the two-tank toilet 10 of FIG. 1 according to the first embodiment of the present invention, and a super water-saving toilet system provided with an ejector suction device 30 using pressurized water. FIG. 図3は、本発明の第二実施形態で、二槽式便器10に接続される洗浄水と排水の流れ図であって、加圧空気を利用するエジェクター吸引装置35を備えた超節水トイレシステムの概念図である。FIG. 3 is a flowchart of washing water and drainage connected to the two-tub toilet 10 according to the second embodiment of the present invention, and is a super water-saving toilet system provided with an ejector suction device 35 using pressurized air. It is a conceptual diagram.

符号の説明Explanation of symbols

10 二槽式便器 30、35 エジェクター吸引装置
11 大便槽 31、32、36、37 エジェクター
12 小便槽 39 吸引装置
13、14 洗浄水放出口 81、82 電磁弁
15 堰 91、92、96、97 開閉弁
16、17 排水口 95 加圧水ポンプ
20 臭気遮断機構 98 圧縮機
21、22 イホンS型水封 99 汚水管
10 Evacuator 30, 35 Ejector suction device 11 Stool 31, 32, 36, 37 Ejector 12 Urinal tub 39 Suction device 13, 14 Washing water discharge port 81, 82 Solenoid valve 15 Weir 91, 92, 96, 97 Valves 16 and 17 Drainage port 95 Pressurized water pump 20 Odor blocking mechanism 98 Compressor 21 and 22 Iphone S-type water seal 99 Sewage pipe

Claims (3)

便器は堰(15)で区分された大便槽(11)と小便槽(12)を有し、それぞれの区分槽毎に洗浄水放出口(13)(14)が有り、前記大便槽(11)には排水口(16)が前記小便槽(12)には排水口(17)を有する二槽式便器(10)。  The toilet bowl has a stool tub (11) and a urinal tub (12) separated by a weir (15), and there is a washing water discharge port (13) (14) for each of the stool tubs. There is a drainage port (16) and the urinal (12) has a drainage port (17). 便器は排便洗浄開始から排出終了また給水完了までの排便洗浄工程を大便槽(11)と小便槽(12)の区分槽毎または両方同時にできることを特徴とする請求項1に記載の二槽式便器(10)。  The toilet according to claim 1, wherein the toilet can perform a defecation washing process from the start of defecation washing to the end of discharge or completion of water supply for each of the stool tanks (11) and the urinal tank (12) or both at the same time. (10). 請求項1また2の上記二槽式便器(10)の各排水口(16)(17)の下流には臭気を遮断する臭気遮断機構(20)を有し、更に、その下流には排水流出抵抗を低減し大幅に節水効果を引き出す吸引装置(39)を備えた超節水トイレシステム。  An odor blocking mechanism (20) for blocking odors is provided downstream of each drainage port (16) (17) of the two-tank toilet (10) according to claim 1 or 2, and further, drainage outflow is provided downstream thereof. A super water-saving toilet system equipped with a suction device (39) that reduces the resistance and greatly reduces the water-saving effect.
JP2005185649A 2005-05-31 2005-05-31 Water-saving toilet bowl Pending JP2006336437A (en)

Priority Applications (1)

Application Number Priority Date Filing Date Title
JP2005185649A JP2006336437A (en) 2005-05-31 2005-05-31 Water-saving toilet bowl

Applications Claiming Priority (1)

Application Number Priority Date Filing Date Title
JP2005185649A JP2006336437A (en) 2005-05-31 2005-05-31 Water-saving toilet bowl

Publications (1)

Publication Number Publication Date
JP2006336437A true JP2006336437A (en) 2006-12-14

Family

ID=37557220

Family Applications (1)

Application Number Title Priority Date Filing Date
JP2005185649A Pending JP2006336437A (en) 2005-05-31 2005-05-31 Water-saving toilet bowl

Country Status (1)

Country Link
JP (1) JP2006336437A (en)

Cited By (8)

* Cited by examiner, † Cited by third party
Publication number Priority date Publication date Assignee Title
WO2014003686A1 (en) * 2012-06-25 2014-01-03 Nanyang Technological University Source separation toilet system and toilet bowl for use in such a system
CN104196104A (en) * 2014-08-06 2014-12-10 张建平 Bypass type water-saving toilet bowl achieving effect of one-way valve through flow change
CN104594484A (en) * 2015-01-08 2015-05-06 张建平 Single-rod double-sided tabletting branching water saving closestool
CN105133715A (en) * 2015-08-12 2015-12-09 罗正义 Water-saving squatting pan
WO2017028468A1 (en) * 2015-08-17 2017-02-23 谭贤侃 Flush toilet flushing structure
CN107034967A (en) * 2017-03-07 2017-08-11 昆明理工大学 A kind of integral energy-saving water saving pit
CN109356253A (en) * 2018-11-21 2019-02-19 佛山市恒洁卫浴有限公司 A kind of squatting pan
JP2022017004A (en) * 2020-07-13 2022-01-25 株式会社リコー Toilet device

Citations (9)

* Cited by examiner, † Cited by third party
Publication number Priority date Publication date Assignee Title
JPS51103852A (en) * 1975-03-11 1976-09-14 Hajikano Kiyoshi KINZOKUHI KINUKISEN
JPS53146453A (en) * 1977-01-26 1978-12-20 Lemmon N R Water closet
JPH0139825Y2 (en) * 1981-12-09 1989-11-29
JPH0617477A (en) * 1992-06-30 1994-01-25 Inax Corp Water tank with trap
JPH1121982A (en) * 1997-06-30 1999-01-26 Sanden Shoji Kk Evacuation device
JPH11100884A (en) * 1997-09-29 1999-04-13 Inax Corp Vacuum drainage facilities
JP2002061262A (en) * 2000-08-22 2002-02-28 Toto Ltd Method for flushing flush toilet stool and the flush toilet stool
JP2002322723A (en) * 2001-04-24 2002-11-08 Inax Corp Toilet bowl
JP2002322716A (en) * 2001-04-24 2002-11-08 Inax Corp Water closet

Patent Citations (9)

* Cited by examiner, † Cited by third party
Publication number Priority date Publication date Assignee Title
JPS51103852A (en) * 1975-03-11 1976-09-14 Hajikano Kiyoshi KINZOKUHI KINUKISEN
JPS53146453A (en) * 1977-01-26 1978-12-20 Lemmon N R Water closet
JPH0139825Y2 (en) * 1981-12-09 1989-11-29
JPH0617477A (en) * 1992-06-30 1994-01-25 Inax Corp Water tank with trap
JPH1121982A (en) * 1997-06-30 1999-01-26 Sanden Shoji Kk Evacuation device
JPH11100884A (en) * 1997-09-29 1999-04-13 Inax Corp Vacuum drainage facilities
JP2002061262A (en) * 2000-08-22 2002-02-28 Toto Ltd Method for flushing flush toilet stool and the flush toilet stool
JP2002322723A (en) * 2001-04-24 2002-11-08 Inax Corp Toilet bowl
JP2002322716A (en) * 2001-04-24 2002-11-08 Inax Corp Water closet

Cited By (10)

* Cited by examiner, † Cited by third party
Publication number Priority date Publication date Assignee Title
WO2014003686A1 (en) * 2012-06-25 2014-01-03 Nanyang Technological University Source separation toilet system and toilet bowl for use in such a system
CN104196104A (en) * 2014-08-06 2014-12-10 张建平 Bypass type water-saving toilet bowl achieving effect of one-way valve through flow change
CN104594484A (en) * 2015-01-08 2015-05-06 张建平 Single-rod double-sided tabletting branching water saving closestool
CN105133715A (en) * 2015-08-12 2015-12-09 罗正义 Water-saving squatting pan
WO2017028468A1 (en) * 2015-08-17 2017-02-23 谭贤侃 Flush toilet flushing structure
CN107034967A (en) * 2017-03-07 2017-08-11 昆明理工大学 A kind of integral energy-saving water saving pit
CN107034967B (en) * 2017-03-07 2023-06-13 昆明理工大学 An integrated energy-saving and water-saving toilet pit
CN109356253A (en) * 2018-11-21 2019-02-19 佛山市恒洁卫浴有限公司 A kind of squatting pan
JP2022017004A (en) * 2020-07-13 2022-01-25 株式会社リコー Toilet device
JP7424235B2 (en) 2020-07-13 2024-01-30 株式会社リコー toilet equipment

Similar Documents

Publication Publication Date Title
CN107237378B (en) A kind of flushing system based on drainage by suction
JP2006336437A (en) Water-saving toilet bowl
CN201045201Y (en) Household Wastewater Utilization Device
CN106948440A (en) One kind is water-saving just to sit device
CN101748786A (en) Waste water washdown siphoning pedestal pan
CN201212185Y (en) water saving toilet
CN100491657C (en) Household Water Saving Piping Systems
CN202227449U (en) Device for preventing toilet bowl from being turned over when water is discharged
CN201121351Y (en) Toilet domestic water secondary utilization device
CN111441442A (en) Low level cistern toilet and flushing method thereof
CN101672057A (en) Integral closestool water tank for washing and flushing
CN216734144U (en) Vehicle-mounted toilet circulating water supply system
CN205502151U (en) Domestic waste water reutilization device system
CN211921048U (en) Whole waste water cyclic utilization system of building
CN217232124U (en) Energy-saving and environment-friendly urinal
CN205530501U (en) Water recycling apparatus washes one&#39;s face and rinses one&#39;s mouth in kitchen
CN209482390U (en) A kind of flushing bedpan water storage box pipe-line system of bathroom washbowl waste water
JP3249343U (en) A device that uses bath water to flush toilets
CN104532916A (en) Wastewater flush toilet seat
CN201056745Y (en) Straight discharging type water saving closet
CN214437188U (en) Domestic water circulation system
CN212104413U (en) Low water level cistern closet
CN101864795A (en) Double-cavity diploporous water-saving closestool
CN201169824Y (en) Hydraulic folding type energy-saving seat closet
CN209837201U (en) Water supply and drainage system of mobile toilet

Legal Events

Date Code Title Description
A621 Written request for application examination

Effective date: 20071227

Free format text: JAPANESE INTERMEDIATE CODE: A621

A131 Notification of reasons for refusal

Free format text: JAPANESE INTERMEDIATE CODE: A131

Effective date: 20091222

A521 Written amendment

Effective date: 20100218

Free format text: JAPANESE INTERMEDIATE CODE: A523

A131 Notification of reasons for refusal

Free format text: JAPANESE INTERMEDIATE CODE: A131

Effective date: 20101102

A02 Decision of refusal

Free format text: JAPANESE INTERMEDIATE CODE: A02

Effective date: 20110315