JP2006334025A - Sitting furniture - Google Patents

Sitting furniture Download PDF

Info

Publication number
JP2006334025A
JP2006334025A JP2005160601A JP2005160601A JP2006334025A JP 2006334025 A JP2006334025 A JP 2006334025A JP 2005160601 A JP2005160601 A JP 2005160601A JP 2005160601 A JP2005160601 A JP 2005160601A JP 2006334025 A JP2006334025 A JP 2006334025A
Authority
JP
Japan
Prior art keywords
seat
frame
person
cushion
pressing
Prior art date
Legal status (The legal status is an assumption and is not a legal conclusion. Google has not performed a legal analysis and makes no representation as to the accuracy of the status listed.)
Pending
Application number
JP2005160601A
Other languages
Japanese (ja)
Inventor
Yukio Omori
幸生 大森
Current Assignee (The listed assignees may be inaccurate. Google has not performed a legal analysis and makes no representation or warranty as to the accuracy of the list.)
GURIMU KK
Original Assignee
GURIMU KK
Priority date (The priority date is an assumption and is not a legal conclusion. Google has not performed a legal analysis and makes no representation as to the accuracy of the date listed.)
Filing date
Publication date
Application filed by GURIMU KK filed Critical GURIMU KK
Priority to JP2005160601A priority Critical patent/JP2006334025A/en
Publication of JP2006334025A publication Critical patent/JP2006334025A/en
Pending legal-status Critical Current

Links

Images

Landscapes

  • Chair Legs, Seat Parts, And Backrests (AREA)
  • Orthopedics, Nursing, And Contraception (AREA)

Abstract

<P>PROBLEM TO BE SOLVED: To provide a sitting furniture which enables a person when sitting on it to relax, can tighten his/her pelvis and as a result can correct distortion of the pelvis and at the same time straighten bow-legs. <P>SOLUTION: A pair of expanded sections 30a is installed on each right and left side of the sitting section 20 of a cushion 10 in a way that it is placed abut on both right and left thighs of a person sitting on a sitting section 20 and is depressed by a suppressing force in a opposite direction against each other. <P>COPYRIGHT: (C)2007,JPO&INPIT

Description

本発明は、椅子、座椅子、クッションのように人が着座するための着座用家具に関する。   The present invention relates to seating furniture for a person to sit on, such as a chair, a chair, and a cushion.

骨盤のずれや歪みは成人病や内臓障害など体に様々な障害を及ぼす可能性があることが指摘されている。このような骨盤のずれを補整するものとして、カードルやベルトが知られている。これらは人体に着用することにより、補整効果が得られようになっている。   It has been pointed out that pelvic displacement and distortion may cause various disorders on the body such as adult diseases and visceral disorders. As a means for correcting such a pelvic shift, a curdle and a belt are known. These can be worn on the human body to obtain a correction effect.

ところが、ガードルやベルトを常時着用する場合は、圧迫感を常に感ずるため、とてもリラックス感を得ることはできず、手軽に骨盤のずれ(ゆがみ)を補整できるものが要望されている。   However, when a girdle or belt is always worn, a feeling of pressure is always felt, so that a very relaxed feeling cannot be obtained and a pelvic displacement (distortion) can be easily corrected.

本発明の目的は、人が着座した際に、リラックス感を得られるとともに、骨盤を締めることができ、その結果、骨盤のゆがみを補整し、合わせてO脚を真っ直ぐにすることができる着座用家具を提供することにある。   It is an object of the present invention to provide a feeling of relaxation when a person is seated and to tighten the pelvis, thereby correcting the distortion of the pelvis and making the O-leg straight. To provide furniture.

上記問題点を解決するために、請求項1の発明は、座部の左右両側部に、該座部に着座した人の左右両大腿に当接して、互いに反対方向に向かう押圧力にて押圧する一対の押圧部を設けたことを特徴とする着座用家具を要旨とするものである。   In order to solve the above problems, the invention of claim 1 is characterized in that the left and right sides of the seat are abutted against the left and right thighs of the person seated on the seat and are pressed by pressing forces in opposite directions. The gist of the present invention is a seating furniture characterized by providing a pair of pressing portions.

請求項2の発明は、請求項1において、前記押圧部は、弾性部材と該弾性部材をバックアップする支持フレームを備えており、前記押圧部を、着座した人の大腿部に対し、前記弾性部材を介して前記支持フレームに対して当接するように配置したことを特徴とする。   According to a second aspect of the present invention, in the first aspect, the pressing portion includes an elastic member and a support frame that backs up the elastic member, and the pressing portion is elastic to the thigh of a seated person. It arrange | positions so that it may contact | abut with respect to the said support frame through a member.

請求項3の発明は、請求項1において、前記座部の左右両側部には肘掛け部を形成し、前記押圧部は、該肘掛け部から膨出形成された有弾性の膨出部であり、該膨出部を、人の左右両大腿を挟圧可能に配置したことを特徴とする。   Invention of Claim 3 forms the armrest part in the right-and-left both sides of the seat part in Claim 1, and the press part is an elastic bulging part bulged from the armrest part, The bulging portion is characterized in that the left and right thighs of a person can be clamped.

請求項4の発明は、請求項2において、前記座部は、腰当て部を備え、該腰当て部に着座した人の腰を当てた状態で、前記一対の押圧部により人の左右両大腿を挟圧可能に配置されていることを特徴とする請求項2に記載の着座用家具。   According to a fourth aspect of the present invention, in the second aspect of the present invention, the seat includes a waist pad portion, and the left and right thighs of the person are supported by the pair of pressing portions in a state where the waist of the person seated on the waist pad portion is applied. The seating furniture according to claim 2, wherein the seating furniture is arranged so as to be pinched.

請求項5の発明は、請求項1乃至請求項4のうちいずれか1項において、前部間が、後部間よりも狭い間隔を有するように形成したことを特徴とする。
(作用)
請求項1の発明によれば、人が着座する椅子、座椅子、クッション等の着座用家具は、必要に応じて着座するものであり、これらに人が着座することにより、リラックス感が得られやすい。又、一対の押圧部は、座部に着座した人の左右両大腿部に対して当接すると、反力が働く。その反力には、左右両大腿部に対して互いに反対方向に向かう押圧力成分を含むため、該押圧力成分により、骨盤を締めることができ、その結果、骨盤のゆがみを補整し、O脚を真っ直ぐにすることができる。
According to a fifth aspect of the present invention, in any one of the first to fourth aspects, the front portion is formed to have a narrower interval than the rear portion.
(Function)
According to the invention of claim 1, seating furniture such as a chair on which a person sits, a sitting chair, and a cushion is seated as necessary, and a person can sit on these to obtain a relaxed feeling. It is easy to be done. Further, when the pair of pressing portions abut against the left and right thighs of the person seated on the seat portion, a reaction force works. Since the reaction force includes a pressing force component directed in opposite directions with respect to the left and right thighs, the pressing force component can tighten the pelvis. As a result, the pelvic distortion is compensated, and O Legs can be straightened.

請求項2の発明によれば、押圧部を、着座した人の大腿部に対し、弾性部材を介して支持フレームに対して当接するように配置したことにより、着座した人の大腿部が押圧部に当接した際に、支持フレームにて好適に反力を発生させることができる。   According to the invention of claim 2, the pressing portion is arranged so as to contact the support frame via the elastic member with respect to the thigh of the seated person, so that the thigh of the seated person is When contacting the pressing portion, the reaction force can be suitably generated by the support frame.

請求項3の発明によれば、一対の膨出部により、座部に着座した人の左右両大腿部は、挟圧されることにより、骨盤を締めることができ、その結果、骨盤のゆがみを補整し、O脚を真っ直ぐにすることができる。   According to the invention of claim 3, the left and right thighs of the person seated on the seat can be clamped by the pair of bulging portions, whereby the pelvis can be tightened. As a result, the pelvis is distorted. Can be corrected and the O-leg can be straightened.

請求項4の発明によれば、腰当て部に着座した人の腰が当たることにより、背骨を真っ直ぐにでき、前記左右両大腿部の反力よる補整と合わせることにより骨盤のゆがみを総合的に補整することができる。   According to the invention of claim 4, the spine can be straightened by hitting the waist of a person seated on the hip pad, and the pelvic distortion can be comprehensively combined with the correction by the reaction force of the left and right thighs. Can be compensated for.

請求項5の発明によれば、前部間が、後部間よりも狭い間隔を有するよう一対の押圧部の間隔を離間配置することにより、人が着座する際に、開いた状態で左右両大腿部を、一対の押圧部間にスムーズに入れ込むことができる。   According to the invention of claim 5, when the person sits down by arranging the gap between the pair of pressing parts so that the distance between the front parts is narrower than that between the rear parts, The thigh can be smoothly inserted between the pair of pressing portions.

本の発明によれば、人が着座した際に、リラックス感を得ることができるとともに、骨盤を締めることができ、その結果、骨盤のゆがみを補整し、O脚を真っ直ぐにすることができる効果を奏する。   According to the present invention, when a person is seated, a relaxed feeling can be obtained and the pelvis can be tightened. As a result, the distortion of the pelvis can be corrected, and the O leg can be straightened. Play.

以下、本発明を着座用家具としてクッションに具体化した第1実施形態を図1〜6を参照して説明する。なお、本明細書では、図1に示すように、着座用家具に人が着座したとき、その人が向いている方向を前とし、その人を基準として、左右前後という。   A first embodiment in which the present invention is embodied as a cushion as seating furniture will be described below with reference to FIGS. In the present specification, as shown in FIG. 1, when a person is seated on the sitting furniture, the direction in which the person is facing is referred to as the front, and it is referred to as right and left and back with respect to the person.

図1に示すようにクッション10は、座部20、座部20の左右両側部に設けられた肘掛け部30、及び腰当て部40とを備えており、左右対称に形成されている。
図2、図3に示すように、座部20は座部用フレーム21と、座部用フレーム21上に配置固定された弾力のあるウレタンフォーム等の弾性材からなる板状のクッション材22と、クッション材22の前部を持ち上げるための木材等からなる板状の中間板23と、座部用フレーム21,クッション材22を覆う布等からなるカバー24とを備えている。座部用フレーム21は、金属製枠体に対して格子状等に金属線材等が配置された軽量フレームからなる。中間板23を座部用フレーム21の前部上に配置することにより、図3に示すようにクッション材22は、前部が高く、後部が低くなるようにされている。このため、座部20は、後部側へ傾いた斜面を備えている。
As shown in FIG. 1, the cushion 10 includes a seat portion 20, armrest portions 30 provided on both left and right sides of the seat portion 20, and a waist pad portion 40, and is formed symmetrically.
As shown in FIGS. 2 and 3, the seat 20 includes a seat frame 21, and a plate-like cushion material 22 made of an elastic material such as elastic urethane foam disposed and fixed on the seat frame 21. A plate-shaped intermediate plate 23 made of wood or the like for lifting the front portion of the cushion material 22, and a cover 24 made of cloth or the like for covering the seat frame 21 and the cushion material 22. The seat frame 21 is a lightweight frame in which metal wires or the like are arranged in a lattice pattern or the like with respect to a metal frame. By disposing the intermediate plate 23 on the front part of the seat frame 21, the cushion material 22 is configured such that the front part is high and the rear part is low, as shown in FIG. For this reason, the seat part 20 is provided with the slope inclined toward the rear part side.

肘掛け部30は、側部用フレーム31と、クッション材32,32a,34と、側部用フレーム31の外側面側に配置されたクッション材33とを備え、前記カバー24により、側部用フレーム31,クッション材32,32a,33,34が覆われている。側部用フレーム31は、金属製枠体に対して格子状等に金属線材等が配置された軽量フレームからなり、座部用フレーム21の左右両側部に対して、一体に連結されて立設されている。図2に示すようにクッション材32は、弾力のあるウレタンフォーム等の弾性材から半円柱状に形成され、側部用フレーム31の内側面に対して断面半円状の曲面が内方に向かうように配置されている。クッション材32aは、弾力のあるウレタンフォーム等の弾性材から板状に形成され、クッション材32と一体に連結されている。そして、クッション材32aは、側部用フレーム31に対して固定されている。   The armrest portion 30 includes a side frame 31, cushion materials 32, 32 a, and 34, and a cushion material 33 disposed on the outer surface side of the side frame 31. 31, cushioning materials 32, 32a, 33, 34 are covered. The side frame 31 is a lightweight frame in which metal wires or the like are arranged in a lattice pattern or the like with respect to a metal frame, and is integrally connected to both the left and right side portions of the seat frame 21. Has been. As shown in FIG. 2, the cushion material 32 is formed in a semi-cylindrical shape from an elastic material such as elastic urethane foam, and a curved surface having a semicircular cross section faces inward with respect to the inner surface of the side frame 31. Are arranged as follows. The cushion material 32 a is formed in a plate shape from an elastic material such as elastic urethane foam, and is integrally connected to the cushion material 32. The cushion material 32 a is fixed to the side frame 31.

クッション材34は、弾力のあるウレタンフォーム等の弾性材からシート状に形成され、前記カバー24内において、クッション材32の半円柱状の面、クッション材32a、側部用フレーム31及びクッション材33の上面、側部用フレーム31の内側面下部を覆うように配置されている。   The cushion material 34 is formed into a sheet shape from an elastic material such as elastic urethane foam, and in the cover 24, the semi-cylindrical surface of the cushion material 32, the cushion material 32 a, the side frame 31, and the cushion material 33. Is arranged so as to cover the lower surface of the inner side surface of the side frame 31.

肘掛け部30の座部20後部上面からの高さは、座部20に人(例えば成人)が着座したときに、肘Eが図6に示すように載る高さ15〜20cm程度に設定されている。なお、この高さは、前記数値に限定されるものではなく、このクッションが使用される人の大きさに合わせて適宜設定してよい。   The height of the armrest portion 30 from the upper surface of the rear portion of the seat portion 20 is set to a height of about 15 to 20 cm when the elbow E is placed as shown in FIG. 6 when a person (for example, an adult) is seated on the seat portion 20. Yes. In addition, this height is not limited to the said numerical value, You may set suitably according to the magnitude | size of the person who uses this cushion.

又、一対のクッション材32は、図1に示すように平面視したときに、前部が開き、後部が狭くなるように、配置されている。例えば、前部の間隔は、40cm程度、後部の間隔は、25cm程度としてもよい。このように、一対の肘掛け部30の間隔は、成人用の一般的な肘掛け部付きの椅子等に比較して、狭くされている。肘掛け部30においてクッション材32が配置された部位は、押圧部としての膨出部30aとされている。すなわち、成人用の肘掛け部を備えた従来の一般的な椅子の場合には、該肘掛けに触れないで、余裕がある状態で成人が着座できるのに対して、本実施形態では、着座する場合、肘掛け部30の膨出部30aが、大腿部や臀部に対して干渉した状態で、肘掛け部30(特にクッション材32)の弾性に抗して、着座できるようにされている。   Further, the pair of cushion members 32 are arranged so that the front part is opened and the rear part is narrowed when viewed in plan as shown in FIG. For example, the front interval may be about 40 cm, and the rear interval may be about 25 cm. Thus, the interval between the pair of armrests 30 is narrower than that of a general chair with an armrest for adults. A portion of the armrest portion 30 where the cushion material 32 is disposed is a bulging portion 30a as a pressing portion. That is, in the case of a conventional general chair provided with an armrest portion for adults, an adult can sit with a margin without touching the armrest, whereas in this embodiment, when sitting The bulging portion 30a of the armrest portion 30 can be seated against the elasticity of the armrest portion 30 (especially the cushion material 32) in a state of interfering with the thigh and the heel.

又、図2に示すように、肘掛け部30の膨出部30aと座部20の左右両側部上面間は、大腿部が退避する退避空間Tが形成されている。なお、退避空間Tの上下高さは、一般的な成人の大腿部の最大径よりも短くされており、図5に示すように着座した際に、膨出部30aは、大腿部により、上方に押圧変形されるようにされている。   Further, as shown in FIG. 2, a retreat space T in which the thigh is retracted is formed between the bulging portion 30 a of the armrest portion 30 and the upper surfaces of the left and right side portions of the seat portion 20. Note that the vertical height of the evacuation space T is shorter than the maximum diameter of a general adult thigh. When seated as shown in FIG. It is configured to be pressed and deformed upward.

ここで、側部用フレーム31は、支持フレームに相当し、クッション材32,34は、弾性部材に相当する。
腰当て部40は、腰当て部用フレーム41と、薄板状のクッション材42と、腰当て部用フレーム41の後面側に配置されたクッション材43とを備え、前記カバー24により、腰当て部用フレーム41,クッション材42,43が覆われている。腰当て部用フレーム41は、金属製枠体に対して格子状等に金属線材等が配置された軽量フレームからなり、座部用フレーム21の後側部に対して、一体に連結されて立設されている。クッション材42は、図3に示すように弾力のあるウレタンフォーム等の弾性材から板状に形成され、腰当て部用フレーム41の前側面に対して固定されている。
Here, the side frame 31 corresponds to a support frame, and the cushion materials 32 and 34 correspond to elastic members.
The waist pad portion 40 includes a waist pad frame 41, a thin plate-like cushion material 42, and a cushion material 43 disposed on the rear surface side of the waist pad frame 41. The frame 41 and the cushion materials 42 and 43 are covered. The waist support frame 41 is a lightweight frame in which metal wires or the like are arranged in a grid pattern or the like with respect to a metal frame, and is integrally connected to the rear side portion of the seat frame 21. It is installed. As shown in FIG. 3, the cushion material 42 is formed in a plate shape from an elastic material such as elastic urethane foam, and is fixed to the front side surface of the waist support frame 41.

図1に示すように、腰当て部40では、肘掛け部30とは異なり、半円柱状に膨らんだ膨出部30aに相当するものがないため、腰の左右両側部を収納可能な収納空間Kが形成されている。この収納空間Kの前後の長さは、成人の腰の左右両側部における前後の一般的(すなわち、平均的な)長さよりも若干短くなるように設定されている。又、腰当て部40の高さは、腰当て部40全体が腰に当たるに充分な高さとされている。   As shown in FIG. 1, in the waist pad portion 40, unlike the armrest portion 30, there is nothing corresponding to the bulging portion 30a that swells in a semi-cylindrical shape. Is formed. The front and rear lengths of the storage space K are set to be slightly shorter than the front and rear general (ie, average) lengths on the left and right sides of the adult's waist. Moreover, the height of the waist pad portion 40 is set to a height sufficient for the entire waist pad portion 40 to hit the waist.

さて、上記のように構成されたクッション10の作用を説明する。
クッション10に人Hが着座する場合、座部20の後部上面に対して、その人Hの臀部Dnを図6に示すように置くとともに、左右の両大腿部Dl,Drを座部20の前部上面に置く。このように座部20に着座する際、一対の膨出部30aは、臀部の幅、腰の幅や、左右両大腿部Dl,Drの合計幅よりも狭くされているため、これらに干渉するが、膨出部30aは弾性的に変形して、左右両大腿部Dl,Drの座部20に対する着座を許容する。このように人Hが着座した状態は、図5,図6で示されている。図5に示すように、退避空間Tには、左右の両大腿部の一部がそれぞれ退避して入る。又、収納空間Kには、腰の左右の一部が入る。そして、図5に示すように、一対の膨出部30aは、人Hの左右両大腿部Dl,Drを互いに反対方向に押圧する。
Now, the operation of the cushion 10 configured as described above will be described.
When a person H sits on the cushion 10, the heel part Dn of the person H is placed on the upper surface of the rear part of the seat part 20 as shown in FIG. 6, and both left and right thigh parts Dl and Dr are placed on the seat part 20. Place on top of front. When sitting on the seat part 20 in this way, the pair of bulging parts 30a are narrower than the width of the buttocks, the width of the waist, and the total width of the left and right thighs Dl and Dr. However, the bulging portion 30a is elastically deformed to allow the left and right thigh portions Dl and Dr to be seated on the seat portion 20. The state in which the person H is seated in this way is shown in FIGS. As shown in FIG. 5, the left and right thighs are partially retracted into the retreat space T. In addition, the left and right part of the waist enters the storage space K. Then, as shown in FIG. 5, the pair of bulged portions 30 a press the left and right thighs Dl and Dr of the person H in opposite directions.

すなわち、左右両大腿部Dl,Drが、膨出部30aのクッション材32,34を介して、側部用フレーム31に押圧当接した際に、反力が働き、その反力が、左右両大腿部Dl,Drに対して主たる押圧力(すなわち、挟圧力)として働く。なお、クッション材32による弾性力も押圧力となるが、本実施形態では、一般的な成人が使用した場合には、側部用フレーム31に押圧当接した際の反力が、クッション材32による弾性力による押圧力よりも大きくなるように、各部材の配置関係や、弾性力を備えた材質の選定により、設定されている。一対の側部用フレーム31は、図2に示すように互いに対向しているため、各側部用フレーム31から作用する反力は、互いに反対方向の向きとなる。   That is, when both the left and right thighs Dl and Dr are pressed against the side frame 31 via the cushion members 32 and 34 of the bulging portion 30a, a reaction force acts, and the reaction force is It acts as the main pressing force (that is, pinching force) for both thighs Dl and Dr. In addition, although the elastic force by the cushion material 32 also becomes a pressing force, in this embodiment, when the general adult uses, the reaction force at the time of pressing contact | abutting to the side frame 31 is the cushion material 32. It is set by the arrangement relationship of each member and the selection of the material having the elastic force so as to be larger than the pressing force by the elastic force. Since the pair of side frames 31 face each other as shown in FIG. 2, the reaction forces acting from the side frames 31 are directed in opposite directions.

そして、図5に示すように、退避空間Tには、左右の両大腿部の一部がそれぞれ退避して入ることとも相まって、左右両大腿部Dl,Drは、左右両側方から働く押圧力が同時に作用し、図4(b)に示すように人Hの骨盤Bにずれ(ゆがみ)があっても補整できる(図4(a)参照)。   Then, as shown in FIG. 5, the left and right thighs Dl and Dr are pushed from both the left and right sides together with a part of the left and right thighs retracting into the retreat space T. Pressure acts simultaneously, and even if there is a shift (distortion) in the pelvis B of the person H as shown in FIG. 4B, it can be corrected (see FIG. 4A).

O脚の人Hの場合にも、左右両大腿部Dl,Drが一対の膨出部30aにより、左右両側から押圧されるため、膝も自然に締まり補整される。このようにして、本実施形態では、弾性部材を有する膨出部30aが骨盤Bを左右両側方からサポートする。   Also in the case of a person H with an O-leg, the left and right thighs Dl and Dr are pressed from both the left and right sides by the pair of bulging portions 30a, so that the knee is naturally tightened and corrected. Thus, in this embodiment, the bulging part 30a which has an elastic member supports the pelvis B from the left-right both sides.

又、図3、6に示すように、座部20は人Hの体重により、クッション材22が、弾性変形する。又、収納空間Kの前後の長さは、成人の腰の左右両側部における前後の一般的(すなわち、平均的な)長さよりも若干短くなるように設定されているため、一般的な成人が着座すると、腰には、膨出部30aの後部と、腰当て部40からの押圧力(すなわち、挟圧力)が加わり、骨盤Bの前後方向のゆがみに対しても補整される。なお、この場合の主たる押圧力は、腰当て部用フレーム41からの反力と、側部用フレーム31を固定したクッション材32からの反力及び、クッション材32の弾性力である。   As shown in FIGS. 3 and 6, in the seat portion 20, the cushion material 22 is elastically deformed by the weight of the person H. In addition, the length of the front and rear of the storage space K is set to be slightly shorter than the front and rear general (ie, average) lengths of the left and right sides of an adult's waist. When seated, the back is subjected to a pressing force (that is, pinching pressure) from the rear portion of the bulging portion 30a and the waist pad portion 40, and the pelvis B is also compensated for distortion in the front-rear direction. The main pressing force in this case is the reaction force from the waist pad frame 41, the reaction force from the cushion material 32 to which the side frame 31 is fixed, and the elastic force of the cushion material 32.

この結果、人Hの腰は、腰当て部40に対して強制的に沿わせられて、前述した骨盤Bの補整と相まって、背骨(背筋)が正面から見て真っ直ぐとなるように補整される。
又、本実施形態では、人Hが着座すると、形が崩れていく従来のクッションとは異なり、中身は軽量フレームの入った構造のため、型崩れしにくく背中も安定しリラックスできる。
As a result, the waist of the person H is forced to follow the waist pad 40 and is corrected so that the spine (spine) is straight when viewed from the front, coupled with the correction of the pelvis B described above. .
Further, in this embodiment, unlike a conventional cushion whose shape collapses when a person H sits down, the contents are structured to include a lightweight frame, so that it is difficult to lose shape and the back can be stabilized and relaxed.

(第2実施形態)
次に、着座用家具を座椅子100に具体化した第2実施形態を図7〜12を参照して説明する。
(Second Embodiment)
Next, a second embodiment in which the seating furniture is embodied in the seat chair 100 will be described with reference to FIGS.

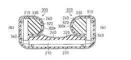
座椅子100は、図7に示すように、座部200、座部200の左右両側部に設けられた肘掛け部300、及び背もたれ部400及び足載せ部500とを備えており、左右対称に形成されている。   As shown in FIG. 7, the seat chair 100 includes a seat portion 200, armrest portions 300 provided on both left and right sides of the seat portion 200, a backrest portion 400, and a footrest portion 500. Is formed.

座部200は、金属製枠体に対して格子状等に金属線材等が配置された軽量フレームからなる座部用フレーム210と、座部用フレーム210上に配置固定された弾力のあるウレタンフォーム等の弾性材からなるクッション材220と、座部用フレーム210,クッション材220を覆う布等からなるカバー240とを備えている。   The seat portion 200 includes a seat frame 210 made of a lightweight frame in which metal wires or the like are arranged in a grid pattern or the like with respect to a metal frame, and a resilient urethane foam that is disposed and fixed on the seat frame 210. And a cover 240 made of cloth or the like covering the seat frame 210 and the cushion material 220.

肘掛け部300は、側部用フレーム310と、クッション材320,330と、側部用フレーム310の外側面側に配置されたクッション材340とを備え、前記カバー240により、側部用フレーム310,クッション材320,330,340が覆われている。側部用フレーム310は、金属製枠体に対して格子状等に金属線材等が配置された軽量フレームからなり、座部用フレーム210の左右両側部に対して、一体に連結されて立設されている。図8,図9に示すようにクッション材320は、弾力のあるウレタンフォーム等の弾性材から半円柱状に形成され、側部用フレーム310の内側面に対して断面半円状の曲面が内方に向かうように配置されている。クッション材330は、弾力のあるウレタンフォーム等の弾性材からシート状に形成され、前記カバー240内において、側部用フレーム310及びクッション材340の上面及び外側面を覆うように配置されている。   The armrest portion 300 includes a side frame 310, cushion materials 320 and 330, and a cushion material 340 disposed on the outer surface side of the side frame 310. The cover 240 allows the side frame 310, The cushion materials 320, 330, and 340 are covered. The side frame 310 is a lightweight frame in which metal wires or the like are arranged in a grid pattern or the like with respect to a metal frame, and is integrally connected to both the left and right sides of the seat frame 210. Has been. As shown in FIGS. 8 and 9, the cushion material 320 is formed in a semi-cylindrical shape from an elastic material such as elastic urethane foam, and a curved surface having a semicircular cross section is formed on the inner surface of the side frame 310. It is arranged to head towards. The cushion material 330 is formed in a sheet shape from an elastic material such as elastic urethane foam, and is disposed in the cover 240 so as to cover the upper surface and the outer surface of the side frame 310 and the cushion material 340.

肘掛け部300の座部200上面からの高さは、座部200に人(例えば成人)が着座したときに、図11に示すように肘Eが載る高さ15〜20cm程度に設定されている。なお、この高さは、前記数値に限定されるものではなく、このクッションが使用される人の大きさに合わせて適宜設定してよい。   The height of the armrest portion 300 from the upper surface of the seat portion 200 is set to about 15 to 20 cm at which the elbow E is placed as shown in FIG. 11 when a person (for example, an adult) sits on the seat portion 200. . In addition, this height is not limited to the said numerical value, You may set suitably according to the magnitude | size of the person who uses this cushion.

又、一対の肘掛け部300の間隔は、成人用の一般的な肘掛け部付きの椅子等に比較して、狭くされている。肘掛け部300においてクッション材320が配置された部位は、押圧部としての膨出部300aとされている。第2実施形態においても、第1実施形態の膨出部30aと膨出部300aの離間距離は同様とされており、その機能は、同じであるため、膨出部300aの機能説明を省略する。第2実施形態では、第1実施形態と異なり、退避空間Tは形成されておらず、図12に示すように、膨出部300aの最も突出した部位で、大腿部を押圧可能である。   The distance between the pair of armrests 300 is narrower than that of a general chair with an armrest for adults. A portion of the armrest portion 300 where the cushion material 320 is disposed is a bulging portion 300a as a pressing portion. Also in the second embodiment, the distance between the bulging portion 30a and the bulging portion 300a in the first embodiment is the same, and the function thereof is the same, so the functional description of the bulging portion 300a is omitted. . In the second embodiment, unlike the first embodiment, the evacuation space T is not formed, and as shown in FIG. 12, the thigh can be pressed at the most protruding portion of the bulging portion 300a.

ここで、側部用フレーム310は、支持フレームに相当し、クッション材320,330は、弾性部材に相当する。
背もたれ部400は、背もたれ用フレーム410と、背もたれ用フレーム410の前面側及び後面側に配置されたクッション材420とを備え、前記カバー240により、背もたれ用フレーム410,クッション材420が覆われている。背もたれ用フレーム410は、金属製枠体に対して格子状等に金属線材等が配置された軽量フレームからなり、座部用フレーム210の後部に対して、リクライニング機構部270を介して連結されている。
Here, the side frame 310 corresponds to a support frame, and the cushion materials 320 and 330 correspond to elastic members.
The backrest 400 includes a backrest frame 410 and a cushioning material 420 disposed on the front side and the backside of the backrest frame 410. The cover 240 covers the backrest frame 410 and the cushioning material 420. . The backrest frame 410 is a lightweight frame in which metal wires or the like are arranged in a grid pattern or the like with respect to a metal frame body, and is connected to the rear portion of the seat frame 210 via a reclining mechanism portion 270. Yes.

リクライニング機構部270は、背もたれ用フレーム410を座部用フレーム210に対して、所定角度の範囲において、段階的に位置させることが設定可能な公知のリクライニング機構である。リクライニング機構部270により、本実施形態では、背もたれ用フレーム410は、図10に示すように、座部用フレーム210に対して90度近くの角度位置から180度となるように角度位置までの範囲で、所定角度毎に、位置してその位置に保持することが可能である。なお、リクライニング機構部270は公知であり、本発明の要部ではないため、詳細な説明を省略する。クッション材420は、弾力のあるウレタンフォーム等の弾性材から形成され、背もたれ用フレーム410の前後両側面に対して固定されている。   The reclining mechanism 270 is a known reclining mechanism that can set the backrest frame 410 relative to the seat frame 210 within a predetermined angle range. In the present embodiment, the reclining mechanism unit 270 causes the backrest frame 410 to range from an angular position close to 90 degrees to an angular position with respect to the seat frame 210, as shown in FIG. Thus, it is possible to position and hold at that position for each predetermined angle. The reclining mechanism unit 270 is known and is not a main part of the present invention, and thus detailed description thereof is omitted. The cushion material 420 is formed of an elastic material such as elastic urethane foam, and is fixed to both front and rear side surfaces of the backrest frame 410.

足載せ部500は、足載せ用フレーム510と、足載せ用フレーム510の上面側及び下面側に配置されたクッション材520とを備え、前記カバー240により、足載せ用フレーム510,クッション材520が覆われている。足載せ用フレーム510は、金属製枠体に対して格子状等に金属線材等が配置された軽量フレームからなり、座部用フレーム210の前部に対して、前記リクライニング機構部270と同じ原理で機能する機構部530を介して連結されている。   The footrest portion 500 includes a footrest frame 510 and a cushion material 520 disposed on the upper surface side and the lower surface side of the footrest frame 510, and the cover 240 allows the footrest frame 510 and the cushion material 520 to be disposed. Covered. The footrest frame 510 is a lightweight frame in which metal wires or the like are arranged in a grid pattern or the like with respect to a metal frame, and the same principle as the reclining mechanism portion 270 with respect to the front portion of the seat frame 210. It is connected via a mechanism portion 530 that functions in the above.

そして、この機構部530により、足載せ用フレーム510は、図10に示すように、座部用フレーム210に対して、下方へ斜状に位置する所定角度位置と、座部用フレーム210に対して180度位置となる(図10において、座部用フレーム210が水平の場合、水平位置)位置の間で、段階的に位置させ保持することが設定可能である。なお、この機構部530についても、公知であり、本発明の要部ではないため、詳細な説明を省略する。   As shown in FIG. 10, the mechanism unit 530 causes the footrest frame 510 to move downward with respect to the seating frame 210 and at a predetermined angular position obliquely downward with respect to the seating frame 210. It can be set to be positioned and held in steps between the positions that are 180 degrees (in FIG. 10, when the seat frame 210 is horizontal, the horizontal position). The mechanism portion 530 is also well known and is not a main part of the present invention, and thus detailed description thereof is omitted.

さて、第2実施形態の座椅子100においても、座椅子100に人Hが着座すると、一対の膨出部300aは、臀部の幅、腰の幅や、左右両大腿部Dl,Drの合計幅よりも狭くされているため、これらに干渉するが、膨出部30aは弾性的に変形して、左右両大腿部Dl,Drの座部200に対する着座を許容する。このように人Hが着座した状態は、図11,12に示すように、一対の膨出部300aは、人Hの左右両大腿部Dl,Drを互いに反対方向に押圧する。   Now, also in the seat chair 100 of 2nd Embodiment, if the person H sits down on the seat chair 100, a pair of bulging part 300a will be the width | variety of a buttocks, the width | variety of a waist, and both right and left thigh parts D1, Dr. However, the bulging portion 30a is elastically deformed to allow the right and left thighs Dl and Dr to be seated on the seat portion 200. When the person H is seated in this way, as shown in FIGS. 11 and 12, the pair of bulging portions 300a press the left and right thighs Dl and Dr of the person H in opposite directions.

すなわち、左右両大腿部Dl,Drが、膨出部300aのクッション材320,330を介して、側部用フレーム310に押圧当接した際に、反力が働き、その反力が、左右両大腿部Dl,Drに対して主たる押圧力(すなわち、挟圧力)として働く。なお、クッション材320による弾性力も押圧力となるが、本実施形態では、一般的な成人が使用した場合には、側部用フレーム310に押圧当接した際の反力が、クッション材320,330による弾性力による押圧力よりも大きくなるように、各部材の配置関係や、弾性力を備えた材質の選定により、設定されている。一対の側部用フレーム310は、図9に示すように互いに対向しているため、各側部用フレーム310から作用する反力は、互いに反対方向の向きとなる。   That is, when both the left and right thighs Dl and Dr are pressed against the side frame 310 via the cushion members 320 and 330 of the bulging portion 300a, a reaction force acts, and the reaction force is It acts as the main pressing force (that is, pinching force) for both thighs Dl and Dr. In addition, although the elastic force by the cushion material 320 also becomes a pressing force, in this embodiment, when a general adult uses, the reaction force when pressing and contacting the side frame 310 is the cushion material 320, It is set by the arrangement relationship of each member and selection of the material having the elastic force so as to be larger than the pressing force by the elastic force by 330. Since the pair of side frames 310 are opposed to each other as shown in FIG. 9, the reaction forces acting from the side frames 310 are directed in opposite directions.

そして、左右両大腿部Dl,Drは、左右両側方から働く押圧力が同時に作用するため、図4(b)に示すように人Hの骨盤Bにずれ(ゆがみ)があっても補整できる(図4(a)参照)。又、O脚の人Hの場合にも、左右両大腿部Dl,Drが一対の膨出部300aにより、左右両側から押圧されるため、膝も自然に締まり補整される。このようにして、第2実施形態においても、弾性部材としてのクッション材320,330を有する膨出部300aが骨盤Bを左右両側方からサポートする。   The left and right thighs Dl and Dr can be compensated even if there is a shift (distortion) in the pelvis B of the person H as shown in FIG. (See FIG. 4 (a)). In the case of a person H with O-legs, the left and right thighs Dl and Dr are pressed from the left and right sides by the pair of bulging portions 300a, so that the knee is naturally tightened and corrected. Thus, also in 2nd Embodiment, the bulging part 300a which has the cushion materials 320 and 330 as an elastic member supports the pelvis B from right-and-left both sides.

又、第2実施形態によれば、座椅子100のクッション材420,220,520の形状設定によって、人Hの全身を背後から包みようにすることもできるため、リラックス感を享受することが可能である。   Moreover, according to 2nd Embodiment, since the whole body of the person H can also be wrapped from the back by the shape setting of the cushion materials 420, 220, and 520 of the seat 100, it is possible to enjoy a feeling of relaxation. Is possible.

さらに、リクライニング機構部111,機構部530により、平らに配置することもできるため、本実施形態の座椅子100によれば、座椅子からペッドへと変幻自在にすることもでき、平らの状態にすると全身ストレッチを体感できる。   Further, since the reclining mechanism unit 111 and the mechanism unit 530 can be arranged flat, according to the seat chair 100 of the present embodiment, the seat chair can be changed into a pedestal. When in a state, you can experience full body stretch.

(第3実施形態)
次に、着座用家具を椅子600に具体化した第3実施形態を図13〜16を参照して説明する。
(Third embodiment)
Next, a third embodiment in which the seating furniture is embodied in the chair 600 will be described with reference to FIGS.

図13に示すように椅子600は、座部620、及び背もたれ部640、及び、座部620を支持する脚650を備えており、左右対称に形成されている。
座部620は、金属線材等にて所定の枠体に形成された座部用フレーム621を備えている。図15(a)に示すように、座部用フレーム621の正面中央には、ベース626が固定されている。又、座部用フレーム621の下部には、脚650が固定され、該座部用フレーム621を支持している。座部用フレーム621は、支持フレームに相当する。
As shown in FIG. 13, the chair 600 includes a seat 620, a backrest 640, and legs 650 that support the seat 620, and is formed symmetrically.
The seat portion 620 includes a seat portion frame 621 formed in a predetermined frame body with a metal wire or the like. As shown in FIG. 15A, a base 626 is fixed to the center of the front surface of the seat frame 621. A leg 650 is fixed to the lower portion of the seat frame 621 to support the seat frame 621. The seat frame 621 corresponds to a support frame.

図15(a)に示すように、椅子600を正面から見て、左右には、座部用フレーム621上にクッション材622,623と、クッション材622,623,座部用フレーム621の一部,クッション材622を覆うクッション材625と、クッション材622を覆う布等からなるカバー624とを備えている。クッション材622,623,625は、弾力のあるウレタンフォーム等の弾性材からなる。クッション材622は、断面半円柱状に形成されており、弾性部材に相当する。   As shown in FIG. 15A, when the chair 600 is viewed from the front, the cushion material 622, 623, the cushion material 622, 623, and a part of the seat frame 621 are placed on the seat frame 621 on the left and right. , A cushion material 625 covering the cushion material 622, and a cover 624 made of a cloth or the like covering the cushion material 622. The cushion materials 622, 623, and 625 are made of an elastic material such as elastic urethane foam. The cushion material 622 is formed in a semi-cylindrical cross section and corresponds to an elastic member.

左右に配置された各クッション材622,623は、図15に示すように、中央から、それぞれ左右に斜め上方に延びる座部用フレーム621に対して、固定支持されている。このことにより、左右の各クッション材622が左右両大腿部Dl,Drにて押圧された際に、クッション材622を介して座部用フレーム621に反力が生じ、前記左右両大腿部Dl,Drに対して、該反力を押圧力として作用するようにしている。又、左右のクッション材622を介して座部用フレーム621に生じた各反力は、該クッション材622を支持する部位が、互いに向き合う側に斜状に配置されているため、ベクトル的に分解すると、互いに反対方向成分を持っている。座部用フレーム621は、支持フレームに相当する。   As shown in FIG. 15, the cushion members 622 and 623 arranged on the left and right sides are fixedly supported with respect to a seat frame 621 that extends obliquely upward and leftward from the center, respectively. As a result, when the left and right cushion members 622 are pressed by the left and right thighs Dl and Dr, a reaction force is generated in the seat frame 621 via the cushion members 622, and the left and right thighs The reaction force acts as a pressing force on Dl and Dr. In addition, each reaction force generated in the seat frame 621 via the left and right cushion members 622 is decomposed in a vector form because the portions supporting the cushion members 622 are arranged obliquely on the sides facing each other. Then, they have mutually opposite direction components. The seat frame 621 corresponds to a support frame.

クッション材622,623は、座部620において、左右一対設けて設けられており、これらのクッション材622,623により、図15(a)に示すように、座部620は左右側部上面である座面が高く、それに対して、中央の座面は、同図に示すように、半円弧状に凹部810が形成されて、低くされている。又、凹部810は、後部へ行くほど、又、下に行くほど狭くなるようにされている。すなわち、人Hが着座した際に、凹部810に誘導されて臀部Dnが、自然と沈み込むようにされている。該凹部810に人Hが着座した際には、該凹部810の下部は、ベース626にて支持される。   The cushion members 622 and 623 are provided as a pair on the left and right sides in the seat portion 620. With these cushion materials 622 and 623, the seat portion 620 is the upper surface of the left and right side portions as shown in FIG. On the other hand, the seating surface is high, and the center seating surface is lowered by forming a concave portion 810 in a semicircular arc shape as shown in FIG. Further, the concave portion 810 is made narrower as it goes to the rear or down. That is, when the person H is seated, the heel part Dn is naturally submerged by being guided by the recessed part 810. When a person H sits in the recess 810, the lower portion of the recess 810 is supported by the base 626.

又、この左右の座面が高い部位は、一対の押圧部700とされている。一対の押圧部700の距離は、一般の成人の左右両大腿部のそれぞれを図16に示すように、斜状に押圧可能な長さとされている。又、図15(b)に示すように、座部620の押圧部700は、前部よりも後部側の方が低くなるように斜状に配置されている。   Moreover, the part where the left and right seating surfaces are high serves as a pair of pressing portions 700. The distance between the pair of pressing portions 700 is such that each of the left and right thighs of a general adult can be pressed obliquely as shown in FIG. Further, as shown in FIG. 15B, the pressing portion 700 of the seat portion 620 is arranged in an oblique manner so that the rear portion side is lower than the front portion.

又、座部620の後部の中央は、図14に示すように、後述する背もたれ部640との間に下方及び後方に開放された貫通部800が形成されている。貫通部800は、図14に示すように、一般的(平均的)な成人の臀部Dnが入り込む程度の大きさとされている。   Further, as shown in FIG. 14, a through portion 800 opened downward and rearward is formed between the seat portion 620 and the backrest portion 640 described later. As shown in FIG. 14, the penetrating part 800 has a size that allows a general (average) buttocks Dn of an adult to enter.

背もたれ部640は、座部用フレーム621から延びた支持部材660を介して固定されている。背もたれ部640は背もたれ用フレーム655、背もたれ用フレーム655の全面に支持されたクッション材652,653,及び、それらを覆うように設けられた布等からなるカバー654とを備えている。   The backrest 640 is fixed via a support member 660 extending from the seat frame 621. The backrest portion 640 includes a backrest frame 655, cushion materials 652, 653 supported on the entire surface of the backrest frame 655, and a cover 654 made of cloth or the like provided to cover them.

図15に示すように背もたれ用フレーム655は、上下方向に延びる中心線(図示しない)を中心に左右対称に設けられて、一対配置されており、各背もたれ用フレーム655に対応した部分にクッション材652が配置されることにより、背もたれ部640の前面には、膨らみFが形成されている。このクッション材652による左右一対の膨らみFにより、背もたれ部640の前記中心線に沿うように背中がもたれた場合、人Hの背骨を真っ直ぐになるようにサポートする。   As shown in FIG. 15, the backrest frame 655 is provided symmetrically about a center line (not shown) extending in the vertical direction, and a pair of the backrest frames 655 are arranged, and a cushion material is provided at a portion corresponding to each backrest frame 655. By disposing 652, a bulge F is formed on the front surface of the backrest 640. When the back rests along the center line of the backrest portion 640 by the pair of left and right bulges F by the cushion material 652, the spine of the person H is supported so as to be straight.

さて、上記のように構成された第3実施形態の椅子600では、人Hが着座すると、座部620において、凹部810を中心として一対の押圧部700が、人Hの体重により弾性変形して沈み込む。   In the chair 600 according to the third embodiment configured as described above, when the person H is seated, the pair of pressing parts 700 are elastically deformed by the weight of the person H in the seat part 620 with the recess 810 as the center. Sink.

そして、該クッション材622を支持する部位が、互いに向き合う側に斜状に配置されているため、左右のクッション材622を介して座部用フレーム621に生じた各反力Fa,Fbは、鉛直方向及び水平方向にベクトル的に分解すると、互いに反対方向成分f1,f2を持っている。このため、このように人Hが着座した状態は、図16に示すように、座部620の一対の押圧部700は、人Hの左右両大腿部Dl,Drを、互いに反対方向成分の押圧力により、互いに反対方向に押圧する。   And since the part which supports this cushioning material 622 is arrange | positioned diagonally on the side which mutually faces, each reaction force Fa and Fb which arose to the seat part frame 621 via the right and left cushioning material 622 is perpendicular | vertical. When the vector and horizontal directions are decomposed, they have opposite direction components f1 and f2. Therefore, when the person H is seated in this way, as shown in FIG. 16, the pair of pressing parts 700 of the seat part 620 causes the left and right thighs Dl and Dr of the person H to have components in opposite directions. Pressing in opposite directions by pressing force.

そして、左右両大腿部Dl,Drは、左右両側方から働く押圧力が同時に作用するため、図4(b)に示すように人Hの骨盤Bにずれ(ゆがみ)があっても補整できる(図4(a)参照)。又、O脚の人Hの場合にも、左右両大腿部Dl,Drが一対の沈み込みした700により、左右両側から押圧されるため、膝も自然に締まり補整される。このようにして、第3実施形態においても、弾性部材としてのクッション材622を有する押圧部700が骨盤Bを左右両側方からサポートする。   The left and right thighs Dl and Dr can be compensated even if there is a shift (distortion) in the pelvis B of the person H as shown in FIG. (See FIG. 4 (a)). Also, in the case of a person H with an O-leg, the left and right thighs Dl and Dr are pressed from both the left and right sides by a pair of depressed 700, so that the knee is naturally tightened and corrected. Thus, also in 3rd Embodiment, the press part 700 which has the cushioning material 622 as an elastic member supports the pelvis B from right-and-left both sides.

このように、第3実施形態では、座部620の凹部810が、下に行くほど狭くなっている構造のため、体重により臀部Dnを凹部810内側へと自然に誘い込みしてサポートできる。   Thus, in 3rd Embodiment, since the recessed part 810 of the seat part 620 becomes narrow so that it goes down, the collar part Dn can be naturally drawn in and supported by the inside of the recessed part 810 with a weight.

又、座部620に形成した貫通部800は臀部Dnが図14に示すように、位置するため、座骨の負担を軽減し、無理な圧力が座骨にかかることがない。このようにして、第3実施形態では、骨盤のゆがみや広がりを自然に補うことができる。   Further, since the penetrating portion 800 formed in the seat portion 620 is positioned as shown in FIG. 14, the burden on the seat bone is reduced, and excessive pressure is not applied to the seat bone. In this way, in the third embodiment, distortion and spread of the pelvis can be naturally compensated.

さらに、第3実施形態では、背もたれ部640に設けた2つの膨らみFが、背骨を両サイドからサポートできるため、硬くなった背筋をほぐしながら姿勢を真っ直ぐキープすることができる。加えて、人Hの背部を支えながら臀部Dnが沈み込む構造により、無理なくゆがんだ姿勢を補整でき、リラックス感をもって着座することができる。   Furthermore, in the third embodiment, the two bulges F provided on the backrest 640 can support the spine from both sides, so that the posture can be kept straight while loosening the stiff spine. In addition, the structure in which the buttocks Dn sink while supporting the back of the person H can compensate for the distorted posture without difficulty and can sit with a relaxed feeling.

なお、本発明は前記実施形態に限定するものではなく下記のように変更してもよい。
○ 第2実施形態では一対の肘掛け部300を固定しているが、両肘掛け部300を互いに接近離間の方向において位置調節自在に設けてもよい。位置調節自在にするための機構は、スライド機構や、回転機構で実現することができ、ノッチ等により、段階的にできれば好ましい。このようにすると、使う人によって、大腿部に対する押圧力の調整が可能となる。
In addition, this invention is not limited to the said embodiment, You may change as follows.
In the second embodiment, the pair of armrests 300 are fixed, but both armrests 300 may be provided so that their positions can be adjusted in the direction of approaching and separating from each other. The mechanism for allowing the position to be adjusted can be realized by a slide mechanism or a rotation mechanism, and it is preferable if it can be stepped by a notch or the like. In this way, the pressing force on the thigh can be adjusted by the user.

第1実施形態のクッションの斜視図。The perspective view of the cushion of a 1st embodiment. 第1実施形態のクッションの要部面図。The principal part side view of the cushion of 1st Embodiment. 第1実施形態のクッションの要部面図。The principal part side view of the cushion of 1st Embodiment. (a)、(b)は、人の骨盤の状態を示す説明図。(A), (b) is explanatory drawing which shows the state of a human pelvis. 第1実施形態のクッションの作用を示す説明図。Explanatory drawing which shows the effect | action of the cushion of 1st Embodiment. 第1実施形態のクッションの作用を示す説明図。Explanatory drawing which shows the effect | action of the cushion of 1st Embodiment. 第2実施形態の座椅子の斜視図。The perspective view of the seat chair of 2nd Embodiment. 第2実施形態の座椅子の要部断面図。Sectional drawing of the principal part of the seat chair of 2nd Embodiment. 第2実施形態の押圧部の要部断面図。Sectional drawing of the principal part of the press part of 2nd Embodiment. 第2実施形態の座椅子の縦断面図。The longitudinal cross-sectional view of the seat chair of 2nd Embodiment. 第2実施形態の作用を示す説明図。Explanatory drawing which shows the effect | action of 2nd Embodiment. 第2実施形態の作用を示す説明図。Explanatory drawing which shows the effect | action of 2nd Embodiment. 第3実施形態の椅子の斜視図。The perspective view of the chair of 3rd Embodiment. 第3実施形態の椅子の作用を示す説明図。Explanatory drawing which shows the effect | action of the chair of 3rd Embodiment. (a)は椅子の要部断面図,(b)は(a)の1−1線断面断面図。(A) is principal part sectional drawing of a chair, (b) is the 1-1 sectional view taken on the line of (a). 第3実施形態の椅子の作用を示し、図14の2−2線で断面視した場合の説明図。Explanatory drawing when showing the effect | action of the chair of 3rd Embodiment, and carrying out the cross sectional view by the 2-2 line of FIG.

符号の説明Explanation of symbols

10…クッション、20…座部、30…肘掛け部、30a…膨出部(押圧部)
31…側部用フレーム(支持フレーム)、32,34…クッション材(弾性部材)
40…腰当て部、200…座部、300…肘掛け部、310…側部用フレーム(支持フレーム)、320,330…クッション材(弾性部材)、620…座部、621…座部用フレーム(支持フレーム)、622…クッション材(弾性部材)。
DESCRIPTION OF SYMBOLS 10 ... Cushion, 20 ... Seat part, 30 ... Armrest part, 30a ... Swelling part (pressing part)
31 ... Frame for side part (support frame), 32, 34 ... Cushion material (elastic member)
40 ... waist rest part, 200 ... seat part, 300 ... armrest part, 310 ... side frame (support frame), 320, 330 ... cushion material (elastic member), 620 ... seat part, 621 ... frame for seat part ( Support frame), 622... Cushion material (elastic member).

Claims (5)

座部の左右両側部に、該座部に着座した人の左右両大腿に当接して、互いに反対方向に向かう押圧力にて押圧する一対の押圧部を設けたことを特徴とする着座用家具。   Seating furniture characterized in that a pair of pressing portions are provided on both the left and right sides of the seat portion so as to come into contact with both left and right thighs of a person seated on the seat portion and to press with opposite pressing forces. . 前記押圧部は、弾性部材と該弾性部材をバックアップする支持フレームを備えており、
前記押圧部を、着座した人の大腿部に対し、前記弾性部材を介して前記支持フレームに対して当接するように配置しことを特徴とする請求項1に記載の着座用家具。
The pressing portion includes an elastic member and a support frame that backs up the elastic member.
The seating furniture according to claim 1, wherein the pressing portion is disposed so as to abut against the support frame via the elastic member with respect to a thigh of a seated person.
前記座部の左右両側部には肘掛け部を形成し、
前記押圧部は、該肘掛け部から膨出形成された有弾性の膨出部であり、該膨出部を、人の左右両大腿を挟圧可能に配置したことを特徴とする請求項1に記載の着座用家具。
Forming armrests on the left and right sides of the seat,
2. The pressing portion according to claim 1, wherein the pressing portion is an elastic bulging portion bulging from the armrest portion, and the bulging portion is disposed so as to be able to pinch both left and right thighs. Seating furniture as described.
前記座部は、腰当て部を備え、該腰当て部に着座した人の腰を当てた状態で、前記一対の押圧部により人の左右両大腿を挟圧可能に配置されていることを特徴とする請求項2に記載の着座用家具。   The seat part includes a waist pad part, and is arranged so that the left and right thighs of the person can be clamped by the pair of pressing parts in a state where the waist of the person seated on the waist pad part is applied. The seating furniture according to claim 2. 前記一対の押圧部は、前部間が、後部間よりも狭い間隔を有するように形成したことを特徴とする請求項1乃至請求項4のうちいずれか1項に記載の着座用家具。   The seating furniture according to any one of claims 1 to 4, wherein the pair of pressing portions are formed such that a space between the front portions is narrower than that between the rear portions.
JP2005160601A 2005-05-31 2005-05-31 Sitting furniture Pending JP2006334025A (en)

Priority Applications (1)

Application Number Priority Date Filing Date Title
JP2005160601A JP2006334025A (en) 2005-05-31 2005-05-31 Sitting furniture

Applications Claiming Priority (1)

Application Number Priority Date Filing Date Title
JP2005160601A JP2006334025A (en) 2005-05-31 2005-05-31 Sitting furniture

Publications (1)

Publication Number Publication Date
JP2006334025A true JP2006334025A (en) 2006-12-14

Family

ID=37555088

Family Applications (1)

Application Number Title Priority Date Filing Date
JP2005160601A Pending JP2006334025A (en) 2005-05-31 2005-05-31 Sitting furniture

Country Status (1)

Country Link
JP (1) JP2006334025A (en)

Cited By (6)

* Cited by examiner, † Cited by third party
Publication number Priority date Publication date Assignee Title
JP2010104635A (en) * 2008-10-31 2010-05-13 Global Co Ltd Leg twisting exercise device
CN101828821A (en) * 2009-03-10 2010-09-15 是永惠子 Mounting device for stabilizing thighs
JP2011041768A (en) * 2009-08-24 2011-03-03 Isamu Suzuki Block for manual therapeutics
KR101032694B1 (en) 2010-11-11 2011-05-06 이소정 Pelvic brace to correct gaps in the long bones and pubis
CN104224420A (en) * 2014-08-29 2014-12-24 温州市川洋妇婴用品有限公司 Puerperal pelvis correction and recovery device
WO2015080231A1 (en) * 2013-11-29 2015-06-04 株式会社 Mtg Posture holder

Cited By (8)

* Cited by examiner, † Cited by third party
Publication number Priority date Publication date Assignee Title
JP2010104635A (en) * 2008-10-31 2010-05-13 Global Co Ltd Leg twisting exercise device
CN101828821A (en) * 2009-03-10 2010-09-15 是永惠子 Mounting device for stabilizing thighs
JP2011041768A (en) * 2009-08-24 2011-03-03 Isamu Suzuki Block for manual therapeutics
KR101032694B1 (en) 2010-11-11 2011-05-06 이소정 Pelvic brace to correct gaps in the long bones and pubis
WO2015080231A1 (en) * 2013-11-29 2015-06-04 株式会社 Mtg Posture holder
CN105848612A (en) * 2013-11-29 2016-08-10 株式会社Mtg posture maintaining device
JPWO2015080231A1 (en) * 2013-11-29 2017-03-16 株式会社 Mtg Posture holder
CN104224420A (en) * 2014-08-29 2014-12-24 温州市川洋妇婴用品有限公司 Puerperal pelvis correction and recovery device

Similar Documents

Publication Publication Date Title
JP7594046B2 (en) Posture support device
EP2559358B1 (en) Lumbar support seat
US11882940B2 (en) Cushion body for sitting
JP6028108B2 (en) Chair
JP5439046B2 (en) Chair type massage machine
JP2006334025A (en) Sitting furniture
JP7051217B2 (en) Seat cushion
JP3137036U (en) Chair
WO2008018117A1 (en) Chair
JP6923398B2 (en) Cushions and wheelchairs
JP2010004967A (en) Pelvis cushion
JP3249162U (en) chair
JP3245175U (en) Chair
JP3245958U (en) Chair
JP4596461B2 (en) Chair
JP3249163U (en) chair
JP7656355B2 (en) Back pain prevention chair
KR101712824B1 (en) Dual-back chair
KR102487012B1 (en) Auxiliary chair for posture correction to fix the leg gap
JP7049714B1 (en) Cushion for chair
JP3230846U (en) Posture adjuster
JP2007125106A (en) Chair and pad for chair
JP3100529U (en) Naturopathic spine correction chair
KR200345141Y1 (en) A chair
KR20210085228A (en) Chair