JP2006315803A - ウインチの張力検出方法および装置 - Google Patents
ウインチの張力検出方法および装置 Download PDFInfo
- Publication number
- JP2006315803A JP2006315803A JP2005139449A JP2005139449A JP2006315803A JP 2006315803 A JP2006315803 A JP 2006315803A JP 2005139449 A JP2005139449 A JP 2005139449A JP 2005139449 A JP2005139449 A JP 2005139449A JP 2006315803 A JP2006315803 A JP 2006315803A
- Authority
- JP
- Japan
- Prior art keywords
- gear
- winch
- tension
- capstan
- load
- Prior art date
- Legal status (The legal status is an assumption and is not a legal conclusion. Google has not performed a legal analysis and makes no representation as to the accuracy of the status listed.)
- Pending
Links
- 238000000034 method Methods 0.000 title abstract description 7
- 230000007246 mechanism Effects 0.000 claims abstract description 19
- 238000006243 chemical reaction Methods 0.000 claims abstract description 16
- 238000001514 detection method Methods 0.000 claims description 10
- 230000005540 biological transmission Effects 0.000 claims description 4
- 239000003638 chemical reducing agent Substances 0.000 abstract description 6
- 230000009471 action Effects 0.000 abstract description 3
- 238000012544 monitoring process Methods 0.000 abstract description 3
- 238000010276 construction Methods 0.000 description 8
- 238000006073 displacement reaction Methods 0.000 description 3
- 239000012530 fluid Substances 0.000 description 3
- 238000003754 machining Methods 0.000 description 3
- 230000009467 reduction Effects 0.000 description 3
- 238000007796 conventional method Methods 0.000 description 2
- 238000004804 winding Methods 0.000 description 2
- 230000008901 benefit Effects 0.000 description 1
- 238000002485 combustion reaction Methods 0.000 description 1
- 238000009826 distribution Methods 0.000 description 1
- 238000009434 installation Methods 0.000 description 1
- 238000012423 maintenance Methods 0.000 description 1
- 238000004519 manufacturing process Methods 0.000 description 1
- 238000011084 recovery Methods 0.000 description 1
Images
Landscapes
- Force Measurement Appropriate To Specific Purposes (AREA)
Abstract
【課題】常時精度の高い張力監視が可能で軽量小型かつ携帯性もよく安価な小型ウインチに内蔵可能な張力検出方法および装置を提供する。
【解決手段】原動機とキャプスタンの間に構成する減速機に、遊星歯車減速機構を採用し、キャリア4を出力軸とし、サンギヤを入力軸1、リングギヤ3を固定要素とする。リングギヤ3の外周には外歯車を形成し、外歯車と噛み合うラックギヤ片6を設け、キャプスタンの駆動反力を前記外歯車を介しラックギヤ片6に伝達させ外歯車とラックギヤ片6との荷重作用線と平行にラックギヤ片6を押止する押し棒7を設け押し棒7他端に荷重検出器を連設する。
【選択図】図1
【解決手段】原動機とキャプスタンの間に構成する減速機に、遊星歯車減速機構を採用し、キャリア4を出力軸とし、サンギヤを入力軸1、リングギヤ3を固定要素とする。リングギヤ3の外周には外歯車を形成し、外歯車と噛み合うラックギヤ片6を設け、キャプスタンの駆動反力を前記外歯車を介しラックギヤ片6に伝達させ外歯車とラックギヤ片6との荷重作用線と平行にラックギヤ片6を押止する押し棒7を設け押し棒7他端に荷重検出器を連設する。
【選択図】図1
Description
本願発明は、キャプスタンウインチの張力検出方法および装置に関係するものである。
キャプスタンウインチは、キャプスタンと呼ばれる鼓状のドラムにロープを数回巻き回し、ドラムを駆動すると同時に荷重と反対側(尻手側という)のロープを引くことにより、キャプスタンとロープとの間の摩擦力により荷重側張力の数分の1から数百分の1の尻手側張力を与えることで荷重を引くことができるウインチである。
ドラムにロープを巻き取ることがないのでドラム上のロープは常に1層であり、巻いたロープは尻手側に送る動作をすることからエンドレスウインチとも呼ばれており、ドラムにロープの巻き太りが無いため、ロープの張力とドラムの駆動トルクは比例し、定トルクでドラムを駆動した場合、巻取り張力が安定した工事が可能で、ドラム上のロープの掛け替えも容易なことから、長距離のワイヤロープ延線を行う送電線工事、電設ケーブル工事等に多く使用されている。
前記工事では荷重である電線や、ケーブルの性能品質維持を図るため施工中の延線張力を把握し、管理する目的で延線ロープの張力を検出し張力監視およびそれに基づくウインチ駆動制御が求められようになってきている。
キャプスタンウインチのロープ張力検出方法には、電動式ウインチの場合、駆動源である電動機入力電流を電流計または電圧計で表示し張力に換算する方法、油圧式ウインチでは油圧モータを駆動する作動油圧を油圧計に表示しこの読みを張力に換算する方法が一般的に知られている。
しかしながら、これらの方法は動力が停止し、ブレーキが作動した状態では、荷重はブレーキによって保持されるため電動機入力または作動油圧は現れず、当然表示もされない。また、動作中にあってはキャプスタンまでの動力伝達機構である減速機や油圧回路の損失が回転数や周囲温度等の使用条件で変化するため荷重による張力表示に影響し張力の表示精度が悪くなる欠点があった。
そこでこれらの欠点を解消すべくより直接的に張力を検出する次の3通りの方法が提案されている。
歪みゲージ式: 図4に示すように、キャプスタン軸に歪みゲージを貼りロープ張力によるキャプスタン軸トルクによる軸のねじり変位を電気的に検出し、ブリッジ回路とアンプ回路を通して張力に換算して電気計器により表示させるものである。
3点張力計式: キャプスタンウインチの機構と別に図5に示すようなシーブを用いてロープを3点で支え、中央のシーブにかかるロープ張力による合力をロードセルなどの荷重検出器で検出し張力に換算する方法である。
遊星反力検出式: キャプスタンと原動機側の間にある減速機に遊星歯車機構を内蔵し、固定要素に働く荷重のトルク反力を検出し張力に換算する方法で、例えばキャリアが出力でリングギヤが入力の場合はサンギヤが固定要素となりサンギヤ軸端に固着されたトルクアームの回動を阻止するために設けられた部材との間にロードセルなど荷重検出器を設けたものでこの荷重検出器の出力を張力に換算するものである。
前記3通りの検出方法および装置によれば張力を精度良く常時監視することが可能となるが、小型で安価なキャプスタンウインチに装備するには次の問題点があった。
歪みゲージ式では軸に貼り付けた歪みゲージが軸とともに回転するので電気回路に固定側と電気的な連絡をする機構、例えばスリップリングやテレメータ装置が必要であるが、全体として装置が大型化し複雑で製造コストが高くなり、ブラシの保守や送受信機の保守面での利便性も悪かった。
3点張力計式では装置自体がウインチと別の独立した機構であるため機械全体が大型になり搬送設置に労力を要し、かつ構成部品点数が多いためコストが高くなった。
遊星反力検出式は、従来の技術にある構成方法では固定要素のトルク反力を回転力として減速機外部へ取り出し、これを制動あるいは固定するための構成部品の要素が多く、複雑化するとともにコストが高かった。
なお、本願発明に関する公知技術として次の特許文献1および実用新案文献1を挙げることができる。
上記従来の技術による張力検出方法および装置では、電気的、機械的部品構成が多く装置全体が大型化し、部品コストと組立コストが大きくなる問題があった。
本願発明が解決しようとする課題は、前記問題点を解消し、常時精度の高い張力監視が可能で軽量小型かつ携帯性もよく安価な小型ウインチに内蔵可能な張力検出方法および装置を提供することにある。
本願発明は、原動機とキャプスタンの間に構成する減速機に、遊星歯車減速機構を採用し、キャリアを出力軸すなはちキャプスタン軸とし、サンギヤを入力軸、リングギヤを固定要素とする。
リングギヤの外周には外歯車を形成し、外歯車と噛み合うラックギヤ片を設け、キャプスタンの駆動反力を前記リングギヤの外周に形成した外歯車を介しラックギヤ片に伝達され外歯車とラックギヤ片との荷重作用線と平行にラックギヤ片を押止する押し棒を設け押し棒他端に荷重検出器を連設する。
荷重検出器には、例えば洩れなく形成された液圧シリンダと圧力計で構成され、前記押し棒により伝達されたキャプスタンの駆動反力が液圧シリンダを押し、圧力を発生させ、この圧力を圧力計で表示することによりキャプスタンにかかる張力に換算して表示することが出来る。
構成部品としては減速機構としてあるリングギヤとラックギヤ片、押し棒、荷重検出器であり、部品点数が少なくまた、駆動反力を伝達する要素は一般的なインボリュート歯車とすることにより製造コストも安価になる。
なお、液圧シリンダと圧力計の回路が洩れなく構成された場合も作動液の圧縮性により押し棒から力がかかり僅かなストローク変位を生じることが考えられるが、上記の構成にすることにより、駆動反力を受ける荷重は噛み合い歯車の作用線上にあり、常に押し棒の軸方向に一致するので液圧シリンダの変位が指示張力に影響することがない。
このことは、リングギヤとラックギヤ片の位置関係についても同様なことが考えられ、構成部品の加工誤差の許容値を大きくできるので加工コストが安価になる利点もある。
なお、荷重検出器は、前記以外にもロードセルなど他の形式のものでもかまわない。
以上説明したように、本願発明により減速機内に部品点数の少ない構成で張力検出機構を設けることが可能で、小型キャプスタンウインチの全体を大型化せずコストの低い張力計付キャプスタンウインチを提供することが可能となる。また、荷重検出器に液圧シリンダのような電源の不要な装置を用いれば電動式以外の例えばエンジン式ウインチにも装備が可能となり、より機動性を求められる災害復旧工事等にも有用なウインチの提供が可能となる。
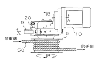
図1により本発明の実施の形態を説明する。原動機である電動機10は、ブレーキ機構13を経てベベルギヤピニオン11、ベベルギヤ12で減速されるとともに回転方向を直交方向に変更している。ベベルギヤ12は、遊星歯車機構の入力軸1を回転させる。このときリングギヤ3は固定要素として働き、遊星ギヤ2の自転とキャリア4との公転を生じさせる。キャリア4はキャプスタン5が軸着されたキャプスタン軸でもある。
遊星歯車機構によりさらに減速された駆動力はトルクを増大してキャプスタン5を回転させキャプスタン5に巻き回されたロープ50を巻き取り、図示されないロープ端に荷重がかかっていればロープに張力が発生し、この張力に応じたトルクが前記キャプスタン5からキャプスタン軸すなはちキャリア4に伝達される。
このトルクは遊星歯車機構の固定要素、すなはちリングギヤ3に反力として伝達されるがこの反力を受けるのはリングギヤ3の外周に形成された外歯車と噛み合うラックギヤ片6である。ここで外歯車とラックギヤ片が噛み合う位置は遊星歯車機構の中心線の垂線から歯車の圧力角αだけ離れた点とする。これにより歯車の作用線が中心線の水平線と一致し加工構成上好ましい。
ラックギヤ片6はリングギヤ3により水平方向に押されるがその移動を阻止する押し棒7がある。押し棒7は液圧シリンダ20のピストン8を押し、液圧シリンダ20と圧力計9およびその間の配管に圧力を発生させる。発生した圧力は圧力計9により表示され指示値は押し棒の押し力つまりロープ張力によるトルク反力に比例するので指示値はロープ張力に比例的に換算できる。
なお、電動機10は他の形式の原動機たとえば内燃機関や油圧モータのようなものでもよい。
押し棒の先端は検出シリンダロッドに密着し押し棒の動きが直接シリンダピストンを押すように形成される。
シリンダ内と圧力計の配管内には作動液が密封されておりピストンが押されることにより圧力計の指針が動く。
キャプスタンに巻かれたワイヤまたはロープの張力は前記作動液の圧力に比例することから、前記圧力計の指針が示す圧力を張力に読み換えて張力計とする。
本願発明は、小型で軽便に使用できるウインチの特徴を生かし、山岳地の架空送電線工事、狭隘な街中の配電線工事、地中線工事等の電設工事から、緊急を要する災害復旧工事などで特に張力監視が必要な分野で利用が可能である。
1 入力軸
2 遊星ギヤ
3 リングギヤ
4 キャリア
5 キャプスタン
6 ラックギヤ片
7 押し棒
8 ピストン
9 圧力計
10 電動機
11 ベベルギヤピニオン
12 べベルギヤ
13 ブレーキ機構
20 液圧シリンダ
50 ロープ
2 遊星ギヤ
3 リングギヤ
4 キャリア
5 キャプスタン
6 ラックギヤ片
7 押し棒
8 ピストン
9 圧力計
10 電動機
11 ベベルギヤピニオン
12 べベルギヤ
13 ブレーキ機構
20 液圧シリンダ
50 ロープ
Claims (3)
- 動力伝達装置に遊星歯車機構を使用したウインチであって、遊星歯車機構の固定要素としたリングギヤの外周に外歯車を形成し、この外歯車と噛み合うラックギヤ片の歯面にウインチにかかる荷重によるトルク反力を伝達し、荷重検出器により前記トルク反力を検出することを特徴としたウインチの張力検出方法。
- 動力伝達装置に遊星歯車機構を使用したウインチであって、遊星歯車機構の固定要素としたリングギヤの外周に外歯車を形成し、この外歯車と噛み合うラックギヤ片の歯面にウインチにかかる荷重によるトルク反力を伝達し、前記リングギヤに形成した外歯車とラックギヤ片の噛み合う歯面の荷重作用線と平行な方向に前記トルク反力の荷重作用方向を一致させ荷重検出器によりウインチにかかる荷重を検出することを特徴とする請求項1記載のウインチの張力検出装置。
- 荷重検出器に液圧アクチュエータを用いた請求項2記載のウインチの張力検出装置。
Priority Applications (1)
| Application Number | Priority Date | Filing Date | Title |
|---|---|---|---|
| JP2005139449A JP2006315803A (ja) | 2005-05-12 | 2005-05-12 | ウインチの張力検出方法および装置 |
Applications Claiming Priority (1)
| Application Number | Priority Date | Filing Date | Title |
|---|---|---|---|
| JP2005139449A JP2006315803A (ja) | 2005-05-12 | 2005-05-12 | ウインチの張力検出方法および装置 |
Publications (1)
| Publication Number | Publication Date |
|---|---|
| JP2006315803A true JP2006315803A (ja) | 2006-11-24 |
Family
ID=37536818
Family Applications (1)
| Application Number | Title | Priority Date | Filing Date |
|---|---|---|---|
| JP2005139449A Pending JP2006315803A (ja) | 2005-05-12 | 2005-05-12 | ウインチの張力検出方法および装置 |
Country Status (1)
| Country | Link |
|---|---|
| JP (1) | JP2006315803A (ja) |
Cited By (5)
| Publication number | Priority date | Publication date | Assignee | Title |
|---|---|---|---|---|
| CN102865960A (zh) * | 2011-07-06 | 2013-01-09 | 伟攀(上海)机械设备有限公司 | 抱钳式液压绞盘试验装置以及液压绞盘性能试验方法 |
| CN103964330A (zh) * | 2014-04-17 | 2014-08-06 | 洛阳汉鼎起重机械有限公司 | 一种卷筒与减速机的联接结构 |
| JP2016033525A (ja) * | 2015-12-11 | 2016-03-10 | 株式会社明電舎 | シャシーダイナモメータの車両固定装置 |
| EP3018089A1 (en) * | 2014-11-06 | 2016-05-11 | Ramsey Winch Company | Mechanical overload sensor system |
| US10696527B2 (en) | 2018-07-02 | 2020-06-30 | Goodrich Corporation | Hoist drive train torque sensor |
-
2005
- 2005-05-12 JP JP2005139449A patent/JP2006315803A/ja active Pending
Cited By (7)
| Publication number | Priority date | Publication date | Assignee | Title |
|---|---|---|---|---|
| CN102865960A (zh) * | 2011-07-06 | 2013-01-09 | 伟攀(上海)机械设备有限公司 | 抱钳式液压绞盘试验装置以及液压绞盘性能试验方法 |
| CN103964330A (zh) * | 2014-04-17 | 2014-08-06 | 洛阳汉鼎起重机械有限公司 | 一种卷筒与减速机的联接结构 |
| EP3018089A1 (en) * | 2014-11-06 | 2016-05-11 | Ramsey Winch Company | Mechanical overload sensor system |
| US9932212B2 (en) | 2014-11-06 | 2018-04-03 | Ramsey Winch Company | Mechanical overload sensor system |
| US10836618B2 (en) | 2014-11-06 | 2020-11-17 | Ramsey Winch Company | Mechanical overload sensor system |
| JP2016033525A (ja) * | 2015-12-11 | 2016-03-10 | 株式会社明電舎 | シャシーダイナモメータの車両固定装置 |
| US10696527B2 (en) | 2018-07-02 | 2020-06-30 | Goodrich Corporation | Hoist drive train torque sensor |
Similar Documents
| Publication | Publication Date | Title |
|---|---|---|
| KR101735849B1 (ko) | 호이스트용 구동 조립체 및 장치 | |
| NZ600438A (en) | Improvements in and relating to electrical power generation from fluid flow | |
| RU2009126561A (ru) | Система для осуществления автоматического управления полетом кайтов | |
| CN101520353B (zh) | 连续直线电机恒定推力负载测试装置 | |
| CN101598631A (zh) | 减速器用机电式动态加载装置 | |
| CN111300476A (zh) | 一种水下关节驱动模块 | |
| CN110873159A (zh) | 一种水下丝杠滑块传动装置 | |
| CN113677974B (zh) | 用于风力涡轮机的叶片的疲劳测试的激励器装置和方法 | |
| CN103091061A (zh) | 行星传动机构振动试验装置 | |
| CN103344993B (zh) | 绞车式拖缆试验系统 | |
| JP2006315803A (ja) | ウインチの張力検出方法および装置 | |
| CN118666185A (zh) | 一种电动锚绞机力矩限制装置 | |
| CN107600353B (zh) | 船用高可靠性数控减摇鳍装置及其控制方法 | |
| JP2005145699A (ja) | ウインチ装置 | |
| CN203823031U (zh) | 可同时进行扭矩检测的行星齿轮减速器 | |
| JP2001199686A (ja) | 巻取装置 | |
| CN105417420A (zh) | 一种电动锚绞机力矩限制装置 | |
| CN111141510B (zh) | 一种摩擦轮式绞车减力机构减力性能测试台 | |
| CN103939591A (zh) | 可同时进行扭矩检测的行星齿轮减速器 | |
| CN116698401A (zh) | 一种谐波减速器可靠性试验台及试验方法 | |
| CN110274723B (zh) | 一种具有防缠绕及高精度测力功能的柔索驱动装置 | |
| US1421183A (en) | ditson | |
| CN201233291Y (zh) | 电液控制绞盘智能测试台 | |
| CN205328500U (zh) | 用于塔式起重机的变幅机构的行星减速装置 | |
| US8577627B1 (en) | Cable tensioning cycling system |