JP2006315690A - Closing member, and conveyance container using the same - Google Patents

Closing member, and conveyance container using the same Download PDF

Info

Publication number
JP2006315690A
JP2006315690A JP2005137323A JP2005137323A JP2006315690A JP 2006315690 A JP2006315690 A JP 2006315690A JP 2005137323 A JP2005137323 A JP 2005137323A JP 2005137323 A JP2005137323 A JP 2005137323A JP 2006315690 A JP2006315690 A JP 2006315690A
Authority
JP
Japan
Prior art keywords
container
fitting
closing member
side edge
opening
Prior art date
Legal status (The legal status is an assumption and is not a legal conclusion. Google has not performed a legal analysis and makes no representation as to the accuracy of the status listed.)
Pending
Application number
JP2005137323A
Other languages
Japanese (ja)
Inventor
Akiyoshi Koresawa
秋好 是澤
Current Assignee (The listed assignees may be inaccurate. Google has not performed a legal analysis and makes no representation or warranty as to the accuracy of the list.)
Nissho Corp
Original Assignee
Nissho Corp
Priority date (The priority date is an assumption and is not a legal conclusion. Google has not performed a legal analysis and makes no representation as to the accuracy of the date listed.)
Filing date
Publication date
Application filed by Nissho Corp filed Critical Nissho Corp
Priority to JP2005137323A priority Critical patent/JP2006315690A/en
Publication of JP2006315690A publication Critical patent/JP2006315690A/en
Pending legal-status Critical Current

Links

Images

Landscapes

  • Bag Frames (AREA)
  • Packages (AREA)

Abstract

<P>PROBLEM TO BE SOLVED: To provide a closing member, and an inexpensive conveyance container capable of ensuring the sealability of an opening of a bag container in an opening/closing manner by using the same. <P>SOLUTION: There is provided a container frame 1 and a resin film bag container 3 to be stored therein. A flat strip-shaped opening part 32 for supplying and discharging extending from the bag container is formed in the bag container 3. In the closing member 4, a fitting recessed part 42 is formed in one side edge of a long resin base body 41, and a fitting projecting part 43 is formed on the other side edge thereof. A center portion 44 of the base body 41 is thin-walled, and by folding the base body along the center portion 44, the fitting projecting part 43 is advanced and fitted to the fitting recessed part 42. The opening part 32 for supplying and discharging is closed by fitting the fitting projecting part 43 to the fitting recessed part 42 while the opening part 32 for supplying and discharging is passed through a detachment part 45 of the closing member 4. <P>COPYRIGHT: (C)2007,JPO&INPIT

Description

本発明は閉止部材とこれを使用した搬送容器に関するものである。   The present invention relates to a closing member and a transport container using the same.

近年、流体や粉体、あるいは果実や水産品等の搬送のために従来のスチール缶やダンボール箱に代えて、再使用可能な容器枠内に樹脂フィルム製の袋容器を収納したものが利用されつつあり、その一例を図9に示す。図9において、容器枠1は、上方へ開放し側壁1が孔空きの樹脂板よりなる容器部11と、当該容器部の開口に覆着される蓋部12とからなる。蓋部12には一部に袋容器2のキャップ部21を挿通するための抜き穴13が形成されて、ラベル14で閉鎖されている。一方、袋容器2にはその一部に筒開口22が形成されてこれに上記キャップ21が装着されている。このような搬送容器を使用する場合には、袋容器2を容器枠1の容器部11内に挿置し、蓋部12の抜き穴13を閉鎖しているラベル14を一部剥がして、キャップ21が装着された袋容器2の筒開口22を外方へ引き出す(図10)。この状態で、キャップ21を外して筒開口22から袋容器2内へ流体や粉体を注入する。  In recent years, in place of conventional steel cans and cardboard boxes for transporting fluids, powders, fruits, fishery products, etc., a container made of resin film in a reusable container frame has been used. An example is shown in FIG. In FIG. 9, the container frame 1 includes a container part 11 made of a resin plate opened upward and having a perforated side wall 1, and a lid part 12 covered with the opening of the container part. The lid portion 12 is partially formed with a punch hole 13 for inserting the cap portion 21 of the bag container 2 and is closed with a label 14. On the other hand, the bag container 2 is formed with a cylindrical opening 22 in a part thereof, and the cap 21 is attached thereto. When using such a transport container, the bag container 2 is inserted into the container part 11 of the container frame 1, the label 14 that closes the hole 13 of the lid part 12 is partially peeled off, and the cap Pull out the cylindrical opening 22 of the bag container 2 to which 21 is attached (FIG. 10). In this state, the cap 21 is removed and fluid or powder is injected into the bag container 2 from the cylindrical opening 22.

なお、特許文献1には内側咬合子と外側咬合子を備えた袋用の帯状チャック体が示されている。
特開2003−93115
Patent Document 1 discloses a belt-like chuck body for a bag having an inner articulator and an outer articulator.
JP 2003-93115 A

しかし、上記従来の搬送容器では、袋容器2の一部に立体的な筒開口22を形成する必要があるために成形に手間を要し、コスト高になるという問題があった。   However, in the conventional transport container, there is a problem that since it is necessary to form the three-dimensional cylinder opening 22 in a part of the bag container 2, it takes time and effort for molding.

そこで、本発明はこのような課題を解決するもので、閉止部材と、これを使用して開閉可能に袋容器の開口のシール性を確保した安価な搬送容器を提供することを目的とする。   Therefore, the present invention solves such a problem, and an object of the present invention is to provide a closing member and an inexpensive transport container that can be opened and closed to ensure the sealing property of the opening of the bag container.

上記目的を達成するために、本第1発明の閉止部材(4)は、長尺の樹脂製基体(41)の一側縁に嵌合凹部(42)が形成されるとともに他側縁に嵌合凸部(43)が形成され、基体(41)の中央部(44)が薄肉とされて当該中央部(44)に沿って折り曲げることにより嵌合凸部(43)が嵌合凹部(42)に進入し嵌合するようになし、かつ中央部(44)にはこれに沿って延びる所定長の切離し部(45)が形成されている。本第1発明においては、袋容器の開口部を閉止部材の切離し部に挿通した後、閉止部材の中央部に沿って折り曲げて、嵌合凸部を嵌合凹部に進入嵌合させることにより、安価かつ容易に袋容器のシール性を開閉可能に確保することができる。   In order to achieve the above object, the closing member (4) of the first invention has a fitting recess (42) formed on one side edge of the long resin base (41) and fitted on the other side edge. A mating convex portion (43) is formed, the central portion (44) of the base body (41) is thinned, and the fitting convex portion (43) is bent along the central portion (44) so that the fitting convex portion (43) becomes the fitting concave portion (42 ) And a separation portion 45 having a predetermined length extending along the center portion 44 is formed in the central portion 44. In the first invention, after the opening of the bag container is inserted into the separating part of the closing member, the fitting part is bent along the central part of the closing member, and the fitting convex part enters and fits into the fitting concave part. It is possible to ensure that the bag container can be opened and closed easily and inexpensively.

本第2発明の閉止部材では、上記基体(41)の一側縁の端面(41a)と他側縁の端面(41b)を略平行に傾斜させる。本第2発明においては、上記中央部に沿って折り曲げて嵌合凸部と嵌合凹部を嵌合させた際に、基体の一側縁側と他側縁側で各端面が互いにずれる。これにより、互いにずれた両側縁を持って引っ張ることで嵌合凸部と嵌合凹部を容易に離間させてその嵌合状態を解消することができる。   In the closing member of the second aspect of the invention, the end surface (41a) on one side edge and the end surface (41b) on the other side edge of the base body (41) are inclined substantially in parallel. In the second aspect of the invention, when the fitting convex part and the fitting concave part are fitted by bending along the central part, the end faces are shifted from each other on the one side edge side and the other side edge side of the base. Thereby, the fitting convex part and the fitting concave part can be easily separated by pulling with both side edges shifted from each other, and the fitting state can be eliminated.

本第3発明の搬送容器は、容器枠(1)とその内部に収納される樹脂フィルム製の袋容器(3)を備え、当該袋容器(3)にはこれより延出する扁平な帯状の給排用開口部(32)が形成されており、当該給排用開口部(32)を本第1発明の閉止部材の切離し部(45)に挿通した状態で嵌合凸部(43)と嵌合凹部(42)を嵌合させて給排用開口部(32)を閉止してある。本第3発明においては、袋容器の扁平な帯状の給排用開口部を閉止部材の切離し部に挿通した後、閉止部材を中央部に沿って折り曲げて、嵌合凸部を嵌合凹部に進入嵌合させることにより、安価かつ容易に袋容器のシール性を開閉可能に確保することができる。   The transport container according to the third aspect of the present invention includes a container frame (1) and a resin film bag container (3) accommodated therein, and the bag container (3) has a flat belt-like shape extending therefrom. A supply / exhaust opening (32) is formed, and the supply / discharge opening (32) is inserted into the separating part (45) of the closing member according to the first aspect of the present invention. The fitting recess (42) is fitted and the supply / discharge opening (32) is closed. In this 3rd invention, after inserting the flat strip | belt-shaped supply / discharge opening part of a bag container in the separation part of a closing member, a closing member is bent along a center part, and a fitting convex part is made into a fitting recessed part. By making the fitting fit, the sealing property of the bag container can be ensured to be openable and closable inexpensively and easily.

なお、上記カッコ内の符号は、後述する実施形態に記載の具体的手段との対応関係を示すものである。   In addition, the code | symbol in the said parenthesis shows the correspondence with the specific means as described in embodiment mentioned later.

以上のように、本発明によれば、閉止部材によって、搬送容器の袋容器の開口のシール性を簡易且つ安価に確保することができる。   As described above, according to the present invention, the sealing property of the opening of the bag container of the transport container can be easily and inexpensively secured by the closing member.

(第1実施形態)
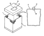
図1に本発明の搬送容器の一例を示す。搬送容器は容器枠1と袋容器3を備えており、容器枠1は従来と同一構造で、同一部分には同一符号を付してある。袋容器3は、二枚重ねにした略矩形の樹脂フィルムの外周を熱融着して袋状の容器部31としたもので、その一部は外方へ延出させられて延出端が開放し、扁平な帯状の給排用開口部32となっている。給排用開口部32を閉鎖する場合にはこれに閉止部材4を装着して行う。以下、閉止部材の詳細を説明する。
(First embodiment)
FIG. 1 shows an example of the transport container of the present invention. The transport container includes a container frame 1 and a bag container 3, and the container frame 1 has the same structure as that of the prior art, and the same reference numerals are given to the same parts. The bag container 3 is a bag-shaped container part 31 formed by heat-sealing the outer periphery of a two-layered substantially rectangular resin film. A part of the bag container 3 is extended outwardly and the extension end is opened. A flat strip-shaped supply / discharge opening 32 is formed. When the supply / discharge opening 32 is closed, the closing member 4 is attached thereto. Details of the closing member will be described below.

図2において、閉止部材4は樹脂材よりなり、上記給排用開口部32を横断するに十分な長さを有する長尺の基体41を有している。基体41は、押し出し成形等によって成形された帯状体を必要長さに切断するか、あるいは射出成形等によって予め所定の長さで成形される。上記閉止部材4を構成する合成樹脂材は要求される閉止性能に応じて、ポリプロピレンやポリエチレン、塩化ビニル等を適宜使用することができる。閉止部材4の基体41には図3に示すように、一方の側縁に沿って略U字断面の嵌合凹部42が形成され、他方の側縁にはこれに沿って傘状断面に突出する嵌合凸部43が形成されている。また、基体41の中央部44は薄肉としてあり、ここには給排用開口部32(図1)の幅よりも長く延びる切離し部45が形成されている。   In FIG. 2, the closing member 4 is made of a resin material and has a long base 41 having a length sufficient to cross the supply / discharge opening 32. The base body 41 is formed into a predetermined length by cutting a strip-like body formed by extrusion molding or the like into a required length, or by injection molding or the like. As the synthetic resin material constituting the closing member 4, polypropylene, polyethylene, vinyl chloride, or the like can be appropriately used according to the required closing performance. As shown in FIG. 3, the base 41 of the closing member 4 is formed with a fitting recess 42 having a substantially U-shaped cross section along one side edge, and protrudes into an umbrella-shaped cross section along the other side edge. The fitting convex part 43 to be formed is formed. The central portion 44 of the base body 41 is thin, and a separation portion 45 extending longer than the width of the supply / discharge opening 32 (FIG. 1) is formed here.

搬送容器を使用する場合には、袋容器3を容器枠1の容器部11内に収納し、蓋部12の抜き穴13を閉鎖するラベル14を一部剥がして給排用開口部32を容器部11外へ引き出す。そして給排用開口部32から容器部31内へ流体や粉体を注入し、その後、給排用開口部32を閉止部材4の切離し部45に通してこれを給排用開口部32に装着する。この後、閉止部材4を薄肉の中央部44で折り曲げて嵌合凸部43を嵌合凹部42内に進入させる。これにより、図4に示すように、嵌合凸部43と嵌合凹部42が嵌合状態となって閉止部材4が給排用開口部32に固定され、同時に、図5に示すように給排用開口部32が嵌合凸部43と嵌合凹部42の間で両側面が密接した状態で深く屈曲させられて、液密性および気密性を有する閉鎖状態となる。給排用開口部32を開放する場合には、閉止部材4の嵌合凸部43と嵌合凹部42を離間させてその嵌合状態を解消し、閉止部材4を給排用開口部32から抜き出す。   When using a transport container, the bag container 3 is accommodated in the container part 11 of the container frame 1, the label 14 that closes the opening 13 of the lid part 12 is partially peeled off, and the supply / discharge opening 32 is placed in the container. Pull out part 11. Then, fluid or powder is injected from the supply / discharge opening 32 into the container 31, and then the supply / discharge opening 32 is passed through the cut-off portion 45 of the closing member 4 to be attached to the supply / discharge opening 32. To do. Thereafter, the closing member 4 is bent at the thin central portion 44 to cause the fitting convex portion 43 to enter the fitting concave portion 42. As a result, as shown in FIG. 4, the fitting convex portion 43 and the fitting concave portion 42 are in a fitted state, and the closing member 4 is fixed to the supply / discharge opening 32, and at the same time, as shown in FIG. The discharge opening 32 is deeply bent with both side surfaces in close contact between the fitting convex portion 43 and the fitting concave portion 42, and a closed state having liquid tightness and air tightness is obtained. When the supply / discharge opening 32 is opened, the fitting convex portion 43 and the fitting concave portion 42 of the closing member 4 are separated from each other to cancel the fitting state, and the closing member 4 is removed from the supply / discharge opening 32. Extract.

このような搬送容器によれば、袋容器の一部に従来のような筒開口を設ける必要が無く、袋容器の容器部と扁平な給排用開口部とを一体かつ容易に成形することができるから、搬送容器を安価に実現することができる。   According to such a transport container, there is no need to provide a conventional cylindrical opening in a part of the bag container, and the container part of the bag container and the flat supply / discharge opening can be formed integrally and easily. Therefore, the transport container can be realized at low cost.

(第2実施形態)
閉止部材4の基体41の端面41a,41bを図6に示すように略平行に傾斜させておくと、中央部44で折り曲げて嵌合凸部43と嵌合凹部42を嵌合させた際に、閉止部材4の端部において、鎖線で示すように、基体41の端面41a,41bが一側縁側と他側縁側で互いにずれる。これにより、互いにずれた両側縁を持って引っ張ることで嵌合凸部43と嵌合凹部42を容易に離間させてその嵌合状態を解消することができる。
(Second Embodiment)
When the end surfaces 41a and 41b of the base body 41 of the closing member 4 are inclined substantially in parallel as shown in FIG. 6, when the fitting convex portion 43 and the fitting concave portion 42 are fitted by bending at the central portion 44, At the end of the closing member 4, the end surfaces 41 a and 41 b of the base body 41 are shifted from each other on the one side edge side and the other side edge side as indicated by a chain line. Accordingly, the fitting convex portion 43 and the fitting concave portion 42 can be easily separated by pulling with both side edges shifted from each other, and the fitting state can be eliminated.

(第3実施形態)
閉止部材4の、U字断面状嵌合凹部42の底壁に図7に示すようにゴム層46を形成すると、係合凸部43が進入した際にその先端がゴム層46に密接してさらにシール性を向上させることができる。
(Third embodiment)
When the rubber layer 46 is formed on the bottom wall of the U-shaped cross-sectional fitting concave portion 42 of the closing member 4 as shown in FIG. 7, when the engaging convex portion 43 enters, the tip of the rubber layer 46 comes into close contact with the rubber layer 46. Furthermore, the sealing performance can be improved.

(第4実施形態)
図8に示すように、基体41の一側縁側と他側縁側にそれぞれ一対の嵌合凹部と嵌合凸部を設けて、閉止部材4を中央部44で折り曲げた際に各嵌合凸部43が各嵌合凹部42内に進入嵌合するようにすれば、さらに良好な気密性や液密性を確保することができる。なお、嵌合凹部と嵌合凸部を各3個以上設けてももちろん良い。
(Fourth embodiment)
As shown in FIG. 8, a pair of fitting concave portions and fitting convex portions are provided on one side edge side and the other side edge side of the base body 41, respectively, and when the closing member 4 is bent at the center portion 44, If 43 is inserted and fitted into each fitting recess 42, further satisfactory airtightness and liquid tightness can be secured. Of course, three or more fitting recesses and three or more fitting protrusions may be provided.

(その他の実施形態)
上記各実施形態において、袋容器3の給排用開口部32は必ずしも容器枠1外へ引き出す必要はない。また、閉止部材4は搬送容器に使用する以外に、種々の袋容器の開口を、気密性や液密性を確保して閉止する用途に広く使用することができる。
(Other embodiments)
In each of the above embodiments, the supply / discharge opening 32 of the bag container 3 does not necessarily have to be pulled out of the container frame 1. Moreover, the closing member 4 can be widely used for the purpose of closing the opening of various bag containers while ensuring airtightness and liquid-tightness, in addition to being used as a transport container.

本発明の第1実施形態における搬送容器の分解斜視図である。It is a disassembled perspective view of the conveyance container in 1st Embodiment of this invention. 閉止部材の平面図である。It is a top view of a closing member. 閉止部材の端部斜視図である。It is an edge part perspective view of a closure member. 閉止部材で袋容器の給排用開口部を閉止した状態の搬送容器の斜視図である。It is a perspective view of the conveyance container of the state which closed the opening part for supply / discharge of a bag container with the closing member. 閉止部材を折り曲げた使用状態の断面図で、図4のV−V線に沿った断面図である。It is sectional drawing of the use condition which bent the closing member, and is sectional drawing along the VV line of FIG. 本発明の第2実施形態における閉止部材の平面図である。It is a top view of the closure member in a 2nd embodiment of the present invention. 本発明の第3実施形態における閉止部材の要部斜視図である。It is a principal part perspective view of the closing member in 3rd Embodiment of this invention. 本発明の第4実施形態における閉止部材の断面図である。It is sectional drawing of the closing member in 4th Embodiment of this invention. 従来の搬送容器の分解斜視図である。It is a disassembled perspective view of the conventional conveyance container. 従来の搬送容器の斜視図である。It is a perspective view of the conventional conveyance container.

符号の説明Explanation of symbols

1…容器枠、3…袋容器、32…給排用開口部、4…閉止部材、41…基体、42…嵌合凹部、43…嵌合凸部、44…中央部、45…切離し部。 DESCRIPTION OF SYMBOLS 1 ... Container frame, 3 ... Bag container, 32 ... Supply / discharge opening part, 4 ... Closing member, 41 ... Base | substrate, 42 ... Fitting recessed part, 43 ... Fitting convex part, 44 ... Center part, 45 ... Separation part.

Claims (3)

長尺の樹脂製基体の一側縁に嵌合凹部が形成されるとともに他側縁に嵌合凸部が形成され、前記基体の中央部が薄肉とされて当該中央部に沿って折り曲げることにより嵌合凸部が嵌合凹部に進入し嵌合するようになし、かつ前記中央部にはこれに沿って延びる所定長の切り離し部を形成したことを特徴とする閉止部材 A fitting concave portion is formed on one side edge of the long resin base and a fitting convex portion is formed on the other side edge, and the central portion of the base body is thinned and bent along the central portion. A closing member characterized in that a fitting convex portion enters and fits into a fitting concave portion, and a separation portion having a predetermined length extending along the central portion is formed in the central portion. 前記基体の一側縁と他側縁の端面を略平行に傾斜させた請求項1に記載の閉止部材。 The closing member according to claim 1, wherein end surfaces of one side edge and the other side edge of the base body are inclined substantially in parallel. 請求項1又は2に記載の閉止部材を使用した搬送容器であって、容器枠とその内部に収納される樹脂フィルム製の袋容器を備え、当該袋容器にはこれより延出する扁平な帯状の給排用開口部が形成されており、当該給排用開口部を前記切り離し部に挿通した状態で前記嵌合凸部と嵌合凹部を嵌合させて前記給排用開口部を閉止してあることを特徴とする搬送容器。 A transport container using the closing member according to claim 1, comprising a container frame and a bag container made of a resin film housed in the container frame, and the bag container has a flat belt shape extending therefrom. The supply / discharge opening is formed, and the supply / discharge opening is closed by fitting the fitting convex part and the fitting concave part with the supply / discharge opening being inserted into the separation part. A transport container characterized by that.
JP2005137323A 2005-05-10 2005-05-10 Closing member, and conveyance container using the same Pending JP2006315690A (en)

Priority Applications (1)

Application Number Priority Date Filing Date Title
JP2005137323A JP2006315690A (en) 2005-05-10 2005-05-10 Closing member, and conveyance container using the same

Applications Claiming Priority (1)

Application Number Priority Date Filing Date Title
JP2005137323A JP2006315690A (en) 2005-05-10 2005-05-10 Closing member, and conveyance container using the same

Publications (1)

Publication Number Publication Date
JP2006315690A true JP2006315690A (en) 2006-11-24

Family

ID=37536716

Family Applications (1)

Application Number Title Priority Date Filing Date
JP2005137323A Pending JP2006315690A (en) 2005-05-10 2005-05-10 Closing member, and conveyance container using the same

Country Status (1)

Country Link
JP (1) JP2006315690A (en)

Similar Documents

Publication Publication Date Title
CN106163938B (en) Resealable container with lasso and lid
CN106061857B (en) Resealable container with collar and lid
CN106458352B (en) Fitment for flexible container
KR101066643B1 (en) Container structure with lead film integrated sealing cap
CN104943993B (en) Packaging for microwave ovens
WO2010054226A3 (en) Flexible, stackable container and method and system for manufacturing same
JPH08324595A (en) Plastic fastener
KR100994113B1 (en) Liquid sealed bags with fully-sealed beverage or spout tubes.
CA2603831A1 (en) Improvements in or relating to containers for cooking foodstuffs
US20150114968A1 (en) Vacuum sealable paint tray liner
JP4603824B2 (en) Packaging bag with fastener
US20130270146A1 (en) Collapsible article container
JP2006193173A (en) Packaging bag and manufacturing method therefor
JP2006315690A (en) Closing member, and conveyance container using the same
US11524819B2 (en) Leak-proof press-fit sealed container
JP2016074468A (en) Packaging box
KR200474475Y1 (en) A blister package for repetition usable
KR101800239B1 (en) Container for recycling
ZA200502924B (en) Pack for free-flowing of pasty products
JP2006335453A (en) Inner bag storage container for bag-in-box, bag-in-box, and method of handling inner bag for bag-in-box
JP3122954U (en) Blow molding container
US20250042639A1 (en) Valving system and vacuum containers
JP4943460B2 (en) Opening prevention container
JP2006096421A (en) Sealed container
WO2002060773A1 (en) Plastic bag with zippered small bag