JP2006303390A - Rack - Google Patents

Rack Download PDF

Info

Publication number
JP2006303390A
JP2006303390A JP2005126902A JP2005126902A JP2006303390A JP 2006303390 A JP2006303390 A JP 2006303390A JP 2005126902 A JP2005126902 A JP 2005126902A JP 2005126902 A JP2005126902 A JP 2005126902A JP 2006303390 A JP2006303390 A JP 2006303390A
Authority
JP
Japan
Prior art keywords
piece
plate portion
bent
main body
lower plate
Prior art date
Legal status (The legal status is an assumption and is not a legal conclusion. Google has not performed a legal analysis and makes no representation as to the accuracy of the status listed.)
Granted
Application number
JP2005126902A
Other languages
Japanese (ja)
Other versions
JP4482479B2 (en
Inventor
Atsushi Nakamoto
篤志 中本
Current Assignee (The listed assignees may be inaccurate. Google has not performed a legal analysis and makes no representation or warranty as to the accuracy of the list.)
Matsushita Denko Denro System KK
Original Assignee
Matsushita Denko Denro System KK
Priority date (The priority date is an assumption and is not a legal conclusion. Google has not performed a legal analysis and makes no representation as to the accuracy of the date listed.)
Filing date
Publication date
Application filed by Matsushita Denko Denro System KK filed Critical Matsushita Denko Denro System KK
Priority to JP2005126902A priority Critical patent/JP4482479B2/en
Publication of JP2006303390A publication Critical patent/JP2006303390A/en
Application granted granted Critical
Publication of JP4482479B2 publication Critical patent/JP4482479B2/en
Anticipated expiration legal-status Critical
Expired - Fee Related legal-status Critical Current

Links

Images

Landscapes

  • Casings For Electric Apparatus (AREA)

Abstract

<P>PROBLEM TO BE SOLVED: To provide a rack in which side plates on both sides of a main body are easily attached or detached even at a confined space. <P>SOLUTION: The rack is formed in a reverse C-shape by a tabular top plate 2 and a tabular bottom plate 3 in face to face with each other, and by a tabular back plate 4 that connects the back ends of the top plate 2 and the bottom plate 3. The rack comprises the main body 1 which is open in front and on both sides; a pair of supports 5 for supporting between the top plate 2 and the bottom plate 3 at the front end of the top plate 2 and bottom plate 3; and a tabular lid body 6 and two tabular side plates 7a, 7b which cover the front face and both side surfaces of the main body 1, respectively. Each of the top plate 2, bottom plate 3, and both side ends of the back plate 4 of the main body 1 is provided with a groove 18. The side plates 7a, 7b each slidably fits the groove 18 from the front, thus making it easy to attach/detach the side plates. <P>COPYRIGHT: (C)2007,JPO&INPIT

Description

本発明は、電子機器を収納するラックに関するものである。   The present invention relates to a rack for storing electronic equipment.

従来のこの種のラックとして、特許文献1に示すものがある。従来例の分解斜視図を図7に示す。従来例のラックは、下板部材10と、下板部材10の前面両側から上面側に延出する両側部30、40を下板部材10に対して並行な連結部50で連結した略コ字状の前板部材20と、下板部材10の背面側に取着される背板部70及びこの背板部70の上端に連結されて下板部材10と互いに対向する上板部80を有した略L字状の上部背面部材60と、この上部背面部材60の上板部80及び下板部材10に取着されて上部背面部材60及び前板部材20の間で形成される側面側の空間を塞ぐ両側部材90、100と、下板部材10及び前板部材20の間で形成される前面側の空間を塞ぐ扉110とで構成され、上部背面部材60及び両側部材90、100にそれぞれ電子機器への電源線及び制御線の電線挿通孔21を設けている。ここで両側部材90、100は、上部背面部材60の上板部80の両側に形成された落とし込み片81の引掛孔82に両側部材90、100の上端部に設けられた引掛爪83を引掛けるとともに、下板部材10に設けられた立上片101に両側部材90、100の下端部をネジ止めすることによって取着されるため、両側部材90、100の下端部のネジを着脱するだけで両側部材90、100の取付及び取外しができ、組立作業が容易になるとともに、電子機器への制御線や電源線の接続作業の際は両側部材90、100のいずれかを着脱するだけで作業が行えるので、取付及び取外し作業を容易にしている。
特開2000−349468号公報
As a conventional rack of this type, there is one shown in Patent Document 1. FIG. 7 shows an exploded perspective view of a conventional example. The rack of the conventional example has a substantially U-shape in which a lower plate member 10 and both side portions 30 and 40 extending from both front surfaces of the lower plate member 10 to the upper surface side are connected to the lower plate member 10 by a parallel connection portion 50. A front plate member 20 having a shape, a back plate portion 70 attached to the back side of the lower plate member 10, and an upper plate portion 80 connected to the upper end of the back plate portion 70 and facing the lower plate member 10. A substantially L-shaped upper back member 60 and a side surface side formed between the upper back member 60 and the front plate member 20 by being attached to the upper plate portion 80 and the lower plate member 10 of the upper back member 60. The two side members 90 and 100 that close the space and the door 110 that closes the space on the front surface formed between the lower plate member 10 and the front plate member 20 are formed on the upper back member 60 and the two side members 90 and 100, respectively. A wire insertion hole 21 for a power supply line and a control line to the electronic device is provided. Here, the both side members 90, 100 hook the hooking claws 83 provided at the upper end portions of the both side members 90, 100 in the hooking holes 82 of the dropping piece 81 formed on both sides of the upper plate portion 80 of the upper back member 60. At the same time, since the lower end portions of both side members 90 and 100 are screwed to the rising piece 101 provided on the lower plate member 10, only the screws at the lower end portions of the both side members 90 and 100 are attached and detached. Both side members 90 and 100 can be attached and detached, making assembly work easier, and when connecting control lines and power lines to electronic devices, work can be done simply by attaching or detaching either side member 90 or 100. Since it can be performed, the installation and removal work is facilitated.
JP 2000-349468 A

しかしながら上記従来例では、両側部材90、100の着脱を両側部材90、100の下端部と下板部材10に設けられた立上片101とをネジ止めすることで行うため、本体の両側方向のスペースが狭い場所ではネジの取付及び取外し作業をし難く、したがって両側部材90、100の取付及び取外し作業が困難であった。   However, in the above-described conventional example, both side members 90 and 100 are attached and detached by screwing the lower end portions of both side members 90 and 100 and the rising piece 101 provided on the lower plate member 10. In places where the space is small, it is difficult to attach and remove screws, and therefore it is difficult to attach and remove both side members 90 and 100.

本発明は、上述の問題点に鑑みて為されたもので、スペースが狭い場所においても本体の両側にある側板の取付及び取外し作業が容易となるラックを提供することにある。   The present invention has been made in view of the above-described problems, and it is an object of the present invention to provide a rack that facilitates attachment and removal of side plates on both sides of a main body even in a small space.

請求項1の発明は、上記目的を達成するために、互いに対向する平板状の上板部並びに下板部及び上板部と下板部の後端を連結する平板状の背板部によりコ字状に形成され前面及び両側面が開放された本体と、上板部並びに下板部の前端部において上板部と下板部を支える一対の支柱と、本体の前記前面及び両側面をそれぞれ覆う平板状の蓋体及び側板とを備えたラックであって、本体の上板部並びに下板部の両側端部にそれぞれ前後方向に溝を設け、側板をこの溝に前方からスライド自在に嵌合するようにしている。   In order to achieve the above object, the invention of claim 1 includes a flat plate-like upper plate portion, a lower plate portion, and a flat plate-like back plate portion that connects the rear ends of the upper plate portion and the lower plate portion. A main body that is formed in a letter shape and has an open front surface and both side surfaces, a pair of columns that support the upper plate portion and the lower plate portion at the front end portions of the upper plate portion and the lower plate portion, and the front surface and both side surfaces of the main body, respectively. A rack having a flat lid and side plates to cover, and grooves are provided in the front and rear direction on both side ends of the upper plate portion and lower plate portion of the main body, and the side plates are slidably fitted into the grooves from the front. I try to match.

請求項2の発明は、請求項1において、本体に上板部並びに下板部及び背板部の両側端部において互いに近接する方向に折曲された立設片と、この立設片の先端部が内方向に折曲された折返片と、この折返片の先端部が立設片と並行に折曲された対向片から成る折曲部を備え、この折曲部の内側には、上板部並びに下板部及び背板部から立設片にかけて当接状態で取着されるL字状の固定片と、この固定片の先端部が折返片に並行に折曲され、折返片よりも内方に延出した第2折返片と、この第2折返片の先端部が対向片と並行かつ対向片と対向する方向へ折曲された第2対向片から成る補強部材が取着され、対向片と第2折返片と第2対向片とで構成される空間によって溝を形成している。   According to a second aspect of the present invention, in the first aspect of the present invention, in the first aspect, a standing piece bent in a direction approaching each other at both end portions of the upper plate portion and the lower plate portion and the back plate portion on the main body, and a tip of the standing piece The folded portion is formed of a folded piece in which the bent portion is bent inward, and a front end portion of the folded piece is formed of an opposing piece that is bent in parallel with the standing piece. An L-shaped fixed piece attached in a contact state from the plate portion, the lower plate portion, and the back plate portion to the standing piece, and a tip portion of the fixed piece are bent in parallel with the folded piece. A reinforcing member comprising a second folded piece extending inward and a second facing piece in which the tip of the second folded piece is bent in a direction parallel to the facing piece and facing the facing piece is attached. A groove is formed by a space formed by the opposing piece, the second folded piece, and the second opposing piece.

請求項3の発明は、請求項1又は請求項2において、蓋体に、その両側面において、両側から背面側へ折曲されて蓋体前面と並行な内在片を備え、側板は、その後端が背板部に当接した状態において前端が内在片よりも蓋体前面側に突出する大きさに形成され、内在片が側板の側面に当接される構成にしている。   According to a third aspect of the present invention, in the first or second aspect of the present invention, the lid body is provided with an internal piece that is bent from both sides to the back side and parallel to the front surface of the lid body on both side surfaces thereof, The front end is formed in a size that protrudes to the front side of the lid body from the inner piece in a state where it is in contact with the back plate portion, and the inner piece is in contact with the side surface of the side plate.

請求項4の発明は、請求項3において、内在片の先端部を徐々に蓋体前面に近付く方向に傾斜させている。   According to a fourth aspect of the present invention, in the third aspect, the tip end portion of the indwelling piece is gradually inclined toward the front surface of the lid body.

請求項1の発明によれば、本体の上板部並びに下板部の両側端部にそれぞれ前後方向に溝を設け、側板をこの溝に前方からスライドすることで嵌合させるため、側板を本体の両側方向外側から取付ける必要が無く、本体の両側方向のスペースが狭い場所での側板の取付作業が容易となる。   According to the first aspect of the present invention, a groove is provided in the front and rear direction at both end portions of the upper plate portion and the lower plate portion of the main body, and the side plate is fitted into the groove by sliding from the front to the groove. It is not necessary to attach the side plate from the outside in both directions, and the side plate can be easily attached in a place where the space in the both sides of the main body is small.

請求項2の発明によれば、補強部材が本体の上板部並びに下板部及び立設片にかけて当接状態で取着され、この補強部材と本体の折曲部とで構成される空間で溝を形成するため、側板から力が加わっても変形し難くなり、強固なものとなる。   According to the invention of claim 2, the reinforcing member is attached in a contact state over the upper plate portion, the lower plate portion and the standing piece of the main body, and is a space constituted by the reinforcing member and the bent portion of the main body. Since the groove is formed, it is difficult to be deformed even when force is applied from the side plate, and the groove becomes strong.

請求項3の発明によれば、蓋体に設けられた内在片を側板の側面に当接させ、支柱の側面との間で側板を挟むことにより、側板が反り難くなる。   According to the invention of claim 3, the side plate is hardly warped by causing the indwelling piece provided on the lid to abut the side surface of the side plate and sandwiching the side plate with the side surface of the support column.

請求項4の発明によれば、蓋体に設けられた内在片の先端部を先端に向かって蓋体前面に近付く方向に傾斜させることで、蓋体を本体に取付けやすくなり、また側板が外側に反っている場合にも蓋体を側板に取着しやすくなる。   According to the fourth aspect of the present invention, it is easy to attach the lid to the main body, and the side plate is located on the outer side by inclining the tip of the internal piece provided on the lid toward the tip toward the front of the lid. Even when warped, the lid can be easily attached to the side plate.

以下図1〜図6を参照して本発明の実施形態を詳細に説明する。本実施形態のラックは、図1に示すように、互いに対向する平板状の上板部2並びに下板部3及び上板部2と下板部3の後端を連結する平板状の背板部4によりコ字状に形成され前面及び両側面が開放された本体1と、上板部2並びに下板部3の前端部において上板部2と下板部3を支える一対の支柱5と、本体1の前記前面及び両側面をそれぞれ覆う平板状の蓋体6及び2つの平板状の側板7a、7bにより構成されている。また上板部2並びに下板部3の両側端部にはそれぞれ前後方向に溝18を設けてあり、側板7a、7bはそれぞれこの溝18に前方からスライド自在に嵌合する。   Hereinafter, embodiments of the present invention will be described in detail with reference to FIGS. As shown in FIG. 1, the rack according to this embodiment includes a flat plate-like upper plate 2, a lower plate portion 3, and a flat plate that connects the upper plate portion 2 and the rear end of the lower plate portion 3. A body 1 which is formed in a U shape by the portion 4 and whose front and both side surfaces are open, and a pair of support columns 5 which support the upper plate portion 2 and the lower plate portion 3 at the front end portions of the upper plate portion 2 and the lower plate portion 3; The main body 1 includes a flat lid 6 and two flat side plates 7a and 7b that cover the front and both sides of the main body 1, respectively. Further, grooves 18 are provided in the front and rear directions at both end portions of the upper plate portion 2 and the lower plate portion 3, and the side plates 7a and 7b are fitted into the grooves 18 so as to be slidable from the front.

上板部2並びに下板部3及び背板部4は金属板で構成されており、上板部2及び下板部3は同じ平板形状に構成されている。上板部2及び下板部3の前端部には、前端をコ字状に折曲して形成され、本体1の前面側の空間を塞ぐ蓋体6の上端部と下端部を支持するための蓋体支持部13が、それぞれ幅方向にわたって設けられてある。   The upper plate portion 2, the lower plate portion 3, and the back plate portion 4 are made of metal plates, and the upper plate portion 2 and the lower plate portion 3 are formed in the same flat plate shape. The front end of the upper plate 2 and the lower plate 3 are formed by bending the front end into a U-shape and support the upper and lower ends of the lid 6 that closes the space on the front side of the main body 1. The lid support portions 13 are provided over the width direction.

また上板部2及び下板部3には、図3に示すように、その両側端部において互いに近接する方向に折曲された立設片8aと、この立設片8aの先端部が内方向に折曲された折返片8bと、この折返片8bの先端部が立設片8aと並行に折曲された対向片8cとから成る折曲部8がそれぞれ備えられており、これら折曲部8の内側には、上板部2及び下板部3から立設片8aにかけて当接状態で取着されるL字状の固定片9aと、この固定片9aの先端部が折返片8bに並行に折曲され、折返片8bよりも内方に延出した第2折返片9bと、この第2折返片9bの先端部が対向片8cと並行かつ対向片8cと対向する方向へ折曲された第2対向片9cとから成る補強部材9が取着され、対向片8cと第2折返片9bと第2対向片9cとで構成される空間によって前記溝18が形成される。   Further, as shown in FIG. 3, the upper plate portion 2 and the lower plate portion 3 are provided with standing pieces 8a bent in directions close to each other at both end portions thereof, and tip portions of the standing pieces 8a. Each of the folded portions 8b is formed of a folded piece 8b bent in a direction and a facing piece 8c in which a tip portion of the folded piece 8b is bent in parallel with the standing piece 8a. Inside the portion 8, an L-shaped fixing piece 9a attached in a contact state from the upper plate portion 2 and the lower plate portion 3 to the standing piece 8a, and a tip portion of the fixing piece 9a are folded pieces 8b. The second folded piece 9b that is bent in parallel and extends inward from the folded piece 8b, and the tip of the second folded piece 9b is folded in a direction parallel to the opposing piece 8c and facing the opposing piece 8c. A reinforcing member 9 comprising a bent second opposing piece 9c is attached, and is composed of an opposing piece 8c, a second folded piece 9b, and a second opposing piece 9c. The groove 18 is formed by that space.

補強部材9が上板部2及び下板部3から立設片8aにかけて当接状態でそれぞれ取着され、これら補強部材9と、上板部2及び下板部3の両側端部に設けられた折曲部8とでそれぞれ溝18を形成するため、側板7a、7bをこれら溝18にスライドさせる際に、側板7a、7bから力が加わっても変形し難くなり、強固なものとなる。   Reinforcing members 9 are attached in a contact state from the upper plate portion 2 and the lower plate portion 3 to the standing piece 8a, and are provided at both ends of the reinforcing member 9, and the upper plate portion 2 and the lower plate portion 3, respectively. Since the grooves 18 are respectively formed with the bent portions 8, when the side plates 7 a and 7 b are slid into the grooves 18, even if a force is applied from the side plates 7 a and 7 b, the side plates 7 a and 7 b are hardly deformed and become strong.

本体1の内部には、金属板を折曲してコ字状に形成され、電子機器15(例えばハブ等のネットワーク機器)を取付けるための取付部材12が備えられており、この取付部材12を取付けるための2つの金属製の取付レール11が、それぞれ幅方向にわたって背板部4の内面の上方と下方に取付けられている。取付部材12は、これら取付レール11に取付部材12の背板部の上端と下端をネジ止めすることで取付けられる。   Inside the main body 1, a metal plate is bent and formed in a U shape, and an attachment member 12 for attaching an electronic device 15 (for example, a network device such as a hub) is provided. Two metal mounting rails 11 for mounting are respectively mounted above and below the inner surface of the back plate portion 4 in the width direction. The attachment member 12 is attached to these attachment rails 11 by screwing the upper end and the lower end of the back plate portion of the attachment member 12.

また本実施形態では、背板部4の両側端部においても上記折曲部8と補強部材9を上下方向に備えており、これらによって構成される背板部4の溝18に側板7a、7bの後端部を嵌合することで、側板7a、7bを反り難くするとともにラックの密閉性を高める効果も得られる。   Further, in the present embodiment, the bent portion 8 and the reinforcing member 9 are also provided in the vertical direction at both end portions of the back plate portion 4, and the side plates 7a and 7b are formed in the groove 18 of the back plate portion 4 constituted by these. By fitting the rear end portions, the side plates 7a and 7b are hardly warped and the effect of improving the hermeticity of the rack is also obtained.

2本の支柱5は、金属製の上下方向に長い角筒形状で、下板部1の前方2隅にそれぞれ配置され、上板部2と下板部3を支持している。これら支柱5の外側の側面に側板7a、7bが当接され、溝18とともに側板7a、7bを支持する。また支柱5の上方には、蓋体6を本体1の前面に取付けるための蓋体取付部14がそれぞれネジ止めされている。蓋体取付部14は金属板をコ字状に折曲したもので、その一端にネジ穴を設けて支柱5にネジ止めしてある。ネジ穴を設けた面と対向する面の中央には、長方形状に切り取られた取付孔14aが設けられている。   The two support columns 5 are made of metal and have a rectangular tube shape that is long in the vertical direction, and are arranged at two front corners of the lower plate portion 1 to support the upper plate portion 2 and the lower plate portion 3. The side plates 7 a and 7 b are in contact with the outer side surfaces of the columns 5 and support the side plates 7 a and 7 b together with the grooves 18. Further, a lid attachment portion 14 for attaching the lid 6 to the front surface of the main body 1 is screwed above the support column 5. The lid attaching portion 14 is a metal plate bent in a U shape, and is provided with a screw hole at one end thereof and screwed to the column 5. A mounting hole 14a cut out in a rectangular shape is provided at the center of the surface facing the surface provided with the screw holes.

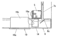
蓋体6は金属板で構成され、その前面の上方及び下方には、電子機器15が発する熱を逃がすための通気孔6aがそれぞれ幅方向にわたって設けられている。通気孔6aは、それぞれ縦長のスリットと横長のスリットを段々に組み合わせることで構成されている。上方の通気孔6aの両側端部の直下には、蓋体6を本体1の前面に取着するためのロック機構部19を挿通させる窓孔6bがそれぞれ設けられてある。このロック機構部19は、前記蓋体取付部14に設けられた取付孔14aと係合する係合部19aと、係合部19aと連動するロック解除レバー19bと、係合部19aを収納するためのケース19cとで構成されている。   The lid body 6 is formed of a metal plate, and vent holes 6a for releasing heat generated by the electronic device 15 are provided in the width direction above and below the front surface of the lid body 6, respectively. The vent 6a is configured by combining a vertically long slit and a horizontally long slit step by step. A window hole 6b through which a lock mechanism portion 19 for attaching the lid body 6 to the front surface of the main body 1 is inserted is provided immediately below both end portions of the upper ventilation hole 6a. The lock mechanism 19 houses an engagement portion 19a that engages with an attachment hole 14a provided in the lid attachment portion 14, a lock release lever 19b that interlocks with the engagement portion 19a, and an engagement portion 19a. And a case 19c.

係合部19aは、取付孔14aの1辺に沿うように傾斜面が設けられた平面視において台形形状をしている。また図示されていないが、係合部19aはケース19cから突出する方向にバネで付勢されている。ケース19cは、直方体形状で、中は空洞になっており係合部19aと係合部19aを弾性で付勢するバネとを収納する。ロック解除レバー19bは中央部に摘みが設けられた平板形状で、ケース19cの前面(図4における下面)にスライド自在に取付けられており、蓋体6前面の窓孔6bから突出している。このロック解除レバーを内側にスライドさせることにより、係合部19aがケース19cに収納される。   The engaging portion 19a has a trapezoidal shape in a plan view in which an inclined surface is provided along one side of the mounting hole 14a. Although not shown, the engaging portion 19a is biased by a spring in a direction protruding from the case 19c. The case 19c has a rectangular parallelepiped shape, is hollow inside, and houses the engaging portion 19a and a spring that urges the engaging portion 19a with elasticity. The lock release lever 19b has a flat plate shape with a knob at the center, is slidably attached to the front surface (the lower surface in FIG. 4) of the case 19c, and protrudes from the window hole 6b on the front surface of the lid 6. By sliding the lock release lever inward, the engaging portion 19a is housed in the case 19c.

蓋体6を本体1に取付けるには、まず蓋体6を本体1の前面に押し当てると、係合部19aの傾斜面と蓋体取付部14が接触し、傾斜面が押されることで係合部19aが収納部19cに引っ込む。係合部19aが取付孔14aの位置に来ると、図4に示すように、バネの弾性によって係合部19aが取付孔14aに挿通されて係合し、蓋体6を本体1の前面に固定することができる。蓋体6を取外すには、ロック解除レバー19cをそれぞれ内側にスライドさせ、係合部19aを収納部19cに引っ込め、取付孔14aから外すことで行う。   In order to attach the lid body 6 to the main body 1, first, when the lid body 6 is pressed against the front surface of the main body 1, the inclined surface of the engaging portion 19 a comes into contact with the lid body attaching portion 14, and the inclined surface is pushed. The joint portion 19a is retracted into the storage portion 19c. When the engaging portion 19a comes to the position of the mounting hole 14a, as shown in FIG. 4, the engaging portion 19a is inserted into and engaged with the mounting hole 14a by the elasticity of the spring, and the lid 6 is placed on the front surface of the main body 1. Can be fixed. The lid 6 is removed by sliding the lock release levers 19c inward, retracting the engaging portions 19a into the storage portions 19c, and removing them from the mounting holes 14a.

側板7aと7bはそれぞれ異なる材質で構成されている。側板7aは、ラック内の電子機器15の電源表示ランプ等の様子を外側から見えるようにするために透明若しくは半透明のアクリル樹脂で平板形状に構成されている。ここでアクリル樹脂は金属と比べて強度が弱く、また温度変化に対しても弱いためにアクリル樹脂製の側板7aが反ることがある。そこで図4に示すように、蓋体6はその両側面において、両側から背面側へ折曲されて蓋体6の前面と並行な内在片6cを備えており、内在片6cが側板7aの側面に当接され、この内在片6cと支柱5の側面で側板7aを挟むことによって側板7aを支持している。これにより、アクリル樹脂のように金属と比べて反りやすい素材でできた側板7aを反り難くしている。   The side plates 7a and 7b are made of different materials. The side plate 7a is formed in a flat plate shape with a transparent or semi-transparent acrylic resin so that the state of the power indicator lamp of the electronic device 15 in the rack can be seen from the outside. Here, since the acrylic resin is weaker than metal and weak against temperature change, the acrylic resin side plate 7a may warp. Therefore, as shown in FIG. 4, the lid body 6 is provided with an internal piece 6 c that is bent from both sides to the back side and parallel to the front surface of the lid body 6 on both sides, and the internal piece 6 c is a side surface of the side plate 7 a. The side plate 7 a is supported by sandwiching the side plate 7 a between the inner piece 6 c and the side surface of the support column 5. This makes it difficult to warp the side plate 7a made of a material that is more likely to warp than metal, such as acrylic resin.

側板7bは平板形状の金属板で構成されており、図6に示すように、上方及び下方に通気孔16a、16bがそれぞれ幅方向にわたって設けられている。これら通気孔16a、16bは縦長のスリットと横長のスリットを段々に組み合わせることで構成され、隣接するスリット間の幅の狭い部分は容易に切り取ることができるため、これらを数箇所切り取ることで電子機器15の電源用ケーブル等を通すケーブル挿通孔17を容易に設けることができ、かつケーブルの太さや本数に合わせてケーブル挿通孔17の大きさを自由に選択することができる。   The side plate 7b is composed of a flat metal plate, and as shown in FIG. 6, vent holes 16a and 16b are provided in the width direction above and below, respectively. These vent holes 16a and 16b are configured by stepwise combining a vertically long slit and a horizontally long slit, and a narrow portion between adjacent slits can be easily cut out. The cable insertion hole 17 through which 15 power cables and the like pass can be easily provided, and the size of the cable insertion hole 17 can be freely selected according to the thickness and number of cables.

ここで本実施形態のラックの組立方法を説明する。先ず電子機器15を取付部材12に取付ける。この時、側板7bの通気孔16bを電子機器15のケーブルの太さや本数に合わせて切り取ることで、ケーブル挿通孔17を設けておく。次に上板部2及び下板部3にそれぞれ設けられた溝18に、側板7a、7bの上端と下端を本体1の前方からそれぞれ嵌め、スライドさせることで側板7a、7bを嵌合する。最後に蓋体6を本体1の前方から押し当て、ロック機構部19に備えられた係合部19aを支柱5に設けられた蓋体取付部14の取付孔14aにそれぞれ係合させて、蓋体6を本体1の前面に取付けることで完成する。本実施形態の斜視図を図2に示す。このように本実施形態のラックは容易に組立可能であり、側板7a、7bを本体1の前方から溝18にスライドさせて嵌合するので、本体1の両側面側のスペースが狭い場所においても容易に組立作業を行える。   Here, the rack assembling method of this embodiment will be described. First, the electronic device 15 is attached to the attachment member 12. At this time, the cable insertion hole 17 is provided by cutting the ventilation hole 16b of the side plate 7b according to the thickness and number of cables of the electronic device 15. Next, the upper and lower ends of the side plates 7a and 7b are fitted into the grooves 18 provided in the upper plate portion 2 and the lower plate portion 3 from the front of the main body 1, respectively, and the side plates 7a and 7b are fitted by sliding. Finally, the lid body 6 is pressed from the front of the main body 1, and the engagement portions 19 a provided in the lock mechanism portion 19 are engaged with the attachment holes 14 a of the lid body attachment portion 14 provided in the column 5, respectively. It is completed by attaching the body 6 to the front surface of the main body 1. A perspective view of this embodiment is shown in FIG. Thus, the rack of this embodiment can be easily assembled, and the side plates 7a and 7b are slid and fitted into the grooves 18 from the front of the main body 1. Therefore, even in a place where the space on both side surfaces of the main body 1 is small. Easy assembly work.

ところで、蓋体6を取付ける際、内在片6cにおいて、図5に示すように、内在片6cの先端部を先端に向かって蓋体6の前面に近付く方向に傾斜させるとよい。この場合、蓋体6を本体1の前面に押し当てて取付ける際に、側板7a、7bの蓋体6と対向する端面が内在片6cの傾斜面に沿って内在片6cと支柱5の側面との間に案内されるため、蓋体6を容易に取付けることができる。また側板7a、7bが反っていても内在片6cの傾斜に沿って側板7a、7bを蓋体6に容易に嵌合できるため望ましい。   By the way, when attaching the cover body 6, it is good to incline in the direction in which the front-end | tip part of the internal piece 6c approaches the front surface of the cover body 6 toward the front end in the internal piece 6c, as shown in FIG. In this case, when the lid body 6 is pressed against the front surface of the main body 1 and attached, the end faces of the side plates 7a and 7b facing the lid body 6 extend along the inclined surface of the internal piece 6c and the side surfaces of the internal piece 6c and the column 5 Therefore, the lid 6 can be easily attached. Further, even if the side plates 7a and 7b are warped, the side plates 7a and 7b can be easily fitted to the lid body 6 along the inclination of the inherent piece 6c.

本発明の実施形態の分解斜視図である。It is a disassembled perspective view of embodiment of this invention. 同上の斜視図である。It is a perspective view same as the above. 同上の溝18の構成の説明図である。It is explanatory drawing of a structure of the groove | channel 18 same as the above. 同上の内在片6cの説明図である。It is explanatory drawing of the internal piece 6c same as the above. 同上の内在片6cの他の形態の説明図である。It is explanatory drawing of the other form of the internal piece 6c same as the above. 同上のケーブル挿通孔17の説明図である。It is explanatory drawing of the cable penetration hole 17 same as the above. 従来例の分解斜視図である。It is a disassembled perspective view of a prior art example.

符号の説明Explanation of symbols

1 本体
2 上板部
3 下板部
4 背板部
5 支柱
6 蓋体
7a、7b 側板
18 溝
DESCRIPTION OF SYMBOLS 1 Main body 2 Upper board part 3 Lower board part 4 Back board part 5 Support | pillar 6 Lid body 7a, 7b Side board 18 Groove

Claims (4)

互いに対向する平板状の上板部並びに下板部及び上板部と下板部の後端を連結する平板状の背板部によりコ字状に形成され前面及び両側面が開放された本体と、上板部並びに下板部の前端部において上板部と下板部を支える一対の支柱と、本体の前記前面及び両側面をそれぞれ覆う平板状の蓋体及び側板とを備え、本体の上板部並びに下板部の両側端部にそれぞれ前後方向に溝を設け、側板をこの溝に前方からスライド自在に嵌合することを特徴とするラック。   A main body having a U-shape formed by a flat plate-like upper plate portion and a lower plate portion and an upper plate portion and a flat plate-like back plate portion connecting the rear ends of the lower plate portion and having the front surface and both side surfaces open; A pair of struts that support the upper plate portion and the lower plate portion at the front end portion of the upper plate portion and the lower plate portion, and a flat lid and side plates that respectively cover the front surface and both side surfaces of the main body, A rack characterized in that grooves are provided in the front and rear direction at both end portions of the plate portion and the lower plate portion, and the side plate is slidably fitted into the groove from the front. 前記本体は、上板部並びに下板部及び背板部の両側端部において互いに近接する方向に折曲された立設片と、この立設片の先端部が内方向に折曲された折返片と、この折返片の先端部が立設片と並行に折曲された対向片とから成る折曲部を備え、この折曲部の内側には、上板部並びに下板部及び背板部から立設片にかけて当接状態で取着されるL字状の固定片と、この固定片の先端部が折返片に並行に折曲され、折返片よりも内方に延出した第2折返片と、この第2折返片の先端部が対向片と並行かつ対向片と対向する方向へ折曲された第2対向片とから成る補強部材が取着され、対向片と第2折返片と第2対向片とで構成される空間によって前記溝が形成されることを特徴とする請求項1記載のラック。   The main body includes an upright piece bent in a direction close to each other at both end portions of the upper plate portion, the lower plate portion, and the back plate portion, and a folded portion in which a tip portion of the upright piece is bent inward. A bent portion comprising a piece and a facing piece in which a tip portion of the folded piece is bent in parallel with the standing piece, and an upper plate portion, a lower plate portion, and a back plate are provided inside the bent portion. The L-shaped fixed piece attached in a contact state from the part to the standing piece, and the second end of the fixed piece bent in parallel with the folded piece and extending inward from the folded piece A reinforcing member comprising a folded piece and a second opposed piece in which the tip of the second folded piece is bent in a direction parallel to the opposed piece and opposed to the opposed piece is attached, and the opposed piece and the second folded piece are attached. The rack according to claim 1, wherein the groove is formed by a space constituted by the second opposing piece. 前記蓋体は、その両側面において、両側から背面側へ折曲されて蓋体前面と並行する内在片を備え、前記側板は、その後端が背板部に当接した状態において前端が前記内在片よりも前記蓋体前面側に突出する大きさに形成され、前記内在片が前記側板の側面に当接されたことを特徴とする請求項1又は請求項2記載のラック。   The lid body includes an inward piece that is bent from both sides to the back side and parallel to the front surface of the lid body on both side surfaces, and the front end of the side plate is in contact with the back plate portion. The rack according to claim 1 or 2, wherein the rack is formed to have a size protruding toward the front side of the lid body rather than a piece, and the inner piece is in contact with a side surface of the side plate. 前記内在片の先端部を先端に向かって蓋体前面に近付く方向に傾斜させたことを特徴とする請求項3記載のラック。
The rack according to claim 3, wherein a tip portion of the internal piece is inclined in a direction approaching the front surface of the lid body toward the tip.
JP2005126902A 2005-04-25 2005-04-25 rack Expired - Fee Related JP4482479B2 (en)

Priority Applications (1)

Application Number Priority Date Filing Date Title
JP2005126902A JP4482479B2 (en) 2005-04-25 2005-04-25 rack

Applications Claiming Priority (1)

Application Number Priority Date Filing Date Title
JP2005126902A JP4482479B2 (en) 2005-04-25 2005-04-25 rack

Publications (2)

Publication Number Publication Date
JP2006303390A true JP2006303390A (en) 2006-11-02
JP4482479B2 JP4482479B2 (en) 2010-06-16

Family

ID=37471285

Family Applications (1)

Application Number Title Priority Date Filing Date
JP2005126902A Expired - Fee Related JP4482479B2 (en) 2005-04-25 2005-04-25 rack

Country Status (1)

Country Link
JP (1) JP4482479B2 (en)

Cited By (2)

* Cited by examiner, † Cited by third party
Publication number Priority date Publication date Assignee Title
JP2010267918A (en) * 2009-05-18 2010-11-25 Kawamura Electric Inc Assembled box
JP2011249473A (en) * 2010-05-25 2011-12-08 Kawamura Electric Inc Electronic device housing

Families Citing this family (1)

* Cited by examiner, † Cited by third party
Publication number Priority date Publication date Assignee Title
KR101889665B1 (en) 2017-11-28 2018-09-20 한국가스공사 Cabinets for computer security

Cited By (2)

* Cited by examiner, † Cited by third party
Publication number Priority date Publication date Assignee Title
JP2010267918A (en) * 2009-05-18 2010-11-25 Kawamura Electric Inc Assembled box
JP2011249473A (en) * 2010-05-25 2011-12-08 Kawamura Electric Inc Electronic device housing

Also Published As

Publication number Publication date
JP4482479B2 (en) 2010-06-16

Similar Documents

Publication Publication Date Title
JP5410853B2 (en) Guide rail fixing device
JP6195598B2 (en) Clip and electronic device using the same
JP5128188B2 (en) Suspension body for catching tool and catching device
JP5524712B2 (en) Electronic device storage box
JP2005136140A (en) Electrical equipment with chassis locked to the bottom of the cabinet
CN102193602A (en) Server casing
JP4482479B2 (en) rack
CN106163198A (en) Buckle clamp and applicable electronic device thereof
JP2006025041A (en) Electronic device with built-in antenna
JP6359711B1 (en) Mounting structure of LCD panel
US8203852B2 (en) Expansion card retention assembly
JP2010239107A (en) Electrical equipment storage box
JP4701118B2 (en) PCB mounting structure
JP4930945B2 (en) Clamp component support bracket and wiring clamp
JP5251770B2 (en) Stand holder and stand holder mounting structure
CN204693189U (en) Backlight assembly and liquid crystal display
JP5257992B2 (en) PCB holding structure
JP4896634B2 (en) Parts installation structure
KR20080004381U (en) Multi assembly jig
JP2019050289A (en) Fixing member
JP6570318B2 (en) Board unit lock structure
JP6085650B2 (en) Housing for computer system, computer system and assembly method
JP5890632B2 (en) Wiring duct and wiring duct installation method
JP2008058743A5 (en)
JP2000056052A (en) Shield case

Legal Events

Date Code Title Description
A621 Written request for application examination

Free format text: JAPANESE INTERMEDIATE CODE: A621

Effective date: 20071009

A977 Report on retrieval

Free format text: JAPANESE INTERMEDIATE CODE: A971007

Effective date: 20091119

A131 Notification of reasons for refusal

Free format text: JAPANESE INTERMEDIATE CODE: A131

Effective date: 20091124

A521 Written amendment

Free format text: JAPANESE INTERMEDIATE CODE: A523

Effective date: 20100125

TRDD Decision of grant or rejection written
A01 Written decision to grant a patent or to grant a registration (utility model)

Free format text: JAPANESE INTERMEDIATE CODE: A01

Effective date: 20100223

A01 Written decision to grant a patent or to grant a registration (utility model)

Free format text: JAPANESE INTERMEDIATE CODE: A01

A61 First payment of annual fees (during grant procedure)

Free format text: JAPANESE INTERMEDIATE CODE: A61

Effective date: 20100319

FPAY Renewal fee payment (event date is renewal date of database)

Free format text: PAYMENT UNTIL: 20130326

Year of fee payment: 3

R150 Certificate of patent or registration of utility model

Free format text: JAPANESE INTERMEDIATE CODE: R150

FPAY Renewal fee payment (event date is renewal date of database)

Free format text: PAYMENT UNTIL: 20130326

Year of fee payment: 3

FPAY Renewal fee payment (event date is renewal date of database)

Free format text: PAYMENT UNTIL: 20140326

Year of fee payment: 4

LAPS Cancellation because of no payment of annual fees