JP2006226575A - Air conditioner - Google Patents

Air conditioner Download PDF

Info

Publication number
JP2006226575A
JP2006226575A JP2005039269A JP2005039269A JP2006226575A JP 2006226575 A JP2006226575 A JP 2006226575A JP 2005039269 A JP2005039269 A JP 2005039269A JP 2005039269 A JP2005039269 A JP 2005039269A JP 2006226575 A JP2006226575 A JP 2006226575A
Authority
JP
Japan
Prior art keywords
air conditioner
impeller
motor
air
spoke
Prior art date
Legal status (The legal status is an assumption and is not a legal conclusion. Google has not performed a legal analysis and makes no representation as to the accuracy of the status listed.)
Granted
Application number
JP2005039269A
Other languages
Japanese (ja)
Other versions
JP4642502B2 (en
Inventor
Toshitaka Tanaka
俊孝 田中
Yuuki Tanaka
勇気 田中
Current Assignee (The listed assignees may be inaccurate. Google has not performed a legal analysis and makes no representation or warranty as to the accuracy of the list.)
Individual
Original Assignee
Individual
Priority date (The priority date is an assumption and is not a legal conclusion. Google has not performed a legal analysis and makes no representation as to the accuracy of the date listed.)
Filing date
Publication date
Application filed by Individual filed Critical Individual
Priority to JP2005039269A priority Critical patent/JP4642502B2/en
Publication of JP2006226575A publication Critical patent/JP2006226575A/en
Application granted granted Critical
Publication of JP4642502B2 publication Critical patent/JP4642502B2/en
Anticipated expiration legal-status Critical
Expired - Fee Related legal-status Critical Current

Links

Images

Landscapes

  • Air Filters, Heat-Exchange Apparatuses, And Housings Of Air-Conditioning Units (AREA)
  • Air-Flow Control Members (AREA)

Abstract

【課題】
経済性の良い運転が可能であり、また、冷え性や冷房病も予防できる空気調和装置を提供する。
【解決手段】
天井に設置される空気調和装置のグリル下方に配設される羽根車と、羽根車を駆動するモータ5と、羽根車の回転軸を構成するシャフト部材20と、を備える。空気調和装置内部の送風ファン2のモータ5は、減速機120を介して、羽根車を回転し、空気調和装置の送風口から吹き降ろされる風を拡散可能とする。また、羽根車は、羽根部材30とスポーク部材40とスポーク部材40を支持するハブ部材50とからなり、天井に設置される空気調和装置のグリル中央付近の空気吸入を妨げることなく、かつ、羽根部材30によって送風口から吹き降ろされる風を拡散乃至瞬断できるよう構成される。
【選択図】
図1
【Task】
Provided is an air conditioner that can be operated economically and that can prevent cooling and cooling disease.
[Solution]
An impeller disposed below the grill of the air conditioner installed on the ceiling, a motor 5 that drives the impeller, and a shaft member 20 that constitutes a rotating shaft of the impeller. The motor 5 of the blower fan 2 inside the air conditioner rotates the impeller via the speed reducer 120 so that the wind blown down from the blower opening of the air conditioner can be diffused. The impeller includes a blade member 30, a spoke member 40, and a hub member 50 that supports the spoke member 40, and does not interfere with air suction near the center of the grill of the air conditioner installed on the ceiling, and the blade It is comprised so that the wind blown down from a ventilation port by the member 30 can be spread | diffused thru | or interrupted.
[Selection]
FIG.

Description

本発明は、空気調和装置(エアーコンディショナー)に関し、特に、特に天井に設置乃至埋め込むタイプの空気調和装置に関する。   The present invention relates to an air conditioner, and particularly relates to an air conditioner of a type installed or embedded in a ceiling.

図9に示すような天井に設置乃至埋め込むタイプの空気調和装置からの冷風が直接当たる位置に居ると、冷え性のほか、体のバランスにも影響を及ぼすと言われている。空気調和装置からの冷風が直接当たる位置に居ざるを得ない者を守るために、空気調和装置を間欠的に動作させるタイマー機能のほか、吹き出し口内部等に複数の風向調整板を備え、適当な時間間隔で上下左右に風向を変更できる機能を備えたものも一般的である。また、自然風に近い風量・風向制御を行うゆらぎ機能を備えた空気調和装置も製品化されている。   It is said that if the cool air from the air conditioner of the type installed or embedded in the ceiling as shown in FIG. 9 is directly hit, it affects the balance of the body as well as the coolness. In addition to a timer function that operates the air conditioner intermittently and a plurality of wind direction adjustment plates inside the air outlet, etc. It is also common to have a function that can change the wind direction up, down, left and right at various time intervals. In addition, air conditioners equipped with a fluctuation function for controlling the air volume and direction that are close to natural wind have been commercialized.

天井に設置される空気調和装置から吹き出される風向自体を変えてしまうものとして、実用新案登録第3078419号記載の風向変更装置等がある。この種の装置を用いれば、例えば、受付窓口等の担当者席に向かう冷風を、板状部材によって、所定方向(例えば、訪問客ロビー側)に返すことが可能である。   A wind direction changing device described in Utility Model Registration No. 3078419 or the like is one that changes the wind direction itself blown from an air conditioner installed on the ceiling. If this type of device is used, for example, it is possible to return the cold wind toward the person in charge such as a reception desk in a predetermined direction (for example, the visitor lobby side) by a plate-like member.

実用新案登録第3078419号Utility model registration No. 3078419

そもそも空気調和装置が設置された空間の利用者それぞれに、快適な温度というものがあり、万人に満足の行く気温設定や風向の調整が難しいことに問題がある。天井に設置される空気調和装置においては、強冷房時は冷たい空気が四方に強く吹き出され、強暖房時には熱い空気が四方に強く吹き出される。このため、例えば冷房について見ると、風向自動変更機能を用いたとしても、冷気に直接さらされる人間を増やしてしまうことになるため、実用新案登録第3078419号記載のような装置が必要となる。   In the first place, each user of the space where the air conditioner is installed has a comfortable temperature, and there is a problem that it is difficult to set the temperature and adjust the wind direction that will satisfy everyone. In the air conditioner installed on the ceiling, cold air is strongly blown in all directions during strong cooling, and hot air is strongly blown in all directions during strong heating. For this reason, for example, in the case of cooling, even if the wind direction automatic change function is used, the number of people directly exposed to the cold air is increased, and thus a device as described in Utility Model Registration No. 3078419 is required.

また、上述の実用新案登録の風向変更装置では、当該装置が設置された方向には直接風が全く届かないことになってしまい、当該状態を快適と感じる者とそうでない者とが表れてしまう。例えば、顧客の待合ロビーと業務窓口の中間の天井に、天井設置型の空気調和装置が設置されている場合、上述の実用新案登録の風向変更装置を用いることによって、窓口担当者に冷風が当たらないようにすることができるが、窓口担当者の背後で従事する者にも冷風が届かなくなってしまうことになる。   Further, in the wind direction changing device registered in the above-mentioned utility model, the wind does not reach the direction in which the device is installed at all, and the person who feels the state is comfortable and the person who is not so appear. . For example, if a ceiling-mounted air conditioner is installed in the ceiling between the waiting area of the customer's waiting lobby and the business window, by using the wind direction changing device registered in the utility model described above, Although it can be avoided, the cold wind will not reach those who are engaged behind the counter.

また、レストランや車両内等の利用者の出入が激しい場所では、上述の実用新案登録の風向変更装置を適用することは困難である。例えば、絶えず入れ替わる利用者からの申出に応じて、上述の実用新案登録の風向変更装置をその都度着脱することになり、現実的な解決策は得られない。   In addition, it is difficult to apply the above-described utility model registration wind direction changing device in places where users come and go, such as in restaurants and vehicles. For example, in response to requests from users who are constantly changing, the wind direction changing device for utility model registration described above is attached and detached each time, and a practical solution cannot be obtained.

上述の実用新案登録の風向変更装置は室内空気の対流を妨げてしまうものである。この種の装置を設定しない場合であっても、空気調和装置全般に、冷気が床面に暖気が天井面に滞留し、室内の垂直温度分布が偏りやすいという問題点があった。このため、設定温度と実感温度との間にギャップが生じ、省エネルギー上推奨される温度では効きが不足するという現象が生じていた。   The above-described wind direction changing device registered in the utility model prevents convection of room air. Even when this type of apparatus is not set, the air conditioning apparatus generally has a problem that cold air stays on the floor surface and warm air stays on the ceiling surface, and the vertical temperature distribution in the room tends to be biased. For this reason, a gap is generated between the set temperature and the actual temperature, and a phenomenon that the effect is insufficient at a temperature recommended for energy saving has occurred.

本発明は、上述した事情に鑑みてなされたものであって、天井からの吹出し気流を広角に拡散し部屋の温度を均一化し、経済性の良い運転を可能とする空気調和装置(エアーコンディショナー)を提供することにある。   The present invention has been made in view of the above-described circumstances, and is an air conditioner (air conditioner) that diffuses a blown airflow from a ceiling at a wide angle to make the temperature of a room uniform and enables an economical operation. Is to provide.

本発明の第1の視点によれば、天井に設置される空気調和装置のグリル下方に配設される羽根車と、前記羽根車を駆動するモータと、前記羽根車の回転軸を構成するシャフト部材と、を備えて、前記モータの駆動によって前記羽根車を回転し、空気調和装置の送風口から吹き降ろされる風を拡散可能としたこと、を特徴とする気流拡散機能付き空気調和装置が提供される。より具体的には、前記羽根車は、羽根部材とスポーク部材と前記スポーク部材を支持するハブ部材とからなり、天井に設置される空気調和装置のグリル中央付近の空気吸入を妨げることなく、かつ、前記羽根部材によって送風口から吹き降ろされる風を拡散できるよう構成される。   According to a first aspect of the present invention, an impeller disposed below a grill of an air conditioner installed on a ceiling, a motor that drives the impeller, and a shaft that constitutes a rotating shaft of the impeller An air conditioner with an airflow diffusing function is provided, wherein the impeller is rotated by driving the motor, and the wind blown down from the air outlet of the air conditioner can be diffused. Is done. More specifically, the impeller includes a blade member, a spoke member, and a hub member that supports the spoke member, and does not hinder air suction near the center of the grill of the air conditioner installed on the ceiling, and The air blown down from the air blowing port by the blade member can be diffused.

本発明によれば、空気調和装置から吐き出される気流を拡散させることができるため、部屋全体の温度のムラを解消することができ、経済性の高い運転をすることが可能となる。また、冷房時、少なくとも上記羽根車の羽根部材が回転している間は、当該吹き出し方向に居る利用者に届く冷気流は羽根部材によって遮られ分断されるため、冷え性や冷房病の対策としても有効である。   According to the present invention, since the air flow discharged from the air conditioner can be diffused, the temperature unevenness of the entire room can be eliminated, and a highly economical operation can be performed. Also, during cooling, as long as the blade member of the impeller is rotating at least, the cold airflow reaching the user in the blowing direction is interrupted and divided by the blade member. It is valid.

続いて、本発明を実施するための最良の形態について説明する。はじめに、天井埋込型の空気調和装置について概説する。天井埋込型の空気調和装置200は、オフィスビルや店舗等で広く採用されているものであり、吸込口110を装置中央部分に備えるとともに、吹出口100を4方に備え、それぞれ斜め前方に向かって冷風を送風可能となっている(図9参照)。   Next, the best mode for carrying out the present invention will be described. First, an outline of a ceiling-embedded air conditioner will be described. The ceiling-embedded air conditioner 200 is widely used in office buildings, stores, and the like, and includes a suction port 110 in the center of the device and four outlets 100 in a diagonally forward direction. Cool air can be blown toward the vehicle (see FIG. 9).

図1は、本発明の第1の実施形態に係る空気調和装置の構成を表した断面図である。図1を参照すると、空気調和装置は、略直方体形状のケーシング1と、ターボファン2と、熱交換器3とを備えている。ケーシング1底部を構成するグリルの中央には吸込口110が形成され、その吸込口110の外周側には矩形の各辺に対応するように吹出口100が形成されている。ケーシング1の内部には、吸込口110に対応してベルマウス4が配置され、その上方には、吸込口110から空気を吸い込んで側方に空気を吹き出すためのターボファン2、ターボファン2を駆動するためのモータ5が配置されている。このターボファン2と吹出口100との間には、ターボファン2から吹き出された空気を熱交換するために、ターボファン2を囲むようにクロスフィン型の熱交換器3が配置されている。   FIG. 1 is a cross-sectional view illustrating a configuration of an air conditioner according to a first embodiment of the present invention. Referring to FIG. 1, the air conditioner includes a substantially rectangular parallelepiped casing 1, a turbofan 2, and a heat exchanger 3. A suction port 110 is formed in the center of the grill constituting the bottom of the casing 1, and a blower port 100 is formed on the outer peripheral side of the suction port 110 so as to correspond to each side of the rectangle. Inside the casing 1, a bell mouth 4 is arranged corresponding to the suction port 110, and a turbo fan 2 and a turbo fan 2 for sucking air from the suction port 110 and blowing the air to the side are disposed above the bell mouth 4. A motor 5 for driving is arranged. A cross fin type heat exchanger 3 is disposed between the turbo fan 2 and the blower outlet 100 so as to surround the turbo fan 2 in order to exchange heat of the air blown from the turbo fan 2.

一方、ケーシング1底部を構成するグリルの下方には、シャフト保持機構10と、減速機120を介してモータ5の出力軸と連結された垂直シャフト20と、羽根部材30、スポーク40(うち2本を図示)、ハブ50とからなる羽根車で構成された気流拡散機構が吊下げられている。   On the other hand, below the grill constituting the bottom of the casing 1, a shaft holding mechanism 10, a vertical shaft 20 connected to the output shaft of the motor 5 through a speed reducer 120, a blade member 30, and spokes 40 (two of them are included) ), And an air flow diffusion mechanism composed of an impeller including the hub 50 is suspended.

羽根車は、羽根部材30の回転軌道に、空気調和装置の吹出口100から吹き出す風が当たるように配設される。なお、本実施の形態に係る空気調和装置の羽根部材30は、後述するようにスポーク40上を摺動可能であるため、空気調和装置の吸込口110に設置した後から調整することも可能である。   The impeller is arranged so that the wind blown from the air outlet 100 of the air conditioner hits the rotation track of the blade member 30. In addition, since the blade member 30 of the air conditioner according to the present embodiment is slidable on the spoke 40 as will be described later, it can be adjusted after being installed in the air inlet 110 of the air conditioner. is there.

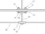
図2は、気流拡散機構のシャフト保持機構10付近の構成を表した側面図である。図2を参照すると、シャフト保持機構10は、背面プレート11と、台座プレート12と、背面プレート11と正面プレート12との間に空気調和装置のグリル部分を挟んで保持するためのボルト13及びナット14とによって構成され、垂直シャフト20を垂直に支持可能となっている。   FIG. 2 is a side view showing a configuration in the vicinity of the shaft holding mechanism 10 of the airflow diffusion mechanism. Referring to FIG. 2, the shaft holding mechanism 10 includes a back plate 11, a pedestal plate 12, a bolt 13 and a nut for holding the grill portion of the air conditioner between the back plate 11 and the front plate 12. 14, the vertical shaft 20 can be supported vertically.

また、垂直シャフト20の上端は、モータ5の出力軸と連結されており、垂直シャフト20の下端には、羽根車のハブ50内側の係合溝と係合するキー又はスプライン(図示せず)が設けられ、更に、エンド部材60が固着されている。   The upper end of the vertical shaft 20 is connected to the output shaft of the motor 5, and the lower end of the vertical shaft 20 is a key or spline (not shown) that engages with an engagement groove inside the impeller hub 50. Further, the end member 60 is fixed.

図3は、本実施形態に係る気流拡散装置(拡散扇)の羽根車の平面図である。図3を参照すると、ハブ50は8本のスポーク40を支持しており、各スポーク40の先端には、羽根部材30が装着された、8枚羽根の羽根車が示されている。また、羽根車は空気調和装置内部のモータ5の出力軸と同軸になるよう配置され、モータ5の駆動によって羽根部材30が吹出口100周囲を旋回し、運転と同時に吹出される風を拡散できるようになっている。また、本実施の形態に係る羽根車は、空気調和装置の吸込口110の障害とならないように、ハブ50を介して対向する羽根部材30間を離隔し、スペースを確保できるような構成となっている。   FIG. 3 is a plan view of the impeller of the air flow diffusion device (diffusion fan) according to the present embodiment. Referring to FIG. 3, the hub 50 supports eight spokes 40, and an eight-blade impeller with a blade member 30 attached to the tip of each spoke 40 is shown. Further, the impeller is disposed so as to be coaxial with the output shaft of the motor 5 inside the air conditioner, and the vane member 30 rotates around the outlet 100 by driving the motor 5 so that the wind blown simultaneously with the operation can be diffused. It is like that. Further, the impeller according to the present embodiment is configured such that a space can be secured by separating the blade members 30 facing each other via the hub 50 so as not to obstruct the suction port 110 of the air conditioner. ing.

図4は、図3の羽根部材30のP−P’断面拡大図である。図4を参照すると、各羽根部材30は、スポーク保持構造32を有しており、スポーク保持構造32にスポーク40を挿入して取り付けることが可能となっている。また、スポーク40の断面は円形であり、スポーク保持構造32のビス32aによって、羽根部材30を所望のピッチ角に変更し固定することが可能となっている。また、図5に示すように、ビス32aを緩めて、羽根部材30をスポーク40上を移動させ、空気調和装置の吹出口100のレイアウトに適合させることや、羽根車全体の径を拡大乃至縮小することが可能となっている。   4 is an enlarged cross-sectional view of the blade member 30 of FIG. 3 taken along the line P-P ′. Referring to FIG. 4, each blade member 30 has a spoke holding structure 32, and the spoke 40 can be inserted and attached to the spoke holding structure 32. The cross section of the spoke 40 is circular, and the blade member 30 can be changed to a desired pitch angle and fixed by a screw 32a of the spoke holding structure 32. Moreover, as shown in FIG. 5, the screw 32a is loosened, the blade member 30 is moved on the spoke 40, and is adapted to the layout of the air outlet 100 of the air conditioner, or the diameter of the entire impeller is enlarged or reduced. It is possible to do.

この羽根部材30は、例えばアルミ板、アクリル板等を好適に使用することができる。また、羽根車全体も、能動的に動作し風を起こすものではないため、特段剛性の高い構成を採用する必要もない。   As the blade member 30, for example, an aluminum plate, an acrylic plate, or the like can be preferably used. In addition, since the entire impeller does not actively operate and generate wind, it is not necessary to adopt a configuration with particularly high rigidity.

以上の構成よりなる空気調和装置のターボファン2を回転させると、吸込口110から室内の空気が吸い込まれるとともに、気流拡散機構の羽根車が所定の減速比によって回転する。吸い込まれた空気は、図1の矢印Xに示されるように、ターボファン2の外周側に吹き出される。ターボファン2の外周側に吹き出された空気は、矢印Yに示されるように、ターボファン2の外周側に配置された熱交換器3によって熱交換され、ケーシング1の底部に設けられた吹出口100から室内に吹き出される。更に、吹出口100から吹き出された空気は、回転する羽根車によって拡散される。また、少なくとも、吹出口100と利用者との間に羽根部材30が位置する状態を所定時間毎に作り出すことができ、冷気等が利用者に吹き付けられる時間を短くすることが可能となっている。   When the turbo fan 2 of the air conditioner having the above configuration is rotated, indoor air is sucked from the suction port 110 and the impeller of the airflow diffusion mechanism is rotated at a predetermined reduction ratio. The sucked air is blown out to the outer peripheral side of the turbo fan 2 as indicated by an arrow X in FIG. The air blown to the outer peripheral side of the turbo fan 2 is heat-exchanged by the heat exchanger 3 arranged on the outer peripheral side of the turbo fan 2 as indicated by an arrow Y, and is provided at the bottom of the casing 1. 100 is blown into the room. Furthermore, the air blown out from the outlet 100 is diffused by the rotating impeller. In addition, at least a state in which the blade member 30 is positioned between the air outlet 100 and the user can be created every predetermined time, and the time during which cold air or the like is blown to the user can be shortened. .

続いて、本発明の第2の実施の形態について説明する。本実施の形態は、上述した第1の実施の形態の羽根車を垂直方向に複数配置したことを特徴する。図6は、本実施形態に係る空気調和装置の気流拡散機構の断面図である。図6を参照すると、1本の垂直シャフト20に2つの羽根車を並べた構成が示されている。本構成によれば、羽根車の数に応じて、吹出口100と利用者との間に羽根部材30が位置するタイミングを多数作り出すことができる。また、羽根車同士の径の大きさや、羽根部材30の数、形状、面積、ピッチ角を変えることも可能である。   Next, a second embodiment of the present invention will be described. This embodiment is characterized in that a plurality of the impellers of the first embodiment described above are arranged in the vertical direction. FIG. 6 is a cross-sectional view of the airflow diffusion mechanism of the air conditioner according to the present embodiment. Referring to FIG. 6, a configuration in which two impellers are arranged on one vertical shaft 20 is shown. According to this structure, many timings at which the blade member 30 is positioned between the blower outlet 100 and the user can be created according to the number of impellers. It is also possible to change the size of the diameter of the impellers and the number, shape, area, and pitch angle of the blade members 30.

続いて、本発明の第3の実施の形態について説明する。本実施の形態は、ターボファン2を駆動するためのモータ5とは別のモータ130を備えたことを特徴とする。図7は、本実施形態に係る空気調和装置の構成を表した断面図である。図7を参照すると、ベルマウス4の内部空間に減速機付きモータ130が配設され、垂直シャフト20を回転可能となっている。本実施形態によれば、減速機付きモータ130を空気調査装置本体の運転とは独立して動作させることも可能となる。   Subsequently, a third embodiment of the present invention will be described. The present embodiment is characterized in that a motor 130 different from the motor 5 for driving the turbofan 2 is provided. FIG. 7 is a cross-sectional view showing the configuration of the air-conditioning apparatus according to this embodiment. Referring to FIG. 7, a motor 130 with a speed reducer is disposed in the internal space of the bell mouth 4 so that the vertical shaft 20 can be rotated. According to the present embodiment, the motor 130 with a speed reducer can be operated independently of the operation of the air surveying device main body.

以上、本発明の実施の形態を説明したが、本発明の技術的範囲は、上述の各実施形態に限定されず、種々の変形構成を採りうることはいうまでもない。例えば、垂直シャフト20の中間部分と、天井に別途埋設したフック、リング等をチェーン、紐材、ピアノ線等で連結し荷重を分散させるようにしてもよい。   Although the embodiments of the present invention have been described above, it is needless to say that the technical scope of the present invention is not limited to the above-described embodiments, and various modifications can be adopted. For example, the intermediate portion of the vertical shaft 20 and a hook, ring, or the like separately embedded in the ceiling may be connected by a chain, string material, piano wire, or the like to distribute the load.

また、上記した各実施の形態では、羽根部材30は、スポーク保持構造32を有し、ピッチ角を可変であること、スポーク40上を移動させることが可能であるものとして説明したが、固定ピッチ型やレイアウト固定型の羽根車を用いることも可能である。   Further, in each of the above-described embodiments, the blade member 30 has the spoke holding structure 32, and it has been described that the pitch angle is variable and the spoke 40 can be moved. It is also possible to use a fixed type or layout type impeller.

同様に、上記した各実施の形態では、8枚羽根で台形の羽根部材30を備えた羽根車を用いるものとして説明したが、ハブ50を代えることでその他複数枚の羽根部材を備える構成も採用できる。また、羽根部材30の形状も、幾何学形状はもちろんとして、オール状のものや、ラグビーボール状のもの、あるいは、図8に示すように空気力学上の観点から曲げ加工を加えたもの(例えば、この形状であれば、空気調和装置を運転するが、羽根車側には動力を伝達しない場合においても、羽根車が風を効率よく受けて自転し気流を拡散することが可能である。)等、気流を効率よく拡散可能な形状であれば、各種形状を採用することができる。   Similarly, in each of the above-described embodiments, it has been described that an impeller having a trapezoidal blade member 30 with eight blades is used, but a configuration in which a plurality of blade members are provided by replacing the hub 50 is also adopted. it can. Further, the shape of the blade member 30 is not only the geometric shape but also an all shape, a rugby ball shape, or a shape obtained by bending from an aerodynamic viewpoint as shown in FIG. In this shape, the air conditioner is operated, but even when the power is not transmitted to the impeller side, the impeller can efficiently receive the wind and rotate to diffuse the airflow.) Various shapes can be adopted as long as the airflow can be diffused efficiently.

また、上記した各実施の形態ではスポーク部材40に羽根部材30を取り付ける構成としているが、羽根部材30にハブ部材50との接合部を設けて羽根車を構成し、スポーク部材40を省いた構成も採用可能である。この場合は、羽根車の径や羽根レイアウトは原則固定して用いることになる。もちろん、羽根車の径や羽根レイアウトが異なる羽根車を予め用意しておき、羽根車全体を交換するようにしてもよい。   In each of the above-described embodiments, the blade member 30 is attached to the spoke member 40. However, the blade member 30 is provided with a joint portion with the hub member 50 to form an impeller, and the spoke member 40 is omitted. Can also be adopted. In this case, the diameter of the impeller and the blade layout are fixed in principle. Of course, an impeller having a different impeller diameter and blade layout may be prepared in advance and the entire impeller may be replaced.

本発明の第1の実施形態に係る空気調和装置(エアーコンディショナー)の構成を表した図である。It is a figure showing the structure of the air conditioning apparatus (air conditioner) which concerns on the 1st Embodiment of this invention. 図1の拡大図である。It is an enlarged view of FIG. 本発明の第1の実施形態に係る空気調和装置(エアーコンディショナー)の正面図である。It is a front view of the air harmony device (air conditioner) concerning a 1st embodiment of the present invention. 図3のP−P’断面拡大図である。FIG. 4 is an enlarged cross-sectional view taken along the line P-P ′ in FIG. 3. 本発明の第1の実施形態に係る空気調和装置(エアーコンディショナー)の別の正面図である。It is another front view of the air conditioning apparatus (air conditioner) which concerns on the 1st Embodiment of this invention. 本発明の第2の実施形態に係る空気調和装置(エアーコンディショナー)の構成を表した図である。It is a figure showing the structure of the air conditioning apparatus (air conditioner) which concerns on the 2nd Embodiment of this invention. 本発明の第3の実施形態に係る空気調和装置(エアーコンディショナー)の構成を表した図である。It is a figure showing the structure of the air conditioning apparatus (air conditioner) which concerns on the 3rd Embodiment of this invention. 羽根部材の一例を表した図である。It is a figure showing an example of the blade member. 天井埋込型の空気調和装置の送風方向を表した図である。It is a figure showing the blowing direction of the ceiling-embedded air conditioner.

符号の説明Explanation of symbols

1 ケーシング
2 ターボファン
3 熱交換器
4 ベルマウス
5 モータ
10 シャフト保持機構
11 背面プレート
12 台座プレート
12a 垂直シャフト挿入部
13 ボルト
14 ナット
15 吊下げエンド
20 垂直シャフト
30 飾り羽根
32 スポーク保持構造
32a ビス
40 スポーク
50 ハブ
60 エンド部材
100 吹出口
110 吸込口
120 減速機
130 モータ
200 空気調和装置(エアーコンディショナー)
DESCRIPTION OF SYMBOLS 1 Casing 2 Turbofan 3 Heat exchanger 4 Bell mouth 5 Motor 10 Shaft holding mechanism 11 Back plate 12 Base plate 12a Vertical shaft insertion part 13 Bolt 14 Nut 15 Hanging end 20 Vertical shaft 30 Decoration blade 32 Spoke holding structure 32a Screw 40 Spoke 50 Hub 60 End member 100 Air outlet 110 Air inlet 120 Speed reducer 130 Motor 200 Air conditioner (air conditioner)

Claims (7)

天井に設置される空気調和装置のグリル下方に配設される羽根車と、
前記羽根車を駆動するモータと、
前記羽根車の回転軸を構成するシャフト部材と、を備えて、
前記モータの駆動によって前記羽根車を回転し、前記空気調和装置の送風口から吹き降ろされる風を拡散可能としたこと、
を特徴とする気流拡散機能付き空気調和装置。
An impeller disposed below the grill of the air conditioner installed on the ceiling;
A motor for driving the impeller;
A shaft member constituting the rotating shaft of the impeller,
The impeller is rotated by driving the motor, and the wind blown down from the air outlet of the air conditioner can be diffused.
An air conditioner with airflow diffusion function characterized by
羽根部材とスポーク部材と前記スポーク部材を支持するハブ部材とからなり、天井に設置される空気調和装置のグリル下方に配設される羽根車と、
前記羽根車を駆動するモータと、
前記モータの出力軸に連結された上端と前記羽根車を水平に軸支する下端を有するシャフト部材と、を備えて、
前記モータの駆動によって前記羽根車を回転し、前記送風口から吹き降ろされる風を拡散可能としたこと、
を特徴とする気流拡散機能付き空気調和装置。
An impeller comprising a blade member, a spoke member, and a hub member that supports the spoke member, and disposed below the grill of an air conditioner installed on the ceiling;
A motor for driving the impeller;
A shaft member having an upper end connected to the output shaft of the motor and a lower end for horizontally supporting the impeller,
The impeller is rotated by driving the motor, and the wind blown down from the air blowing port can be diffused.
An air conditioner with airflow diffusion function characterized by
更に、前記シャフト部材と、前記モータとの間に、軸回転を所定の減速比で減速する減速装置を備えたこと、
を特徴とする請求項1又は2に記載の気流拡散機能付き空気調和装置。
And a reduction device for reducing the shaft rotation at a predetermined reduction ratio between the shaft member and the motor.
The air conditioner with an airflow diffusion function according to claim 1 or 2.
前記モータは、空気調和装置内部の送風ファンのモータであること、
を特徴とする請求項3に記載の気流拡散機能付き空気調和装置。
The motor is a blower fan motor inside the air conditioner;
The air conditioner with an airflow diffusion function according to claim 3.
前記羽根部材のピッチ角は可変であること、を特徴とする請求項1乃至4いずれか一に記載の気流拡散機能付き空気調和装置。   The air conditioner with an airflow diffusing function according to any one of claims 1 to 4, wherein the pitch angle of the blade member is variable. 前記羽根部材が、前記スポーク部材上を移動可能としたこと、を特徴とする請求項2乃至5いずれか一に記載の気流拡散機能付き空気調和装置。   The air conditioner with an airflow diffusion function according to any one of claims 2 to 5, wherein the blade member is movable on the spoke member. 前記シャフト部材によって複数の羽根車を1軸上に配設したこと、を特徴とする請求項1乃至6いずれか一に記載の気流拡散機能付き空気調和装置。   The air conditioner with an airflow diffusion function according to any one of claims 1 to 6, wherein a plurality of impellers are arranged on one axis by the shaft member.
JP2005039269A 2005-02-16 2005-02-16 Air conditioner Expired - Fee Related JP4642502B2 (en)

Priority Applications (1)

Application Number Priority Date Filing Date Title
JP2005039269A JP4642502B2 (en) 2005-02-16 2005-02-16 Air conditioner

Applications Claiming Priority (1)

Application Number Priority Date Filing Date Title
JP2005039269A JP4642502B2 (en) 2005-02-16 2005-02-16 Air conditioner

Publications (2)

Publication Number Publication Date
JP2006226575A true JP2006226575A (en) 2006-08-31
JP4642502B2 JP4642502B2 (en) 2011-03-02

Family

ID=36988101

Family Applications (1)

Application Number Title Priority Date Filing Date
JP2005039269A Expired - Fee Related JP4642502B2 (en) 2005-02-16 2005-02-16 Air conditioner

Country Status (1)

Country Link
JP (1) JP4642502B2 (en)

Cited By (3)

* Cited by examiner, † Cited by third party
Publication number Priority date Publication date Assignee Title
KR101249500B1 (en) 2010-08-31 2013-04-09 위니아만도 주식회사 Ceiling type air-conditioner
JP2013253776A (en) * 2010-06-07 2013-12-19 Toshitaka Tanaka Airflow diffusion device (diffusion fan) and air conditioner
CN105841243A (en) * 2016-05-23 2016-08-10 珠海格力电器股份有限公司 Ceiling type air conditioner indoor unit

Citations (10)

* Cited by examiner, † Cited by third party
Publication number Priority date Publication date Assignee Title
JPS6048430A (en) * 1983-08-27 1985-03-16 Suiden:Kk Ceiling fan
JPS6124929A (en) * 1984-07-11 1986-02-03 Matsushita Seiko Co Ltd Air conditioner
JPS62112025U (en) * 1985-12-28 1987-07-16
JPH01102639U (en) * 1987-12-28 1989-07-11
JPH01106830U (en) * 1988-01-11 1989-07-19
JPH0261390A (en) * 1988-08-29 1990-03-01 Matsushita Seiko Co Ltd Ceiling fan
JPH0256895U (en) * 1988-10-20 1990-04-24
JPH0316999U (en) * 1989-06-30 1991-02-20
JPH10141283A (en) * 1996-11-06 1998-05-26 Nec Niigata Ltd Electric fan motor
JP2001141293A (en) * 1999-11-10 2001-05-25 Zaza International:Kk Air conditioner

Patent Citations (10)

* Cited by examiner, † Cited by third party
Publication number Priority date Publication date Assignee Title
JPS6048430A (en) * 1983-08-27 1985-03-16 Suiden:Kk Ceiling fan
JPS6124929A (en) * 1984-07-11 1986-02-03 Matsushita Seiko Co Ltd Air conditioner
JPS62112025U (en) * 1985-12-28 1987-07-16
JPH01102639U (en) * 1987-12-28 1989-07-11
JPH01106830U (en) * 1988-01-11 1989-07-19
JPH0261390A (en) * 1988-08-29 1990-03-01 Matsushita Seiko Co Ltd Ceiling fan
JPH0256895U (en) * 1988-10-20 1990-04-24
JPH0316999U (en) * 1989-06-30 1991-02-20
JPH10141283A (en) * 1996-11-06 1998-05-26 Nec Niigata Ltd Electric fan motor
JP2001141293A (en) * 1999-11-10 2001-05-25 Zaza International:Kk Air conditioner

Cited By (3)

* Cited by examiner, † Cited by third party
Publication number Priority date Publication date Assignee Title
JP2013253776A (en) * 2010-06-07 2013-12-19 Toshitaka Tanaka Airflow diffusion device (diffusion fan) and air conditioner
KR101249500B1 (en) 2010-08-31 2013-04-09 위니아만도 주식회사 Ceiling type air-conditioner
CN105841243A (en) * 2016-05-23 2016-08-10 珠海格力电器股份有限公司 Ceiling type air conditioner indoor unit

Also Published As

Publication number Publication date
JP4642502B2 (en) 2011-03-02

Similar Documents

Publication Publication Date Title
US8562398B2 (en) Airflow diffuser (diffuser fan) and air conditioner
JP3731397B2 (en) Blower, air conditioner, and blower method
CN105605670A (en) Multiblade diffusion fan assembly for attachment to ceiling cassette air conditioner
CN105423429A (en) Ultrathin wall-mounted air conditioner indoor unit
CN105864899A (en) Air conditioner indoor unit and air conditioner
CN105605682B (en) A kind of interior air-cooled ducted air conditioner
JP2007163097A (en) Air current diffusion device (diffusion fan) and air conditioner
CN108317606A (en) A kind of wall-hung indoor unit of air conditioner
JP4642502B2 (en) Air conditioner
CN208936310U (en) Air conditioner
CN105864896A (en) air conditioner indoor unit and air conditioner
JP2001141293A (en) Air conditioner
CN205957321U (en) Low-position air conditioner indoor unit and air conditioner
CN205783340U (en) air conditioner indoor unit and air conditioner
JP2004263922A (en) Air conditioner indoor unit
CN210128425U (en) Floor type air conditioner indoor unit and air conditioner
CN208186531U (en) A kind of wall-hung indoor unit of air conditioner
CN107192028A (en) Air conditioner, sitting and hanging type air conditioner indoor unit and control method thereof
JP2001208366A (en) Air conditioner
CN207936300U (en) Air conditioner indoor unit
JP2009145029A (en) Indoor air recirculation device and recirculation method
CN105526697A (en) Indoor unit panel of air conditioner and air conditioner
CN205860214U (en) Air conditioner indoor unit and air conditioner
CN205747166U (en) A kind of wall-hanging air conditioner
CN220648426U (en) Indoor unit of air conditioner

Legal Events

Date Code Title Description
A621 Written request for application examination

Free format text: JAPANESE INTERMEDIATE CODE: A621

Effective date: 20080208

A131 Notification of reasons for refusal

Free format text: JAPANESE INTERMEDIATE CODE: A131

Effective date: 20100622

A521 Request for written amendment filed

Free format text: JAPANESE INTERMEDIATE CODE: A523

Effective date: 20100723

TRDD Decision of grant or rejection written
A01 Written decision to grant a patent or to grant a registration (utility model)

Free format text: JAPANESE INTERMEDIATE CODE: A01

Effective date: 20101130

A01 Written decision to grant a patent or to grant a registration (utility model)

Free format text: JAPANESE INTERMEDIATE CODE: A01

A61 First payment of annual fees (during grant procedure)

Free format text: JAPANESE INTERMEDIATE CODE: A61

Effective date: 20101201

R150 Certificate of patent or registration of utility model

Ref document number: 4642502

Country of ref document: JP

Free format text: JAPANESE INTERMEDIATE CODE: R150

Free format text: JAPANESE INTERMEDIATE CODE: R150

FPAY Renewal fee payment (event date is renewal date of database)

Free format text: PAYMENT UNTIL: 20131210

Year of fee payment: 3

R250 Receipt of annual fees

Free format text: JAPANESE INTERMEDIATE CODE: R250

R250 Receipt of annual fees

Free format text: JAPANESE INTERMEDIATE CODE: R250

R250 Receipt of annual fees

Free format text: JAPANESE INTERMEDIATE CODE: R250

R250 Receipt of annual fees

Free format text: JAPANESE INTERMEDIATE CODE: R250

R250 Receipt of annual fees

Free format text: JAPANESE INTERMEDIATE CODE: R250

R250 Receipt of annual fees

Free format text: JAPANESE INTERMEDIATE CODE: R250

LAPS Cancellation because of no payment of annual fees