JP2006221939A - lighting equipment - Google Patents

lighting equipment Download PDF

Info

Publication number
JP2006221939A
JP2006221939A JP2005033576A JP2005033576A JP2006221939A JP 2006221939 A JP2006221939 A JP 2006221939A JP 2005033576 A JP2005033576 A JP 2005033576A JP 2005033576 A JP2005033576 A JP 2005033576A JP 2006221939 A JP2006221939 A JP 2006221939A
Authority
JP
Japan
Prior art keywords
reflection surface
surface portion
main body
shade
reflector
Prior art date
Legal status (The legal status is an assumption and is not a legal conclusion. Google has not performed a legal analysis and makes no representation as to the accuracy of the status listed.)
Granted
Application number
JP2005033576A
Other languages
Japanese (ja)
Other versions
JP4500700B2 (en
Inventor
Keiichi Shimizu
圭一 清水
Koji Yanagida
光次 柳田
Current Assignee (The listed assignees may be inaccurate. Google has not performed a legal analysis and makes no representation or warranty as to the accuracy of the list.)
Toshiba Lighting and Technology Corp
Wako Denki Co Ltd
Original Assignee
Toshiba Home Lighting Co Ltd
Wako Denki Co Ltd
Priority date (The priority date is an assumption and is not a legal conclusion. Google has not performed a legal analysis and makes no representation as to the accuracy of the date listed.)
Filing date
Publication date
Application filed by Toshiba Home Lighting Co Ltd, Wako Denki Co Ltd filed Critical Toshiba Home Lighting Co Ltd
Priority to JP2005033576A priority Critical patent/JP4500700B2/en
Publication of JP2006221939A publication Critical patent/JP2006221939A/en
Application granted granted Critical
Publication of JP4500700B2 publication Critical patent/JP4500700B2/en
Anticipated expiration legal-status Critical
Expired - Fee Related legal-status Critical Current

Links

Images

Landscapes

  • Non-Portable Lighting Devices Or Systems Thereof (AREA)

Abstract

【課題】略正方形環状の蛍光ランプを用いる照明器具について、照明効果を向上する。
【解決手段】直管部22と角管部23とを備える略正方形環状の蛍光ランプ10を用いる。照明器具1は、器具本体41の下側を覆う反射体42を備える。蛍光ランプ10の発光管21は反射体42の略八角錐状の反射面部63に光学的に対向する。発光管21の直管部22は反射体42の主反射面部64に光学的に対向し、発光管21の角管部23は反射体42の角反射面部65に対向する。発光管21の直管部22が照射した光は主反射面部64で反射して四方に向かう。発光管21の角管部23が照射した光は角反射面部65で反射して四隅の方向へ向かう。直管部22と主反射面部64との距離よりも、角管部23と角反射面部65との距離が大きくなるように設定する。
【選択図】図1
The lighting effect of a lighting fixture using a substantially square annular fluorescent lamp is improved.
A substantially square annular fluorescent lamp having a straight tube portion and a square tube portion is used. The lighting fixture 1 includes a reflector 42 that covers the lower side of the fixture body 41. The arc tube 21 of the fluorescent lamp 10 optically opposes the substantially octagonal reflecting surface 63 of the reflector 42. The straight tube portion 22 of the arc tube 21 is optically opposed to the main reflection surface portion 64 of the reflector 42, and the square tube portion 23 of the arc tube 21 is opposed to the angular reflection surface portion 65 of the reflector 42. The light irradiated by the straight tube portion 22 of the arc tube 21 is reflected by the main reflecting surface portion 64 and travels in all directions. The light irradiated by the square tube portion 23 of the arc tube 21 is reflected by the angle reflection surface portion 65 and travels toward the four corners. The distance between the straight tube portion 22 and the main reflection surface portion 64 is set to be larger than the distance between the square tube portion 23 and the angle reflection surface portion 65.
[Selection] Figure 1

Description

本発明は、例えば、正方形状の発光管を備えた蛍光ランプを用いる照明器具に関する。   The present invention relates to a luminaire using a fluorescent lamp having a square arc tube, for example.

従来、円環形状の蛍光ランプを用いた照明器具が用いられている。そして、このような照明器具において、発光管の管径が小さく単位面積当たりの光出力の大きい蛍光ランプを用いた場合にも、セードにランプイメージが現れにくくすることなどを図り、円盤状の器具本体と反射体とを組み合わせ、略円錐状の反射面を構成した照明器具が知られている(例えば、特許文献1参照。)。
特開平10−74414号公報(第1−6頁、図1、図10)
Conventionally, a lighting fixture using an annular fluorescent lamp has been used. In such a lighting apparatus, even when a fluorescent lamp having a small arc tube diameter and a large light output per unit area is used, the lamp image is made difficult to appear on the shade, and the disk-shaped apparatus There has been known a lighting fixture in which a main body and a reflector are combined to form a substantially conical reflecting surface (see, for example, Patent Document 1).
Japanese Patent Laid-Open No. 10-74414 (page 1-6, FIGS. 1 and 10)

今日、新しいイメージの器具デザインの実現や、平面四角状の部屋の照明効果を高めるなどのため、四角環状の発光管を備えた蛍光ランプが用いられている。しかしながら、仮に、四角環状の発光管を備えた蛍光ランプに、四角錐状の反射面を構成する器具本体あるいは反射体を用いると、蛍光ランプの四隅の角部に反射面の稜線部分が近接し、発光管の四隅の方向への光の照射が比較的小さくなる問題を有している。   Today, fluorescent lamps with a square annular arc tube are used to realize a new image fixture design and enhance the lighting effect of a flat square room. However, if a fluorescent lamp equipped with a quadrangular annular arc tube is used with a fixture body or reflector that constitutes a quadrangular pyramid-shaped reflecting surface, the ridges of the reflecting surface are close to the corners of the four corners of the fluorescent lamp. There is a problem that the irradiation of light toward the four corners of the arc tube becomes relatively small.

本発明は、このような点に鑑みなされたもので、角部を有する環状の発光管を備えた蛍光ランプを用いるのに適した照明器具を提供することを目的とする。   This invention is made | formed in view of such a point, and it aims at providing the lighting fixture suitable for using the fluorescent lamp provided with the circular arc_tube | light_emitting_tube which has a corner | angular part.

請求項1記載の照明器具は、複数の直管部及び直管部同士を交差する方向に接続する角管部を有する略多角形環状の蛍光ランプと;蛍光ランプの直管部と反射面が対向する主反射面部及び主反射板部同士を接続し角管部と反射面が対向する角反射面部を設けた反射面部を備えた器具本体部と;を具備するものである。   The lighting fixture according to claim 1 is a substantially polygonal annular fluorescent lamp having a plurality of straight tube portions and a square tube portion that connects the straight tube portions in a direction intersecting each other; An instrument main body having a reflection surface portion in which the main reflection surface portion and the main reflection plate portion facing each other are connected to each other, and the square tube portion and the angle reflection surface portion facing the reflection surface are provided.

蛍光ランプは、例えば、4方の直管部を四隅の角管部で接続した略四角形環状である。また、反射面部は、例えば、主反射板部が略四角錐状に配置され、これら主反射板部同士の間に角反射面部を設けることにより、略八角錐状などの略角錐状に構成される。また、反射面部を備えた器具本体部は、一体的に形成しても良く、また、一部を別体に形成しても良い。例えば、器具本体と、この器具本体を覆う反射体とを一体的に形成しても良く、あるいは別体に形成することができる。また、反射面部を一体の反射体として形成しても良く、また、複数の部材を組み合わせて反射面部を形成しても良い。   The fluorescent lamp has, for example, a substantially rectangular ring shape in which four straight tube portions are connected by square tube portions at four corners. Further, the reflection surface portion is configured in a substantially pyramid shape such as a substantially octagonal pyramid shape, for example, by disposing the main reflection plate portion in a substantially quadrangular pyramid shape and providing the angle reflection surface portion between the main reflection plate portions. The Moreover, the instrument main body part provided with the reflective surface part may be formed integrally, or a part may be formed separately. For example, the instrument main body and the reflector covering the instrument main body may be formed integrally, or may be formed separately. Further, the reflective surface portion may be formed as an integral reflector, or the reflective surface portion may be formed by combining a plurality of members.

そして、この構成では、略多角形環状の蛍光ランプについて、直管部と反射面が対向する主反射面部を設けた反射面部を備えた器具本体部を用い、さらに、反射面部には、蛍光ランプの角管部と反射面が対向する角反射面部を設けたため、外周方向の全範囲に渡って効率的に反射光が照射されるようになる。   And in this structure, about a substantially polygonal annular fluorescent lamp, the apparatus main body part provided with the reflective surface part which provided the main reflective surface part which a straight tube | pipe part and a reflective surface oppose is used, Furthermore, a fluorescent lamp is used for a reflective surface part. Since the angular reflection surface portion in which the square tube portion and the reflection surface face each other is provided, the reflected light is efficiently irradiated over the entire range in the outer peripheral direction.

請求項2記載の照明器具は、請求項1記載の照明器具において、直管部と主反射面部との距離よりも、角管部と角反射面部との距離を大きく設定したものである。   The lighting fixture according to claim 2 is the lighting fixture according to claim 1, wherein the distance between the square tube portion and the angular reflection surface portion is set larger than the distance between the straight tube portion and the main reflection surface portion.

そして、この構成では、角管部の方向について偏らずに光が反射されるとともに、蛍光ランプの角管部の温度上昇が抑制される。   In this configuration, light is reflected without being biased with respect to the direction of the square tube portion, and the temperature rise of the square tube portion of the fluorescent lamp is suppressed.

請求項1記載の照明器具によれば、略多角形環状の蛍光ランプについて、直管部と反射面が対向する主反射面部を設けた反射面部を備えた器具本体部を用い、さらに、反射面部には、蛍光ランプの角管部と反射面が対向する角反射面部を設けたため、外周方向の全範囲に渡って効率的に反射光を照射できる。   According to the luminaire of claim 1, for the substantially polygonal annular fluorescent lamp, the fixture main body portion provided with the reflecting surface portion provided with the main reflecting surface portion facing the straight tube portion and the reflecting surface is used, and further the reflecting surface portion Since the angular reflection surface portion is provided so that the square tube portion and the reflection surface of the fluorescent lamp face each other, the reflected light can be efficiently irradiated over the entire range in the outer peripheral direction.

請求項2記載の照明器具によれば、請求項1記載の効果に加え、角管部の方向について偏らずに光が反射されるとともに、蛍光ランプの角管部の温度上昇が抑制される。   According to the lighting fixture of Claim 2, in addition to the effect of Claim 1, light is reflected without being biased in the direction of the square tube portion, and the temperature rise of the square tube portion of the fluorescent lamp is suppressed.

以下、本発明の照明器具の一実施の形態を図面を参照して説明する。   Hereinafter, an embodiment of a lighting fixture of the present invention will be described with reference to the drawings.

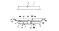
図1は照明器具の分解斜視図、図2は同上照明器具の一部を切り欠いた側面図である。図3は同上照明器具の斜視図である。図4は同上照明器具の一部の底面図である。図5は同上照明器具の一部の分解した状態の側面図である。図6は同上照明器具の説明図であり、(a)は角管部と角反射面部とが対向する部分、(b)は直管部と主反射面部とが対向する部分である。図7は本発明の照明器具のシャーシの他の実施の形態を示す底面図である。図8は本発明の照明器具のシャーシのさらに他の実施の形態を示す底面図である。図9は同上シャーシを用いた例を示す分解した状態の側面図である。図10は同上シャーシを用いた例を示す底面図である。   FIG. 1 is an exploded perspective view of the luminaire, and FIG. 2 is a side view in which a part of the luminaire is cut out. FIG. 3 is a perspective view of the same lighting fixture. FIG. 4 is a bottom view of a part of the same lighting fixture. FIG. 5 is a side view of a partially exploded state of the same lighting fixture. FIGS. 6A and 6B are explanatory views of the same lighting fixture, in which FIG. 6A shows a portion where the square tube portion and the angular reflection surface portion face each other, and FIG. 6B shows a portion where the straight tube portion and the main reflection surface portion face each other. FIG. 7 is a bottom view showing another embodiment of the chassis of the lighting fixture of the present invention. FIG. 8 is a bottom view showing still another embodiment of the chassis of the lighting fixture of the present invention. FIG. 9 is an exploded side view showing an example using the chassis. FIG. 10 is a bottom view showing an example using the chassis.

図1ないし図3において、1は照明器具で、この照明器具1は、住宅用の直付形の照明器具1で、角形などの引掛シーリング3を用いて天井面などの器具取付面に直付設置される。この引掛シーリング3は、いわゆる角形の引掛シーリング3で、箱形のケース3aの下面に、一対の円弧状の接続孔3bが形成され、この接続孔3bの内側にそれぞれ電源線に接続される接続金具が配設されている。   1 to 3, reference numeral 1 denotes a lighting fixture. The lighting fixture 1 is a direct-mounted lighting fixture 1 for a house, and is directly attached to a fixture mounting surface such as a ceiling surface using a hooking ceiling 3 such as a square. Installed. The hook ceiling 3 is a so-called square hook ceiling 3, and a pair of arc-shaped connection holes 3 b are formed on the lower surface of the box-shaped case 3 a, and the connection connected to the power supply line inside each of the connection holes 3 b. A metal fitting is provided.

そして、この照明器具1は、略四角形である略正方形状の環状をなす蛍光ランプ10を2本装着するもので、アダプタ11、器具本体部12、枠体14、セードアダプタ15、及びセード16などを備えている。   The lighting apparatus 1 is equipped with two fluorescent lamps 10 each having a substantially square annular shape, which is a substantially square shape. The adapter 11, the instrument body 12, the frame 14, the shade adapter 15, the shade 16, and the like It has.

そして、蛍光ランプ10は、いわゆるスクエア形で、略四角形である略正方形状の環状をなす放電路を構成する発光管21を備え、すなわち、この発光管21は、4辺の直線状の直管部22と、これら直管部22同士を小さい半径の円弧状で90度屈曲して接続する角管部23とを備えている。また、1辺の直管部22の長手方向の中央部には、複数の口金ピンを突設した口金部25が設けられている。また、この蛍光ランプ10は、例えば管径が16mmで高周波点灯専用の高効率形で、定格ランプ電力が40W及び50Wの2本の蛍光ランプ10が直管部22の向きを揃えていわば同心状に配置されるようになっている。   The fluorescent lamp 10 has a so-called square-shaped arc tube 21 that constitutes a substantially square annular discharge path, that is, the arc tube 21 is a straight straight tube having four sides. And a rectangular tube portion 23 that connects the straight tube portions 22 with a small-radius arc shape by bending 90 degrees. Further, a base part 25 having a plurality of base pins protruding from each other is provided at the central part in the longitudinal direction of the straight pipe part 22 on one side. The fluorescent lamp 10 is a high-efficiency type, for example, with a tube diameter of 16 mm and dedicated for high-frequency lighting. If two fluorescent lamps 10 with rated lamp power of 40 W and 50 W are aligned in the direction of the straight tube section 22, they are concentric. It is supposed to be arranged in.

また、アダプタ11は、円盤状のアダプタ本体31を有し、このアダプタ本体31の上面からは、断面略L字状の一対の引掛金具33が突設されており、これら引掛金具33を引掛シーリング3の接続孔3bに挿入して所定角度だけ回動させることにより、アダプタ本体31の上面が引掛シーリング3の下面に当接した状態で、引掛金具33が引掛シーリング3内の接続金具に電気的及び機械的に接続される。また、アダプタ本体31の周面には、これら引掛金具33の引掛シーリング3からの取り外し方向への回動を可能とする引掛シーリングロック解除ボタン34が設けられている。さらに、アダプタ本体31の周面の対称的な2カ所には、上面が水平な係止面で下面が傾斜した傾斜面となる係合部35が進退可能に突設されている。これら係合部35は、アダプタ本体31の内側に配置された図示しない付勢手段により突出方向に付勢されている。また、アダプタ本体31の下面には、これら係合部35をアダプタ本体31の内側に後退させる解除ボタン36が設けられている。さらに、アダプタ本体31からは、各引掛金具33に電気的に接続された電線38が導出され、この電線38の先端部に接続コネクタ39が設けられている。   The adapter 11 has a disk-shaped adapter main body 31, and a pair of hook metal fittings 33 having a substantially L-shaped cross-section project from the upper surface of the adapter main body 31. 3 is inserted into the connection hole 3b and rotated by a predetermined angle so that the hook metal 33 is electrically connected to the connection metal in the hook ceiling 3 while the upper surface of the adapter body 31 is in contact with the lower surface of the hook ceiling 3. And mechanically connected. Further, a hooking ceiling lock release button 34 is provided on the peripheral surface of the adapter main body 31 to enable the hook metal fitting 33 to be rotated in the direction of removal from the hooking ceiling 3. Further, at two symmetrical positions on the peripheral surface of the adapter main body 31, engaging portions 35 are provided so as to be able to advance and retreat, which are inclined surfaces whose upper surfaces are horizontal and whose lower surfaces are inclined. These engaging portions 35 are urged in the protruding direction by urging means (not shown) disposed inside the adapter main body 31. In addition, a release button 36 is provided on the lower surface of the adapter main body 31 to retreat the engaging portions 35 to the inside of the adapter main body 31. Further, from the adapter main body 31, electric wires 38 electrically connected to the respective hooks 33 are led out, and a connection connector 39 is provided at the distal end portion of the electric wires 38.

また、器具本体部12は、器具本体41と、この器具本体41の下側を覆って取り付けられた反射体42とを備えている。そして、器具本体41は、アルミニウムなど放熱性の良好な金属製のシャーシ44を備え、このシャーシ44の中央部には、円孔状の取付孔46が形成されている。また、この器具本体41には、インバータ装置などを備え反射体42で覆われる点灯装置48が取り付けられ、この点灯装置48から、アダプタ11の接続コネクタ39に接続される図示しない本体側電源コネクタが導出されている。さらに、この器具本体41には、ランプソケット51、常夜灯となる電球52が装着されるソケット53、及び受光部54を備えたリモコン受光装置55などが取り付けられ、それぞれ点灯装置48に接続されている。   The instrument main body 12 includes an instrument main body 41 and a reflector 42 attached to cover the lower side of the instrument main body 41. The instrument body 41 includes a metal chassis 44 having good heat dissipation such as aluminum, and a circular mounting hole 46 is formed at the center of the chassis 44. In addition, a lighting device 48 provided with an inverter device or the like and covered with a reflector 42 is attached to the appliance main body 41, and a main body side power connector (not shown) connected to the connection connector 39 of the adapter 11 from the lighting device 48 is provided. Has been derived. Furthermore, a lamp socket 51, a socket 53 to which a light bulb 52 serving as a nightlight is mounted, a remote control light receiving device 55 including a light receiving portion 54, and the like are attached to the appliance main body 41, and each is connected to a lighting device 48. .

そして、反射体42は、例えば金属板をプレス加工して形成された平面正方形状の反射板であり、少なくとも正面側である底面側は、白色に塗装されている。そして、この反射体42は、略中央部に平板状の基板部61を備え、この基板部61の中央部に円孔状などの作業孔62が形成されているとともに、この基板部61の周囲に連続して、傾斜した反射面部63が形成されている。そして、基板部61は、正方形の角部すなわち隅部を切り落とすようにして各辺より短い傾斜線で接続した八角形状をなし、反射面部63は、基板部61の各辺から上側外方に拡開状に傾斜して四方に延設された平面状の主反射面部64と、これら主反射面部64同士の間を接続し上側外方に拡開状に傾斜して四隅の方向に延設された平面状の角反射面部65とを備えた略八角錐状に形成されている。すなわち、角反射面部65は、主反射面部64同士の間の稜線部分をカットするようにして形成されている。さらに、この反射面部63の外周を囲み、水平な略八角形枠状の枠面部66が形成され、さらに、この枠面部66の外周を囲み、傾斜した外反射面部67が形成されている。また、この外反射面部67は、主反射面部64の延長上に位置する外主反射面部68と、角反射面部65の延長上に位置する外角反射面部69とを備えている。また、各外角反射面部69は、反射体42の角部に向かって集束し、三角形状をなしている。また、反射体42の基板部61には、常夜灯のソケット53及びリモコン受光装置55が挿通する通孔が形成されているとともに、ねじ孔などのセード取付具取付部72が設けられている。なお、シャーシ44の取付孔46を大きく形成し、この取付孔46の内側にソケット53及びリモコン受光装置55を配置することもできる。そして、反射体42の反射面部63あるいは枠面部66の部分には、ランプソケット51が挿通する通孔が設けられているとともに、ランプソケット51の反対側に位置して、板ばねなどにて形成されたランプホルダ74が取り付けられている。   The reflector 42 is, for example, a planar square reflector formed by pressing a metal plate, and at least the bottom side, which is the front side, is painted white. The reflector 42 is provided with a flat plate-like substrate portion 61 at a substantially central portion, and a circular hole or other work hole 62 is formed at the central portion of the substrate portion 61. An inclined reflecting surface portion 63 is formed continuously. The substrate 61 has an octagonal shape in which square corners, that is, corners are cut off and connected by an inclined line shorter than each side, and the reflective surface 63 extends from each side of the substrate 61 upward outward. A flat main reflection surface portion 64 inclined in an open shape and extending in all directions, and the main reflection surface portions 64 are connected to each other and inclined in an open shape outward and extended in the directions of the four corners. It is formed in a substantially octagonal pyramid shape having a planar angular reflection surface portion 65. That is, the corner reflection surface portion 65 is formed so as to cut a ridge line portion between the main reflection surface portions 64. Further, a horizontal substantially octagonal frame-like frame surface portion 66 is formed surrounding the outer periphery of the reflection surface portion 63, and an inclined outer reflection surface portion 67 is formed surrounding the outer periphery of the frame surface portion 66. The outer reflection surface portion 67 includes an outer main reflection surface portion 68 positioned on the extension of the main reflection surface portion 64 and an outer angle reflection surface portion 69 positioned on the extension of the angle reflection surface portion 65. Further, each outer angle reflection surface portion 69 is converged toward the corner portion of the reflector 42 to form a triangular shape. The board portion 61 of the reflector 42 is provided with a through hole through which the nightlight socket 53 and the remote control light receiving device 55 are inserted, and is provided with a shade attachment mounting portion 72 such as a screw hole. The mounting hole 46 of the chassis 44 can be formed large, and the socket 53 and the remote control light receiving device 55 can be arranged inside the mounting hole 46. In addition, the reflection surface portion 63 or the frame surface portion 66 of the reflector 42 is provided with a through hole through which the lamp socket 51 is inserted, and is formed on a side opposite to the lamp socket 51 by a leaf spring or the like. A lamp holder 74 is attached.

また、枠体14は、四角枠状をなす枠本体部76と、この枠本体部76に取り付けられた複数例えば4個の枠体取付体77とを備えている。そして、枠本体部76は、装飾性を向上する化粧枠であり、天然木あるいは樹脂などにて形成されている。また、枠体取付体77は、金属板などにて形成され、ねじなどを用いて一端部が枠本体部76に取り付けられているとともに、ねじなどを用いて他端部が器具本体部12の反射体42の枠面部66などに取り付けられ、枠本体部76が反射体42の下方に離間して位置している。また、枠本体部76は、外側の縁部までの寸法は、反射体42よりも大きいとともに、内側の縁部までの寸法は、反射体42よりも小さく形成されており、例えば、この枠本体部76により、反射体42の外反射面部67の下方が覆われるようになっている。   The frame body 14 includes a frame main body portion 76 having a rectangular frame shape, and a plurality of, for example, four frame body attachment bodies 77 attached to the frame main body portion 76. The frame main body 76 is a decorative frame that improves decorativeness, and is formed of natural wood or resin. The frame attachment body 77 is formed of a metal plate or the like, and one end is attached to the frame main body 76 using a screw or the like, and the other end is attached to the instrument main body 12 using a screw or the like. The frame main body 76 is attached to the frame surface portion 66 and the like of the reflector 42, and is positioned below the reflector 42. Further, the frame main body 76 is formed such that the dimension to the outer edge is larger than that of the reflector 42, and the dimension to the inner edge is smaller than that of the reflector 42. The portion 76 covers the lower part of the outer reflection surface portion 67 of the reflector 42.

また、セードアダプタ15は、セードアダプタ本体部81と、セードアダプタ本体部81の上面に取り付けられた取付脚部82とを備えている。そして、セードアダプタ本体部81は、略角柱状をなし、両側面からは、上面が水平な係止面で下面が傾斜した傾斜面となるセード係合部84が進退可能に突設されている。これらセード係合部84は、セードアダプタ本体部81の内側に配置された図示しない付勢手段により突出方向に付勢されている。また、セードアダプタ本体部81の下面には、これらセード係合部84をセードアダプタ本体部81の内側に後退させるセード取り外しボタン85が設けられている。また、取付脚部82は、金属板などにて形成され、セードアダプタ本体部81から両端側に延びるように形成され、長手方向の両端部近傍に、それぞれ固定具取付部86が形成され、この固定具取付部86が、ねじであるセード取付具87を用いて、器具本体部12側に着脱可能に取り付けられている。すなわち、これら固定具取付部86は、互いに回転対称に形成され、円弧状をなす溝部と、この溝部の一端部に形成された径大部とを備えている。また、セード取付具87は、つまみ部を備えたねじであり、予め反射体42のセード取付具取付部72に緩やかに螺合して保持されている。そこで、セード取付具87を、固定具取付部86の径大部を介して挿入させた後、セードアダプタ15を回動させ、セード取付具87を溝部に係止した状態から、セード取付具87を締め付けることにより、セードアダプタ15が反射体42に固定されるようになっている。   The shade adapter 15 includes a shade adapter main body 81 and an attachment leg 82 attached to the upper surface of the shade adapter main body 81. The shade adapter main body 81 has a substantially prismatic shape, and from both side surfaces, a shade engaging portion 84 is formed so as to be able to advance and retreat. . These shade engaging portions 84 are urged in the protruding direction by an urging means (not shown) disposed inside the shade adapter main body 81. A shade removal button 85 is provided on the lower surface of the shade adapter main body 81 to retreat the shade engaging portion 84 to the inside of the shade adapter main body 81. Further, the mounting legs 82 are formed of a metal plate or the like and are formed to extend from the shade adapter main body 81 to both ends, and fixture fixing portions 86 are respectively formed in the vicinity of both ends in the longitudinal direction. The fixture attaching portion 86 is detachably attached to the instrument body 12 side using a shade attachment 87 that is a screw. That is, these fixture attaching portions 86 are formed in a rotationally symmetrical manner, and have a circular arc-shaped groove portion and a large-diameter portion formed at one end portion of the groove portion. The shade attachment 87 is a screw provided with a knob portion, and is held in advance by being gently screwed into the shade attachment attachment portion 72 of the reflector 42 in advance. Therefore, after inserting the shade attachment 87 through the large diameter portion of the fixture attachment portion 86, the shade adapter 15 is rotated, and the shade attachment 87 is locked from the state where the shade attachment 87 is locked in the groove. By tightening, the shade adapter 15 is fixed to the reflector 42.

また、セード16は、透光性を有するセード本体部91と、このセード本体部91の中央部に設けられたセード取付受部92とを備えている。そして、セード本体部91は、透光性を有する乳白色のアクリルなどの樹脂などにて平面矩形状に形成され、必要に応じて適宜の意匠が施されている。また、このセード本体部91の平面形状は、枠体14の枠本体部76の内側の縁部までの寸法より大きく、かつ、枠本体部76の外側の縁部までの寸法までの寸法より小さく設定され、セード16の外周部に、枠本体部76が露出して外観を向上するようになっている。また、セード取付受部92は、セード取付受部本体部94と、このセード取付受部本体部94の下側で水平方向に移動してこのセード取付受部本体部94を開閉可能に覆う化粧蓋95とを備えている。そして、セード取付受部92をセードアダプタ15に係合して装着した状態で、セード本体部91が、枠本体部76の下方に離間して、器具本体部12などを覆うようになっている。   The shade 16 includes a shade main body portion 91 having translucency and a shade attachment receiving portion 92 provided at a central portion of the shade main body portion 91. The shade body 91 is formed in a planar rectangular shape using a resin such as translucent milky white acrylic, and an appropriate design is applied as necessary. Further, the planar shape of the shade main body 91 is larger than the dimension up to the inner edge of the frame main body 76 of the frame body 14 and smaller than the dimension up to the outer edge of the frame main body 76. The frame body 76 is exposed on the outer periphery of the shade 16 to improve the appearance. The shade attachment receiving portion 92 is a makeup that covers the shade attachment receiving portion main body 94 and the shade attachment receiving portion main body 94 so that the shade attachment receiving portion main body 94 can be opened and closed horizontally. And a lid 95. Then, in a state where the shade attachment receiving portion 92 is engaged with and attached to the shade adapter 15, the shade main body portion 91 is separated below the frame main body portion 76 to cover the instrument main body portion 12 and the like. .

そして、この照明器具1の器具取付面への取付作業は、引掛金具33を引掛シーリング3の接続孔3bに挿入して所定角度だけ回動させることにより、引掛シーリング3にアダプタ11を電気的に接続されるとともに機械的に取り付けられる。   The lighting fixture 1 is attached to the fixture mounting surface by inserting the hook metal fitting 33 into the connection hole 3b of the hook ceiling 3 and rotating it by a predetermined angle to electrically connect the adapter 11 to the hook ceiling 3. Connected and mechanically attached.

次いで、このアダプタ11に、器具本体41に反射体42及び枠体14を組み合わせ予め蛍光ランプ10を装着した器具本体部12を取り付ける。すなわち、器具本体41の取付孔46にアダプタ本体31を位置合わせして器具本体部12を押し上げることにより、取付孔46の周囲に係合部35が係合し、機械的に取り付けられる。そして、アダプタ11の接続コネクタ39に本体側電源コネクタを接続することにより、アダプタ11及び引掛シーリング3を介して点灯装置48が電源線に接続され、電力が供給される。また、各蛍光ランプ10は、口金部25をランプソケット51に装着し、口金部25の反対側に位置する発光管21をランプホルダ74で係合保持して器具本体部12に保持されている。   Next, the adapter main body 12 in which the fluorescent lamp 10 is mounted in advance is attached to the adapter 11 by combining the reflector 42 and the frame body 14 with the instrument main body 41. That is, when the adapter main body 31 is aligned with the mounting hole 46 of the instrument main body 41 and the instrument main body part 12 is pushed up, the engaging portion 35 is engaged around the attachment hole 46 and mechanically attached. Then, by connecting the main body side power connector to the connection connector 39 of the adapter 11, the lighting device 48 is connected to the power line via the adapter 11 and the hooking ceiling 3, and power is supplied. In addition, each fluorescent lamp 10 is held in the instrument main body 12 by mounting the base portion 25 to the lamp socket 51 and engaging and holding the arc tube 21 located on the opposite side of the base portion 25 by the lamp holder 74. .

次いで、セード取付具87を用い、セードアダプタ15を反射体42に取り付ける。この状態から、化粧蓋95を開いた状態で、セード取付受部92をセードアダプタ本体部81に位置合わせしてセード16を押し上げると、セード係合部84がセード取付受部92に係合し、セード16がセードアダプタ15に機械的に保持される。ここで、化粧蓋95を閉じることにより、照明器具位置の器具取付面への取付作業が完了する。   Next, the shade adapter 15 is attached to the reflector 42 using the shade attachment 87. From this state, with the makeup lid 95 open, when the shade attachment receiving portion 92 is aligned with the shade adapter main body 81 and the shade 16 is pushed up, the shade engaging portion 84 engages with the shade attachment receiving portion 92. The shade 16 is mechanically held by the shade adapter 15. Here, by closing the decorative lid 95, the mounting operation to the fixture mounting surface at the position of the lighting fixture is completed.

また、蛍光ランプ10の交換作業などの際は、化粧蓋95を開き、セードアダプタ15のセード取り外しボタン85を押動操作することにより、セード係合部84とセード取付受部92との係合が解除され、セード16を取り外しできる。さらに、照明器具1を器具取付面から取り外す際は、セード取付具87を緩めてセードアダプタ15を回動し、セードアダプタ15を反射体42から取り外し、アダプタ11の接続コネクタ39と本体側電源コネクタとを外した状態で、解除ボタン36を押動することにより、係合部35と器具本体41との係合を解除し、器具本体部12を下方に取り外すことができる。さらに、引掛シーリングロック解除ボタン34を押しながら、アダプタ本体31を回動させることにより、アダプタ11を引掛シーリング3から取り外すことができる。   Further, when replacing the fluorescent lamp 10, etc., the makeup lid 95 is opened and the shade removal button 85 of the shade adapter 15 is pushed to engage the shade engaging portion 84 and the shade attachment receiving portion 92. Is released and the shade 16 can be removed. Furthermore, when removing the lighting fixture 1 from the fixture mounting surface, the shade fixture 87 is loosened and the shade adapter 15 is rotated, the shade adapter 15 is removed from the reflector 42, and the connection connector 39 of the adapter 11 and the main body side power connector are removed. When the release button 36 is pushed in a state in which is removed, the engagement between the engaging portion 35 and the instrument main body 41 can be released, and the instrument main body 12 can be removed downward. Furthermore, the adapter 11 can be removed from the hook ceiling 3 by rotating the adapter body 31 while pressing the hook ceiling lock release button 34.

また、照明器具1を器具取付面へ設置した状態で、図示しないリモコン装置の操作により、あるいは、壁スイッチの所定時間内の複数回の操作により、2本の蛍光ランプ10を点灯する全点灯状態、1本の蛍光ランプ10のみを点灯する調光点灯状態、常夜灯の電球52を点灯する常夜灯点灯状態、及び消灯状態を切換できるようになっている。   In addition, with the lighting fixture 1 installed on the fixture mounting surface, a fully lit state in which the two fluorescent lamps 10 are lit by an operation of a remote controller (not shown) or a plurality of operations within a predetermined time of a wall switch. The dimming lighting state in which only one fluorescent lamp 10 is lit, the nightlight lighting state in which the nightlight bulb 52 is lit, and the extinguishing state can be switched.

そして、照明器具1を器具取付面へ設置した状態で、図4及び図5に示すように、各蛍光ランプ10の発光管21は反射体42の反射面部63に光学的に対向し、より詳細には、発光管21の直管部22はそれぞれ反射体42の主反射面部64に対向し、発光管21の角管部23は反射体42の角反射面部65に対向して配置されている。そこで、発光管21から照射された光は、直接的に下方のセード16に向かう他、直管部22から照射された光が主反射面部64で反射されて四方に向かうとともに、角管部23から照射された光が角反射面部65で反射されて、上記の四方の方向と交差する方向である四隅の方向へ向かうようになっている。すなわち、反射面部63からの反射光の配光ピークが照明器具1の全外周方向に渡るように設定されているものである。また、側方に向かう光は、枠体14の下側を介して枠体14を照明するとともに、枠体14の上側を介し、さらに反射体42の外反射面部67で反射されて器具取付面である天井面などを照明し、照明効果が向上する。   And in the state which installed the lighting fixture 1 in the fixture mounting surface, as shown in FIG.4 and FIG.5, as shown in FIG.4 and FIG.5, the arc tube 21 of each fluorescent lamp 10 optically opposes the reflective surface part 63 of the reflector 42, and is shown in detail. The straight tube portion 22 of the arc tube 21 is opposed to the main reflection surface portion 64 of the reflector 42, and the square tube portion 23 of the arc tube 21 is disposed to be opposed to the angle reflection surface portion 65 of the reflector 42. . Therefore, the light emitted from the arc tube 21 goes directly to the lower shade 16, and the light emitted from the straight tube part 22 is reflected by the main reflecting surface part 64 and goes in all directions, and the square tube part 23 The light radiated from is reflected by the angular reflection surface portion 65 and travels toward the four corners, which are the directions intersecting the four directions. That is, the light distribution peak of the reflected light from the reflecting surface portion 63 is set so as to extend in the entire outer peripheral direction of the lighting fixture 1. Further, the light directed to the side illuminates the frame body 14 through the lower side of the frame body 14 and is reflected by the outer reflection surface portion 67 of the reflector 42 through the upper side of the frame body 14 to be attached to the fixture mounting surface. Illuminating the ceiling surface, etc., the lighting effect is improved.

さらに、各蛍光ランプ10の発光管21と反射体42の反射面部63との間の離間距離は、図6(b)に示す直管部22と主反射面部64との距離L2よりも、図6(a)に示す角管部23と角反射面部65との距離L1が大きくなるように設定され、より均一に光を反射してセード16における光のむらが抑制されるとともに、角管部23の過度の加熱が抑制されている。   Further, the separation distance between the arc tube 21 of each fluorescent lamp 10 and the reflection surface portion 63 of the reflector 42 is larger than the distance L2 between the straight tube portion 22 and the main reflection surface portion 64 shown in FIG. 6 (a) is set so that the distance L1 between the rectangular tube portion 23 and the angular reflecting surface portion 65 is increased, and the light is more uniformly reflected to suppress the unevenness of light in the shade 16, and the rectangular tube portion 23 Excessive heating is suppressed.

このように、本実施の形態によれば、器具本体41を覆うとともに正方形状の蛍光ランプ10に対向する反射体42の反射面部63について、直管部22に対向する主反射面部64を設けるとともに、蛍光ランプ10の四隅の角管部23に対向して角反射面部65を設け、いわば略八角錐状としたため、主反射面部64により照明器具1すなわち四角い部屋の四方に向かい効率良く光を照射して照明効果を向上できるとともに、角反射面部65で照明器具1の四隅に向かう光の照射を大きくして四隅方向についても照度を確保でき、外周方向の全範囲に渡って効率的に反射光を照射でき、いわば光学特性を容易に向上できる。   Thus, according to the present embodiment, for the reflection surface portion 63 of the reflector 42 that covers the instrument body 41 and faces the square fluorescent lamp 10, the main reflection surface portion 64 that faces the straight tube portion 22 is provided. The angle reflecting surface portion 65 is provided opposite to the corner tube portions 23 at the four corners of the fluorescent lamp 10, so that it has a substantially octagonal pyramid shape. In addition to improving the lighting effect, the angle reflection surface portion 65 can increase the irradiation of light toward the four corners of the luminaire 1 to secure illuminance in the four corner directions, and the reflected light can be efficiently reflected over the entire range in the outer peripheral direction. In other words, the optical characteristics can be easily improved.

さらに、反射体42の反射面部63について、直管部22と主反射面部64との距離L2よりも、角管部23と角反射面部65との距離L1を大きく設定したため、角管部23の方向について偏らずに光が反射され、側方及び下方にセード16にむらが発生することを抑制でき、側方及び下方の照明効果を向上できるとともに、蛍光ランプ10の角管部23の温度上昇を抑制できる。そこで、例えば、蛍光ランプ10の角管部23の温度を下げて、各角管部23に最冷部を設定した場合の最冷部温度を低下させることができる。   Further, the distance L1 between the square tube portion 23 and the angular reflection surface portion 65 is set larger than the distance L2 between the straight tube portion 22 and the main reflection surface portion 64 for the reflection surface portion 63 of the reflector 42. The light is reflected without being biased in the direction, and it is possible to suppress unevenness of the shade 16 on the side and below, and the side and bottom lighting effects can be improved, and the temperature of the square tube portion 23 of the fluorescent lamp 10 is increased. Can be suppressed. In view of this, for example, the temperature of the rectangular tube portion 23 of the fluorescent lamp 10 can be lowered to lower the coldest portion temperature when the coldest portion is set in each square tube portion 23.

また、器具本体41のシャーシ44は、アルミニウムなど放熱性の良好な材料で形成したため、点灯装置48の効果的な放熱手段として機能させ、点灯装置48の温度の上昇を抑制することができる。さらに、シャーシ44は、黒色など放熱性の良い色とすることにより、点灯装置48の効果的な放熱手段として機能させることができる。すなわち、この器具本体41のシャーシ44は、外観に現れず、また、反射体42とも別体となるため、放熱特性の良好な形状や色に設定することができる。   Further, since the chassis 44 of the appliance body 41 is formed of a material having good heat dissipation such as aluminum, it can function as an effective heat dissipation means of the lighting device 48 and suppress an increase in temperature of the lighting device 48. Furthermore, the chassis 44 can be made to function as an effective heat dissipating means of the lighting device 48 by using a color with good heat dissipation such as black. That is, the chassis 44 of the instrument main body 41 does not appear in appearance, and is separate from the reflector 42, so that it can be set to a shape and color with good heat dissipation characteristics.

また、器具本体41のシャーシ44は、他の形状の反射体などを備えた照明器具と共用とし、すなわち、部品の共用化を進め、汎用性を向上して、製造コストを低減できる。例えば、図7に示すように、ランプソケット51と点灯装置48とを取り付けたシャーシ44を備える器具本体41について、図9及び図10に示すように、反射体42で点灯装置48とシャーシ44とを覆う天井直付形の照明器具であって、複数の円環状の蛍光ランプ100を同心状に配置し、これら蛍光ランプ100に光学的に対向する円錐台状の反射面部63を備えた反射体42を用いる照明器具と、シャーシ44、点灯装置48、及びランプソケット51などを備えた器具本体41を共用とすることができる。なお、図9及び図10において、61は円形の平板状の基板部、74はランプホルダであり、図示しないセードが取り付けられて、照明器具が構成される。   Further, the chassis 44 of the appliance body 41 can be shared with a lighting fixture having a reflector of another shape, that is, the parts can be shared, the versatility can be improved, and the manufacturing cost can be reduced. For example, as shown in FIG. 7, an appliance body 41 including a chassis 44 to which a lamp socket 51 and a lighting device 48 are attached, and as shown in FIGS. A ceiling-mounted lighting fixture that covers a plurality of circular fluorescent lamps 100 arranged concentrically, and a reflector having a truncated cone-shaped reflecting surface portion 63 that optically opposes the fluorescent lamps 100 The lighting fixture using 42 and the fixture main body 41 including the chassis 44, the lighting device 48, the lamp socket 51, and the like can be shared. 9 and 10, 61 is a circular flat plate-like substrate portion, 74 is a lamp holder, and a shade (not shown) is attached to constitute a lighting fixture.

また、器具本体41のシャーシ44は、略円柱状のものに限られず、平面略多角形状など、適宜の形状とすることができる。例えば、図8に示すように、角部を曲線状とした平面略四角形状の小形の共用のシャーシ44を用いた器具本体41を構成することもできる。   Further, the chassis 44 of the instrument main body 41 is not limited to a substantially cylindrical shape, and may have an appropriate shape such as a substantially polygonal shape on a plane. For example, as shown in FIG. 8, an instrument main body 41 using a small, shared chassis 44 having a substantially rectangular shape with a curved corner may be configured.

なお、上記の各実施の形態において、反射体42は、水平状の枠面部66を設けたが、このような枠面部66を設けないこともできる。すなわち、屈曲した稜線を介しあるいは同一平面上に連続して、角反射面部65と外角反射面部69とを連続して形成することもできる。   In each of the above embodiments, the reflector 42 is provided with the horizontal frame surface portion 66. However, such a frame surface portion 66 may not be provided. In other words, the angle reflection surface portion 65 and the outer angle reflection surface portion 69 can be formed continuously via a bent ridge line or continuously on the same plane.

また、照明器具1は、引掛シーリング3を用いず、木ねじなどにて取り付けることもできる。また、リモコン装置のリモコン受光装置55や常夜灯のソケット53などは設けないこともできる。   Moreover, the lighting fixture 1 can also be attached with a wood screw etc., without using the hook ceiling 3. FIG. Further, the remote control light receiving device 55 of the remote control device or the nightlight socket 53 may be omitted.

また、蛍光ランプは、正方形状などの四角形状のものに限られず、三角形環状あるいは五角形以上の多角形環状とすることもできる。そして、この蛍光ランプの形状に応じて、反射体の反射面部は、略六角錐状あるいは略十角錐状以上の多角錐状とすることができる。   Further, the fluorescent lamp is not limited to a square shape such as a square shape, and may be a triangular ring or a polygonal ring of pentagon or more. Depending on the shape of the fluorescent lamp, the reflecting surface portion of the reflector can be formed into a substantially hexagonal pyramid shape or a polygonal pyramid shape of a substantially decagonal pyramid shape or more.

本発明は、例えば、天井面に直付設置される照明器具に適用できる。   The present invention can be applied to, for example, a lighting fixture that is directly installed on a ceiling surface.

本発明の照明器具の一実施の形態を示す分解斜視図である。It is a disassembled perspective view which shows one Embodiment of the lighting fixture of this invention. 同上照明器具の一部を切り欠いた側面図である。It is the side view which notched a part of lighting fixture same as the above. 同上照明器具の斜視図である。It is a perspective view of a lighting fixture same as the above. 同上照明器具の一部の底面図である。It is a one part bottom view of a lighting fixture same as the above. 同上照明器具の一部の分解した状態の側面図である。It is a side view of the state which a part of lighting fixture same as the above decomposed. 同上照明器具の説明図であり、(a)は角管部と角反射面部とが対向する部分、(b)は直管部と主反射面部とが対向する部分である。It is explanatory drawing of a lighting fixture same as the above, (a) is a part where a square tube part and an angular reflection surface part oppose, (b) is a part where a straight pipe part and a main reflection surface part oppose. 本発明の照明器具のシャーシの他の実施の形態を示す底面図である。It is a bottom view which shows other embodiment of the chassis of the lighting fixture of this invention. 本発明の照明器具のシャーシのさらに他の実施の形態を示す底面図である。It is a bottom view which shows other embodiment of the chassis of the lighting fixture of this invention. 同上シャーシを用いた例を示す分解した状態の側面図である。It is a side view of the state which decomposed | disassembled which shows the example using a chassis same as the above. 同上シャーシを用いた例を示す底面図である。It is a bottom view which shows the example using a chassis same as the above.

符号の説明Explanation of symbols

1 照明器具
10 蛍光ランプ
12 器具本体部
22 直管部
23 角管部
63 反射面部
64 主反射面部
65 角反射面部
1 lighting equipment
10 Fluorescent lamp
12 Instrument body
22 Straight pipe section
23 Square tube
63 Reflective surface
64 Main reflective surface
65 angle reflection surface

Claims (2)

複数の直管部及び直管部同士を交差する方向に接続する角管部を有する略多角形環状の蛍光ランプと;
蛍光ランプの直管部と反射面が対向する主反射面部及び主反射板部同士を接続し角管部と反射面が対向する角反射面部を設けた反射面部を備えた器具本体部と;
を具備することを特徴とする照明器具。
A substantially polygonal annular fluorescent lamp having a plurality of straight tube portions and a square tube portion connecting the straight tube portions in a direction crossing each other;
An instrument main body provided with a reflective surface portion in which a straight tube portion of the fluorescent lamp and a main reflection surface portion opposed to the reflection surface and a main reflection plate portion are connected to each other and an angular reflection surface portion opposed to the reflection tube surface is provided;
The lighting fixture characterized by comprising.
直管部と主反射面部との距離よりも、角管部と角反射面部との距離を大きく設定した
ことを特徴とする請求項1記載の照明器具。
The lighting fixture according to claim 1, wherein the distance between the square tube portion and the angular reflection surface portion is set larger than the distance between the straight tube portion and the main reflection surface portion.
JP2005033576A 2005-02-09 2005-02-09 lighting equipment Expired - Fee Related JP4500700B2 (en)

Priority Applications (1)

Application Number Priority Date Filing Date Title
JP2005033576A JP4500700B2 (en) 2005-02-09 2005-02-09 lighting equipment

Applications Claiming Priority (1)

Application Number Priority Date Filing Date Title
JP2005033576A JP4500700B2 (en) 2005-02-09 2005-02-09 lighting equipment

Publications (2)

Publication Number Publication Date
JP2006221939A true JP2006221939A (en) 2006-08-24
JP4500700B2 JP4500700B2 (en) 2010-07-14

Family

ID=36984108

Family Applications (1)

Application Number Title Priority Date Filing Date
JP2005033576A Expired - Fee Related JP4500700B2 (en) 2005-02-09 2005-02-09 lighting equipment

Country Status (1)

Country Link
JP (1) JP4500700B2 (en)

Cited By (5)

* Cited by examiner, † Cited by third party
Publication number Priority date Publication date Assignee Title
JP2008204735A (en) * 2007-02-19 2008-09-04 Matsushita Electric Works Ltd Lighting apparatus
JP2008251412A (en) * 2007-03-30 2008-10-16 Toshiba Home Lighting Kk lighting equipment
JP2011048942A (en) * 2009-08-25 2011-03-10 Panasonic Electric Works Co Ltd Lighting fixture
DE102012211938A1 (en) * 2012-07-09 2014-01-09 Oktalite Lichttechnik GmbH Reflector for use in high-pressure lamp to produce lighting surface, has side surfaces forming half reflectors from which light is radiatable on potion of illuminated surface such that illuminated surface is produced with illuminance maxima
CN109237367A (en) * 2018-09-14 2019-01-18 浙江卡福曼木业有限公司 Peace tears efficiently hall's Chinese style open and shines away road junction adornment frame

Families Citing this family (1)

* Cited by examiner, † Cited by third party
Publication number Priority date Publication date Assignee Title
CN102937266B (en) * 2012-11-08 2016-04-20 上海森本照明科技股份有限公司 A kind of reflector of annular non-polar fluorescent lamp

Citations (2)

* Cited by examiner, † Cited by third party
Publication number Priority date Publication date Assignee Title
JPH02284302A (en) * 1989-04-25 1990-11-21 Tokyo Electric Co Ltd Indirect lighting equipment
JP2004265649A (en) * 2003-02-28 2004-09-24 Toshiba Lighting & Technology Corp lighting equipment

Patent Citations (2)

* Cited by examiner, † Cited by third party
Publication number Priority date Publication date Assignee Title
JPH02284302A (en) * 1989-04-25 1990-11-21 Tokyo Electric Co Ltd Indirect lighting equipment
JP2004265649A (en) * 2003-02-28 2004-09-24 Toshiba Lighting & Technology Corp lighting equipment

Cited By (6)

* Cited by examiner, † Cited by third party
Publication number Priority date Publication date Assignee Title
JP2008204735A (en) * 2007-02-19 2008-09-04 Matsushita Electric Works Ltd Lighting apparatus
JP2008251412A (en) * 2007-03-30 2008-10-16 Toshiba Home Lighting Kk lighting equipment
JP2011048942A (en) * 2009-08-25 2011-03-10 Panasonic Electric Works Co Ltd Lighting fixture
DE102012211938A1 (en) * 2012-07-09 2014-01-09 Oktalite Lichttechnik GmbH Reflector for use in high-pressure lamp to produce lighting surface, has side surfaces forming half reflectors from which light is radiatable on potion of illuminated surface such that illuminated surface is produced with illuminance maxima
DE102012211938B4 (en) * 2012-07-09 2015-07-16 Oktalite Lichttechnik GmbH Reflector with flat reflector surfaces
CN109237367A (en) * 2018-09-14 2019-01-18 浙江卡福曼木业有限公司 Peace tears efficiently hall's Chinese style open and shines away road junction adornment frame

Also Published As

Publication number Publication date
JP4500700B2 (en) 2010-07-14

Similar Documents

Publication Publication Date Title
JP7015458B2 (en) lighting equipment
US20100002451A1 (en) Tinted and frosted outer bulb cover for lights
JP4630255B2 (en) lighting equipment
JP2009266780A (en) Luminous body and luminaire
JP5919505B2 (en) lighting equipment
JP2011044412A (en) Lighting fixture
WO2014041809A1 (en) Lighting fixture
JP4500700B2 (en) lighting equipment
JP2012146493A (en) lighting equipment
JP5419800B2 (en) lighting equipment
JP3809157B2 (en) lighting equipment
JPH0381907A (en) Illuminating fixture for round form fluorescent lamp
KR200437241Y1 (en) Lighting structure
CN222363784U (en) Lighting device
JP4280916B2 (en) Recessed ceiling lighting fixture
JP6080041B2 (en) LED lighting fixtures
CN215982157U (en) a lighting fixture
KR20150052493A (en) Buried led lamp
JP2009283198A (en) Embedded lighting device
JP4661836B2 (en) Reflector for lighting fixture and lighting fixture
JP2011165499A (en) Lighting fixture
JP2017054611A (en) Device body structure of lighting fixture
KR200269104Y1 (en) Lampshade for decorative illuminator
JP2008204697A (en) Luminaire
JP2007280733A (en) Pendant-type lighting equipment

Legal Events

Date Code Title Description
A621 Written request for application examination

Free format text: JAPANESE INTERMEDIATE CODE: A621

Effective date: 20080128

A711 Notification of change in applicant

Free format text: JAPANESE INTERMEDIATE CODE: A712

Effective date: 20080128

A977 Report on retrieval

Free format text: JAPANESE INTERMEDIATE CODE: A971007

Effective date: 20090928

A131 Notification of reasons for refusal

Free format text: JAPANESE INTERMEDIATE CODE: A131

Effective date: 20091007

A521 Request for written amendment filed

Free format text: JAPANESE INTERMEDIATE CODE: A523

Effective date: 20091126

TRDD Decision of grant or rejection written
A01 Written decision to grant a patent or to grant a registration (utility model)

Free format text: JAPANESE INTERMEDIATE CODE: A01

Effective date: 20100407

A01 Written decision to grant a patent or to grant a registration (utility model)

Free format text: JAPANESE INTERMEDIATE CODE: A01

A61 First payment of annual fees (during grant procedure)

Free format text: JAPANESE INTERMEDIATE CODE: A61

Effective date: 20100419

FPAY Renewal fee payment (event date is renewal date of database)

Free format text: PAYMENT UNTIL: 20130423

Year of fee payment: 3

R150 Certificate of patent or registration of utility model

Free format text: JAPANESE INTERMEDIATE CODE: R150

FPAY Renewal fee payment (event date is renewal date of database)

Free format text: PAYMENT UNTIL: 20130423

Year of fee payment: 3

LAPS Cancellation because of no payment of annual fees