JP2006183945A - Oil cooler - Google Patents

Oil cooler Download PDF

Info

Publication number
JP2006183945A
JP2006183945A JP2004378409A JP2004378409A JP2006183945A JP 2006183945 A JP2006183945 A JP 2006183945A JP 2004378409 A JP2004378409 A JP 2004378409A JP 2004378409 A JP2004378409 A JP 2004378409A JP 2006183945 A JP2006183945 A JP 2006183945A
Authority
JP
Japan
Prior art keywords
fluid
cooling water
oil
flow path
core plate
Prior art date
Legal status (The legal status is an assumption and is not a legal conclusion. Google has not performed a legal analysis and makes no representation as to the accuracy of the status listed.)
Pending
Application number
JP2004378409A
Other languages
Japanese (ja)
Other versions
JP2006183945A5 (en
Inventor
Naoki Oi
直樹 大井
Hirotaka Kobayashi
裕貴 小林
Current Assignee (The listed assignees may be inaccurate. Google has not performed a legal analysis and makes no representation or warranty as to the accuracy of the list.)
Mahle Filter Systems Japan Corp
Original Assignee
Mahle Filter Systems Japan Corp
Priority date (The priority date is an assumption and is not a legal conclusion. Google has not performed a legal analysis and makes no representation as to the accuracy of the date listed.)
Filing date
Publication date
Application filed by Mahle Filter Systems Japan Corp filed Critical Mahle Filter Systems Japan Corp
Priority to JP2004378409A priority Critical patent/JP2006183945A/en
Publication of JP2006183945A publication Critical patent/JP2006183945A/en
Publication of JP2006183945A5 publication Critical patent/JP2006183945A5/ja
Pending legal-status Critical Current

Links

Images

Landscapes

  • Details Of Heat-Exchange And Heat-Transfer (AREA)
  • Heat-Exchange Devices With Radiators And Conduit Assemblies (AREA)

Abstract

<P>PROBLEM TO BE SOLVED: To provide an oil cooler improved in heat exchange efficiency. <P>SOLUTION: The oil cooler has a large number of core plates 5 laminated and joined with one another, wherein clearances between the laminated core plates 5 constitute fluid passages allowing a fluid to flow through, and these fluid passages are used to constitute oil passages 6 and cooling water passages 7 alternately in the laminated direction of the core plates 5. The cooling water passage 7 has a cooling water lead-in hole 9a for leading the fluid into the cooling water passage 7, and a cooling water discharge hole 9b for discharging the fluid from the cooling water passage 7. The lower core plate 31 (5) is formed with a plurality of protruding parts 40 protruded toward the upper core plate 32 (5), and the plurality of protruding parts 40 are set to cause roughness and fineness in distribution in the cooling water passage 7 so that the flow of the fluid from the cooling water lead-in hole 9a to the cooling water discharge hole 9b is uniform in the whole cooling water passage 7. <P>COPYRIGHT: (C)2006,JPO&NCIPI

Description

本発明は、オイルクーラに関し、特にオイルクーラ内を流れるオイル及び冷却水の流路の形状に関する。   The present invention relates to an oil cooler, and more particularly to the shape of a flow path of oil and cooling water flowing in the oil cooler.

特許文献1には、内部にオイル通路を構成するチューブ体を複数段積層してなる冷却エレメントをウォータジャケット内に配置し、チューブ体の内部を流れるオイルと、ウォータジャケット内を流れる冷却水との間で熱交換を行うようにした構成が開示されている。   In Patent Document 1, a cooling element formed by laminating a plurality of tube bodies constituting an oil passage therein is arranged in a water jacket, and oil flowing inside the tube body and cooling water flowing inside the water jacket are arranged. A configuration in which heat exchange is performed between the two is disclosed.

この特許文献1において、チューブ体は、多数の突起が上向きに形成された下向き皿状の上プレートと、多数の突起が下向きに形成された上向き皿状の下プレートと、両者の間に配置される多孔波状のフィンプレートと、から大略構成され、長手方向の一端部にオイルの入口が設けられ、長手方向の他端部にオイルの出口が設けられている。
特開2000−283661号公報
In Patent Document 1, a tube body is disposed between a downward plate-shaped upper plate in which a large number of protrusions are formed upward, and an upward dish-shaped lower plate in which a large number of protrusions are formed downward. An oil inlet is provided at one end in the longitudinal direction and an oil outlet is provided at the other end in the longitudinal direction.
JP 2000-283661 A

ところで、この特許文献1においては、オイルの入口及びオイルの出口の大きさが、チューブ体の内部に形成されるオイル流路の幅に比べて小さくなるよう形成されているため、チューブ体の内部において、オイルは上述したオイルの入口とオイルの出口とを直線的に結んだ最短経路上で最も流れ易くなり、かつこの最短経路から離れるほど流れにくく滞留しやすくなる。つまり、チューブ体の内部のオイルの流れが、全体として不均一なものになってしまい、オイルの冷却効率が悪化してしまう虞がある。   By the way, in Patent Document 1, since the size of the oil inlet and the oil outlet is formed to be smaller than the width of the oil flow path formed inside the tube body, In this case, the oil is most likely to flow on the shortest path in which the oil inlet and the oil outlet described above are linearly connected, and the oil is less likely to flow and stay more away from the shortest path. In other words, the flow of oil inside the tube body becomes non-uniform as a whole, and the cooling efficiency of the oil may be deteriorated.

そこで、本発明の請求項1は、多数のコアプレートを積層して互いに接合し、積層されたコアプレート間の隙間によって流体が通流可能な流体流路を構成し、これらの流体流路を用いてオイル流路と冷却水流路とをコアプレートの積層方向に交互に構成するようにしたオイルクーラであって、各流体流路が、流体流路内に流体を導入する流体導入口と、流体流路内から流体を排出する流体排出口とを有するオイルクーラにおいて、流体流路を構成する上下一対のコアプレートの内の一方のコアプレートには、他方のコアプレートに向かって突出する複数の突起部が形成され、これら複数の突起部は、流体導入口から流体排出口に至る流体の流れが流体流路全体で均一となるよう、流体流路内に粗密となる分布が形成されていることを特徴としている。流体流路内において、流体の流れは、流体導入口と流体排出口とを直線的に結ぶ最短経路で最も流れ易くなり、この最短経路から離れた位置ほど流体は流れにくくなる。しかしながら、コアプレートに形成された複数の突起部の流体流路内における分布に粗密をつけることで、流体流路内における流体の流れを均一化することが可能となる。   Therefore, according to the first aspect of the present invention, a large number of core plates are stacked and joined together, and a fluid flow path is formed through which fluid can flow through the gaps between the stacked core plates. An oil cooler in which the oil flow path and the cooling water flow path are alternately configured in the stacking direction of the core plate, each fluid flow path introducing a fluid into the fluid flow path; and In an oil cooler having a fluid discharge port for discharging fluid from the fluid flow path, one core plate of a pair of upper and lower core plates constituting the fluid flow path has a plurality protruding toward the other core plate. The plurality of protrusions are formed so as to have a dense distribution in the fluid flow path so that the flow of fluid from the fluid introduction port to the fluid discharge port is uniform throughout the fluid flow path. It is characterized by There. In the fluid flow path, the fluid flow is most likely to flow in the shortest path that linearly connects the fluid introduction port and the fluid discharge port, and the fluid is less likely to flow at positions away from this shortest path. However, it is possible to make the flow of fluid in the fluid flow path uniform by making the distribution of the plurality of protrusions formed on the core plate dense in the fluid flow path.

また、請求項2のように、流体流路を構成する上下一対のコアプレートの内の一方のコアプレートには、流体導入口の近傍に、他方のコアプレートに向かって突出する少なくとも一対の細長い長突起部を形成し、一対の長突起部が、両者の間に構成される細長い長突起部間流路の一端が流体導入口を指向し、長突起部間流路の他端が流体排出口を指向しないよう設定するようにしてもよい。これによって、流体の流れにくい部分に向かって流体がより積極的に誘導されることになり、一層流体流路内における流体の流れが均一化される。   Further, as in claim 2, one core plate of a pair of upper and lower core plates constituting the fluid flow path has at least a pair of elongated shapes projecting toward the other core plate in the vicinity of the fluid inlet. A long protrusion is formed, and one end of a long inter-protrusion channel formed between the pair of long protuberances is directed to the fluid inlet, and the other end of the long inter-protrusion channel is fluid drainage. You may make it set so that an exit may not be pointed. As a result, the fluid is more actively guided toward the portion where the fluid is difficult to flow, and the flow of the fluid in the fluid flow path is made more uniform.

本発明によれば、コアプレート5間に構成される流体流路内における流体の流れを均一化することができるため、オイルクーラの熱交換効率を向上させることができる。   According to the present invention, since the fluid flow in the fluid flow path formed between the core plates 5 can be made uniform, the heat exchange efficiency of the oil cooler can be improved.

そして、請求項2のように、流体導入口に近接させた一対の長突起部により構成された長突起部間流路により、流体流路内の冷却水が流れにくくなる部分に向けて冷却水を誘導することで、一層効果的に流体流路内における流体の流れを均一化することができる。   Further, as in claim 2, the cooling water is directed toward the portion where the cooling water in the fluid flow path becomes difficult to flow by the flow path between the long projection parts constituted by the pair of long projection parts close to the fluid introduction port. By guiding the above, it is possible to make the flow of fluid in the fluid flow path more uniform.

以下、本発明の一実施形態を図面に基づいて詳細に説明する。   Hereinafter, an embodiment of the present invention will be described in detail with reference to the drawings.

図1は本発明に係るオイルクーラの一対のコアプレート5を分離して示した斜視図であり、図2は図1におけるA−A線に沿った位置での本発明に係るオイルクーラの断面図を示し、図3は図1におけるB−B線に沿った位置での本発明に係るオイルクーラの断面図を示し、図4は図1におけるC−C線に沿った位置での本発明に係るオイルクーラの断面図を示している。   FIG. 1 is a perspective view showing a pair of core plates 5 of an oil cooler according to the present invention separately, and FIG. 2 is a cross section of the oil cooler according to the present invention at a position along the line AA in FIG. FIG. 3 shows a cross-sectional view of the oil cooler according to the present invention at a position along the line BB in FIG. 1, and FIG. 4 shows the present invention at a position along the line CC in FIG. Sectional drawing of the oil cooler which concerns on is shown.

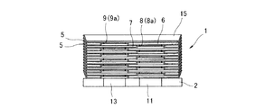
初めに、オイルクーラ全体の構成を説明する。オイルクーラは、オイルと冷却水との熱交換を行うコア部1と、このコア部1の上面に取り付けられる金属製の頂部プレート15と、コア部1の下面に取り付けられる比較的厚肉の金属板からなる底部プレート2と、から大略構成されている。   First, the overall configuration of the oil cooler will be described. The oil cooler includes a core portion 1 that performs heat exchange between oil and cooling water, a metal top plate 15 that is attached to the upper surface of the core portion 1, and a relatively thick metal that is attached to the lower surface of the core portion 1. The bottom plate 2 is generally composed of a plate.

コア部1は、基本的な形状が同一な多数の金属製のコアプレート5を積層し、積層されたコアプレート5,5間の隙間に流体が通流可能な流体流路を構成し、これらの流体流路を用いて、オイル流路6と冷却水流路7とが交互に構成されたものである。具体的には、コアプレート5は、全体として細長い略矩形を呈し、その周縁部5aは、テーパ状をなして、各コアプレート5を積層した状態では、各周縁部5aが互いに密に接するようになっている。そして、本実施形態においては、コアプレート5の長辺となる一辺側の2箇所にオイル連通孔8が開口形成されていると共に、上記一辺に平行な他辺側の2箇所に冷却水連通孔9が開口形成されている。さらに、コアプレート5には、複数の突起部40(詳細は後述)及び複数の長突起部41(詳細は後述)が、突出形成されている。   The core portion 1 is formed by laminating a large number of metal core plates 5 having the same basic shape, and constituting a fluid flow path through which a fluid can flow in a gap between the laminated core plates 5, 5. The oil flow path 6 and the cooling water flow path 7 are alternately configured using the fluid flow path. Specifically, the core plate 5 has an elongated, substantially rectangular shape as a whole, and its peripheral portion 5a is tapered so that the peripheral portions 5a are in close contact with each other in a state where the core plates 5 are stacked. It has become. In the present embodiment, the oil communication holes 8 are formed at two locations on one side that is the long side of the core plate 5 and the cooling water communication holes are formed at two locations on the other side parallel to the one side. An opening 9 is formed. Further, the core plate 5 is formed with a plurality of protrusions 40 (details will be described later) and a plurality of long protrusions 41 (details will be described later).

コアプレート5は、上記のオイル連通孔8や冷却水連通孔9の周囲がボス部10として一段高く形成されているものと、平坦なものとを交互に組み合わされることで、各コアプレート5間に流路となる一定の間隔が保持されている。   The core plate 5 is formed by alternately combining a flat plate with the oil communication hole 8 and the cooling water communication hole 9 around the oil communication hole 8 and the cooling water communication hole 9. A constant interval that serves as a flow path is maintained.

そして、隣接した2枚のコアプレート5,5の間では、それぞれのオイル連通孔8は、互いに一致した位置にあり、ボス部10の周囲が、各オイル連通孔8を囲むように隣接するコアプレート5と当接されている。これにより、多数のオイル連通孔8を介して、各オイル流路6(図2を参照)同士が連通すると共に、全体としてコア部1内をオイルが上下方向に通流し得るようになっている。また、冷却水連通孔9についても、オイル連通孔8と全く同様の構成となっており、隣接した2枚のコアプレート5,5の間では、それぞれの冷却水連通孔9は、互いに一致した位置にあり、ボス部10の周囲が、各冷却水連通孔9を囲むように隣接するコアプレート5と当接されている。これにより、多数の冷却水連通孔9を介して、各冷却水流路7(図3を参照)同士が連通すると共に、全体としてコア部1内を冷却水が上下方向に通流し、かつ各冷却水流路7内を流れるようになっている。   Between the two adjacent core plates 5, 5, the respective oil communication holes 8 are in positions that coincide with each other, and the cores adjacent so that the periphery of the boss portion 10 surrounds each oil communication hole 8. It is in contact with the plate 5. As a result, the oil flow paths 6 (see FIG. 2) communicate with each other through a large number of oil communication holes 8, and the oil can flow vertically through the core portion 1 as a whole. . Also, the cooling water communication hole 9 has the same configuration as that of the oil communication hole 8, and the cooling water communication holes 9 coincide with each other between the two adjacent core plates 5 and 5. The boss portion 10 is in contact with the adjacent core plate 5 so as to surround each cooling water communication hole 9. As a result, the cooling water flow paths 7 (see FIG. 3) communicate with each other through a large number of cooling water communication holes 9, and the cooling water flows vertically through the core portion 1 as a whole. It flows through the water flow path 7.

最下部のコアプレート5の下に積層された底部プレート2には、コア部1にオイルを導入するオイル導入貫通孔11と、コア部1からオイルを排出するオイル排出貫通孔12と、コア部1に冷却水を導入する冷却水導入貫通孔13と、コア部1から冷却水を排出する冷却水排出貫通孔14と、が形成されている。   The bottom plate 2 stacked under the lowermost core plate 5 includes an oil introduction through hole 11 for introducing oil into the core portion 1, an oil discharge through hole 12 for discharging oil from the core portion 1, and a core portion. A cooling water introduction through hole 13 for introducing cooling water into 1 and a cooling water discharge through hole 14 for discharging cooling water from the core portion 1 are formed.

上述した多数のコアプレート5、頂部プレート15、底部プレート2は、組み付け時に、ロー付によって一体化されている。   The numerous core plates 5, top plate 15, and bottom plate 2 described above are integrated by brazing when assembled.

上記の構成においては、内燃機関の各部を潤滑して高温となったオイルが、底部プレート2のオイル導入貫通孔11を介してコア部1の各オイル流路6へ導入され、冷却水と熱交換して冷却された上で、オイル排出貫通孔12から排出される。また、冷却水は、底部プレート2の冷却水導入貫通孔13を介してコア部の各冷却水流路7へ導入され、オイルと熱交換した上で、冷却水排出貫通孔14から排出される。   In the above-described configuration, oil that has become hot due to lubrication of each part of the internal combustion engine is introduced into each oil flow path 6 of the core part 1 through the oil introduction through hole 11 of the bottom plate 2, and is supplied with cooling water and heat. After being replaced and cooled, the oil is discharged from the oil discharge through hole 12. Further, the cooling water is introduced into each cooling water flow path 7 of the core portion via the cooling water introduction through hole 13 of the bottom plate 2 and is discharged from the cooling water discharge through hole 14 after exchanging heat with oil.

次に、本発明の要部となるコアプレート5の形状について、図1を用いて説明する。   Next, the shape of the core plate 5 which is a main part of the present invention will be described with reference to FIG.

ここで、以下の説明では、便宜上、図1において相対的に下方に位置するコアプレート5を下コアプレート31とし、相対的に上方に位置するコアプレート5を上コアプレート32とし、両者の間に冷却水流路7が構成されるものとして説明する。さらに、2つのオイル連通孔8のうち、8aをオイル流路6にオイルを導入するオイル導入孔とし、8bをオイル流路6からオイルを排出するオイル排出孔とする。また、2つの冷却水連通孔9のうち、9aを冷却水流路7に冷却水を導入する冷却水導入孔とし、9bを冷却水流路7から冷却水を排出する冷却水排出孔とする。尚、オイル導入孔8a及び冷却水導入孔9aは、流体導入口に相当するものであり、オイル排出孔8b及び冷却水排出孔9bは、流体排出口に相当するものである。   Here, in the following description, for convenience, the core plate 5 positioned relatively lower in FIG. 1 is referred to as a lower core plate 31, and the core plate 5 positioned relatively higher is referred to as an upper core plate 32. In the following description, the cooling water flow path 7 is configured. Further, of the two oil communication holes 8, 8 a is an oil introduction hole for introducing oil into the oil flow path 6, and 8 b is an oil discharge hole for discharging oil from the oil flow path 6. Of the two cooling water communication holes 9, 9 a is a cooling water introduction hole for introducing cooling water into the cooling water flow path 7, and 9 b is a cooling water discharge hole for discharging cooling water from the cooling water flow path 7. The oil introduction hole 8a and the cooling water introduction hole 9a correspond to a fluid introduction port, and the oil discharge hole 8b and the cooling water discharge hole 9b correspond to a fluid discharge port.

下コアプレート31は、下コアプレート31の一方の長辺側の2箇所に開口形成されたオイル導入孔8a及びオイル排出孔8bの周囲が上述したボス部10として一段高く形成され、下コアプレート31の他方の長辺側の2箇所に開口形成された冷却水導入孔9a及び冷却水排出孔9bの周囲が平坦に形成されている。   The lower core plate 31 is formed so that the periphery of the oil introduction hole 8a and the oil discharge hole 8b formed at two locations on one long side of the lower core plate 31 is formed one step higher as the boss portion 10 described above. The periphery of the cooling water introduction hole 9a and the cooling water discharge hole 9b formed at two locations on the other long side of 31 is formed flat.

上コアプレート32は、上コアプレート32の一方の長辺側の2箇所に開口形成されたオイル導入孔8a及びオイル排出孔8bの周囲が平坦に形成され、上コアプレート32の他方の長辺側の2箇所に開口形成された冷却水導入孔9a及び冷却水排出孔9bの周囲が上述したボス部10として一段高く形成されている。   The upper core plate 32 has a flat periphery around an oil introduction hole 8a and an oil discharge hole 8b formed at two locations on one long side of the upper core plate 32, and the other long side of the upper core plate 32. The periphery of the cooling water introduction hole 9a and the cooling water discharge hole 9b formed at two locations on the side is formed higher as the boss portion 10 described above.

つまり、上コアプレート32は、下コアプレート31を180度回転させた状態のものであって、下コアプレート31と上コアプレート32とは、同一形状である。   That is, the upper core plate 32 is in a state in which the lower core plate 31 is rotated 180 degrees, and the lower core plate 31 and the upper core plate 32 have the same shape.

下コアプレート31には、略円錐台形状を呈した複数の突起部40が突出形成されている。これら複数の突起部40は、上述したボス部10の高さと同じとなるよう形成されており、上コアプレート32を積層した際にその先端は上コアプレート32に対して当接し、かつ組み付け時にはロー付けにより接合されている。そして、これら複数の突起部40は、冷却水導入孔9aと冷却水排出孔9bを直線的に結んだ冷却水流路7内における冷却水流れの最短経路上に相対的に多く分布(密度が高い)するよう形成されている。換言すれば、複数の突起部40は、冷却水導入孔9aから冷却水排出孔9bに至る冷却水の流れが冷却水流路7全体で均一となるよう、冷却水流路7内における分布に粗密が生じるよう形成されている。   The lower core plate 31 is formed with a plurality of protrusions 40 having a substantially frustoconical shape. The plurality of protrusions 40 are formed to have the same height as the boss portion 10 described above, and when the upper core plate 32 is stacked, the tips thereof abut against the upper core plate 32, and when assembled, Joined by brazing. The plurality of protrusions 40 are relatively distributed (high density) on the shortest path of the cooling water flow in the cooling water flow path 7 that linearly connects the cooling water introduction hole 9a and the cooling water discharge hole 9b. ). In other words, the plurality of protrusions 40 have a distribution in the cooling water flow path 7 that is uniform so that the flow of cooling water from the cooling water introduction hole 9a to the cooling water discharge hole 9b is uniform throughout the cooling water flow path 7. It is formed to occur.

さらに、下コアプレート31には、冷却水導入孔9aの近傍に、断面略台形状で細長い一対の直線上の長突起部41aが突出形成されている。この一対の長突起部41aは、互いに略平行で、両者の間に構成される直線状の細長い長突起部間流路42aが、冷却水排出孔9bを指向しないように形成されている。詳述すると、この第1実施形態においては、長突起部間流路42aの一端が冷却水導入孔9aに向かって開口し、長突起部間流路42aの他端が下コアプレート31のオイル導入孔8側の長辺の略中央に向かって開口するよう、一対の長突起部41aが形成されている。   Further, a pair of elongated long protrusions 41a having a substantially trapezoidal cross section is formed in the lower core plate 31 in the vicinity of the cooling water introduction hole 9a. The pair of long protrusions 41a are substantially parallel to each other, and are formed so that a straight and long inter-long protrusion flow path 42a formed between them does not face the cooling water discharge hole 9b. More specifically, in the first embodiment, one end of the long protrusion passage 42a opens toward the cooling water introduction hole 9a, and the other end of the long protrusion passage 42a is the oil of the lower core plate 31. A pair of long protrusions 41a is formed so as to open toward the approximate center of the long side on the introduction hole 8 side.

また同様に、冷却水排出孔9bの近傍にも、断面略台形状で細長い一対の直線状の一対の長突起部41bが突出形成されている。この一対の長突起部41bは、互いに略平行で、両者の間に構成される細長い直線状の長突起部間流路42bが、冷却水導入孔9aを指向しないように形成されている。詳述すると、この第1実施形態においては、長突起部間流路42bの一端が冷却水排出孔9bに向かって開口し、長突起部間流路42bの他端が下コアプレート31のオイル導入孔8側の長辺の略中央に向かって開口するよう、一対の長突起部41bが形成されている。   Similarly, in the vicinity of the cooling water discharge hole 9b, a pair of long and long linear projections 41b having a substantially trapezoidal cross section and protruding are formed. The pair of long protrusions 41b are substantially parallel to each other, and are formed so that the elongated straight inter-long protrusion flow path 42b formed between them does not face the cooling water introduction hole 9a. More specifically, in the first embodiment, one end of the long protrusion passage 42b opens toward the cooling water discharge hole 9b, and the other end of the long protrusion passage 42b is the oil of the lower core plate 31. A pair of long protrusions 41b are formed so as to open toward the approximate center of the long side on the introduction hole 8 side.

尚、一対の長突起部41a及び一対の長突起部41bは、上コアプレート32を積層した際にそれらの先端は上コアプレート32に対して当接し、かつ組み付け時にはロー付けにより接合されている。   The pair of long protrusions 41a and the pair of long protrusions 41b are in contact with the upper core plate 32 when the upper core plate 32 is stacked, and are joined by brazing when assembled. .

一方、下コアプレート31を180度回転させた形状となる上コアプレート32においては、複数の突起部40が、オイル導入孔8aとオイル排出孔8bを直線的に結んだオイル流路6内におけるオイル流れの最短経路上に相対的に多く分布するようなる。また、一対の長突起部41aは、オイル排出孔8bを指向しないようになり、一対の長突起部41bは、オイル導入孔8aを指向しないようになる。   On the other hand, in the upper core plate 32 having a shape obtained by rotating the lower core plate 31 by 180 degrees, the plurality of protrusions 40 are provided in the oil flow path 6 in which the oil introduction hole 8a and the oil discharge hole 8b are linearly connected. A relatively large amount of oil flows on the shortest path of the oil flow. Further, the pair of long protrusions 41a does not point to the oil discharge hole 8b, and the pair of long protrusions 41b does not point to the oil introduction hole 8a.

そして、下コアプレート31及び上コアプレート32においては、両者を積層した際に、下コアプレート31の複数の突起部40と、上コアプレート32の複数の突起部40とが、積層方向(上下方向)で、互いに重なり合わないように設定されている。すなわち、コアプレート5は、隣接するコアプレート5に対して180度回転させて積層した際に、隣接するコアプレート5、5間で、両者にそれぞれ形成されている複数の突起部40同士が、積層方向で互いに重なり合わないように形成されている。上述した第1実施形態は、コアプレート5にオイル流路6と冷却水流路7とが平行に形成され、オイル流路6、冷却水流路7の流通する方向が同方向の例を示したが、その向きが逆であってもよい。   In the lower core plate 31 and the upper core plate 32, when the two are stacked, the plurality of protrusions 40 of the lower core plate 31 and the plurality of protrusions 40 of the upper core plate 32 are arranged in the stacking direction (up and down). Direction), so that they do not overlap each other. That is, when the core plate 5 is rotated by 180 degrees with respect to the adjacent core plate 5 and stacked, the plurality of protrusions 40 formed on both of the adjacent core plates 5 and 5 are respectively They are formed so as not to overlap each other in the stacking direction. In the first embodiment described above, the oil flow path 6 and the cooling water flow path 7 are formed in parallel in the core plate 5, and the direction in which the oil flow path 6 and the cooling water flow path 7 flow is the same direction. The direction may be reversed.

図5は、上述した第1実施形態の比較例を模式的に示すものである。この比較例は、上述した第1実施形態のコアプレート5において、突起部40をコアプレート上に均等に設け、かつ長突起部41a及び41bを設けなかったものである。尚、説明の便宜上、上述した第1実施形態と同一の構成要素に対しては同一の符号を付し重複する説明を省略する。   FIG. 5 schematically shows a comparative example of the first embodiment described above. In this comparative example, in the core plate 5 of the first embodiment described above, the protrusions 40 are provided evenly on the core plate, and the long protrusions 41a and 41b are not provided. For convenience of explanation, the same components as those in the first embodiment described above are denoted by the same reference numerals, and redundant description is omitted.

この比較例においては、図示するように、冷却水流路7に導入された冷却水が、冷却水導入孔9aと冷却水排出孔9bと結ぶ直線状の最短経路で流れやすくなり、この直線状の最短経路から外れた位置で流れが滞留し易くなる。すなわち、冷却水流路7内における冷却水の流れが不均一となり、冷却水流路7内における伝熱面積が有効活用されない状態となり、熱交換効率が低下してしまう。また、このことは、この比較例におけるオイル流路についても同様のことが言える。   In this comparative example, as shown in the figure, the cooling water introduced into the cooling water flow path 7 is likely to flow along a straight shortest path connecting the cooling water introduction hole 9a and the cooling water discharge hole 9b. The flow tends to stay at a position deviating from the shortest path. That is, the flow of the cooling water in the cooling water channel 7 becomes uneven, the heat transfer area in the cooling water channel 7 is not effectively used, and the heat exchange efficiency is lowered. The same applies to the oil flow path in this comparative example.

一方、上述した第1実施形態において、冷却水流路7は、冷却水が最も流れ易い冷却水導入孔9aと冷却水排出孔9bとを結ぶ直線状の最短経路上に相対的に多くの突起部40が分布することになるので、冷却水導入孔9aと冷却水排出孔9bとを結ぶ直線状の最短経路上で冷却水が流れにくくなるものの、そのぶん冷却水導入孔9aと冷却水排出孔9bとを結ぶ直線状の最短経路から離れたもともと冷却水が流れにくい部分に冷却水が流れ易くなる。同様に、オイル流路6についても、オイル導入孔8aとオイル排出孔8bとを結ぶ直線状の最短経路から離れたもともとオイルが流れにくい部分にオイルが流れ易くなる。   On the other hand, in the first embodiment described above, the cooling water flow path 7 has a relatively large number of protrusions on the straight shortest path connecting the cooling water introduction hole 9a and the cooling water discharge hole 9b where the cooling water flows most easily. 40 is distributed, the cooling water hardly flows on the straight shortest path connecting the cooling water introduction hole 9a and the cooling water discharge hole 9b. Cooling water is likely to flow in a portion where it is difficult to flow cooling water originally from the shortest straight path connecting 9b. Similarly, in the oil flow path 6, the oil easily flows to a portion where the oil does not easily flow from the straight shortest path connecting the oil introduction hole 8 a and the oil discharge hole 8 b.

すなわち、上述した第1実施形態においては、冷却水流路7内における冷却水の流れが相対的に均一化されると共に、オイル流路6内におけるオイルの流れが相対的に均一化される。そのため、冷却水流路7内における伝熱面積と、オイルル流路6内における伝熱面積と、がそれぞれ有効活用されることになるので、冷却水とオイル間の熱交換効率の向上を図ることができる。換言すれば、積層されたコアプレート5,5間に構成される流体流路内における流体の流れを均一化することができるため、オイルクーラの熱交換効率を向上させることができる。   That is, in the first embodiment described above, the flow of the cooling water in the cooling water passage 7 is made relatively uniform, and the oil flow in the oil passage 6 is made relatively uniform. Therefore, the heat transfer area in the cooling water flow path 7 and the heat transfer area in the oil flow path 6 are each effectively utilized, so that the heat exchange efficiency between the cooling water and the oil can be improved. it can. In other words, since the fluid flow in the fluid flow path formed between the stacked core plates 5 and 5 can be made uniform, the heat exchange efficiency of the oil cooler can be improved.

また、一対の長突起部41aを設けることにより、冷却水導入孔9aから冷却水流路7に導入された冷却水に対して、冷却水導入孔9aと冷却水排出孔9bとを結ぶ直線状の最短経路から離れたもともと冷却水が流れにくい部分に向かう冷却水流れが積極的に生成されることになるので、冷却水流路7内における冷却水の流れをより一層効果的に均一化することができる。同様に、オイル流路6ついても、一対の長突起部41bにより、もともとオイルが流れにくい部分に向かうオイル流れが積極的に生成されることになるので、オイル流路6内における冷却水の流れをより一層効果的に均一化することができる。   Further, by providing the pair of long protrusions 41a, a linear connection between the cooling water introduction hole 9a and the cooling water discharge hole 9b with respect to the cooling water introduced into the cooling water flow path 7 from the cooling water introduction hole 9a. Since a cooling water flow toward the portion where the cooling water is originally difficult to flow away from the shortest path is positively generated, the flow of the cooling water in the cooling water flow path 7 can be more effectively uniformized. it can. Similarly, since the oil flow toward the portion where oil does not flow easily is positively generated by the pair of long protrusions 41b in the oil flow path 6 as well, the flow of cooling water in the oil flow path 6 Can be made even more effective.

さらに、コアプレート5に形成された複数の突起部40は、複数のコアプレート5を互いに積層した際に、隣接するコアプレート5,5間で、両者にそれぞれ形成されている複数の突起部40同士が、積層方向で互いに重なり合わないように形成されているので、複数のコアプレート5を積層してなるコア部1の強度を向上させることができ、ひいてはオイルクーラの強度を向上させることができる。   Further, the plurality of protrusions 40 formed on the core plate 5 are formed between the adjacent core plates 5 and 5 when the plurality of core plates 5 are stacked on each other. Since they are formed so as not to overlap each other in the stacking direction, the strength of the core portion 1 formed by stacking a plurality of core plates 5 can be improved, and as a result, the strength of the oil cooler can be improved. it can.

また、コア部1は、同一の形状のコアプレート5を、隣接するコアプレート5に対して180度回転させて積層することで構成されるので、部品種類を少なくすることができ、総じてオイルクーラのコストを低減することができると共に、生産工程における部品管理等も容易となる。   Moreover, since the core part 1 is comprised by rotating and laminating | stacking the core plate 5 of the same shape 180 degree | times with respect to the adjacent core plate 5, it can reduce part types and is an oil cooler generally. Cost can be reduced, and parts management in the production process can be facilitated.

以下、本発明の他の実施形態について、順次説明していくが、上述した第1実施形態と同一構成の部位には、同一の符号を付し、重複する説明を省略するものとする。   Hereinafter, other embodiments of the present invention will be sequentially described. However, the same components as those in the first embodiment described above are denoted by the same reference numerals, and redundant description will be omitted.

図6は、本発明の第2実施形態におけるオイルクーラ内の冷却水流路を模式的に示した説明図である。この第2実施形態は、上述した第1実施形態における、長突起部41a及び41bを設けなかったものであり、それ以外の構成は上述した第1実施形態と同一である。   FIG. 6 is an explanatory view schematically showing a cooling water flow path in the oil cooler in the second embodiment of the present invention. In the second embodiment, the long protrusions 41a and 41b in the first embodiment described above are not provided, and the other configurations are the same as those in the first embodiment described above.

このような第2実施形態においては、流体流路内における流体流れの均一化が、上述した第1実施形態に比べてやや不利となるものの、上述した第1実施形態と略同様の作用効果を得ることができる。   In the second embodiment, the fluid flow in the fluid flow path is somewhat disadvantageous compared to the first embodiment described above. However, the second embodiment has substantially the same effects as the first embodiment described above. Obtainable.

図7は、本発明の第3実施形態におけるオイルクーラ内の冷却水流路を模式的に示した説明図である。この第3実施形態は、上述した第1実施形態と比べ、一対の長突起部41a、41bを冷却水導入孔9aの近傍と冷却水排出孔9bの近傍にそれぞれ形成した点は同一であるが、コアプレート5内の複数の突起部40は、冷却水流路7内で分布に粗密が生じるように形成されていない点が異なる。   FIG. 7 is an explanatory view schematically showing a cooling water flow path in the oil cooler in the third embodiment of the present invention. The third embodiment is the same as the first embodiment described above in that a pair of long protrusions 41a and 41b are formed in the vicinity of the cooling water introduction hole 9a and in the vicinity of the cooling water discharge hole 9b, respectively. The plurality of protrusions 40 in the core plate 5 are different in that they are not formed so that the distribution in the cooling water flow path 7 is uneven.

このような第3実施形態においては、流体流路内における流体流れの均一化が、上述した第1実施形態に比べてやや不利となるものの、上述した第1実施形態と略同様の作用効果を得ることができる。   In the third embodiment as described above, although the uniformization of the fluid flow in the fluid flow path is slightly disadvantageous as compared with the first embodiment described above, it has substantially the same effect as the first embodiment described above. Obtainable.

図8は、本発明の第4実施形態におけるオイルクーラ内の冷却水流路を模式的に示した説明図である。この第4実施形態は、上述した第1実施形態のオイルクーラと基本的には略同一構成となっているが、オイル連通孔8がコアプレート5の対角線上の2カ所に開口形成され、冷却水連通孔9が異なる対角線上の2カ所に開口形成されたものである。また、コアプレート5は、オイル連通孔8や冷却水連通孔9の周囲がボス部として一段高く形成されているものと、平坦なものとを交互に組み合わされることで、各コアプレート5間に流路となる一定の間隔が保持されている。   FIG. 8 is an explanatory view schematically showing a cooling water flow path in the oil cooler in the fourth embodiment of the present invention. The fourth embodiment has basically the same configuration as the oil cooler of the first embodiment described above, but the oil communication holes 8 are formed at two positions on the diagonal of the core plate 5 to cool the oil cooler. The water communication holes 9 are formed at two locations on different diagonal lines. In addition, the core plate 5 is formed by alternately combining a flat plate with the oil communication hole 8 and the cooling water communication hole 9 that are formed so as to be higher than the boss portion. A certain interval for the flow path is maintained.

そして、この第4実施形態においては、突起部40が、2つのオイル連通孔8が位置する対角線上、もしくは2つの冷却水連通路9が位置する対角線上において、相対的に多く形成されている。また、2種類のコアプレート5のうち、オイル連通孔8の周りにボス部10が形成され、冷却水連通孔9の周りが平坦ものには(図8に対応)、冷却水導入孔9aの近傍に上述した第1実施形態における長突起部41aと略同一形状の長突起部41cが2対形成されている。そして、2種類のコアプレート5のうち、冷却水連通孔9の周りにボス部が形成され、オイル連通孔8の周りが平坦なものには(図示せず)、オイル導入孔8aの近傍に上述した第1実施形態における長突起部41aと略同一形状の長突起部41bの対が一対の長突起部41cとして2組形成されている。   In the fourth embodiment, a relatively large number of protrusions 40 are formed on the diagonal line where the two oil communication holes 8 are located or on the diagonal line where the two cooling water communication paths 9 are located. . Of the two types of core plates 5, the boss portion 10 is formed around the oil communication hole 8 and the periphery of the cooling water communication hole 9 is flat (corresponding to FIG. 8). Two pairs of long protrusions 41c having substantially the same shape as the long protrusions 41a in the first embodiment described above are formed in the vicinity. Of the two types of core plates 5, a boss portion is formed around the cooling water communication hole 9, and the oil communication hole 8 is flat (not shown) in the vicinity of the oil introduction hole 8 a. Two pairs of long protrusions 41b having substantially the same shape as the long protrusions 41a in the first embodiment described above are formed as a pair of long protrusions 41c.

図8を用いて詳述すれば、一方の一対の長突起部41cは、冷却水導入孔9aからオイル導入孔8aに向かって形成され、他方の一対の長突起部41cは、冷却水導入孔9aからオイル排出孔8bに向かって形成されている。   Describing in detail with reference to FIG. 8, one pair of long projections 41c is formed from the cooling water introduction hole 9a toward the oil introduction hole 8a, and the other pair of long projections 41c is formed of the cooling water introduction hole. It is formed from 9a toward the oil discharge hole 8b.

このような第4実施形態においては、オイル流路6及び冷却水流路7の流路内に形成できる突起部40を第1実施形態に比べさらに相対的に多く(密度をさらに高く)形成することができるので、流体の流れをさらに均一化できる。また、この第4実施形態においては、長突起部41c2対を冷却水導入孔9aの近傍に形成したものを説明したが、冷却水排出孔9にも設けてよい。   In such a fourth embodiment, the protrusions 40 that can be formed in the oil flow path 6 and the cooling water flow path 7 are formed in a relatively larger number (higher density) than in the first embodiment. Therefore, the fluid flow can be made more uniform. Moreover, in this 4th Embodiment, although what formed the long protrusion part 41c2 pair in the vicinity of the cooling water introduction hole 9a was demonstrated, you may provide also in the cooling water discharge hole 9. FIG.

尚、上述第1〜第4実施形態は、コアプレート5が全体として細長い略矩形(長方形)のものについて説明したが、コアプレートの形状はこれに限定されるものではなく、略矩形(長方形以外)、略円形、あるいは略楕円形等の様々な形状に適用可能である。   In addition, although the above-mentioned 1st-4th embodiment demonstrated the thing of the substantially rectangular (rectangular) core plate 5 as a whole, the shape of a core plate is not limited to this, It is substantially rectangular (other than a rectangle) ), Various shapes such as a substantially circular shape or a substantially elliptical shape.

また、流体流路の流通方向も、オイル流路6と冷却水流路7とが平行でも交叉していても良く、その流れ方向が逆向きであってもよい。   In addition, the flow direction of the fluid flow path may be such that the oil flow path 6 and the cooling water flow path 7 are parallel or crossed, and the flow direction may be opposite.

本発明に係るオイルクーラの一対のコアプレートを分離して示した斜視図。The perspective view which separated and showed a pair of core plate of the oil cooler which concerns on this invention. 図1におけるA−A線に沿った位置における断面図。Sectional drawing in the position along the AA in FIG. 図1におけるB−B線に沿った位置における断面図。Sectional drawing in the position along the BB line in FIG. 図1におけるC−C線に沿った位置における断面図。Sectional drawing in the position along CC line in FIG. 本発明に対する比較例を模式的に示した説明図。Explanatory drawing which showed the comparative example with respect to this invention typically. 本発明の第2実施形態におけるオイルクーラ内の流体流路を模式的に示した説明図。Explanatory drawing which showed typically the fluid flow path in the oil cooler in 2nd Embodiment of this invention. 本発明の第3実施形態におけるオイルクーラ内の流体流路を模式的に示した説明図。Explanatory drawing which showed typically the fluid flow path in the oil cooler in 3rd Embodiment of this invention. 本発明の第4実施形態におけるオイルクーラ内の流体流路を模式的に示した説明図。Explanatory drawing which showed typically the fluid flow path in the oil cooler in 4th Embodiment of this invention.

符号の説明Explanation of symbols

6…オイル流路(流体流路)
7…冷却水流路(流体流路)
8…オイル連通孔
9…冷却水連通孔
40…突起部
41…長突起部
6 ... Oil channel (fluid channel)
7. Cooling water flow path (fluid flow path)
8 ... Oil communication hole 9 ... Cooling water communication hole 40 ... Projection 41 ... Long projection

Claims (2)

多数のコアプレートを積層して互いに接合し、積層されたコアプレート間の隙間によって流体が通流可能な流体流路を構成し、これらの流体流路を用いてオイル流路と冷却水流路とをコアプレートの積層方向に交互に構成するようにしたオイルクーラであって、各流体流路が、流体流路内に流体を導入する流体導入口と、流体流路内から流体を排出する流体排出口とを有するオイルクーラにおいて、
流体流路を構成する上下一対のコアプレートの内の一方のコアプレートには、他方のコアプレートに向かって突出する複数の突起部が形成され、
これら複数の突起部は、流体導入口から流体排出口に至る流体の流れが流体流路全体で均一となるよう、流体流路内に粗密となる分布が形成されていることを特徴とするオイルクーラ。
A large number of core plates are stacked and joined to each other, and a fluid flow path is formed through which fluid can flow through gaps between the stacked core plates, and an oil flow path and a cooling water flow path are formed using these fluid flow paths. Is an oil cooler in which the fluid plates are alternately arranged in the stacking direction of the core plates, and each fluid passage introduces a fluid into the fluid passage and fluid that discharges the fluid from the fluid passage In an oil cooler having a discharge port,
One core plate of a pair of upper and lower core plates constituting the fluid flow path is formed with a plurality of protrusions protruding toward the other core plate,
The plurality of protrusions have an oil distribution characterized in that a fluid distribution from the fluid inlet to the fluid outlet is uniform in the fluid channel so that the fluid flow is uniform throughout the fluid channel. Cooler.
流体流路を構成する上下一対のコアプレートの内の一方のコアプレートには、流体導入口の近傍に、他方のコアプレートに向かって突出する少なくとも一対の細長い長突起部が形成され、
一対の長突起部は、両者の間に構成される細長い長突起部間流路の一端が流体導入口を指向し、長突起部間流路の他端が流体排出口を指向しないよう設定されていることを特徴とする請求項1に記載のオイルクーラ。
One core plate of the pair of upper and lower core plates constituting the fluid flow path is formed with at least a pair of elongated long projections projecting toward the other core plate in the vicinity of the fluid introduction port,
The pair of long protrusions is set so that one end of the long inter-protrusion channel formed between them is directed to the fluid inlet, and the other end of the inter-long protrusion channel is not directed to the fluid discharge port. The oil cooler according to claim 1, wherein the oil cooler is provided.
JP2004378409A 2004-12-28 2004-12-28 Oil cooler Pending JP2006183945A (en)

Priority Applications (1)

Application Number Priority Date Filing Date Title
JP2004378409A JP2006183945A (en) 2004-12-28 2004-12-28 Oil cooler

Applications Claiming Priority (1)

Application Number Priority Date Filing Date Title
JP2004378409A JP2006183945A (en) 2004-12-28 2004-12-28 Oil cooler

Publications (2)

Publication Number Publication Date
JP2006183945A true JP2006183945A (en) 2006-07-13
JP2006183945A5 JP2006183945A5 (en) 2008-02-14

Family

ID=36737188

Family Applications (1)

Application Number Title Priority Date Filing Date
JP2004378409A Pending JP2006183945A (en) 2004-12-28 2004-12-28 Oil cooler

Country Status (1)

Country Link
JP (1) JP2006183945A (en)

Cited By (16)

* Cited by examiner, † Cited by third party
Publication number Priority date Publication date Assignee Title
JP2008082650A (en) * 2006-09-28 2008-04-10 Sanyo Electric Co Ltd Heat exchanger and its manufacturing method
JP2011007412A (en) * 2009-06-25 2011-01-13 Mahle Filter Systems Japan Corp Oil cooler
CN102288054A (en) * 2011-06-27 2011-12-21 江苏宝得换热设备有限公司 Equal-flow-quantity high-efficiency plate-type heat exchanger
CN103148727A (en) * 2011-12-06 2013-06-12 杭州三花研究院有限公司 Sheet bar of plate heat exchanger and plate heat exchanger
CN103424025A (en) * 2012-05-15 2013-12-04 杭州三花研究院有限公司 Plate heat exchanger and plate thereof
CN103424014A (en) * 2012-05-15 2013-12-04 杭州三花研究院有限公司 Plate heat exchanger
JP2014095492A (en) * 2012-11-08 2014-05-22 Mahle Filter Systems Japan Corp Multiple-plate type oil cooler
CN103868394A (en) * 2012-12-13 2014-06-18 杭州三花研究院有限公司 Circulation board of heat exchanger, heat exchanging unit of heat exchanger and heat exchanger
JP2014115048A (en) * 2012-12-12 2014-06-26 Mahle Filter Systems Japan Corp Multi-plate lamination type heat exchanger and core plate
JP2014521922A (en) * 2011-08-11 2014-08-28 マーレ インターナショナル ゲゼルシャフト ミット ベシュレンクテル ハフツング Plate heat exchanger
JP2015152282A (en) * 2014-02-18 2015-08-24 日新製鋼株式会社 Plate heat exchanger and manufacturing method thereof
JP2016044896A (en) * 2014-08-22 2016-04-04 株式会社ティラド Laminate type heat exchanger
JP2017528674A (en) * 2014-08-22 2017-09-28 アルファ−ラヴァル・コーポレート・アーベー Heat transfer plate and plate heat exchanger
CN107664444A (en) * 2016-07-28 2018-02-06 恒丰工程(香港)有限公司 Side flow plate-shell type heat exchange plate and multi-flow detachable plate-shell type heat exchanger
WO2021023031A1 (en) * 2019-08-02 2021-02-11 浙江三花智能控制股份有限公司 Plate heat exchanger
WO2025052927A1 (en) * 2023-09-05 2025-03-13 株式会社富士通ゼネラル Heat exchanger

Citations (2)

* Cited by examiner, † Cited by third party
Publication number Priority date Publication date Assignee Title
JPS57154872U (en) * 1981-03-20 1982-09-29
JPH01101081U (en) * 1987-12-23 1989-07-06

Patent Citations (2)

* Cited by examiner, † Cited by third party
Publication number Priority date Publication date Assignee Title
JPS57154872U (en) * 1981-03-20 1982-09-29
JPH01101081U (en) * 1987-12-23 1989-07-06

Cited By (23)

* Cited by examiner, † Cited by third party
Publication number Priority date Publication date Assignee Title
JP2008082650A (en) * 2006-09-28 2008-04-10 Sanyo Electric Co Ltd Heat exchanger and its manufacturing method
JP2011007412A (en) * 2009-06-25 2011-01-13 Mahle Filter Systems Japan Corp Oil cooler
CN102288054A (en) * 2011-06-27 2011-12-21 江苏宝得换热设备有限公司 Equal-flow-quantity high-efficiency plate-type heat exchanger
JP2014521922A (en) * 2011-08-11 2014-08-28 マーレ インターナショナル ゲゼルシャフト ミット ベシュレンクテル ハフツング Plate heat exchanger
CN103148727A (en) * 2011-12-06 2013-06-12 杭州三花研究院有限公司 Sheet bar of plate heat exchanger and plate heat exchanger
CN103424025A (en) * 2012-05-15 2013-12-04 杭州三花研究院有限公司 Plate heat exchanger and plate thereof
CN103424014A (en) * 2012-05-15 2013-12-04 杭州三花研究院有限公司 Plate heat exchanger
JP2014095492A (en) * 2012-11-08 2014-05-22 Mahle Filter Systems Japan Corp Multiple-plate type oil cooler
JP2014115048A (en) * 2012-12-12 2014-06-26 Mahle Filter Systems Japan Corp Multi-plate lamination type heat exchanger and core plate
CN103868394B (en) * 2012-12-13 2017-06-27 浙江三花汽车零部件有限公司 The flow plate of heat exchanger, the heat exchange unit of heat exchanger and heat exchanger
CN103868394A (en) * 2012-12-13 2014-06-18 杭州三花研究院有限公司 Circulation board of heat exchanger, heat exchanging unit of heat exchanger and heat exchanger
JP2015152282A (en) * 2014-02-18 2015-08-24 日新製鋼株式会社 Plate heat exchanger and manufacturing method thereof
WO2015125831A1 (en) * 2014-02-18 2015-08-27 日新製鋼株式会社 Plate-type heat exchanger and method for producing same
US10502507B2 (en) 2014-02-18 2019-12-10 Nippon Steel Nisshin Co., Ltd. Plate-type heat exchanger and method for producing same
JP2016044896A (en) * 2014-08-22 2016-04-04 株式会社ティラド Laminate type heat exchanger
JP2017528674A (en) * 2014-08-22 2017-09-28 アルファ−ラヴァル・コーポレート・アーベー Heat transfer plate and plate heat exchanger
US10234212B2 (en) 2014-08-22 2019-03-19 Alfa Laval Corporate Ab Heat transfer plate and plate heat exchanger
CN107664444A (en) * 2016-07-28 2018-02-06 恒丰工程(香港)有限公司 Side flow plate-shell type heat exchange plate and multi-flow detachable plate-shell type heat exchanger
CN107664444B (en) * 2016-07-28 2021-04-02 恒丰工程(香港)有限公司 Side-process plate and shell heat exchanger plates and multi-process removable plate and shell heat exchangers
WO2021023031A1 (en) * 2019-08-02 2021-02-11 浙江三花智能控制股份有限公司 Plate heat exchanger
WO2025052927A1 (en) * 2023-09-05 2025-03-13 株式会社富士通ゼネラル Heat exchanger
JP7647819B1 (en) 2023-09-05 2025-03-18 株式会社富士通ゼネラル Heat exchanger
JP2025041999A (en) * 2023-09-05 2025-03-27 株式会社富士通ゼネラル Heat exchanger

Similar Documents

Publication Publication Date Title
JP2006183945A (en) Oil cooler
EP3640574B1 (en) Counter-flow heat exchanger with helical passages
US9557116B2 (en) Stacked plate heat exchanger
JP2007514124A (en) Plate heat exchanger
KR101206858B1 (en) Heat exchanging plate and plate-type heat exchanger configurating to stack the same
JP6154122B2 (en) Multi-plate stacked heat exchanger
JP2015526627A (en) Heat exchangers, especially air supply coolers for automobile engines
JP2014522959A (en) Heat exchanger and corresponding flat tubes and plates
JP2011007412A (en) Oil cooler
JP5468827B2 (en) Oil cooler
US8899307B2 (en) Cooling device
JP2006183969A (en) Heat-exchange core of stacked oil cooler
JP2009014220A (en) Heat exchanger
JP2011007411A (en) Oil cooler
JP2003090693A (en) Exhaust gas heat exchanger
JP6755871B2 (en) Water-cooled air cooler mounting structure
JP5341549B2 (en) heatsink
JP5295737B2 (en) Plate fin heat exchanger
KR20090049989A (en) Oil cooler
CN104677149B (en) Oil material cooling device
JP2005351520A (en) Heat exchanger
JP7339034B2 (en) Laminated plate heat exchanger
JP2003014392A (en) Laminated heat exchanger
CN112146484B (en) Plate Heat Exchanger
JP2016200071A (en) EGR gas cooler

Legal Events

Date Code Title Description
A521 Written amendment

Effective date: 20071226

Free format text: JAPANESE INTERMEDIATE CODE: A523

A621 Written request for application examination

Effective date: 20071226

Free format text: JAPANESE INTERMEDIATE CODE: A621

A977 Report on retrieval

Effective date: 20100715

Free format text: JAPANESE INTERMEDIATE CODE: A971007

A131 Notification of reasons for refusal

Free format text: JAPANESE INTERMEDIATE CODE: A131

Effective date: 20100727

A521 Written amendment

Free format text: JAPANESE INTERMEDIATE CODE: A523

Effective date: 20100924

A02 Decision of refusal

Free format text: JAPANESE INTERMEDIATE CODE: A02

Effective date: 20101130