JP2006177423A - 遊星歯車装置 - Google Patents
遊星歯車装置 Download PDFInfo
- Publication number
- JP2006177423A JP2006177423A JP2004370215A JP2004370215A JP2006177423A JP 2006177423 A JP2006177423 A JP 2006177423A JP 2004370215 A JP2004370215 A JP 2004370215A JP 2004370215 A JP2004370215 A JP 2004370215A JP 2006177423 A JP2006177423 A JP 2006177423A
- Authority
- JP
- Japan
- Prior art keywords
- sun gear
- input
- output
- gear
- planetary gear
- Prior art date
- Legal status (The legal status is an assumption and is not a legal conclusion. Google has not performed a legal analysis and makes no representation as to the accuracy of the status listed.)
- Withdrawn
Links
Images
Classifications
-
- B—PERFORMING OPERATIONS; TRANSPORTING
- B62—LAND VEHICLES FOR TRAVELLING OTHERWISE THAN ON RAILS
- B62D—MOTOR VEHICLES; TRAILERS
- B62D5/00—Power-assisted or power-driven steering
- B62D5/008—Changing the transfer ratio between the steering wheel and the steering gear by variable supply of energy, e.g. by using a superposition gear
-
- F—MECHANICAL ENGINEERING; LIGHTING; HEATING; WEAPONS; BLASTING
- F16—ENGINEERING ELEMENTS AND UNITS; GENERAL MEASURES FOR PRODUCING AND MAINTAINING EFFECTIVE FUNCTIONING OF MACHINES OR INSTALLATIONS; THERMAL INSULATION IN GENERAL
- F16H—GEARING
- F16H1/00—Toothed gearings for conveying rotary motion
- F16H1/28—Toothed gearings for conveying rotary motion with gears having orbital motion
- F16H1/2863—Arrangements for adjusting or for taking-up backlash
-
- F—MECHANICAL ENGINEERING; LIGHTING; HEATING; WEAPONS; BLASTING
- F16—ENGINEERING ELEMENTS AND UNITS; GENERAL MEASURES FOR PRODUCING AND MAINTAINING EFFECTIVE FUNCTIONING OF MACHINES OR INSTALLATIONS; THERMAL INSULATION IN GENERAL
- F16H—GEARING
- F16H35/00—Gearings or mechanisms with other special functional features
- F16H35/008—Gearings or mechanisms with other special functional features for variation of rotational phase relationship, e.g. angular relationship between input and output shaft
-
- F—MECHANICAL ENGINEERING; LIGHTING; HEATING; WEAPONS; BLASTING
- F16—ENGINEERING ELEMENTS AND UNITS; GENERAL MEASURES FOR PRODUCING AND MAINTAINING EFFECTIVE FUNCTIONING OF MACHINES OR INSTALLATIONS; THERMAL INSULATION IN GENERAL
- F16H—GEARING
- F16H57/00—General details of gearing
- F16H57/12—Arrangements for adjusting or for taking-up backlash not provided for elsewhere
- F16H2057/128—Arrangements for adjusting or for taking-up backlash not provided for elsewhere using axial positioning of gear wheel with addendum modification on gear width, i.e. backlash is compensated by axial positioning of a slightly conical gear wheel
Landscapes
- Engineering & Computer Science (AREA)
- General Engineering & Computer Science (AREA)
- Mechanical Engineering (AREA)
- Chemical & Material Sciences (AREA)
- Combustion & Propulsion (AREA)
- Transportation (AREA)
- Power Steering Mechanism (AREA)
- Retarders (AREA)
- Structure Of Transmissions (AREA)
Abstract
【課題】 入力サンギヤと入力側プラネタリギヤとの噛合部及び出力サンギヤと出力側プラネタリギヤとの噛合部におけるバックラッシを、組立て途中又は完了後に調整することができ、歯の衝突による異音の発生を抑えて静粛な運転を可能とする遊星歯車装置を提供することを目的とする。
【解決手段】 入力サンギヤ21、出力サンギヤ22、入力側プラネタリギヤ23,23…及び出力側プラネタリギヤ24、24…として連続転位歯車を用い、入力側プラネタリギヤ23,23…及び出力側プラネタリギヤ24、24…を支持する第2のキャリア板26を、調整ナット 29aの螺進操作により玉軸受29を介して押圧し、軸長方向に移動させて、入力サンギヤ21と入力側プラネタリギヤ23,23…との間のバックラッシを調整し、また出力サンギヤ22を、調整ナット 19aの螺進操作により玉軸受19を介して押圧し、軸長方向に移動させて、出力側プラネタリギヤ24、24…との間のバックラッシを調整する構成とする。
【選択図】 図2
【解決手段】 入力サンギヤ21、出力サンギヤ22、入力側プラネタリギヤ23,23…及び出力側プラネタリギヤ24、24…として連続転位歯車を用い、入力側プラネタリギヤ23,23…及び出力側プラネタリギヤ24、24…を支持する第2のキャリア板26を、調整ナット 29aの螺進操作により玉軸受29を介して押圧し、軸長方向に移動させて、入力サンギヤ21と入力側プラネタリギヤ23,23…との間のバックラッシを調整し、また出力サンギヤ22を、調整ナット 19aの螺進操作により玉軸受19を介して押圧し、軸長方向に移動させて、出力側プラネタリギヤ24、24…との間のバックラッシを調整する構成とする。
【選択図】 図2
Description
本発明は、入力側から出力側への回転伝達を減速域から増速域に亘って無段階にギヤ比を変えて行わせることができ、例えば、車両の操舵装置において、操舵部材の操作量と舵取機構の動作量との対応関係を変更するための可変ギヤ比伝動機構として用いられる遊星歯車装置に関する。
車両の操舵は、ステアリングホイール等の操舵部材の操作をステアリング軸を介して舵取機構に伝え、該舵取機構の動作により操舵用の車輪(一般的には、左右の前輪)の向きを変えて行われる。このような操舵に際しては、操舵部材の操作量と舵取機構の動作量との対応関係を、車速の高低、操舵角度の大小等の走行状態に応じて変更することにより良好な操舵感を得ることができる。
例えば、低速又は中速走行時には、舵取機構の動作量を操舵部材の操作量よりも大きくし、操舵用の車輪の切れ角を大とすることにより運転操作を容易化でき、逆に高速走行時には、舵取機構の動作量を操舵部材の操作量よりも小さくし、操舵用の車輪の切れ角を小とすることにより、急激な運転操作を防いで安定性が高まることとなる。
このような事情により従来から、操舵部材と舵取機構とを連絡するステアリング軸の中途に可変ギヤ比伝動機構を配し、操舵部材側(入力側)から舵取機構側(出力側)への回転伝達をギヤ比を変えて行わせるようにしたステアリング装置が実用化されている。可変ギヤ比伝動機構は、減速域から増速域に亘って無段階にギヤ比を変更することができ、しかもコンパクトな構成であることが望ましく、これらの要求に併せて応え得る一手段として、遊星歯車装置を用いてなる可変ギヤ比伝動機構が実用化されている(例えば、非特許文献1参照)。
この遊星歯車装置は、同軸上に支持された入力サンギヤ及び出力サンギヤと、これらの外周に各別に噛合し、共通のキャリアに支持された各複数の入力側プラネタリギヤ及び出力側プラネタリギヤとを備えると共に、前記キャリアに正逆両方向の回転力を加える変速モータを備えて構成されている。
この構成によれば、変速モータを非回転状態に保ちキャリアを固定した場合、入力サンギヤの回転は、入力側プラネタリギヤ及び出力側プラネタリギヤの自転を伴って出力サンギヤに伝えられ、該出力サンギヤは、入力サンギヤと等しい速度にて回転し、ギヤ比が1の等速伝動となる。
これに対し、変速モータを回転駆動して入力サンギヤと同方向にキャリアを回転せしめた場合、入力サンギヤの回転は、キャリアと共に公転する入力側プラネタリギヤ及び出力側プラネタリギヤの自転を伴って出力サンギヤに伝えられ、該出力サンギヤは、キャリアの回転速度、即ち、入力側及び出力側プラネタリギヤの公転速度分だけ増速された速度にて回転し、ギヤ比が1以上の増速伝動となる。一方、変速モータによりキャリアを逆回転せしめた場合、出力サンギヤは、入力サンギヤよりもキャリアの回転速度分だけ減速された速度にて回転し、ギヤ比が1以下の減速伝動となる。
このような遊星歯車装置をステアリング軸の中途に配し、入力サンギヤを操舵部材に連結し、出力サンギヤを舵取機構に連結することにより、前述した可変ギヤ比伝動機構としての使用が可能となり、走行状態に応じた操舵特性の変更制御に対応することができる。また前述した遊星歯車装置においては、入力サンギヤが回転していない状態で変速モータが回転駆動された場合、キャリアと共に公転する出力側プラネタリギヤに噛合する出力サンギヤが回転するから、操舵部材の操作によらずに舵取機構を動作させることができ、例えば、横風、スリップ等の外乱に起因する車両の姿勢変化を修正するための修正操舵をも行わせることができる。
「日経メカニカル」、2003年6月1日発行、第585号、p.24−25
「日経メカニカル」、2003年6月1日発行、第585号、p.24−25
以上の如く構成された遊星歯車装置は、減速域から増速域に亘って無段階にギヤ比を変更可能であり、車両の操舵装置における可変ギヤ比伝動機構として有用な優れた装置である。ところが、前記可変ギヤ比伝動機構は、左右両方向の操舵の転換のために頻繁に回転方向の切り換えがなされる用途であり、この切り換えに際し、入力サンギヤと入力側プラネタリギヤとの噛合部、及び出力サンギヤと出力側プラネタリギヤとの噛合部において異音が発生するという難点がある。
この異音は、回転方向の切り換え時に各ギヤの歯がバックラッシの範囲内にて相対移動し、互いに衝突することにより発生する衝突音であり、各噛合部のバックラッシを排除した組み付けを実施することにより解消される。しかしながら、このような組み付けを行うためには、入力サンギヤ、出力サンギヤ、入力側プラネタリギヤ及び出力側プラネタリギヤの歯面、並びに、これらの支持部に高い加工精度が要求され、加工工数及び組立工数の増大を招来するという問題があった。
本発明は斯かる事情に鑑みてなされたものであり、入力サンギヤと入力側プラネタリギヤとの噛合部及び出力サンギヤと出力側プラネタリギヤとの噛合部におけるバックラッシを、組立て途中又は完了後に調整することができ、歯の衝突による異音の発生を抑えて静粛な運転を可能とする遊星歯車装置を、加工及び組立工数の増大を招来せずに提供することを目的とする。
本発明の第1発明に係る遊星歯車装置は、同軸上に支持された入力サンギヤ及び出力サンギヤと、これらの外周に各別に噛合し、共通のキャリアに支持された各複数の入力側プラネタリギヤ及び出力側プラネタリギヤとを備え、前記キャリアを正逆両方向に回転せしめることにより、前記入力サンギヤの回転を前記出力サンギヤへ伝えるようにした遊星歯車装置において、前記入力サンギヤ及び出力サンギヤ、並びに前記入力側プラネタリギヤ及び出力側プラネタリギヤとして、軸長方向に連続的に転位量が変化する連続転位歯車を用い、これらの各ギヤを軸長方向の一側から他側に向けて移動させ、各ギヤ間のバックラッシを調整するバックラッシ調整手段を備えることを特徴とする。
本発明の第2発明に係る遊星歯車装置は、第1発明におけるバックラッシ調整手段が、前記キャリアを軸長方向の一側から他側に向けて押圧して前記入力側プラネタリギヤ又は出力側プラネタリギヤを移動させ、前記入力サンギヤ又は出力サンギヤとの間のバックラッシを調整する第1の調整手段と、前記出力サンギヤ又は入力サンギヤを軸長方向の一側から他側に向けて押圧して移動させ、前記出力側プラネタリギヤ又は入力側プラネタリギヤとの間のバックラッシを調整する第2の調整手段とを備えることを特徴とする。
本発明の第3発明に係る遊星歯車装置は、第2発明における第1の調整手段が、前記入力サンギヤ及び出力サンギヤを支持するハウジングの外側からの操作可能に設けてあることを特徴とする。
本発明の第4発明に係る遊星歯車装置は、前記入力側プラネタリギヤ及び出力側プラネタリギヤは、軸長方向の移動を可能として前記キャリアに支持してあり、第1発明におけるバックラッシ調整手段が、前記出力サンギヤ又は入力サンギヤを軸長方向に押圧して前記入力サンギヤ又は出力サンギヤに接近移動させ、両サンギヤと前記入力側プラネタリギヤ及び出力側プラネタリギヤとの間のバックラッシを一括して調整する構成としてあることを特徴とする。
本発明の第1発明に係る遊星歯車装置においては、入力及び出力サンギヤ、並びに入力側及び出力側プラネタリギヤとして連続転位歯車を用い、これらを軸長方向に相対移動させるバックラッシ調整手段を備えたから、各ギヤ間のバックラッシ調整を組立て段階において容易に実施することができ、正逆両方向の回転伝達を歯の衝突による異音の発生を抑えて行わせることができ、静粛な運転が可能な可変ギヤ比伝動機構を構成することができる。
また第2発明に係る遊星歯車装置においては、第1の調整手段により入力側及び出力側プラネタリギヤを支持するキャリアを、第2の調整手段により、前記出力サンギヤ又は入力サンギヤを軸長方向の一側から他側に向けて夫々移動させる構成としたから、これらの調整手段の同側からの操作によりバックラッシ調整を容易に行わせることができ、更に第3発明に係る遊星歯車装置においては、第1の調節手段をハウジングの外側から操作可能としたから、この操作が第2の調節手段の存在により阻害されることがなく、組立て完了後に一括してバックラッシ調整を行わせることが可能となる。
また第4発明に係る遊星歯車装置においては、入力側及び出力側プラネタリギヤを軸長方向の移動が可能に支持したから、出力サンギヤ及び入力サンギヤの一方を他方に向けて移動させる調整手段により、各ギヤ間のバックラッシを一括して調整することが可能となる等、本発明は優れた効果を奏する。
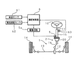
以下本発明をその実施の形態を示す図面に基づいて詳述する。図1は、車両の操舵装置における本発明に係る遊星歯車装置の適用例を示す模式図である。本図に示す操舵装置1は、操舵部材としてのステアリングホイール10の回転操作を、ステアリング軸11を介してピニオン軸12に伝え、該ピニオン軸12の回転を、図示しない車体に左右方向に延設されたラック軸13の軸長方向の移動に変換し、この移動を左右の操舵用の車輪14,14に伝えて操舵を行わせるようにしたラックピニオン式の操舵装置である。
ステアリング軸11は、これを回転自在に支持するコラムハウジング15の内部において、上部軸 11aと下部軸 11bとの2軸に分割されており(図2、3、4参照)、コラムハウジング15の上方へのステアリング軸11(上部軸 11a)の突出端は、ステアリングホイール10に連結され、同じく下方へのステアリング軸11(下部軸 11b)の突出端は、中間軸16を介してピニオン軸12に連結されている。
本発明に係る遊星歯車装置2は、入力軸としての前記上部軸 11aから、出力軸としての前記下部軸 11bへの回転伝達を、減速域から増速域に亘って無段階にギヤ比を変えて行わせる可変ギヤ比伝動機構としての作用をなすものであり、コラムハウジング15の下部を拡径してなるギヤハウジング20の内部に後述の如く構成されている。
ギヤハウジング20の外側には、ギヤ比変更用のアクチュエータとしての変速モータ5が取付けてある。この変速モータ5は、マイクロプロセッサを用いてなる操舵制御部6から駆動回路5aに与えられる動作指令に応じて正逆両方向に回転駆動され、この回転に応じた遊星歯車装置2の後述する動作により、前記ギヤ比が変更されるようになしてある。
操舵制御部6には、車両の走行速度を検出する車速センサ61、車体に加わる横加速度を検出する横加速度センサ62.ステアリングホイール10の操作によるステアリング軸11の回転角度を検出する操舵角センサ63等、車両の各部に配したセンサから、操舵に影響を与える各種の走行状態の検出結果が与えられている。
図2は、本発明に係る遊星歯車装置2の第1の実施の形態を示す縦断面図である。本図に示す如く、ステアリング軸11を構成する上部軸 11aと下部軸 11bとは、ギヤハウジング20の内部おいて先端を対向させてあり、これらの対向端部には、入力サンギヤ21及び出力サンギヤ22が夫々と同軸をなして一体形成されている。
入力サンギヤ21の外周の歯部には、複数の入力側プラネタリギヤ23,23…が噛合され、また出力サンギヤ22の外周の歯部には、入力側プラネタリギヤ23,23…と同数の出力側プラネタリギヤ24,24…が噛合されており、これらは、上部軸 11aの中途に同軸上での相対回転自在に外嵌支持された第1のキャリア板25と、下部軸 11bの中途に同じく外嵌支持された第2のキャリア板26との間に、上部軸 11a及び下部軸 11bと平行をなして架設された共通の支軸27,27…により一体回転可能に枢支されている。なお第1,第2のキャリア板25,26は、入力側プラネタリギヤ23,23…及び出力側プラネタリギヤ24,24…に干渉しない周方向位置に架設された連結部材(図示せず)により一体に連結されている。
第1のキャリア板25は、外周面に全周に亘って形成された外歯 25aを備えている。前記変速モータ5は、ギヤハウジング20の外側に設けた固定座に固定支持され、第1のキャリア板25よりも外位置において、上部軸 11a及び下部軸 11bと平行をなしてギヤハウジング20内に延設された出力軸50を有している。該出力軸50の中途には、平歯車51が同軸的に嵌着固定され、第1のキャリア板25の外周の外歯 25aに噛合させてある。
以上の構成により、変速モータ5が回転駆動された場合、この回転が、平歯車51を介して第1のキャリア板25に伝達され、該第1のキャリア板25は、これと一体に連結された第2のキャリア板26と共に回転せしめられ、これらに支持された入力側プラネタリギヤ23,23…及び出力側プラネタリギヤ24,24…は、第1,第2のキャリア板25,26を外嵌支持する上部軸 11a及び下部軸 11bの軸心回りに公転し、この公転周上の各位置において各別の支軸27,27…の軸回りに一体をなして自転することができる。
なお第1のキャリア板25は、外周部の一側に同軸的に突設された支持筒 25bを介してギヤハウジング20に支持され、また第2のキャリア板26は、内周部の一側に突設された支持筒 26bを介してギヤハウジング20に後述の如く支持されており、変速モータ5からの伝動による第1,第2のキャリア板25,26の回転は、内外両側からの支持により安定して生じるように構成されている。
本発明に係る遊星歯車装置2において、前記入力サンギヤ21及び出力サンギヤ22は、夫々との対向側から他側に向けてテーパ状に拡径された外周面を有し、夫々の外周面に形成された歯が軸長方向の一側から他側に向けて連続的に転位量を変えて歯切りされた連続転位歯車としてある。また、入力側プラネタリギヤ23,23…及び出力側プラネタリギヤ24,24…は、夫々との突き合わせ側から他側に向けてテーパ状に拡径された外周面を有し、夫々の外周面に形成された歯が、軸長方向の一側から他側に向けて連続的に転位量を変えて歯切りされた連続転位歯車としてある。
以上の如く連続転位歯車として構成された入力サンギヤ21と入力側プラネタリギヤ23,23…とは、夫々の外周面の傾き、及びこの傾きに応じて定められる転位量の変化態様を等しくすることにより、図示の如く、互いに平行をなす支持状態下にて噛合させることができ、またこの状態で軸長方向に相対移動させることにより、噛合部におけるバックラッシを増減調整することができる。全く同様に、出力サンギヤ22と出力側プラネタリギヤ24,24…とは、図示の状態で噛合させることができ、軸長方向の相対移動により噛合部におけるバックラッシを増減調整することができる。
ここで入力サンギヤ21は、上部軸 11aの中途をコラムハウジング15の内部に支持する玉軸受17により、上方(図における右方)への移動不可に拘束されている。また入力側プラネタリギヤ23,23…及び出力側プラネタリギヤ24,24…は、夫々の支軸27,27…を第2のキャリア板26に支持する玉軸受28,28…により、該第2のキャリア板26に対して下方(図における左方)への相対移動不可に拘束されている。更に第2のキャリア板26は、一側に突設された支持筒 26bをギヤハウジング20に支持する玉軸受29により、下方への移動不可に拘束されている。
第2のキャリア板26を支持する玉軸受29の外輪には、ギヤハウジング20内周のねじ部に螺合された円環形の調整ナット 29aが下位置から当接され、この調整ナット 29aの他側には、前記ねじ部に螺合する円環形のロックナット 29bが当接させてある。これにより玉軸受29は、調整ナット 29aの螺進操作によって上方に向けて移動せしめられ、適宜の移動位置でのロックナット 29bの締め付けにより下方への移動不可に位置決め固定される。
一方、出力サンギヤ22は、下部軸 11bの中途に設けられた大径の支持座18をギヤハウジング20の下端開口部の近傍に支持する玉軸受19により、下方への移動不可に拘束されている。前記玉軸受19の外輪には、ギヤハウジング20内周のねじ部に螺合された円環形の調整ナット 19aが下位置から当接され、この調整ナット 19aの他側には、前記ねじ部に螺合する円環形のロックナット 19bが当接させてある。これにより玉軸受19は、調整ナット 19aの螺進操作によって上方に向けて移動せしめられ、適宜の移動位置でのロックナット 19bの締め付けにより下方への移動不可に位置決め固定される。
以上の支持構造を有する図2に示す遊星歯車装置2においては、前記調整ナット 29aを螺進操作して玉軸受29を移動させることにより、該玉軸受29により前述の如く支持された第2のキャリア板26が上方に向けて移動し、該キャリア板26に玉軸受28,28…によって支持された入力側プラネタリギヤ23,23…及び出力側プラネタリギヤ24,24…も同様に移動することとなり、入力側プラネタリギヤ23,23…が、上方への移動不可とされた入力サンギヤ21に対して相対移動せしめられ、前述した如く、両者の噛合部におけるバックラッシを適正に調整することができる。また、この調整により実現されたバックラッシは、ロックナット 29bの締め付けにより維持される。
全く同様に前記調整ナット 19aを螺進操作して玉軸受19を移動させることにより、この玉軸受19により前述の如く支持された出力サンギヤ22が上方に向けて移動し、出力側プラネタリギヤ24,24…に対して相対移動せしめられることとなり、前述した如く、両者の噛合部におけるバックラッシを適正に調整することができる。また、この調整により得られたバックラッシは、ロックナット 19bの締め付けにより維持される。
このように図2に示す遊星歯車装置2においては、調整ナット 29bの螺進操作により入力サンギヤ21と入力側プラネタリギヤ23,23…との噛合部のバックラッシを調整し、その後の調整ナット 19aの螺進操作により、出力サンギヤ22と出力側プラネタリギヤ24,24…との噛合部のバックラッシを調整することができ、実質的にバックラッシ無しに各ギヤが噛み合う所望の噛合状態を確実に実現することができる。なお、調整ナット 19aの螺進操作及びロックナット 19bの締め付け操作は、ギヤハウジング20の下側開口部から容易に実施することができ、また調整ナット 29a及びロックナット 29bの締め付け操作は、玉軸受19の組み付け前にギヤハウジング20の下側開口部から同様に実施することができる。
以上の如く構成された遊星歯車装置2を備える図1に示す操舵装置において、操舵のためにステアリングホイール10が回転操作された場合、該ステアリングホイール10に連結された上部軸 11aが回転し、遊星歯車装置2の入力サンギヤ21が回転する。
ここで、変速モータ5が回転駆動されておらず、第1のキャリア板25が非回転状態に拘束されている場合、入力サンギヤ21の回転により、これに噛合する入力側プラネタリギヤ23,23…が夫々の支軸27,27…の軸回りに自転し、これらの支軸27,27…を共通とする出力側プラネタリギヤ24,24…が自転せしめられ、これらに噛合する出力サンギヤ22に回転力が加わり、該出力サンギヤ22を備える下部軸 11bが回転することとなり、このように生じる下部軸 11bの回転が、ピニオン軸12に噛合するラック軸13の軸長方向の移動に変換され、この移動が左右の操舵用の車輪14,14に伝えられて操舵が行われる。
このとき、入力サンギヤ21を備える上部軸 11aから出力サンギヤ22を備える下部軸 11bへの回転伝達は、ギヤ比が1の等速伝動であり、操舵用の車輪14,14は、ステアリングホイール10の操作方向に、操作量に対応する角度だけ操舵される。
これに対し、変速モータ5を回転駆動し、入力サンギヤ22と同方向に第1のキャリア板25を回転せしめた場合、入力サンギヤ22の回転は、第1のキャリア板25と共に公転する入力側プラネタリギヤ23,23…及び出力側プラネタリギヤ24,24…の自転を伴って出力サンギヤ22に伝えられ、該出力サンギヤ22は、第1キャリア板25の回転による公転速度分だけ入力サンギヤ21よりも増速された速度にて回転する。このとき上部軸 11aから下部軸 11bへの回転伝達は、ギヤ比が1以上の増速伝動となり、操舵用の車輪14,14は、ステアリングホイール10の操作量よりも大きく操舵される。
一方、変速モータ5を回転駆動し、入力サンギヤ22と逆方向に第1のキャリア板25を回転せしめた場合、出力サンギヤ22は、第1のキャリア板25の回転による公転速度分だけ入力サンギヤ21よりも減速された速度にて回転する。このとき上部軸 11aから下部軸 11bへの回転伝達は、ギヤ比が1以下の減速伝動となり、操舵用の車輪14,14は、ステアリングホイール10の操作量よりも小さく操舵される。
変速モータ5は、前述の如く、車速センサ61、横加速度センサ62及び操舵角センサ63等から与えられる走行状態の検出結果に基づいて操舵制御部6から与えられる制御指令に従って正逆両方向に駆動される。
操舵制御部6は、例えば、車速センサ61による検出車速が小さい低速又は中速走行時には、変速モータ5をステアリングホイール10の操作方向と同向きに回転駆動し、逆に高速走行時には.変速モータ5をステアリングホイール10の操作方向と逆向きに回転駆動する制御指令を発するようにしてある。これにより、低速又は中速走行時には、操舵用の車輪14,14の操舵角がステアリングホイール10の操作量よりも大きくなり、運転操作を容易に行わせることができ、また高速走行時には、操舵用の車輪14,14の操舵角がステアリングホイール10の操作量よりも小さくなり、急激な操舵による車両の不安定な挙動を未然に防止し、走行安定性の向上を図ることができる。
また横加速度センサ62により検出される横角速度の検出値は、これがが過度に大きい場合に変速モータ5をステアリングホイール10の操作方向と逆向きに回転駆動し、車輪14,14の操舵角を小さくして、スリップ、スピンの発生を防止すべく用いられる。更に操舵角センサ63により検出される操舵角度の検出値は、検出角度が小さい場合に変速モータ5をステアリングホイール10の操作方向と逆向きに回転駆動し、車輪14,14の操舵角を小さくして直進安定性を高めるべく用いられ、検出角度が大きい場合に変速モータ5をステアリングホイール10の操作方向と同向きに回転駆動し、車輪14,14の操舵角を大きくして運転操作を容易とすべく用いられる。
なお、操舵制御部6による変速モータ5の制御は、回転方向と共に回転速度も対象としてなされ、ギヤ比を連続的に変化させて、走行状態に応じて適正なギヤ比を実現するようにしてある。また、入力サンギヤ21が回転していない状態で変速モータ5が回転駆動された場合、第1のキャリア25と共に入力側プラネタリギヤ23,23…及び出力側プラネタリギヤ24,24…が公転し、非回転状態にある入力側サンギヤ21と噛合する入力側プラネタリギヤ23,23…が自転し、これと共に自転する出力側プラネタリギヤ24,24…に噛合する出力サンギヤ22が回転するから、ステアリングホイール10の操作なしに車輪14,14を操舵させることができる。これにより、例えば、横風、スリップ等の外乱に起因する車両の姿勢変化を修正するための修正操舵が可能となる。
本発明に係る遊星歯車装置2においては、前述した如く行われるバックラッシ調整により、入力サンギヤ21と入力側プラネタリギヤ23,23…とが、また出力サンギヤ22と出力側プラネタリギヤ24,24…との噛合部におけるバックラッシ無しの状態で噛合させてあり、ステアリングホイール10の操作方向の切り換えに際し、各ギヤの噛合部において歯の衝突に伴う異音が発生する虞れを排除でき、良好な操舵感を実現することができ、また各ギヤの耐久性を高めることができる。
また前述したバックラッシ調整は、組み付け状態において軸長方向の一側から容易に実施することができ、入力サンギヤ21、出力サンギヤ22、入力側プラネタリギヤ23,23…及び出力側プラネタリギヤ24,24…の歯面、及びこれらの支持部に高い加工精度が要求されることがなく、加工工数及び組立工数を削減することが可能となる。
図3は、本発明に係る遊星歯車装置2の第2の実施の形態を示す縦断面図である。本図に示す遊星歯車装置2は、以下に説明する第2のキャリア板26の支持構造、及び第2のキャリア板26への支軸27の支持構造を除けば、図2に示す第1の実施の形態と同様の構成を有しており、対応する構成部材に図2と同一の参照符号を付して説明を省略する。
図3に示す遊星歯車装置2において、第2のキャリア板26は、軸長方向への移動を可能として下部軸 11bに外嵌支持されており、この第2のキャリア板26への入力側プラネタリギヤ23,23…及び出力側プラネタリギヤ24,24…の支軸27の支持は、針状ころ軸受、滑り軸受等の軸長方向の移動を可能とする軸受30を介してなされている。
また下部軸 11bには、第2のキャリア板26の下位置に対向するように、軸長方向への移動を可能として押し板31が外嵌支持され、この押し板30と、第2のキャリア板26及び支軸27,27…との対向部間に各別のスラスト玉軸受32,32…が介装されており、これらのスラスト玉軸受32,32…により、第2のキャリア板26及び支軸27,27…の下方への移動を拘束するように構成してある。更に、押し板31の他側端面の外周部には、端部に向けてテーパ状に縮径する押し面 31aが周設されている。
一方、ギヤハウジング20の周壁には、内側の押し板31に対応する部位を径方向に貫通するねじ孔 20aが形成されており、このねじ孔 20aに調整ボルト33が螺合されている。ギヤハウジング20の内部に突出する調整ボルト33の先端には、端部に向けてテーパ状に縮径するテーパ面 33aが設けられ、このテーパ面 33aは、押し板31外周の前記押し面 31aに当接させてある。
以上の如く構成された遊星歯車装置2においては、調整ボルト33を螺進操作してギヤハウジング20の内部への突出長さを増すことにより、先端のテーパ面 33aに当接された押し面 31aに上向きの押圧力が加えられ、該押し面 31aが設けられた押し板31が上方(操舵部材側)に移動する。この移動により、押し板31との間にスラスト玉軸受32,32…により支持された第2のキャリア板26及び支軸27,27…が上方に移動せしめられ、入力側プラネタリギヤ23,23…及び出力側プラネタリギヤ24,24…も同様に移動することとなり、入力側プラネタリギヤ23,23…が、上方への移動不可とされた入力サンギヤ21に対して相対移動せしめられ、両者の噛合部におけるバックラッシを調整することができる。なお、この調整により実現されたバックラッシは、調整ボルト33の中途に螺合するロックナット34をギヤハウジング20の外面に締め付けることにより維持される。
一方、出力側プラネタリギヤ24,24…と出力サンギヤ22との間のバックラッシは、図2に示す第1の実施の形態におけると同様に、下部軸 11aを支持する玉軸受19を、調整ナット 19aの締め付けにより移動させ、ロックナット 19bの締め付けにより位置決めすることにより調整される。
このように図3に示す遊星歯車装置2においては、調整ボルト33の螺進操作により入力サンギヤ21と入力側プラネタリギヤ23,23…との噛合部のバックラッシを調整し、その後の調整ナット 19aの螺進操作により、出力サンギヤ22と出力側プラネタリギヤ24,24…との噛合部のバックラッシを調整することができ、実質的にバックラッシ無しに各ギヤが噛み合う所望の噛合状態を確実に実現することができる。
この実施の形態においては、調整ボルト33の螺進操作をギヤハウジング20の外側において実施することができ、玉軸受19により支持された下部軸 11bの組み付け完了後に全てのバックラッシ調整を実施することが可能となる。更には、例えば、各ギヤの噛合部における摩耗の影響によりバックラッシ変化が生じた場合においても、ギヤハウジング20の外側からの調整ボルト33及び調整ナット 19aの操作により、分解を必要とせずにバックラッシを再調整することができ、メンテナンスが容易であるという効果もある。
図4は、本発明に係る遊星歯車装置2の第3の実施の形態を示す縦断面図である。本図に示す遊星歯車装置2は、以下に説明する第2のキャリア板26の支持構造、及び第2のキャリア板26への支軸27の支持構造を除けば、図2に示す第1の実施の形態と同様の構成を有しており、対応する構成部材に図2と同一の参照符号を付して説明を省略する。
図4に示す遊星歯車装置2において、第2のキャリア板26は、下部軸 11bに外嵌されたスラスト負荷が可能な玉軸受40により、下方への相対移動を拘束して支持されている。この玉軸受40の内輪と、下部軸 11bをギヤハウジング20に支持する玉軸受19の内輪とには、下部軸 11bに外嵌された筒形のカラー41の両端が当接させてあり、玉軸受40及びこれに支持された第2のキャリア板26は、玉軸受19に支持された下部軸 11b及び出力サンギヤ22と一体をなして上方に移動するようになしてある。
一方、入力側プラネタリギヤ23,23…及び出力側プラネタリギヤ24,24…の支軸27は、針状ころ軸受、滑り軸受等の軸長方向の移動を可能とする軸受42を介して第2のキャリア板26に支持されており、入力側プラネタリギヤ23,23…及び出力側プラネタリギヤ24,24…は、第2のキャリア板26に対する軸長方向の相対移動が可能とされている。
以上の如く構成された遊星歯車装置2においては、下部軸 11aを支持する玉軸受19を、調整ナット 19aの螺進操作により上方に移動させることにより、出力サンギヤ22が入力サンギヤ21に接近する向きに移動する。このとき、カラー41を介して玉軸受40が押され、該玉軸受40により支持された第2のキャリア板26も上方に移動するが、このとき第2のキャリア板26に支持された入力側プラネタリギヤ23,23…及び出力側プラネタリギヤ24,24…は、第2のキャリア板26に対する支軸27の相対移動により出力サンギヤ22と入力サンギヤ21との間にて適宜の位置に移動することができ、前述した出力サンギヤ22の移動により、出力側プラネタリギヤ24,24…と出力サンギヤ22との間のバックラッシ、及び入力側プラネタリギヤ23,23…と入力サンギヤ21とが一括して調整される。なおおこのように調整されたバックラッシは、調整ナット 19aの他側へのロックナット 19bの締め付けにより維持される。
このように図4に示す遊星歯車装置2においては、調整ナット 19aの螺進操作により全てのギヤ間のバックラッシを一括して調整することができ、実質的にバックラッシ無しに各ギヤが噛み合う所望の噛合状態を確実に実現することができ、組み付け段階でのバックラッシ調整を容易に行わせることができる。また調整ナット 19aは、ハウジング20の外側からの操作が可能であり、例えば、各ギヤの経時的な摩耗に起因するバックラッシ変化を解消するための再調整を、分解を必要とせずに実施でき、メンテナンスが容易であるという効果もある。
2 遊星歯車装置
19a 調整ナット(第2の調整手段)
20 ハウジング
21 入力サンギヤ
22 出力サンギヤ
23 入力側プラネタリギヤ
24 出力側プラネタリギヤ
25 第1のキャリア板(キャリア)
26 第2のキャリア板(キャリア)
29a 調整ナット(第1の調整手段)
33 調整ボルト(第1の調整手段)
19a 調整ナット(第2の調整手段)
20 ハウジング
21 入力サンギヤ
22 出力サンギヤ
23 入力側プラネタリギヤ
24 出力側プラネタリギヤ
25 第1のキャリア板(キャリア)
26 第2のキャリア板(キャリア)
29a 調整ナット(第1の調整手段)
33 調整ボルト(第1の調整手段)
Claims (4)
- 同軸上に支持された入力サンギヤ及び出力サンギヤと、これらの外周に各別に噛合し、共通のキャリアに支持された各複数の入力側プラネタリギヤ及び出力側プラネタリギヤとを備え、前記キャリアを正逆両方向に回転せしめることにより、前記入力サンギヤの回転を前記出力サンギヤへ伝えるようにした遊星歯車装置において、
前記入力サンギヤ及び出力サンギヤ、並びに前記入力側プラネタリギヤ及び出力側プラネタリギヤとして、軸長方向に連続的に転位量が変化する連続転位歯車を用い、これらの各ギヤを軸長方向の一側から他側に向けて移動させ、各ギヤ間のバックラッシを調整するバックラッシ調整手段を備えることを特徴とする遊星歯車装置。 - 前記バックラッシ調整手段は、前記キャリアを軸長方向の一側から他側に向けて押圧して前記入力側プラネタリギヤ又は出力側プラネタリギヤを移動させ、前記入力サンギヤ又は出力サンギヤとの間のバックラッシを調整する第1の調整手段と、前記出力サンギヤ又は入力サンギヤを軸長方向の一側から他側に向けて押圧して移動させ、前記出力側プラネタリギヤ又は入力側プラネタリギヤとの間のバックラッシを調整する第2の調整手段とを備える請求項1記載の遊星歯車装置。
- 前記第1の調整手段は、前記入力サンギヤ及び出力サンギヤを支持するハウジングの外側からの操作可能に設けてある請求項2記載の遊星歯車装置。
- 前記入力側プラネタリギヤ及び出力側プラネタリギヤは、軸長方向の移動を可能として前記キャリアに支持してあり、前記バックラッシ調整手段は、前記出力サンギヤ又は入力サンギヤを軸長方向に押圧して前記入力サンギヤ又は出力サンギヤに接近移動させ、両サンギヤと前記入力側プラネタリギヤ及び出力側プラネタリギヤとの間のバックラッシを一括して調整する構成としてある請求項1記載の遊星歯車装置。
Priority Applications (4)
| Application Number | Priority Date | Filing Date | Title |
|---|---|---|---|
| JP2004370215A JP2006177423A (ja) | 2004-12-21 | 2004-12-21 | 遊星歯車装置 |
| EP05112426A EP1674760A2 (en) | 2004-12-21 | 2005-12-19 | Planetary gear apparatus |
| US11/311,163 US7377875B2 (en) | 2004-12-21 | 2005-12-20 | Planetary gear apparatus and steering apparatus with planetary gear apparatus |
| CNB2005101338177A CN100497996C (zh) | 2004-12-21 | 2005-12-21 | 行星齿轮装置 |
Applications Claiming Priority (1)
| Application Number | Priority Date | Filing Date | Title |
|---|---|---|---|
| JP2004370215A JP2006177423A (ja) | 2004-12-21 | 2004-12-21 | 遊星歯車装置 |
Publications (1)
| Publication Number | Publication Date |
|---|---|
| JP2006177423A true JP2006177423A (ja) | 2006-07-06 |
Family
ID=36088515
Family Applications (1)
| Application Number | Title | Priority Date | Filing Date |
|---|---|---|---|
| JP2004370215A Withdrawn JP2006177423A (ja) | 2004-12-21 | 2004-12-21 | 遊星歯車装置 |
Country Status (4)
| Country | Link |
|---|---|
| US (1) | US7377875B2 (ja) |
| EP (1) | EP1674760A2 (ja) |
| JP (1) | JP2006177423A (ja) |
| CN (1) | CN100497996C (ja) |
Cited By (4)
| Publication number | Priority date | Publication date | Assignee | Title |
|---|---|---|---|---|
| CN108775383A (zh) * | 2018-08-08 | 2018-11-09 | 江苏欧邦电机制造有限公司 | 一种可调式精密行星齿轮减速机 |
| KR20220039068A (ko) * | 2020-09-21 | 2022-03-29 | 현대모비스 주식회사 | 독립 조향장치 |
| CN114909439A (zh) * | 2022-05-16 | 2022-08-16 | 中船动力镇江有限公司 | 圆锥齿轮齿隙调整装置 |
| JP2023513467A (ja) * | 2020-02-04 | 2023-03-31 | アクティエボラゲット・エスコーエッフ | モジュール式高精度ギアボックス装置 |
Families Citing this family (35)
| Publication number | Priority date | Publication date | Assignee | Title |
|---|---|---|---|---|
| US7479089B2 (en) * | 2005-01-26 | 2009-01-20 | Jtekt Corporation | Differential gear apparatus |
| EP1857347B1 (en) * | 2006-05-15 | 2009-08-19 | JTEKT Corporation | Steering apparatus for vehicle |
| US8529397B2 (en) * | 2006-05-22 | 2013-09-10 | Vestas Wind Systems A/S | Gear system for a wind turbine |
| JP2008074367A (ja) * | 2006-09-25 | 2008-04-03 | Jtekt Corp | 車両用操舵装置 |
| US7713157B2 (en) * | 2007-07-11 | 2010-05-11 | Eaton Corporation | Planetary gear controlled alternator |
| ES2395222T3 (es) * | 2008-01-12 | 2013-02-11 | Linak A/S | Dispositivo de accionamiento lineal |
| JP2009197842A (ja) * | 2008-02-19 | 2009-09-03 | Mitsubishi Heavy Ind Ltd | 遊星機構 |
| US8430788B2 (en) * | 2008-04-30 | 2013-04-30 | The Timken Company | Epicyclic gear system with flexpins |
| US8096917B2 (en) * | 2008-11-13 | 2012-01-17 | General Electric Company | Planetary gearbox having multiple sun pinions |
| DE102009042591B4 (de) * | 2008-12-15 | 2012-12-06 | Sew-Eurodrive Gmbh & Co. Kg | Planetengetriebe |
| DE102009027342A1 (de) * | 2009-06-30 | 2011-01-05 | Zf Friedrichshafen Ag | Überlagerungsgetriebe für ein Lenksystem |
| FR2955368B1 (fr) * | 2010-01-19 | 2012-05-18 | Skf Aerospace France | Reducteur de vitesse et mecanisme de transmission comprenant un tel reducteur pour piloter un aeronef |
| US8550950B2 (en) * | 2010-02-05 | 2013-10-08 | Sikorsky Aircraft Corporation | Planetary reduction gearbox |
| KR101251765B1 (ko) * | 2011-04-13 | 2013-04-05 | 엘지이노텍 주식회사 | 동력 전달장치 |
| CN103206517B (zh) * | 2012-01-11 | 2017-04-26 | 株式会社捷太格特 | 减速机构以及具备该减速机构的电机旋转力传递装置 |
| TW201339016A (zh) * | 2012-03-27 | 2013-10-01 | Li Yuan Transmission Co Ltd | 電動車行星齒輪變速箱 |
| CN102748435B (zh) * | 2012-07-23 | 2015-06-17 | 福建省福工动力技术有限公司 | 一种基于双制动器的行星齿轮变速器 |
| CN102865336B (zh) * | 2012-09-25 | 2015-10-21 | 台州市三凯机电有限公司 | 行星齿轮减速机 |
| EP2796750B1 (en) * | 2013-04-25 | 2020-01-01 | Swepart Transmission AB | Epicyclic gear train |
| US10252388B2 (en) * | 2013-09-13 | 2019-04-09 | Makino Milling Machine Co., Ltd. | Feed axis device of a machine tool |
| KR101749375B1 (ko) * | 2013-12-06 | 2017-06-20 | 주식회사 만도 | 유성 기어 장치 |
| KR20150138779A (ko) * | 2014-06-02 | 2015-12-10 | 주식회사 만도 | 원형보조기구를 적용한 차량용 조향장치 유성기어 유격보상구조 |
| KR102346198B1 (ko) * | 2015-01-07 | 2021-12-31 | 삼성전자주식회사 | 구동 모듈 및 이를 포함하는 운동 보조 장치 |
| US10106034B2 (en) * | 2015-02-27 | 2018-10-23 | Caterpillar Inc. | Output transfer group for mobile machine powertrain |
| CN106151382A (zh) * | 2015-03-12 | 2016-11-23 | 盐城工业职业技术学院 | 平行轴锥齿轮传动间隙消除机构 |
| KR101637819B1 (ko) * | 2015-03-20 | 2016-07-07 | 현대자동차주식회사 | 자동차용 afs 시스템 |
| US9512900B2 (en) * | 2015-05-08 | 2016-12-06 | E-Aam Driveline Systems Ab | Planetary gear mechanism with reduced gear lash |
| CN104976335B (zh) * | 2015-05-22 | 2019-01-04 | 武汉大学 | 一种浮动量可调的行星齿轮均载浮动机构 |
| CN105240483B (zh) * | 2015-10-29 | 2017-12-26 | 重庆永进重型机械成套设备有限责任公司 | 一种机车试验差速齿轮箱及试验台 |
| RU2686994C1 (ru) * | 2018-09-11 | 2019-05-06 | Алексей Владимирович Ражев | Гомокинетический шарнир |
| CN112443638B (zh) * | 2019-08-28 | 2022-09-23 | 莫德超 | 变速器 |
| GR20200100085A (el) * | 2020-02-20 | 2021-09-15 | Παναγιωτης Βασιλειου Ζαραφωνιτης | Μηχανισμος αυξησεως γωνιακης ταχυτητας υπερυψηλου λογου μεταδοσεως |
| CN111493689B (zh) * | 2020-06-02 | 2021-05-04 | 中山市威锦电器燃具有限公司 | 一种基于行星齿轮传动原理的新能源烤箱 |
| KR102422285B1 (ko) * | 2020-08-28 | 2022-07-18 | 신정훈 | 백래시의 제어구조를 가진 태양광 발전용 회전장치 |
| CN113404820B (zh) * | 2021-06-29 | 2022-09-23 | 重庆大学 | 一种可调隙多曲柄变齿厚精密传动装置 |
Family Cites Families (6)
| Publication number | Priority date | Publication date | Assignee | Title |
|---|---|---|---|---|
| PL201127A1 (pl) * | 1977-09-29 | 1979-09-24 | Obrabiarek Precyzyj Ponar | Kolo zebate o zebach srubowych |
| JPH06257660A (ja) | 1993-03-03 | 1994-09-16 | Nagaoka Haguruma Seisakusho:Kk | 歯車伝達機構 |
| JPH0821489A (ja) * | 1994-07-08 | 1996-01-23 | Fanuc Ltd | 歯車装置 |
| JPH09210143A (ja) | 1996-02-02 | 1997-08-12 | Komori Corp | 歯車伝動装置 |
| JPH10141476A (ja) | 1996-11-12 | 1998-05-29 | Tochigi Fuji Ind Co Ltd | 差動制限装置 |
| FI110812B (fi) * | 2000-06-21 | 2003-03-31 | Prorauta | Muuttuvavälityksinen planeettavaihteisto |
-
2004
- 2004-12-21 JP JP2004370215A patent/JP2006177423A/ja not_active Withdrawn
-
2005
- 2005-12-19 EP EP05112426A patent/EP1674760A2/en not_active Withdrawn
- 2005-12-20 US US11/311,163 patent/US7377875B2/en not_active Expired - Fee Related
- 2005-12-21 CN CNB2005101338177A patent/CN100497996C/zh not_active Expired - Fee Related
Cited By (6)
| Publication number | Priority date | Publication date | Assignee | Title |
|---|---|---|---|---|
| CN108775383A (zh) * | 2018-08-08 | 2018-11-09 | 江苏欧邦电机制造有限公司 | 一种可调式精密行星齿轮减速机 |
| CN108775383B (zh) * | 2018-08-08 | 2023-06-27 | 江苏欧邦电机制造有限公司 | 一种可调式精密行星齿轮减速机 |
| JP2023513467A (ja) * | 2020-02-04 | 2023-03-31 | アクティエボラゲット・エスコーエッフ | モジュール式高精度ギアボックス装置 |
| KR20220039068A (ko) * | 2020-09-21 | 2022-03-29 | 현대모비스 주식회사 | 독립 조향장치 |
| KR102768577B1 (ko) | 2020-09-21 | 2025-02-13 | 현대모비스 주식회사 | 독립 조향장치 |
| CN114909439A (zh) * | 2022-05-16 | 2022-08-16 | 中船动力镇江有限公司 | 圆锥齿轮齿隙调整装置 |
Also Published As
| Publication number | Publication date |
|---|---|
| CN100497996C (zh) | 2009-06-10 |
| CN1793695A (zh) | 2006-06-28 |
| US7377875B2 (en) | 2008-05-27 |
| US20060135312A1 (en) | 2006-06-22 |
| EP1674760A2 (en) | 2006-06-28 |
Similar Documents
| Publication | Publication Date | Title |
|---|---|---|
| JP2006177423A (ja) | 遊星歯車装置 | |
| JP4699381B2 (ja) | 車両用重畳式操向システム | |
| JP2017128250A (ja) | 操舵力調整装置、及び操舵装置 | |
| JP2003312515A (ja) | 車両用操舵装置 | |
| CN113508068A (zh) | 用于转动可转向的车轮的装置 | |
| US9114823B2 (en) | Actuating device employed in steering system for vehicle | |
| JP2008030747A (ja) | ステアリング装置 | |
| JPH07257406A (ja) | 車両用可変舵角比操舵装置 | |
| JP2006300221A (ja) | 遊星ローラ駆動装置及び同装置を設置したステアリング装置 | |
| EP1561668B1 (en) | Steering transmission device and steering apparatus | |
| JP4626345B2 (ja) | 車両のステアリング装置 | |
| JP4134701B2 (ja) | 電動パワーステアリング装置 | |
| JP2006088726A (ja) | 電動パワーステアリング装置 | |
| JP2007168613A (ja) | 電動式パワーステアリング装置 | |
| JP2006150994A (ja) | 差動歯車装置を用いた可変操舵角機構 | |
| JP2003327143A (ja) | 電動式舵取装置 | |
| JP2005067386A (ja) | 車両の操舵制御装置 | |
| JP2006281815A (ja) | 可変舵角比操舵装置ガタ詰め構造。 | |
| JP4031873B2 (ja) | 車両用ステアリング装置 | |
| JP2014101050A (ja) | 伝達比可変装置 | |
| JP2005180553A (ja) | 可変ギヤ比機構、及び可変ギヤ比機構を備えた操舵制御装置 | |
| JP2008074339A (ja) | 車両用操舵装置 | |
| JP2005067429A (ja) | 車両の操舵制御装置 | |
| JP4734945B2 (ja) | 車両用操舵装置 | |
| KR100651157B1 (ko) | 기어 비 변환 장치 및 이를 구비한 자동차의 능동 전륜조향장치 |
Legal Events
| Date | Code | Title | Description |
|---|---|---|---|
| A621 | Written request for application examination |
Free format text: JAPANESE INTERMEDIATE CODE: A621 Effective date: 20071107 |
|
| A977 | Report on retrieval |
Free format text: JAPANESE INTERMEDIATE CODE: A971007 Effective date: 20091106 |
|
| A131 | Notification of reasons for refusal |
Free format text: JAPANESE INTERMEDIATE CODE: A131 Effective date: 20091117 |
|
| A761 | Written withdrawal of application |
Free format text: JAPANESE INTERMEDIATE CODE: A761 Effective date: 20091127 |