JP2006158230A - Ground leveling rotor - Google Patents

Ground leveling rotor Download PDF

Info

Publication number
JP2006158230A
JP2006158230A JP2004350680A JP2004350680A JP2006158230A JP 2006158230 A JP2006158230 A JP 2006158230A JP 2004350680 A JP2004350680 A JP 2004350680A JP 2004350680 A JP2004350680 A JP 2004350680A JP 2006158230 A JP2006158230 A JP 2006158230A
Authority
JP
Japan
Prior art keywords
leveling
leveling rotor
rotor
pieces
shaft
Prior art date
Legal status (The legal status is an assumption and is not a legal conclusion. Google has not performed a legal analysis and makes no representation as to the accuracy of the status listed.)
Pending
Application number
JP2004350680A
Other languages
Japanese (ja)
Inventor
Koichi Tetsumi
幸一 鐵見
Hisao Nogami
久男 野上
Current Assignee (The listed assignees may be inaccurate. Google has not performed a legal analysis and makes no representation or warranty as to the accuracy of the list.)
Mitsubishi Agricultural Machinery Co Ltd
Original Assignee
Mitsubishi Agricultural Machinery Co Ltd
Priority date (The priority date is an assumption and is not a legal conclusion. Google has not performed a legal analysis and makes no representation as to the accuracy of the date listed.)
Filing date
Publication date
Application filed by Mitsubishi Agricultural Machinery Co Ltd filed Critical Mitsubishi Agricultural Machinery Co Ltd
Priority to JP2004350680A priority Critical patent/JP2006158230A/en
Publication of JP2006158230A publication Critical patent/JP2006158230A/en
Pending legal-status Critical Current

Links

Images

Landscapes

  • Transplanting Machines (AREA)
  • Soil Working Implements (AREA)

Abstract

<P>PROBLEM TO BE SOLVED: To provide a ground leveling rotor capable of being easily assembled and mounted on a fulcrum shaft. <P>SOLUTION: This ground leveling rotor is structured so that two or more ground leveling rotor pieces 36, 48, in which two or more ground leveling members 37 for scraping a surface of a cultivated field in accordance with rotation around the fulcrum shaft 14 as a shaft center are together joined by joining members 38, are together joined, so as to form a cage shape as a whole by using the fulcrum shaft 14 as a center, and then integrally mounted on the fulcrum shaft 14 by joining and fastening members 44 for composing the ground leveling rotor. Further, the concave part 51 and a convex part 49 for fastening each of the ground leveling rotor pieces 48 in such a manner as to make the pieces formed into the cage shape as a whole are arranged on the joining member 38 of each of the ground leveling rotor pieces 48. <P>COPYRIGHT: (C)2006,JPO&NCIPI

Description

この発明は、乗用田植機等の移植機における整地用ロータに関する。   The present invention relates to a leveling rotor in a transplanter such as a riding rice transplanter.

従来植付け作業機の前方に支点軸を介して回転駆動自在に軸支され、支点軸を軸心とした回転に伴って圃場面を掻く複数の整地部材が連結部材によって連結された整地ロータ片を、支点軸を中心に全体として篭型をなすように複数連結して構成される整地用ロータが公知となっている。
特開2004−105151号公報
Conventionally, a leveling rotor piece that is rotatably supported through a fulcrum shaft in front of a planting work machine and that is connected to a plurality of leveling members by a connecting member that scratches the field scene with rotation about the fulcrum shaft as a center. A ground leveling rotor is known which is constituted by connecting a plurality of hooks so as to form a saddle shape as a whole around a fulcrum shaft.
JP 2004-105151 A

上記整地ロータ片は、各整地ロータ片の連結部材が互いにボルトによって固定されることによって整地用ロータをなす。複数の整地ロータ片からなる整地用ロータは、別途ピンによってロータ軸に一体的に固定される。このため整地ロータ片を整地用ロータとするための部品(ボルト)と、整地用ロータをロータ軸に固定する部品(ピン)とが必要となり、整地用ロータをロータ軸に取り付けるための部品が多くなり、取付作業が容易ではないという欠点があった。   The leveling rotor piece forms a leveling rotor by connecting members of the leveling rotor pieces to each other by bolts. The leveling rotor composed of a plurality of leveling rotor pieces is integrally fixed to the rotor shaft by a separate pin. For this reason, parts (bolts) for making the leveling rotor piece a rotor for leveling and parts (pins) for fixing the leveling rotor to the rotor shaft are necessary, and there are many parts for attaching the leveling rotor to the rotor shaft. Therefore, there is a drawback that the mounting operation is not easy.

上記課題を解決するための本発明の整地用ロータは、植付け作業機4の前方に支点軸14を介して回転駆動自在に軸支され、支点軸14を軸心とした回転に伴って圃場面を掻く複数の整地部材37が連結部材38によって連結された整地ロータ片36,48を、連結固定部材44によって支点軸14を中心に全体として篭型をなすように複数連結して構成される整地用ロータにおいて、上記連結固定部材44によって各整地ロータ片36,48が連結されるとともに、支点軸14に一体的に取り付けられることを第1の特徴としている。   The leveling rotor according to the present invention for solving the above-mentioned problems is pivotally supported in front of the planting work machine 4 via a fulcrum shaft 14 so as to be freely rotatable, and the field scene is accompanied by rotation about the fulcrum shaft 14 as an axis. Leveling rotor pieces 36 and 48 in which a plurality of leveling members 37 that are scratched are connected by a connecting member 38 are connected by a connecting and fixing member 44 so as to form a bowl shape as a whole around the fulcrum shaft 14. The first feature is that the leveling rotor pieces 36 and 48 are connected to each other by the connecting and fixing member 44 and are integrally attached to the fulcrum shaft 14.

第2に、各整地ロータ片48の連結部材38に凹部51及び凸部49を設け、凹部51及び凸部49を他の整地ロータ片48の連結部材38の凸部49及び凹部51に同時に挿入されるように配置し、各凹部51及び凸部49を挿入によって各整地ロータ片48が全体として篭型をなすように係止されることを特徴としている。   Secondly, a concave portion 51 and a convex portion 49 are provided in the connecting member 38 of each leveling rotor piece 48, and the concave portion 51 and the convex portion 49 are simultaneously inserted into the convex portion 49 and the concave portion 51 of the connecting member 38 of another leveling rotor piece 48. The ground leveling rotor pieces 48 are locked so as to form a bowl shape as a whole by inserting the concave portions 51 and the convex portions 49.

第3に、連結部材38を整地部材37の長手方向に複数設け、整地部材37の両端の連結部材38に凸部49又は凹部51を設け、両連結部材38の間に位置する連結部材38において、連結固定部材44により各整地ロータ片48が整地用ロータ13として連結されるとともに、支点軸14に一体的に取り付けられることを特徴としている。   Third, a plurality of connecting members 38 are provided in the longitudinal direction of the leveling member 37, and convex portions 49 or concave portions 51 are provided in the connecting members 38 at both ends of the leveling member 37, and the connecting member 38 is located between the two connecting members 38. The leveling rotor pieces 48 are connected as the leveling rotor 13 by the connection fixing member 44 and are integrally attached to the fulcrum shaft 14.

以上のように構成される本発明の構造によると、1つの部品(連結固定部材)によって、各整地ロータ片が全体として篭型をなすように整地用ロータとして連結され、且つ各整地ロータ片によって構成される整地用ロータが支点軸に一体的に固定される。これにより各整地ロータ片を整地用ロータとして連結するための部品と、整地用ロータを支点軸に固定する部品とを1つの部品で兼用することができ、整地用ロータのローコスト化と、整地用ロータの組み立ての容易化を実現することができるという効果がある。   According to the structure of the present invention configured as described above, each leveling rotor piece is connected by a single component (connection fixing member) so as to form a saddle shape as a whole, and by each leveling rotor piece, The structured leveling rotor is integrally fixed to the fulcrum shaft. As a result, the parts for connecting each leveling rotor piece as a leveling rotor and the part for fixing the leveling rotor to the fulcrum shaft can be combined into one part, thereby reducing the cost of the leveling rotor and for leveling. There is an effect that the assembly of the rotor can be facilitated.

また各整地ロータ片の連結部材に凹部及び凸部を設け、各整地ロータ片を凹部および凸部のアリ結合によって全体として篭型をなすように係止することができる構成とすることによって、整地用ロータの仮組みを簡単に行うことができ、整地用ロータの組み立てをさらに容易に行うことができる。   Further, by providing a recess and a projection on the connecting member of each leveling rotor piece, and by setting each leveling rotor piece so as to form a bowl shape as a whole by ant coupling of the recess and the projection, The temporary assembly of the rotator rotor can be performed easily, and the leveling rotor can be assembled more easily.

そして連結部材を整地部材の長手方向に複数設け、整地部材の両端の連結部材に凸部又は凹部を設け、両連結部材の間に位置する連結部材において、連結固定部材によって各整地ロータ片が整地用ロータとして連結されるとともに、支点軸に一体的に取り付けられる構成とすることにより、整地ロータ片の両端側で凹凸部をアリ結合させることによって、仮組みの精度を向上させて位置決めすることができる。また連結固定部材を整地ロータ片の略中央部分で用いることができ、1つの連結固定部材で整地用ロータをバランスよく且つ容易に組み付けることができる。   A plurality of connecting members are provided in the longitudinal direction of the leveling member, and convex portions or concave portions are provided on the connecting members at both ends of the leveling member. In the connecting member positioned between the two connecting members, each leveling rotor piece is leveled by the connecting fixing member. It can be positioned with improved accuracy of temporary assembly by connecting the concavo-convex portions on both ends of the leveling rotor piece by connecting with the fulcrum shaft and being integrally attached to the fulcrum shaft. it can. Further, the connecting and fixing member can be used at the substantially central portion of the leveling rotor piece, and the leveling rotor can be assembled in a balanced and easy manner with one connecting and fixing member.

図1は本発明の整地用ロータを搭載した乗用田植機の側面図である。該乗用田植機は従来同様、前後輪1,2を備えた走行機体3の後方に、植付け作業機4が昇降リンク6を介して昇降自在、且つローリング可能に連結されている。上記植付け作業機4には、苗載せ台7が斜設されている。   FIG. 1 is a side view of a riding rice transplanter equipped with a leveling rotor according to the present invention. In this riding rice transplanter, a planting machine 4 is connected to a rear of a traveling machine body 3 having front and rear wheels 1 and 2 via a lifting link 6 so as to be movable up and down and to be able to roll. The planting machine 4 is provided with a seedling stand 7 obliquely.

上記苗載せ台7の背面(裏面)側には、上下方向の縦フレーム8と、縦フレーム8の下方に左右方向に横設されている横フレーム9とが設けられている。該横フレーム9は、縦フレーム8に一体的に固定されている。上記横フレーム9側には、複数のプランタケース11が取り付けられている。   A vertical frame 8 in the vertical direction and a horizontal frame 9 horizontally provided in the horizontal direction are provided below the vertical frame 8 on the back surface (back surface) side of the seedling platform 7. The horizontal frame 9 is integrally fixed to the vertical frame 8. A plurality of planter cases 11 are attached to the side of the horizontal frame 9.

該プランタケース11には植付部となるビーク12が回転駆動自在に取り付けられている。植付け作業機4は、プランタケース11に設けられるビーク12によって、苗載せ台7上の苗を掻きとって圃場に植え付ける。なお本乗用田植機は代掻同時移植機ではないため、代掻き後の圃場への苗の植付作業を行う。   A beak 12 serving as a planting portion is attached to the planter case 11 so as to be rotatable. The planting work machine 4 scrapes the seedlings on the seedling placing stand 7 with the beaks 12 provided in the planter case 11 to plant them in the field. Since this rice paddy transplanter is not a simultaneous transplanting machine, seedlings are planted in the field after the scraping.

上記植付け作業機4側には、乗用田植機の略全幅にわたって整地用ロータ13が支点軸(ロータ軸)14に回転駆動自在に軸支されて設けられている。上記整地用ロータ13は、植付け作業機4と後輪2との間に配置されている。整地用ロータ13は、圃場の表層部分に挿入され回転駆動されることによって、代掻き後の圃場の植付深さより浅い表層部分のみを整地する。   On the planting machine 4 side, a ground leveling rotor 13 is rotatably supported on a fulcrum shaft (rotor shaft) 14 over substantially the entire width of the riding rice transplanter. The leveling rotor 13 is disposed between the planting work machine 4 and the rear wheel 2. The leveling rotor 13 is inserted into the surface layer portion of the field and is driven to rotate, thereby leveling only the surface layer portion shallower than the planting depth of the field after scraping.

植付け作業時に走行機体3の旋回等により荒れた代掻き後の圃場の枕地等において整地用ロータ13を上記のように回転駆動することにより、整地ロータ13は、上記枕地等の整地を行う。整地用ロータ13による整地後の枕地等に苗を安定して植え付けることができる。   The leveling rotor 13 performs leveling of the headland and the like by rotating the leveling rotor 13 as described above in the headland and the like of the field after scraping roughened by turning of the traveling machine body 3 and the like during the planting operation. A seedling can be stably planted on a headland or the like after leveling by the leveling rotor 13.

図1,図2に示されるように、上記両縦フレーム8の上方側間には、左右方向の軸16が回動自在に軸支されている。該軸16にはレバー23が突設されている。該レバー23の揺動により軸16が回動する。上記軸16の左右両側にはアーム17が設けられている。各アーム17の先端側にはロッド18の先端が回動自在に軸支連結されている。   As shown in FIGS. 1 and 2, a horizontal axis 16 is rotatably supported between the upper sides of the vertical frames 8. A lever 23 projects from the shaft 16. The shaft 16 is rotated by the swing of the lever 23. Arms 17 are provided on the left and right sides of the shaft 16. The tip end of the rod 18 is pivotally connected to the tip end side of each arm 17 so as to be rotatable.

左右の各ロッド18の下端側には支持ロッド19が回動自在に軸支連結されている。支持ロッド19は筒状のガイド22内にスライド自在に挿入されている。ガイド22はブラケット21を介して横フレーム9側に取り付けられている。上記支持ロッド19の下端側に前述のロータ軸14が左右方向に回動自在に軸支されている。該ロータ軸14に整地用ロータ13が一体的に固定され、取り付けられている。   A support rod 19 is pivotally connected to the lower ends of the left and right rods 18 so as to be rotatable. The support rod 19 is slidably inserted into the cylindrical guide 22. The guide 22 is attached to the horizontal frame 9 side via the bracket 21. The rotor shaft 14 is pivotally supported on the lower end side of the support rod 19 so as to be rotatable in the left-right direction. The leveling rotor 13 is integrally fixed and attached to the rotor shaft 14.

整地用ロータ13の支持機構は上記のように構成されており、レバー23の揺動によって軸16が回動し、アーム17,ロッド18を介して支持ロッド19がガイド22に案内されて上下にスライド移動し、ロータ軸14が上下に移動する。ロータ軸14の上下に移動によって、ロータ軸14に一体的に取り付けられた整地用ロータ13の高さが調節される。   The support mechanism of the leveling rotor 13 is configured as described above, and the shaft 16 is rotated by the swing of the lever 23, and the support rod 19 is guided by the guide 22 via the arm 17 and the rod 18 to move up and down. By sliding, the rotor shaft 14 moves up and down. By moving the rotor shaft 14 up and down, the height of the leveling rotor 13 integrally attached to the rotor shaft 14 is adjusted.

上記レバー23は縦フレーム8に固定されたレバーガイド24に挿通されている。レバー23をレバーガイド24に設けられた複数の段部のいずれかに係止することによって整地用ロータ13の高さを段階的に位置決め調節することができる。軸16と支持ロッド19側との間にはスプリング26が張設されている。スプリング26によって、レバー23による整地用ロータ13の上昇操作の操作力を軽減している。   The lever 23 is inserted through a lever guide 24 fixed to the vertical frame 8. The height of the leveling rotor 13 can be adjusted in stages by engaging the lever 23 with any of a plurality of steps provided in the lever guide 24. A spring 26 is stretched between the shaft 16 and the support rod 19 side. The spring 26 reduces the operating force of the lifting operation of the leveling rotor 13 by the lever 23.

上記ロータ軸14の中間部分にはギヤケース27が設けられている。走行機体3側にはロータ駆動用のロータ駆動ケースが設けられている。ロータ軸14のギヤケース27には、ロータ駆動ケースからユニバーサルジョイント29を介して駆動軸31により駆動力が入力されている。   A gear case 27 is provided at an intermediate portion of the rotor shaft 14. A rotor drive case for driving the rotor is provided on the traveling machine body 3 side. A driving force is input to the gear case 27 of the rotor shaft 14 by the drive shaft 31 through the universal joint 29 from the rotor drive case.

ロータ駆動ケース内にはクラッチが設けられている。クラッチを入り側に操作することによって、ギヤケース27に駆動力が伝動され、ロータ軸14が回転駆動し、整地用ロータ13が回転駆動する。   A clutch is provided in the rotor drive case. By operating the clutch to the inward side, the driving force is transmitted to the gear case 27, the rotor shaft 14 is rotationally driven, and the leveling rotor 13 is rotationally driven.

上記整地用ロータ13は、左右の支持ロッド19の外側と、植付け作業機4を駆動する植付PTO軸33と右側の支持ロッド19との間と、植付PTO軸33とギヤケース27との間と、ギヤケース27と左側の支持ロッド19との間の5箇所に取り付けられ、全体として乗用田植機の略全幅にわたって設けられている。各整地用ロータ13の上方側はカバー34によって覆われている。   The leveling rotor 13 includes the outside of the left and right support rods 19, between the planting PTO shaft 33 that drives the planting machine 4 and the right support rod 19, and between the planting PTO shaft 33 and the gear case 27. And it is attached to five places between the gear case 27 and the left support rod 19, and is provided over substantially the entire width of the riding rice transplanter as a whole. The upper side of each leveling rotor 13 is covered with a cover 34.

各整地用ロータ13は、図3に示されるように、ロータ軸14を挟んで対称に2分割され、2つの整地ロータ片36,36の組み合わせによって構成されている。各整地ロータ片36は同一形状であり、全体として側面視で正6角形となる篭型をなすように組み合わされ、一体的に固定され、整地用ロータ13を構成する。   As shown in FIG. 3, each leveling rotor 13 is divided into two symmetrically across the rotor shaft 14, and is configured by a combination of two leveling rotor pieces 36 and 36. The leveling rotor pieces 36 have the same shape, and are combined so as to form a saddle shape that is a regular hexagon in a side view as a whole, and are integrally fixed to constitute the leveling rotor 13.

各整地ロータ片36は図4(a),(b)に示されるように、回転に伴って圃場面を掻く複数の板状の整地部材37と、該整地部材37を左右両側及び略中央において連結する連結部材38とから構成されている。各整地ロータ片36は、それぞれ整地部材37と連結部材38とが樹脂によって一体成形されている。   As shown in FIGS. 4 (a) and 4 (b), each leveling rotor piece 36 includes a plurality of plate-shaped leveling members 37 that scrape the farm scene as it rotates, and the leveling members 37 are arranged at both the left and right sides and substantially at the center. It is comprised from the connection member 38 to connect. In each leveling rotor piece 36, a leveling member 37 and a connecting member 38 are integrally formed of resin.

前述のように整地部分が圃場の極浅い表層であるため、整地ロータ13自体に大きな強度が必要ないため、両整地ロータ片36を樹脂や樹脂等の比較的軽量な材質で形成した分割構造とすることができる。   As described above, since the leveling portion is an extremely shallow surface layer of the field, the leveling rotor 13 itself does not require high strength, and therefore, the leveling rotor pieces 36 are formed of a relatively lightweight material such as resin or resin. can do.

これにより整地ロータ13を安価に且つ組み立てを容易にすることができる。また整地ロータ13が軽量となるため、駆動力をより小さくすることができる。さらに整地ロータ13を持たない乗用田植機等に簡単にオプションとして取り付けることができる。   Thereby, the leveling rotor 13 can be made inexpensively and easily assembled. Moreover, since the leveling rotor 13 becomes lightweight, a driving force can be made smaller. Furthermore, it can be easily attached as an option to a riding rice transplanter or the like that does not have the leveling rotor 13.

整地部材37の端部は両外側方に位置する連結部材38の外側に突出している。両整地ロータ片36の両外側方に位置する連結部材38を互いに固定することによって、両整地ロータ片36が一体的に連結され整地用ロータ13となる。各整地部材37は、整地ロータ片36が整地用ロータ13として組み立てられると、側面視において正6角形の各頂点部分に位置する。   The end of the leveling member 37 protrudes to the outside of the connecting member 38 located on both outer sides. By fixing the connecting members 38 located on both outer sides of the two leveling rotor pieces 36 to each other, the two leveling rotor pieces 36 are integrally connected to form the leveling rotor 13. When the leveling rotor piece 36 is assembled as the leveling rotor 13, each leveling member 37 is positioned at each apex portion of the regular hexagon when viewed from the side.

各連結部材38にはロータ軸14を挿通させるための側面視半円状の切欠部42が形成されている。両連結部材38を整地用ロータ13を形成するように連結することによって、各連結部材38の切欠部42が側面視において略円形のロータ軸14の挿通孔を形成する。   Each connecting member 38 is formed with a semicircular cutout portion 42 for inserting the rotor shaft 14. By connecting both connecting members 38 so as to form the leveling rotor 13, the cutout portion 42 of each connecting member 38 forms a substantially circular insertion hole for the rotor shaft 14 in a side view.

左右両側の連結部材38の中央部分にはボス38aが形成されている。左右両側の連結部材38の切欠部42はボス38aに形成されている。左右両側の連結部材38の切欠部42の周面には、径方向にボルト挿入孔43が設けられている。   Bosses 38a are formed at the center portions of the connecting members 38 on the left and right sides. The notches 42 of the left and right connecting members 38 are formed in the boss 38a. Bolt insertion holes 43 are provided in the radial direction on the peripheral surfaces of the cutout portions 42 of the connecting members 38 on both the left and right sides.

ボルト挿入孔43は、両整地ロータ片36を上記のように整地用ロータ13として組み合わせると、軸心が一直線上に位置する。これにより両整地ロータ片36にボルト挿入孔43を介して一本のボルト44を挿入することができる。該ボルト44によって両整地ロータ片36を上記のように一体的に連結固定することができる。   The bolt insertion holes 43 have axial centers positioned on a straight line when the two leveling rotor pieces 36 are combined as the leveling rotor 13 as described above. Thereby, one bolt 44 can be inserted into both leveling rotor pieces 36 through the bolt insertion holes 43. Both the leveling rotor pieces 36 can be integrally connected and fixed by the bolts 44 as described above.

ボルト挿入孔43は段孔となっている。ボルト挿入孔43にボルト44を挿入すると、段部においてボルトヘッドが止まり、またナット46を取り付けることができる。連結部材38には組み立て用の孔47が設けられている。該孔47を介してナット46やボルトヘッドに対してスパナをあて、両整地ロータ片36の固定や分解を行うことができる。   The bolt insertion hole 43 is a step hole. When the bolt 44 is inserted into the bolt insertion hole 43, the bolt head stops at the step portion, and the nut 46 can be attached. The connecting member 38 is provided with an assembly hole 47. The grading rotor pieces 36 can be fixed or disassembled by applying a spanner to the nut 46 or the bolt head through the hole 47.

孔47を連結部材38に設けることによって、連結部材38を比較的薄くしても容易にボルト44の締結作業を行うことができる。またボルト挿入孔43の大径部分43aは、ボルト44を通すことができる程度の径で済むため、ボルト挿入孔43の形成に伴い、整地部材37側に形成される切欠きや孔が小さくて済み、整地用ロータ13の整地性能(均平性能)を損なうことはない。   By providing the hole 47 in the connecting member 38, the bolt 44 can be easily fastened even if the connecting member 38 is relatively thin. Further, since the large diameter portion 43a of the bolt insertion hole 43 only needs to have a diameter that allows the bolt 44 to pass therethrough, the notches and holes formed on the leveling member 37 side become smaller as the bolt insertion hole 43 is formed. In other words, the leveling performance (leveling performance) of the leveling rotor 13 is not impaired.

一方ロータ軸14は六角形断面を有し、整地用ロータ13の取付け用の取付孔(図示しない)が径方向に設けられている。上記取付孔は、整地用ロータ13を取付位置に配置すると、軸心が上記ボルト挿入孔43の軸心と一直線上に位置するように配置されている。取付孔は両整地ロータ片36を固定するボルト44を挿入して通過させることができる。   On the other hand, the rotor shaft 14 has a hexagonal cross section, and mounting holes (not shown) for mounting the leveling rotor 13 are provided in the radial direction. The mounting hole is disposed so that the shaft center is aligned with the shaft center of the bolt insertion hole 43 when the leveling rotor 13 is disposed at the mounting position. Bolts 44 for fixing both leveling rotor pieces 36 can be inserted and passed through the mounting holes.

上記構造により、図3に示されるように、ロータ軸14(取付孔)を通過させてボルト44によって両整地ロータ片36を連結固定することによって、整地ロータ片36により整地用ロータ13が形成されるとともに、整地ロータ片36により形成された整地用ロータ13がロータ軸14に一体的に取り付け固定される。   With the above structure, as shown in FIG. 3, the leveling rotor piece 36 is formed by the leveling rotor piece 36 by passing the rotor shaft 14 (mounting hole) and connecting and fixing both leveling rotor pieces 36 with bolts 44. In addition, the leveling rotor 13 formed by the leveling rotor piece 36 is integrally attached and fixed to the rotor shaft 14.

これにより各整地ロータ片36を整地用ロータ13として連結するための部品と、整地用ロータ13をロータ軸14に固定する部品とを1つ(1組)のボルト44及びナット46で兼用することができ、整地用ロータ13のローコスト化が図られ、且つ整地用ロータ13の組み立てを容易に行うことができる。   As a result, the part for connecting each leveling rotor piece 36 as the leveling rotor 13 and the part for fixing the leveling rotor 13 to the rotor shaft 14 are shared by one (one set) bolt 44 and nut 46. Therefore, the leveling rotor 13 can be reduced in cost, and the leveling rotor 13 can be easily assembled.

整地用ロータ片を図5(a),(b)に示されるような、中央の連結部材38の中央部分にボス38aを設けると共に、ボルト挿入孔43を設け、左右両側の連結部材38に凸部49及び凹部51を設けた整地用ロータ片48としても良い。   As shown in FIGS. 5 (a) and 5 (b), the leveling rotor piece is provided with a boss 38a at the central portion of the central connecting member 38 and a bolt insertion hole 43 so as to protrude from the right and left connecting members 38. It is good also as the rotor piece 48 for leveling provided with the part 49 and the recessed part 51. FIG.

上記凸部49及び凹部51は、図6に示されるように、2つの整地ロータ片48を整地用ロータ13として組み合わせると、一方の整地ロータ片48の凸部41が他方の整地ロータ片48の凹部51に挿入され、且つ一方の整地ロータ片48の凹部51が他方の整地ロータ片48の凸部51に挿入され、アリ結合するように配置されている。   As shown in FIG. 6, when the two ground leveling rotor pieces 48 are combined as the leveling rotor 13, the convex part 49 and the concave part 51 are formed so that the convex part 41 of one leveling rotor piece 48 is the same as the other leveling rotor piece 48. The concave portion 51 of one leveling rotor piece 48 is inserted into the concave portion 51 and is inserted into the convex portion 51 of the other leveling rotor piece 48 so as to be ant-coupled.

具体的にはロータ軸14の軸心を挟んで一方側に凸部49が、他方側に凹部51がそれぞれ設けられている。これにより1つの整地用ロータ13を形成する整地ロータ片48を1つの型で製造することができ、整地用ロータ13(整地ロータ片48)の製造コストを下げることができる。   Specifically, a convex portion 49 is provided on one side and a concave portion 51 is provided on the other side across the axis of the rotor shaft 14. Thereby, the leveling rotor piece 48 which forms one leveling rotor 13 can be manufactured by one type, and the manufacturing cost of the leveling rotor 13 (leveling rotor piece 48) can be reduced.

上記2つの整地ロータ片48を一体的に連結固定し、整地用ロータ13としてロータ軸14に一体的に取り付ける場合、凸部49及び凹部51によるアリ結合によって両整地ロータ片48をロータ軸14に容易に仮組みすることができる。これにより整地用ロータ13の組み立て及びロータ軸14への取り付けを容易に行うことができる。   When the above two leveling rotor pieces 48 are integrally connected and fixed and are integrally attached to the rotor shaft 14 as the leveling rotor 13, both leveling rotor pieces 48 are connected to the rotor shaft 14 by ant coupling by the convex portions 49 and the concave portions 51. It can be easily temporarily assembled. As a result, the leveling rotor 13 can be easily assembled and attached to the rotor shaft 14.

本整地ロータ片48も、前述の整地ロータ片36と同様に、各連結部材38にロータ軸14を挿通させるための側面視半円状の切欠部42が形成され、中央の連結部材38の切欠部42がボス38aに形成され、中央の連結部材38の切欠部42の周面に、径方向に段孔のボルト挿入孔43が設けられている。   Similarly to the leveling rotor piece 36 described above, the leveling rotor piece 48 is also formed with a semicircular cutout portion 42 for inserting the rotor shaft 14 through each connection member 38, and the notch of the central connection member 38 is formed. A portion 42 is formed on the boss 38a, and a bolt insertion hole 43 having a stepped hole is provided in the radial direction on the peripheral surface of the cutout portion 42 of the central connecting member 38.

そして本整地ロータ片48を使用した整地用ロータ13の場合も、前述の整地ロータ片36を使用した整地用ロータ13と同様に、両整地ロータ片48のボルト挿入孔43に、一本のボルト44を挿入し、該ボルト44の挿入の際にボルト44をロータ軸14の取付孔を通過させ、ナット46を締めることによって、両整地ロータ片48を一体的に固定するボルト44を兼用して整地用ロータ13をロータ軸14に一体的に取り付けることができる。   In the case of the leveling rotor 13 using the main leveling rotor piece 48, as with the leveling rotor 13 using the leveling rotor piece 36, one bolt is inserted into the bolt insertion holes 43 of both leveling rotor pieces 48. 44 is inserted, and when the bolt 44 is inserted, the bolt 44 is passed through the mounting hole of the rotor shaft 14 and the nut 46 is tightened, so that the bolts 44 for fixing both the leveling rotor pieces 48 integrally are also used. The leveling rotor 13 can be integrally attached to the rotor shaft 14.

上記整地ロータ片48のボルト挿入孔43における大径部分43aは、固定用のボルト44又はナット46に合うソケットレンチ等の工具を挿入することができるサイズとなっており、ボルト44の締結作業を容易に行うことができる。   The large-diameter portion 43a in the bolt insertion hole 43 of the leveling rotor piece 48 is sized so that a tool such as a socket wrench that fits the fixing bolt 44 or the nut 46 can be inserted. It can be done easily.

上記整地ロータ片48を使用することによって、整地ロータ片48の両端側でアリ結合により両整地ロータ片48を係止し、略中央部分でロータ軸14に一体固定することができるため、1つ(1組)のボルト44及びナット46によって整地用ロータ13をバランスよく且つ容易にロータ軸14に組み付けることができる。   By using the leveling rotor piece 48, both leveling rotor pieces 48 can be locked by ant coupling at both ends of the leveling rotor piece 48, and can be integrally fixed to the rotor shaft 14 at a substantially central portion. The leveling rotor 13 can be easily and well assembled to the rotor shaft 14 by the (one set) of bolts 44 and nuts 46.

なお上記各整地ロータ片48における両端側の連結部材38の一方に1つの凸部49を、他方の連結部材38に1つの凹部51を設けた整地ロータ片とすることもできる。ただし両整地ロータ片を整地用ロータ13として組み合わせた場合に、一方の整地ロータ片における凸部49が、他方の整地ロータ片における凹部51に挿入されアリ結合するように、凸部49及び凹部51を配置する必要がある。   It is also possible to provide a leveling rotor piece in which one convex portion 49 is provided on one of the connecting members 38 at both ends of each leveling rotor piece 48 and one concave portion 51 is provided on the other connecting member 38. However, when both the leveling rotor pieces are combined as the leveling rotor 13, the convex portion 49 and the concave portion 51 are inserted so that the convex portion 49 of one leveling rotor piece is inserted into the concave portion 51 of the other leveling rotor piece and is ant-coupled. Need to be placed.

この場合も上記同様凹部51及び凸部49によるアリ結合によって両整地ロータ片48をロータ軸14に仮組みすることができ、整地用ロータ13の組み立て及びロータ軸14への取り付けを容易に行うことができる他、上記整地ロータ片48と同様の効果を得ることができる。   In this case as well, both the leveling rotor pieces 48 can be temporarily assembled to the rotor shaft 14 by ant coupling by the concave portions 51 and the convex portions 49, and the leveling rotor 13 can be easily assembled and attached to the rotor shaft 14. In addition, the same effects as the leveling rotor piece 48 can be obtained.

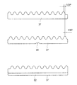
上記いずれの整地ロータ片においても、整地部材37の整地作業側の端部は、山部と谷部とが連続する整地用の波状の歯部41に形成されている。1つの整地ロータ片に設けられた各整地部材37は、図7に示されるように、それぞれ順に歯部41の波の位相が、波の一波長をPとすると、1/3Pずつずれて形成されている。   In any of the above-described leveling rotor pieces, the end of the leveling member 37 on the leveling work side is formed in a wave-like tooth portion 41 for leveling in which a peak portion and a valley portion are continuous. As shown in FIG. 7, the leveling members 37 provided on one leveling rotor piece are formed so that the phases of the waves of the tooth portions 41 are sequentially shifted by 1 / 3P, where P is the wavelength of the wave. Has been.

このため上記のように一方の整地ロータ片を他方の整地ロータ片に対して180°回転させて2つの整地ロータ片を一体的に連結固定して整地用ロータ13を形成することによって、整地用ロータ13の6つの整地部材37は、歯部41の波の位相が順に1/3Pずつずれたものとなる。   For this reason, as described above, the leveling rotor piece 13 is formed by rotating one of the leveling rotor pieces 180 ° with respect to the other leveling rotor piece and integrally connecting and fixing the two leveling rotor pieces. The six leveling members 37 of the rotor 13 are such that the wave phases of the tooth portions 41 are sequentially shifted by 1 / 3P.

なお整地ロータ片48に使用される中間の整地部材37には、ボルト44の締め付けを行うための工具を挿入するための(ボルト挿入孔43における大径部分43aに対応する)切り欠き50が形成される。また一端側の整地部材37は、整地ロータ片を製造する際の抜き型の関係で傾斜面52を有している。   The intermediate leveling member 37 used for the leveling rotor piece 48 has a notch 50 (corresponding to the large diameter portion 43a in the bolt insertion hole 43) for inserting a tool for tightening the bolt 44. Is done. Further, the leveling member 37 on one end side has an inclined surface 52 in relation to a punching die when the leveling rotor piece is manufactured.

これにより整地用ロータ13は、各整地部材37間の歯部41の波の位相ずれが1/2未満(1/3P)と小さいため、2番め以降に接地する整地部材37の山部は、整地部分の一部が必ず直前に接地した整地部材37の山部により整地された部分となり、整地用ロータ13にかかる整地時の負荷が小さくなり、且つ位相ずれした各歯部41によって整地用ロータ13の全幅にわたって、整地残しが減少する。   As a result, the leveling rotor 13 has a small phase shift of the wave of the tooth portion 41 between the leveling members 37 of less than 1/2 (1 / 3P), so the peak portion of the leveling member 37 to be grounded after the second is In addition, a part of the leveling part is always a part leveled by the peak of the leveling member 37 that has been grounded immediately before, and the leveling load applied to the leveling rotor 13 is reduced, and each tooth part 41 that is out of phase is used for leveling. The leveling residue is reduced over the entire width of the rotor 13.

また所定の整地部材37の谷部と、該接地部材37の次に接地する接地部材37の谷部とは背面視において必ず重複する部分があり、この重複する部分から後方に排水が行われるため、整地時に発生する泥水は上記谷部を介して後方に円滑に排水され、泥水を前方や側方に押し流すこと無く、整地作業を円滑に行うことができる。   Further, the valley portion of the predetermined leveling member 37 and the valley portion of the grounding member 37 to be grounded next to the grounding member 37 always overlap in the rear view, and drainage is performed rearward from the overlapping portion. The muddy water generated at the time of leveling is smoothly drained rearward through the valleys, and the leveling work can be performed smoothly without flushing the muddy water forward or sideward.

なお前述のように、各整地ロータ片には3つの整地部材37が、1/3ずつ位相をずらした状態で設けられているため、2つの整地ロータ片を全く同じ形状とし、一方を180°回転させて、両整地ロータ片を連結固定することによって、全ての整地部材37が1/3ずつ位相がずれた状態の整地用ロータ13を構成することができる。このため1つの整地用ロータ13を形成する整地ロータ片を1つの型で製造することができ、製造コストを下げることができる。   As described above, each leveling rotor piece is provided with three leveling members 37 with phases shifted by 1/3, so that the two leveling rotor pieces have exactly the same shape, and one of them is 180 °. By rotating and fixing both leveling rotor pieces, it is possible to configure the leveling rotor 13 in which all the leveling members 37 are out of phase by 1/3. For this reason, the leveling rotor pieces forming one leveling rotor 13 can be manufactured with one mold, and the manufacturing cost can be reduced.

本発明の整地用ロータを採用した乗用田植機の側面図である。It is a side view of the riding rice transplanter which employ | adopted the leveling rotor of this invention. 植付け作業機要部正面図である。It is a planting machine principal part front view. 整地用ロータの側面図である。It is a side view of the leveling rotor. (a)は整地ロータ片の側面図、(b)は背面図である。(A) is a side view of a leveling rotor piece, (b) is a rear view. (a)は他の実施形態の整地ロータ片の側面図、(b)は背面図である。(A) is a side view of the leveling rotor piece of other embodiment, (b) is a rear view. 他の実施形態の整地用ロータの側面図である。It is a side view of the rotor for leveling of other embodiment. 1つの整地ロータ片に設けられる各整地部材の歯部の位相ずれを示す各整地部材の正面図である。It is a front view of each leveling member which shows the phase shift of the tooth | gear part of each leveling member provided in one leveling rotor piece.

符号の説明Explanation of symbols

4 植付け作業機
14 ロータ軸(支点軸)
36 整地ロータ片
37 整地部材
38 連結部材
44 ボルト(連結固定部材)
48 整地ロータ片
49 凸部
51 凹部
4 Planting machine 14 Rotor shaft (fulcrum shaft)
36 Leveling rotor piece 37 Leveling member 38 Connection member 44 Bolt (connection fixing member)
48 Ground leveling rotor piece 49 Convex part 51 Concave part

Claims (3)

植付け作業機(4)の前方に支点軸(14)を介して回転駆動自在に軸支され、支点軸(14)を軸心とした回転に伴って圃場面を掻く複数の整地部材(37)が連結部材(38)によって連結された整地ロータ片(36),(48)を、連結固定部材(44)によって支点軸(14)を中心に全体として篭型をなすように複数連結して構成される整地用ロータにおいて、上記連結固定部材(44)によって各整地ロータ片(36),(48)が連結されるとともに、支点軸(14)に一体的に取り付けられる整地用ロータ。   A plurality of leveling members (37) that are rotatably supported via a fulcrum shaft (14) in front of the planting work machine (4) and scratch the field scene with rotation about the fulcrum shaft (14). The ground leveling rotor pieces (36), (48) connected by the connecting member (38) are connected by a connecting fixing member (44) so as to form a bowl shape as a whole around the fulcrum shaft (14). In the leveling rotor, the leveling rotor pieces (36), (48) are connected by the connection fixing member (44), and the leveling rotor is integrally attached to the fulcrum shaft (14). 各整地ロータ片(48)の連結部材(38)に凹部(51)及び凸部(49)を設け、凹部(51)及び凸部(49)を他の整地ロータ片(48)の連結部材(38)の凸部(49)及び凹部(51)に同時に挿入されるように配置し、各凹部(51)及び凸部(49)を挿入によって各整地ロータ片(48)が全体として篭型をなすように係止される請求項1の整地用ロータ。   The connecting member (38) of each leveling rotor piece (48) is provided with a concave portion (51) and a convex portion (49), and the concave portion (51) and the convex portion (49) are connected to the other leveling rotor piece (48) connecting member ( 38) are arranged so as to be simultaneously inserted into the convex portion (49) and the concave portion (51), and the respective ground leveling rotor pieces (48) are formed into a bowl shape as a whole by inserting each concave portion (51) and the convex portion (49). The leveling rotor according to claim 1, wherein the leveling rotor is locked so as to be formed. 連結部材(38)を整地部材(37)の長手方向に複数設け、整地部材(37)の両端の連結部材(38)に凸部(49)又は凹部(51)を設け、両連結部材(38)の間に位置する連結部材(38)において、連結固定部材(44)により各整地ロータ片(48)が整地用ロータ(13)として連結されるとともに、支点軸(14)に一体的に取り付けられる請求項2の整地用ロータ。
A plurality of connecting members (38) are provided in the longitudinal direction of the leveling member (37), the connecting members (38) at both ends of the leveling member (37) are provided with convex portions (49) or concave portions (51), and both connecting members (38 ) Between the leveling rotor pieces (48) as leveling rotors (13) and integrally attached to the fulcrum shaft (14). The ground leveling rotor according to claim 2.
JP2004350680A 2004-12-03 2004-12-03 Ground leveling rotor Pending JP2006158230A (en)

Priority Applications (1)

Application Number Priority Date Filing Date Title
JP2004350680A JP2006158230A (en) 2004-12-03 2004-12-03 Ground leveling rotor

Applications Claiming Priority (1)

Application Number Priority Date Filing Date Title
JP2004350680A JP2006158230A (en) 2004-12-03 2004-12-03 Ground leveling rotor

Publications (1)

Publication Number Publication Date
JP2006158230A true JP2006158230A (en) 2006-06-22

Family

ID=36660880

Family Applications (1)

Application Number Title Priority Date Filing Date
JP2004350680A Pending JP2006158230A (en) 2004-12-03 2004-12-03 Ground leveling rotor

Country Status (1)

Country Link
JP (1) JP2006158230A (en)

Cited By (3)

* Cited by examiner, † Cited by third party
Publication number Priority date Publication date Assignee Title
KR100729829B1 (en) * 2006-02-27 2007-06-18 이세키노우키가부시키가이샤 Assembling machine
JP2008061560A (en) * 2006-09-06 2008-03-21 Yoka Ind Co Ltd Rice transplanter
JP2009000083A (en) * 2007-06-25 2009-01-08 Iseki & Co Ltd Seedling transplanter with ground working device

Cited By (3)

* Cited by examiner, † Cited by third party
Publication number Priority date Publication date Assignee Title
KR100729829B1 (en) * 2006-02-27 2007-06-18 이세키노우키가부시키가이샤 Assembling machine
JP2008061560A (en) * 2006-09-06 2008-03-21 Yoka Ind Co Ltd Rice transplanter
JP2009000083A (en) * 2007-06-25 2009-01-08 Iseki & Co Ltd Seedling transplanter with ground working device

Similar Documents

Publication Publication Date Title
KR100305185B1 (en) Farming tools
JP2006158230A (en) Ground leveling rotor
JP4924802B2 (en) Seedling planting equipment
JP4695569B2 (en) Transplanter
JP3885016B2 (en) Leveling rotor in transplanter
JP4561422B2 (en) Walk-type field cultivator
JP4500527B2 (en) Transplanter
JP5168270B2 (en) Rotary tillage device
JP6544825B2 (en) Farm work machine
JP4011447B2 (en) Rotor for leveling of transplanting machine
JP2006262715A5 (en)
JP2004147619A (en) Transplanter equipped with rotor for ground leveling
JP3997350B2 (en) Walk-type field cultivator
JP4856563B2 (en) Transplanter
JP6483011B2 (en) Work vehicle
JP2010200665A (en) Apparatus for preventing cultivator from moving sideways
KR200306285Y1 (en) Improvement structure of crops digger
JP3582190B2 (en) Farming machine for paddy field
JPS6239608Y2 (en)
JP2007151417A (en) Mounting converter
JPH09172805A (en) Partial tiller for transplanter
JP3227672B2 (en) Agricultural work machine stand
JP2009022181A (en) Transplanter
JP6512663B2 (en) Work vehicle and riding type rice planter as an example thereof
JP3045143B2 (en) Seedling planting equipment