JP2006148047A - モジュール化放熱器 - Google Patents
モジュール化放熱器 Download PDFInfo
- Publication number
- JP2006148047A JP2006148047A JP2005156741A JP2005156741A JP2006148047A JP 2006148047 A JP2006148047 A JP 2006148047A JP 2005156741 A JP2005156741 A JP 2005156741A JP 2005156741 A JP2005156741 A JP 2005156741A JP 2006148047 A JP2006148047 A JP 2006148047A
- Authority
- JP
- Japan
- Prior art keywords
- heat
- modular
- pipes
- heat exchange
- modules
- Prior art date
- Legal status (The legal status is an assumption and is not a legal conclusion. Google has not performed a legal analysis and makes no representation as to the accuracy of the status listed.)
- Pending
Links
Images
Classifications
-
- F—MECHANICAL ENGINEERING; LIGHTING; HEATING; WEAPONS; BLASTING
- F28—HEAT EXCHANGE IN GENERAL
- F28F—DETAILS OF HEAT-EXCHANGE AND HEAT-TRANSFER APPARATUS, OF GENERAL APPLICATION
- F28F1/00—Tubular elements; Assemblies of tubular elements
- F28F1/10—Tubular elements and assemblies thereof with means for increasing heat-transfer area, e.g. with fins, with projections, with recesses
- F28F1/12—Tubular elements and assemblies thereof with means for increasing heat-transfer area, e.g. with fins, with projections, with recesses the means being only outside the tubular element
- F28F1/24—Tubular elements and assemblies thereof with means for increasing heat-transfer area, e.g. with fins, with projections, with recesses the means being only outside the tubular element and extending transversely
- F28F1/32—Tubular elements and assemblies thereof with means for increasing heat-transfer area, e.g. with fins, with projections, with recesses the means being only outside the tubular element and extending transversely the means having portions engaging further tubular elements
-
- F—MECHANICAL ENGINEERING; LIGHTING; HEATING; WEAPONS; BLASTING
- F28—HEAT EXCHANGE IN GENERAL
- F28D—HEAT-EXCHANGE APPARATUS, NOT PROVIDED FOR IN ANOTHER SUBCLASS, IN WHICH THE HEAT-EXCHANGE MEDIA DO NOT COME INTO DIRECT CONTACT
- F28D1/00—Heat-exchange apparatus having stationary conduit assemblies for one heat-exchange medium only, the media being in contact with different sides of the conduit wall, in which the other heat-exchange medium is a large body of fluid, e.g. domestic or motor car radiators
- F28D1/02—Heat-exchange apparatus having stationary conduit assemblies for one heat-exchange medium only, the media being in contact with different sides of the conduit wall, in which the other heat-exchange medium is a large body of fluid, e.g. domestic or motor car radiators with heat-exchange conduits immersed in the body of fluid
- F28D1/04—Heat-exchange apparatus having stationary conduit assemblies for one heat-exchange medium only, the media being in contact with different sides of the conduit wall, in which the other heat-exchange medium is a large body of fluid, e.g. domestic or motor car radiators with heat-exchange conduits immersed in the body of fluid with tubular conduits
- F28D1/047—Heat-exchange apparatus having stationary conduit assemblies for one heat-exchange medium only, the media being in contact with different sides of the conduit wall, in which the other heat-exchange medium is a large body of fluid, e.g. domestic or motor car radiators with heat-exchange conduits immersed in the body of fluid with tubular conduits the conduits being bent, e.g. in a serpentine or zig-zag
- F28D1/0477—Heat-exchange apparatus having stationary conduit assemblies for one heat-exchange medium only, the media being in contact with different sides of the conduit wall, in which the other heat-exchange medium is a large body of fluid, e.g. domestic or motor car radiators with heat-exchange conduits immersed in the body of fluid with tubular conduits the conduits being bent, e.g. in a serpentine or zig-zag the conduits being bent in a serpentine or zig-zag
-
- F—MECHANICAL ENGINEERING; LIGHTING; HEATING; WEAPONS; BLASTING
- F28—HEAT EXCHANGE IN GENERAL
- F28F—DETAILS OF HEAT-EXCHANGE AND HEAT-TRANSFER APPARATUS, OF GENERAL APPLICATION
- F28F9/00—Casings; Header boxes; Auxiliary supports for elements; Auxiliary members within casings
- F28F9/26—Arrangements for connecting different sections of heat-exchange elements, e.g. of radiators
- F28F9/262—Arrangements for connecting different sections of heat-exchange elements, e.g. of radiators for radiators
-
- G—PHYSICS
- G06—COMPUTING OR CALCULATING; COUNTING
- G06F—ELECTRIC DIGITAL DATA PROCESSING
- G06F1/00—Details not covered by groups G06F3/00 - G06F13/00 and G06F21/00
- G06F1/16—Constructional details or arrangements
- G06F1/20—Cooling means
-
- F—MECHANICAL ENGINEERING; LIGHTING; HEATING; WEAPONS; BLASTING
- F28—HEAT EXCHANGE IN GENERAL
- F28D—HEAT-EXCHANGE APPARATUS, NOT PROVIDED FOR IN ANOTHER SUBCLASS, IN WHICH THE HEAT-EXCHANGE MEDIA DO NOT COME INTO DIRECT CONTACT
- F28D21/00—Heat-exchange apparatus not covered by any of the groups F28D1/00 - F28D20/00
- F28D2021/0019—Other heat exchangers for particular applications; Heat exchange systems not otherwise provided for
- F28D2021/0028—Other heat exchangers for particular applications; Heat exchange systems not otherwise provided for for cooling heat generating elements, e.g. for cooling electronic components or electric devices
- F28D2021/0031—Radiators for recooling a coolant of cooling systems
-
- H—ELECTRICITY
- H01—ELECTRIC ELEMENTS
- H01L—SEMICONDUCTOR DEVICES NOT COVERED BY CLASS H10
- H01L23/00—Details of semiconductor or other solid state devices
- H01L23/34—Arrangements for cooling, heating, ventilating or temperature compensation ; Temperature sensing arrangements
- H01L23/46—Arrangements for cooling, heating, ventilating or temperature compensation ; Temperature sensing arrangements involving the transfer of heat by flowing fluids
- H01L23/473—Arrangements for cooling, heating, ventilating or temperature compensation ; Temperature sensing arrangements involving the transfer of heat by flowing fluids by flowing liquids
-
- H—ELECTRICITY
- H01—ELECTRIC ELEMENTS
- H01L—SEMICONDUCTOR DEVICES NOT COVERED BY CLASS H10
- H01L2924/00—Indexing scheme for arrangements or methods for connecting or disconnecting semiconductor or solid-state bodies as covered by H01L24/00
- H01L2924/0001—Technical content checked by a classifier
- H01L2924/0002—Not covered by any one of groups H01L24/00, H01L24/00 and H01L2224/00
Landscapes
- Engineering & Computer Science (AREA)
- Physics & Mathematics (AREA)
- General Engineering & Computer Science (AREA)
- Thermal Sciences (AREA)
- Mechanical Engineering (AREA)
- Theoretical Computer Science (AREA)
- Geometry (AREA)
- Human Computer Interaction (AREA)
- General Physics & Mathematics (AREA)
- Cooling Or The Like Of Electrical Apparatus (AREA)
- Cooling Or The Like Of Semiconductors Or Solid State Devices (AREA)
Abstract
【課題】 モジュール化放熱器の提供。
【解決手段】 少なくとも二つの前後に配列された放熱モジュール、及び少なくとも一つの連接管を包含し、各放熱モジュールが複数の放熱フィン、複数の熱交換管、二つの固定板、複数の第一曲管、複数の第二曲管を包含し、複数の第一曲管が第一縦向き外側の二つの隣り合う熱交換管に接続され、複数の第二曲管が第二縦向き外側の二つの隣り合う熱交換管に接続され、並びにこれにより熱交換管が直列接続されて連続するS形管路が形成され、各S形管路が入口と出口を包含し、連接管がそのうち一つの放熱モジュールのS形管路の出口と次の放熱モジュールのS形管路の入口に接続される。放熱モジュールがモジュール化設計されたことにより放熱効率が高められる。
【選択図】 図4
【解決手段】 少なくとも二つの前後に配列された放熱モジュール、及び少なくとも一つの連接管を包含し、各放熱モジュールが複数の放熱フィン、複数の熱交換管、二つの固定板、複数の第一曲管、複数の第二曲管を包含し、複数の第一曲管が第一縦向き外側の二つの隣り合う熱交換管に接続され、複数の第二曲管が第二縦向き外側の二つの隣り合う熱交換管に接続され、並びにこれにより熱交換管が直列接続されて連続するS形管路が形成され、各S形管路が入口と出口を包含し、連接管がそのうち一つの放熱モジュールのS形管路の出口と次の放熱モジュールのS形管路の入口に接続される。放熱モジュールがモジュール化設計されたことにより放熱効率が高められる。
【選択図】 図4
Description
本発明は一種の放熱器に係り、特にモジュール化放熱器に関する。
図1は周知の放熱器の後面図であり、図示されるように、伝統的な放熱器1はその熱交換管10が位置をずらした方式で配列され、熱交換管10のファン11の流場を邪魔し、ファン11と放熱器1の間の風の抵抗を大きくし、また、放熱器1の熱交換管10が位置をずらした方式で配列されているため、全体の放熱器1の体積が比較的大きくなる。
図2は周知の液冷式コンピュータ用放熱器の立体図である。図示されるように、液冷式コンピュータ用放熱器1の熱交換管10は一体に放熱フィン12内に固定され、前列と後列の熱交換管10がファン11に接近するか否かにより熱流エリア13とサブ熱流エリア14を形成し、放熱フィン12上で直接の熱伝導を形成し、これにより全体の放熱器1の放熱効率に影響が生じる。このほか、液冷式コンピュータ用放熱器1の熱交換管10は一体に放熱フィン12内に固定されているため、放熱器1の放熱効率は最初から固定され、変化設計と拡充の可能性がなく、理想的とはいえない。
本発明は一種のモジュール化放熱器を提供することを目的とし、それは、相互に前後に一体に配列された少なくとも二つの放熱モジュールを具え、そのうち、各放熱モジュールは複数の放熱フィン、複数の熱交換管、二つの固定板、複数の第一曲管、複数の第二曲管を包含し、その放熱フィンは相互に横向きに平行に配列され、並びに縦向きに相互に特定距離離間し、且つ各放熱フィンに相互に対応する複数の縦向き貫通孔が開設され、熱交換管は相互に平行に並びにそれぞれ縦向きに前述の縦向き貫通孔内を貫通する。
このほか、上述の二つの固定板はそれぞれ平行に放熱フィンの第一縦向き外側及び第二縦向き外側に組み付けられ、且つ二つの固定板に複数の縦向き貫通孔が開設され、それは熱交換管の二端外壁に嵌合され、また複数の第一曲管が第一縦向き外側の二つの隣り合う熱交換管の間に接続され、且つ複数の第二曲管は第二縦向き外側の二つの隣り合う熱交換管の間に接続され、且つ第一曲管は第二曲管と交錯するよう設置され、並びにそれぞれ熱交換管と直列に接続されて連続するS形管路を形成し、各S形管路が入口と出口を包含する。
このほか、本発明のモジュール化放熱器は少なくとも一つの連接管を具え、それは上述のそのうち一つの放熱モジュールのS形管路の出口と次の放熱モジュールのS形管路の入口に接続されている。
本発明は更に少なくとも一つのファンを包含しうる。それは放熱フィンに平行で並びに放熱フィンの特定距離間を流れる流動空気流場を提供する。前述の少なくとも一つのファンは少なくとも二つの放熱モジュール配列後の同一外側、或いは少なくとも二つの放熱モジュールの間に組み付け可能である。
このほか、上述の少なくとも二つの放熱モジュールは相互に前後に並列するよう配列され得て、且つ二つの隣り合う固定板の隣り合う内側に固定片が設けられて、並びに相互に一体に組み合わされて固定され、そのうち、二つの隣り合う固定片にそれぞれ固定孔が開設され、並びにネジで二つの固定孔が固定されるか、或いはナットが組み合わされて固定され、或いは固定孔がセルフタッピンネジにより直接固定される。このほか、二つの隣り合う固定片の間に少なくとも一つの断熱パッキングが組み付けられ、これにより熱流エリアとサブ熱流エリアの熱エネルギーが有効に隔離される。
請求項1の発明は、モジュール化放熱器において、
少なくとも二つの放熱モジュールであって、相互に前後に一体に配列され、そのうち、各放熱モジュールは複数の放熱フィン、複数の熱交換管、二つの固定板、複数の第一曲管、複数の第二曲管を包含し、これら放熱フィンは相互に横向きに平行に配列され、並びに縦向きに相互に特定距離離間し、且つ各放熱フィンに相互に対応する複数の縦向き貫通孔が開設され、熱交換管は相互に平行に並びにそれぞれ縦向きに前述の縦向き貫通孔内を貫通し、二つの固定板はそれぞれ平行に放熱フィンの第一縦向き外側及び第二縦向き外側に組み付けられ、該二つの固定板に複数の縦向き貫通孔が開設されて熱交換管の二端外壁に嵌合され、また複数の第一曲管が第一縦向き外側の二つの隣り合う熱交換管の間に接続され、且つ複数の第二曲管は第二縦向き外側の二つの隣り合う熱交換管の間に接続され、且つ第一曲管は第二曲管と交錯するよう設置され、並びにそれぞれ熱交換管と直列に接続されて連続するS形管路を形成し、各S形管路が入口と出口を包含する、上記少なくとも二つの放熱モジュールと、
少なくとも一つの連接管であって、そのうち一つの放熱モジュールのS形管路の出口と次の放熱モジュールのS形管路の入口に接続された、上記少なくとも一つの連接管と、
を包含することを特徴とする、モジュール化放熱器としている。
請求項2の発明は、請求項1記載のモジュール化放熱器において、少なくとも一つのファンを更に具え、それは放熱フィンに平行で並びに放熱フィンの特定距離間を流れる流動空気流場を提供することを特徴とする、モジュール化放熱器としている。
請求項3の発明は、請求項2記載のモジュール化放熱器において、少なくとも一つのファンが少なくとも二つの放熱モジュール配列後の同一外側に組み付けられたことを特徴とする、モジュール化放熱器としている。
請求項4の発明は、請求項2記載のモジュール化放熱器において、少なくとも一つのファンが少なくとも二つの放熱モジュールの間に組み付けられたことを特徴とする、モジュール化放熱器としている。
請求項5の発明は、請求項1記載のモジュール化放熱器において、少なくとも二つの放熱モジュールが相互に前後に並列するよう配列されて、且つ二つの隣り合う固定板の隣り合う内側に固定片が設けられて、並びに固定片が相互に一体に組み合わされて固定されたことを特徴とする、モジュール化放熱器としている。
請求項6の発明は、請求項5記載のモジュール化放熱器において、二つの隣り合う固定片にそれぞれ固定孔が開設され、並びにネジで二つの固定孔が固定されたことを特徴とする、モジュール化放熱器としている。
請求項7の発明は、請求項5記載のモジュール化放熱器において、二つの隣り合う固定片の間に少なくとも一つの断熱パッキングが組み付けられたことを特徴とする、モジュール化放熱器としている。
少なくとも二つの放熱モジュールであって、相互に前後に一体に配列され、そのうち、各放熱モジュールは複数の放熱フィン、複数の熱交換管、二つの固定板、複数の第一曲管、複数の第二曲管を包含し、これら放熱フィンは相互に横向きに平行に配列され、並びに縦向きに相互に特定距離離間し、且つ各放熱フィンに相互に対応する複数の縦向き貫通孔が開設され、熱交換管は相互に平行に並びにそれぞれ縦向きに前述の縦向き貫通孔内を貫通し、二つの固定板はそれぞれ平行に放熱フィンの第一縦向き外側及び第二縦向き外側に組み付けられ、該二つの固定板に複数の縦向き貫通孔が開設されて熱交換管の二端外壁に嵌合され、また複数の第一曲管が第一縦向き外側の二つの隣り合う熱交換管の間に接続され、且つ複数の第二曲管は第二縦向き外側の二つの隣り合う熱交換管の間に接続され、且つ第一曲管は第二曲管と交錯するよう設置され、並びにそれぞれ熱交換管と直列に接続されて連続するS形管路を形成し、各S形管路が入口と出口を包含する、上記少なくとも二つの放熱モジュールと、
少なくとも一つの連接管であって、そのうち一つの放熱モジュールのS形管路の出口と次の放熱モジュールのS形管路の入口に接続された、上記少なくとも一つの連接管と、
を包含することを特徴とする、モジュール化放熱器としている。
請求項2の発明は、請求項1記載のモジュール化放熱器において、少なくとも一つのファンを更に具え、それは放熱フィンに平行で並びに放熱フィンの特定距離間を流れる流動空気流場を提供することを特徴とする、モジュール化放熱器としている。
請求項3の発明は、請求項2記載のモジュール化放熱器において、少なくとも一つのファンが少なくとも二つの放熱モジュール配列後の同一外側に組み付けられたことを特徴とする、モジュール化放熱器としている。
請求項4の発明は、請求項2記載のモジュール化放熱器において、少なくとも一つのファンが少なくとも二つの放熱モジュールの間に組み付けられたことを特徴とする、モジュール化放熱器としている。
請求項5の発明は、請求項1記載のモジュール化放熱器において、少なくとも二つの放熱モジュールが相互に前後に並列するよう配列されて、且つ二つの隣り合う固定板の隣り合う内側に固定片が設けられて、並びに固定片が相互に一体に組み合わされて固定されたことを特徴とする、モジュール化放熱器としている。
請求項6の発明は、請求項5記載のモジュール化放熱器において、二つの隣り合う固定片にそれぞれ固定孔が開設され、並びにネジで二つの固定孔が固定されたことを特徴とする、モジュール化放熱器としている。
請求項7の発明は、請求項5記載のモジュール化放熱器において、二つの隣り合う固定片の間に少なくとも一つの断熱パッキングが組み付けられたことを特徴とする、モジュール化放熱器としている。
本発明は相互に配列された少なくとも二つの放熱モジュール及び少なくとも一つの連接管により、周知の熱交換管の位置をずらした配列により形成される風の抵抗を防止し、また、全体の放熱器の使用体積を減少する。このほか、放熱モジュールにモジュール化方式の設計が採用され、異なる要求により配列を増加でき、これにより放熱器の変化設計と拡充の可能性が増されている。このほか、モジュール化設計と相互に配列された放熱モジュールにより周知の直接熱伝導の問題を改善でき、全体の放熱器の放熱効率を高めることができる。
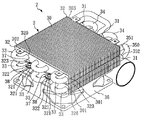
図3、4、5は本発明の好ましい実施例のモジュール化放熱器の正面図、立体図及び平面図である。本実施例中、モジュール化放熱器2は、二つの放熱モジュール3、連接管350、及びファン36を包含する。
前述の二つの放熱モジュール3は相互に前後に一体に配列され、且つ各放熱モジュール3は複数の放熱フィン30、複数の熱交換管31、二つの固定板32、複数の第一曲管33、複数の第二曲管34を包含する。本実施例中、放熱フィン30は相互に横向きに平行に配列され、並びに縦向きに相互に特定距離離間し、且つ各放熱フィン30に相互に対応する複数の縦向き貫通孔301が開設され、熱交換管31は相互に平行に並びにそれぞれ縦向きに前述の縦向き貫通孔301内を貫通する。
このほか、本実施例においては、上述の二つの固定板32に複数の縦向き貫通孔320が開設され、それは熱交換管31の熱交換管31の二端外壁に嵌合され、且つ第一曲管33は第一縦向き外側302の二つの隣り合う熱交換管31の間に接続され、且つ複数の第二曲管34は第二縦向き外側303の二つの隣り合う熱交換管31の間に接続され、且つ第一曲管33は第二曲管34と交錯するよう設置され、並びにそれぞれ熱交換管31と直列に接続されて連続するS形管路35を形成し、各S形管路35が入口351と出口352を包含する。
このほか、連接管350が図示されるように、そのうち一つの放熱モジュール3のS形管路35の出口352と次の放熱モジュール3のS形管路の入口351に接続されている。
本実施例中、ファン36が二つの放熱モジュール3が平行に重ね合わされた後の同一外側に組み付けられ、それは放熱フィン30に平行で並びに放熱フィン30の特定距離間を流れる流動空気流場360を提供する。
二つの隣り合う固定板32はその隣り合う内側323に固定片321が設けられて、並びに相互に一体に固定され、そのうち、二つの隣り合う固定片321にそれぞれ固定孔322が開設され、並びにネジ37で二つの固定孔322が固定されるか、或いはナットが組み合わされて固定され、或いは固定孔322がセルフタッピンネジにより直接固定される。
また、本実施例は、更に四つの断熱パッキング38を包含し、この四つの断熱パッキング38は二つの隣り合う固定片321の間に組み付けられ、これにより二つの放熱モジュール3の間の熱流エリアとサブ熱流エリアの熱エネルギーが有効に隔離される。
これにより、上述の構造を利用して、周知の熱交換管の位置をずらした配列により形成される風の抵抗を防止し、また、全体のモジュール化放熱器2の使用体積を減少する。このほか、放熱モジュール3にモジュール化方式の設計が採用され、異なる要求により配列を増加でき、これによりモジュール化放熱器2の変化設計と拡充の可能性が増されている。このほか、モジュール化設計と相互に配列された放熱モジュール3により周知の直接熱伝導の問題を改善でき、全体の放熱器の放熱効率を高めることができる。
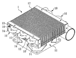
図6は本発明の別の実施例のモジュール化放熱器の分解図である。その主要な構造は上述の実施例と同じであるが、異なるところは、本実施例では四つの放熱モジュール60及び三台のファン61が使用され、放熱モジュール60は直接重ね置かれるほか、相互に前後に所定距離離間するように配列可能で、これにより上述の実施例で説明された各種の効果を達成するほか、ファン61が放熱モジュール60の間に組み付けられて放熱モジュール60の放熱効率が高められている。
以上の実施例は本発明の実施範囲を限定するものではなく、本発明に基づきなしうる細部の修飾或いは改変は、いずれも本発明の請求範囲に属するものとする。
1 放熱器 10 熱交換管
11 ファン 12 放熱フィン
13 熱流エリア 14 サブ熱流エリア
2 モジュール化放熱器 3 放熱モジュール
30 放熱フィン 301 貫通孔
302 第一縦向き外側 303 第二縦向き外側
31 熱交換管 32 固定板
323 内側 33 第一曲管
34 第二曲管 35 S形管路
350 連接管 351 入口
352 出口 36 ファン
360 流動空気流場 37 ネジ
38 断熱パッキング 60 放熱モジュール
61 ファン
11 ファン 12 放熱フィン
13 熱流エリア 14 サブ熱流エリア
2 モジュール化放熱器 3 放熱モジュール
30 放熱フィン 301 貫通孔
302 第一縦向き外側 303 第二縦向き外側
31 熱交換管 32 固定板
323 内側 33 第一曲管
34 第二曲管 35 S形管路
350 連接管 351 入口
352 出口 36 ファン
360 流動空気流場 37 ネジ
38 断熱パッキング 60 放熱モジュール
61 ファン
Claims (7)
- モジュール化放熱器において、
少なくとも二つの放熱モジュールであって、相互に前後に一体に配列され、そのうち、各放熱モジュールは複数の放熱フィン、複数の熱交換管、二つの固定板、複数の第一曲管、複数の第二曲管を包含し、これら放熱フィンは相互に横向きに平行に配列され、並びに縦向きに相互に特定距離離間し、且つ各放熱フィンに相互に対応する複数の縦向き貫通孔が開設され、熱交換管は相互に平行に並びにそれぞれ縦向きに前述の縦向き貫通孔内を貫通し、二つの固定板はそれぞれ平行に放熱フィンの第一縦向き外側及び第二縦向き外側に組み付けられ、該二つの固定板に複数の縦向き貫通孔が開設されて熱交換管の二端外壁に嵌合され、また複数の第一曲管が第一縦向き外側の二つの隣り合う熱交換管の間に接続され、且つ複数の第二曲管は第二縦向き外側の二つの隣り合う熱交換管の間に接続され、且つ第一曲管は第二曲管と交錯するよう設置され、並びにそれぞれ熱交換管と直列に接続されて連続するS形管路を形成し、各S形管路が入口と出口を包含する、上記少なくとも二つの放熱モジュールと、
少なくとも一つの連接管であって、そのうち一つの放熱モジュールのS形管路の出口と次の放熱モジュールのS形管路の入口に接続された、上記少なくとも一つの連接管と、
を包含することを特徴とする、モジュール化放熱器。 - 請求項1記載のモジュール化放熱器において、少なくとも一つのファンを更に具え、それは放熱フィンに平行で並びに放熱フィンの特定距離間を流れる流動空気流場を提供することを特徴とする、モジュール化放熱器。
- 請求項2記載のモジュール化放熱器において、少なくとも一つのファンが少なくとも二つの放熱モジュール配列後の同一外側に組み付けられたことを特徴とする、モジュール化放熱器。
- 請求項2記載のモジュール化放熱器において、少なくとも一つのファンが少なくとも二つの放熱モジュールの間に組み付けられたことを特徴とする、モジュール化放熱器。
- 請求項1記載のモジュール化放熱器において、少なくとも二つの放熱モジュールが相互に前後に並列するよう配列されて、且つ二つの隣り合う固定板の隣り合う内側に固定片が設けられて、並びに固定片が相互に一体に組み合わされて固定されたことを特徴とする、モジュール化放熱器。
- 請求項5記載のモジュール化放熱器において、二つの隣り合う固定片にそれぞれ固定孔が開設され、並びにネジで二つの固定孔が固定されたことを特徴とする、モジュール化放熱器。
- 請求項5記載のモジュール化放熱器において、二つの隣り合う固定片の間に少なくとも一つの断熱パッキングが組み付けられたことを特徴とする、モジュール化放熱器。
Applications Claiming Priority (1)
| Application Number | Priority Date | Filing Date | Title |
|---|---|---|---|
| TW093218784U TWM267437U (en) | 2004-11-23 | 2004-11-23 | Modular heat dissipation device |
Publications (1)
| Publication Number | Publication Date |
|---|---|
| JP2006148047A true JP2006148047A (ja) | 2006-06-08 |
Family
ID=36459890
Family Applications (1)
| Application Number | Title | Priority Date | Filing Date |
|---|---|---|---|
| JP2005156741A Pending JP2006148047A (ja) | 2004-11-23 | 2005-05-30 | モジュール化放熱器 |
Country Status (3)
| Country | Link |
|---|---|
| US (1) | US7273092B2 (ja) |
| JP (1) | JP2006148047A (ja) |
| TW (1) | TWM267437U (ja) |
Cited By (38)
| Publication number | Priority date | Publication date | Assignee | Title |
|---|---|---|---|---|
| JP2012054455A (ja) * | 2010-09-02 | 2012-03-15 | Fujitsu Ltd | ラジエータ及び電子機器 |
| JP2013532301A (ja) * | 2010-05-04 | 2013-08-15 | マニュファクチャリング・リソーシズ・インターナショナル・インコーポレーテッド | 電子画像アセンブリを冷却するためのシステム |
| CN105466243A (zh) * | 2015-12-29 | 2016-04-06 | 潍坊恒安散热器集团有限公司 | 一种新型散热器 |
| US9549490B2 (en) | 2008-12-18 | 2017-01-17 | Manufacturing Resources International, Inc. | System for cooling an electronic image assembly with circulating gas and ambient gas |
| US9801305B2 (en) | 2008-03-03 | 2017-10-24 | Manufacturing Resources International, Inc. | Heat exchanger for an electronic display |
| US9797588B2 (en) | 2008-03-03 | 2017-10-24 | Manufacturing Resources International, Inc. | Expanded heat sink for electronic displays |
| US9835893B2 (en) | 2008-03-03 | 2017-12-05 | Manufacturing Resources International, Inc. | Heat exchanger for back to back electronics displays |
| US9894800B2 (en) | 2008-03-03 | 2018-02-13 | Manufacturing Resources International, Inc. | Constricted convection cooling system for an electronic display |
| US10080316B2 (en) | 2009-11-13 | 2018-09-18 | Manufacturing Resources International, Inc. | Electronic display assembly having thermal cooling plate and optional convective air cooling loop |
| US10088702B2 (en) | 2013-07-08 | 2018-10-02 | Manufacturing Resources International, Inc. | Figure eight closed loop cooling system for electronic display |
| US10194564B2 (en) | 2014-04-30 | 2019-01-29 | Manufacturing Resources International, Inc. | Back to back electronic display assembly |
| US10212845B2 (en) | 2014-03-11 | 2019-02-19 | Manufacturing Resources International, Inc. | Hybrid rear cover and mounting bracket for electronic display |
| US10278311B2 (en) | 2015-02-17 | 2019-04-30 | Manufacturing Resources International, Inc. | Perimeter ventilation system |
| US10398066B2 (en) | 2017-04-27 | 2019-08-27 | Manufacturing Resources International, Inc. | System and method for preventing display bowing |
| US10420257B2 (en) | 2008-03-26 | 2019-09-17 | Manufacturing Resources International, Inc. | System and method for maintaining a consistent temperature gradient across an electronic display |
| US10485113B2 (en) | 2017-04-27 | 2019-11-19 | Manufacturing Resources International, Inc. | Field serviceable and replaceable display |
| US10524397B2 (en) | 2013-03-15 | 2019-12-31 | Manufacturing Resources International, Inc. | Heat exchanger assembly for an electronic display |
| US10524384B2 (en) | 2013-03-15 | 2019-12-31 | Manufacturing Resources International, Inc. | Cooling assembly for an electronic display |
| US10559965B2 (en) | 2017-09-21 | 2020-02-11 | Manufacturing Resources International, Inc. | Display assembly having multiple charging ports |
| US10660245B2 (en) | 2012-10-16 | 2020-05-19 | Manufacturing Resources International, Inc. | Back pan cooling assembly for electronic display |
| US10795413B1 (en) | 2019-04-03 | 2020-10-06 | Manufacturing Resources International, Inc. | Electronic display assembly with a channel for ambient air in an access panel |
| US10820445B2 (en) | 2016-03-04 | 2020-10-27 | Manufacturing Resources International, Inc. | Cooling system for double sided display assembly |
| US10827656B2 (en) | 2008-12-18 | 2020-11-03 | Manufacturing Resources International, Inc. | System for cooling an electronic image assembly with circulating gas and ambient gas |
| US11019735B2 (en) | 2018-07-30 | 2021-05-25 | Manufacturing Resources International, Inc. | Housing assembly for an integrated display unit |
| US11096317B2 (en) | 2019-02-26 | 2021-08-17 | Manufacturing Resources International, Inc. | Display assembly with loopback cooling |
| US11470749B2 (en) | 2020-10-23 | 2022-10-11 | Manufacturing Resources International, Inc. | Forced air cooling for display assemblies using centrifugal fans |
| US11477923B2 (en) | 2020-10-02 | 2022-10-18 | Manufacturing Resources International, Inc. | Field customizable airflow system for a communications box |
| US11744054B2 (en) | 2021-08-23 | 2023-08-29 | Manufacturing Resources International, Inc. | Fan unit for providing improved airflow within display assemblies |
| US11762231B2 (en) | 2021-08-23 | 2023-09-19 | Manufacturing Resources International, Inc. | Display assemblies inducing turbulent flow |
| US11778757B2 (en) | 2020-10-23 | 2023-10-03 | Manufacturing Resources International, Inc. | Display assemblies incorporating electric vehicle charging equipment |
| US11919393B2 (en) | 2021-08-23 | 2024-03-05 | Manufacturing Resources International, Inc. | Display assemblies inducing relatively turbulent flow and integrating electric vehicle charging equipment |
| US11966263B2 (en) | 2021-07-28 | 2024-04-23 | Manufacturing Resources International, Inc. | Display assemblies for providing compressive forces at electronic display layers |
| US11968813B2 (en) | 2021-11-23 | 2024-04-23 | Manufacturing Resources International, Inc. | Display assembly with divided interior space |
| US12010813B2 (en) | 2022-07-22 | 2024-06-11 | Manufacturing Resources International, Inc. | Self-contained electronic display assembly, mounting structure and methods for the same |
| US12035486B1 (en) | 2022-07-25 | 2024-07-09 | Manufacturing Resources International, Inc. | Electronic display assembly with fabric panel communications box |
| US12072561B2 (en) | 2022-07-22 | 2024-08-27 | Manufacturing Resources International, Inc. | Self-contained electronic display assembly, mounting structure and methods for the same |
| US12127383B2 (en) | 2007-11-16 | 2024-10-22 | Manufacturing Resources International, Inc. | Electronic display assembly with thermal management |
| US12408312B2 (en) | 2021-07-28 | 2025-09-02 | Manufacturing Resources International, Inc. | Display assemblies with vents |
Families Citing this family (18)
| Publication number | Priority date | Publication date | Assignee | Title |
|---|---|---|---|---|
| KR100664076B1 (ko) * | 2005-09-29 | 2007-01-03 | 엘지전자 주식회사 | 연료 전지를 이용한 열 공급시스템 |
| US7466550B2 (en) * | 2006-11-03 | 2008-12-16 | Xigmatek Co., Ltd | Integrated heat dissipating assembly |
| US9072200B2 (en) * | 2008-09-10 | 2015-06-30 | Schneider Electric It Corporation | Hot aisle containment panel system and method |
| US8184435B2 (en) | 2009-01-28 | 2012-05-22 | American Power Conversion Corporation | Hot aisle containment cooling system and method |
| US8031468B2 (en) * | 2009-06-03 | 2011-10-04 | American Power Conversion Corporation | Hot aisle containment cooling unit and method for cooling |
| TWI394524B (zh) * | 2010-02-10 | 2013-04-21 | Delta Electronics Inc | 模組化散熱裝置 |
| US9357671B2 (en) | 2011-01-11 | 2016-05-31 | Schneider Electric It Corporation | Cooling unit and method |
| TWI562512B (en) * | 2015-05-20 | 2016-12-11 | Genius Electronic Optical Co Ltd | Water cooling power supply device applicable to open water source |
| GB201609172D0 (en) * | 2016-05-25 | 2016-07-06 | Pierce David B | Heat exchanger unit, assembled heat exchanger and method of installation |
| CN109845052B (zh) * | 2016-08-31 | 2022-01-11 | 恩耐公司 | 激光冷却系统 |
| US20190098799A1 (en) * | 2017-09-26 | 2019-03-28 | Dura Operating, Llc | Thermal enclosure |
| US10784645B2 (en) | 2018-03-12 | 2020-09-22 | Nlight, Inc. | Fiber laser having variably wound optical fiber |
| US11409342B2 (en) * | 2018-10-29 | 2022-08-09 | Corsair Memory, Inc. | Modular PC cooling pump |
| EP3686714A1 (en) * | 2019-01-25 | 2020-07-29 | Asetek Danmark A/S | Cooling system including a heat exchanging unit |
| CN110473850A (zh) * | 2019-09-10 | 2019-11-19 | 南方科技大学 | 一种散热结构和散热系统 |
| CN111681999A (zh) * | 2020-05-18 | 2020-09-18 | 广东工业大学 | 一种真空导热腔均热板及风冷式散热装置 |
| CN114963492B (zh) * | 2022-04-12 | 2023-09-22 | 安徽美博新能源科技有限公司 | 一种模块式空调冷凝管 |
| CN120396728A (zh) * | 2025-04-30 | 2025-08-01 | 超聚变数字技术有限公司 | 充电设备 |
Family Cites Families (13)
| Publication number | Priority date | Publication date | Assignee | Title |
|---|---|---|---|---|
| US1788068A (en) * | 1928-12-24 | 1931-01-06 | Mcquay Radiator Corp | Heat-exchange device |
| US1929937A (en) * | 1930-10-01 | 1933-10-10 | Fedders Mfg Co Inc | Evaporator |
| US2047799A (en) * | 1933-08-26 | 1936-07-14 | Justin W Macklin | Air conditioning apparatus |
| US2118206A (en) * | 1935-02-07 | 1938-05-24 | Peerless Of America | Finned type cooling unit |
| US2189652A (en) * | 1937-04-15 | 1940-02-06 | York Ice Machinery Corp | Finned tube |
| US2354131A (en) * | 1938-03-19 | 1944-07-18 | Lul Products Inc | Refrigerating apparatus |
| US3780799A (en) * | 1972-06-26 | 1973-12-25 | Peerless Of America | Heat exchangers and method of making same |
| US4580623A (en) * | 1984-10-02 | 1986-04-08 | Inglis Limited | Heat exchanger |
| US5940270A (en) * | 1998-07-08 | 1999-08-17 | Puckett; John Christopher | Two-phase constant-pressure closed-loop water cooling system for a heat producing device |
| US6263957B1 (en) * | 2000-01-13 | 2001-07-24 | Lucent Technologies Inc. | Integrated active cooling device for board mounted electric components |
| US6926070B2 (en) * | 2002-03-22 | 2005-08-09 | Intel Corporation | System and method for providing cooling systems with heat exchangers |
| US20050099774A1 (en) * | 2003-11-06 | 2005-05-12 | Kyu Sop Song | Semiconductor chip cooling module with fin-fan-fin configuration |
| US7142424B2 (en) * | 2004-04-29 | 2006-11-28 | Hewlett-Packard Development Company, L.P. | Heat exchanger including flow straightening fins |
-
2004
- 2004-11-23 TW TW093218784U patent/TWM267437U/zh unknown
-
2005
- 2005-03-25 US US11/088,742 patent/US7273092B2/en not_active Expired - Fee Related
- 2005-05-30 JP JP2005156741A patent/JP2006148047A/ja active Pending
Cited By (91)
| Publication number | Priority date | Publication date | Assignee | Title |
|---|---|---|---|---|
| US12127383B2 (en) | 2007-11-16 | 2024-10-22 | Manufacturing Resources International, Inc. | Electronic display assembly with thermal management |
| US12207452B2 (en) | 2007-11-16 | 2025-01-21 | Manufacturing Resources International, Inc. | Electronic display assembly with thermal management |
| US12207453B1 (en) | 2007-11-16 | 2025-01-21 | Manufacturing Resources International, Inc. | Electronic display assembly with thermal management |
| US12185512B2 (en) | 2007-11-16 | 2024-12-31 | Manufacturing Resources International, Inc. | Electronic display assembly with thermal management |
| US11596081B2 (en) | 2008-03-03 | 2023-02-28 | Manufacturing Resources International, Inc. | Electronic display with cooling |
| US10506740B2 (en) | 2008-03-03 | 2019-12-10 | Manufacturing Resources International, Inc. | Electronic display with cooling |
| US9835893B2 (en) | 2008-03-03 | 2017-12-05 | Manufacturing Resources International, Inc. | Heat exchanger for back to back electronics displays |
| US9894800B2 (en) | 2008-03-03 | 2018-02-13 | Manufacturing Resources International, Inc. | Constricted convection cooling system for an electronic display |
| US9797588B2 (en) | 2008-03-03 | 2017-10-24 | Manufacturing Resources International, Inc. | Expanded heat sink for electronic displays |
| US9801305B2 (en) | 2008-03-03 | 2017-10-24 | Manufacturing Resources International, Inc. | Heat exchanger for an electronic display |
| US12274022B2 (en) | 2008-03-03 | 2025-04-08 | Manufacturing Resources International, Inc. | Electronic display with cooling |
| US12207437B2 (en) | 2008-03-03 | 2025-01-21 | Manufacturing Resources International, Inc. | Electronic display with cooling |
| US12108562B2 (en) | 2008-03-03 | 2024-10-01 | Manufacturing Resources International, Inc. | Electronic display with cooling |
| US11013142B2 (en) | 2008-03-03 | 2021-05-18 | Manufacturing Resources International, Inc. | Electronic display with cooling |
| US10506738B2 (en) | 2008-03-03 | 2019-12-10 | Manufacturing Resources International, Inc. | Constricted convection cooling for an electronic display |
| US11540418B2 (en) | 2008-03-03 | 2022-12-27 | Manufacturing Resources International, Inc. | Electronic display with cooling |
| US12207438B2 (en) | 2008-03-03 | 2025-01-21 | Manufacturing Resources International, Inc. | Electronic display with cooling |
| US10721836B2 (en) | 2008-03-03 | 2020-07-21 | Manufacturing Resources International, Inc. | Electronic display with cooling |
| US10420257B2 (en) | 2008-03-26 | 2019-09-17 | Manufacturing Resources International, Inc. | System and method for maintaining a consistent temperature gradient across an electronic display |
| US10314212B2 (en) | 2008-12-18 | 2019-06-04 | Manufacturing Resources International, Inc. | System for cooling an electronic image assembly with circulating gas and ambient gas |
| US9549490B2 (en) | 2008-12-18 | 2017-01-17 | Manufacturing Resources International, Inc. | System for cooling an electronic image assembly with circulating gas and ambient gas |
| US10827656B2 (en) | 2008-12-18 | 2020-11-03 | Manufacturing Resources International, Inc. | System for cooling an electronic image assembly with circulating gas and ambient gas |
| US11191193B2 (en) | 2008-12-18 | 2021-11-30 | Manufacturing Resources International, Inc. | System for cooling an electronic image assembly with circulating gas and ambient gas |
| US10736245B2 (en) | 2009-11-13 | 2020-08-04 | Manufacturing Resources International, Inc. | Electronic display assembly with combined conductive and convective cooling |
| US10080316B2 (en) | 2009-11-13 | 2018-09-18 | Manufacturing Resources International, Inc. | Electronic display assembly having thermal cooling plate and optional convective air cooling loop |
| JP2013532301A (ja) * | 2010-05-04 | 2013-08-15 | マニュファクチャリング・リソーシズ・インターナショナル・インコーポレーテッド | 電子画像アセンブリを冷却するためのシステム |
| JP2012054455A (ja) * | 2010-09-02 | 2012-03-15 | Fujitsu Ltd | ラジエータ及び電子機器 |
| US10660245B2 (en) | 2012-10-16 | 2020-05-19 | Manufacturing Resources International, Inc. | Back pan cooling assembly for electronic display |
| US10524384B2 (en) | 2013-03-15 | 2019-12-31 | Manufacturing Resources International, Inc. | Cooling assembly for an electronic display |
| US10524397B2 (en) | 2013-03-15 | 2019-12-31 | Manufacturing Resources International, Inc. | Heat exchanger assembly for an electronic display |
| US10359659B2 (en) | 2013-07-08 | 2019-07-23 | Manufactruing Resources Internatonal, Inc. | Cooling system for electronic display |
| US10088702B2 (en) | 2013-07-08 | 2018-10-02 | Manufacturing Resources International, Inc. | Figure eight closed loop cooling system for electronic display |
| US10212845B2 (en) | 2014-03-11 | 2019-02-19 | Manufacturing Resources International, Inc. | Hybrid rear cover and mounting bracket for electronic display |
| US10687446B2 (en) | 2014-04-30 | 2020-06-16 | Manufacturing Resources International, Inc. | Back to back electronic display assembly |
| US10973156B2 (en) | 2014-04-30 | 2021-04-06 | Manufacturing Resources International, Inc. | Dual electronic display assembly |
| US10194564B2 (en) | 2014-04-30 | 2019-01-29 | Manufacturing Resources International, Inc. | Back to back electronic display assembly |
| US10548247B2 (en) | 2015-02-17 | 2020-01-28 | Manufacturing Resources International, Inc. | Perimeter ventilation system |
| US10278311B2 (en) | 2015-02-17 | 2019-04-30 | Manufacturing Resources International, Inc. | Perimeter ventilation system |
| CN105466243A (zh) * | 2015-12-29 | 2016-04-06 | 潍坊恒安散热器集团有限公司 | 一种新型散热器 |
| US10820445B2 (en) | 2016-03-04 | 2020-10-27 | Manufacturing Resources International, Inc. | Cooling system for double sided display assembly |
| US11744036B2 (en) | 2016-03-04 | 2023-08-29 | Manufacturing Resources International, Inc. | Cooling system for double sided display assembly |
| US11822171B2 (en) | 2017-04-27 | 2023-11-21 | Manufacturing Resources International, Inc. | Field serviceable and replaceable assembly |
| US10757844B2 (en) | 2017-04-27 | 2020-08-25 | Manufacturing Resources International, Inc. | System and method for reducing or combating display bowing |
| US10499516B2 (en) | 2017-04-27 | 2019-12-03 | Manufacturing Resources International, Inc. | Field serviceable and replaceable assembly |
| US10485113B2 (en) | 2017-04-27 | 2019-11-19 | Manufacturing Resources International, Inc. | Field serviceable and replaceable display |
| US10398066B2 (en) | 2017-04-27 | 2019-08-27 | Manufacturing Resources International, Inc. | System and method for preventing display bowing |
| US10716224B2 (en) | 2017-04-27 | 2020-07-14 | Manufacturing Resources International, Inc. | Field serviceable and replaceable assembly |
| US11934054B2 (en) | 2017-04-27 | 2024-03-19 | Manufacturing Resources International, Inc. | Field serviceable and replaceable assembly |
| US11032923B2 (en) | 2017-04-27 | 2021-06-08 | Manufacturing Resources International, Inc. | Field serviceable display assembly |
| US10925174B2 (en) | 2017-04-27 | 2021-02-16 | Manufacturing Resources International, Inc. | Field serviceable and replaceable assembly |
| US10624218B2 (en) | 2017-04-27 | 2020-04-14 | Manufacturing Resources International, Inc. | Field serviceable and replaceable display assembly |
| US10559965B2 (en) | 2017-09-21 | 2020-02-11 | Manufacturing Resources International, Inc. | Display assembly having multiple charging ports |
| US12004311B2 (en) | 2018-07-30 | 2024-06-04 | Manufacturing Resources International, Inc. | Housing assembly for an integrated display unit |
| US11889636B2 (en) | 2018-07-30 | 2024-01-30 | Manufacturing Resources International, Inc. | Housing assembly for an integrated display unit |
| US11019735B2 (en) | 2018-07-30 | 2021-05-25 | Manufacturing Resources International, Inc. | Housing assembly for an integrated display unit |
| US11096317B2 (en) | 2019-02-26 | 2021-08-17 | Manufacturing Resources International, Inc. | Display assembly with loopback cooling |
| US11617287B2 (en) | 2019-02-26 | 2023-03-28 | Manufacturing Resources International, Inc. | Display assembly with loopback cooling |
| US12096607B1 (en) | 2019-02-26 | 2024-09-17 | Manufacturing Resources International, Inc. | Display assembly with loopback cooling |
| US12010824B2 (en) | 2019-02-26 | 2024-06-11 | Manufacturing Resources International, Inc. | Display assembly with loopback cooling |
| US11507141B2 (en) | 2019-04-03 | 2022-11-22 | Manufacturing Resources International, Inc. | Electronic display assembly with a channel for ambient air in an access panel |
| US10795413B1 (en) | 2019-04-03 | 2020-10-06 | Manufacturing Resources International, Inc. | Electronic display assembly with a channel for ambient air in an access panel |
| US11989059B2 (en) | 2019-04-03 | 2024-05-21 | Manufacturing Resources International, Inc. | Electronic display assembly with a channel for ambient air in an access panel |
| US12271229B2 (en) | 2019-04-03 | 2025-04-08 | Manufacturing Resources International, Inc. | Electronic display assembly with a channel for ambient air in an access panel |
| US12052850B2 (en) | 2020-10-02 | 2024-07-30 | Manufacturing Resources International, Inc. | Field customizable airflow system for a communications box |
| US11477923B2 (en) | 2020-10-02 | 2022-10-18 | Manufacturing Resources International, Inc. | Field customizable airflow system for a communications box |
| US11470749B2 (en) | 2020-10-23 | 2022-10-11 | Manufacturing Resources International, Inc. | Forced air cooling for display assemblies using centrifugal fans |
| US12200877B2 (en) | 2020-10-23 | 2025-01-14 | Manufacturing Resources International, Inc. | Display assemblies incorporating electric vehicle charging equipment |
| US12459383B2 (en) | 2020-10-23 | 2025-11-04 | Manufacturing Resources International, Inc. | Display assemblies incorporating electric vehicle charging equipment |
| US12022624B2 (en) | 2020-10-23 | 2024-06-25 | Manufacturing Resources International, Inc. | Display assemblies incorporating electric vehicle charging equipment |
| US12004310B2 (en) | 2020-10-23 | 2024-06-04 | Manufacturing Resources International, Inc. | Display assemblies incorporating electric vehicle charging equipment |
| US11778757B2 (en) | 2020-10-23 | 2023-10-03 | Manufacturing Resources International, Inc. | Display assemblies incorporating electric vehicle charging equipment |
| US12408312B2 (en) | 2021-07-28 | 2025-09-02 | Manufacturing Resources International, Inc. | Display assemblies with vents |
| US12314093B2 (en) | 2021-07-28 | 2025-05-27 | Manufacturing Resources International, Inc. | Display assemblies for providing compressive forces at electronic display layers |
| US11966263B2 (en) | 2021-07-28 | 2024-04-23 | Manufacturing Resources International, Inc. | Display assemblies for providing compressive forces at electronic display layers |
| US12153479B2 (en) | 2021-07-28 | 2024-11-26 | Manufacturing Resources International, Inc. | Display assemblies for providing compressive forces at electronic display layers |
| US11762231B2 (en) | 2021-08-23 | 2023-09-19 | Manufacturing Resources International, Inc. | Display assemblies inducing turbulent flow |
| US12317461B2 (en) | 2021-08-23 | 2025-05-27 | Manufacturing Resources International, Inc. | Fan unit for providing improved airflow within display assemblies |
| US12443067B2 (en) | 2021-08-23 | 2025-10-14 | Manufacturing Resources International, Inc. | Display assemblies inducing turbulent flow |
| US11919393B2 (en) | 2021-08-23 | 2024-03-05 | Manufacturing Resources International, Inc. | Display assemblies inducing relatively turbulent flow and integrating electric vehicle charging equipment |
| US11744054B2 (en) | 2021-08-23 | 2023-08-29 | Manufacturing Resources International, Inc. | Fan unit for providing improved airflow within display assemblies |
| US12185513B2 (en) | 2021-11-23 | 2024-12-31 | Manufacturing Resources International, Inc. | Display assembly with divided interior space |
| US11968813B2 (en) | 2021-11-23 | 2024-04-23 | Manufacturing Resources International, Inc. | Display assembly with divided interior space |
| US12089382B2 (en) | 2021-11-23 | 2024-09-10 | Manufacturing Resources International, Inc. | Display assembly with divided interior space |
| US12222592B2 (en) | 2022-07-22 | 2025-02-11 | Manufacturing Resources International, Inc. | Self-contained electronic display assembly, mounting structure and methods for the same |
| US12072561B2 (en) | 2022-07-22 | 2024-08-27 | Manufacturing Resources International, Inc. | Self-contained electronic display assembly, mounting structure and methods for the same |
| US12010813B2 (en) | 2022-07-22 | 2024-06-11 | Manufacturing Resources International, Inc. | Self-contained electronic display assembly, mounting structure and methods for the same |
| US12193187B2 (en) | 2022-07-22 | 2025-01-07 | Manufacturing Resources International, Inc. | Self-contained electronic display assembly, mounting structure and methods for the same |
| US12393069B2 (en) | 2022-07-22 | 2025-08-19 | Manufacturing Resources International, Inc. | Self-contained electronic display assembly, mounting structure and methods for the same |
| US12197058B2 (en) | 2022-07-22 | 2025-01-14 | Manufacturing Resources International, Inc. | Self-contained electronic display assembly, mounting structure and methods for the same |
| US12035486B1 (en) | 2022-07-25 | 2024-07-09 | Manufacturing Resources International, Inc. | Electronic display assembly with fabric panel communications box |
| US12108546B1 (en) | 2022-07-25 | 2024-10-01 | Manufacturing Resources International, Inc. | Electronic display assembly with fabric panel communications box |
Also Published As
| Publication number | Publication date |
|---|---|
| TWM267437U (en) | 2005-06-11 |
| US7273092B2 (en) | 2007-09-25 |
| US20060108105A1 (en) | 2006-05-25 |
Similar Documents
| Publication | Publication Date | Title |
|---|---|---|
| JP2006148047A (ja) | モジュール化放熱器 | |
| WO2021027511A1 (zh) | 液冷散热装置 | |
| CN101871740A (zh) | 一种热交换器、热交换器的散热方法以及通信设备 | |
| WO2025228241A1 (zh) | 功率变换设备 | |
| US20060090888A1 (en) | Heat-exchange type cooler | |
| TWI707116B (zh) | 液冷散熱裝置 | |
| CN201476667U (zh) | 可增加散热面积的热管式散热鳍片 | |
| CN120186941A (zh) | 一种换热结构及逆变器 | |
| CN111366020A (zh) | 一种扩展水冷式热管散热器 | |
| JP3947797B2 (ja) | 三次元実装型放熱モジュール | |
| TWM267825U (en) | Improved heat sink structure of liquid-cooling type heat sink device | |
| CN210004806U (zh) | 一种笼式散热器 | |
| CN117241540A (zh) | 冷却系统及伺服器 | |
| JP3153521U (ja) | 放熱フィン構造及びその放熱器 | |
| CN219876627U (zh) | 一种异形散热装置 | |
| CN2739795Y (zh) | 液冷式散热装置的散热器改良结构 | |
| CN207584869U (zh) | 一种拼装式卫浴散热器 | |
| CN222108370U (zh) | 3dvc组合嵌入式散热器架构 | |
| CN223391584U (zh) | 散热器及功率变换设备 | |
| CN223437310U (zh) | 一种功率设备的散热系统 | |
| CN106091780B (zh) | 散热片距离规律变化的圆弧形散热管 | |
| CN105180701B (zh) | 一种墙角放置的圆弧形散热管组 | |
| CN223182556U (zh) | 一种功率设备及光伏系统 | |
| CN222030283U (zh) | 功率变换设备 | |
| CN217636927U (zh) | 热管密排式散热器 |
Legal Events
| Date | Code | Title | Description |
|---|---|---|---|
| A977 | Report on retrieval |
Free format text: JAPANESE INTERMEDIATE CODE: A971007 Effective date: 20080716 |
|
| A131 | Notification of reasons for refusal |
Free format text: JAPANESE INTERMEDIATE CODE: A131 Effective date: 20080805 |
|
| A02 | Decision of refusal |
Free format text: JAPANESE INTERMEDIATE CODE: A02 Effective date: 20090303 |