JP2006147214A - Lighting device - Google Patents

Lighting device Download PDF

Info

Publication number
JP2006147214A
JP2006147214A JP2004332656A JP2004332656A JP2006147214A JP 2006147214 A JP2006147214 A JP 2006147214A JP 2004332656 A JP2004332656 A JP 2004332656A JP 2004332656 A JP2004332656 A JP 2004332656A JP 2006147214 A JP2006147214 A JP 2006147214A
Authority
JP
Japan
Prior art keywords
light emitting
light
emitting element
chip
type light
Prior art date
Legal status (The legal status is an assumption and is not a legal conclusion. Google has not performed a legal analysis and makes no representation as to the accuracy of the status listed.)
Pending
Application number
JP2004332656A
Other languages
Japanese (ja)
Inventor
Shoichiro Murata
昌一郎 村田
Current Assignee (The listed assignees may be inaccurate. Google has not performed a legal analysis and makes no representation or warranty as to the accuracy of the list.)
Rohm Co Ltd
Original Assignee
Rohm Co Ltd
Priority date (The priority date is an assumption and is not a legal conclusion. Google has not performed a legal analysis and makes no representation as to the accuracy of the date listed.)
Filing date
Publication date
Application filed by Rohm Co Ltd filed Critical Rohm Co Ltd
Priority to JP2004332656A priority Critical patent/JP2006147214A/en
Publication of JP2006147214A publication Critical patent/JP2006147214A/en
Pending legal-status Critical Current

Links

Images

Classifications

    • HELECTRICITY
    • H01ELECTRIC ELEMENTS
    • H01LSEMICONDUCTOR DEVICES NOT COVERED BY CLASS H10
    • H01L2224/00Indexing scheme for arrangements for connecting or disconnecting semiconductor or solid-state bodies and methods related thereto as covered by H01L24/00
    • H01L2224/01Means for bonding being attached to, or being formed on, the surface to be connected, e.g. chip-to-package, die-attach, "first-level" interconnects; Manufacturing methods related thereto
    • H01L2224/42Wire connectors; Manufacturing methods related thereto
    • H01L2224/47Structure, shape, material or disposition of the wire connectors after the connecting process
    • H01L2224/48Structure, shape, material or disposition of the wire connectors after the connecting process of an individual wire connector
    • H01L2224/4805Shape
    • H01L2224/4809Loop shape
    • H01L2224/48091Arched
    • HELECTRICITY
    • H01ELECTRIC ELEMENTS
    • H01LSEMICONDUCTOR DEVICES NOT COVERED BY CLASS H10
    • H01L2224/00Indexing scheme for arrangements for connecting or disconnecting semiconductor or solid-state bodies and methods related thereto as covered by H01L24/00
    • H01L2224/01Means for bonding being attached to, or being formed on, the surface to be connected, e.g. chip-to-package, die-attach, "first-level" interconnects; Manufacturing methods related thereto
    • H01L2224/42Wire connectors; Manufacturing methods related thereto
    • H01L2224/47Structure, shape, material or disposition of the wire connectors after the connecting process
    • H01L2224/49Structure, shape, material or disposition of the wire connectors after the connecting process of a plurality of wire connectors
    • H01L2224/491Disposition
    • H01L2224/49105Connecting at different heights
    • H01L2224/49107Connecting at different heights on the semiconductor or solid-state body
    • HELECTRICITY
    • H01ELECTRIC ELEMENTS
    • H01LSEMICONDUCTOR DEVICES NOT COVERED BY CLASS H10
    • H01L2224/00Indexing scheme for arrangements for connecting or disconnecting semiconductor or solid-state bodies and methods related thereto as covered by H01L24/00
    • H01L2224/73Means for bonding being of different types provided for in two or more of groups H01L2224/10, H01L2224/18, H01L2224/26, H01L2224/34, H01L2224/42, H01L2224/50, H01L2224/63, H01L2224/71
    • H01L2224/732Location after the connecting process
    • H01L2224/73251Location after the connecting process on different surfaces
    • H01L2224/73265Layer and wire connectors
    • HELECTRICITY
    • H01ELECTRIC ELEMENTS
    • H01LSEMICONDUCTOR DEVICES NOT COVERED BY CLASS H10
    • H01L2924/00Indexing scheme for arrangements or methods for connecting or disconnecting semiconductor or solid-state bodies as covered by H01L24/00
    • H01L2924/15Details of package parts other than the semiconductor or other solid state devices to be connected
    • H01L2924/181Encapsulation

Landscapes

  • Led Device Packages (AREA)
  • Fastening Of Light Sources Or Lamp Holders (AREA)
  • Arrangement Of Elements, Cooling, Sealing, Or The Like Of Lighting Devices (AREA)
  • Non-Portable Lighting Devices Or Systems Thereof (AREA)

Abstract

【課題】 半導体発光素子を用いながら、その光を有効に利用することにより、部分的照明ではなく、部屋などの広い範囲を非常に明るく照明することができると共に、照明の輝度を大きくするため、発光素子の発熱が大きくなっても、その放熱を速やかに行える構造とすることにより、発熱のトラブルを解消し、かつ、輝度の大きな照明装置を提供する。
【解決手段】 一面に図示しない電極配線が形成された絶縁性基板2の一面上にその電極配線と接続されるように、複数個の反射壁を有しないチップ型発光素子1が縦横にマウントされ、この複数個の発光素子1は、図示しない電極配線により、それぞれが直列および/または並列に接続されている。この縦横に配列されたチップ型発光素子1のそれぞれの間隙部に透光性樹脂3が充填され、絶縁性基板2の他面側に放熱板4が設けられている。
【選択図】 図1
PROBLEM TO BE SOLVED: To illuminate a wide area such as a room very brightly, not partially illuminating, by using the light effectively while using a semiconductor light emitting element, and to increase the luminance of the illumination. Even when heat generation of the light-emitting element is increased, a structure that can quickly dissipate the heat can eliminate a problem of heat generation and provide a lighting device with high luminance.
SOLUTION: A plurality of chip-type light emitting elements 1 having no reflection wall are mounted vertically and horizontally so as to be connected to the electrode wiring on one surface of an insulating substrate 2 having electrode wiring (not shown) formed on one surface. The plurality of light emitting elements 1 are connected in series and / or in parallel by electrode wiring (not shown). Each gap portion of the chip type light emitting elements 1 arranged vertically and horizontally is filled with a translucent resin 3, and a heat radiating plate 4 is provided on the other surface side of the insulating substrate 2.
[Selection] Figure 1

Description

本発明は発光素子を用いた照明装置に関する。さらに詳しくは、従来長い蛍光管を何本も並べて広い範囲で照らすような照明装置を発光素子で代用し得るような高出力の発光素子を用いた照明装置に関する。   The present invention relates to a lighting device using a light emitting element. More specifically, the present invention relates to an illuminating apparatus using a high-output light emitting element that can replace an illuminating apparatus that conventionally illuminates a wide range by arranging a number of long fluorescent tubes.

近年、青色系発光ダイオード(LED)の出現により、ディスプレイの光源や信号装置の光源などにLEDが用いられ、さらに電灯の代りにLEDが用いられるようになってきている。この電灯に代ってLEDを用いる場合、たとえば図4に示されるように、円板状の基板95にランプ型(いわゆる砲弾型)のLED96を複数個配列して直並列に接続し、その表面側に乳白色の半透明カバー94が被せられ、接続されたLED96の配線がソケット92に接続されることにより構成される。そして、ソケット92に交流電源を接続することにより、普通の電灯に代って使用し得る照明装置にするものが知られている(たとえば特許文献1参照)。
特開平10−083701号公報
In recent years, with the advent of blue light emitting diodes (LEDs), LEDs have been used as light sources for displays and signal devices, and LEDs have been used in place of electric lights. When an LED is used instead of this electric lamp, for example, as shown in FIG. 4, a plurality of lamp-type (so-called bullet-type) LEDs 96 are arranged on a disk-like substrate 95 and connected in series and parallel. A milky white translucent cover 94 is covered on the side, and the wiring of the connected LED 96 is connected to the socket 92. And what is made into the illuminating device which can be used instead of a normal electric light by connecting alternating current power supply to the socket 92 is known (for example, refer patent document 1).
Japanese Patent Laid-Open No. 10-083701

前述のように、ランプ型(ドーム型)LEDを何個も束ねて電球状にすると、LEDの指向特性が非常に狭いため、ドーム状カバーの頂部側には非常に強い光が放射されるが、横方向に放射される光は非常に弱くなり、たとえば天井にこの照明装置を取り付けた場合、照明装置の真下では明るくても部屋の隅の方は暗く、部屋全体の照明にしたいというような場合には、必ずしも適していない。   As described above, when many lamp-type (dome-shaped) LEDs are bundled to form a light bulb, the directivity characteristics of the LEDs are very narrow, and thus very strong light is emitted to the top side of the dome-shaped cover. The light emitted in the lateral direction becomes very weak. For example, when this lighting device is mounted on the ceiling, the corner of the room is dark even though it is bright underneath the lighting device. In some cases, it is not always suitable.

一方、ランプ型発光素子ではなく、LEDチップをそのまま縦横に並べるか、半導体ウェハのような大きな基板に複数個の発光部を、一定間隔を設けて形成して広い面積で指向性なく発光させる構造にして照明装置を構成しようとしても、横方向に進む光は、隣接するLEDチップまたは発光部で吸収などにより減衰したり、正面側の照射に寄与せず無駄になったりするため、また、元々正面側への光の照射が弱いため、正面側での輝度が充分に上がらない。   On the other hand, instead of lamp-type light-emitting elements, LED chips are arranged vertically and horizontally, or a plurality of light-emitting portions are formed on a large substrate such as a semiconductor wafer at regular intervals so as to emit light without directivity over a wide area. Even if an attempt is made to configure the lighting device, the light traveling in the lateral direction is attenuated by absorption or the like in the adjacent LED chip or the light emitting unit, or is not contributed to irradiation on the front side, and is wasted originally. Since the light irradiation on the front side is weak, the luminance on the front side does not increase sufficiently.

本発明はこのような問題を解決するためになされたもので、半導体発光素子を用いながら、その光を有効に利用することにより、部分的照明ではなく、部屋などの広い範囲を非常に明るく照明することができると共に、照明の輝度を大きくするため、発光素子の発熱が大きくなっても、その放熱を速やかに行える構造とすることにより、発熱のトラブルを解消し、かつ、輝度の大きな照明装置を提供することを目的とする。   The present invention has been made to solve such a problem. By using the light effectively while using a semiconductor light emitting device, a wide area such as a room is illuminated very brightly rather than partially. In order to increase the brightness of the illumination, the structure that can quickly dissipate the heat even if the heat generation of the light emitting element increases, thereby eliminating the problem of heat generation and increasing the brightness. The purpose is to provide.

本発明による照明装置は、一面に電極配線が形成された絶縁性基板と、該絶縁性基板の一面上に前記電極配線と接続されるように縦横に配列してマウントされ、それぞれが直列および/または並列に接続される複数個の反射壁を有しないチップ型発光素子と、前記縦横に配列されたチップ型発光素子のそれぞれの間隙部に充填される透光性樹脂と、前記絶縁性基板の他面側に設けられる放熱板とを具備している。   An illuminating device according to the present invention is mounted in an insulating substrate having an electrode wiring formed on one surface thereof, and arranged vertically and horizontally so as to be connected to the electrode wiring on one surface of the insulating substrate. Or a plurality of chip-type light emitting elements connected in parallel, each having a reflecting wall, a translucent resin filled in a gap between each of the chip-type light emitting elements arranged vertically and horizontally, and the insulating substrate. And a heat sink provided on the other surface side.

ここに反射壁を有しないチップ型発光素子とは、両端部に一対の電極端子が設けられたチップ状の絶縁基板表面に該一対の電極端子と両電極が接続されるように発光素子チップがマウントされると共に、その外周が透光性樹脂により被覆され、絶縁基板表面側の横方向も含めた周囲に光が放射され得る構造の発光素子を意味する。   Here, the chip type light emitting element having no reflection wall is a light emitting element chip in which the pair of electrode terminals and both electrodes are connected to the surface of a chip-like insulating substrate provided with a pair of electrode terminals at both ends. It means a light-emitting element that is mounted and has a structure in which the outer periphery is covered with a translucent resin and light can be emitted to the periphery including the lateral direction on the surface of the insulating substrate.

前記チップ型発光素子の間隙部に充填される透光性樹脂が、前記チップ型発光素子の発光面側にも設けられ、前記チップ型発光素子の全体を被覆する外囲器として形成されることにより、照明装置として外観も優れ、発光する光も面内で均一になりやすいため好ましい。   A translucent resin filled in a gap portion of the chip type light emitting element is also provided on the light emitting surface side of the chip type light emitting element, and is formed as an envelope covering the entire chip type light emitting element. Therefore, it is preferable because the appearance is excellent as a lighting device and the emitted light tends to be uniform in the surface.

前記チップ型発光素子の発光面側に該チップ型発光素子から一定間隔をあけて光拡散板が設けられていることにより、発光素子からの光が直接到達しないで、面内での光の均一性をより一層良好にすることができるため好ましい。その場合、光拡散板の発光素子と対向する側の面にシボ加工を施すことにより、光の進行方向をランダムにすることができるため、発光素子と光拡散板との距離を小さくしても、すなわち光の損失を小さくしても、発光素子間の暗部を目立たなくすることができる。   Since the light diffusing plate is provided on the light emitting surface side of the chip type light emitting element at a predetermined interval from the chip type light emitting element, the light from the light emitting element does not reach directly, and the light in the plane is uniform. It is preferable because the property can be further improved. In that case, the surface of the light diffusing plate facing the light emitting element can be textured to randomize the traveling direction of the light. Therefore, even if the distance between the light emitting element and the light diffusing plate is reduced. That is, the dark part between the light emitting elements can be made inconspicuous even if the loss of light is reduced.

前記チップ型発光素子のLEDチップに青色発光または紫外光発光のLEDチップが用いられると共に、前記チップ型発光素子間の間隙部に充填される透光性樹脂に発光色変換部材が混入されることにより、LEDチップで発光した青色光または紫外光を所望の白色光などに完全に変換しやすい。また、透光性樹脂内に光拡散剤などを混入することにより、正面側に光を反射させやすくなる。   A blue light emitting or ultraviolet light emitting LED chip is used as the LED chip of the chip type light emitting element, and a light emitting color conversion member is mixed in a translucent resin filled in a gap portion between the chip type light emitting elements. Thus, it is easy to completely convert blue light or ultraviolet light emitted from the LED chip into desired white light or the like. Moreover, it becomes easy to reflect light to the front side by mixing a light diffusing agent or the like in the translucent resin.

本発明によれば、反射壁を有しない、透光性樹脂のみで被覆されたチップ型発光素子を縦横に配列しながら、その発光素子が配列される絶縁性基板上のチップ型発光素子間の隙間に透光性樹脂が充填されているため、発光素子を縦横に並べて配列する場合でも、配線が形成された絶縁性基板上にマウントするだけで簡単に組み立てることができると共に、チップ型発光素子間に暗部が形成されることなく、全面で均一な輝度とすることができする。そのため、光拡散板が無くても面内で均一な発光が得られ、光拡散板を設けないことにより、光拡散板による光吸収をもたらすことなく、より一層明るくて均一な照明装置が得られる。   According to the present invention, chip-type light emitting elements that are not coated with a translucent resin and do not have a reflecting wall are arranged vertically and horizontally, and between the chip-type light emitting elements on the insulating substrate on which the light-emitting elements are arranged. Since the gap is filled with translucent resin, even when the light emitting elements are arranged vertically and horizontally, they can be easily assembled by simply mounting them on the insulating substrate on which the wiring is formed. Uniform brightness can be achieved over the entire surface without forming dark portions in between. Therefore, even if there is no light diffusing plate, uniform light emission can be obtained in the surface, and by providing no light diffusing plate, a brighter and more uniform lighting device can be obtained without causing light absorption by the light diffusing plate. .

すなわち、チップ型発光素子間の間隙部に樹脂が充填されていないと、チップ型発光素子表面側に設けられる被覆樹脂内を横方向に進んだ光は、被覆樹脂の内壁面で全反射しやすく、外部には出にくいため、間隙部では光量が非常に少なくなり暗くなる。その結果、チップ型発光素子を配列して形成する高輝度の照明装置を構成しても、格子状の暗部が観察され、均一な輝度の照明装置としては好ましくないため、その暗部を目立たなくするのに、光拡散板が不可欠となって輝度を低下させる。しかし、本発明のように、チップ型発光素子の間の間隙部に透光性樹脂が充填されることにより、チップ型発光素子の表面に設けられる被覆樹脂と連結されて屈折率差が殆ど生じないため、チップ型発光素子の間隙部にも光が充分に進んでその表面から放射される。そのため、光拡散板が無くても、面内で均一な発光をすることができる。   That is, if the gap between the chip-type light emitting elements is not filled with resin, the light traveling in the lateral direction in the coating resin provided on the surface side of the chip-type light emitting element is easily totally reflected by the inner wall surface of the coating resin. Since it is difficult to go outside, the amount of light in the gap becomes very small and dark. As a result, even when a high-luminance lighting device formed by arranging chip-type light emitting elements is configured, a grid-like dark portion is observed, which is not preferable as a lighting device with uniform luminance, so that the dark portion is inconspicuous. However, the light diffusing plate becomes indispensable and lowers the luminance. However, as in the present invention, the gap between the chip-type light emitting elements is filled with a light-transmitting resin, so that it is connected to the coating resin provided on the surface of the chip-type light emitting element, so that there is almost no difference in refractive index. Therefore, the light sufficiently proceeds to the gap portion of the chip type light emitting element and is emitted from the surface. Therefore, even without a light diffusing plate, uniform light emission can be performed in the plane.

一方、この照明装置の表面側にアクリル樹脂のように光を拡散させる機能を有する光拡散板が設けられることにより、面内での均一性がより向上し、しかも間接光のような照明装置とすることができるため、非常に落ち着いた照明装置とすることができる。そのため、用途によっては光拡散板を設けることもできる。なお、照明装置の発光色は、所望の色のLEDチップを用いることにより所望の発光色にすることができるが、たとえば白色光にする場合、青色光または紫外光のLEDチップを用いて発光色変換部材を透光性樹脂内に混入することにより、簡単な構成で白色光が得られるが、このような場合、チップ型発光素子間の間隙部に充填する透光性樹脂にも同様の発光色変換部材を混入することが、横方向に進む光も充分に発光色変換部材を通過させることができるため、均一な発光色の光にすることができる。   On the other hand, by providing a light diffusing plate having a function of diffusing light like acrylic resin on the surface side of this lighting device, the uniformity in the surface is further improved, and the lighting device like indirect light Therefore, a very calm lighting device can be obtained. Therefore, a light diffusing plate can be provided depending on the application. Note that the light emission color of the lighting device can be changed to a desired light emission color by using an LED chip of a desired color. For example, when using white light, the light emission color is obtained using a blue light or ultraviolet light LED chip. By mixing the conversion member in the translucent resin, white light can be obtained with a simple configuration. In such a case, the same light emission is applied to the translucent resin that fills the gap between the chip-type light emitting elements. When the color conversion member is mixed, light traveling in the lateral direction can be sufficiently transmitted through the light emission color conversion member, so that light of uniform emission color can be obtained.

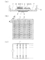
つぎに、図面を参照しながら本発明の照明装置について説明をする。本発明による照明装置は、図1(a)にその一実施形態の断面説明図が、図1(b)に発光素子が設けられた絶縁性基板の平面説明図が、それぞれ示されるように、一面に図示しない電極配線が形成された絶縁性基板2の一面上にその電極配線と接続されるように、複数個の反射壁を有しないチップ型発光素子1が縦横にマウントされ、この複数個の発光素子1は、図示しない電極配線により、それぞれが直列および/または並列に接続されている。この縦横に配列されたチップ型発光素子1のそれぞれの間隙部に透光性樹脂3が充填され、絶縁性基板2の他面側に放熱板4が図示しない熱伝導性接着剤などを介して空気層が介在しないように設けられている。このように、空気層を介在させないように設けられることが、熱伝導が良くなり好ましい。   Next, the illumination device of the present invention will be described with reference to the drawings. The lighting device according to the present invention is shown in FIG. 1A as a cross-sectional explanatory view of one embodiment, and FIG. 1B as a plan explanatory view of an insulating substrate provided with a light emitting element, respectively. A plurality of chip-type light emitting elements 1 having no reflecting walls are mounted vertically and horizontally so as to be connected to the electrode wiring on one surface of the insulating substrate 2 having an electrode wiring (not shown) formed on one surface. The light emitting elements 1 are connected in series and / or in parallel by electrode wiring (not shown). Each gap portion of the chip type light emitting elements 1 arranged vertically and horizontally is filled with a translucent resin 3, and a heat radiating plate 4 is disposed on the other surface side of the insulating substrate 2 via a heat conductive adhesive (not shown). The air layer is provided so as not to intervene. As described above, it is preferable that the air layer is not interposed because heat conduction is improved.

図1(a)に示される例では、チップ型発光素子1間に充填される透光性樹脂3がチップ型発光素子1の発光面側まで被覆するように設けられると共に、本発明の照明装置を天井などに直接取り付けられた状態の図が示されており、天板7などに放熱板4が直接図示しないネジなどにより固定され、天板7は梁9などに固定された例が示されている。しかし、このチップ型発光素子1と絶縁性基板2と放熱板4との組立体の取付は、照明装置を取り付ける場所に応じて、好みの場所に取り付けることができる。この場合、放熱板4は、できるだけ熱伝導の良い放熱特性の優れたアルミニウム、ステンレス、鉄などからなる取付板などに固定されることが好ましい。さらに、この天板7と放熱板4との接続も、図示しない熱伝導グリスなどを介してネジなどで固定することが、交換が容易でありながら、良好な熱伝導を維持することができるため好ましい。   In the example shown in FIG. 1A, the translucent resin 3 filled between the chip type light emitting elements 1 is provided so as to cover the light emitting surface side of the chip type light emitting element 1, and the illumination device of the present invention. The heat sink 4 is directly fixed to the top plate 7 or the like with screws or the like not shown, and the top plate 7 is fixed to the beam 9 or the like. ing. However, the assembly of the chip-type light emitting element 1, the insulating substrate 2, and the heat radiating plate 4 can be attached to a favorite place according to the place where the lighting device is attached. In this case, the heat radiating plate 4 is preferably fixed to a mounting plate made of aluminum, stainless steel, iron or the like having as much heat conduction as possible and excellent heat radiating characteristics. Further, the connection between the top plate 7 and the heat radiating plate 4 can also be fixed with a screw or the like via a heat conduction grease (not shown), so that good heat conduction can be maintained while being easily replaced. preferable.

チップ型発光素子1は、たとえば図2にその一例の断面説明図が示されるように、絶縁基板11の両端部から裏面にかけて一対の端子電極12a、12bが設けられ、一方の端子電極12a上にLEDチップ13がボンディングされ、LEDチップ13の一対の電極が、一対の端子電極12a、12bとそれぞれワイヤ14を介して電気的に接続されている。この例では、LEDチップ13の基板がサファイア基板131で、一対の両電極133、134がLEDチップ13の表面側に導出されているため、両電極ともワイヤボンディングにより接続されている。このような場合には、必ずしも端子電極12a上にボンディングされないで、絶縁基板11上に直接ボンディングされてもよい。LEDチップ13の基板裏面に一方の電極が導出される場合には、導電性接着剤により、一方の端子電極12a上にボンディングすることにより、電気的にも接続される。   The chip type light emitting element 1 is provided with a pair of terminal electrodes 12a and 12b from both ends of the insulating substrate 11 to the back surface, for example, as shown in FIG. The LED chip 13 is bonded, and the pair of electrodes of the LED chip 13 are electrically connected to the pair of terminal electrodes 12a and 12b via the wires 14, respectively. In this example, since the substrate of the LED chip 13 is a sapphire substrate 131 and the pair of both electrodes 133 and 134 are led out to the surface side of the LED chip 13, both electrodes are connected by wire bonding. In such a case, it may not be bonded on the terminal electrode 12a, but may be bonded directly on the insulating substrate 11. When one electrode is led out to the back surface of the substrate of the LED chip 13, it is electrically connected by bonding on the one terminal electrode 12a with a conductive adhesive.

このLEDチップ13は青色発光用として形成されており、たとえばサファイア基板131上に窒化物半導体により、n形層とp形層とが積層された半導体積層部132が形成され、n形層に接続してn側電極133、p形層に接続してp側電極134が形成されており、そのn側電極133が前述の一方の端子電極12aとワイヤ14に接続され、p側電極134が他方の端子電極12bとワイヤ14によりそれぞれ接続されている。このような窒化物半導体を用いる場合でも、基板に導電性のSiCを用いることができ、その場合には、一方の電極を直接導電性接着剤により端子電極12aと接続することができる。ここに窒化物半導体とは、III 族元素のGaとV族元素のNとの化合物またはIII 族元素のGaの一部または全部がAl、Inなどの他のIII 族元素と置換したものおよび/またはV族元素のNの一部がP、Asなどの他のV族元素と置換した化合物(窒化物)からなる半導体をいう。   The LED chip 13 is formed for blue light emission. For example, a semiconductor laminated portion 132 in which an n-type layer and a p-type layer are laminated is formed on a sapphire substrate 131 by a nitride semiconductor, and is connected to the n-type layer. Then, the n-side electrode 133 is connected to the p-type layer to form the p-side electrode 134, the n-side electrode 133 is connected to the one terminal electrode 12a and the wire 14, and the p-side electrode 134 is connected to the other side. The terminal electrode 12b and the wire 14 are connected to each other. Even when such a nitride semiconductor is used, conductive SiC can be used for the substrate. In that case, one of the electrodes can be directly connected to the terminal electrode 12a by a conductive adhesive. Here, the nitride semiconductor means a compound in which a group III element Ga and a group V element N or a part or all of a group III element Ga is substituted with other group III elements such as Al and In, and / or Alternatively, it refers to a semiconductor made of a compound (nitride) in which a part of N of the group V element is substituted with another group V element such as P or As.

LEDチップ13は、絶縁基板11表面の周囲が、エポキシ樹脂などの透光性樹脂からなる被覆樹脂16により被覆されてLEDチップ13およびワイヤボンディング部が保護されている。この被覆樹脂16内に、たとえばYAG(イットリウム・アルミニウム・ガーネット)蛍光体物質(発光色変換部材)17が混入されることにより、たとえば青色発光LEDチップ13の発光色を白色に変換している。しかし、発光素子1は、この例に限定されるものではなく、たとえば白色光にするにしても、赤、緑、青の3原色を発光するLEDチップを1個の発光素子内に内蔵して混色することにより白色光にしてもよいし、近紫外光を発光するLEDチップの表面にそれぞれ赤、緑、青に変換する発光色変換部材を設けてそれぞれの色に変換した光を混合することによっても白色光にすることもできるし、また、白色ではなく、所望の発光色の発光素子を用いることもできる。   In the LED chip 13, the periphery of the surface of the insulating substrate 11 is covered with a coating resin 16 made of a translucent resin such as an epoxy resin to protect the LED chip 13 and the wire bonding portion. For example, a YAG (yttrium / aluminum / garnet) phosphor material (light emission color conversion member) 17 is mixed in the coating resin 16 to convert the light emission color of the blue light emitting LED chip 13 into white, for example. However, the light emitting element 1 is not limited to this example. For example, even if white light is used, LED chips that emit three primary colors of red, green, and blue are incorporated in one light emitting element. It is possible to make white light by mixing colors, or to provide light emitting color conversion members that convert red, green, and blue on the surface of the LED chip that emits near ultraviolet light, and to mix the light converted into each color The light can also be made into white light, or a light emitting element having a desired light emitting color can be used instead of white light.

絶縁性基板2は、たとえばセラミックスまたはエポキシ樹脂基板などを用いることができるが、発光素子の数が多いため発熱量が多く、できるだけ熱伝導率のよいセラミックス基板などが好ましく、たとえば0.8〜1.6mm程度の厚さのもが用いられる。この絶縁性基板2には、図示しない銅被膜などにより配線パターンが形成されており、その銅被膜上に前述の発光素子1の端子電極12a、12bの裏面電極が直接接続されるようにボンディングされ、たとえば4個直列接続したものを並列に接続して15V程度の直流で動作させることができる。また、この配列は、たとえば図1(c)に回路図が示されるように、縦横に配列された発光素子1が直並列に接続されて100Vの交流電源で駆動することもできる。たとえば、発光素子1の大きさは、長さLが3mm程度で、幅Wが2mm程度のものが用いられ、横方向のピッチp1が3±0.5mm程度、縦方向のピッチp2が4±0.5mm程度になるように配線パターンが形成される。   For example, a ceramic or epoxy resin substrate can be used as the insulating substrate 2. However, since the number of light emitting elements is large, a ceramic substrate having a high heat conductivity as much as possible is preferable. For example, 0.8-1 A thickness of about 0.6 mm is used. A wiring pattern is formed on the insulating substrate 2 by a copper coating (not shown), and bonding is performed on the copper coating so that the back electrodes of the terminal electrodes 12a and 12b of the light emitting element 1 are directly connected. For example, four connected in series can be connected in parallel and operated with a direct current of about 15V. In addition, as shown in the circuit diagram of FIG. 1C, for example, the light emitting elements 1 arranged in the vertical and horizontal directions can be connected in series and parallel and driven by an AC power supply of 100V. For example, the light emitting element 1 has a length L of about 3 mm and a width W of about 2 mm, a horizontal pitch p1 of about 3 ± 0.5 mm, and a vertical pitch p2 of 4 ±. A wiring pattern is formed to be about 0.5 mm.

透光性樹脂3は、発光素子1のLEDチップ13を被覆する被覆樹脂16と同様のエポキシ樹脂などを用いることができるが、発光素子1の被覆樹脂とは異なる樹脂でも透光性で、耐熱性があればよい。この透光性樹脂3は、チップ型発光素子1の間隙部に充填されていればよいが、図1に示される例では、間隙部のみならず、チップ型発光素子1の発光面側も被覆するように設けられている。この透光性樹脂3は、樹脂を滴下させる方法で表面に塗布して硬化させてもよいし、トランスファモールドまたはインジェクションモールドにより成型して形成してもよい。図1に示されるように、発光素子1の表面まで被覆するように透光性樹脂3が設けられることにより、チップ型発光素子1の間の凸凹が全く目立たなくなり、照明装置の外観として非常優れたものになると共に、発光素子1間の暗部が完全に目立たなくなるため好ましいが、少なくとも発光素子1の間隙部のみに透光性樹脂が充填されていれば、発光素子1間の暗部が殆ど目立たなくなる。その場合でも、さらに発光素子1間の暗部を目立たなくする場合には、後述する図3に示されるように、その発光面側に光拡散板を設けることもできる。   The translucent resin 3 may be an epoxy resin similar to the coating resin 16 that covers the LED chip 13 of the light emitting element 1. However, even a resin different from the coating resin of the light emitting element 1 is translucent and heat resistant. It only has sex. The translucent resin 3 only needs to be filled in the gap portion of the chip type light emitting element 1, but in the example shown in FIG. 1, not only the gap portion but also the light emitting surface side of the chip type light emitting element 1 is covered. It is provided to do. The translucent resin 3 may be applied to the surface by a resin dropping method and cured, or may be formed by transfer molding or injection molding. As shown in FIG. 1, the provision of the translucent resin 3 so as to cover the surface of the light emitting element 1 makes the unevenness between the chip type light emitting elements 1 inconspicuous at all, so that the appearance of the lighting device is extremely excellent. In addition, it is preferable because the dark part between the light emitting elements 1 becomes completely inconspicuous. However, if at least only the gap between the light emitting elements 1 is filled with a translucent resin, the dark part between the light emitting elements 1 is almost conspicuous. Disappear. Even in such a case, if the dark portion between the light emitting elements 1 is further inconspicuous, a light diffusing plate can be provided on the light emitting surface side as shown in FIG.

放熱板4は、熱伝導の良好な金属板が用いられ、たとえば12mm厚程度のアルミニウム板または銅板が用いられる。前述のように、発光素子1が絶縁性基板2上に縦横に密集して設けられており、各発光素子1に電流が流されて発光するため、発熱量も結構大きくなる。そのため、発生する熱を速やかに放熱することが、発光素子1の寿命および安全管理上からも要求され、このような放熱板4が設けられている。この場合、絶縁性基板2には、発光素子1が密集して設けられているため、ネジ止めのスペースがなく、熱伝導の良好な接着剤、たとえば変性アクリル系接着剤などにより絶縁性基板2の裏面に接着されている。しかし、ネジ止めのスペースがあり、絶縁性基板2を取り替える際の便宜を考慮してネジ止めする場合には、両者間に熱伝導性グリスを塗布して接合してもよい。いずれにしても、絶縁性基板2と放熱板との間に空気層が介在しないように接合されることが好ましい。この放熱板4は、前述のように、さらに天板7などに接合されて熱伝導による放熱をしたり、放熱板4の裏面側に、さらに放熱手段5が設けられる。   The heat radiating plate 4 is a metal plate having good thermal conductivity, for example, an aluminum plate or a copper plate having a thickness of about 12 mm. As described above, the light emitting elements 1 are densely arranged in the vertical and horizontal directions on the insulating substrate 2, and a current is passed through each light emitting element 1 to emit light. For this reason, it is required from the viewpoint of life and safety management of the light emitting element 1 to quickly dissipate the generated heat, and such a heat radiating plate 4 is provided. In this case, since the light emitting elements 1 are densely provided on the insulating substrate 2, there is no space for screwing, and the insulating substrate 2 is bonded with an adhesive having good heat conduction, such as a modified acrylic adhesive. It is glued to the back side. However, when there is a space for screwing and the screwing is performed in consideration of the convenience when the insulating substrate 2 is replaced, heat conductive grease may be applied and bonded between the two. In any case, it is preferable to join the insulating substrate 2 and the heat sink so that no air layer is interposed therebetween. As described above, the heat radiating plate 4 is further joined to the top plate 7 or the like to dissipate heat by heat conduction, or a heat radiating means 5 is further provided on the back side of the heat radiating plate 4.

図1に示される例では、放熱手段5(51、52)として、放熱フィン51および水冷するための水流管52の例が示されている。放熱フィン51は、たとえば銅板などの熱伝導の良好な金属板で表面積を大きくした構造に形成され、放熱板4との間に空気層が介在されないように、熱伝導グリス6を介して放熱板4に密着させ、図示しないネジなどで固定されているが、熱伝導性の良好な接着剤により接着してもよい。水流管52による放熱は冷却水を必要とするので、大掛かりになるが、発光素子への入力と放熱環境などに応じて、放熱が不足する場合にこれらの手段を用い得ることを示しているもので、必要な放熱量に応じて、これらの手段のうちから選択される。箱体などに絶縁性基板を取り付ける構造の場合でも、これらの放熱手段を取り付けることはできるし、箱体を熱伝導の良好な厚い金属板により形成することにより、そのまま放熱手段とすることができる。   In the example shown by FIG. 1, the example of the water flow pipe 52 for water-cooling fin 51 and water cooling is shown as the thermal radiation means 5 (51, 52). The heat radiating fins 51 are formed in a structure having a large surface area made of a metal plate having good heat conduction, such as a copper plate, for example, and the heat radiating plates are interposed via the heat conductive grease 6 so that no air layer is interposed between the heat radiating plates 4. 4 and is fixed with screws or the like (not shown), but may be bonded with an adhesive having good thermal conductivity. Although heat dissipation by the water flow pipe 52 requires cooling water, it becomes a large scale, but it shows that these means can be used when heat dissipation is insufficient depending on the input to the light emitting element and the heat dissipation environment, etc. Therefore, it is selected from these means according to the required heat radiation amount. Even in the structure of attaching an insulating substrate to a box or the like, these heat radiating means can be attached, and by forming the box with a thick metal plate having good heat conduction, it can be used as it is as a heat radiating means. .

前述の例では、発光素子1の表面にも透光性樹脂3を被覆するように設けて、そのまま照明装置として取りつけられる構造であったが、透光性樹脂3は、発光素子1の発光面を被覆する必要はなく、また、図3に示されるように、その前面に一定の距離dを隔てて光拡散板8が設けられる構造にすることもできる。光拡散板8は、光を拡散して発光素子1間の格子状の暗部や発光素子1の表面側の透光性樹脂3による凸凹が目立たないようにしながら、透過率のよい材料が用いられ、たとえば5mm程度の厚さのアクリル板が用いられる。この光拡散板8には、絶縁性基板2と対向する側の面にシボ加工8aが施されたものが好ましい。このシボ加工8aが施されていることにより、光拡散板8と発光素子1との間隔dを30±5mm程度と近づけても発光素子1の間隔を殆ど目立たなくすることができると共に、光拡散板8と発光素子1との間隔dを狭くすることができるため、その間での光の損失が少なく、光拡散板8から取り出される光が多くて、輝度を向上させることができる。このアクリル板からなる光拡散板8は、透過率が90%程度のものを用いた。   In the above-described example, the surface of the light-emitting element 1 is provided so as to cover the light-transmitting resin 3 and can be directly attached as a lighting device. However, the light-transmitting resin 3 is a light-emitting surface of the light-emitting element 1. Further, as shown in FIG. 3, it is possible to adopt a structure in which the light diffusing plate 8 is provided on the front surface thereof at a predetermined distance d. The light diffusing plate 8 is made of a material having good transmittance while diffusing light so that the grid-like dark portions between the light emitting elements 1 and the unevenness due to the light transmitting resin 3 on the surface side of the light emitting elements 1 are not conspicuous. For example, an acrylic plate having a thickness of about 5 mm is used. The light diffusing plate 8 preferably has a textured surface 8 a on the surface facing the insulating substrate 2. By applying the embossing 8a, the distance between the light diffusing element 1 and the light emitting element 1 can be made almost inconspicuous even if the distance d between the light diffusing plate 8 and the light emitting element 1 approaches 30 ± 5 mm. Since the distance d between the plate 8 and the light emitting element 1 can be narrowed, there is little light loss between them, and much light is extracted from the light diffusion plate 8, so that the luminance can be improved. The light diffusing plate 8 made of this acrylic plate has a transmittance of about 90%.

図3に示される例では、天板7に光拡散板8が取り付けられ、絶縁性基板2が取り付けられた放熱板4が梁9などに固定された取付板9aに、発光素子1の表面と光拡散板8との距離dが前述のような間隔になるように取り付けられている。この場合、取付板9aとして、前述のアルミニウムなどからなる金属材料を用いることことにより、とくに放熱性を向上させやすい。なお、図3において、他の部分は図1に示される例と同じで、同じ部分には同じ符号を付してその説明を省略する。   In the example shown in FIG. 3, the light diffusing plate 8 is attached to the top plate 7, and the heat radiating plate 4 to which the insulating substrate 2 is attached is attached to the attachment plate 9 a fixed to the beam 9, etc. It is attached so that the distance d to the light diffusing plate 8 is the interval as described above. In this case, it is particularly easy to improve the heat dissipation by using the metal material made of aluminum or the like as the mounting plate 9a. In FIG. 3, the other parts are the same as in the example shown in FIG. 1, and the same parts are denoted by the same reference numerals and the description thereof is omitted.

以上のように、本発明によれば、発光素子としてチップ型発光素子を用いているため、各チップ型発光素子の裏面に一対の電極が設けられており、絶縁性基板表面の配線に直接接続してマウントすることができる。さらに、チップ型発光素子で横方向に向かう光も発光素子間に充填される透光性樹脂を介して正面側に放射しやすい構造にされているため、チップ型発光素子が一定の間隙を介して縦横に配列されていても、その間隙部が暗くなって暗部が目立つということが無くなる。そのため、その正面側に光拡散板が設けられなくても、非常に面内で均一な輝度を有し、光拡散板による光の吸収損失を招くことなく、照明装置とすることができる。その結果、前述の直流駆動で、1素子当り電流を20mA流したとき、20m2の大きさの部屋の中で7000ルクスの明るさが得られた。これは、32Wの蛍光灯を約80本点灯したのと同程度の明るさである。 As described above, according to the present invention, since the chip type light emitting element is used as the light emitting element, a pair of electrodes is provided on the back surface of each chip type light emitting element, and is directly connected to the wiring on the surface of the insulating substrate. And can be mounted. Furthermore, since the chip-type light emitting element has a structure that easily emits light traveling in the lateral direction to the front side through a translucent resin filled between the light-emitting elements, the chip-type light emitting element is interposed through a certain gap. Even if they are arranged vertically and horizontally, the gap portion becomes dark and the dark portion does not stand out. Therefore, even if a light diffusing plate is not provided on the front side, the lighting device can have a uniform luminance within the surface and does not cause light absorption loss due to the light diffusing plate. As a result, a brightness of 7000 lux was obtained in a room with a size of 20 m 2 when a current of 20 mA per element was passed by the DC drive described above. This is about the same brightness as about 80 32 W fluorescent lamps.

また、発光面側に光拡散板を設けても、たとえば発光素子側の面にシボ加工など一定の凹凸を有する物を用いることができ、発光素子と光拡散板との距離dを30mm程度と非常に小さくし、しかも透過率が90%程度と透過率の高い光拡散板を使用することができるため、発光素子表面側の僅かな凸凹を気にならず、しかも発光素子間の僅かな縞模様も気にならず、美しい照明装置が得られる。   Further, even if a light diffusing plate is provided on the light emitting surface side, for example, a surface having a certain unevenness such as a textured surface on the light emitting device side can be used, and the distance d between the light emitting device and the light diffusing plate is about 30 mm. A light diffusing plate that is very small and has a high transmittance of about 90% can be used, so there is no concern for slight irregularities on the surface side of the light emitting element, and there are slight stripes between the light emitting elements. A beautiful lighting device can be obtained without worrying about the pattern.

本発明による照明装置の一実施形態の説明図である。It is explanatory drawing of one Embodiment of the illuminating device by this invention. 図1の例で用いられる発光素子の断面説明図である。FIG. 2 is a cross-sectional explanatory view of a light emitting element used in the example of FIG. 1. 本発明による照明装置の他の実施形態の説明図である。It is explanatory drawing of other embodiment of the illuminating device by this invention. 従来の発光素子を用いた電灯型照明装置の例を示す図である。It is a figure which shows the example of the electric light type illuminating device using the conventional light emitting element.

符号の説明Explanation of symbols

1 発光素子
2 絶縁性基板
3 透光性樹脂
4 放熱板
5 放熱手段
6 熱伝導グリス
8 光拡散板
11 絶縁基板
12 端子電極
13 LEDチップ
14 ワイヤ
16 被覆樹脂
17 発光色変換部材
DESCRIPTION OF SYMBOLS 1 Light emitting element 2 Insulating board 3 Translucent resin 4 Heat sink 5 Heat radiating means 6 Thermal conduction grease 8 Light diffusing plate 11 Insulating board 12 Terminal electrode 13 LED chip 14 Wire 16 Covering resin 17 Luminous color conversion member

Claims (4)

一面に電極配線が形成された絶縁性基板と、該絶縁性基板の一面上に前記電極配線と接続されるように縦横に配列してマウントされ、それぞれが直列および/または並列に接続される複数個の反射壁を有しないチップ型発光素子と、前記縦横に配列されたチップ型発光素子のそれぞれの間隙部に充填される透光性樹脂と、前記絶縁性基板の他面側に設けられる放熱板とを具備してなる照明装置。   An insulating substrate having an electrode wiring formed on one surface, and a plurality of electrodes mounted on the one surface of the insulating substrate so as to be connected to the electrode wiring in a vertical and horizontal direction and connected in series and / or in parallel. Chip-type light-emitting elements having no reflective walls, translucent resin filled in the gaps of the chip-type light-emitting elements arranged vertically and horizontally, and heat dissipation provided on the other surface side of the insulating substrate A lighting device comprising a plate. 前記チップ型発光素子の間隙部に充填される透光性樹脂が、前記チップ型発光素子の発光面側にも設けられ、前記チップ型発光素子の全体を被覆する外囲器として形成されてなる請求項1記載の照明装置。   A translucent resin filled in a gap portion of the chip type light emitting element is provided also on the light emitting surface side of the chip type light emitting element, and is formed as an envelope covering the entire chip type light emitting element. The lighting device according to claim 1. 前記チップ型発光素子の発光面側に該チップ型発光素子から一定間隔をあけて光拡散板が設けられてなる請求項1または2記載の照明装置。   The lighting device according to claim 1 or 2, wherein a light diffusing plate is provided on the light emitting surface side of the chip type light emitting element at a predetermined interval from the chip type light emitting element. 前記チップ型発光素子のLEDチップに青色発光または紫外光発光のLEDチップが用いられると共に、前記チップ型発光素子間の間隙部に充填される透光性樹脂に発光色変換部材が混入されてなる請求項1、2または3記載の照明装置。   A blue light emitting or ultraviolet light emitting LED chip is used as the LED chip of the chip type light emitting element, and a light emitting color conversion member is mixed in a translucent resin filled in a gap portion between the chip type light emitting elements. The lighting device according to claim 1, 2 or 3.
JP2004332656A 2004-11-17 2004-11-17 Lighting device Pending JP2006147214A (en)

Priority Applications (1)

Application Number Priority Date Filing Date Title
JP2004332656A JP2006147214A (en) 2004-11-17 2004-11-17 Lighting device

Applications Claiming Priority (1)

Application Number Priority Date Filing Date Title
JP2004332656A JP2006147214A (en) 2004-11-17 2004-11-17 Lighting device

Publications (1)

Publication Number Publication Date
JP2006147214A true JP2006147214A (en) 2006-06-08

Family

ID=36626664

Family Applications (1)

Application Number Title Priority Date Filing Date
JP2004332656A Pending JP2006147214A (en) 2004-11-17 2004-11-17 Lighting device

Country Status (1)

Country Link
JP (1) JP2006147214A (en)

Cited By (10)

* Cited by examiner, † Cited by third party
Publication number Priority date Publication date Assignee Title
JP2007258136A (en) * 2006-03-27 2007-10-04 Nidec Sankyo Corp Light source and lighting system
JP2009187773A (en) * 2008-02-06 2009-08-20 Toshiba Lighting & Technology Corp Lighting device
JP2010003674A (en) * 2008-05-20 2010-01-07 Toshiba Lighting & Technology Corp Light source unit, and lighting apparatus
JP2010129507A (en) * 2008-12-01 2010-06-10 Asahi Kasei Corp Lighting apparatus
JP2010526408A (en) * 2007-05-02 2010-07-29 コーニンクレッカ フィリップス エレクトロニクス エヌ ヴィ Solid state lighting device
JP2012529740A (en) * 2009-06-10 2012-11-22 シリシュ デビダス デシュパンデ Customizable, long-life and high thermal efficiency environmentally friendly solid state lighting
US8319320B2 (en) 2010-02-08 2012-11-27 Kabushiki Kaisha Toshiba LED module
US9006759B2 (en) 2010-04-15 2015-04-14 Citizen Electronics Co., Ltd. Light-emitting device
JP2016207290A (en) * 2015-04-15 2016-12-08 アイリスオーヤマ株式会社 Light source unit and luminaire
JPWO2016080006A1 (en) * 2014-11-19 2017-08-31 アイリスオーヤマ株式会社 Light source unit and lighting device

Cited By (12)

* Cited by examiner, † Cited by third party
Publication number Priority date Publication date Assignee Title
JP2007258136A (en) * 2006-03-27 2007-10-04 Nidec Sankyo Corp Light source and lighting system
JP2010526408A (en) * 2007-05-02 2010-07-29 コーニンクレッカ フィリップス エレクトロニクス エヌ ヴィ Solid state lighting device
JP2009187773A (en) * 2008-02-06 2009-08-20 Toshiba Lighting & Technology Corp Lighting device
JP2010003674A (en) * 2008-05-20 2010-01-07 Toshiba Lighting & Technology Corp Light source unit, and lighting apparatus
US8690392B2 (en) 2008-05-20 2014-04-08 Toshiba Lighting & Technology Corporation Light source unit and lighting system
JP2010129507A (en) * 2008-12-01 2010-06-10 Asahi Kasei Corp Lighting apparatus
JP2012529740A (en) * 2009-06-10 2012-11-22 シリシュ デビダス デシュパンデ Customizable, long-life and high thermal efficiency environmentally friendly solid state lighting
US8319320B2 (en) 2010-02-08 2012-11-27 Kabushiki Kaisha Toshiba LED module
US9006759B2 (en) 2010-04-15 2015-04-14 Citizen Electronics Co., Ltd. Light-emitting device
US9224720B2 (en) 2010-04-15 2015-12-29 Citizen Electronics Co., Ltd. Light-emitting device including light-emitting diode element that is mounted on outer portion of electrode
JPWO2016080006A1 (en) * 2014-11-19 2017-08-31 アイリスオーヤマ株式会社 Light source unit and lighting device
JP2016207290A (en) * 2015-04-15 2016-12-08 アイリスオーヤマ株式会社 Light source unit and luminaire

Similar Documents

Publication Publication Date Title
CN101794762B (en) Light source module and lighting device
US7868345B2 (en) Light emitting device mounting substrate, light emitting device housing package, light emitting apparatus, and illuminating apparatus
US9297500B2 (en) Light emitting module, lighting device, and lighting apparatus
US8604679B2 (en) LED light source lamp having drive circuit arranged in outer periphery of led light source
US20110309379A1 (en) Light-emitting device and luminare
US10403797B2 (en) Light-emitting device and illumination apparatus
US9048367B2 (en) Multichip package structure for generating a symmetrical and uniform light-blending source
CN105257992A (en) Light-emitting module, and illumination light source and illumination device using same
JP2017163001A (en) Light-emitting module and lighting device
JP4096927B2 (en) LED lighting source
JP5347515B2 (en) Lighting device
JP2016171147A (en) Light emitting device and lighting device
WO2011024861A1 (en) Light-emitting device and illuminating device
JP5993497B2 (en) LED lighting device
CN102418862A (en) Lighting device and lighting device
CN203115588U (en) Light source device and illuminating device
US10490721B2 (en) Light-emitting device and illuminating apparatus
US9443832B2 (en) Light emitting device, light source for illumination, and illumination apparatus
JP2006147214A (en) Lighting device
JP2014082481A (en) Light-emitting device
JP2015133455A (en) Light-emitting device, illumination light source, and luminaire
JP2006107850A (en) Lighting device
CN104075155A (en) Lamps and lighting fixtures
JP2012009282A (en) Light-emitting device, and lighting apparatus
JP2015133450A (en) Light-emitting device, illumination light source, and luminaire