JP2006136576A - Desk structure - Google Patents

Desk structure Download PDF

Info

Publication number
JP2006136576A
JP2006136576A JP2004329808A JP2004329808A JP2006136576A JP 2006136576 A JP2006136576 A JP 2006136576A JP 2004329808 A JP2004329808 A JP 2004329808A JP 2004329808 A JP2004329808 A JP 2004329808A JP 2006136576 A JP2006136576 A JP 2006136576A
Authority
JP
Japan
Prior art keywords
support leg
connecting rod
desk
screw
joint material
Prior art date
Legal status (The legal status is an assumption and is not a legal conclusion. Google has not performed a legal analysis and makes no representation as to the accuracy of the status listed.)
Granted
Application number
JP2004329808A
Other languages
Japanese (ja)
Other versions
JP4546805B2 (en
Inventor
Hisato Fujita
寿人 藤田
Current Assignee (The listed assignees may be inaccurate. Google has not performed a legal analysis and makes no representation or warranty as to the accuracy of the list.)
Okamura Corp
Original Assignee
Okamura Corp
Priority date (The priority date is an assumption and is not a legal conclusion. Google has not performed a legal analysis and makes no representation as to the accuracy of the date listed.)
Filing date
Publication date
Application filed by Okamura Corp filed Critical Okamura Corp
Priority to JP2004329808A priority Critical patent/JP4546805B2/en
Publication of JP2006136576A publication Critical patent/JP2006136576A/en
Application granted granted Critical
Publication of JP4546805B2 publication Critical patent/JP4546805B2/en
Anticipated expiration legal-status Critical
Expired - Fee Related legal-status Critical Current

Links

Images

Landscapes

  • Tables And Desks Characterized By Structural Shape (AREA)
  • Furniture Connections (AREA)

Abstract

<P>PROBLEM TO BE SOLVED: To provide a desk structure by which a desk can be constituted with a reduced number of members, and at the same time, can provide a good appearance by sharing supporting legs even when the desk is constituted by arranging a plurality of top boards side by side, and also, which has a sufficient strength. <P>SOLUTION: The desk is constituted by providing top boards on a base section which is formed by connecting a plurality of the supporting legs 2 arranged to be separated on the right and the left sides with a connecting rod 3. In the desk, a symmetrical joint receiving section 11 is formed at the upper end of the supporting leg 2. A connecting section is constituted by attaching a joint member 12 at least on one of the right and left side surfaces of the joint receiving section 11. In this desk structure, a plurality of the supporting legs are connected with the connecting rod by the connecting section. <P>COPYRIGHT: (C)2006,JPO&NCIPI

Description

本発明は、オフィス等の執務空間において使用されるデスクの構造に関する。   The present invention relates to a desk structure used in a work space such as an office.

前記執務空間において使用されるデスクとしては、左右の脚、袖箱などの支持脚を天板裏面の左右端部に取付けるとともに、背面における左右の支持脚間の隙間を幕板で覆うことによって構成したものが多く見られる(たとえば、特許文献1,2)。   The desk used in the office space is constructed by attaching support legs such as left and right legs and sleeve boxes to the left and right ends of the back of the top board and covering the gap between the left and right support legs on the back with a curtain. (For example, Patent Documents 1 and 2).

また、より簡単な構造で、軽快なデザインを実現するため、杆材によって門型に形成した脚体同士を、横連結杆を用いて連結して構成したものも公知である(特許文献3)。
しかし、これらのデスクは、いずれも一台完結型の構造をしているため、複数のデスクを左右に並べて使用したい場合においては、各デスクを単純に横並びに並べて使用することになる。
この場合、隣接するデスクの端部では、2つの支持脚が並んで配置されることになり、構造上の無駄になるとともに、体裁も好ましいものではなかった。
そのため、複数のデスクを左右に並べて使用したい場合に、隣合うデスクとの連結部分において、支持脚を共用する構造のものが提案されている(特許文献4)。
この提案のものは、連結部分の構造上の無駄を省くことができるとともに、体裁も良好である。
しかし、支持脚と天板を、単にブラケットによって連結することによってデスクを構成しているため、強度的に必ずしも充分とはいえない。
特開2003−219912号公報 特開2003−135161号公報 特許第3316187号公報 特開2003−339450号公報
Moreover, in order to realize a lighter design with a simpler structure, a structure in which legs formed in a gate shape with a saddle member are connected using a laterally connected rod is also known (Patent Document 3). .
However, since all of these desks have a complete structure, when it is desired to use a plurality of desks side by side, the desks are simply used side by side.
In this case, two support legs are arranged side by side at the end portions of the adjacent desks, and the structure is wasted and the appearance is not preferable.
Therefore, when it is desired to use a plurality of desks side by side, there has been proposed a structure in which support legs are shared at a connection portion between adjacent desks (Patent Document 4).
This proposal can eliminate the structural waste of the connecting portion and has a good appearance.
However, since the desk is configured by simply connecting the support legs and the top plate with brackets, the strength is not always sufficient.
JP 2003-219912 A JP 2003-135161 A Japanese Patent No. 3316187 JP 2003-339450 A

本発明は、前記の問題点に鑑み、デスクを最少限の種類の部材で構成するとともに、複数の天板を左右に並べてデスクを構成したい場合においても、構造上の無駄がなく、かつ充分な強度を有し、さらに体裁も良好なデスクを構成することができるデスク構造を提供することを目的とする。   In view of the above-mentioned problems, the present invention is configured with a minimum number of types of members, and there is no structural waste even when a desk is configured by arranging a plurality of top plates on the left and right. It is an object of the present invention to provide a desk structure that can form a desk having strength and good appearance.

上記課題は、特許請求の範囲における各請求項に示すように、下記の構成を備える発明によって解決される。
(1) 左右に離間して配置した複数の支持脚を連結杆で連結することにより形成したベース部の上方に天板を設けてなるデスクにおいて、支持脚の上端部に左右対称なジョイント受部を形成し、このジョイント受部の左右側面の少なくとも一方に、ジョイント材を取付けることにより連結部を構成し、この連結部をもって、複数の支持脚を連結杆で連結したデスク構造とする。
The above-described problems are solved by the invention having the following configuration, as shown in each of the claims.
(1) In a desk in which a top plate is provided above a base portion formed by connecting a plurality of support legs spaced apart on the left and right with a connecting rod, a left and right symmetrical joint receiving portion on the upper end portion of the support legs The connecting portion is formed by attaching a joint material to at least one of the left and right side surfaces of the joint receiving portion, and the connecting portion is used as a desk structure in which a plurality of support legs are connected by a connecting rod.

(2) 上記(1)項において、ジョイント受部を、支持脚の上端部における後部に、左右方向に貫通するねじ孔を螺設することにより形成し、ジョイント材における左右いずれかの一端に穿設された挿通孔を介して、取付ねじを前記ねじ孔に螺合することにより、ジョイント材をジョイント受部に取付ける。   (2) In the above item (1), the joint receiving portion is formed by screwing a screw hole penetrating in the left-right direction at the rear portion at the upper end portion of the support leg, and drilled at one of the left and right ends of the joint material. The joint material is attached to the joint receiving portion by screwing the attachment screw into the screw hole through the provided insertion hole.

(3) 上記(1)項または(2)項において、連結杆を管材によって形成し、連結部における左右方向のジョイント材を、前記連結杆に内嵌させることにより、連結杆を連結部に固定する。   (3) In the above paragraph (1) or (2), the connecting rod is formed of a pipe material, and the connecting rod is fixed to the connecting portion by fitting the joint material in the horizontal direction in the connecting portion into the connecting rod. To do.

(4) 上記(1)項〜(3)項のいずれかにおいて、天板裏面の後部に設けたねじ孔に、連結杆およびジョイント材に穿設した挿通孔を介して、固定ねじを螺合することにより、天板とベース部とを連結する。   (4) In any one of the above items (1) to (3), the fixing screw is screwed into the screw hole provided in the rear portion of the back surface of the top plate through the insertion hole formed in the connecting rod and the joint material. By doing so, a top plate and a base part are connected.

(5) 上記(1)項〜(4)項のいずれかにおいて、連結杆を、支持脚の連結部に対して相対的に左右方向に移動させた複数の位置で固定しうるようにして、デスク端部においては、支持脚の左右外側の側面を、天板端面とほぼ同一面になしうるとともに、複数の天板を左右に連結した場合の天板連結部においては、支持脚を、隣接する天板の合わせ部の下方に位置させうるようにする。   (5) In any one of the above items (1) to (4), the connecting rod can be fixed at a plurality of positions moved in the left-right direction relative to the connecting portion of the support leg, At the desk end, the left and right outer sides of the support leg can be made substantially flush with the top plate end surface, and at the top plate connecting portion when a plurality of top plates are connected to the left and right, the support legs are adjacent to each other. So that it can be positioned below the mating portion of the top plate.

(6) 上記(5)項において、ジョイント材および連結杆に上下方向の挿通孔を、少なくとも一方には左右方向に複数個穿設し、これら複数個のうちの所望の挿通孔を選んで、他方の挿通孔と位置合わせをした後、これらの挿通孔に、連結杆の一方の外側から固定ねじを挿通して、連結杆の他方の外側面に当接させた連結支持具のねじ孔に螺合することにより、連結杆を、支持脚の連結部に対して相対的に左右方向に移動させた所望の位置で固定しうるようにする。   (6) In the above item (5), a plurality of vertical insertion holes are formed in the joint material and the connecting rod, and at least one of them is formed in the horizontal direction. After aligning with the other insertion holes, through these insertion holes, a fixing screw is inserted from one outer side of the connection rod, and the screw holes of the connection support tool abutted against the other outer surface of the connection rod. By screwing, the connecting rod can be fixed at a desired position moved in the left-right direction relative to the connecting portion of the support leg.

(7) 上記(6)項において、ジョイント材を、前向きコ字部材と後向きコ字部材とを、その背面板同士を固着し、この固着した二重の背面板部分に、上下方向の挿通孔を左右方向に複数個穿設し、かつ左右のいずれか一端に、挿通孔を穿設した側板を取付けることにより構成する。   (7) In the above paragraph (6), the joint material, the forward U-shaped member and the rearward U-shaped member are fixed to each other on the back plates, and the vertically inserted through holes are formed in the fixed double back plate portions. Is formed by attaching a side plate having an insertion hole to one of the left and right ends.

(8) 上記(6)項または(7)項において、連結支持具にねじ孔と挿通孔の両者を設け、連結支持具を連結杆の下面に当接し、上方より連結杆、ジョイント材の両者の挿通孔を挿通させた固定ねじを連結支持具のねじ孔に螺合して、連結杆を支持脚の連結部に固定するとともに、下方より連結支持具、連結杆、ジョイント材の3者の挿通孔を挿通させた取付けねじを、天板裏面の後部に設けたねじ孔に螺合することにより、天板とベース部とを連結する。   (8) In the above item (6) or (7), the connection support is provided with both screw holes and insertion holes, the connection support is brought into contact with the lower surface of the connection rod, and both the connection rod and the joint material are viewed from above. The fixing screw through which the insertion hole is inserted is screwed into the screw hole of the connection support tool, and the connection rod is fixed to the connection portion of the support leg. The top plate and the base portion are connected by screwing a mounting screw through which the insertion hole is inserted into a screw hole provided in the rear portion of the back surface of the top plate.

(9) 上記(6)項〜(8)項のいずれかにおいて、連結支持具を、断面台形状の左右方向に長い平板の上面中央に位置決め突起を設けるとともに、この突起の左右にねじ孔を、このねじ孔の左右外側に挿通孔をそれぞれ設けて形成し、かつ連結杆の下面に、前記連結支持具が嵌合する左右方向の嵌合溝を設ける。   (9) In any one of the above items (6) to (8), the connection support is provided with a positioning projection at the center of the upper surface of the flat plate having a trapezoidal cross section in the left-right direction, and screw holes on the left and right of the projection The insertion holes are respectively formed on the left and right outer sides of the screw holes, and the fitting grooves in the left and right directions in which the coupling support is fitted are provided on the lower surface of the coupling rod.

(10) 上記(1)項〜(9)項のいずれかにおいて、支持脚の上端前部に、左右方向に複数の挿通孔を穿設した取付ブラケットを、前記挿通孔の一部に挿通させた取付ねじをもって取付けるとともに、下方より他の挿通孔に挿通させた固定ねじを天板裏面の前部に設けたねじ孔に螺合することにより、支持脚の上端前部と天板前部とを連結する。   (10) In any one of the above items (1) to (9), a mounting bracket having a plurality of insertion holes in the left-right direction is inserted into a part of the insertion hole in the front upper end of the support leg. The upper end front part of the support leg and the front part of the top plate are connected to each other by screwing the fixing screw inserted into the other insertion hole from below with the screw hole provided in the front part of the back surface of the top board. Link.

(11) 上記(1)項〜(10)項のいずれかにおいて、支持脚におけるジョイント受部の左右側面のうち、ジョイント材が取付けられていない側面に、カバー部材を、このカバー部材の裏面に設けた係止突起を、ジョイント受部のねじ孔に係止させることにより取付ける。   (11) In any one of the above items (1) to (10), the cover member is placed on the back surface of the cover member on the side surface of the support leg where the joint material is not attached among the left and right side surfaces of the joint receiving portion. The provided locking projection is attached by being locked to the screw hole of the joint receiving portion.

(12) 上記(11)項において、支持脚におけるジョイント受部の左右方向の厚みを、支持脚の厚みより小さくして、支持脚とジョイント受部の両者の左右側面間に段差を設け、ジョイント材が取付けられていないジョイント受部側面に取付けたカバー部材の側面が、支持脚の側面とほぼ同一面となるようにする。   (12) In the above item (11), the thickness of the joint receiving part in the support leg in the left-right direction is made smaller than the thickness of the support leg, and a step is provided between the left and right side surfaces of both the support leg and the joint receiving part. The side surface of the cover member attached to the side surface of the joint receiving portion to which no material is attached is made to be substantially flush with the side surface of the support leg.

本発明によると、次のような効果が奏せられる。
請求項1記載の発明によれば、支持脚の上端部に左右対称なジョイント受部を形成してあるため、同一の支持脚を左右いずれの支持脚としても使用できるとともに、複数の天板を左右に並べてデスクを構成する場合にも、1個の支持脚を隣接する天板の支持脚として共有することができるため、最少限の種類の部材でデスクを構成することができる。したがって構造上の無駄がなく、体裁も良好なデスクが得られる。
また、支持脚のジョイント受部にジョイント材を取付けて連結部を構成し、この連結部をもって複数の支持脚を連結杆で連結してあるため、充分な強度を確保することができる。
According to the present invention, the following effects can be obtained.
According to the first aspect of the present invention, since the left and right symmetrical joint receiving portions are formed at the upper end of the support leg, the same support leg can be used as either the left or right support leg, and a plurality of top plates can be used. Even when the desks are arranged side by side, since one support leg can be shared as the support legs of the adjacent top plates, the desk can be constituted by the minimum number of types of members. Accordingly, there is no structural waste and a desk with good appearance can be obtained.
In addition, since a joint member is attached to the joint receiving portion of the support leg to form a connecting portion, and the plurality of supporting legs are connected by the connecting rod with this connecting portion, sufficient strength can be ensured.

請求項2記載の発明によれば、ねじ孔を螺設するだけでジョイント受部を形成することができるとともに、ねじ孔が左右に貫通しているため、左右のいずれにもジョイント材を簡単に取付けることができる。   According to the second aspect of the present invention, the joint receiving portion can be formed only by screwing the screw hole, and the screw hole penetrates to the left and right. Can be installed.

請求項3記載の発明によれば、連結杆をジョイント材に簡単に連結することができるとともに、ジョイント材が連結杆に内嵌されているため、ジョイント材の端部等が露出せず外観が良好である。   According to the invention of claim 3, the connecting rod can be easily connected to the joint material, and the joint material is fitted in the connecting rod, so that the end portion of the joint material is not exposed and the appearance is improved. It is good.

請求項4記載の発明によれば、天板がベース部に強固に連結される。   According to invention of Claim 4, a top plate is firmly connected with a base part.

請求項5記載の発明によれば、デスクを構成する天板が単数、複数いずれの場合も、同一の部材を用いて容易にデスクを構成することができる。   According to the fifth aspect of the present invention, the desk can be easily configured by using the same member regardless of whether the desk includes a single top plate or a plurality of top plates.

請求項6記載の発明によれば、デスクを構成する天板が単数、複数いずれであるかに応じて、支持脚の位置を容易に変更することができるとともに、左右方向の長さが異なる1つの天板に対しても、同一の連結杆を用いて対応することができる。   According to the sixth aspect of the present invention, the position of the support leg can be easily changed and the length in the left-right direction is different depending on whether the top plate constituting the desk is single or plural. One top plate can be handled using the same connecting rod.

請求項7記載の発明によれば、二重の背面板部分に挿通孔が穿設されているため充分な強度を有するデスクが得られるとともに、ジョイント材の前後が開放されているためジョイント材を左右方向から支持脚に取付ける際の作業性に優れる。   According to the seventh aspect of the present invention, since the insertion hole is formed in the double back plate portion, a desk having sufficient strength can be obtained, and the front and rear sides of the joint material are opened. Excellent workability when attaching to the support leg from the left-right direction.

請求項8記載の発明によれば、ジョイント材を介した支持脚と連結杆との連結、およびこれら支持脚と連結杆とからなるベース部と天板との連結を、いずれも充分な強度を有するように強固になすことができる。   According to the eighth aspect of the present invention, the connection between the support leg and the connection rod through the joint material, and the connection between the base portion made of these support leg and the connection rod and the top plate have sufficient strength. It can be made to be strong.

請求項9記載の発明によれば、ジョイント材を介した連結杆の支持脚への連結が強固になされるとともに、嵌合溝に連結支持具が嵌合されるため、外観上の体裁が良好となる。   According to the ninth aspect of the present invention, the connection to the support leg of the connection rod through the joint material is made strong, and the connection support is fitted into the fitting groove, so that the appearance is good. It becomes.

請求項10記載の発明によれば、支持脚の上端前部と天板裏面の前部とを容易に固定することができる。   According to the invention described in claim 10, the upper end front portion of the support leg and the front portion of the back surface of the top plate can be easily fixed.

請求項11記載の発明によれば、カバー部材を容易に取付けることができるとともに、カバー部材の取付けによって、外観が向上する。   According to the eleventh aspect of the present invention, the cover member can be easily attached and the appearance is improved by the attachment of the cover member.

請求項12記載の発明によれば、デスク端部における外観上の体裁が向上する。   According to the twelfth aspect of the present invention, the appearance on the desk edge is improved.

以下、本発明の実施形態を図面に基づいて説明する。   Hereinafter, embodiments of the present invention will be described with reference to the drawings.

図1は、本発明のデスク構造を備えるデスクの後方斜視図、図2は、図1に示したデスクの分解斜視図である。
なお、本明細書における左右とは、図1に示すデスクの後方視における左右を指称する。
FIG. 1 is a rear perspective view of a desk having the desk structure of the present invention, and FIG. 2 is an exploded perspective view of the desk shown in FIG.
Note that the left and right in this specification refer to the left and right in the rear view of the desk shown in FIG.

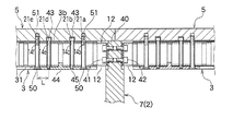
デスク(1)は、左右に離間して配置された3個の支持脚(2)を2本の連結杆(3)(3)で連結して構成されたベース部(4)の上側に、左右2枚の天板(5)(5)を配設して形成されている。   The desk (1) is arranged on the upper side of a base part (4) formed by connecting three support legs (2) spaced apart from each other with two connecting rods (3) (3). Two left and right top plates (5) and (5) are arranged.

支持脚(2)は、デスク(1)の左右端においてはパネル型支持脚(6)(6)、中央においては、前向きコ字型支持脚(7)が用いられている。   The support legs (2) are panel-type support legs (6) and (6) at the left and right ends of the desk (1), and a forward U-shaped support leg (7) at the center.

図3は、図2における破線円A内の要部拡大図である。   FIG. 3 is an enlarged view of a main part in a broken-line circle A in FIG.

図3に示すように、パネル型支持脚(6)は、ほぼ正方形のパネル本体部(6a)と、このパネル本体部(6a)の上面に形成された左右方向の幅が、パネル本体部(6a)の幅よりも小さい上端部(6b)と、パネル本体部(6a)の下端の前後部に取付けられたアジャスタ(8)(8)(図1参照)とより構成されている。   As shown in FIG. 3, the panel-type support leg (6) has a substantially square panel body (6a) and a horizontal width formed on the upper surface of the panel body (6a). The upper end portion (6b) smaller than the width of 6a) and adjusters (8) and (8) (see FIG. 1) attached to the front and rear portions of the lower end of the panel main body portion (6a).

前記上端部(6b)とパネル本体部(6a)の両者の左右側面間には、段差が形成され、パネル型支持脚(6)は左右対称となっている。   Steps are formed between the left and right side surfaces of the upper end portion (6b) and the panel body portion (6a), and the panel-type support legs (6) are symmetrical.

前記段差における段差面(9)は、前後方向に水平に延び、後端において下向きに傾斜した後、水平に延びている。前記上端部(6b)の後端縁面(6c)は、パネル本体部(6a)の後端縁面(6d)よりも若干前方に位置している。上端部(6b)における後部は、左右方向に貫通するねじ孔(10)が上下左右に4個螺設されてジョイント受部(11)が形成されている。   The step surface (9) in the step extends horizontally in the front-rear direction, and inclines downward at the rear end, and then extends horizontally. The rear end edge surface (6c) of the upper end portion (6b) is located slightly ahead of the rear end edge surface (6d) of the panel main body portion (6a). At the rear part of the upper end part (6b), four screw holes (10) penetrating in the left-right direction are screwed up and down and left and right to form a joint receiving part (11).

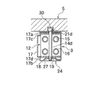
このジョイント受部(11)には、後記するようにジョイント材(12)が取付けられる。図4は、ジョイント材の拡大斜視図であり、(a)は左方上方視、(b)は右方上方視における拡大斜視図である。図4に示すように、ジョイント材(12)は、前向きコ字部材(13a)と後向きコ字部材(13b)とを、その背面板(13c)(13d)同士を溶着手段等により固着し、この固着した二重の背面板部分に、上下方向の挿通孔(14)を左右方向に等間隔Lで7個穿設し、かつ左右方向の一端に、上下左右4個の挿通孔(15)が穿設された側板(16)を、同じく溶着手段等により取付けて構成されている。
なお、前記挿通孔(14)間の間隔Lは、支持脚(2)の左右方向の幅寸法の半分となっている。
A joint material (12) is attached to the joint receiving portion (11) as described later. 4A and 4B are enlarged perspective views of the joint material, in which FIG. 4A is an enlarged perspective view in the upper left direction, and FIG. 4B is an enlarged perspective view in the upper right view. As shown in FIG. 4, the joint material (12) has the forward U-shaped member (13a) and the rearward U-shaped member (13b) fixed to each other with the back plates (13c) and (13d) by welding means or the like. In this fixed double back plate portion, seven vertical insertion holes (14) are formed at equal intervals L in the horizontal direction, and four vertical and horizontal insertion holes (15) are formed at one end in the horizontal direction. Similarly, the side plate (16) with the holes is attached by welding means or the like.
In addition, the space | interval L between the said insertion holes (14) is half of the width dimension of the left-right direction of a support leg (2).

図5は、連結杆(3)の要部拡大斜視図である。図5に示すように、連結杆(3)は、断面がほぼ四辺形の管材からなり、後面(17)における上下端部(17a)(17b)が、横向きの段差面(17c)(17d)を介して後方に突出しており、下面(18)の前後方向の中央には、左右方向を向く台形状の嵌合溝(19)が設けられている。   FIG. 5 is an enlarged perspective view of a main part of the connecting rod (3). As shown in FIG. 5, the connecting rod (3) is made of a pipe having a substantially quadrangular cross section, and the upper and lower ends (17a) and (17b) of the rear surface (17) are laterally stepped surfaces (17c) and (17d). A trapezoidal fitting groove (19) facing in the left-right direction is provided at the center in the front-rear direction of the lower surface (18).

連結杆(3)の左右端部(3a)(3b)には、上面(20)から下面(18)に貫通する挿通孔(21a)(21b)(21d)(21e)が左右方向に4個設けられるとともに、下面(18)には、前記4個の挿通孔のうちの左端部(3a)から2番目と3番目の挿通孔(21b)(21d)の間に相当する位置に1個の挿通孔(21c)が設けられ、これら5個の挿通孔は、左右方向に等間隔で並んでいる。   The left and right ends (3a) and (3b) of the connecting rod (3) have four insertion holes (21a), (21b), (21d) and (21e) penetrating from the upper surface (20) to the lower surface (18) in the left-right direction. The lower surface (18) is provided with one piece at a position corresponding to the space between the second and third insertion holes (21b) (21d) from the left end (3a) of the four insertion holes. Insertion holes (21c) are provided, and these five insertion holes are arranged at equal intervals in the left-right direction.

また連結杆(3)の後面(17)には、後記するデスクトップパネル用ブラケット(22)を取付けるためのねじ孔(23)が設けられている。   The rear surface (17) of the connecting rod (3) is provided with a screw hole (23) for mounting a desktop panel bracket (22) described later.

連結杆(3)の下面に設けられた前記嵌合溝(19)には、後記するように、連結支持具(24)が嵌合される。   As will be described later, the connection support (24) is fitted into the fitting groove (19) provided on the lower surface of the connection rod (3).

図6は、連結支持具(24)の拡大斜視図である。   FIG. 6 is an enlarged perspective view of the connection support (24).

図6に示すように、連結支持具(24)は、断面台形状の左右方向に長い平板(25)の上面中央に四角柱状の位置決め突起(26)を設け、この位置決め突起(26)の左右にねじ孔(27)(27)、このねじ孔(27)(27)の左右外側に挿通孔(28)(28)をそれぞれ設けて形成されている。   As shown in FIG. 6, the connection support (24) is provided with a rectangular columnar positioning projection (26) at the center of the upper surface of a flat plate (25) having a trapezoidal cross section in the left-right direction. Screw holes (27) and (27), and through holes (28) and (28) are formed on the left and right outer sides of the screw holes (27) and (27), respectively.

これらのジョイント材(12)および連結支持具(24)を用いて、連結杆(3)をパネル型支持脚(6)に連結するには、次の手順による。   In order to connect the connecting rod (3) to the panel-type support leg (6) using the joint material (12) and the connecting support (24), the following procedure is used.

図8は、図1において天板(5)を取り外した状態のデスク端部における一部破断した拡大要部平面図、図9,図10,図11は、それぞれ図8におけるIX〜IX線縦断面図、X〜X線縦断面図、XI〜XI線縦断面図である。   8 is a plan view of an enlarged main part partly broken at the end of the desk with the top plate (5) removed in FIG. 1, and FIGS. 9, 10, and 11 are longitudinal sections taken along lines IX to IX in FIG. 8, respectively. It is a surface view, X-X line longitudinal cross-sectional view, and XI-XI line longitudinal cross-sectional view.

図8,図9,図3に示すように、まず、パネル型支持脚(6)におけるジョイント受部(11)の右側側面(11a)に、ジョイント材(12)における側板(16)を当接し、右方より取付ねじ(29)を側板(16)の挿通孔(15)を介して、ジョイント受部(11)のねじ孔(10)に螺合してジョイント材(12)をジョイント受部(11)に取付ける。   As shown in FIGS. 8, 9 and 3, first, the side plate (16) of the joint material (12) is brought into contact with the right side surface (11a) of the joint receiving portion (11) of the panel-type support leg (6). From the right side, the mounting screw (29) is screwed into the screw hole (10) of the joint receiving part (11) through the insertion hole (15) of the side plate (16) to connect the joint material (12) to the joint receiving part. Install to (11).

次いで、連結杆(3)を前記ジョイント材(12)に外嵌し、連結杆(3)における4個の挿通孔(21a)〜(21e)と、ジョイント材(12)における7個の挿通孔(14a)……(14g)のうちの側板(16)に近い方から、第1,2,4,5番目の挿通孔(14a)(14b)(14d)(14e)とを位置合わせし、連結支持具(24)を下方から連結杆(3)における下面(18)の嵌合溝(19)に嵌合させるとともに、連結支持具(24)の位置決め突起(26)を連結杆(3)の下面(18)の挿通孔(21c)およびジョイント材(12)の挿通孔(14c)に嵌挿する。   Next, the connecting rod (3) is externally fitted to the joint material (12), and the four insertion holes (21a) to (21e) in the connecting rod (3) and the seven insertion holes in the joint material (12). (14a) ... From (14g), the side closer to the side plate (16), the first, second, fourth, and fifth insertion holes (14a) (14b) (14d) (14e) are aligned, The connecting support (24) is fitted into the fitting groove (19) of the lower surface (18) of the connecting rod (3) from below, and the positioning protrusion (26) of the connecting support (24) is connected to the connecting rod (3). It is inserted into the insertion hole (21c) on the lower surface (18) and the insertion hole (14c) of the joint material (12).

次に、2本の固定ねじ(30)(30)を、上方から、それぞれ連結杆(3)の挿通孔(21b)(21d)およびジョイント材(12)の挿通孔(14b)(14d)を介して、連結支持具(24)のねじ孔(27)(27)に螺合することにより、連結杆(3)を、ジョイント受部(11)とジョイント材(12)とからなる連結部(31)を介してパネル型支持脚(6)に連結する。   Next, the two fixing screws (30) and (30) are inserted into the insertion holes (21b) and (21d) of the connecting rod (3) and the insertion holes (14b) and (14d) of the joint material (12) from above. The coupling rod (3) is screwed into the screw holes (27), (27) of the coupling support (24), thereby connecting the coupling rod (3) to the coupling portion (11) composed of the joint receiving portion (11) and the joint material (12). It is connected to the panel-type support leg (6) via 31).

その後、ジョイント受部(11)の左側面(11b)および後面(11c)を端部カバー部材(32)で被覆する。   Thereafter, the left side surface (11b) and the rear surface (11c) of the joint receiving portion (11) are covered with the end cover member (32).

図7は、端部カバー部材(32)の拡大斜視図であり、(a)は表面上方視、(b)は裏面上方視である。   FIG. 7 is an enlarged perspective view of the end cover member (32), where (a) is a top view on the front surface and (b) is a top view on the back surface.

端部カバー部材(32)は、側面片(33)と後面片(34)とよりなる。
側面片(33)は、図7(a)において左側方視における形状が、前縁(33a)が上端から下端に向けて後傾する四辺形をなし、裏面(33b)には、4個の係止突起(35)が設けられ、そのうち2個の係止突起(35a)(35a)には、先端に係止爪(35b)が設けられ、他の2個の係止突起(35c)(35c)は、断面十字状をなしている。側面片(33)の裏面(33b)における後端には、上下2枚の係止片(36)(36)が突設されている。
The end cover member (32) includes a side piece (33) and a rear piece (34).
The side piece (33) has a quadrilateral shape in which the front edge (33a) is inclined backward from the upper end to the lower end in FIG. 7 (a), and four pieces are provided on the back surface (33b). A locking projection (35) is provided, of which two locking projections (35a) (35a) are provided with a locking claw (35b) at the tip and the other two locking projections (35c) ( 35c) has a cross-shaped cross section. At the rear end of the back surface (33b) of the side piece (33), two upper and lower locking pieces (36) and (36) are projected.

一方、後面片(34)は、後方視において縦長四辺形の本体(37)と、この本体(37)の上下端面(37a)(37b)における前縁に上下方向に延設された上下補助片(37c)(37d)と、本体(37)の右端面(37e)から右方に延設された差込片(38)とよりなる。本体(37)の左端面(37f)には、上下に2個の係合孔(39)(39)が設けられている。   On the other hand, the rear surface piece (34) includes a vertically long rectangular main body (37) in the rear view, and a vertical auxiliary piece extending in the vertical direction at the front edge of the upper and lower end surfaces (37a) and (37b) of the main body (37). (37c) (37d) and an insertion piece (38) extending rightward from the right end surface (37e) of the main body (37). On the left end surface (37f) of the main body (37), two engagement holes (39) and (39) are provided on the upper and lower sides.

端部カバー部材(32)は、側面片(33)における係止片(36)(36)を、後面片(34)の係合孔(39)(39)に嵌挿して係止することにより形成される。   The end cover member (32) is configured by inserting and locking the locking pieces (36) and (36) of the side piece (33) into the engaging holes (39) and (39) of the rear piece (34). It is formed.

図3において矢印Yで示すように、端部カバー部材(32)における後面片(34)の差込片(38)を、連結杆(3)とジョイント材(12)間の隙間に差込むとともに、側面片(33)の係止突起(35)を、ジョイント受部(11)におけるねじ孔(10)に嵌合させることにより、図8,図1に示すように、端部カバー部材(32)は連結部(31)に装着され、ジョイント受部(11)の左側面(11b)と後面(11c)とは、端部カバー部材(32)によって覆われる。端部カバー部材(32)の左側面と支持脚(2)の左側面とは、ほぼ同一面となっている。   As shown by an arrow Y in FIG. 3, the insertion piece (38) of the rear face piece (34) in the end cover member (32) is inserted into the gap between the connecting rod (3) and the joint material (12). By engaging the locking protrusion (35) of the side piece (33) with the screw hole (10) in the joint receiving portion (11), as shown in FIGS. ) Is attached to the connecting portion (31), and the left side surface (11b) and the rear surface (11c) of the joint receiving portion (11) are covered by the end cover member (32). The left side surface of the end cover member (32) and the left side surface of the support leg (2) are substantially the same surface.

なお、図12は、図9における破線円C内の拡大図であり、端部カバー部材(32)における係止突起(35a)の係止爪(35b)が、ジョイント受部(11)のねじ孔(10)に係止されている状態を示す。   FIG. 12 is an enlarged view in a broken-line circle C in FIG. 9, and the locking claw (35b) of the locking projection (35a) in the end cover member (32) is the screw of the joint receiving portion (11). The state locked to the hole (10) is shown.

図14は、図2における破線円B内の要部拡大図、図16は、図1において天板(5)を取り外した状態の左右方向のデスク中央部における一部破断した拡大要部平面図、図17は、図16におけるXVII〜XVII線縦断面図である。   14 is an enlarged view of the main part in the broken-line circle B in FIG. 2, and FIG. 16 is an enlarged plan view of the main part partially broken at the center part of the desk in the left-right direction with the top plate (5) removed in FIG. FIG. 17 is a longitudinal sectional view taken along line XVII-XVII in FIG.

図14,図16,図17に示すように、デスクの左右方向の中央部、すなわち天板(5)(5)の連結部においては、支持脚(2)が、隣接する天板(5)(5)の合わせ部の下方に位置するようになっている。デスク中央部における支持脚(2)には、前向きコ字型支持脚(7)が用いられている(図2参照)。前向きコ字型支持脚(7)におけるジョイント受部(40)の左右側面に、取付ねじ(41)(42)を用いて、前記したデスク端部の場合と同様の方法で、それぞれジョイント材(12)(12)を取付ける。ジョイント材(12)には、図4に示したように、7個の挿通孔(14a)〜(14g)が設けられている。   As shown in FIGS. 14, 16, and 17, at the central portion of the desk in the left-right direction, that is, at the connecting portion of the top plates (5) and (5), the support leg (2) is adjacent to the top plate (5). It is located below the mating part (5). A forward U-shaped support leg (7) is used for the support leg (2) in the center of the desk (see FIG. 2). By using mounting screws (41) and (42) on the left and right side surfaces of the joint receiving portion (40) in the forward U-shaped support leg (7), the joint material ( 12) Install (12). As shown in FIG. 4, the joint material (12) is provided with seven insertion holes (14a) to (14g).

連結杆(3)の右端部(3b)には、図5に示した左端部(3a)と同様に、5個の挿通孔(21a)〜(21e)が設けられている。   The right end (3b) of the connecting rod (3) is provided with five insertion holes (21a) to (21e), similarly to the left end (3a) shown in FIG.

デスク端部の場合は、連結杆(3)における上面(20)から下面(18)に貫通する4個の挿通孔(21a)(21b)(21d)(21e)と、ジョイント材(12)における7個の挿通孔(14a)……(14g)のうちの側板(16)に近い方から、第1,2,4,5番目の挿通孔(14a)(14b)(14d)(14e)とを位置合わせしたが、デスク中央部の場合は、デスク端部における場合よりも、連結杆(3)に対して相対的に、ジョイント材(12)を、前記挿通孔間の間隔Lだけ引き出した状態とし、連結杆(3)における4個の挿通孔(21a)(21b)(21d)(21e)と、ジョイント材(12)における7個の挿通孔(14a)……(14g)のうちの側板(16)に近い方から第2,3,5,6番目の挿通孔(14b)(14c)(14e)(14f)とを位置合わせし、固定ねじ(43)(43)を前記挿通孔を介して連結支持具(44)のねじ孔(45)に螺合することにより、連結杆(3)を前向きコ字型支持脚(7)の左側に連結する。   In the case of the desk end, four insertion holes (21a) (21b) (21d) (21e) penetrating from the upper surface (20) to the lower surface (18) of the connecting rod (3) and the joint material (12) Of the seven insertion holes (14a) ... (14g), from the side closer to the side plate (16), the first, second, fourth, and fifth insertion holes (14a), (14b), (14d), and (14e) In the case of the center part of the desk, the joint material (12) is pulled out by the distance L between the insertion holes relative to the connecting rod (3) than in the case of the desk end part. Of the four insertion holes (21a) (21b) (21d) (21e) in the connecting rod (3) and the seven insertion holes (14a) (14g) in the joint material (12). The second, third, fifth, sixth insertion holes (14b), (14c), (14e) and (14f) from the side closer to the side plate (16) are aligned, and the fixing screws (43) and (43) are inserted into the insertion holes. The connection rod (3) is screwed into the screw hole (45) of the connection support (44) through the left side of the forward U-shaped support leg (7). Connect to the side.

次いで、前向きコ字型支持脚(7)におけるジョイント受部(40)の後面を、中央カバー部材(46)で被覆する。   Next, the rear surface of the joint receiving portion (40) in the forward U-shaped support leg (7) is covered with the central cover member (46).

図15は、中央カバー部材(46)の拡大斜視図である。四辺形状のカバー本体(47)の上下端面(47a)(47b)における前縁に上下方向に延設された上下補助片(47c)(47d)と、カバー本体(47)の左右端面(47e)(47f)における前縁から左右に延設された差込片(48a)(48b)とよりなる。   FIG. 15 is an enlarged perspective view of the central cover member (46). Upper and lower auxiliary pieces (47c) (47d) extending in the vertical direction at the front edge of the upper and lower end faces (47a) (47b) of the quadrilateral cover body (47), and left and right end faces (47e) of the cover body (47) It consists of insertion pieces (48a) and (48b) extending left and right from the front edge in (47f).

中央カバー部材(46)における左右の差込片(48a)(48b)を、図14において矢印Xで示すように、連結杆(3)とジョイント材(12)との間隙に差し込み、カバー本体(47)でジョイント受部(40)の後面を覆う。   As shown by an arrow X in FIG. 14, the left and right insertion pieces (48a, 48b) in the central cover member (46) are inserted into the gap between the connecting rod (3) and the joint material (12), and the cover body ( 47) Cover the rear surface of the joint receiving part (40).

なお、前向きコ字型支持脚(7)の右側には、前記と同様にして連結杆(3)を連結する。
図1に示すデスク(1)の右端部は、左端部と同様にして、パネル型支持脚(6)に連結杆(3)を連結する。
左右に離間して配置された複数の支持脚(2)を、前記のようにして連結杆(3)で連結することにより、ベース部が構成される。
The connecting rod (3) is connected to the right side of the forward U-shaped support leg (7) in the same manner as described above.
The right end of the desk (1) shown in FIG. 1 connects the connecting rod (3) to the panel-type support leg (6) in the same manner as the left end.
The base portion is configured by connecting the plurality of support legs (2) spaced apart on the left and right with the connecting rod (3) as described above.

次いで、このベース部の上方に天板(5)(5)を、次のようにして取付ける。   Next, the top plates (5) and (5) are attached above the base portion as follows.

図9,図17に示すように、デスク端部、デスク中央部のそれぞれにおいて、下方から固定ねじ(49)(50)を、連結支持具(24)、連結杆(3)、ジョイント材(12)の挿通孔(28)(21)(14)を介して、天板(5)の裏面後部に設けられたねじ孔(51)に螺合することにより、天板(5)の裏面後部をベース部に固定する。   As shown in FIGS. 9 and 17, at each of the desk end and the desk center, fixing screws (49) and (50) are connected from below to the connection support (24), connection rod (3), joint material (12 ) Through the insertion holes (28), (21), and (14), and screwed into the screw holes (51) provided in the rear surface of the back surface of the top plate (5). Secure to the base.

次いで、天板(5)の裏面前部を次のようにして、ベース部に固定する。
図13は、図8におけるXIII〜XIII線縦断面図、図18は、図16におけるXVIII〜XVIII線縦断面図である。
Next, the rear front portion of the top plate (5) is fixed to the base portion as follows.
13 is a vertical cross-sectional view taken along line XIII-XIII in FIG. 8, and FIG. 18 is a vertical cross-sectional view taken along line XVIII-XVIII in FIG.

図2,図8,図13,図16,図18に示すように、平面視において左右方向に長い四辺形板に3個の挿通孔(52)が設けられたブラケット(53)を、取付ねじ(54)を、前記挿通孔(52)を介して、支持脚(2)の上端前部に設けられたねじ孔(54a)(54b)に螺合することにより支持脚(2)に取り付ける。   As shown in FIGS. 2, 8, 13, 16, and 18, a bracket (53) provided with three insertion holes (52) in a quadrilateral plate that is long in the left-right direction in plan view is attached to a mounting screw. (54) is attached to the support leg (2) by screwing it into the screw holes (54a) (54b) provided in the front upper end portion of the support leg (2) through the insertion hole (52).

この場合、取付ねじ(54)は、ブラケット(53)における3つの挿通孔(52)のうち、デスク端部においては、端部の挿通孔、デスク中央部においては、中央の挿通孔にそれぞれ挿通させる。   In this case, the mounting screw (54) is inserted into the insertion hole at the end of the three insertion holes (52) in the bracket (53), and the insertion hole at the center at the desk center. Let

次いで、固定ねじ(55)を、下方より、ブラケット(53)の挿通孔(52)を介して、天板(5)の裏面前部に設けられたねじ孔(56)に螺合させることにより、天板(5)の裏面前部が、ベース部の上端前部に固定される。   Next, by screwing the fixing screw (55) from below through the insertion hole (52) of the bracket (53) into the screw hole (56) provided in the front surface of the back surface of the top plate (5). The back front part of the top plate (5) is fixed to the upper front part of the base part.

デスク端部においては、支持脚(2)の左右外側の側面と、天板(5)の左右端面とが、ほぼ同一面になっている。   At the desk end, the left and right outer side surfaces of the support leg (2) and the left and right end surfaces of the top plate (5) are substantially flush with each other.

図1,図2に示すように、天板(5)の後方には、所望により、デスクトップパネル(57)が取付けられる。   As shown in FIGS. 1 and 2, a desktop panel (57) is attached to the rear of the top plate (5) as desired.

図19は、デスクトップパネル(57)を取付けるためのブラケット(22)の拡大斜視図である。
このブラケット(22)は、前後方向に長い長方体の上面が左右側面視において、逆台形状に切り欠かれるとともに、前面には、左右方向の嵌合溝(58)を設け、かつ前後方向に貫通する挿通孔(59)と後部に、上下方向の取付孔(60)を設けて構成されている。
FIG. 19 is an enlarged perspective view of the bracket (22) for attaching the desktop panel (57).
The bracket (22) has an elongated trapezoidal upper surface cut out in an inverted trapezoidal shape when viewed from the left and right sides, and provided with a fitting groove (58) in the left-right direction on the front surface, and the front-rear direction. An insertion hole (59) penetrating through and an attachment hole (60) in the vertical direction are provided at the rear part.

図20は、図1におけるXX〜XX線縦断面図である。   20 is a longitudinal sectional view taken along line XX to XX in FIG.

図20に示すように、ブラケット(22)は、前面の嵌合溝(58)を、連結杆(3)の後面の凸状部(3c)に嵌合させ、取付ねじ(61)を後方から挿通孔(59)を介して連結杆(3)のねじ孔(23)に螺合することにより、連結杆(3)に取付けられている。   As shown in FIG. 20, the bracket (22) has the fitting groove (58) on the front surface fitted to the convex portion (3c) on the rear surface of the connecting rod (3), and the mounting screw (61) is inserted from the rear. It is attached to the connecting rod (3) by being screwed into the screw hole (23) of the connecting rod (3) through the insertion hole (59).

デスクトップパネル(57)の下端に設けられたパイプ状取付部(62)を、上方からブラケット(22)の取付孔(60)に嵌挿することにより、デスクトップパネル(57)は天板(5)の後方に取付けられている。   The desktop panel (57) is mounted on the top plate (5) by inserting the pipe-shaped mounting portion (62) provided at the lower end of the desktop panel (57) into the mounting hole (60) of the bracket (22) from above. Installed behind.

なお、上記説明した実施例においては、支持脚(2)として、デスクの左右端部にパネル型支持脚(6)、デスク中央に前向きコ字型支持脚(7)を配置したものを示したが、その他、たとえばデスク端部にコ字型支持脚(7)、デスク中央にパネル型支持脚(6)を配置してもよく、さらに袖箱にジョイント受部を設けて、支持脚としてもよい。   In the embodiment described above, the support leg (2) is shown with a panel-type support leg (6) at the left and right ends of the desk and a forward U-shaped support leg (7) at the center of the desk. However, for example, a U-shaped support leg (7) may be arranged at the end of the desk, and a panel-type support leg (6) may be arranged at the center of the desk. Good.

本発明のデスク構造を備えるデスクの後方斜視図である。It is a back perspective view of a desk provided with the desk structure of this invention. 図1に示したデスクの分解斜視図である。It is a disassembled perspective view of the desk shown in FIG. 図2における破線円A内の要部拡大図である。It is a principal part enlarged view in the broken-line circle A in FIG. ジョイント材の拡大斜視図であり、(a)は左方上方視、(b)は右方上方視における拡大斜視図である。It is an expansion perspective view of a joint material, (a) is a left upper view, (b) is an expansion perspective view in a right upper view. 連結杆の要部拡大斜視図である。It is a principal part expansion perspective view of a connecting rod. 連結支持具の拡大斜視図である。It is an expansion perspective view of a connection support tool. 端部カバー部材の拡大斜視図であり、(a)は表面上方視、(b)は裏面上方視における拡大斜視図である。It is an expansion perspective view of an end cover member, (a) is an upper surface view, (b) is an expansion perspective view in the back upper surface view. 図1において天板を取り外した状態のデスク端部における一部破断した拡大要部平面図である。FIG. 2 is a partially enlarged plan view of a main part of the desk end portion with the top plate removed in FIG. 1. 図8におけるIX〜IX線縦断面図である。It is the IX-IX line longitudinal cross-sectional view in FIG. 同じく、図8におけるX〜X線縦断面図である。Similarly, it is the X-X line longitudinal cross-sectional view in FIG. 同じく、図8におけるXI〜XI線縦断面図である。Similarly, it is the XI-XI line longitudinal cross-sectional view in FIG. 図9における破線円C内の拡大図である。FIG. 10 is an enlarged view in a broken-line circle C in FIG. 9. 図8におけるXIII〜XIII線縦断面図である。It is the XIII-XIII line longitudinal cross-sectional view in FIG. 図2における破線円B内の要部拡大図である。It is a principal part enlarged view in the broken-line circle | round | yen B in FIG. 連結カバー部材の拡大斜視図である。It is an expansion perspective view of a connection cover member. 図1において天板を取り外した状態の左右方向のデスク中央部における一部破断した拡大要部平面図である。FIG. 2 is a partially cutaway enlarged plan view of the main part of the desk in the left-right direction with the top plate removed in FIG. 1. 図16におけるXVII〜XVII線縦断面図である。It is the XVII-XVII line longitudinal cross-sectional view in FIG. 同じく、図16におけるXVIII〜XVIII線縦断面図である。Similarly, it is the XVIII-XVIII line longitudinal cross-sectional view in FIG. デスクトップパネルを取付けるためのブラケットの拡大斜視図である。It is an expansion perspective view of the bracket for attaching a desktop panel. 図1におけるXX〜XX線縦断面図である。It is the XX-XX line longitudinal cross-sectional view in FIG.

符号の説明Explanation of symbols

(1)デスク
(2)支持脚
(3)連結杆
(3a)左端部
(3b)右端部
(3c)凸状部
(4)ベース部
(5)天板
(6)パネル型支持脚
(6a)パネル本体部
(6b)上端部
(6c)(6d)後端縁面
(7)前向きコ字型支持脚
(8)アジャスタ
(9)段差面
(10)ねじ孔
(11)ジョイント受部
(11a)右側面
(11b)左側面
(11c)後面
(12)ジョイント材
(13a)(13b)コ字部材
(13c)(13d)背面板
(14)(14a)……(14g)挿通孔
(15)挿通孔
(16)側板
(17)後面
(17a)上端部
(17b)下端部
(17c)(17d)段差面
(18)下面
(19)嵌合溝
(20)上面
(21a)〜(21e)挿通孔
(22)デスクトップパネル用ブラケット
(23)ねじ孔
(24)連結支持具
(25)平板
(26)位置決め突起
(27)ねじ孔
(28)挿通孔
(29)取付ねじ
(30)固定ねじ
(31)連結部
(32)端部カバー部材
(33)側面片
(34)後面片
(35)(35a)(35c)係止突起
(35b)係止爪
(36)係止片
(37)本体
(37a)上端面
(37b)下端面
(37c)上補助片
(37d)下補助片
(37e)右端面
(37f)左端面
(38)差込片
(39)係合孔
(40)ジョイント受部
(41)(42)取付ねじ
(43)固定ねじ
(44)連結支持具
(45)ねじ孔
(46)中央カバー部材
(47)カバー本体
(47a)上端面
(47b)下端面
(47c)上補助片
(47d)下補助片
(47e)左端面
(47f)右端面
(48a)(48b)差込片
(49)(50)固定ねじ
(51)ねじ孔
(52)挿通孔
(53)ブラケット
(54a)(54b)ねじ孔
(55)固定ねじ
(56)ねじ孔
(57)デスクトップパネル
(58)嵌合溝
(59)挿通孔
(60)取付孔
(61)取付ねじ
(62)パイプ状取付部
(1) Desk
(2) Support legs
(3) Linkage
(3a) Left end
(3b) Right end
(3c) Convex part
(4) Base part
(5) Top plate
(6) Panel type support legs
(6a) Panel body
(6b) Upper end
(6c) (6d) Rear edge surface
(7) Forward U-shaped support leg
(8) Adjuster
(9) Step surface
(10) Screw hole
(11) Joint receiving part
(11a) Right side
(11b) Left side
(11c) Rear side
(12) Joint material
(13a) (13b) U-shaped member
(13c) (13d) Back plate
(14) (14a) …… (14g) Insertion hole
(15) Insertion hole
(16) Side plate
(17) Rear side
(17a) Upper end
(17b) Lower end
(17c) (17d) Step surface
(18) Bottom surface
(19) Mating groove
(20) Upper surface
(21a) to (21e) insertion hole
(22) Desktop panel bracket
(23) Screw hole
(24) Connecting support
(25) Flat plate
(26) Positioning protrusion
(27) Screw hole
(28) Insertion hole
(29) Mounting screw
(30) Fixing screw
(31) Connecting part
(32) End cover member
(33) Side piece
(34) Rear piece
(35) (35a) (35c) Locking protrusion
(35b) Locking claw
(36) Locking piece
(37) Body
(37a) Upper end surface
(37b) Lower end surface
(37c) Upper auxiliary piece
(37d) Lower auxiliary piece
(37e) Right end face
(37f) Left end face
(38) Insertion piece
(39) Engagement hole
(40) Joint receiving part
(41) (42) Mounting screw
(43) Fixing screw
(44) Connecting support
(45) Screw hole
(46) Center cover member
(47) Cover body
(47a) Upper end surface
(47b) Lower end surface
(47c) Upper auxiliary piece
(47d) Lower auxiliary piece
(47e) Left end face
(47f) Right end face
(48a) (48b) Insertion piece
(49) (50) Fixing screw
(51) Screw hole
(52) Insertion hole
(53) Bracket
(54a) (54b) Screw hole
(55) Fixing screw
(56) Screw hole
(57) Desktop panel
(58) Mating groove
(59) Insertion hole
(60) Mounting hole
(61) Mounting screw
(62) Pipe-shaped mounting part

Claims (12)

左右に離間して配置した複数の支持脚を連結杆で連結することにより形成したベース部の上方に天板を設けてなるデスクにおいて、支持脚の上端部に左右対称なジョイント受部を形成し、このジョイント受部の左右側面の少なくとも一方に、ジョイント材を取付けることにより連結部を構成し、この連結部をもって、複数の支持脚を連結杆で連結したことを特徴とするデスク構造。   In a desk having a top plate above a base part formed by connecting a plurality of support legs spaced apart from each other with a connecting rod, a symmetrical joint receiving part is formed at the upper end of the support leg. A desk structure characterized in that a connecting part is formed by attaching a joint material to at least one of the left and right side surfaces of the joint receiving part, and a plurality of support legs are connected by a connecting rod with this connecting part. ジョイント受部を、支持脚の上端部における後部に、左右方向に貫通するねじ孔を螺設することにより形成し、ジョイント材における左右いずれかの一端に穿設された挿通孔を介して、取付ねじを前記ねじ孔に螺合することにより、ジョイント材をジョイント受部に取付けたことを特徴とする請求項1記載のデスク構造。   The joint receiving part is formed by screwing a screw hole penetrating in the left-right direction at the rear part at the upper end part of the support leg, and is attached through an insertion hole drilled at one of the left and right ends of the joint material. The desk structure according to claim 1, wherein a joint material is attached to the joint receiving portion by screwing a screw into the screw hole. 連結杆を管材によって形成し、連結部における左右方向のジョイント材を、前記連結杆に内嵌させることにより、連結杆を連結部に固定したことを特徴とする請求項1または2記載のデスク構造。   The desk structure according to claim 1 or 2, wherein the connecting rod is formed of a pipe material, and a connecting rod is fixed to the connecting portion by fitting a joint material in a horizontal direction in the connecting portion into the connecting rod. . 天板裏面の後部に設けたねじ孔に、連結杆およびジョイント材に穿設した挿通孔を介して、固定ねじを螺合することにより、天板とベース部とを連結したことを特徴とする請求項1〜3のいずれかに記載のデスク構造。   The top plate and the base portion are connected to each other by screwing a fixing screw into a screw hole provided in a rear portion of the back surface of the top plate through an insertion hole formed in the connecting rod and the joint material. The desk structure in any one of Claims 1-3. 連結杆を、支持脚の連結部に対して相対的に左右方向に移動させた複数の位置で固定しうるようにして、デスク端部においては、支持脚の左右外側の側面を、天板端面とほぼ同一面になしうるとともに、複数の天板を左右に連結した場合の天板連結部においては、支持脚を、隣接する天板の合わせ部の下方に位置させうるようにしたことを特徴とする請求項1〜4のいずれかに記載のデスク構造。   The connecting rod can be fixed at a plurality of positions moved in the left-right direction relative to the connecting portion of the support leg, and at the desk end, the left and right outer sides of the support leg are connected to the top plate end surface. In the top plate connecting portion when a plurality of top plates are connected to the left and right, the support leg can be positioned below the mating portion of the adjacent top plates. The desk structure according to any one of claims 1 to 4. ジョイント材および連結杆に上下方向の挿通孔を、少なくとも一方には左右方向に複数個穿設し、これら複数個のうちの所望の挿通孔を選んで、他方の挿通孔と位置合わせをした後、これらの挿通孔に、連結杆の一方の外側から固定ねじを挿通して、連結杆の他方の外側面に当接させた連結支持具のねじ孔に螺合することにより、連結杆を、支持脚の連結部に対して相対的に左右方向に移動させた所望の位置で固定しうるようにしたことを特徴とする請求項5記載のデスク構造。   After drilling a plurality of vertical insertion holes in the joint material and the connecting rod, and at least one of them in the left-right direction, selecting the desired insertion hole from the plurality and aligning with the other insertion hole By inserting a fixing screw into one of these insertion holes from one outer side of the connecting rod and screwing it into the screw hole of the connecting support tool brought into contact with the other outer surface of the connecting rod, 6. The desk structure according to claim 5, wherein the desk structure can be fixed at a desired position relatively moved in the left-right direction with respect to the connecting portion of the support leg. ジョイント材を、前向きコ字部材と後向きコ字部材とを、その背面板同士を固着し、この固着した二重の背面板部分に、上下方向の挿通孔を左右方向に複数個穿設し、かつ左右のいずれか一端に、挿通孔を穿設した側板を取付けることにより構成したことを特徴とする請求項6に記載のデスク構造。   The joint material, the forward U-shaped member and the rear U-shaped member, the back plates thereof are fixed to each other, and a plurality of vertical insertion holes are formed in the left and right directions in the fixed double back plate portion, 7. The desk structure according to claim 6, wherein a side plate having an insertion hole is attached to either one of the left and right ends. 連結支持具にねじ孔と挿通孔の両者を設け、連結支持具を連結杆の下面に当接し、上方より連結杆、ジョイント材の両者の挿通孔を挿通させた固定ねじを連結支持具のねじ孔に螺合して、連結杆を支持脚の連結部に固定するとともに、下方より連結支持具、連結杆、ジョイント材の3者の挿通孔を挿通させた取付けねじを、天板裏面の後部に設けたねじ孔に螺合することにより、天板とベース部とを連結したことを特徴とする請求項6または7記載のデスク構造。   The connection support is provided with both screw holes and insertion holes, and the connection support is brought into contact with the lower surface of the connection rod, and the fixing screw is inserted through the insertion holes of the connection rod and joint material from above. Screw the screw into the hole to fix the connecting rod to the connecting portion of the support leg, and attach the mounting screw through the three insertion holes of the connecting support, connecting rod and joint material from below, The desk structure according to claim 6 or 7, wherein the top plate and the base portion are connected by screwing into a screw hole provided in the table. 連結支持具を、断面台形状の左右方向に長い平板の上面中央に位置決め突起を設けるとともに、この突起の左右にねじ孔を、このねじ孔の左右外側に挿通孔をそれぞれ設けて形成し、かつ連結杆の下面に、前記連結支持具が嵌合する左右方向の嵌合溝を設けたことを特徴とする請求項6〜8のいずれかに記載のデスク構造。   The connecting support is formed by providing a positioning protrusion at the center of the upper surface of the flat plate having a trapezoidal cross section, a screw hole on the left and right of the protrusion, and an insertion hole on the left and right outside of the screw hole, and The desk structure according to any one of claims 6 to 8, wherein a fitting groove in a left-right direction for fitting the coupling support is provided on a lower surface of the coupling rod. 支持脚の上端前部に、左右方向に複数の挿通孔を穿設した取付ブラケットを、前記挿通孔の一部に挿通させた取付ねじをもって取付けるとともに、下方より他の挿通孔に挿通させた固定ねじを天板裏面の前部に設けたねじ孔に螺合することにより、支持脚の上端前部と天板前部とを連結したことを特徴とする請求項1〜9のいずれかに記載のデスク構造。   A mounting bracket having a plurality of insertion holes in the left-right direction is attached to the front end of the support leg with a mounting screw that is inserted into a part of the insertion hole, and is fixed by being inserted into another insertion hole from below. The upper end front part of a support leg and the top plate front part are connected by screwing a screw into a screw hole provided in the front part on the back side of the top plate. Desk structure. 支持脚におけるジョイント受部の左右側面のうち、ジョイント材が取付けられていない側面に、カバー部材を、このカバー部材の裏面に設けた係止突起を、ジョイント受部のねじ孔に係止させることにより取付けたことを特徴とする請求項1〜10のいずれかに記載のデスク構造。   The cover member is locked to the screw hole of the joint receiving portion on the back surface of the cover member on the side surface to which the joint material is not attached among the left and right side surfaces of the joint receiving portion of the support leg. The desk structure according to claim 1, wherein the desk structure is attached. 支持脚におけるジョイント受部の左右方向の厚みを、支持脚の厚みより小さくして、支持脚とジョイント受部の両者の左右側面間に段差を設け、ジョイント材が取付けられていないジョイント受部側面に取付けたカバー部材の側面が、支持脚の側面とほぼ同一面となるようにしたことを特徴とする請求項11記載のデスク構造。   The thickness of the joint receiving part in the left and right direction of the support leg is smaller than the thickness of the support leg, and a step is provided between the left and right side surfaces of both the support leg and the joint receiving part, and the side surface of the joint receiving part where the joint material is not attached The desk structure according to claim 11, wherein a side surface of the cover member attached to the base plate is substantially flush with a side surface of the support leg.
JP2004329808A 2004-11-12 2004-11-12 Desk structure Expired - Fee Related JP4546805B2 (en)

Priority Applications (1)

Application Number Priority Date Filing Date Title
JP2004329808A JP4546805B2 (en) 2004-11-12 2004-11-12 Desk structure

Applications Claiming Priority (1)

Application Number Priority Date Filing Date Title
JP2004329808A JP4546805B2 (en) 2004-11-12 2004-11-12 Desk structure

Related Child Applications (1)

Application Number Title Priority Date Filing Date
JP2010105724A Division JP5085683B2 (en) 2010-04-30 2010-04-30 Desk structure

Publications (2)

Publication Number Publication Date
JP2006136576A true JP2006136576A (en) 2006-06-01
JP4546805B2 JP4546805B2 (en) 2010-09-22

Family

ID=36617752

Family Applications (1)

Application Number Title Priority Date Filing Date
JP2004329808A Expired - Fee Related JP4546805B2 (en) 2004-11-12 2004-11-12 Desk structure

Country Status (1)

Country Link
JP (1) JP4546805B2 (en)

Cited By (3)

* Cited by examiner, † Cited by third party
Publication number Priority date Publication date Assignee Title
JP2008119413A (en) * 2006-11-15 2008-05-29 Kokuyo Co Ltd table
JP2010159800A (en) * 2009-01-07 2010-07-22 Okamura Corp Connecting structure of upper and lower cabinets
JP2013111317A (en) * 2011-11-30 2013-06-10 Itoki Corp Leg apparatus for table

Citations (6)

* Cited by examiner, † Cited by third party
Publication number Priority date Publication date Assignee Title
JPS53104101U (en) * 1977-01-28 1978-08-22
JPS62171941U (en) * 1986-04-22 1987-10-31
JPH08252116A (en) * 1995-03-16 1996-10-01 Kyoei Kogyo Kk Desk top
JPH08280450A (en) * 1995-04-10 1996-10-29 Kokuyo Co Ltd Connection device for top plate and leg
JP2003204827A (en) * 2001-11-12 2003-07-22 Uchida Yoko Co Ltd Desk system
JP2004261309A (en) * 2003-02-28 2004-09-24 Itoki Crebio Corp Connected desk

Patent Citations (6)

* Cited by examiner, † Cited by third party
Publication number Priority date Publication date Assignee Title
JPS53104101U (en) * 1977-01-28 1978-08-22
JPS62171941U (en) * 1986-04-22 1987-10-31
JPH08252116A (en) * 1995-03-16 1996-10-01 Kyoei Kogyo Kk Desk top
JPH08280450A (en) * 1995-04-10 1996-10-29 Kokuyo Co Ltd Connection device for top plate and leg
JP2003204827A (en) * 2001-11-12 2003-07-22 Uchida Yoko Co Ltd Desk system
JP2004261309A (en) * 2003-02-28 2004-09-24 Itoki Crebio Corp Connected desk

Cited By (3)

* Cited by examiner, † Cited by third party
Publication number Priority date Publication date Assignee Title
JP2008119413A (en) * 2006-11-15 2008-05-29 Kokuyo Co Ltd table
JP2010159800A (en) * 2009-01-07 2010-07-22 Okamura Corp Connecting structure of upper and lower cabinets
JP2013111317A (en) * 2011-11-30 2013-06-10 Itoki Corp Leg apparatus for table

Also Published As

Publication number Publication date
JP4546805B2 (en) 2010-09-22

Similar Documents

Publication Publication Date Title
JP4938512B2 (en) Base metal fittings and outer wall construction structure
JP4546805B2 (en) Desk structure
JP4414743B2 (en) table
JP5085683B2 (en) Desk structure
JP4473708B2 (en) Desk structure
JP5119750B2 (en) Desk leg equipment
JP4518814B2 (en) Stabilizer for partition panel
JP4274065B2 (en) Mounting device for supporting member
JP4473707B2 (en) Desk structure
JP2003339450A (en) Desk and desk system
JP5203678B2 (en) Desk equipment
JP4528602B2 (en) Foundation material for connection
JP5829485B2 (en) Desk equipment
JP7258415B2 (en) Mounting structure of panel members
JP5275405B2 (en) Desk leg equipment
JP3837044B2 (en) desk
JP4202242B2 (en) Metal fittings for wooden building components
JP5443183B2 (en) Connecting structure of firewood
JP4518812B2 (en) Bracket mounting structure
JP3767313B2 (en) Furniture with a top plate
JP2009261821A (en) Workstation
KR200276527Y1 (en) Metal business desk
JP4265390B2 (en) Member coupling device
JP4654374B2 (en) furniture
JP2008121314A (en) Panel-like matter mounting structure

Legal Events

Date Code Title Description
A621 Written request for application examination

Free format text: JAPANESE INTERMEDIATE CODE: A621

Effective date: 20071025

A977 Report on retrieval

Free format text: JAPANESE INTERMEDIATE CODE: A971007

Effective date: 20100219

A131 Notification of reasons for refusal

Free format text: JAPANESE INTERMEDIATE CODE: A131

Effective date: 20100302

A521 Request for written amendment filed

Free format text: JAPANESE INTERMEDIATE CODE: A523

Effective date: 20100430

TRDD Decision of grant or rejection written
A01 Written decision to grant a patent or to grant a registration (utility model)

Free format text: JAPANESE INTERMEDIATE CODE: A01

Effective date: 20100629

A01 Written decision to grant a patent or to grant a registration (utility model)

Free format text: JAPANESE INTERMEDIATE CODE: A01

A61 First payment of annual fees (during grant procedure)

Free format text: JAPANESE INTERMEDIATE CODE: A61

Effective date: 20100702

FPAY Renewal fee payment (event date is renewal date of database)

Free format text: PAYMENT UNTIL: 20130709

Year of fee payment: 3

R150 Certificate of patent or registration of utility model

Ref document number: 4546805

Country of ref document: JP

Free format text: JAPANESE INTERMEDIATE CODE: R150

Free format text: JAPANESE INTERMEDIATE CODE: R150

R250 Receipt of annual fees

Free format text: JAPANESE INTERMEDIATE CODE: R250

R250 Receipt of annual fees

Free format text: JAPANESE INTERMEDIATE CODE: R250

R250 Receipt of annual fees

Free format text: JAPANESE INTERMEDIATE CODE: R250

R250 Receipt of annual fees

Free format text: JAPANESE INTERMEDIATE CODE: R250

R250 Receipt of annual fees

Free format text: JAPANESE INTERMEDIATE CODE: R250

R250 Receipt of annual fees

Free format text: JAPANESE INTERMEDIATE CODE: R250

S533 Written request for registration of change of name

Free format text: JAPANESE INTERMEDIATE CODE: R313533

R350 Written notification of registration of transfer

Free format text: JAPANESE INTERMEDIATE CODE: R350

R250 Receipt of annual fees

Free format text: JAPANESE INTERMEDIATE CODE: R250

R250 Receipt of annual fees

Free format text: JAPANESE INTERMEDIATE CODE: R250

LAPS Cancellation because of no payment of annual fees