JP2006127937A - 電気部品用ソケット - Google Patents

電気部品用ソケット Download PDF

Info

Publication number
JP2006127937A
JP2006127937A JP2004315344A JP2004315344A JP2006127937A JP 2006127937 A JP2006127937 A JP 2006127937A JP 2004315344 A JP2004315344 A JP 2004315344A JP 2004315344 A JP2004315344 A JP 2004315344A JP 2006127937 A JP2006127937 A JP 2006127937A
Authority
JP
Japan
Prior art keywords
moving member
socket
electrical component
package
moving
Prior art date
Legal status (The legal status is an assumption and is not a legal conclusion. Google has not performed a legal analysis and makes no representation as to the accuracy of the status listed.)
Granted
Application number
JP2004315344A
Other languages
English (en)
Other versions
JP4467404B2 (ja
Inventor
Kenji Hayakawa
謙次 早川
Current Assignee (The listed assignees may be inaccurate. Google has not performed a legal analysis and makes no representation or warranty as to the accuracy of the list.)
Enplas Corp
Original Assignee
Enplas Corp
Priority date (The priority date is an assumption and is not a legal conclusion. Google has not performed a legal analysis and makes no representation as to the accuracy of the date listed.)
Filing date
Publication date
Application filed by Enplas Corp filed Critical Enplas Corp
Priority to JP2004315344A priority Critical patent/JP4467404B2/ja
Priority to US11/260,292 priority patent/US7134892B2/en
Publication of JP2006127937A publication Critical patent/JP2006127937A/ja
Application granted granted Critical
Publication of JP4467404B2 publication Critical patent/JP4467404B2/ja
Anticipated expiration legal-status Critical
Expired - Fee Related legal-status Critical Current

Links

Images

Classifications

    • HELECTRICITY
    • H05ELECTRIC TECHNIQUES NOT OTHERWISE PROVIDED FOR
    • H05KPRINTED CIRCUITS; CASINGS OR CONSTRUCTIONAL DETAILS OF ELECTRIC APPARATUS; MANUFACTURE OF ASSEMBLAGES OF ELECTRICAL COMPONENTS
    • H05K7/00Constructional details common to different types of electric apparatus
    • H05K7/02Arrangements of circuit components or wiring on supporting structure
    • H05K7/10Plug-in assemblages of components, e.g. IC sockets
    • H05K7/1053Plug-in assemblages of components, e.g. IC sockets having interior leads
    • H05K7/1076Plug-in assemblages of components, e.g. IC sockets having interior leads co-operating by sliding
    • H05K7/1084Plug-in assemblages of components, e.g. IC sockets having interior leads co-operating by sliding pin grid array package carriers
    • HELECTRICITY
    • H01ELECTRIC ELEMENTS
    • H01RELECTRICALLY-CONDUCTIVE CONNECTIONS; STRUCTURAL ASSOCIATIONS OF A PLURALITY OF MUTUALLY-INSULATED ELECTRICAL CONNECTING ELEMENTS; COUPLING DEVICES; CURRENT COLLECTORS
    • H01R13/00Details of coupling devices of the kinds covered by groups H01R12/70 or H01R24/00 - H01R33/00
    • H01R13/02Contact members
    • H01R13/193Means for increasing contact pressure at the end of engagement of coupling part, e.g. zero insertion force or no friction

Landscapes

  • Engineering & Computer Science (AREA)
  • Microelectronics & Electronic Packaging (AREA)
  • Connecting Device With Holders (AREA)
  • Testing Of Individual Semiconductor Devices (AREA)

Abstract

【課題】 レバー部材等の部品点数の削減を図ることができる電気部品用ソケットを提供する。
【解決手段】 ICパッケージを収容するソケット本体13のベース部14に、ICパッケージ12の半田ボール12bに離接可能な弾性片15cを有する複数のコンタクトピン15が配設されると共に、ベース部14の上側に移動部材17が上下動自在に配設され、移動部材17に各コンタクトピン15の弾性片15cが挿通され、移動部材17を上下動させることにより、弾性片15cが開閉させられて、ICパッケージ12の半田ボール12bに弾性片15cの接触部15dが離接されるようにしたICソケット11において、移動部材17は、複数のコンタクトピン15が挿通される挿通孔17aが形成され、略水平方向に沿う移動部材本体17bと、この移動部材本体17bから上方に突設され、上端面に略水平方向に沿う被押圧面17eが形成された突出部17cとを有し、被押圧面17eが押圧されることにより、移動部材17が下降されるように構成された。
【選択図】 図4

Description

この発明は、半導体装置(以下「ICパッケージ」という)等の電気部品を着脱自在に保持する電気部品用ソケットに関するものである。
従来のこの種のものとしては、例えば「電気部品」であるICパッケージを収容する「電気部品用ソケット」としてのICソケットがある(特許文献1参照)。
ここでのICパッケージは、多数の端子としての半田ボールが下面から突設され、これら半田ボールが縦列Yと横列Xとに格子状に配列されている。
一方、ICソケットは、ICパッケージが収容されるソケット本体に、そのICパッケージの端子と接触されるコンタクトピンが配設されると共に、そのソケット本体には、そのコンタクトピンを弾性変形させてICパッケージ端子に離接させる移動部材が上下動自在に配設されている。
また、ソケット本体には、その移動部材を上下動させるレバー部材が、回動軸を介して回動自在に設けられると共に、このレバー部材を回動させる操作部材が上下動自在に配設されている。
この操作部材を上下動させることにより、レバー部材が回動され、このレバー部材にて移動部材が上下動されて、コンタクトピンが弾性変形されることにより、このコンタクトピンの接触部が、ICパッケージ端子に離接されるようになっている。
特開2002−8809号公報。
しかしながら、このような従来のものにあっては、移動部材を上下動させるのに、操作部材の駆動力をレバー部材を介して移動部材に伝達するようにしているため、レバー部材等の部品点数の増加を招き、配設作業が大変であった。
そこで、この発明は、上記の点に鑑みてなされたものであり、レバー部材等の部品点数の削減を図ることができる電気部品用ソケットを提供することを課題としている。
かかる課題を達成するために、請求項1に記載の発明は、電気部品を収容するソケット本体のベース部に、前記電気部品の端子に離接可能な弾性片を有する複数のコンタクトピンが配設されると共に、前記ベース部の上側に移動部材が上下動自在に配設され、該移動部材に前記各コンタクトピンの弾性片が挿通され、該移動部材を上下動させることにより、前記弾性片が開閉させられて、前記電気部品端子に前記弾性片の両接触部が離接されるようにした電気部品用ソケットにおいて、前記移動部材は、前記複数のコンタクトピンが挿通される挿通孔が形成されて略水平方向に沿う移動部材本体と、該移動部材本体から上方に突設されて上端面に被押圧面が形成された突出部とを有し、該被押圧面が押圧されることにより、前記移動部材が下降されるように構成された電気部品用ソケットとしたことを特徴とする。
請求項2に記載の発明は、請求項1に記載の構成に加え、前記突出部の被押圧面は、略水平方向に沿って形成されていることを特徴とする。
請求項3に記載の発明は、請求項1又は2に記載の構成に加え、前記突出部は、前記移動部材本体の周縁部に形成され、該突出部の内側に、前記電気部品が収容される収容部材が配設されたことを特徴とする。
請求項4に記載の発明は、請求項1乃至3の何れか一つに記載の構成に加え、前記収容部材には、係止部が形成され、該係止部により前記ソケット本体に着脱自在に設けられたことを特徴とする。
請求項5に記載の発明は、請求項1乃至4の何れか一つに記載の構成に加え、前記収容部材には、前記電気部品の収容時に、該電気部品を案内するガイド部が形成されたことを特徴とする。
請求項6に記載の発明は、請求項1乃至5の何れか一つに記載の構成に加え、前記ソケット本体には、操作部材が上下動自在に設けられ、該操作部材には、前記移動部材の被押圧面を押圧する押圧面が形成されたことを特徴とする。
請求項1に記載の発明によれば、移動部材に、移動部材本体から上方に突出する突出部を形成し、この突出部の上面の被押圧面が操作部材により直接押圧されるようにしているため、従来のようなリンク部材が必要なく、部品点数を削減できる。
また、移動部材本体から上方に突出する突出部を形成することにより、操作部材に移動部材を押圧する突片を形成する必要がなく、構造を簡単にでき、強度及び耐久性を確保できる。ちなみに、操作部材に下方に突出する突片を形成しようとすると、ソケット本体内に入り込むような形状に形成しなければならないため、操作部材の構造が複雑となると共に、突片の形状が細く、比較的弱い形状になってしまう。
請求項2に記載の発明によれば、移動部材の被押圧面は、水平面であり、押圧方向(上下方向)と直交する方向の面であるため、傾斜面と異なり、操作部材やパッケージ挿抜装置側ヘッドの押圧面と、移動部材の被押圧面との間で、擦れるようなことが無く、耐久性を確保できる。
請求項3に記載の発明によれば、突出部の内側に、収容部材を配設することにより、操作部材にてその突出部を押圧する際に、収容部材が邪魔にならない。また、上下動する移動部材の上方で、電気部品を収容する必要があるため、収容部材を突出部の内側に配置することにより、その収容部材に電気部品を良好に収容できる。
請求項4に記載の発明によれば、収容部材は、係止部によりソケット本体に着脱自在に設けられているため、この収容部材を外すことにより、移動部材も簡単に外すことができる。
請求項5に記載の発明によれば、収容部材には、ガイド部を形成することにより、電気部品を所定の位置に良好に案内することができる。
以下、この発明の実施の形態について説明する。
[発明の実施の形態1]
図1乃至図14には、この発明の実施の形態1を示す。
まず構成を説明すると、図中符号11は、「電気部品用ソケット」としてのICソケットで、このICソケット11は、「電気部品」であるICパッケージ12の性能試験を行うために、このICパッケージ12の「端子」としての半田ボール12bと、測定器(テスター)のプリント配線板(図示省略)との電気的接続を図るものである。
このICパッケージ12は、図6に示すように、いわゆるBGA(Ball Grid Array)タイプと称されるもので、方形状のパッケージ本体12aの下面に多数の略球状の半田ボール12bが突出して縦列と横列とにマトリックス状に配列されている。
一方、ICソケット11は、図2に示すように、大略すると、プリント配線板上に装着される合成樹脂製のソケット本体13を有し、このソケット本体13には、ICパッケージ12の各半田ボール12bに離接されるコンタクトピン15が配設されると共に、これらコンタクトピン15を変位させる移動部材17が配設され、更に、この移動部材17の上側に、収容部材19がそのソケット本体13に固定されて配設されている。さらにまた、その移動部材17を上下動させる操作部材21が配設されている。
そのコンタクトピン15は、バネ性を有し、導電性に優れた板材がプレス加工により図6乃至図8に示すような形状に形成されている。
詳しくは、そのコンタクトピン15は、上下方向中間部に詳細は省略するが水平断面が略U字状の基部15aが形成されると共に、この基部15aの下側には、1本のソルダーテール部15bが形成され、上側には、一対の弾性片15cが形成されている。
それら一対の弾性片15cは、下端部側の基部15aが略U字状に折曲されることにより、互いに対向するように形成されている。また、それら弾性片15cの上端部(先端部)には、ICパッケージ12の半田ボール12bの側部に離接する接触部15dが形成され、この両接触部15dで半田ボール12bが挟持されて電気的に接続されるようになっている。
また、このコンタクトピン15の一対の弾性片15cは、下部15eが、ベース部14の挿通孔14aに挿通され、この下部15eの上側に側方に向けて突設された予圧突部15fが形成され、これら予圧突部15fがベース部14の挿通孔14aの内壁に当接されることにより、両接触部15dが閉じる方向に弾性変形されて予圧が付与されている。
さらに、この一対の弾性片15cの、下部15eより上側には、接触部15dまでの間に、下部15e側とは互いに反対側に突出するように摺動部15gが形成され、これら摺動部15gがベース部14より上方に突出され、移動部材17の挿通孔17aに挿入されている。そして、この移動部材17が上下動されることにより、挿通孔17aの内壁が、摺動部15gを摺動して、弾性片15cが弾性変形されて、両接触部15dが開閉されるようになっている。
その移動部材17の挿通孔17aは、下方が広がるように形成される一方、弾性片15cの摺動部15gには、張出し部15hが形成され、この張出し部15hが押されることにより、図7に示すように、両接触部15dが開かれるように構成されている。
さらにまた、両接触部15dは、図6に示すように、最上昇位置の移動部材17より上方に突出し、摺動部15gの上端において、略直角に折曲げられ、互いに向き合い、これら両接触部15dにより、半田ボール12bが挟持されて、電気的に接続されるようになっている。
また、ベース部14の下側には、底板23が図2に示すように係止片23aにより、ベース部14に取り付けられ、この底板23の挿通孔23aに図4及び図6に示すように、コンタクトピン15のソルダーテール部15bが挿通され、この底板23とベース部14との間に、コンタクトピン15の基部15aが挟持され、その底板23により下方への移動が阻止されるように構成されている。
さらに、この底板23の下側には、ロケートボード24が上下動自在に配設されている。そして、底板23から下方に突出したソルダーテール部15bは、図2及び図3に示すように、ロケートボード24を介して更に下方に突出され、図示省略のプリント配線板の各貫通孔に挿通されて半田付けされることにより接続されるようになっている。
このようなコンタクトピン15は、図1に示すように、縦列と横列とにマトリックス状に配列されている。
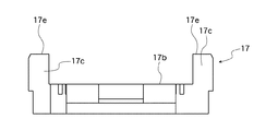
一方、移動部材17は、図9乃至図11に示すように、多数の挿通孔17aが形成されて略水平方向に沿う板状の移動部材本体17bと、この本体17bの端縁部から上方に突出された突出部17cとを有している。この突出部17cには、上端面に略水平方向に沿う被押圧面17eが形成されている。
また、この移動部材17は、コイルスプリング24により上方に付勢され、この移動部材17にベース部14から突設された係止部14bが図2に示すように係止されることにより、移動部材17の上昇が規制されるように構成されている。
さらに、この移動部材17の上側で、突出部17cの内側には、枠形状の収容部材19が配設されている。この収容部材19は、パッケージ本体12aの周縁部を支持する支持片19aが形成され、この支持片19aの周縁部にガイド部19bが上方に向けて突設され、このガイド部19bにより、ICパッケージ12が収容時に案内されるようになっている。さらに、この収容部材19には、図2に示すように、係止部19cが下方に向けて突設され、この係止部19cがベース部14側に係止されることにより、収容部材19が着脱自在に取り付けられるようになっている。この収容部材19には、後述するラッチ部材28が出入りする開口19dが形成されている。
このラッチ部材28は、図12乃至図14に示すように、回動軸28aを有し、この回動軸28aにより、ソケット本体13に回動自在に配設されると共に、図5に示すように、移動部材17の押圧部17dにより押圧される被押圧部28bが側方に一対突設されている。また、このラッチ部材28は、図3に示すように、スプリング29により閉じる方向に付勢され、先端部に設けられた押さえ部28cにより、ICパッケージ12の周縁部の上面に当接して、これを押さえるようにしている。
そして、移動部材17を下降させることにより、この移動部材17の押圧部17dにてラッチ部材28の被押圧部28bが押圧されて、図3中、実線に示す位置から二点鎖線に示す位置まで、ラッチ部材28が回動されて開かれ、このラッチ部材28の押さえ部28cがICパッケージ12の収容・取出し軌跡から退避されるように構成されている。
また、操作部材21は、四角形の枠形状を呈し、収容部材19の周囲に配設され、ソケット本体13の周囲に上下動自在に配設され、この操作部材21の押圧面21aにより、移動部材17の突出部17cの上面に形成された被押圧面17eが押圧されて、コイルスプリング25の付勢力に抗して、移動部材17が下降されるように構成されている。
次いで、かかるICソケット11の使用方法について説明する。
ICパッケージ12をICソケット11にセットするには、まず、操作部材21を下方に押し下げる。すると、この操作部材21により、移動部材17が下方に押されて、コイルスプリング25の付勢力に抗して下降される。
すなわち、図4に示す状態から、操作部材21が下降されると、この操作部材21の押圧面21aが、移動部材17の被押圧面17eに当接して押圧することにより、移動部材17が図5に示すように下降されることとなる。
この移動部材17の下降により、コンタクトピン15の両接触部15dが開かれると共に、ラッチ部材28も開かれることとなる。
すなわち、移動部材17が下降すると、押圧部17dにより、ラッチ部材28の被押圧部28bが押されて、スプリング29の付勢力に抗して、ラッチ部材28が図2中二点鎖線に示す位置まで回動される。これにより、ラッチ部材28の押さえ部28cが、ICパッケージ12の収容・取出し軌跡から退避される。
また、コンタクトピン15は、図6に示す状態から図7に示す状態まで移動部材17が下降されると、この移動部材17の挿通孔17aの周壁に、弾性片15cの張出し部15hが押圧されることにより、両接触部15dが開かれる。
この状態で、ICパッケージ12がガイド部19bにガイド部されて、支持片19a上の所定位置に収容され、ICパッケージ12の各半田ボール12bが、各コンタクトピン15の開かれた一対の接触部15dの間に、非接触状態で挿入される(図7参照)。
その後、操作部材21の下方への押圧力を解除すると、この移動部材17がコイルスプリング25等の付勢力で上昇されることにより、ラッチ部材28がスプリング29の付勢力により閉じる方向に回動される。これにより、移動部材17にてICパッケージ12が押さえられ、浮き上がりが防止される。
また、移動部材17が上昇されると、コンタクトピン15の摺動部15gへの押圧力が解除され、図7に示す状態から、一対の接触部15dが互いに閉じる(狭まる)方向に移動し、両接触部15dにて半田ボール12bが挟持される。
これにより、ICパッケージ12の各半田ボール12bとプリント配線板とがコンタクトピン15を介して電気的に接続されることとなる。
一方、ICパッケージ12を装着状態から取り外すには、同様に操作部材21を介して移動部材17を下降させることにより、ラッチ部材28が収容・取出し範囲から退避されると共に、コンタクトピン15の一対の接触部15dが半田ボール12bから離間されることから、半田ボール12bが一対の接触部15dにて挟まれた状態から引き抜く場合よりも弱い力で簡単にICパッケージ12を外すことができる。
このようなものにあっては、移動部材17に、移動部材本体17bから上方に突出する突出部17cを形成し、この突出部17cの上面の被押圧面17eが操作部材21により直接押圧されるようにしているため、従来のようなリンク部材が必要なく、部品点数を削減できる。
また、移動部材本体17bから上方に突出する突出部17cを形成することにより、操作部材21に移動部材17を押圧する突片を形成する必要がなく、構造を簡単にでき、強度及び耐久性を確保できる。ちなみに、操作部材21に下方に突出する突片を形成しようとすると、ソケット本体13内に入り込むような形状に形成しなければならないため、操作部材21の構造が複雑となると共に、突片の形状が細く、比較的弱い形状になってしまう。
さらに、移動部材17の被押圧面17eは、水平面であり、押圧方向(上下方向)と直交する方向の面であるため、傾斜面と異なり、操作部材21の押圧面21aと、移動部材17の被押圧面17eとの間で、擦れるようなことが無く、耐久性を確保できる。
さらにまた、突出部17cの内側に、収容部材19を配設することにより、操作部材21にてその突出部17cを押圧する際に、収容部材19が邪魔にならない。また、上下動する移動部材17の上方で、ICパッケージ12を収容する必要があるため、収容部材19を突出部17cの内側に配置することにより、その収容部材19にICパッケージ12を良好に収容できる。
しかも、その収容部材19は、係止部19cによりソケット本体13に着脱自在に設けられているため、この収容部材19を外すことにより、移動部材17も簡単に外すことができる。
また、この収容部材19には、ガイド部19bを形成することにより、ICパッケージ12を所定の位置に良好に案内することができる。
[発明の実施の形態2]
図15乃至図19には、この発明の実施の形態2を示す。
この実施の形態2は、実施の形態1と比較すると、操作部材21が設けられていないと共に、収容部材19は支持片19aのみで、ガイド部19bが設けられていない点で相違している。
このようなものにあっては、図示していないが、パッケージ挿抜装置側のヘッドで、移動部材17の突出部17cの上面に形成された被押圧面17e(水平面)が直接押圧されるようになっている。
従って、操作部材21が必要なく、部品点数を削減できると共に、移動部材本体17bから上方に突出する突出部17cを形成することにより、パッケージ挿抜装置側のヘッドに、移動部材17を押圧する突片を形成する必要がなく、構造を簡単にでき、強度及び耐久性を確保できる。ちなみに、パッケージ挿抜装置側のヘッドに、下方に突出する突片を、ソケット本体13内に入り込むような形状に形成しようとすると、操作部材21に形成する場合より、一層大変である。
さらに、移動部材17の被押圧面17eは、水平面であり、押圧方向(上下方向)と直交する方向の面であるため、傾斜面と異なり、ヘッド側の押圧面と、移動部材17の被押圧面17eとの間で、擦れるようなことが無く、耐久性を確保できる。
他の構成及び作用は実施の形態1と同様であるので説明を省略する。
なお、上記実施の形態では、「電気部品用ソケット」としてICソケット11に、この発明を適用したが、これに限らず、他の装置にも適用できることは勿論である。また、BGAタイプのICパッケージ12用のICソケット11に、この発明を適用したが、これに限らず、PGA(Pin Grid Array)タイプのICパッケージ用のICソケットに、この発明を適用することもできる。さらに、この発明の移動部材の突出部は、移動部材本体から上方に突出していれば、上記実施の形態の突出部17cの形状や位置等に限定されるものでない。
この発明の実施の形態1に係るICソケットの平面図である。 同実施の形態1に係る図1のA−A線に沿う断面図である。 同実施の形態1に係る図1のB−B線に沿う断面図である。 同実施の形態1に係るICソケットの一部を断面にした斜視図で、移動部材が最上昇位置にある状態の斜視図である。 同実施の形態1に係るICソケットの一部を断面にした斜視図で、移動部材が最下降位置にある状態の斜視図である。 同実施の形態1に係るコンタクトピンの配設状態を示す断面図で、移動部材が最上昇位置にある状態の図である。 同実施の形態1に係るコンタクトピンの配設状態を示す断面図で、移動部材が最下降位置にある状態の図である。 同実施の形態1に係るICソケットのコンタクトピンを示す図で、(a)は正面図、(b)は(a)の右側面図である。 同実施の形態1に係るICソケットの移動部材の平面図である。 同実施の形態1に係る図9の右側面図である。 同実施の形態1に係る図9の底面図である。 同実施の形態1に係るラッチ部材を斜め上方から見た斜視図である。 同実施の形態1に係るラッチ部材を斜め下方から見た斜視図である。 同実施の形態1に係るラッチ部材の側面図である。 この発明の実施の形態2に係るICソケットの平面図である。 同実施の形態2に係る図15のC−C線に沿う断面図である。 同実施の形態2に係る図15のD−D線に沿う断面図である。 同実施の形態2に係るICソケットの一部を断面にした斜視図で、移動部材が最上昇位置にある状態の斜視図である。 同実施の形態2に係るICソケットの一部を断面にした斜視図で、移動部材が最下降位置にある状態の斜視図である。
符号の説明
11 ICソケット(電気部品用ソケット)
12 ICパッケージ(電気部品)
12a パッケージ本体
12b 半田ボール(端子)
13 ソケット本体
14 ベース部
14a 挿通孔
15 コンタクトピン
15a 基部
15c 弾性片
15d 接触部
15f 突部
17 移動部材
17a 挿通孔
17b 移動部材本体
17c 突出部
17d 押圧部
17e 被押圧面
19 収容部材
19a 支持片
19b ガイド部
21 操作部材
21a 押圧面
28 ラッチ部材
28a 回動軸
28b 被押圧部
28c 押さえ部

Claims (6)

  1. 電気部品を収容するソケット本体のベース部に、前記電気部品の端子に離接可能な弾性片を有する複数のコンタクトピンが配設されると共に、前記ベース部の上側に移動部材が上下動自在に配設され、該移動部材に前記各コンタクトピンの弾性片が挿通され、該移動部材を上下動させることにより、前記弾性片が開閉させられて、前記電気部品端子に前記弾性片の両接触部が離接されるようにした電気部品用ソケットにおいて、
    前記移動部材は、前記複数のコンタクトピンが挿通される挿通孔が形成されて略水平方向に沿う移動部材本体と、該移動部材本体から上方に突設されて上端面に被押圧面が形成された突出部とを有し、該被押圧面が押圧されることにより、前記移動部材が下降されるように構成されたことを特徴とする電気部品用ソケット。
  2. 前記突出部の被押圧面は、略水平方向に沿って形成されていることを特徴とする請求項1に記載の電気部品用ソケット。
  3. 前記突出部は、前記移動部材本体の周縁部に形成され、該突出部の内側に、前記電気部品が収容される収容部材が配設されたことを特徴とする請求項1又は2に記載の電気部品用ソケット。
  4. 前記収容部材には、係止部が形成され、該係止部により前記ソケット本体に着脱自在に設けられたことを特徴とする請求項1乃至3の何れか一つに記載の電気部品用ソケット。
  5. 前記収容部材には、前記電気部品の収容時に、該電気部品を案内するガイド部が形成されたことを特徴とする請求項1乃至4の何れか一つに記載の電気部品用ソケット。
  6. 前記ソケット本体には、操作部材が上下動自在に設けられ、該操作部材には、前記移動部材の被押圧面を押圧する押圧面が形成されたことを特徴とする請求項1乃至5の何れか一つに記載の電気部品用ソケット。
JP2004315344A 2004-10-29 2004-10-29 電気部品用ソケット Expired - Fee Related JP4467404B2 (ja)

Priority Applications (2)

Application Number Priority Date Filing Date Title
JP2004315344A JP4467404B2 (ja) 2004-10-29 2004-10-29 電気部品用ソケット
US11/260,292 US7134892B2 (en) 2004-10-29 2005-10-28 Socket for electrical parts

Applications Claiming Priority (1)

Application Number Priority Date Filing Date Title
JP2004315344A JP4467404B2 (ja) 2004-10-29 2004-10-29 電気部品用ソケット

Publications (2)

Publication Number Publication Date
JP2006127937A true JP2006127937A (ja) 2006-05-18
JP4467404B2 JP4467404B2 (ja) 2010-05-26

Family

ID=36262627

Family Applications (1)

Application Number Title Priority Date Filing Date
JP2004315344A Expired - Fee Related JP4467404B2 (ja) 2004-10-29 2004-10-29 電気部品用ソケット

Country Status (2)

Country Link
US (1) US7134892B2 (ja)
JP (1) JP4467404B2 (ja)

Cited By (2)

* Cited by examiner, † Cited by third party
Publication number Priority date Publication date Assignee Title
WO2009084085A1 (ja) * 2007-12-27 2009-07-09 Yamaichi Electronics Co., Ltd. 半導体装置用ソケット
WO2013042919A1 (ko) * 2011-09-23 2013-03-28 하이콘 주식회사 아이씨 테스트용 소켓장치

Families Citing this family (6)

* Cited by examiner, † Cited by third party
Publication number Priority date Publication date Assignee Title
JP5836113B2 (ja) * 2011-12-28 2015-12-24 株式会社エンプラス 電気部品用ソケット
TWM444623U (zh) * 2012-06-25 2013-01-01 Hon Hai Prec Ind Co Ltd 電連接器
KR101944693B1 (ko) * 2018-12-04 2019-02-01 황동원 반도체 소자 테스트용 bga 소켓장치
JP7602112B2 (ja) * 2020-11-17 2024-12-18 山一電機株式会社 検査用ソケット
US11569601B2 (en) * 2021-03-11 2023-01-31 Enplas Corporation Socket and inspection socket
JP2023140368A (ja) * 2022-03-23 2023-10-05 タイコエレクトロニクスジャパン合同会社 コンタクトおよびインターポーザ

Family Cites Families (2)

* Cited by examiner, † Cited by third party
Publication number Priority date Publication date Assignee Title
US4480888A (en) * 1982-06-23 1984-11-06 Amp Incorporated Multi terminal low insertion force connector
JP3683476B2 (ja) 2000-06-19 2005-08-17 株式会社エンプラス 電気部品用ソケット及びその組立方法

Cited By (6)

* Cited by examiner, † Cited by third party
Publication number Priority date Publication date Assignee Title
WO2009084085A1 (ja) * 2007-12-27 2009-07-09 Yamaichi Electronics Co., Ltd. 半導体装置用ソケット
KR101169153B1 (ko) * 2007-12-27 2012-07-30 야마이치덴키 가부시키가이샤 반도체 장치용 소켓
US8272882B2 (en) 2007-12-27 2012-09-25 Yamaichi Electronics Co., Ltd. Semiconductor device socket
JP5083327B2 (ja) * 2007-12-27 2012-11-28 山一電機株式会社 半導体装置用ソケット
WO2013042919A1 (ko) * 2011-09-23 2013-03-28 하이콘 주식회사 아이씨 테스트용 소켓장치
US9435853B2 (en) 2011-09-23 2016-09-06 Hicon Co., Ltd. Socket device for an IC test

Also Published As

Publication number Publication date
JP4467404B2 (ja) 2010-05-26
US7134892B2 (en) 2006-11-14
US20060094280A1 (en) 2006-05-04

Similar Documents

Publication Publication Date Title
JP4464250B2 (ja) 電気部品用ソケット
JP2003217774A (ja) コンタクトピン及びicソケット
US6439910B2 (en) Rotatable guide member for a socket for electrical parts
JP2006012491A (ja) Icソケット
JP2003178851A (ja) 電気部品用ソケット
JP4886997B2 (ja) 電気部品用ソケット
JP4467404B2 (ja) 電気部品用ソケット
US7722376B2 (en) Socket for electronic devices
US20040029412A1 (en) Contact pin and socket for electrical parts provided with contact pin
JP4729346B2 (ja) 電気部品用ソケット
JP4237485B2 (ja) 電気部品用ソケット
JP5518391B2 (ja) 電気部品用ソケット
KR20010113539A (ko) 전기부품용 소켓 및 그 조립방법
JP2006127935A (ja) 電気部品用ソケット
JPH08273777A (ja) Icソケット
US20030123241A1 (en) Mount structure
JP3877652B2 (ja) コンタクトピン及び電気部品用ソケット
JP3822068B2 (ja) 電気部品用ソケット
JP2005174670A (ja) オープントップ型icソケット
JP2003303656A (ja) 電気部品用ソケット
JP4786414B2 (ja) 電気部品用ソケット
JP2004047163A (ja) 電気部品用ソケット
JP4713994B2 (ja) 電気部品用ソケット
JP4322461B2 (ja) 電気部品用ソケット
JP3853814B2 (ja) 電気部品用ソケット

Legal Events

Date Code Title Description
A621 Written request for application examination

Free format text: JAPANESE INTERMEDIATE CODE: A621

Effective date: 20071004

A977 Report on retrieval

Free format text: JAPANESE INTERMEDIATE CODE: A971007

Effective date: 20091106

A131 Notification of reasons for refusal

Free format text: JAPANESE INTERMEDIATE CODE: A131

Effective date: 20091117

A521 Request for written amendment filed

Free format text: JAPANESE INTERMEDIATE CODE: A523

Effective date: 20100115

TRDD Decision of grant or rejection written
A01 Written decision to grant a patent or to grant a registration (utility model)

Free format text: JAPANESE INTERMEDIATE CODE: A01

Effective date: 20100223

A01 Written decision to grant a patent or to grant a registration (utility model)

Free format text: JAPANESE INTERMEDIATE CODE: A01

A61 First payment of annual fees (during grant procedure)

Free format text: JAPANESE INTERMEDIATE CODE: A61

Effective date: 20100223

R150 Certificate of patent or registration of utility model

Free format text: JAPANESE INTERMEDIATE CODE: R150

FPAY Renewal fee payment (event date is renewal date of database)

Free format text: PAYMENT UNTIL: 20130305

Year of fee payment: 3

FPAY Renewal fee payment (event date is renewal date of database)

Free format text: PAYMENT UNTIL: 20130305

Year of fee payment: 3

FPAY Renewal fee payment (event date is renewal date of database)

Free format text: PAYMENT UNTIL: 20140305

Year of fee payment: 4

R250 Receipt of annual fees

Free format text: JAPANESE INTERMEDIATE CODE: R250

R250 Receipt of annual fees

Free format text: JAPANESE INTERMEDIATE CODE: R250

R250 Receipt of annual fees

Free format text: JAPANESE INTERMEDIATE CODE: R250

LAPS Cancellation because of no payment of annual fees