JP2006062651A - 車両用燃料タンクの配置構造 - Google Patents
車両用燃料タンクの配置構造 Download PDFInfo
- Publication number
- JP2006062651A JP2006062651A JP2005336180A JP2005336180A JP2006062651A JP 2006062651 A JP2006062651 A JP 2006062651A JP 2005336180 A JP2005336180 A JP 2005336180A JP 2005336180 A JP2005336180 A JP 2005336180A JP 2006062651 A JP2006062651 A JP 2006062651A
- Authority
- JP
- Japan
- Prior art keywords
- fuel tank
- floor
- seat
- vehicle
- driver
- Prior art date
- Legal status (The legal status is an assumption and is not a legal conclusion. Google has not performed a legal analysis and makes no representation as to the accuracy of the status listed.)
- Pending
Links
Images
Landscapes
- Cooling, Air Intake And Gas Exhaust, And Fuel Tank Arrangements In Propulsion Units (AREA)
- Body Structure For Vehicles (AREA)
Abstract
【課題】燃料タンクの配置を変えて車室内スペースを一層広くする。
【解決手段】車両1は、前車軸4と後車軸5との間にキャビン6を有し、運転席7と助手席8との間にフロアトンネルを有したものである。運転席と助手席との下方で且つ床下に燃料タンク9を配置した。燃料タンクは、タンクの幅方向中央部からフロアトンネルに向けて膨出する上部膨出部を有する。上部膨出部をフロアトンネルの位置に合わせた。運転席や助手席の下のスペースを有効利用して、燃料タンクを配置したので、キャビン内スペースを広げることができる。このため、荷物収納スペースも広くなる。
【選択図】図1
【解決手段】車両1は、前車軸4と後車軸5との間にキャビン6を有し、運転席7と助手席8との間にフロアトンネルを有したものである。運転席と助手席との下方で且つ床下に燃料タンク9を配置した。燃料タンクは、タンクの幅方向中央部からフロアトンネルに向けて膨出する上部膨出部を有する。上部膨出部をフロアトンネルの位置に合わせた。運転席や助手席の下のスペースを有効利用して、燃料タンクを配置したので、キャビン内スペースを広げることができる。このため、荷物収納スペースも広くなる。
【選択図】図1
Description
本発明は車両用燃料タンクの配置構造に関する。
従来、車両用燃料タンクの配置構造としては、次の技術がある(例えば、特許文献1参照。)。
特開平6−106999号公報
上記従来の技術は、その公報の図5によれば、後席の下方で且つ床下に燃料タンク1(番号は公報に記載されたものを引用した。以下同じ。)を配置し、ボディー5にボルト止めしたものである。
このように、一般の乗用車では、後席の下方や後方、リヤアクスルの後方など、車両の後部に燃料タンクが配置される。このような燃料タンクの配置構造では、運転者にとって燃料揺動音(燃料タンク内の燃料が揺れて発する音)は気にならない。
さらには、このような燃料タンクの配置構造では、車体後部側部の燃料注入口から注入した燃料を、図示せぬフィラーパイプを介して燃料タンク1へ充填することになる。車体後部に燃料タンク1並びに燃料注入口があるので、床下にフィラーパイプを通す必要はない。
近年、車体の大きさを維持しつつ、車室内スペースを一層広くすることが望まれている。特に、キャビンとトランク室との間に仕切りがない、いわゆる2ボックスカー(エンジンルーム+キャビン)においては、車両後部の荷物収納スペースも広くしたい。しかし、従来のように車両後部に燃料タンクを配置したままでは限界があり、燃料タンクを車両後部から別の場所へ配置したい。
本発明は、燃料タンクの配置を変えて車室内スペースを一層広くすることができる技術を提供することを課題とする。
請求項1に係る発明は、前車軸と後車軸との間にキャビンを有し、運転席と助手席との間にフロアトンネルを有した車両において、運転席と助手席との下方で且つ床下に燃料タンクを配置し、この燃料タンクは、タンクの幅方向中央部からフロアトンネルに向けて膨出する上部膨出部を有し、この上部膨出部をフロアトンネルの位置に合わせたことを特徴とする。
車両の運転席や助手席の下には、通常、スペースがある。このスペースを有効利用して、燃料タンクを配置したので、後席の下が空く。従って、フロアパネルのうち、後席の下方を下げてキャビン内スペースを一層広くすることができる。
車両の運転席や助手席の下には、通常、スペースがある。このスペースを有効利用して、燃料タンクを配置したので、後席の下が空く。従って、フロアパネルのうち、後席の下方を下げてキャビン内スペースを一層広くすることができる。
請求項1に係る発明では、運転席と助手席との下方で且つ床下に燃料タンクを配置し、この燃料タンクに、タンクの幅方向中央部からフロアトンネルに向けて膨出する上部膨出部を有し、この上部膨出部をフロアトンネルの位置に合わせたことにより、運転席や助手席の下のスペースを有効利用して、燃料タンクを配置したので、キャビン内スペースを広げることができる。このため、荷物収納スペースも広くなる。
すなわち、運転席並びに助手席の下から床までの空きスペースを有効利用することによって、キャビン内スペースを狭くすることなく、且つ、燃料タンクの下面レベル(地上高)を確保することができる。
すなわち、運転席並びに助手席の下から床までの空きスペースを有効利用することによって、キャビン内スペースを狭くすることなく、且つ、燃料タンクの下面レベル(地上高)を確保することができる。
さらには、タンクの幅方向中央部からフロアトンネルに向けて上部膨出部を膨出させ、この上部膨出部をフロアトンネルの位置に合わせたので、従来と同容量の燃料タンクを得るのに、フロアトンネルに向けて上部膨出部を膨出させた分だけ、燃料タンクを薄型にすることができ、この結果、燃料タンクの下面レベルを上げることができる。従って、燃料タンクが接地したりチッピング(路面上の突起物等への軽打)する心配がないので、下面を覆う必要はない。
また、車体重心位置である車体長手中央近傍に、運転席と助手席があるときに、これらの席の下方に、重量物である燃料タンクを配置したので、車両の重心が下がるとともに、旋回走行時等における車両の重心点回りの慣性モーメントが低減し、車両運動性能が高まる。しかも、車体長手中央近傍に燃料タンクを配置したので、エンジンを車体フレームの前に配置する場合と後に配置する場合とでは、車体フレームの前後だけを変更すればよい。従って、車体フレームの生産性が高まる。
本発明を実施するための最良の形態を添付図に基づいて以下に説明する。なお、「前」、「後」、「左」、「右」、「上」、「下」は運転者から見た方向に従い、Frは前側、Rrは後側、Lは左側、Rは右側を示す。また、図面は符号の向きに見るものとする。
図1は本発明に係る車両の概略側面図であり、「ミニバンタイプ」と称する車両1を示す。
この車両1は、テールゲートを備えるとともに、キャビンとトランク室との間に仕切りがない、エンジンルームとキャビンとからなる、いわゆる2ボックスカーである。詳しくは、車両1は、車体フレーム(車体)2の前部に想像線で示すエンジン3を搭載し、前車軸4と後車軸5との間にキャビン(車室)6を有し、運転席7と助手席8(この図で運転席7の向こう側)との下方で且つ床下に燃料タンク9を配置し、車体フレーム2の上に張ったフロアパネル11で燃料タンク9を覆い、フロアパネル11の後部分をトランク部12としたものである。
図中、13は前輪、14は後輪、15は後席である。
この車両1は、テールゲートを備えるとともに、キャビンとトランク室との間に仕切りがない、エンジンルームとキャビンとからなる、いわゆる2ボックスカーである。詳しくは、車両1は、車体フレーム(車体)2の前部に想像線で示すエンジン3を搭載し、前車軸4と後車軸5との間にキャビン(車室)6を有し、運転席7と助手席8(この図で運転席7の向こう側)との下方で且つ床下に燃料タンク9を配置し、車体フレーム2の上に張ったフロアパネル11で燃料タンク9を覆い、フロアパネル11の後部分をトランク部12としたものである。
図中、13は前輪、14は後輪、15は後席である。
図2は本発明に係る車体フレームの平面図であり、フロアパネル11を外した状態を示す。但し、説明の便宜上、フロアパネル11のうちフロアトンネル16だけを想像線にて示す。
車体フレーム2は、前部両側に前後方向に延したフロントサイドフレーム21,21と、フロントサイドフレーム21,21の前部間に掛け渡したフロントクロスメンバ22と、フロントサイドフレーム21,21の車幅方向外側に且つ斜め上部に配置し車体前後方向に延びたアッパメンバ23,23と、アッパメンバ23,23の後部に接合したサイドシル24,24と、サイドシル24,24の後部から後方へ延したリヤサイドフレーム25,25と、サイドシル24,24の後部間に掛け渡したミドルクロスメンバ26と、リヤサイドフレーム25,25の後部間に掛け渡したリヤクロスメンバ27とを、主要構成としたものである。
車体フレーム2は、前部両側に前後方向に延したフロントサイドフレーム21,21と、フロントサイドフレーム21,21の前部間に掛け渡したフロントクロスメンバ22と、フロントサイドフレーム21,21の車幅方向外側に且つ斜め上部に配置し車体前後方向に延びたアッパメンバ23,23と、アッパメンバ23,23の後部に接合したサイドシル24,24と、サイドシル24,24の後部から後方へ延したリヤサイドフレーム25,25と、サイドシル24,24の後部間に掛け渡したミドルクロスメンバ26と、リヤサイドフレーム25,25の後部間に掛け渡したリヤクロスメンバ27とを、主要構成としたものである。
また、車体フレーム2は、フロアパネル11(図1参照)を補強するために、車体長手中央に且つ車幅中央に、4本の床下補強部材(フロアフレーム)31〜34を平面視略井桁状に通したものである。詳しくは、これらの床下補強部材31〜34は、左右のサイドシル24,24間に掛け渡した、前部フロアフレーム31並びに後部フロアフレーム32と、フロントサイドフレーム21,21の後部とミドルクロスメンバ26との間に掛け渡した、左側部フロアフレーム33並びに右側部フロアフレーム34である。
本発明は、4本の床下補強部材31〜34で前後左右を囲ったスペースS1に、燃料タンク9を配置したことを特徴とする。すなわち、4本の床下補強部材31〜34で、燃料タンク9の前後左右を囲った。
燃料タンク9の前後左右を囲う床下補強部材31〜34で、フロアパネル(床)11を補強する。燃料タンク9は重量物であるから、この燃料タンク9を支える部分を補強することで、床全体の重量増加を抑えつつ、剛性に富んだ床にすることができる。
燃料タンク9の前後左右を囲う床下補強部材31〜34で、フロアパネル(床)11を補強する。燃料タンク9は重量物であるから、この燃料タンク9を支える部分を補強することで、床全体の重量増加を抑えつつ、剛性に富んだ床にすることができる。
なお、燃料タンク9を囲う床下補強部材31〜34としては、燃料タンク9の前後左右の全体を囲う構成に限定するものではなく、燃料タンク9の前、後、左又は右の少なくとも一方を囲った構成であってもよい。例えば、(1)左側部フロアフレーム33で燃料タンク9の左を囲った構成、(2)左・右側部フロアフレーム33,34で燃料タンク9の左右を囲った構成、又は、(3)前部・左側部・右側部フロアフレーム31,33,34で燃料タンク9の前と左右を囲った構成であってもよい。このような構成であっても、燃料タンク9を支える部分を補強することで、床全体の重量増加を抑えつつ、剛性に富んだ床にすることができる。
フロアトンネル16は、ダッシュボードロア35からミドルクロスメンバ26へかけて、車幅中央近傍に通した前後に細長いトンネル、すなわち、キャビン6(図1参照)の横方向中央部に前後方向に延びるトンネルである。このため、フロアトンネル16は燃料タンク9の上方を通ることになる。
ところで、車両1は前エンジン・前輪駆動方式の車両(FF車)であり、フロアトンネル16にプロペラシャフトを通さないものである。この場合のフロアトンネル16は、フロアパネル11の剛性を高める目的で設けたものである。
図中、36はフロントダンパハウジング、37,37はサイドアウトリガーである。
ところで、車両1は前エンジン・前輪駆動方式の車両(FF車)であり、フロアトンネル16にプロペラシャフトを通さないものである。この場合のフロアトンネル16は、フロアパネル11の剛性を高める目的で設けたものである。
図中、36はフロントダンパハウジング、37,37はサイドアウトリガーである。
図3は図2の3−3線断面図であり、運転席7並びに助手席8の下方において、フロアパネル11を上方へ膨出させて、その膨出部分41で燃料タンク9の上部を覆ったことを示す。膨出部分41は、側面断面視で前席フロア部42から斜め上後方へ延びる前部縦壁部43と、前部縦壁部43から後方へほぼ水平に延びる水平部44と、水平部44から斜め下後方へ延びて後席フロア部46に連なる後部縦壁部45とからなる。
図4は本発明に係る車体フレームの要部斜視図であり、フロアパネル11の膨出部分41周りを示す。
フロアパネル11は、キャビン側(図の上方)へ突出したフロアトンネル16と、フロアトンネル16の両側の膨出部分41,41とを一体に形成したものである。膨出部分41,41の前部・後部縦壁部43,45で、両側のサイドシル24,24間を連結したので、車体フレーム2の剛性は高まる。
フロアパネル11は、キャビン側(図の上方)へ突出したフロアトンネル16と、フロアトンネル16の両側の膨出部分41,41とを一体に形成したものである。膨出部分41,41の前部・後部縦壁部43,45で、両側のサイドシル24,24間を連結したので、車体フレーム2の剛性は高まる。
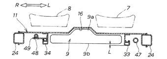
図5は図2の5−5線断面図であり、左右のサイドシル24,24間にフロアパネル11を張り、運転席7と助手席8との間にフロアトンネル16を通すとともに、運転席7と助手席8との下方で且つ床下に燃料タンク9を配置し、この燃料タンク9の少なくとも一部(中央上部)を上方へ膨出させ、その上部膨出部9aをフロアトンネル16に入り込ませたことを示す。すなわち、燃料タンク9に、タンク9の幅方向中央部からフロアトンネル16に向けて膨出する上部膨出部9aを有し、この上部膨出部9aをフロアトンネル16に合わせた。
また、この図は、次の(1)〜(3)について示す。
(1)フロアパネル11の下面に取付けた4本の床下補強部材31〜34(この図では左右2本のみ示す。)を、燃料タンク9の下面9bよりも寸法Lだけ下まで延した。燃料タンク9の下面9bが床下補強部材31〜34の下面よりも上位にあるので、燃料タンク9が接地する心配はない。なお、4本の床下補強部材31〜34のうち、少なくとも1本が、燃料タンク9の下面9bよりも下まで延びたものであればよい。
(1)フロアパネル11の下面に取付けた4本の床下補強部材31〜34(この図では左右2本のみ示す。)を、燃料タンク9の下面9bよりも寸法Lだけ下まで延した。燃料タンク9の下面9bが床下補強部材31〜34の下面よりも上位にあるので、燃料タンク9が接地する心配はない。なお、4本の床下補強部材31〜34のうち、少なくとも1本が、燃料タンク9の下面9bよりも下まで延びたものであればよい。
(2)左側部フロアフレーム(床下補強部材)33にエンジン用排気管47を沿わせ、この排気管47と燃料タンク9とを左側部フロアフレーム33で分離する配置にした。排気管47の熱を左側部フロアフレーム33で遮蔽して、燃料タンク9への熱伝導を低減させることができる。
(3)右側部フロアフレーム(床下補強部材)34にエンジン用燃料配管48を沿わせたことを示す。燃料配管48を燃料タンク9の近傍に集約して、短くすることができる。49は燃料配管用ステイである。
次に、車両用燃料タンクの配置構造の作用を図1及び図5に基づき説明する。
図1に示すように、前後2列の座席を備えた車両1は、一般に、車体フレーム2の長手中央近傍に前席(運転席7と助手席8)があり、この位置に車体重心がある。運転席7と助手席8との下方に、重量物である燃料タンク9を配置したので、燃料タンク9は車体重心の近傍の低位にある。この結果、車両1の重心が下がるとともに、旋回走行時等における車両の重心点回りの慣性モーメントが低減し、車両運動性能が高まる。
図1に示すように、前後2列の座席を備えた車両1は、一般に、車体フレーム2の長手中央近傍に前席(運転席7と助手席8)があり、この位置に車体重心がある。運転席7と助手席8との下方に、重量物である燃料タンク9を配置したので、燃料タンク9は車体重心の近傍の低位にある。この結果、車両1の重心が下がるとともに、旋回走行時等における車両の重心点回りの慣性モーメントが低減し、車両運動性能が高まる。
さらには、車体長手中央近傍に燃料タンク9を配置したので、エンジン3を車体フレーム2の前に配置する場合と後に配置する場合とでは、車体フレーム2の前後だけを変更すればよい。従って、車体フレーム2の生産性が高まる。
以上の説明をまとめると次の通りである。
本発明では、図1〜図5に示すように、キャビン6内に有している運転席7と助手席8との下方で且つ床下に燃料タンク9を配置し、この燃料タンク9に、タンク9の幅方向中央部から上方に向けて膨出する上部膨出部9aを有し、この上部膨出部9aをフロアトンネル16に入り込ませた。つまり、燃料タンク9に、タンク9の幅方向中央部からフロアトンネル16に向けて膨出する上部膨出部9aを有し、この上部膨出部9aをフロアトンネル16に合わせた。このようにして、運転席7や助手席8の下のスペースを有効利用して、燃料タンク9を配置したので、キャビン6内スペースを広げることができる。このため、荷物収納スペースも広くなる。
すなわち、運転席7並びに助手席8の下から床11までの空きスペースを有効利用することによって、キャビン6内スペースを狭くすることなく、且つ、燃料タンク9の下面レベル(地上高)を確保することができる。
本発明では、図1〜図5に示すように、キャビン6内に有している運転席7と助手席8との下方で且つ床下に燃料タンク9を配置し、この燃料タンク9に、タンク9の幅方向中央部から上方に向けて膨出する上部膨出部9aを有し、この上部膨出部9aをフロアトンネル16に入り込ませた。つまり、燃料タンク9に、タンク9の幅方向中央部からフロアトンネル16に向けて膨出する上部膨出部9aを有し、この上部膨出部9aをフロアトンネル16に合わせた。このようにして、運転席7や助手席8の下のスペースを有効利用して、燃料タンク9を配置したので、キャビン6内スペースを広げることができる。このため、荷物収納スペースも広くなる。
すなわち、運転席7並びに助手席8の下から床11までの空きスペースを有効利用することによって、キャビン6内スペースを狭くすることなく、且つ、燃料タンク9の下面レベル(地上高)を確保することができる。
さらには、燃料タンク9の上部膨出部9aをフロアトンネル16に入り込ませた、つまり、タンク9の幅方向中央部からフロアトンネル16に向けて上部膨出部9aを膨出させ、この上部膨出部9aをフロアトンネル16に合わせたので、従来と同容量の燃料タンク9を得るのに、フロアトンネル16に向けて上部膨出部9aを膨出させた分だけ、燃料タンク9を薄型にすることができ、この結果、燃料タンク9の下面レベルを上げることができる。従って、燃料タンク9が接地したりチッピング(路面上の突起物等への軽打)する心配がないので、下面を覆う必要はない。
また、本発明では、図1〜図5に示すように、キャビン6内に有している運転席7と助手席8との下方で且つ床下に燃料タンク9を配置し、この燃料タンク9を、フロアトンネル16に入り込む上部膨出部9aを有している中央のタンク部分と、この中央のタンク部分から左右一方へ延びて運転席7の下方に臨むタンク部分と、中央のタンク部分から左右他方へ延びて助手席8の下方に臨むタンク部分と、からなる一体品としたことにより、運転席7や助手席8の下のスペースを有効利用して、燃料タンク9を配置したので、キャビン6内スペースを広げることができる。このため、荷物収納スペースも広くなる。
すなわち、運転席7並びに助手席8の下から床11までの空きスペースを有効利用することによって、キャビン6内スペースを狭くすることなく、且つ、燃料タンク9の下面レベル(地上高)を確保することができる。
すなわち、運転席7並びに助手席8の下から床11までの空きスペースを有効利用することによって、キャビン6内スペースを狭くすることなく、且つ、燃料タンク9の下面レベル(地上高)を確保することができる。
さらには、燃料タンク9に、フロアトンネル16に入り込む上部膨出部9aを有している中央のタンク部分を設けたので、従来と同容量の燃料タンク9を得るのに、入り込ませた分だけ、燃料タンク9を薄型にすることができ、この結果、燃料タンク9の下面レベルを上げることができる。従って、燃料タンク9が接地したりチッピング(路面上の突起物等への軽打)する心配がないので、下面を覆う必要はない。
図6(a),(b)は本発明に係る車両用燃料タンクの配置構造の作用説明図である。
(a)のように、運転席7や助手席8の下は、通常、空きスペースである。この空きスペースを有効利用して、燃料タンク9を配置した。従来は、後席15の下方で且つ床下に燃料タンクを配置していた。燃料タンク9の配置を変えたので、後席15の下が空く。従って、フロアパネル11のうち、後席15の下方を下げることができる。又は、後席15の下に広いスペースS2を確保することができる。通常は、このスペースS2を、荷物収納スペースとして有効に使用することができる。
(a)のように、運転席7や助手席8の下は、通常、空きスペースである。この空きスペースを有効利用して、燃料タンク9を配置した。従来は、後席15の下方で且つ床下に燃料タンクを配置していた。燃料タンク9の配置を変えたので、後席15の下が空く。従って、フロアパネル11のうち、後席15の下方を下げることができる。又は、後席15の下に広いスペースS2を確保することができる。通常は、このスペースS2を、荷物収納スペースとして有効に使用することができる。
(b)は、後席15をフロアパネル11の高さまで完全に折畳み、スペースS2に収納した状態を示す。フロアパネル11の高さは、サイドシル24の上面と同じ低いレベルである。前に倒した後席15のシートバック15aの高さが、トランク部12と概ね同一レベルになるので、車両1の後部に極めて容易に、広い後部収納スペースS3を確保することができる。従って、後部収納スペースS3を広げるために、後席15を外す必要はない。
図7は本発明に係る燃料タンク取付け例(第1例)を示す側面断面図であり、車体補強用サブフレーム51に燃料タンク9を載せて、バンド54でボルト止めし、さらに、サブフレーム51を車体フレーム2に結合したことを示す。
燃料タンク9は、フロアパネル11との間に所定の隙間δをおいて配置したものである。隙間δをおくことによって、空気を介在させたので遮音性が高まり、燃料揺動音(燃料タンク内の燃料が揺れて発する音)等がキャビン6に伝わり難い。従って、キャビン6の居住性は高まる。
燃料タンク9は、フロアパネル11との間に所定の隙間δをおいて配置したものである。隙間δをおくことによって、空気を介在させたので遮音性が高まり、燃料揺動音(燃料タンク内の燃料が揺れて発する音)等がキャビン6に伝わり難い。従って、キャビン6の居住性は高まる。
図8は本発明に係る燃料タンク取付け例(第1例)を示す底面図である。
サブフレーム51は、車体フレーム2の左右のサイドアウトリガー37,37に掛け渡すクロスメンバ部52と、クロスメンバ部52から後方へ二股状に延びて後部フロアフレーム32に結合する左右のビーム部53,53とからなる。
サブフレーム51は、車体フレーム2の左右のサイドアウトリガー37,37に掛け渡すクロスメンバ部52と、クロスメンバ部52から後方へ二股状に延びて後部フロアフレーム32に結合する左右のビーム部53,53とからなる。
図9は本発明に係る燃料タンク取付け例(第1例)を示す分解斜視図である。
車体フレーム2に燃料タンク9を取付けるには、先ず、サブフレーム51に燃料タンク9を載せ、この燃料タンク9の左右上部に2個のバンド54,54を掛け、これらのバンド54,54をサブフレーム51にボルト55・・・(・・・は複数を示す。以下同じ。)で結合する。次に、サイドアウトリガー37の下面並びに後部フロアフレーム32の下面に、サブフレーム51を当て、ボルト56・・・で結合する。
車体フレーム2に燃料タンク9を取付けるには、先ず、サブフレーム51に燃料タンク9を載せ、この燃料タンク9の左右上部に2個のバンド54,54を掛け、これらのバンド54,54をサブフレーム51にボルト55・・・(・・・は複数を示す。以下同じ。)で結合する。次に、サイドアウトリガー37の下面並びに後部フロアフレーム32の下面に、サブフレーム51を当て、ボルト56・・・で結合する。
このように、予め燃料タンク9を組付けた車体補強用サブフレーム51を、車体フレーム2に取付けるので、別々に組付ける場合に比べて、組付性が良い。しかも、サブフレーム51に燃料タンク9を組付ける方式であるから、車体フレーム2の骨組の制約を受けずに、燃料タンク9の幅寸法を車体フレーム2の車幅寸法に近づけることができ、この結果、タンク容量を増すことができる。さらには、サブフレーム51で車体フレーム2を補強するので、車体フレーム2の剛性が高まる。燃料タンク9を載せたサブフレーム51で、燃料タンク9の下面を保護することができる。
図10(a),(b)は本発明に係る車両用燃料タンクの配置構造の変形例図であり、(a)は車両の概略側面図、(b)は本発明に係る車体フレームの平面図である。
この変形例の車両1は、エンジン3と電気モータ61の両方を走行用動力源とした、いわゆる、ハイブリッド型車両であり、エンジン3の近傍に電気モータ61を配置するとともに、後席15の下に電気モータ61の電力供給源(例えば、バッテリ、燃料電池)62を配置したことを特徴とする。詳しくは、運転席7と助手席8との下方で且つ床下に燃料タンク9を配置したので、後席15の下が空く。後席15の下の広いスペースS2を、電力供給源収納スペースとして有効活用した。
この変形例の車両1は、エンジン3と電気モータ61の両方を走行用動力源とした、いわゆる、ハイブリッド型車両であり、エンジン3の近傍に電気モータ61を配置するとともに、後席15の下に電気モータ61の電力供給源(例えば、バッテリ、燃料電池)62を配置したことを特徴とする。詳しくは、運転席7と助手席8との下方で且つ床下に燃料タンク9を配置したので、後席15の下が空く。後席15の下の広いスペースS2を、電力供給源収納スペースとして有効活用した。
この結果、電力供給源62を配置するための特別のスペースが不要である。従って、従来の後席15の下に燃料タンクを配置した車両と、同等のキャビンスペースを容易に確保することができる。
しかも、電力供給源62を後席15下のスペースS2に収納するので、従来の車体フレーム2をそのまま流用することができ、生産性が高まる。
さらには、燃料タンク9と電力供給源62の両方をフロア部分に配置したので、車両の重心は低い。
これ以外の構成については、上記図1〜図9に示す構成と同様であり、同一符号を付し、その説明を省略する。
しかも、電力供給源62を後席15下のスペースS2に収納するので、従来の車体フレーム2をそのまま流用することができ、生産性が高まる。
さらには、燃料タンク9と電力供給源62の両方をフロア部分に配置したので、車両の重心は低い。
これ以外の構成については、上記図1〜図9に示す構成と同様であり、同一符号を付し、その説明を省略する。
図11は本発明に係る燃料タンク取付け例(第2例)を示す側面断面図であり、運転席7並びに助手席8の下方において、フロアパネル11を上方へ膨出させて、その膨出部分41で燃料タンク9の上部を覆ったことを示す。膨出部分41は、側面断面視で前席フロア部42から斜め上後方へ延びる前部縦壁部43と、前部縦壁部43から後方へほぼ水平に延びる水平部44と、水平部44から斜め下後方へ延びて後席フロア部46に連なる後部縦壁部45とからなる。
また、この図は、サブフレーム51に燃料タンク9を載せ、その上から遮音板58を被せてボルト止めし、さらに、サブフレーム51を車体フレーム2の下部にボルト止めしたことを示す。すなわち、運転席7並びに助手席8の下方の床下に、この床11から所定の隙間δをおいて遮音板58を取付け、この遮音板58の下方に燃料タンク9を配置することで、この燃料タンク9を遮音板58を介して車体側に取付けたものである。
遮音板58の形状は任意であり、好ましくは、燃料タンク9の上面全体を覆う形状であり、さらに好ましくは、燃料タンク9の全体を覆う形状である。また、遮音板58の材質としては、フロアパネル11と同一材料、一般的な鋼板、吸音材等を適宜設定すればよい。
フロアパネル11と遮音板58との間に所定の隙間δをおいた、二重構造なので遮音性が良く、燃料揺動音(燃料タンク9内の燃料が揺れて発する音)等がキャビン6に伝わり難い。従って、キャビン6の居住性は高まる。
ところで、燃料タンク9は上面9cを遮音板58に当てたものである。このため、フロアパネル11から燃料タンク9までの高さを小さくすることができる。
ところで、燃料タンク9は上面9cを遮音板58に当てたものである。このため、フロアパネル11から燃料タンク9までの高さを小さくすることができる。
図12は図11の12−12線断面図であり、左右のサイドシル24,24間にフロアパネル11を張り、運転席7と助手席8との間にフロアトンネル16を通すとともに、運転席7と助手席8との下方で且つ床下に燃料タンク9を配置し、この燃料タンク9の少なくとも一部(中央上部)を上方へ膨出させ、その上部膨出部9aをフロアトンネル16に入り込ませたことを示す。
また、この図は、燃料タンク9の上面全体を遮音板58で覆ったことを示す。
また、この図は、燃料タンク9の上面全体を遮音板58で覆ったことを示す。
図13は本発明に係る燃料タンク取付け例(第3例)を示す側面断面図である。第3例の構成は、フロアパネル11と遮音板58との間の隙間δに、吸音材(例えば、グラスウール)59を充填したことを特徴とする。吸音材59を介在させた二重構造であれば、より一層遮音性が高まる。
他の構成については、上記図1〜図12に示す実施の形態の構成と同一であり、同一符号を付してその説明を省略する。
他の構成については、上記図1〜図12に示す実施の形態の構成と同一であり、同一符号を付してその説明を省略する。
図14は本発明に係る燃料タンク、燃料充填系統、ブレーキ系統、パーキングブレーキ系統を示す斜視図である。
燃料タンク9への燃料充填系統70は、車両1の後部側部に設けた燃料注入口71から注入した燃料を、フィラーパイプ72を介して燃料タンク9へ充填し、このときに燃料タンク9内の空気をブリーザパイプ73を通じて燃料注入口71近傍へ放出させるものである。本発明は、フィラーパイプ72並びにブリーザパイプ73を、想像線にて示すフロアトンネル16を通じて、燃料注入口71から燃料タンク9まで配管したことを特徴とする。
燃料タンク9への燃料充填系統70は、車両1の後部側部に設けた燃料注入口71から注入した燃料を、フィラーパイプ72を介して燃料タンク9へ充填し、このときに燃料タンク9内の空気をブリーザパイプ73を通じて燃料注入口71近傍へ放出させるものである。本発明は、フィラーパイプ72並びにブリーザパイプ73を、想像線にて示すフロアトンネル16を通じて、燃料注入口71から燃料タンク9まで配管したことを特徴とする。
ブレーキ系統80は、ブレーキペダル81でブースタ(マスタパワー)82を作動させることによって、マスタシリンダ83から、2本のフロントブレーキ液パイプ84,85を介して、前輪13,13のフロントブレーキ86,86へ油圧を作用させるとともに、2本のリヤブレーキ液パイプ87,88を介して、後輪14,14のリヤブレーキ89へ油圧を作用させるものである。
パーキングブレーキ系統90は、ハンドブレーキレバー91の操作力を、2本のパーキングブレーキワイヤ92,93を介して、後輪14,14のリヤブレーキ89へ伝達するものである。
本発明は、リヤブレーキ液パイプ87,88並びにパーキングブレーキワイヤ92,93を、フロアトンネル16に通したことを特徴とする。
本発明は、リヤブレーキ液パイプ87,88並びにパーキングブレーキワイヤ92,93を、フロアトンネル16に通したことを特徴とする。
図15は本発明に係るフロアトンネルと燃料タンク、燃料充填系統、ブレーキ系統、パーキングブレーキ系統の関係を示す側面断面図であり、燃料タンク9の近傍にハンドブレーキレバー91を配置し、このハンドブレーキレバー91に接続したパーキングブレーキワイヤ92,93を、フロアトンネル16内に引き込んだことを示す。
また、この図は、フィラーパイプ72、ブリーザパイプ73、リヤブレーキ液パイプ87,88並びにパーキングブレーキワイヤ92,93が、フロアトンネル16を通った後にフロアパネル11の後部へ延びていることを示す。
また、この図は、フィラーパイプ72、ブリーザパイプ73、リヤブレーキ液パイプ87,88並びにパーキングブレーキワイヤ92,93が、フロアトンネル16を通った後にフロアパネル11の後部へ延びていることを示す。
図16は図15の16−16線断面図であり、フィラーパイプ72とともに、ブリーザパイプ73、リヤブレーキ液パイプ87,88並びにパーキングブレーキワイヤ92,93を、フロアトンネル16に通したことを示す。
図17は本発明に係るフロアトンネルと燃料タンク、燃料充填系統、ブレーキ系統、パーキングブレーキ系統の関係を示す要部平面図であり、燃料タンク9の後部に接続したフィラーパイプ72、燃料タンク9の上部に接続したブリーザパイプ73、車両前部から燃料タンク9の側部を迂回したリヤブレーキ液パイプ87,88、パーキングブレーキワイヤ92,93を、フロアトンネル16内に並べて通したことを示す。
次に、図14に基づいて、フロアトンネル16にフィラーパイプ72、ブリーザパイプ73、リヤブレーキ液パイプ87,88並びにパーキングブレーキワイヤ92,93を通したことによる、作用を説明する。
燃料タンク9の位置をフロアトンネル16が通る。フロアトンネル16は、床面からキャビン6側へ突出したものであり、しかも、比較的剛性が大きい。このようなフロアトンネル16のスペースを通じて、フィラーパイプ72並びにブリーザパイプ73を燃料タンク9まで配管するので、配管は容易である。同様に、フロアトンネル16のスペースを通じて、リヤブレーキ液パイプ87,88の配管並びにパーキングブレーキワイヤ92,93の配線をするので、配管、配線は容易である。
しかも、フィラーパイプ72、ブリーザパイプ73、リヤブレーキ液パイプ87,88並びにパーキングブレーキワイヤ92,93は、フロアトンネル16内にあるので、床面よりも上方を通ることになり、走行状態にかかわらず、接地したりチッピング(路面上の突起物等への軽打)をする心配はない。
また、フィラーパイプ72とブリーザパイプ73、リヤブレーキ液パイプ87,88並びにパーキングブレーキワイヤ92,93との取付ステイ(図示せず)を、統合させることができる。
また、フィラーパイプ72とブリーザパイプ73、リヤブレーキ液パイプ87,88並びにパーキングブレーキワイヤ92,93との取付ステイ(図示せず)を、統合させることができる。
以上の説明をまとめると次の通りである。
本発明では、図1〜図5及び図14〜図17に示すように、キャビン6内に有している運転席7と助手席8との下方で且つ床下に燃料タンク9を配置し(図1参照)、この燃料タンク9は、燃料系の配管(ブリーザパイプ73)の接続する部分をタンク上面から上方に突出し(図14、図15、図17参照)、その突出部分をフロアトンネル16に入り込ませた(図14、図15、図17参照)ことにより、運転席7や助手席8の下のスペースを有効利用して、燃料タンク9を配置したので、キャビン6内スペースを広げることができる。このため、荷物収納スペースも広くなる。
すなわち、運転席7並びに助手席8の下から床11までの空きスペースを有効利用することによって、キャビン6内スペースを狭くすることなく、且つ、燃料タンク9の下面レベル(地上高)を確保することができる。
本発明では、図1〜図5及び図14〜図17に示すように、キャビン6内に有している運転席7と助手席8との下方で且つ床下に燃料タンク9を配置し(図1参照)、この燃料タンク9は、燃料系の配管(ブリーザパイプ73)の接続する部分をタンク上面から上方に突出し(図14、図15、図17参照)、その突出部分をフロアトンネル16に入り込ませた(図14、図15、図17参照)ことにより、運転席7や助手席8の下のスペースを有効利用して、燃料タンク9を配置したので、キャビン6内スペースを広げることができる。このため、荷物収納スペースも広くなる。
すなわち、運転席7並びに助手席8の下から床11までの空きスペースを有効利用することによって、キャビン6内スペースを狭くすることなく、且つ、燃料タンク9の下面レベル(地上高)を確保することができる。
なお、上記本発明の実施の形態並びに変形例において、フロアトンネル16にプロペラシャフトを通すかについては、任意である。
1…車両、4…前車軸、5…後車軸、6…キャビン、7…運転席、8…助手席、9…燃料タンク、9a…上部膨出部、11…床(フロアパネル)、16…フロアトンネル。
Claims (1)
- 前車軸と後車軸との間にキャビンを有し、運転席と助手席との間にフロアトンネルを有した車両において、前記運転席と助手席との下方で且つ床下に燃料タンクを配置し、この燃料タンクは、タンクの幅方向中央部から前記フロアトンネルに向けて膨出する上部膨出部を有し、この上部膨出部を前記フロアトンネルの位置に合わせたことを特徴とする車両用燃料タンクの配置構造。
Priority Applications (1)
| Application Number | Priority Date | Filing Date | Title |
|---|---|---|---|
| JP2005336180A JP2006062651A (ja) | 1998-07-13 | 2005-11-21 | 車両用燃料タンクの配置構造 |
Applications Claiming Priority (4)
| Application Number | Priority Date | Filing Date | Title |
|---|---|---|---|
| JP19788698 | 1998-07-13 | ||
| JP19788598 | 1998-07-13 | ||
| JP21491198 | 1998-07-13 | ||
| JP2005336180A JP2006062651A (ja) | 1998-07-13 | 2005-11-21 | 車両用燃料タンクの配置構造 |
Related Parent Applications (1)
| Application Number | Title | Priority Date | Filing Date |
|---|---|---|---|
| JP2005256060A Division JP2006051939A (ja) | 1998-07-13 | 2005-09-05 | 車両用燃料タンクの配置構造 |
Publications (1)
| Publication Number | Publication Date |
|---|---|
| JP2006062651A true JP2006062651A (ja) | 2006-03-09 |
Family
ID=36109475
Family Applications (1)
| Application Number | Title | Priority Date | Filing Date |
|---|---|---|---|
| JP2005336180A Pending JP2006062651A (ja) | 1998-07-13 | 2005-11-21 | 車両用燃料タンクの配置構造 |
Country Status (1)
| Country | Link |
|---|---|
| JP (1) | JP2006062651A (ja) |
Cited By (4)
| Publication number | Priority date | Publication date | Assignee | Title |
|---|---|---|---|---|
| JP2009120145A (ja) * | 2007-11-19 | 2009-06-04 | Mazda Motor Corp | 車両のタンク配設構造 |
| WO2012157661A1 (ja) * | 2011-05-17 | 2012-11-22 | 日産自動車株式会社 | 非接触充電器の取付構造 |
| WO2012157660A1 (ja) * | 2011-05-17 | 2012-11-22 | 日産自動車株式会社 | 非接触充電器の取付構造 |
| JP2013112210A (ja) * | 2011-11-29 | 2013-06-10 | Toyota Motor Corp | 車両のバッテリ搭載構造 |
-
2005
- 2005-11-21 JP JP2005336180A patent/JP2006062651A/ja active Pending
Cited By (4)
| Publication number | Priority date | Publication date | Assignee | Title |
|---|---|---|---|---|
| JP2009120145A (ja) * | 2007-11-19 | 2009-06-04 | Mazda Motor Corp | 車両のタンク配設構造 |
| WO2012157661A1 (ja) * | 2011-05-17 | 2012-11-22 | 日産自動車株式会社 | 非接触充電器の取付構造 |
| WO2012157660A1 (ja) * | 2011-05-17 | 2012-11-22 | 日産自動車株式会社 | 非接触充電器の取付構造 |
| JP2013112210A (ja) * | 2011-11-29 | 2013-06-10 | Toyota Motor Corp | 車両のバッテリ搭載構造 |
Similar Documents
| Publication | Publication Date | Title |
|---|---|---|
| JP3765947B2 (ja) | 車両用燃料タンクの配置構造 | |
| EP2447099B1 (en) | Hybrid vehicle structure | |
| JP3439432B2 (ja) | 車両の前部構造 | |
| JP3976198B2 (ja) | 車体前部構造 | |
| JP6689911B2 (ja) | 車体下部構造体 | |
| JP5532877B2 (ja) | 車両のバッテリ配設構造 | |
| JP2005119492A (ja) | 車体構造 | |
| JPH08244479A (ja) | 車両の燃料タンク | |
| JP4098324B2 (ja) | 車両用燃料タンクの配置構造 | |
| JP2016107959A (ja) | Ff方式を採用する車両 | |
| JP2005104253A (ja) | 車両の下部車体構造 | |
| JP4073932B2 (ja) | 車両用燃料タンクの配置構造 | |
| JP2006062651A (ja) | 車両用燃料タンクの配置構造 | |
| JP4091628B2 (ja) | 車両用燃料タンクの配置構造 | |
| JP2006056509A (ja) | 車両用燃料タンクの配置構造 | |
| JP2006051941A (ja) | 車両用燃料タンクの配置構造 | |
| JP2006051943A (ja) | 車両用燃料タンクの配置構造 | |
| JP2006051939A (ja) | 車両用燃料タンクの配置構造 | |
| JP2006051940A (ja) | 車両用燃料タンクの配置構造 | |
| JP2009051375A (ja) | 車両用補機の配設構造 | |
| JP2005225414A (ja) | 車両の燃料タンク取付け構造 | |
| JPH10264846A5 (ja) | ||
| JP2004237766A (ja) | 車両のガス燃料タンク取付構造 | |
| JP2005119490A (ja) | 車体構造 | |
| JP4295043B2 (ja) | 車体構造 |
Legal Events
| Date | Code | Title | Description |
|---|---|---|---|
| A131 | Notification of reasons for refusal |
Free format text: JAPANESE INTERMEDIATE CODE: A131 Effective date: 20070522 |
|
| A521 | Written amendment |
Free format text: JAPANESE INTERMEDIATE CODE: A523 Effective date: 20070723 |
|
| A02 | Decision of refusal |
Free format text: JAPANESE INTERMEDIATE CODE: A02 Effective date: 20071016 |