JP2006044442A - ピアノ運搬台車 - Google Patents

ピアノ運搬台車 Download PDF

Info

Publication number
JP2006044442A
JP2006044442A JP2004227795A JP2004227795A JP2006044442A JP 2006044442 A JP2006044442 A JP 2006044442A JP 2004227795 A JP2004227795 A JP 2004227795A JP 2004227795 A JP2004227795 A JP 2004227795A JP 2006044442 A JP2006044442 A JP 2006044442A
Authority
JP
Japan
Prior art keywords
piano
support
transport cart
leg
elastic member
Prior art date
Legal status (The legal status is an assumption and is not a legal conclusion. Google has not performed a legal analysis and makes no representation as to the accuracy of the status listed.)
Granted
Application number
JP2004227795A
Other languages
English (en)
Other versions
JP2006044442A6 (ja
JP4469678B2 (ja
Inventor
Yutaka Takagi
裕 高木
Current Assignee (The listed assignees may be inaccurate. Google has not performed a legal analysis and makes no representation or warranty as to the accuracy of the list.)
Individual
Original Assignee
Individual
Priority date (The priority date is an assumption and is not a legal conclusion. Google has not performed a legal analysis and makes no representation as to the accuracy of the date listed.)
Filing date
Publication date
Application filed by Individual filed Critical Individual
Priority to JP2004227795A priority Critical patent/JP4469678B2/ja
Publication of JP2006044442A publication Critical patent/JP2006044442A/ja
Publication of JP2006044442A6 publication Critical patent/JP2006044442A6/ja
Application granted granted Critical
Publication of JP4469678B2 publication Critical patent/JP4469678B2/ja
Anticipated expiration legal-status Critical
Expired - Fee Related legal-status Critical Current

Links

Images

Landscapes

  • Handcart (AREA)
  • Auxiliary Devices For Music (AREA)

Abstract

【課題】 ピアノ運搬の作業者を大幅に削減できるとともに、運搬作業中にピアノを傷め得る様々な要因を排除可能なピアノ運搬台車を提供する。
【解決手段】 ピアノ1の脚部2が取り外された状態で前記ピアノを運搬するピアノ運搬台車21である。自走可能なクローラー走行車31と、該クローラー走行車に設けられて、前記ピアノの脚部を着脱する際に前記ピアノを上昇させて該ピアノを仮支持するための昇降機構51と、該昇降機構との間で、前記脚部が取り外されたピアノの受け渡しをして、該脚部が取り外された状態のピアノを、前記仮支持の高さよりも低い位置に支持するための、前記クローラー走行車に設けられた支持部71と、を備えている。
【選択図】 図5

Description

本発明は、ピアノを運搬するためのピアノ運搬台車に関する。
コンサートホールでの演奏には、通常、前記ホールに常設されたグランドピアノ(以下、ピアノとも言う)が使用される。そして、このピアノを、ピアニストに同行する調律師が、演奏会の直前に調律している。しかし、その調律時間は、数時間しか確保できないのが常であることから、通常は音高の調整しかできず、鍵盤のタッチ等までピアニストの要望にかなった状態に仕上げるのは難しかった。その結果、ピアニストは納得のいく演奏を行い難く、また、聴衆も最高の演奏を聴ける機会を逸していた。
このようなことを考慮すると、演奏形態としては、調律師やピアニストが所有するピアノを、コンサートホールに持ち込んで演奏するのが理想である。すなわち、この演奏形態によれば、調律師は、自分のスタジオでじっくりと時間をかけてピアノを調整できるため、ピアニストの要望通りの最高の状態にピアノを仕上げることが可能となる。そして、実際に、この演奏形態による演奏会は、ピアニスト及び聴衆の評判も良い。
しかしながら、演奏会の都度、調律師のスタジオにあるピアノを、遠方のコンサートホールまで運搬しなければならず、その運搬頻度が増えることから運搬費が嵩むとともに、運搬作業中にピアノを傷める可能性も増す。よって、この演奏形態をもっと浸透させるには、これら運搬に付随する問題を解決する必要がある。
ここで、この運搬費の内訳及び前記ピアノを傷め得る要因を明らかにすべく、従来の運搬方法について説明する。先ず、スタジオにある最大重量500kgの平置き状態のグランドピアノを、2、3人の人手をかけて縦置きにし、その脚部を取り外す。そして、縦置き状態のピアノをキャスター付き平板に乗せてトラックまで移動したら、当該ピアノをトラックの荷台へ積み込む。次に、このトラックを運転してコンサートホールについたら、前記荷台からピアノを降ろし、前記キャスター付き平板に乗せてステージ上まで運搬する。そして、縦置き状態のピアノに脚部を取り付けたら、当該ピアノを平置きにして一連のピアノの運搬が完了する。
そして、この運搬方法の説明からは、運搬費の大半を人件費が占めていること、及び、少なくとも前述の縦置き及び平置き作業の際には、ピアノは破損の危険にさらされていること等がわかる。
一方、屋内においてピアノを運搬するための運搬台車も開発されている。図22に、この運搬台車の側面図を示すが、当該運搬台車101は、キャスター付きの台車103と、この台車103上に設けられた昇降機構105とを備えている。そして、運搬すべきピアノ1の下方に前記運搬台車101を配置し、昇降機構105の油圧シリンダ107を伸長させてピアノ1を持ち上げて支持し、当該支持状態の運搬台車101を作業者が前方へ押してステージ等の目的地まで運搬した後、前記油圧シリンダ107を短縮させてピアノ1をステージ上に降ろすようになっている(特許文献1を参照)。そして、このような油圧シリンダ107を備えたピアノ運搬台車101自体、珍しいものである。
実用新案登録第30976327号公報(第2頁−第3頁、第1図)
しかしながら、当該運搬台車101は自走せずに人力で押して動かすものであることから、複数の人手を要する。
また、この運搬台車101は、ピアノ1から脚部2を外さずにピアノ1を運搬するものであるために、強度的に弱いピアノ1の脚部2を、運搬中に周囲のものに引っかけて脚部を折損したり、引っかけた衝撃でピアノ1自体を傷めてしまう虞もあって、結局、運搬作業中にピアノ1を傷め得る要因を一つ増やしてしまっている。更に、ピアノ1を傷め得る要因としては、前記脚部2を外さずに運搬することに起因して、運搬作業中のピアノ1の支持高さが高いことから、運搬作業中に運搬台車101が転倒し易いこと等も懸念される。
本発明は上記の点に鑑みてなされたものであり、ピアノ運搬の作業者を大幅に削減できるとともに、運搬作業中にピアノを傷め得る様々な要因を排除可能なピアノ運搬台車を提供することを目的とする。
かかる目的を達成するために請求項1に示す発明は、ピアノの脚部が取り外された状態で前記ピアノを運搬するピアノ運搬台車であって、
自走可能なクローラー走行車と、
該クローラー走行車に設けられて、前記ピアノの脚部を着脱する際に前記ピアノを上昇させて該ピアノを仮支持するための昇降機構と、
該昇降機構との間で、前記脚部が取り外されたピアノの受け渡しをして、該脚部が取り外された状態のピアノを、前記仮支持の高さよりも低い位置に支持するための、前記クローラー走行車に設けられた支持部と、を備えたことを特徴とする。
このようなピアノ運搬台車によれば、次のようにして、最低1人でピアノの運搬を行うことができて、その作業者の大幅な削減を図れる。すなわち、調律済みのピアノが置いてあるスタジオにて、作業者がクローラー走行車を自走させて、前記昇降機構及び前記支持部を前記ピアノの下方へ移動する。そして、昇降機構を上昇させてピアノを仮支持した状態でピアノから脚部を取り外したら、昇降機構を下降させて、当該ピアノを前記支持部に受け渡して当該支持部にピアノを支持させる。そうしたら、作業者は、クローラー走行車を自走させながら、地面とトラックの荷台とに掛け渡された歩み板を介して当該クローラー走行車ごとピアノを前記荷台に積み込んだ後、当該トラックをコンサートホールまで運転する。そして、コンサートホールに着いたら、前記歩み板上を介してクローラー走行車ごとピアノを荷台から降ろし、そのまま自走させてピアノをコンサートホールのステージ上に運搬する。このステージ上においては、再び昇降機構を上昇させて、前記支持部から昇降機構へとピアノを受け渡して仮支持させる。そして、その状態でピアノに脚部を取り付け、昇降機構を下降させて、ピアノを自身の脚部でステージ上に立たせたら、これをもって、スタジオからコンサートホールへの運搬作業が完了する。
なお、演奏会の終了後には当該ピアノを再びスタジオへ運搬するが、これは、上述と同様にして行えば良く、もって、最低一人でピアノの運搬を行えて、その作業者の大幅な削減を図ることができる。
また、自走式のクローラー走行車なので、多少の段差や坂道等も容易に走行できる。従って、遠隔地への運搬に必須となるトラックの荷台に対するピアノの積み降ろしも、例えば、前記荷台と地面との間に歩み板を掛け渡せば、ピアノを支持した状態のクローラー走行車が、前記歩み板上を自走して当該クローラー走行車ごと荷台へ上り下りすることによって容易に行うことができる。従って、トラックへ積む地点と、トラックから降ろす地点との両方の地点に、積み降ろし用のフォークリフト等の作業者を確保せずに済み、作業者の削減を図ることができる。
更には、このピアノ運搬台車は、ピアノの脚部を取り外した状態でピアノを運搬する。従って、運搬中に、強度的に弱い脚部を周囲の障害物に引っかけて脚部を折損したり、引っかけた衝撃でピアノ自体を傷めてしまうことを確実に回避できて、もって、運搬作業中にピアノを傷め得る要因を一つ取り除くことができる。
また、自走式のクローラー走行車なので、方向転換時の回転半径が小さく小回りが利く。よって、周囲の障害物をかわした走行が可能となり、もって、運搬作業中にピアノを傷め得る要因を更に取り除くことができる。
更には、運搬中のピアノは、前記脚部を着脱する際の仮支持の高さよりも低い位置に支持されるので、ピアノを含めたピアノ運搬台車の重心高さを低くすることができる。よって、ピアノ運搬台車の転倒を有効に防止し得て、運搬作業中にピアノを傷め得る要因を更に取り除くことができる。
また、前記昇降機構は、前記ピアノの脚部を着脱する際に専ら使用され、脚部が取り外された状態のピアノは、専ら前記支持部によって支持される。そして、当該支持部は、前記昇降機構とは別途独立の構成部として、前記クローラー走行車に設けられている。従って、当該支持部については、可動部を極力排除した高剛性で堅牢な構造を採用することができて、もって、運搬中のピアノの支持安定性を高めることができる結果、運搬中のピアノ運搬台車の転倒を更に確実に防止可能となる。
請求項2に示す発明は、請求項1に記載のピアノ運搬台車において、
前記クローラー走行車は、前記昇降機構及び前記支持部の下方に位置して、これらを支持し、
前記クローラー走行車が自走することによって、前記昇降機構および前記支持部を、前記脚部で自立しているピアノの下方に位置させることを特徴とする。
このようなピアノ運搬台車によれば、前記クローラー走行車が前記昇降機構及び前記支持部を支持しているので、ピアノの運搬中及び前記脚部の着脱時におけるピアノの支持安定性に優れる。
また、前記クローラー走行車は、前記昇降機構及び前記支持部の下方に位置して、これらを支持する構成なので、ピアノの平面中心をクローラー走行車の平面中心にほぼ揃えて前記ピアノを支持及び仮支持可能である。よって、ピアノを含めたピアノ運搬台車の平面寸法を全体的に小さくすることができて、更に小回りの利いた運転を行うことができる。
更には、クローラー走行車を自走させて、前記昇降機構および前記支持部を前記ピアノの下方に位置させるが、当該クローラー走行車は、前述したように小回りが利く。よって、ピアノに対する前記昇降機構および前記支持部の位置合わせを容易に行えて、ピアノの所望の部分を確実に支持可能となる。
請求項3に示す発明は、請求項1又は2に記載のピアノ運搬台車において、
前記昇降機構は、前記ピアノの脚部が取り付けられていた部分以外の部分に、その下方から当接して前記ピアノを仮支持し、
前記支持部は、前記ピアノの脚部が取り付けられていた部分に、その下方から当接して前記ピアノを支持することを特徴とするピアノ運搬台車。
このようなピアノ運搬台車によれば、前記昇降機構と前記支持部とは、互いに異なるピアノの部分を仮支持若しくは支持することになる。従って、前記昇降機構の昇降動作を通してなされる当該昇降機構と前記支持部との間のピアノの受け渡しを、スムーズかつ確実に行うことができる。
また、前記支持部は、前記ピアノの脚部が取り付けられていた部分に当接して当該ピアノを支持する。そして、この脚部が取り付けられていた部分は、ピアノを常時支持する強度の最も高い部分であると共に、ピアノを最もバランス良く支持可能な部分である。従って、運搬中にピアノへ変な負荷を全くかけることなくピアノを支持できて、もって、ピアノ運搬作業中にピアノを傷め得る要因を更に取り除くことができる。
請求項4に示す発明は、請求項3に記載のピアノ運搬台車において、
前記昇降機構がその下方から当接する部分は、前記ピアノの支柱であり、
前記支持部がその下方から当接する部分は、前記ピアノの棚板に設けられた前記脚部の取り付け座であることを特徴とするピアノ運搬台車。
このようなピアノ運搬台車によれば、前記昇降機構は、強度の高い部分である支柱を仮支持する。従って、脚部を着脱すべく仮支持中のピアノに変な負荷をかけることはない。
また、前記支持部は、最も強度の高い部分である棚板に設けられた前記脚部の取り付け座を支持する。そして、この取り付け座は、ピアノを最もバランス良く支持可能な部分でもある。従って、運搬中にピアノに変な負荷をかけることを確実に防ぐことができる。
請求項5に示す発明は、請求項3又は4に記載のピアノ運搬台車において、
前記ピアノの脚部の取り付け位置に応じて、前記支持部を水平方向にスライド移動可能に案内するガイド部材を備えていることを特徴とするピアノ運搬台車。
このようなピアノ運搬台車によれば、前記支持部は、水平方向にスライド移動可能なので、ピアノ毎に脚部の取り付け位置が異なる場合であっても、それぞれのピアノの脚部が取り付けられていた部分に前記支持部を確実に当接させることができる。
請求項6に示す発明は、請求項5に記載のピアノ運搬台車において、
前記ピアノの脚部は、少なくともピアノの鍵盤側に一対並設されているとともに、前記一対の脚部に対応させて、少なくとも前記支持部は一対設けられており、
前記クローラー走行車を自走させて、前記支持部を前記ピアノの下方に位置させた状態において、前記一対の支持部は、前記一対の脚部の間に位置しており、
前記昇降機構によって上昇されたピアノから脚部が取り外された際に、前記支持部は、前記脚部が取り付けられていた部分の直下にスライド移動されることを特徴とするピアノ運搬台車。
このようなピアノ運搬台車によれば、脚部を取り外された後はもとより、取り外される前のピアノに対しても、当該脚部との干渉を有効にかわして、ピアノ運搬台車の前記支持部をピアノの下方に位置させることができる。よって、前記脚部に前記支持部を引っかけて、脚部を折損したりピアノに衝撃を与えてしまうことを可及的に防ぐことができる結果、ピアノ運搬作業中にピアノを傷め得る要因を更に取り除くことができる。
請求項7に示す発明は、請求項5又は6に記載のピアノ運搬台車において、
前記支持部は、上下反転可能に軸支されているとともに、
該支持部は、自身が具備する弾性部材を、前記ピアノの脚部が取り付けられていた部分に当接させて支持し、
前記弾性部材が上方を向いた状態の、前記弾性部材を含めた前記支持部の全高よりも、そこから反転して前記弾性部材が下方を向いた状態の全高の方が低いことを特徴とするピアノ運搬台車。
このようなピアノ運搬台車によれば、前記クローラー走行車の走行による振動は、前記弾性部材によって吸収される。よって、運搬中にピアノに与える振動を小さく抑制可能となり、もって、運搬作業中にピアノを傷め得る要因を更に取り除くことができる。
また、前記支持部の上下反転動作によって、前記弾性部材を下方に向ければ、前記支持部の全高を低くすることができる。よって、ピアノから脚部を取り外す前に前記支持部をピアノの下方に潜り込ませるが、その際に、ピアノの下面から支持部までの間隔を十分確保できて、ピアノとの干渉を確実に回避して潜り込ませることが可能となる。
請求項8に示す発明は、請求項3乃至7のいずれかに記載のピアノ運搬台車において、
前記昇降機構は、上面に弾性部材を具備して上下昇降するテーブルを有し、
該テーブルが上昇した際に、前記弾性部材が、前記ピアノの脚部が取り付けられていた部分以外の部分に当接して、前記ピアノを仮支持することを特徴とするピアノ運搬台車。
このようなピアノ運搬台車によれば、上昇中のテーブルがピアノを仮支持した瞬間にピアノに加わる衝撃を、前記弾性部材によって吸収・緩和することができる。従って、ピアノを傷め得る要因を更に取り除くことができる。
請求項9に示す発明は、請求項8に記載のピアノ運搬台車において、
前記テーブルは、前記ピアノの平面サイズに応じて、前記弾性部材を水平方向にスライド移動可能に案内するガイド部材を備えていることを特徴とするピアノ運搬台車。
このようなピアノ運搬台車によれば、大小様々あるピアノの平面サイズに応じて弾性部材をスライド移動させることができて、当該弾性部材を、ピアノの仮支持状態が安定する部分に確実に当接させることが可能となる。
請求項10に示す発明は、請求項8又は9に記載のピアノ運搬台車において、
前記テーブルは、その平面中心を前記クローラー走行車の平面中心にほぼ揃えて配置されているとともに、
前記テーブルを囲む平面位置に、前記支持部は配置されていることを特徴とするピアノ運搬台車。
このようなピアノ運搬台車によれば、前記テーブルは、その平面中心を前記クローラー走行車の平面中心にほぼ揃えて配置されているので、前記ピアノの仮支持安定性に優れる。
また、前記支持部は、前記テーブルを囲む平面位置に配置されているので、前記ピアノの支持安定性に優れる。
請求項11に示す発明は、請求項1乃至10のいずれかに記載のピアノ運搬台車において、
前記クローラー走行車は、
前記昇降機構及び前記支持部の下方に位置して、これらを支持する車体と、
該車体の少なくとも走行方向の前後にそれぞれ設けられた車輪と、
前記車輪に掛け回された無端のクローラーベルトと、
前記車輪の少なくとも一方を回転駆動させるための電動モータと、を有し、
前記昇降機構は、電動モータによって昇降駆動されることを特徴とするピアノ運搬台車。
このようなピアノ運搬台車によれば、その走行用及びピアノ昇降用の動力源として、クリーンなエネルギーの電力を用いることができる。よって、清浄たるべきコンサートホール等を廃棄ガス等で汚すこと無く、ピアノの運搬作業を行うことができる。
請求項12に示す発明は、請求項11に記載のピアノ運搬台車において、
前記クローラーベルトは、ゴム製であることを特徴とするピアノ運搬台車。
このようなピアノ運搬台車によれば、クローラーベルトはゴム製であるため、走行中の振動は小さく抑制される。よって、運搬中のピアノに与えられる振動を吸収できて、運搬作業中にピアノを傷め得る要因を、更に取り除くことができる。
請求項13に示す発明は、請求項1乃至12のいずれかに記載のピアノ運搬台車において、
前記クローラー走行車は、その前進方向の前端よりも前方に、走行中の走行面から浮いた状態の回転体を有し、
前記走行中の走行面よりも上に傾斜した走行面へ前記クローラー走行車が移る際には、前記上に傾斜した走行面の一部に前記回転体を当てることによって前記クローラー走行車の進行方向を上方へ向けることを特徴とするピアノ運搬台車。
このようなピアノ運搬台車によれば、前記クローラー走行車が、現在走行中の走行面よりも上に傾斜した走行面へ移る際には、前記上に傾斜した走行面の一部に前記回転体が当たることによって前記クローラー走行車は上方を向く。従って、当該ピアノ運搬台車は、水平な道から坂道への乗り移りをスムーズに行うことができて、もって、乗り移り時にピアノに与える衝撃を小さく抑制可能となる。なお、階段やトラックの荷台等の段差部は、歩み板を設置することで坂道となるため、このような段差部も簡単に上り下り可能である。
請求項14に示す発明は、請求項13に記載のピアノ運搬台車において、
前記回転体は、前記前進方向の前後に移動可能に案内され、
該回転体は、前記ピアノの平面サイズに応じて前後に移動されることを特徴とするピアノ運搬台車。
このようなピアノ運搬台車によれば、ピアノの平面サイズに応じて、前記回転体は前後に移動される。従って、運搬中のピアノの一端が、クローラー走行車の前端よりも前方に飛び出している場合であっても、そのピアノの一端近傍の直下に前記回転体を移動させることができるため、前方の坂道や階段等にピアノの一端がぶつかる前に、これら坂道等に前記回転体を当てることができる。従って、前記ピアノの一端を前記坂道等にぶつけてしまうことを可及的に防止可能となり、もって、運搬作業中にピアノを傷め得る要因を更に取り除くことができる。
本発明によれば、ピアノ運搬の作業者を大幅に削減できるとともに、運搬作業中にピアノを傷め得る様々な要因を排除可能なピアノ運搬台車を提供することができる。
以下、本発明に係るピアノ運搬台車の実施形態を添付図面を参照して詳細に説明する。
===本発明に係るピアノ運搬台車によって運搬されるピアノ1===
図1乃至図4は、本発明に係るピアノ運搬台車によって運搬されるグランドピアノ1の説明図である。図1はピアノ1の外観図であり、図2は前記ピアノ1の支柱3及び響板4の斜視図であり、図3は前記ピアノ1のフレーム5を示す上面図である。また、図4は、鍵盤6とアクション機構7の側断面図である。
なお、以下の説明では、鍵盤6の並設方向を左右方向と表現し、これと直交する2方向のうちの高さ方向以外の方向を前後方向と表現する。また、前後方向については、後記ピアノ運搬台車21の走行方向に揃えて、前進方向を前側、後進方向を後側と定義する。よって、この定義に従えば、図1に示すピアノ1は、後側に鍵盤6が設けられ、前側に弦8が設けられている、ということになる。
<<<グランドピアノ1の概要>>>
図1の外観図に示すように、このグランドピアノ1は、従来のグランドピアノと何等変わるものではなく、ごく一般的なものである。すなわち、図1乃至図4を適宜参照してわかるように、当該ピアノ1は、左右方向に並設された各音高の鍵盤6と、前記鍵盤6に対応させて弦8が張設された金属製のフレーム5と、押鍵操作された鍵盤6に対応する弦8を打弦するためのアクション機構7と、弦8から伝達された振動を増幅する響板4と、これら鍵盤6、フレーム5、アクション機構7、及び響板4を支持する木製の支柱3と、を備えている。
<<<支柱3>>>
図2に示すように、支柱3は、後側が開放した異形U字状の曲練支柱3aと、この曲練支柱3aの開放端部に両端部を掛け渡された奥框9aと、この奥框9aの後側に隣接配置されつつ、前記開放端部に両端部を掛け渡された中框9bと、を備えている。この曲練支柱3aと奥框9aとで囲まれた内側空間には、補強用に、例えば4本の直支柱3bが配置されている。そして、このうちの1本の直支柱3bについては、その両端部は曲練支柱3a及び奥框9aに接続されており、残る3本については、各直支柱3bの一端が、それぞれに曲練支柱3aの内周面に接続される一方、残る他端は、これら他端を一つに結合する要3cを介して前記奥框9aに接続されている。
なお、奥框9aの下面には、鍵盤6やアクション機構7を支える棚板10が固定されている。
<<<響板4>>>
図2に示すように、響板4は、前記曲練支柱3aと奥框9aとで囲まれた内側空間の平面形状とほぼ同形の板部材であり、その周縁部が、前記曲練支柱3a及び中框9bの上面に貼り込まれている。この響板4の上面における前方には、前記弦8と接触して前記響板4に前記弦8の振動を伝達するための駒(不図示)が配置されている。
<<<フレーム5>>>
図3に示すように、フレーム5は、その外郭形状が前記響板4とほぼ同形の略枠部材であり、その内周側には、複数の弦8が、チューニングピン8aとフレームピン8bとを介して略水平に張設されている。そして、このフレーム5が、前記曲練支柱3a及び中框9bに支持されて響板4の上方に配された状態において、各弦8は、前記駒と当接するようになっている。
<<<鍵盤6及びアクション機構7>>>
前述したように奥框9aの下面には、図4に示す棚板10が固定されている。そして、この棚板10上には鍵盤筬6aが配設されており、その上には、各音高の弦8に対応する88鍵全ての鍵盤6が、その略中央部をバランスキーピン6bにより上下揺動自在に支持されて配置されている。なお、各音高の弦8は、鍵盤6の上方に配設された前記フレーム5に略水平に張設されている。弦8の下方には、全ての弦8に対して共通に左右に亘って延在するサポートレール7aが、鍵盤6の後端部上方に位置している。このサポートレール7aには、鍵盤6に連動して動作し対応する弦8を打弦するためのハンマー7b等を備えたアクション機構7が配設されている。
<<<その他>>>
このような構成のグランドピアノ1は、図1に示すように、前記棚板10の下面の左右に取り付けられてピアノ1の鍵盤6側を支える二本の脚部2と、支柱3の下面に取り付けられてピアノ1の弦8側を支える一本の脚部2とによって自立している。そして、これら脚部2は、棚板10と支柱3の下面にある脚部取り付け座2aに、それぞれ着脱可能に固定されている。よって、これら脚部取り付け座2aは、脚部2を取り外した状態のピアノ1を最もバランス良く支持可能な部分である。
前記棚板10の下面における前記鍵盤6側の脚部2,2の間には、ペダル機構11が着脱可能に取り付けられている。このペダル機構11は、例えば、ダンパーペダル11a等を有している。そして、このダンパーペダル11aを踏むと、図4のダンパー11cが一斉に弦8から離れ、鍵盤6を指で離してもダンパー11cは戻らず、打弦された弦8は長く振動する結果、音を持続させることができる。
===本発明に係る第1実施形態のピアノ運搬台車21===
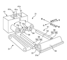
図5乃至図8は、本発明に係る第1実施形態のピアノ運搬台車21を説明するための斜視図であり、図6乃至図8は、それぞれに図5の状態を基準として、ピアノ運搬台車21が取り得る状態を示している。図9は、ピアノ運搬台車21の後部を一部破断して示す上面図である。図10は、昇降機構51を説明するための車幅方向の中心縦断面図である。図11乃至図17の一連の図は、ピアノ運搬台車21によるピアノ運搬手順の説明図であり、これらの図の左部には側面図を、右部には後方視の正面図を示している。
なお、以下の説明では、便宜上、ピアノ運搬台車21の走行方向を前後方向とも言い、また、車幅方向を左右方向と、更には、高さ方向を上下方向とも言う。なお、図5乃至図8については、左右方向が反転しているが、これは、前進方向を基準として左右方向を表しているからである。
<<<ピアノ運搬台車21の概要>>>
本発明に係る第1実施形態のピアノ運搬台車21は、図5に示すように、自走可能なクローラー走行車31と、前記ピアノ1の脚部2を着脱する際に前記ピアノ1を上昇させて前記ピアノ1を仮支持するための昇降機構51と、この昇降機構51との間で、前記脚部2が取り外されたピアノ1の受け渡しをして、当該脚部2が取り外された状態のピアノ1を前記仮支持の高さよりも低い位置に支持するための支持部71と、を備えている。
そして、このピアノ運搬台車21によれば、図14Aに示すように、脚部2を取り外した状態でピアノ1を運搬する。よって、ピアノ1の運搬中に、強度的に弱い脚部2を周囲の障害物に引っかけて脚部2を折損したり、引っかけた衝撃でピアノ1自体を傷めてしまうことを確実に回避することができる。
また、図14Aに示すように、運搬中のピアノ1は、図12Bに示す前記脚部2を着脱する際の仮支持の高さよりも低い位置に支持される。よって、ピアノ1を含めたピアノ運搬台車21の重心高さを低くすることができる結果、当該ピアノ運搬台車21は転倒し難くなる。
なお、前記昇降機構51及び前記支持部71は、前記クローラー走行車31の上方に支持されている。そして、このクローラー走行車31を自走させることによって、図11Bに示すように、脚部2で自立しているピアノ1の下方に前記昇降機構51及び前記支持部71を位置させるが、その際には、図11A及び図11Bに示すように、クローラー走行車31が前進しながら鍵盤6側からピアノ1の下方に潜り込む。このため、図11Bの右部に示すように、このピアノ運搬台車21の車幅は、全体として、ピアノ1の鍵盤6側を支える一対の脚部2の取り付け間隔よりも狭く設計されている。
以下、各構成要素について、詳細に説明する。
<<<クローラー走行車31>>>
図6の昇降機構51を上昇させた状態の斜視図、及び図9のピアノ運搬台車21の後部上面図を参照してわかるように、クローラー走行車31は、車体33と、この車体33の左右両脇にそれぞれ設けられて前記車体33を支持するクローラー走行装置35と、駆動源たる電動モータ37の回転を前記クローラー走行装置35に伝達するトランスミッション39と、運転操作するための運転操作部41と、を備えている。
そして、左右のクローラー走行装置35を両方とも同一方向に走行させれば前進又は後進し、左右のいずれか一方のみを走行させれば、その場で方向転換を行う。なお、この方向転換時の回転半径は小さく、もって小回りの利いた走行を行える。
(a)車体33
図6に示すように車体33は、溝形鋼やH形鋼等の鋼材を、平面視略矩形形状に枠組みして構成される。
(b)クローラー走行装置35
クローラー走行装置35は、前後に亘って複数の車輪35aを軸支する鋼製フレーム(不図示)と、前記車輪35aに巻回された無端のゴム製のクローラーベルト35bと、を有している。そして、左右のクローラー走行装置35の前記フレームが、それぞれに、前記車体33の左右の側部に固定されることによって前記車体33を支持している。前記車輪35aのうちの一つが駆動輪であり、この駆動輪の回転によってクローラーベルト35bが巻回方向に回転して走行する。なお、ゴム製のクローラーベルト35bを用いているのは、走行中の振動を抑えて、運搬中のピアノ1に極力振動を与えないようにするためである。
図9に示すように、前記駆動輪は、左右共に最後輪であり、すなわち、前記車体33の内方へ突出する各最後輪の車軸35cには、後記トランスミッション39の出力軸39aがクラッチ38を介して連結されている。なお、クラッチ38は、左右の車軸35c毎に設けられており、もって、クラッチ38の入切操作によって左右の両方又は一方の車軸35cを前記出力軸39aに連結可能であり、これによって、前述した前後進動作や方向転換動作を達成している。
(c)トランスミッション39
図9に示すトランスミッション39は、周知の歯車式変速装置によって構成されており、すなわち、複数の歯車(不図示)のなかから噛み合わせる歯車の組み合わせを変えることによって、その入力軸39bから入力された回転数を適宜変速して出力軸39aから出力する。そして、このトランスミッション39は、前記車体33の後部中央に搭載されており、前側に出力軸39aが、後側に入力軸39bが位置している。また、この入力軸39bの上方には、前記電動モータ37が搭載されており、この電動モータ37の駆動回転軸37bと前記入力軸39bとは、スプロケット37c,39c及びチェーン(不図示)からなる所謂チェーン伝動装置によって接続されている。よって、バッテリー36から電力供給を受けて電動モータ37が回転すると、その回転は、トランスミッション39の入力軸39bに入力され、トランスミッション39で適宜変速された後、その出力軸39aを通して左右のクローラー走行装置35,35へと伝達される。
(d)運転操作部41
図9に示す運転操作部41は、前記車体33の最後部に設けられている。但し、この運転操作部41は乗用形式ではなく、運転する作業者OPがクローラー走行車31と共に歩きながら操作する。これは、乗用形式にすると作業者OPが乗る分だけ必要馬力が大きくなりトランスミッション39や電動モータ37の大型化が必至となる結果、ピアノ運搬台車21の軽量化を図れなくなるからである。ちなみに、軽量化を図る一番の理由は、当該ピアノ運搬台車21は、歩み板等を自走してトラックの荷台へ乗り降りする以外に、トラックのパワーゲートによって荷台に積み降ろしされる場合があって、その際に重量が重いと、パワーゲートの最大リフト荷重を超える虞があるためである。なお、重量が問題とならない場合には、乗用形式を採用しても良い。
この運転操作部41の左右方向の中央には、前記電動モータ37の回転数を調整するジョイスティック41aが設けられ、その左右には、それぞれに方向転換レバー41b,41bが設けられている。ジョイスティック41aの操作信号はインバータ回路(不図示)に入力され、このインバータ回路は、前記操作信号に従って、前記バッテリー36から電動モータ37へ供給される供給電力を調整する。従って、ジョイスティック41aによってクローラー走行車31の走行速度を滑らかに変更可能である。
また、左右の方向転換レバー41b,41bは、前記左右のクラッチ38,38にそれぞれ接続されており、起立状態でクラッチ38が入り、手前に倒すとクラッチ38が切れるようになっている。よって、左右の方向転換レバー41b,41bを共に起立させれば、クローラー走行車31は前進又は後進し、右の方向転換レバー41bのみを手前に倒すと、右クラッチ38のみが切られてクローラー走行車31は右を向き、左の方向転換レバー41bのみを手前に倒すと左クラッチ38のみが切られてクローラー走行車31は左を向く。
<<<昇降機構51>>>
図5及び図6に示すように、昇降機構51は、ピアノ1の脚部2を着脱する際に前記ピアノ1を上昇させて仮支持するものであり、前記車体33に設けられている。この昇降機構51は、ピアノ1を下から仮支持するテーブル53と、このテーブル53を下から支持しつつ上下伸縮可能に前記車体33に設けられたパンタグラフユニット61と、このパンタグラフユニット61を上下伸縮させるための油圧ユニット65と、を備えている。
(a)テーブル53
図5に示すように、テーブル53は鋼製の略矩形平板であり、その平面中心を前記クローラー走行車31の平面中心に概ね揃えて、その上方に配置されている。このテーブル53の上面の後部には、中空の蒲鉾形状の硬質ゴムからなる第1弾性部材54が、その筒軸方向を前後方向に揃えつつ、左右に二つ並んで固定されている。また、テーブル53の前端部から前方にはみ出す位置にも、中空の蒲鉾形状の硬質ゴムからなる第2弾性部材55が、その筒軸方向を車幅方向に揃えつつ、概ね車幅の全幅に亘って設けられている。
そして、このテーブル53がピアノ1を仮支持する際には、これら弾性部材54,54,55がピアノ1の下面に当接し、当該テーブル53はこれら弾性部材54,54,55を介してピアノ1を仮支持する。従って、上昇中のテーブル53がピアノ1を仮支持した瞬間にピアノ1に加わる衝撃を、これら弾性部材54,54,55が効果的に吸収・緩和する。
また、上述したように第1弾性部材54はテーブル53の後部に配置されている。このため、図11Bに示すように、ピアノ運搬台車21が前進して、鍵盤6側からピアノ1の下方へ潜り込んだ状態においては、これら第1弾性部材54は、鍵盤6を支える棚板10の下に位置し、もって図12Bに示す仮支持中には棚板10の下面に当接する。そして、この棚板10は高い強度を有する。従って、仮支持中のピアノ1に変な負荷がかかることはない。
一方、図5及び図7に示すように、第2弾性部材55は、テーブル53上面に固定されたガイド部材56によって、前後方向にスライド移動可能になっている。このガイド部材56は、大径角パイプ56aの中に小径角パイプ56bを挿抜自在に収容してなるパイプユニット56を、テーブル53上面の左右両脇にそれぞれ固定して構成される。そして、各小径角パイプ56bの前端部に掛け渡された支持プレート57の上面57aに前記第2弾性部材55が固定されている。
従って、大小様々あるピアノ1の平面サイズに応じて第2弾性部材55を前後に移動させることができて、当該第2弾性部材55を、ピアノ1の仮支持状態が安定する部分に確実に当接させることが可能となる(図11B及び図12Aを参照)。なお、前記第2弾性部材55は、ピアノ1の支柱3の部分に当接するように移動され、この支柱3は高い強度を有するため、仮支持中のピアノ1に変な負荷がかかることはない。
また、図5及び図8に示すように、前記支持プレート57は、その下面57bにおいて、前記小径角パイプ56bの前端部の水平ピン57cに上下反転可能に枢着されている。よって、図8に示すように、前記支持プレート57を反転させて第2弾性部材55を概ね下に向ければ、何も設けられていない支持プレート57の下面57bが上を向くため、その全高を低くすることができる。その結果、ピアノ運搬台車21をピアノ1の下方に潜り込ませる際に、図11Bに示すようにピアノ1の下面からの間隔を十分確保できて、ピアノ1との干渉を確実に回避可能となる。
ちなみに、第1弾性部材54に上下反転可能な構成を採用せずに第2弾性部材55にのみ採用しているのは次の理由による。図12Bに示すように、第2弾性部材55は、ピアノ1の支柱3の部分に当接して仮支持するが、この支柱3の下面高さは、前記棚板10の下面高さよりも高い。よって、その分だけ、第2弾性部材55の頂部の高さを第1弾性部材54の頂部よりも高く設定しなければならず、そうすると、ピアノ1の下方に潜り込ませる際に、当該第2弾性部材55がピアノ1の棚板10と干渉し易くなるためである。
(b)パンタグラフユニット61
図6に示すように、パンタグラフユニット61は、一対の鋼製の棒状部材62a,62aを、その長手方向の中心のピボット軸62bで回転可能に連結して側面視X形状の部材62(以下、X形状部材62と言う)を形成するとともに、このX形状部材62,62を左右に一つずつ並設して構成される。そして、このパンタグラフユニット61は、前記車体33と前記テーブル53との間に介装されており、この介装状態においては、図10に示すように、前記X形状部材62の前側の下端部は、水平ピン62cにより前記車体33の前端部に枢着される一方、前側の上端部は水平ピン62dにより前記テーブル53の前端部に枢着されている。また、X形状部材62の後側の下端部は、前記車体33に設けられたレール63に係合して前後に移動可能に案内される一方、後側の上端部は、テーブル53下面に設けられたレール64に係合して前後に移動可能に案内されている。
よって、パンタグラフユニット61の所定部分にステイ62eを設けて、このステイ62eに上下方向の力を加えると、前記X形状部材62の後側の端部が前後に移動してX形状部材62は上下伸縮し、これによって前記テーブル53を上下昇降可能となる。なお、前記上下方向の力は、後述する油圧ユニット65によって与えられる。
また、パンタグラフユニット61に係る一対のX形状部材62,62同士の間には、前側の上端部、前側の下端部、後側の上端部、および後側の下端部において水平な連結棒62f,62g,62h,62iがそれぞれに掛け渡されて連結されており、これによって、これら一対のX形状部材62,62は一体化されて、その剛性が高められている。
(c)油圧ユニット65
図18は、油圧ユニット65の油圧系統図である。この油圧ユニット65は、油圧シリンダ66と、タンク67に貯留された作動油を前記油圧シリンダ66に圧送する油圧ポンプ68と、前記作動油の圧送経路を切り替える切換弁69と、を備えている。なお、切換弁69から油圧シリンダ66までの圧送経路は油圧ホース70a,70bによって形成されている。
図10に示すように、油圧シリンダ66は、前記車体33に水平に掛け渡されたステイ33eと、前記パンタグラフユニット61の一対のX形状部材62に水平に掛け渡されたステイ62eとの間に介装されている。そして、油圧シリンダ66が伸縮すると、前記パンタグラフユニット61は油圧シリンダ66から上下方向の力を与えられて上下伸縮する。
詳細に言えば、この油圧シリンダ66は復動ピストン型であり、シリンダ本体66aと、このシリンダ本体66aの内部空間を二つの油圧室Ca,Cbに画成するピストンロッド66bと、を有している。そして、上述の介装状態では、シリンダ本体66aが前記ステイ33eに、ピストンロッド66bが前記ステイ62eに取り付けられており、図18に示すように、一方の油圧室Ca(以下、第1油圧室Caと言う)に作動油が圧送されると、ピストンロッド66bがシリンダ本体66aの外へ出てきて油圧シリンダ66が伸長し、他方の油圧室Cb(以下、第2油圧室Cbと言う)に作動油が圧送されると、ピストンロッド66bはシリンダ本体66a内に収まって油圧シリンダ66は短縮する。
図9に示す油圧ポンプ68は、その内部に、入力軸68aの回転によって往復動作するピストン(不図示)を備え、この往復動作によって作動油をタンク67から吸い上げて圧送する。なお、その駆動源には、前記クローラー走行装置35の電動モータ37が兼用されている。このため、電動モータ37の下方に前記油圧ポンプ68は近接配置されており、その入力軸68aは、スプロケット68d,37d及びチェーン(不図示)からなるチェーン伝動装置によって電動モータ37の駆動回転軸37bに接続されている。
切換弁69は、油圧ポンプ68の傍らに配された4ポート2方向手動切換弁であり、図18に示すように、油圧ポンプ68の吐出口に繋がるポンプポートP、タンク67に繋がるタンクポートT、油圧シリンダ66の第1油圧室Caに繋がるAポート、及び油圧シリンダ66の第2油圧室Cbに繋がるBポートを有している。そして、切換弁付属のレバー69aを操作すれば、切換弁69内部のスプール(不図示)が第1から第3ポジションまでの何れかのポジションへ移動し、これによって、前述の4つのポートの接続関係が変わって作動油の圧送経路が切り換えられるようになっている。
第1ポジションでは、AポートはポンプポートPに、またBポートはタンクポートTに接続されるため、作動油は第1油圧室Caに圧送されるとともに第2油圧室Cb内の作動油はタンク67に戻される結果、油圧シリンダ66は伸長する。一方、第3ポジションでは、AポートはタンクポートTに、またBポートはポンプポートPに接続されるため、作動油は第2油圧室Cbに圧送されるとともに第1油圧室Ca内の作動油はタンク67に戻される結果、油圧シリンダ66は短縮する。また、第2ポジションでは、ポンプポートPとタンクポートTとが接続されて、Aポート及びBポートは、それぞれ遮断されて封じ込め状態となるため、油圧シリンダ66は停止してその状態を保持する。
なお、第1油圧室Caと切換弁69とを繋ぐ圧送経路70aには、可変絞り付きの一方向絞り弁70cが介挿されていてメータアウト回路を構成しており、これによって、テーブル53の下降速度を調整可能となっている。そして、この下降速度を低速にすれば、脚部2を取り付け座2aに取り付けたピアノ1を、地面に着地させる際の衝撃を緩和できて、ピアノ1を傷め難くなる。
<<<支持部71>>>
図5に示す支持部71は、脚部2が取り外された状態のピアノ1を支持するものであり、その支持状態においては、図14Aに示すように、ピアノ1の脚部2の取り付け座2aに当接する。このため、図11Bに示すようにピアノ運搬台車21がピアノ1の下方に潜り込んだ際に、前記取り付け座2aに近い位置となるテーブル53の直近後方の左右両脇に、前記支持部71はそれぞれ設置されている。
また、支持部71の設置高さについては、前記テーブル53の昇降動作中に当該テーブル53の第1弾性部材54との間でピアノ1の受け渡しが行えるように、第1弾性部材54の頂部の上昇限位置と下降限位置との間に、前記支持部71の頂部が位置するように設けられている。そして、これによって、ピアノ1の運搬中には、ピアノ1の仮支持高さよりも低い高さにピアノ1は支持される。但し、ピアノ運搬台車21の転倒防止の観点からは、このピアノ運搬中の支持高さは極力低い方が望ましく、本第1実施形態にあっては、少なくとも、脚部2で自立するピアノ1の高さよりも低い高さに支持される。
このような支持部71は、図5に示すように、筒軸方向を前後方向に揃えて配された、中空の蒲鉾形状の硬質ゴムからなる弾性部材71(以下、第3弾性部材71と言う)であり、図7に示すように、ガイド部材73によって車幅方向にスライド移動可能に設けられている。このガイド部材73は、前述のパイプユニット56と同構成であり、大径角パイプ73aを、前記車体33に取り付けられた鋼製のブラケット73cに固定するとともに、小径角パイプ73bの先端に支持プレート73dが固定されており、この支持プレート73d上に前記第3弾性部材71は支持されている。
従って、ピアノ1毎に脚部2の取り付け座2aの位置が異なる場合であっても、図7に示すように、第3弾性部材71を車幅方向に移動させることによって、図14Aの右部に示すように、当該第3弾性部材71をピアノ1の脚部2の取り付け座2aに確実に当接させることが可能となる。そして、この取り付け座2aは、ピアノ1を常時支持する最も強度の高い部分であると共に、ピアノ1を最もバランス良く支持可能な部分である。よって、この取り付け座2aを当該第3弾性部材71によって支持されたピアノ1には、変な負荷が全くかからない。
また、図11Aに示すように、ピアノ運搬台車21を、鍵盤6側からピアノ1の下方に潜り込ませる際には、未だ鍵盤6側には一対の脚部2が取り付けられている。このため、第3弾性部材71を、車幅方向に関して前記脚部2と同位置に配置しておくと、潜り込ませる際に干渉してしまうが、ここで、前記第3弾性部材71は、前述したように、車幅方向に移動可能となっている。よって、潜り込ませる前に、図11Aの右図に示すように、これら第3弾性部材71を車幅方向の内側へスライド移動して引っ込めておき、図13Bの右図に示すように、潜り込んで且つ脚部2が取り外された後に、脚部2の取り付け座2aの直下まで引き出せば、脚部2との干渉を有効にかわしながら、取り付け座2aを支持可能となる。
なお、図8に示すように、この第3弾性部材71の下面は、蝶番73eを介して前記支持プレート73dに取り付けられており、もって前記第3弾性部材71は上下反転可能になっている。よって、第3弾性部材71を下に向ければ、その全高を低くすることができて、図11Bに示すようにピアノ運搬台車21をピアノ1の下方に潜り込ませる際に、ピアノ1の下面からの間隔を十分確保可能となる結果、ピアノ1との干渉を確実に回避することができる。
===第1実施形態のピアノ運搬台車21によるピアノ運搬手順===
ここで、図11乃至図17を参照しながら第1実施形態のピアノ運搬台車21によるピアノ運搬手順を説明する。
先ず、不図示の作業者OPは、調律済みのグランドピアノ1が置いてあるスタジオまでピアノ運搬台車21を運転する。そして、図11Aに示すように、作業者OPは、ピアノ運搬台車21のテーブル53を最下限位置まで下降すると共に、第2弾性部材55及び第3弾性部材71を下向きに反転して、ピアノ運搬台車21の車高を低くする。また、第3弾性部材71を車幅方向の内側へスライド移動して引っ込めて、ピアノ運搬台車21の車幅を狭くする。
次に、ピアノ1の鍵盤6側を支える一対の脚部2の間に取り付けられたペダル機構11を取り外して、ピアノ運搬台車21をピアノ1の下に潜り込ませるためのルートを確保する。そうしたら、脚部2で自立しているグランドピアノ1へ向けてピアノ運搬台車21を前進させながら、ピアノ運搬台車21を、ピアノ1の鍵盤6側からその下方に潜り込ませて、図11Bに示すように前記テーブル53及び前記支持部71をピアノ1の下方に位置させる。なお、潜り込ませる際には、ピアノ運搬台車21は、ピアノ1の鍵盤6側を支える一対の脚部2の間を通過するが、前述したように、ピアノ運搬台車21の車幅は狭くなっているため、脚部2と干渉することはない。
次に、図12Aに示すように、ピアノ1の前後方向の長さに合わせて第2弾性部材55を前方に移動すると共に、第2弾性部材55を反転させて上に向けて、テーブル53を仮支持可能な状態にする。そうしたら、図12Bに示すように、ピアノ1の脚部2が床から浮くまでテーブル53を上昇させてピアノ1を仮支持する。なお、仮支持の瞬間には、ピアノ1に衝撃が加わる虞があるが、テーブル53は第1及び第2弾性部材54,55を介してピアノ1を仮支持するので、その衝撃は吸収・緩和される。また、第1弾性部材及び第2弾性部材54,55は、それぞれにピアノ1の棚板10及び支柱3の下面を仮支持しているので、仮支持中にピアノ1に変な負荷を与えることもない。
そして、図13Aに示すように、この仮支持中に作業者OPがピアノ1から三本の脚部2を全て取り外したら、図13Bに示すように、第3弾性部材71を反転させて上に向けてピアノ1を支持可能な状態にすると共に、当該第3弾性部材71を車幅方向の外側へスライド移動して、当該第3弾性部材71を前記鍵盤6側の一対の脚部2の取り付け座2aの真下へ位置させる。そうしたら、図14Aに示すようにテーブル53を下降させて、ピアノ1を前記第1弾性部材54から第3弾性部材71に受け渡して当該第3弾性部材71にピアノ1を支持させる。そして、ピアノ1を縛った縄(不図示)をテーブル53やパイプユニット56のフック(不図示)にかけてピアノ1をピアノ運搬台車21に固定する。
なお、この時には、ピアノ1は第2弾性部材55と第3弾性部材71とによって支持されているが、第3弾性部材71は、前記一対の脚部2の取り付け座2aに当接してピアノ1を支持する。そして、この取り付け座2aは、この取り付け座2aは、ピアノ1を常時支持する最も強度の高い部分であると共に、ピアノ1を最もバランス良く支持可能な部分である。従って、この後に行われる運搬中にピアノ1に変な負荷を全くかけることなくピアノ1を支持可能である。また、運搬中に生じるクローラー走行車31の走行振動は、前記第2及び第3弾性部材55,71によって有効に吸収・緩和されるため、ピアノ1への走行振動の影響は小さく抑制される。
次に、作業者OPは、図14Bに示すように、ピアノ1を積み込むトラック91までピアノ運搬台車21を運転する。そして、トラック91の荷台91aと地面Gとの間に掛け渡された歩み板93の上をピアノ運搬台車21に走行させて、ピアノ運搬台車21ごとピアノ1を荷台91aに積み込み、このトラック91を演奏会が催されるコンサートホールまで運転する。
コンサートホールに到着したら、図15Aに示すように、ピアノ運搬台車21に歩み板93上を走行させてピアノ運搬台車21ごとピアノ1を荷台91aから降ろし、図15Bに示すように、そのまま走行させてピアノ1をコンサートホールのステージS上まで運搬する。ちなみに、このピアノ運搬台車21は、前述したように、方向転換時の回転半径が小さく小回りが利く。よって、周囲の障害物をかわした走行を容易に行える。
このステージS上においては、図16Aに示すように再びテーブル53を上昇させて、前記第3弾性部材71から第1弾性部材54へとピアノ1を受け渡して第1弾性部材54に仮支持させる。そして、図16Bに示すように、第3弾性部材71を反転させて下に向けると共に、車幅方向の内側へスライド移動して、鍵盤6側の脚部2を取り付けるためのスペースを確保し、その後、この仮支持状態のピアノ1に三本の脚部2を取り付ける。
そうしたら、図17Aに示すようにテーブル53を下降限位置まで下降させて、ピアノ1の脚部2をステージS上に着地させる。そして、図17Bに示すように、第2弾性部材55を後方に移動してピアノ運搬台車21の全長を短くすると共に、ピアノ運搬台車21の車高を低くすべく第2弾性部材55を反転させて下に向けたら、ピアノ運搬台車21を後進させて鍵盤6側から抜く。そして、ピアノ1にペダル機構11を取り付ければ、スタジオからコンサートホールへの一連の運搬作業が完了する。
なお、演奏会の終了後には当該ピアノ1を再びスタジオへ運搬するが、これは、上述と同様にして行えば良く、もって、最低一人の作業者OPがいればピアノ1の運搬を行えて、その作業者OPの大幅な削減を図ることができる。
===第2実施形態のピアノ運搬台車21a===
図19は、本発明に係る第2実施形態のピアノ運搬台車21aの側面図である。この第2実施形態の第1実施形態との主な相違点は、図19Aに示すように、第2弾性部材55を支える左右一対の小径角パイプ56b,56bの前端部に、それぞれに回転体としてのローラー81,81が設けられている点にある。
すなわち、小径角パイプ56bの前端部には、前方斜め下に延出する棒状部材82が固定されており、この棒状部材82の下端部には前記ローラー81が、クローラー走行車31の走行面PLよりも浮いた状態で、水平な回転軸81a中心に回転自在に軸支されている。
このローラー81は、クローラー走行車31が現在走行中の走行面PLよりも上に傾斜した上り坂へ移る際に、当該クローラー走行車31の進行方向を上方へ向けるきっかけを作り出すためのものである。例えば、図19Bには上り坂の一例として、トラック91の荷台91aと、走行面PLとしての地面との間に掛け渡された歩み板93が示されている。そして、この場合には、クローラー走行車31が歩み板93にさしかかるより前に、前記ローラー81が歩み板93に当たって前記クローラー走行車31は上方へ向く。従って、当該ピアノ運搬台車21aは、水平な道から上り坂への乗り移りをスムーズに行うことができて、乗り移り時にピアノ1に与える衝撃を小さく抑制可能となる。ちなみに、下り坂から水平な道に乗り移る際にも、クローラー走行車31は相対的に上方を向くことになるので、このローラー81は上述と同様に機能する。
また、図19Aに示すように、前記ローラー81は、前記小径角パイプ56bの前端部に設けられているので、ピアノ1の平面サイズに応じて前後に移動する。従って、図19Bに示すように、運搬中のピアノ1の前端部1aがクローラー走行車31の前端よりも前方に大きく飛び出していて、かつ、歩み板93の勾配が急な場合であっても、そのピアノ1の前端部1a近傍の直下に前記ローラー81を移動させることができるため、歩み板93にピアノ1の前端部1aがぶつかる前に、歩み板93に前記ローラー81を当てることができる。従って、図19Cに示すように、前記ピアノ1の前端部1aを歩み板93にぶつけてしまうことを可及的に防止可能となる。
なお、前記ローラー81は左右に首を振らないように、前方を向いた状態で固定されているのが好ましい。これは、ローラー81が首を振ると、当該ローラー81に、クローラー走行車31の進行方向を取られてしまう虞があるからである。
===第3実施形態のピアノ運搬台車21b===
図20は、本発明に係る第3実施形態のピアノ運搬台車21bの斜視図である。また、図21は、第3実施形態のピアノ運搬台車21bによる運搬手順を説明するための側面図である。
図5に示す第1実施形態にあっては、第2弾性部材55はパイプユニット56を介して昇降機構51のテーブル53に設けられており、もって、図12Bに示すように、脚部2を着脱すべくピアノ1を仮支持する際にも使用されていた。このため、図14Aに示すように、脚部2を取り外した状態のピアノ1を運搬する際にも、そのまま仮支持していたピアノ1の支柱3の部分を支持せざるを得ず、その結果、ピアノ1の弦8側の部分については、その脚部取り付け座2aを直接支持することができなかった。
これに対して、図20に示す第3実施形態の第2弾性部材55は、パイプユニット56を介して車体33に設けられており、つまり昇降機構51とは独立に設けられている。よって、図21B及び図21Cに示すように、仮支持中に第2弾性部材55を前方にスライド移動することによって、当該第2弾性部材55をピアノ1の弦8側の脚部取り付け座2aの直下に移動できる結果、運搬中にピアノ1の弦側の脚部取り付け座2aを直接支持可能となっている。
詳細に説明すると、図20に示すように、前記パイプユニット56は、その小径角パイプ56bの挿抜方向を前後方向に揃えつつ車体33の側部の上面に固定されており、これによって、第2弾性部材55は、昇降機構51とは独立に、ピアノ1を支持可能となっている。また、昇降機構51のテーブル53には、第2弾性部材55に代えて、テーブル53上面の前部の左右にそれぞれ第4弾性部材54a,54aが固定されており、前述した後部の前記第1弾性部材54,54とによって、ピアノ1を四点で仮支持可能となっている。なお、図21Bに示すように、この第4弾性部材54aは、支柱3の部分を仮支持するため、棚板10と支柱3との段差分だけ第1弾性部材54よりも高さ方向に大きく形成されている。
そして、このような構成によれば、図21Bに示すように昇降機構51のテーブル53を上昇させてピアノ1を仮支持している間に、図21Cに示すように、ピアノ1の弦8側を支える脚部2の取り付け座2aの真下へ前記第2弾性部材55をスライド移動させることができる。よって、その後で、図21Dに示すようにテーブル53を下降させて、第1及び第4弾性部材54,54aから、第2及び第3弾性部材55,71にピアノ1を受け渡せば、ピアノ1の鍵盤6側及び弦8側の両方について脚部取り付け座2aを支持することができて、ピアノ1に変な負荷が全くかからない最高のバランスでピアノ1を支持可能となる。
===その他の実施形態===
以上、本発明の実施形態について説明したが、本発明は、かかる実施形態に限定されるものではなく、その要旨を逸脱しない範囲で以下に示すような変形が可能である。
第1実施形態においては、ピアノ運搬台車21の車体33や昇降機構51等を鋼製としたが、これに限るものではなく、適宜な高剛性素材を適用しても良い。例えば、アルミニウムやその合金等で車体33等を作っても良く、そうすれば大幅な軽量化を期待できる。
第1実施形態においては、第2弾性部材55及び第3弾性部材71のスライド移動及び上下反転を人力で行っていたが、これに限るものではなく、油圧シリンダや電動モータ等を搭載し、これらによって駆動するようにしても良い。但し、軽量化及びコストの観点からは人力で行う方が好ましい。
第1実施形態においては、パイプユニット56によって第2弾性部材55及び第3弾性部材71をスライド移動可能に案内していたが、これに限るものではなく、適宜なレールと、レールにスライド移動可能に係合するブロックとを備えた所謂リニアガイドを用いても良い。但し、軽量化及びコストの観点からは、簡略な構成たるパイプユニット56の方が好ましい。
第1実施形態においては、第1乃至第4弾性部材54,55,71として硬質ゴム製の部材を用いたが、適度な弾性を有していればこれに限るものではなく、例えば、コイルばねや板ばね等のばね部材を用いても良い。但し、軽量化の観点からは硬質ゴム製の部材の方が好ましい。
第1実施形態においては、昇降機構51を油圧ユニット65によって駆動していたが、これに限るものではなく、例えば、エアシリンダを備えた空気圧ユニットを用いて空気圧駆動させても良い。但し、昇降動作の安定性の観点からは油圧ユニット65の方が好ましい。
第1実施形態においては、昇降機構51のテーブル53をパンタグラフユニット61によって、上下昇降させていたが、上下方向に伸縮動作するものであればこれに限るものではない。
第2実施形態においては、回転体の一例としてローラー81を示したが、回転体であればこれに限るものではなく、例えば、任意の方向に回転可能に保持されたボールでも良い。
本発明に係るピアノ運搬台車21によって運搬されるグランドピアノ1の外観図である。 前記ピアノ1の支柱3及び響板4の斜視図である。 前記ピアノ1のフレーム5を示す上面図である。 鍵盤6とアクション機構7の側断面図である。 第1実施形態のピアノ運搬台車21を説明するための斜視図である。 前記ピアノ運搬台車21を説明するための斜視図である。 前記ピアノ運搬台車21を説明するための斜視図である。 前記ピアノ運搬台車21を説明するための斜視図である。 前記ピアノ運搬台車21の後部を一部破断して示す上面図である。 昇降機構51を説明するための車幅方向の中心縦断面図である。 前記ピアノ運搬台車21によるピアノ運搬手順の説明図である。 前記ピアノ運搬台車21によるピアノ運搬手順の説明図である。 前記ピアノ運搬台車21によるピアノ運搬手順の説明図である。 前記ピアノ運搬台車21によるピアノ運搬手順の説明図である。 前記ピアノ運搬台車21によるピアノ運搬手順の説明図である。 前記ピアノ運搬台車21によるピアノ運搬手順の説明図である。 前記ピアノ運搬台車21によるピアノ運搬手順の説明図である。 昇降機構51に係る油圧ユニット65の油圧系統図である。 第2実施形態のピアノ運搬台車21aの側面図である。 第3実施形態のピアノ運搬台車21bの斜視図である。 前記ピアノ運搬台車21bによる運搬手順を説明するための側面図である。 従来のピアノ運搬台車101の側面図である。
符号の説明
1 ピアノ、2 脚部、2a 取り付け座、
3 支柱、3a 曲練支柱、3b 直支柱、 3c 要、
4 響板、5 フレーム、6 鍵盤、6a 鍵盤筬、
6b バランスキーピン、7 アクション機構、7a サポートレール、
7b ハンマー、8 弦、8a チューニングピン、8b フレームピン、
9a 奥框、9b 中框、10 棚板、
11 ペダル機構、11a ダンパーペダル、11c ダンパー、
21 ピアノ運搬台車、21a ピアノ運搬台車、21b ピアノ運搬台車、
31 クローラー走行車、33 車体、33e ステイ、
35 クローラー走行装置、35a 車輪、35b クローラーベルト、
35c 車軸、36 バッテリー、37 モータ、37b 駆動回転軸、
37c スプロケット、38 クラッチ、39 トランスミッション、
39a 出力軸、39b 入力軸、
41 運転操作部、41a ジョイスティック、41b 方向転換レバー、
51 昇降機構、53 テーブル、54 第1弾性部材、54a 第4弾性部材、
55 第2弾性部材、56 パイプユニット(ガイド部材)、
56a 大径角パイプ、56b 小径角パイプ、
57 支持プレート、57a 上面、57b 下面、57c 水平ピン、
61 パンタグラフユニット、62 X形状部材、62a 棒状部材、
62b ピボット軸、62c 水平ピン、62d 水平ピン、62e ステイ、
62f 連結棒、62g 連結棒、62h 連結棒、62i 連結棒、
63 レール、64 レール、65 油圧ユニット、
66 油圧シリンダ、66a シリンダ本体、66b ピストンロッド、
67 タンク、68 ポンプ、68a 入力軸、68d スプロケット、
69 切換弁、69a レバー、70a 油圧ホース、70c 一方向絞り弁、
71 支持部(第3弾性部材)、73 ガイド部材、73a 大径角パイプ、
73b 小径角パイプ、73c ブラケット、73d 支持プレート、73e 蝶番
81 ローラー(回転体)、81a 回転軸、82 棒状部材、
91 トラック、91a 荷台、93 歩み板、
Ca 油圧室、Cb 油圧室、P ポンプポート、T タンクポート、
OP 作業者、G 地面、PL 走行面、S ステージ

Claims (14)

  1. ピアノの脚部が取り外された状態で前記ピアノを運搬するピアノ運搬台車であって、
    自走可能なクローラー走行車と、
    該クローラー走行車に設けられて、前記ピアノの脚部を着脱する際に前記ピアノを上昇させて該ピアノを仮支持するための昇降機構と、
    該昇降機構との間で、前記脚部が取り外されたピアノの受け渡しをして、該脚部が取り外された状態のピアノを、前記仮支持の高さよりも低い位置に支持するための、前記クローラー走行車に設けられた支持部と、
    を備えたことを特徴とするピアノ運搬台車。
  2. 請求項1に記載のピアノ運搬台車において、
    前記クローラー走行車は、前記昇降機構及び前記支持部の下方に位置して、これらを支持し、
    前記クローラー走行車が自走することによって、前記昇降機構および前記支持部を、前記脚部で自立しているピアノの下方に位置させることを特徴とするピアノ運搬台車。
  3. 請求項1又は2に記載のピアノ運搬台車において、
    前記昇降機構は、前記ピアノの脚部が取り付けられていた部分以外の部分に、その下方から当接して前記ピアノを仮支持し、
    前記支持部は、前記ピアノの脚部が取り付けられていた部分に、その下方から当接して前記ピアノを支持することを特徴とするピアノ運搬台車。
  4. 請求項3に記載のピアノ運搬台車において、
    前記昇降機構がその下方から当接する部分は、前記ピアノの支柱であり、
    前記支持部がその下方から当接する部分は、前記ピアノの棚板に設けられた前記脚部の取り付け座であることを特徴とするピアノ運搬台車。
  5. 請求項3又は4に記載のピアノ運搬台車において、
    前記ピアノの脚部の取り付け位置に応じて、前記支持部を水平方向にスライド移動可能に案内するガイド部材を備えていることを特徴とするピアノ運搬台車。
  6. 請求項5に記載のピアノ運搬台車において、
    前記ピアノの脚部は、少なくともピアノの鍵盤側に一対並設されているとともに、前記一対の脚部に対応させて、少なくとも前記支持部は一対設けられており、
    前記クローラー走行車を自走させて、前記支持部を前記ピアノの下方に位置させた状態において、前記一対の支持部は、前記一対の脚部の間に位置しており、
    前記昇降機構によって上昇されたピアノから脚部が取り外された際に、前記支持部は、前記脚部が取り付けられていた部分の直下にスライド移動されることを特徴とするピアノ運搬台車。
  7. 請求項5又は6に記載のピアノ運搬台車において、
    前記支持部は、上下反転可能に軸支されているとともに、
    該支持部は、自身が具備する弾性部材を、前記ピアノの脚部が取り付けられていた部分に当接させて支持し、
    前記弾性部材が上方を向いた状態の、前記弾性部材を含めた前記支持部の全高よりも、そこから反転して前記弾性部材が下方を向いた状態の全高の方が低いことを特徴とするピアノ運搬台車。
  8. 請求項3乃至7のいずれかに記載のピアノ運搬台車において、
    前記昇降機構は、上面に弾性部材を具備して上下昇降するテーブルを有し、
    該テーブルが上昇した際に、前記弾性部材が、前記ピアノの脚部が取り付けられていた部分以外の部分に当接して、前記ピアノを仮支持することを特徴とするピアノ運搬台車。
  9. 請求項8に記載のピアノ運搬台車において、
    前記テーブルは、前記ピアノの平面サイズに応じて、前記弾性部材を水平方向にスライド移動可能に案内するガイド部材を備えていることを特徴とするピアノ運搬台車。
  10. 請求項8又は9に記載のピアノ運搬台車において、
    前記テーブルは、その平面中心を前記クローラー走行車の平面中心にほぼ揃えて配置されているとともに、
    前記テーブルを囲む平面位置に、前記支持部は配置されていることを特徴とするピアノ運搬台車。
  11. 請求項1乃至10のいずれかに記載のピアノ運搬台車において、
    前記クローラー走行車は、
    前記昇降機構及び前記支持部の下方に位置して、これらを支持する車体と、
    該車体の少なくとも走行方向の前後にそれぞれ設けられた車輪と、
    前記車輪に掛け回された無端のクローラーベルトと、
    前記車輪の少なくとも一方を回転駆動させるための電動モータと、を有し、
    前記昇降機構は、電動モータによって昇降駆動されることを特徴とするピアノ運搬台車。
  12. 請求項11に記載のピアノ運搬台車において、
    前記クローラーベルトは、ゴム製であることを特徴とするピアノ運搬台車。
  13. 請求項1乃至12のいずれかに記載のピアノ運搬台車において、
    前記クローラー走行車は、その前進方向の前端よりも前方に、走行中の走行面から浮いた状態の回転体を有し、
    前記走行中の走行面よりも上に傾斜した走行面へ前記クローラー走行車が移る際には、前記上に傾斜した走行面の一部に前記回転体を当てることによって前記クローラー走行車の進行方向を上方へ向けることを特徴とするピアノ運搬台車。
  14. 請求項13に記載のピアノ運搬台車において、
    前記回転体は、前記前進方向の前後に移動可能に案内され、
    該回転体は、前記ピアノの平面サイズに応じて前後に移動されることを特徴とするピアノ運搬台車。

JP2004227795A 2004-08-04 2004-08-04 ピアノ運搬台車 Expired - Fee Related JP4469678B2 (ja)

Priority Applications (1)

Application Number Priority Date Filing Date Title
JP2004227795A JP4469678B2 (ja) 2004-08-04 2004-08-04 ピアノ運搬台車

Applications Claiming Priority (1)

Application Number Priority Date Filing Date Title
JP2004227795A JP4469678B2 (ja) 2004-08-04 2004-08-04 ピアノ運搬台車

Publications (3)

Publication Number Publication Date
JP2006044442A true JP2006044442A (ja) 2006-02-16
JP2006044442A6 JP2006044442A6 (ja) 2006-07-20
JP4469678B2 JP4469678B2 (ja) 2010-05-26

Family

ID=36023502

Family Applications (1)

Application Number Title Priority Date Filing Date
JP2004227795A Expired - Fee Related JP4469678B2 (ja) 2004-08-04 2004-08-04 ピアノ運搬台車

Country Status (1)

Country Link
JP (1) JP4469678B2 (ja)

Cited By (5)

* Cited by examiner, † Cited by third party
Publication number Priority date Publication date Assignee Title
KR200469892Y1 (ko) * 2013-03-08 2013-11-14 박종규 고소 작업대
CN111840919A (zh) * 2020-06-30 2020-10-30 无锡市精神卫生中心 便携式功能训练治疗车
KR102250313B1 (ko) * 2019-10-30 2021-05-07 이명환 전동조향 기능을 가지는 전동손수레
CN113168073A (zh) * 2018-11-30 2021-07-23 日本电产三协株式会社 光学单元
CN114132373A (zh) * 2021-12-07 2022-03-04 尚彬 一种施工用多功能物料转运机

Cited By (7)

* Cited by examiner, † Cited by third party
Publication number Priority date Publication date Assignee Title
KR200469892Y1 (ko) * 2013-03-08 2013-11-14 박종규 고소 작업대
CN113168073A (zh) * 2018-11-30 2021-07-23 日本电产三协株式会社 光学单元
CN113168073B (zh) * 2018-11-30 2023-01-06 日本电产三协株式会社 光学单元
KR102250313B1 (ko) * 2019-10-30 2021-05-07 이명환 전동조향 기능을 가지는 전동손수레
CN111840919A (zh) * 2020-06-30 2020-10-30 无锡市精神卫生中心 便携式功能训练治疗车
CN114132373A (zh) * 2021-12-07 2022-03-04 尚彬 一种施工用多功能物料转运机
CN114132373B (zh) * 2021-12-07 2022-11-15 尚彬 一种施工用多功能物料转运机

Also Published As

Publication number Publication date
JP4469678B2 (ja) 2010-05-26

Similar Documents

Publication Publication Date Title
CN102777049B (zh) 一种墙板竖立机
DK2443285T3 (en) Storage cart for transport of roll goods
JP5485076B2 (ja) トンネルの施工装置及び施工方法
CN108532600B (zh) 一种具有钻孔功能的公路护栏桩打拔桩机
JP4469678B2 (ja) ピアノ運搬台車
JP2006044442A6 (ja) ピアノ運搬台車
WO2008071868A3 (fr) Nacelle d'elevation verticale a propulsion humaine
JP5478138B2 (ja) コンクリート製品の搬送敷設装置
JP2009178061A (ja) 乗用型田植機
ES2240391T3 (es) Procedimiento y maquina para el bateado de una via de ferrocarril.
JPH10109652A (ja) 荷物運搬車
US20080116013A1 (en) High Lift Truck
CN205526360U (zh) 一种预制件运输装置
CN218365467U (zh) 一种具备多方向调整的用于预制构件的凿毛设备
JP2006028734A (ja) 移動式ベントを用いた橋桁の送り出し架設工法
CN101153476B (zh) 弹条安装机
CN105060197A (zh) 一种具有高稳定性行驶转向功能的高空作业平台
CN104627797B (zh) 轿厢舱移出机构的双驱动装置
JP6092705B2 (ja) 階段移動式足場
JP5483663B2 (ja) 乗用型田植機
JP5210951B2 (ja) 橋桁送出し方法および橋桁送出し設備
JP2021172160A (ja) 運搬台車
CN111874051A (zh) 一种应用于层叠式建筑材料的分板机
JPS59210160A (ja) 天井工事用器材運搬並びに施工装置
CN205223758U (zh) 撞轨小车和撞轨器

Legal Events

Date Code Title Description
A621 Written request for application examination

Free format text: JAPANESE INTERMEDIATE CODE: A621

Effective date: 20070720

A131 Notification of reasons for refusal

Free format text: JAPANESE INTERMEDIATE CODE: A131

Effective date: 20091117

A521 Request for written amendment filed

Free format text: JAPANESE INTERMEDIATE CODE: A523

Effective date: 20100108

TRDD Decision of grant or rejection written
A01 Written decision to grant a patent or to grant a registration (utility model)

Free format text: JAPANESE INTERMEDIATE CODE: A01

Effective date: 20100202

A01 Written decision to grant a patent or to grant a registration (utility model)

Free format text: JAPANESE INTERMEDIATE CODE: A01

A61 First payment of annual fees (during grant procedure)

Free format text: JAPANESE INTERMEDIATE CODE: A61

Effective date: 20100301

R150 Certificate of patent or registration of utility model

Ref document number: 4469678

Country of ref document: JP

Free format text: JAPANESE INTERMEDIATE CODE: R150

Free format text: JAPANESE INTERMEDIATE CODE: R150

FPAY Renewal fee payment (event date is renewal date of database)

Free format text: PAYMENT UNTIL: 20130305

Year of fee payment: 3

FPAY Renewal fee payment (event date is renewal date of database)

Free format text: PAYMENT UNTIL: 20160305

Year of fee payment: 6

R250 Receipt of annual fees

Free format text: JAPANESE INTERMEDIATE CODE: R250

R250 Receipt of annual fees

Free format text: JAPANESE INTERMEDIATE CODE: R250

R250 Receipt of annual fees

Free format text: JAPANESE INTERMEDIATE CODE: R250

R250 Receipt of annual fees

Free format text: JAPANESE INTERMEDIATE CODE: R250

R250 Receipt of annual fees

Free format text: JAPANESE INTERMEDIATE CODE: R250

LAPS Cancellation because of no payment of annual fees