JP2006016893A - Shear reinforcement method for existing structures - Google Patents

Shear reinforcement method for existing structures Download PDF

Info

Publication number
JP2006016893A
JP2006016893A JP2004197177A JP2004197177A JP2006016893A JP 2006016893 A JP2006016893 A JP 2006016893A JP 2004197177 A JP2004197177 A JP 2004197177A JP 2004197177 A JP2004197177 A JP 2004197177A JP 2006016893 A JP2006016893 A JP 2006016893A
Authority
JP
Japan
Prior art keywords
drilling
existing structure
tension
shear reinforcement
tension member
Prior art date
Legal status (The legal status is an assumption and is not a legal conclusion. Google has not performed a legal analysis and makes no representation as to the accuracy of the status listed.)
Withdrawn
Application number
JP2004197177A
Other languages
Japanese (ja)
Inventor
Naoyuki Fukuura
尚之 福浦
Current Assignee (The listed assignees may be inaccurate. Google has not performed a legal analysis and makes no representation or warranty as to the accuracy of the list.)
Taisei Corp
Original Assignee
Taisei Corp
Priority date (The priority date is an assumption and is not a legal conclusion. Google has not performed a legal analysis and makes no representation as to the accuracy of the date listed.)
Filing date
Publication date
Application filed by Taisei Corp filed Critical Taisei Corp
Priority to JP2004197177A priority Critical patent/JP2006016893A/en
Publication of JP2006016893A publication Critical patent/JP2006016893A/en
Withdrawn legal-status Critical Current

Links

Images

Landscapes

  • Working Measures On Existing Buildindgs (AREA)

Abstract


【課題】 簡易な方法で、既存構造物の構成部材の部材厚を厚くすることなく該構成部材のせん断補強をおこなうことのできる既存構造物のせん断補強方法を提供すること。
【解決手段】 既存構造物の構成部材1の部材厚さ方向または略部材厚さ方向に所定長さの削孔部2を形成する削孔工程と、該削孔部2への充填材31の充填およびPC鋼線やPC鋼棒などの緊張部材4の挿入を行う緊張部材設置工程と、充填材31の硬化後に該緊張部材4に緊張力を導入し、該緊張部材4のうち挿入方向の後端付近に少なくとも定着板5を設置する緊張力導入工程と、からなる既存構造物のせん断補強方法である。ここで、削孔部2の削孔先端部には拡大削孔部8を設け、緊張部材4の先端に備えた突出部材7を該拡大削孔部4内に埋め込んだ状態とする。
【選択図】 図1

PROBLEM TO BE SOLVED: To provide a shear reinforcement method for an existing structure capable of performing the shear reinforcement of the constituent member by a simple method without increasing the thickness of the constituent member of the existing structure.
SOLUTION: A drilling step of forming a drilling portion 2 having a predetermined length in a member thickness direction or a substantially member thickness direction of a constituent member 1 of an existing structure, and a filling material 31 to the drilling portion 2 A tension member installation step for filling and inserting a tension member 4 such as a PC steel wire or a PC steel rod, and a tension force is introduced into the tension member 4 after the filler 31 is cured. This is a shear reinforcement method for an existing structure, which includes a tension introducing step for installing at least the fixing plate 5 in the vicinity of the rear end. Here, an enlarged drilling portion 8 is provided at the drilling tip portion of the drilling portion 2, and the protruding member 7 provided at the tip of the tension member 4 is embedded in the enlarged drilling portion 4.
[Selection] Figure 1

Description

本発明は、鉄筋コンクリートからなる既存構造物のせん断補強方法に係り、特に、地盤内に建設された地下構造物に対して簡易にせん断補強することができ、既存構造物を構成する構成部材の部材厚さを厚くすることなしにせん断補強することのできる既存構造物のせん断補強方法に関する。   TECHNICAL FIELD The present invention relates to a method for shear reinforcement of an existing structure made of reinforced concrete, and in particular, a member of a constituent member that can easily shear-reinforce an underground structure built in the ground and constitutes an existing structure. The present invention relates to a method for shear reinforcement of an existing structure which can be shear reinforced without increasing the thickness.

地震国である我が国の建築基準法などに基づく耐震基準は、これまで大地震の発生を契機としてその都度改定が行われてきたと言っても過言ではない。最近では、平成7年に発生した阪神淡路大震災後に各種基準や各種指針における耐震基準が改定されており、したがって近時の構造物(一定規模以上の構造物)は該耐震基準を満足するような剛構造ないし柔構造の構造物として建設されている。   It is no exaggeration to say that the earthquake resistance standards based on the Building Standards Act of Japan, an earthquake-prone country, have been revised each time triggered by the occurrence of a major earthquake. Recently, after the Great Hanshin-Awaji Earthquake that occurred in 1995, the earthquake resistance standards in various standards and guidelines have been revised, so that recent structures (structures of a certain size or larger) satisfy the earthquake resistance standards. It is constructed as a rigid or flexible structure.

一方、既存の構造物(鉄筋コンクリート構造物)には、旧耐震基準(この中でも、耐震基準の変遷に伴って数段階に分かれている)に基づいて建設されたものが多数存在するのが現状である。かかる既存構造物は、場合によってはその建設当時の耐震基準による耐震性に関する要求がなかったことなどにより、阪神淡路大震災や関東大震災などの大規模地震に対するせん断補強が充分に行われておらず、したがってかかる地震時にせん断破壊に至る可能性を多分に秘めている。そこで、かかる旧耐震基準に基づいて建設された鉄筋コンクリートからなる構造物の耐震補強工事が、現在各地で盛んに行われている。例えば、高速道路や新幹線のラーメン橋脚などの地上構造物をはじめとして、各種の地下インフラ用のトンネルなど補強対象となる構造物は多岐に亘っている。かかる既存構造物の耐震補強は、構造物の重要度などによって補強程度に相違はあるものの、大地震時に全く構造物に損傷がない程度にまで補強される必要は必ずしもなく、少なくとも脆性的なせん断破壊等を起すことで人災等を誘発することのない程度まで補強されればよいと考えられている。   On the other hand, there are many existing structures (reinforced concrete structures) that were constructed based on the old earthquake resistance standards (among them, divided into several stages with the transition of earthquake resistance standards). is there. Such existing structures have not been sufficiently shear-reinforced for large-scale earthquakes such as the Great Hanshin-Awaji Earthquake and the Great Kanto Earthquake due to the absence of a requirement for earthquake resistance according to the earthquake resistance standards at the time of construction. Therefore, there is a great potential for shear failure during such an earthquake. Therefore, seismic reinforcement work for structures made of reinforced concrete constructed based on such old earthquake resistance standards is being actively carried out in various places. For example, there are a wide variety of structures to be reinforced such as tunnels for various underground infrastructures, including ground structures such as expressways and Shinkansen ramen piers. Seismic reinforcement of existing structures is not necessarily required to be reinforced to the extent that there is no damage to the structure at the time of a large earthquake, although there is a difference in the degree of reinforcement depending on the importance of the structure, etc., and at least brittle shear It is thought that it should be reinforced to such an extent that it will not cause human injury by causing destruction.

ところで、既存構造物のせん断特性を補強施工する場合には次のような点に留意する必要がある。すなわち、(1)補強工事費が比較的安価で補強効果も十分に期待できること。(2)原則的には供用中の構造物を補強することから、せん断補強工事に伴う供用休止期間を極力短くすること。(3)せん断補強によって既存構造物の形状が大きくなり、かかる形状変更が構造物の供用の妨げにならないこと(例えば、地下鉄用のトンネル内部にコンクリートを増設することにより、建築限界を侵してしまうなど)。   By the way, when reinforcing the shear characteristics of an existing structure, it is necessary to pay attention to the following points. That is, (1) Reinforcing work costs are relatively low and sufficient reinforcing effect can be expected. (2) In principle, the in-service suspension period associated with shear reinforcement work should be shortened as much as possible because the structure in service will be reinforced. (3) The shape of an existing structure is increased by shear reinforcement, and such a shape change does not hinder the use of the structure (for example, by adding concrete inside a tunnel for a subway, the building limit is violated. Such).

既存構造物(既存の鉄筋コンクリート構造物)をせん断補強することは、上記するように大地震時に脆性的なせん断破壊を起すことで大きな被害を招来することを防止することのほかに、上記するように補強ないし新規の造り替えによる工事費の高騰や工事期間中の供用停止に伴う社会生活への影響を最小限に抑えることも極めて重要な要素となってくる。   Reinforcing existing structures (existing reinforced concrete structures) in addition to preventing brittle shear failure in the event of a major earthquake as described above, as described above. In addition, it is extremely important to minimize the impact on social life due to the increase in construction costs due to reinforcement or new rebuilding and the suspension of operation during the construction period.

既存の鉄筋コンクリート構造物のせん断補強方法には種々の方法があり、一般的な方法の一つとしては該構造物の構成部材の部材厚を大きくする方法がある。例えば図3a,bに示すように、既存構造物の構成部材1である柱を増厚補強する場合には、柱の既存部分1aの周りに柱の主筋91,91,…を複数配設し、該主筋91,91,…を包囲するように複数の帯筋92,92,…を配設した状態でコンクリート93などを打設する方法である。他の方法としては、図4a,bに示すように構成部材1である柱(既存部分1a)を包囲するように補強用鋼板94を該柱との間に所定の隙間を置いた状態で巻き付け施工し、かかる隙間に無収縮モルタルなどの充填材95を充填硬化させて既存部分1aと補強用鋼板94との一体化を図る方法である。   There are various methods for shear reinforcement of existing reinforced concrete structures, and one common method is to increase the thickness of the structural members of the structure. For example, as shown in FIGS. 3a and 3b, when reinforcing and reinforcing a pillar that is a component 1 of an existing structure, a plurality of pillar main bars 91, 91,... Are arranged around the pillar existing portion 1a. , Concrete 93 or the like is placed in a state where a plurality of band bars 92, 92,... Are disposed so as to surround the main bars 91, 91,. As another method, as shown in FIGS. 4a and 4b, the reinforcing steel plate 94 is wound with a predetermined gap between the pillars so as to surround the pillar (existing portion 1a) which is the component member 1 as shown in FIGS. This is a method in which the existing portion 1a and the reinforcing steel plate 94 are integrated with each other by filling and hardening a filler 95 such as non-shrink mortar in the gap.

上記する既存構造物の構成部材の補強方法は、構成部材の部材厚を厚くすることが可能な条件であれば問題はないが、既存構造物が既に建築限界程度ないし用地限界程度に建設されている場合(貯水池や地下鉄トンネルなど)や、既存構造物が地盤内に埋め込まれており、したがって補強対象の構成部材の背面に地盤が存在するなどの場合には採用することが難しい。   The above-described method of reinforcing the constituent members of the existing structure is not a problem as long as the thickness of the constituent members can be increased, but the existing structure has already been built to the building limit or the site limit. It is difficult to adopt when there is a reservoir (reservoir, subway tunnel, etc.), or when an existing structure is embedded in the ground, and therefore the ground exists on the back of the component to be reinforced.

地盤内にある既存構造物をせん断補強する場合のように、部材厚を厚くする方法を採用できない場合における既存構造物のせん断補強方法(耐震補強方法)が特許文献1に開示されている。かかる補強方法は、既存の鉄筋コンクリート柱において建築物の屋上から鉛直方向に所定深度まで削孔後、かかる削孔部に鋼管や鋼棒などのせん断補強材を挿入し、必要な場合には該削孔部にグラウト材を充填する方法である。   Patent Document 1 discloses a shear reinforcement method (earthquake-proof reinforcement method) for an existing structure when a method of increasing the member thickness cannot be employed as in the case of shear reinforcement of an existing structure in the ground. Such a reinforcing method is to cut a vertical depth from the roof of a building to a predetermined depth in an existing reinforced concrete column, and then insert a shear reinforcement material such as a steel pipe or a steel rod into the drilled portion. This is a method of filling the hole with a grout material.

また、その他の補強方法として既存構造物の構成部材の部材厚さ方向に削孔部を形成後、該削孔部にせん断補強用の異形鋼棒を挿入設置し、グラウトなどの充填材を充填硬化させて補強する方法もある。具体的には図5に示すように、既存構造物の構成部材1の一側面側から他側面の主筋11付近まで削孔部96を造成し、せん断補強用の異形鋼棒97を削孔部96に挿入するとともにグラウト98を充填して異形鋼棒97と構成部材1の一体化を図るものである。   As another reinforcement method, after forming a hole in the thickness direction of the component of the existing structure, insert a deformed steel rod for shear reinforcement into the hole and fill it with a filler such as grout. There is also a method of hardening and reinforcing. Specifically, as shown in FIG. 5, a drilling portion 96 is formed from one side of the component 1 of the existing structure to the vicinity of the main bar 11 on the other side, and a deformed steel rod 97 for shear reinforcement is formed in the drilling portion. It inserts in 96 and fills the grout 98 and aims at the integration of the deformed steel rod 97 and the structural member 1.

特開平10−18608号公報Japanese Patent Laid-Open No. 10-18608

特許文献1に開示の耐震補強方法によれば、既存構造物の構成部材の部材厚を厚くすることなくせん断補強(耐震補強)を行うことが可能となる。しかし、構成部材の上方から鉛直方向に削孔し、せん断補強材を挿入するためには対象構造物が地上である必要があり、仮に地下構造物の柱等に適用するとしても土被り部分の削孔ないしせん断補強材の押し込みなどの施工を余儀なくされ、場合によっては山留めを施した開作工事を行う必要が生じる。したがって、工事費の高騰や地上に工事占有地帯を確保する必要性、全体工期の長期化といった問題が十分に考えられる。さらに、地下構造物がトンネルなどの場合には、曲率形状に応じた既存構造物の削孔やせん断補強材の挿入などを要し、その施工は極めて困難となる。   According to the seismic reinforcement method disclosed in Patent Document 1, it is possible to perform shear reinforcement (seismic reinforcement) without increasing the thickness of the constituent members of the existing structure. However, in order to drill holes vertically from above the components and insert the shear reinforcement, the target structure must be on the ground, and even if it is applied to a pillar of an underground structure, etc. Construction such as drilling or pushing in of shear reinforcements is forced, and in some cases, it is necessary to carry out renovation work with mountain retaining. Therefore, problems such as a rise in construction costs, the necessity of securing a construction occupation zone on the ground, and an increase in the total construction period can be considered. Further, when the underground structure is a tunnel or the like, it requires drilling of existing structures or insertion of shear reinforcement according to the curvature shape, and the construction becomes extremely difficult.

また、構成部材の部材厚さ方向に削孔部を形成後、該削孔部にせん断補強用の異形鋼棒を挿入設置し、グラウトなどの充填材を充填硬化させて補強する方法によれば、上記する特許文献に開示の補強方法のような問題は生じ得ない。しかし、かかる補強方法では次のような問題が考えられる。すなわち、(1)せん断補強筋の挿入先端部の定着が不十分な場合にはせん断補強効果が期待できない。(2)大地震時に対応できるだけのせん断補強効果を得るためには、多くの削孔部を形成する必要があり、したがって工期が長期化する可能性が高くなるとともに多くの施工手間を要することとなる。(3)既存構造物に多くの削孔部を形成することにより、結果的には健全な構造物に損傷を与えてしまうこととなりかねない。   In addition, according to the method of forming a drilled portion in the thickness direction of the constituent member, inserting and installing a deformed steel rod for shear reinforcement in the drilled portion, and filling and hardening a filler such as grout to reinforce. The problem as in the reinforcing method disclosed in the above-mentioned patent document cannot occur. However, this reinforcing method has the following problems. That is, (1) when the insertion tip of the shear reinforcement bar is not sufficiently fixed, the shear reinforcement effect cannot be expected. (2) In order to obtain a shear reinforcement effect that can cope with a large earthquake, it is necessary to form a large number of drilled holes, which increases the possibility that the construction period will be prolonged and requires a lot of construction work. Become. (3) By forming a large number of holes in the existing structure, the sound structure may be damaged as a result.

本発明は、上記する問題に鑑みてなされたものであり、簡易な方法で、既存構造物の構成部材の部材厚を厚くすることなく該構成部材のせん断補強をおこなうことのできる既存構造物のせん断補強方法を提供することを目的としている。特に、補強対象となる既存構造物が地盤内に埋め込まれている場合や、既存構造物が既に建築限界ないし用地限界程度に建設されている場合の該既存構造物のせん断補強に適用されるのが効果的である。また、本発明は、せん断補強施工時に既存構造物に損傷を与える可能性が極めて低い既存構造物のせん断補強方法を提供することを目的としている。   The present invention has been made in view of the above-described problems, and is a simple method for an existing structure capable of performing shear reinforcement of the constituent member without increasing the thickness of the constituent member of the existing structure. It aims to provide a shear reinforcement method. In particular, it is applied to shear reinforcement of existing structures that are to be reinforced and embedded in the ground or when existing structures have already been built to the construction limit or site limit. Is effective. Another object of the present invention is to provide a method for shear reinforcement of an existing structure that has a very low possibility of damaging the existing structure at the time of shear reinforcement construction.

前記目的を達成すべく、本発明による既存構造物のせん断補強方法は、鉄筋コンクリートからなる既存構造物のせん断補強方法であって、前記既存構造物を構成する構成部材の部材厚さ方向または略部材厚さ方向に所定長さの削孔部を形成する削孔工程と、該削孔部への充填材の充填およびPC鋼線やPC鋼棒などの緊張部材の挿入を行う緊張部材設置工程と、前記充填材の硬化後に該緊張部材に緊張力を導入し、該緊張部材のうち挿入方向の後端付近に少なくとも定着板を設置する緊張力導入工程と、からなることを特徴とする。   In order to achieve the above object, a shear reinforcement method for an existing structure according to the present invention is a shear reinforcement method for an existing structure made of reinforced concrete, and is a member thickness direction or a substantially member of a constituent member constituting the existing structure. A drilling step of forming a drilling portion of a predetermined length in the thickness direction, a tension member installing step of filling the drilling portion with a filler and inserting a tension member such as a PC steel wire or a PC steel rod, And a tension force introducing step of introducing a tension force to the tension member after the filler is cured and installing at least a fixing plate in the vicinity of the rear end of the tension member in the insertion direction.

鉄筋コンクリートからなる既存構造物とは、鉄筋コンクリート構造物のほか、鉄筋コンクリートと鉄骨が併用された鉄骨鉄筋コンクリート構造物などを含む広い意味である。既存構造物は、地上に立設するビルや上下水道の処理施設などの公共施設、地下鉄トンネルや地下共同溝トンネルなどの各種地下構造物などを含む意味である。   The existing structure made of reinforced concrete has a broad meaning including a reinforced concrete structure and a reinforced concrete structure in which a reinforced concrete and a steel frame are used together. The existing structures include public facilities such as buildings standing on the ground and water and sewage treatment facilities, and various underground structures such as subway tunnels and underground common trench tunnels.

ここで、部材厚さ方向とは、例えば構成部材が壁の場合は壁厚方向を、構成部材が柱の場合は柱厚方向を意味する。また、略部材厚さ方向とは、施工性や施工誤差等により、部材厚さ方向から若干傾きをもった方向のことである。   Here, the member thickness direction means, for example, the wall thickness direction when the constituent member is a wall, and the column thickness direction when the constituent member is a column. Moreover, the substantially member thickness direction is a direction having a slight inclination from the member thickness direction due to workability, construction errors, and the like.

さらに、所定長さの削孔部とは、例えば構成部材が壁の場合には、壁の一側面側から開始された削孔の削孔先端が他側面側のかぶり程度壁内部に入った付近まで削孔されてできた部分を意味する。通常、既存構造物の構成部材には所定間隔で主筋が配設されていることから、壁や柱などの上記する他側面側の主筋と主筋の間程度に削孔部の先端が位置するのがよい。また、削孔径は使用する緊張部材の寸法などから適宜の大きさを選定できる。なお、削孔部の造成に際しては、円筒状のコアビットを使用してコンクリートに穿設施工する公知のコアボーリングなどを使用することができる。   Furthermore, the predetermined length of the drilling portion is, for example, when the component is a wall, the vicinity of the tip of the drilling hole started from one side of the wall entering the inside of the wall about the cover on the other side This means the part that has been drilled. Usually, since the main bars are arranged at predetermined intervals in the constituent members of the existing structure, the tip of the hole drilling part is located between the main bars and the main bars on the other side such as walls and columns. Is good. In addition, an appropriate size can be selected as the hole diameter from the dimension of the tension member to be used. In forming the drilled portion, a known core boring or the like that is drilled into concrete using a cylindrical core bit can be used.

上記する削孔工程を施工延長に亘って一気に行うことで削孔部の造成を完了させた後に緊張部材設置工程に移行することもできるし、削孔工程を先行させながら削孔工程と緊張部材設置工程を並行させることもできる。すなわち、削孔工程と緊張部材設置工程の時系列的な関係は、工期(工期を短縮するためにはそれぞれの工程を並行させる)や工費(それぞれの工程を並行させることにより作業員の増員によって工費が高騰する)を勘案して適宜決定すればよい。   It is possible to shift to the tension member installation process after completing the formation of the drilling hole by carrying out the above drilling process all at once in the construction extension, or the drilling process and the tension member while preceding the drilling process. The installation process can be paralleled. In other words, the time-series relationship between the drilling process and the tension member installation process depends on the construction period (in order to shorten the construction period, each process is performed in parallel) and construction cost (by increasing the number of workers by making each process in parallel). It may be determined as appropriate in consideration of the fact that construction costs will rise.

削孔部への充填材はグラウトやポリエステル樹脂などの樹脂材などを使用することができる。充填材を削孔部へ充填後、PC鋼線やPC鋼棒などの緊張部材の挿入を行う。充填材が緊張力を導入するのに適した強度まで硬化した後に該緊張部材に緊張力を導入する。緊張力導入後は緊張部材の端部に定着版を設置するとともにナット締めするなどして緊張力の保持を図る。ここで、既存構造物の構成部材の主筋と主筋の間の幅よりも使用する定着板の幅が広い場合には該定着板を主筋と主筋に外側から当接させ、該主筋をストッパーとして使用することができるため、緊張力をより効果的に構成部材に導入することができる。尤も、主筋と主筋の間の幅よりも使用する定着板の幅が狭い場合であっても、構成部材のコンクリートに直接緊張力が導入されることとなり、緊張力の導入効果は十分に期待できる。緊張部材のナット締め後は、既存構造物の内部の見栄えや漏水処理対策として、場合によっては間詰め用のモルタルなどで削孔部端部の後処理をおこなうこともできる。   A resin material such as grout or polyester resin can be used as a filler for the drilling hole. After filling the filler with the filler, a tension member such as a PC steel wire or PC steel rod is inserted. After the filler has cured to a strength suitable for introducing tension, tension is introduced into the tension member. After the tension is introduced, a fixing plate is installed at the end of the tension member and the nut is tightened to keep the tension. Here, when the width of the fixing plate to be used is wider than the width between the main bars of the components of the existing structure, the fixing plate is brought into contact with the main bars and the main bars from the outside, and the main bars are used as a stopper. Therefore, tension can be more effectively introduced into the component. However, even when the width of the fixing plate to be used is narrower than the width between the main bars, the tension force is directly introduced into the concrete of the component member, and the effect of introducing the tension force can be sufficiently expected. . After tightening the nut of the tension member, as a countermeasure against the appearance of the existing structure and the leakage treatment, post-processing of the end portion of the drilled portion can be performed with a mortar for filling in some cases.

上記するようにポストテンション方式を採用して緊張力を導入することで、既存構造物の構成部材には、極力少ない本数のせん断補強筋で効果的なせん断補強効果を得ることが可能となる。緊張力を導入しない場合には、異形鋼棒用の削孔部を本発明に比して相対的に多数造成する必要が生じるため、既存構造物への損傷や施工手間などの問題が生じ易くなるものと考えられる。さらに、既存構造物の構成部材の部材厚さ方向(または略部材厚さ方向)に削孔部を造成することから施工が簡易なものとなり、特に地下構造物のせん断補強施工には好適な方法と考えられる。   As described above, by adopting the post-tension method and introducing a tension force, it is possible to obtain an effective shear reinforcement effect with a minimum number of shear reinforcement bars in the constituent members of the existing structure. If tension is not introduced, it will be necessary to create a relatively large number of holes for deformed steel bars compared to the present invention, so problems such as damage to existing structures and construction work are likely to occur. It is considered to be. Furthermore, since the drilling portion is created in the member thickness direction (or substantially the member thickness direction) of the constituent members of the existing structure, the construction is simplified, and particularly suitable for shear reinforcement construction of underground structures. it is conceivable that.

また、本発明による既存構造物のせん断補強方法の好ましい実施形態として、前記削孔部のうち、削孔方向の先端部分には該削孔部の他の部分に比べて大きく削孔された拡大削孔部が形成されており、前記緊張部材のうち、挿入方向の先端付近には該緊張部材の軸心から放射方向に突出する突出部材が備えてあり、該突出部材が前記拡大削孔部内に埋設されていることを特徴とする。   Further, as a preferred embodiment of the shear reinforcement method for an existing structure according to the present invention, among the drilling portions, an enlarged portion in which the tip portion in the drilling direction is drilled larger than other portions of the drilling portion. A drilling hole is formed, and among the tension members, a projecting member projecting radially from the axial center of the tension member is provided near the distal end in the insertion direction, and the projecting member is disposed in the enlarged hole drilling section. It is embedded in.

削孔部の先端(削孔方向先端)に拡大削孔部を設けるとともに、緊張部材の先端付近に該緊張部材の軸心から放射方向に突出する突出部材(例えばナットなど)が備えられ、かかる突出部材が拡大削孔部内に配置されるように緊張部材を挿入設置した状態で充填材が削孔部(および拡大削孔部)内で硬化することにより、緊張部材に緊張力が導入された際の構成部材の締め付け効果を向上させることができる。突出部材としてナットを使用する場合は緊張部材にねじ溝を刻設しておき、ナットを緊張部材の先端に螺合させた状態で削孔部内へ挿入する。また、突出部材としては、ナット以外にも鋼製の定着板を使用してPC鋼棒などの緊張部材の先端に溶着させた構成とすることもできる。   An enlarged drilling portion is provided at the tip of the drilling portion (tip in the drilling direction), and a projecting member (for example, a nut) protruding radially from the axial center of the tensioning member is provided near the tip of the tensioning member. When the tension member is inserted and installed so that the protruding member is disposed in the enlarged hole portion, the filler is cured in the hole portion (and the enlarged hole portion), thereby introducing a tension force to the tension member. The tightening effect of the component members at the time can be improved. When a nut is used as the projecting member, a thread groove is formed in the tension member, and the nut is inserted into the drilling portion in a state where the nut is screwed to the tip of the tension member. Moreover, as a protrusion member, it can also be set as the structure welded to the front-end | tip of tension | tensile_strength members, such as PC steel bar, using a fixing plate made from steel besides a nut.

拡大削孔部を造成することにより、緊張部材に導入された緊張力を突出部材を介して既存構造物の構成部材(削孔部の周辺)に効果的に伝達することが可能となる。また、かかる拡大削孔部を造成する実施形態の場合には、少なくとも拡大削孔部内に十分に充填材を充填しておけば、必ずしも削孔部全体に充填材を充填する必要はない。拡大削孔部を介して緊張力が既存構造物の構成部材に十分に伝達されるため、十分なせん断補強効果を発揮することができると考えられるからである。また、かかる拡大削孔部を造成しない状態で緊張部材の先端付近に突出部材を備えた構成としてもよい。なお、拡大削孔部の削孔は、先端部が拡縮可能な公知のコアボーリングなどを使用することによりおこなうことができる。   By creating the enlarged hole portion, it is possible to effectively transmit the tension force introduced into the tension member to the constituent members (periphery of the hole portion) of the existing structure via the protruding member. Further, in the case of an embodiment in which such an enlarged hole portion is formed, it is not always necessary to fill the entire hole portion with a filler as long as at least the enlarged hole portion is sufficiently filled with the filler. This is because it is considered that a sufficient shear reinforcement effect can be exhibited because the tension force is sufficiently transmitted to the constituent members of the existing structure through the enlarged hole portion. Moreover, it is good also as a structure provided with the protrusion member near the front-end | tip of a tension member in the state which does not create this enlarged hole part. It should be noted that the drilling of the enlarged hole part can be performed by using a known core boring or the like whose tip part can be enlarged or reduced.

かぶりに余裕がある場合には、拡大削孔部を主筋よりも外側まで造成するとともに緊張部材の先端付近に設けた突出部材が主筋の外側に配置されるまで該緊張部材を挿入設置するのが好ましい。この場合は、緊張部材に設けられた突出部材が主筋を外側から押さえ込むような配置となることから、通常の新設構造物における主筋にフック定着されたせん断補強筋とほぼ同様な効果を期待することができるからである。   If there is a margin in the cover, the enlarged hole portion is formed to the outside of the main bar, and the tension member is inserted and installed until the protruding member provided near the tip of the tension member is arranged outside the main bar. preferable. In this case, since the projecting member provided on the tension member is arranged so as to press the main bar from the outside, the effect similar to that of the shear reinforcing bar hook-fixed to the main bar in a normal new structure should be expected. Because you can.

また、本発明による既存構造物のせん断補強方法の好ましい実施形態として、せん断補強される前記既存構造物の構成部材が鉛直方向に立設する場合の前記削孔工程においては、前記削孔部が削孔方向の後端から先端へ向かって斜め下方に伸びるように形成されることを特徴とする。   Further, as a preferred embodiment of the shear reinforcement method of the existing structure according to the present invention, in the drilling step when the constituent members of the existing structure to be shear reinforced stand in the vertical direction, the drilling portion is It is formed so as to extend obliquely downward from the rear end to the front end in the drilling direction.

せん断補強対象となる構成部材が、例えば壁や柱などの鉛直方向に立設する場合において、削孔部を削孔先端へ向かって斜め下方に造成することにより、グラウトなどの充填材を削孔部の先端まで確実に流し込むことができ、したがって緊張部材の先端部と構成部材との一体化を確実に図ることができる。この場合、削孔部の傾斜角は使用する充填材の粘性度や硬化速度などを勘案して適宜決定される。   When the structural member to be sheared is erected in the vertical direction, such as a wall or column, for example, by forming the drilling portion obliquely downward toward the drilling tip, the filler such as grout is drilled. Therefore, the tip of the tension member and the constituent member can be reliably integrated. In this case, the inclination angle of the drilled hole is appropriately determined in consideration of the viscosity of the filler used, the curing rate, and the like.

さらに、本発明による既存構造物のせん断補強方法の他の実施形態として、前記既存構造物の構成部材が地盤内に埋設されている壁または柱であることを特徴とする。   Furthermore, as another embodiment of the shear reinforcement method for an existing structure according to the present invention, the constituent member of the existing structure is a wall or a pillar embedded in the ground.

既存構造物が地盤内に埋設されている場合においては、補強対象となる該既存構造物の構成部材である壁や柱の背面側は地盤と接している。かかる条件下では壁の増厚補強をすることによって増厚部分がそのまま既存構造物内部へ入ることとなり、構造物の内空寸法を小さくしてしまうことから、結局は補強施工を実施することができなくなる。したがって、本発明を既存構造物、特に地盤内に埋設された既存構造物に適用することにより、構造物の内空寸法を侵すことなく(建築限界を侵すことなく)、構成部材のせん断補強を実施することが可能となる。   In the case where the existing structure is embedded in the ground, the back side of the wall or column, which is a constituent member of the existing structure to be reinforced, is in contact with the ground. Under such conditions, increasing the thickness of the wall will cause the increased thickness part to enter the existing structure as it is, reducing the size of the inner space of the structure. become unable. Therefore, by applying the present invention to an existing structure, in particular, an existing structure embedded in the ground, the structural member can be shear-reinforced without violating the internal dimensions of the structure (without violating the building limit). It becomes possible to carry out.

以上の説明から理解できるように、本発明の既存構造物のせん断補強方法によれば、該既存構造物が地下構造物などの場合であっても、簡易に効果的なせん断補強を実現することができる。また、構成部材を増厚施工しないため、既存構造物の補強施工が抱える建築限界ないし用地限界との干渉といった問題を考慮する必要がない。また、緊張力を導入することにより、緊張部材挿入用の削孔部の数を極力少なくすることができ、したがって、せん断補強施工に際して既存構造物に損傷を与える可能性を極めて少なくすることができる。また、少なくとも拡大削孔部に充填材を充填することで所要のせん断補強効果を発揮することができ、したがって削孔部の全長に亘って充填材の充填を行う必要がないため、充填材量の軽減を図ることができる。さらには、相対的に短い工期にて施工できるため、補強対象となる既存構造物の供用に支障を来たすことなく、十分なせん断補強施工をおこなうことができる。   As can be understood from the above description, according to the shear reinforcement method for an existing structure of the present invention, even if the existing structure is an underground structure, an effective shear reinforcement can be easily realized. Can do. In addition, since the construction of the constituent members is not increased, it is not necessary to consider the problem of interference with the construction limit or the site limit that the reinforcement construction of the existing structure has. Moreover, by introducing tension, the number of drilling portions for inserting tension members can be reduced as much as possible, and therefore the possibility of damaging existing structures during shear reinforcement can be extremely reduced. . In addition, the required shear reinforcement effect can be exerted by filling at least the enlarged hole portion with the filler, and therefore it is not necessary to fill the filler over the entire length of the hole portion. Can be reduced. Furthermore, since construction can be performed in a relatively short construction period, sufficient shear reinforcement construction can be performed without hindering the use of existing structures to be reinforced.

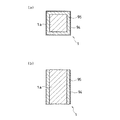
以下、図面を参照して本発明の実施の形態を説明する。図1は、本発明のせん断補強方法によって補強された既存構造物の縦断面図を示しており、図2は、拡大削孔部から既存構造物の構成部材へ作用する支圧応力を模式的に示した説明図である。以下、図面をもとに地下に埋設された既存構造物の構成部材1として壁を取り上げて説明するが、せん断補強対象となる既存構造物は地上構造物であってもよく、さらには構成部材1が構造物を構成し得る柱や床版などであってもよいことは勿論のことである。また、削孔部は部材厚さ方向から若干斜め下方へ傾斜させて造成される場合を示しているが、水平方向(部材厚さ方向)に削孔部が造成されてもよいことは勿論のことである。   Embodiments of the present invention will be described below with reference to the drawings. FIG. 1 shows a longitudinal sectional view of an existing structure reinforced by the shear reinforcement method of the present invention, and FIG. 2 schematically shows the bearing stress acting on the components of the existing structure from the enlarged hole portion. It is explanatory drawing shown in. Hereinafter, a wall will be described as a component 1 of an existing structure buried underground based on the drawings. However, the existing structure to be subjected to shear reinforcement may be a ground structure, and further, a component. It goes without saying that 1 may be a pillar or floor slab that can constitute a structure. Moreover, although the case where the hole-drilling part is formed by being inclined slightly obliquely downward from the member thickness direction is shown, it goes without saying that the hole-drilling part may be formed in the horizontal direction (member thickness direction). That is.

本発明の既存構造物のせん断補強方法を図1にもとづいて時系列的に説明する。まず、補強対象となる地盤G内に埋設された既存構造物の構成部材1である壁において、既存構造物内部から壁の鉛直方向および水平方向にそれぞれ所定間隔を置いて削孔部2を削孔する。削孔部2の造成に際してはコアボーリング(先端拡縮型のコアボーリング)を使用し、既存構造物の内部から外部へ向かって(削孔方向の後端から先端へ向かって)斜め下方に該削孔部2が造成されるように削孔をおこなう(削孔工程)。斜め下方となるように削孔部2を造成することで、後述する充填材31を削孔部2の先端まで確実に流し込むことが可能となる。ここで、削孔部2は、既存構造物の壁の内側主筋11a,11aの間に造成されるとともに、削孔部2の先端部も同様に壁の外側主筋11b,11bの間に配置されるように造成する。さらに、削孔部2の先端部は、コアボーリングの先端径を拡大させた状態で削孔をおこなうことで拡大削孔部8を造成することができる。かかる拡大削孔部8の先端付近が外側主筋11bの位置程度となるように削孔部2の造成延長を調整する。また、削孔部2の削孔径は壁の主筋11a,11a,…、11b,11b,…の配筋間隔や必要となるせん断補強程度、さらには使用される緊張部材4の部材径などに応じて適宜の削孔径を選定できる。   The method for shear reinforcement of an existing structure of the present invention will be described in time series based on FIG. First, in the wall which is the structural member 1 of the existing structure embedded in the ground G to be reinforced, the hole portion 2 is cut at predetermined intervals from the inside of the existing structure in the vertical and horizontal directions of the wall. Make a hole. Core boring (tip expansion / contraction type core boring) is used for the formation of the drilling portion 2, and the drilling is performed obliquely downward from the inside of the existing structure to the outside (from the rear end to the front end in the drilling direction). Drilling is performed so that the hole 2 is formed (drilling step). By forming the hole drilling portion 2 so as to be obliquely downward, a filler 31 described later can be surely poured into the tip of the hole drilling portion 2. Here, the hole-cutting portion 2 is formed between the inner main bars 11a and 11a of the wall of the existing structure, and the tip of the hole-cutting portion 2 is similarly arranged between the outer main bars 11b and 11b of the wall. To build. Further, the enlarged hole part 8 can be formed by drilling the tip part of the hole part 2 with the tip diameter of the core boring enlarged. The formation extension of the drilled hole portion 2 is adjusted so that the vicinity of the tip of the enlarged drilled hole portion 8 is approximately the position of the outer main reinforcing bar 11b. Further, the hole diameter of the hole portion 2 depends on the bar arrangement interval of the wall main bars 11a, 11a,..., 11b, 11b,. Therefore, an appropriate hole diameter can be selected.

また、削孔部2のうち、既存構造物内部側の壁面から主筋11aまでの範囲においては、壁面から主筋11aに向かって除々に削孔径が小さくなるように形成するのがよい(最小径が削孔部2の一般部21と同径となる)。後述する定着板5を設置するための設置スペースとナット締め等するための作業スペースを確保するためである。   Moreover, in the range from the wall surface on the inner side of the existing structure to the main bar 11a in the hole drilling part 2, it is preferable to form the hole diameter to gradually decrease from the wall surface toward the main bar 11a (the minimum diameter is smaller). It has the same diameter as the general portion 21 of the drilling portion 2). This is for securing an installation space for installing the fixing plate 5 to be described later and a work space for tightening the nut.

上記する削孔工程は、すべての削孔部2の造成を一気に行うこともできるし、削孔工程が若干先行しながら後述する緊張部材設置工程と該削孔工程を並行させることもできる。   In the drilling step described above, all the drilling portions 2 can be formed at once, or the tension member installation step and the drilling step described later can be performed in parallel while the drilling step is slightly advanced.

次に、造成された削孔部2内部へ充填材31を充填する。充填材31は、既存構造物を構成するコンクリート製の壁や緊張部材4とそれぞれ十分な付着強度が確保できる材料を使用するのがよく、例えばグラウトやポリエステル系の樹脂材などを使用することができる。ここで、充填材31の充填範囲は、図1に示すように拡大削孔部8および若干削孔部2の一般部21に入る程度まででよい。その理由は後述する。尤も、削孔部2の全長に亘って充填材31を充填してもよいことは勿論である。   Next, a filler 31 is filled into the formed hole portion 2. As the filler 31, it is preferable to use a material that can secure sufficient adhesion strength with the concrete wall and the tension member 4 constituting the existing structure, for example, grout or polyester resin material may be used. it can. Here, the filling range of the filler 31 may be up to the extent of entering the enlarged hole portion 8 and the general portion 21 of the hole portion 2 as shown in FIG. The reason will be described later. Of course, the filling material 31 may be filled over the entire length of the hole-cutting portion 2.

充填材31の充填後に緊張部材4を削孔部2内へ挿入する。ここで、緊張部材4はPC鋼棒やPC鋼より線などからなり、例えばPC鋼棒を使用する場合には、その両端部にねじ溝を刻設しておく。かかるねじ溝に螺合する突出部材7(例えばナットなど)をPC鋼棒の一端のねじ溝に螺合させた状態で該PC鋼棒を削孔部2内へ挿入する。この突出部材7が拡大削孔部8内に配置された状態でPC鋼棒の挿入設置が完了する(緊張部材設置工程)。なお、突出部材7としてはナットの代わりに、平面視矩形の鋼製プレートを使用し、PC鋼棒の先端部に該鋼製プレートを圧着させることもできる。   After the filling material 31 is filled, the tension member 4 is inserted into the drilling portion 2. Here, the tension member 4 is made of a PC steel rod or a PC steel strand. For example, when a PC steel rod is used, screw grooves are formed on both ends thereof. The PC steel rod is inserted into the drilled hole 2 in a state where a protruding member 7 (for example, a nut or the like) that is screwed into the screw groove is screwed into the screw groove at one end of the PC steel rod. The insertion installation of the PC steel rod is completed in a state where the protruding member 7 is disposed in the enlarged hole portion 8 (tension member installation step). The projecting member 7 may be a steel plate having a rectangular shape in plan view instead of a nut, and the steel plate may be pressure-bonded to the tip of a PC steel rod.

充填材31が緊張部材4に緊張力を導入するのに適した程度にまで硬化した後に、該緊張部材4に緊張力を導入する。緊張力の導入後は緊張部材4の端部に定着板5を設置するとともにナット6を緊張部材4端部のねじ溝に螺合させることで導入された緊張力を保持することができる。なお、図示するように削孔部2が水平方向から傾斜している場合には、一側面が少なくとも傾斜するように製作された定着板5を使用するのがよい。例えば、すべての緊張部材4の緊張力導入作業が終了した後に、削孔部2の端部(内壁面側)に間詰め材32(例えばモルタルなど)を間詰め施工することで緊張力導入工程が終了する。   After the filler 31 is cured to an extent suitable for introducing tension to the tension member 4, the tension is introduced to the tension member 4. After the introduction of the tension, the fixing plate 5 is installed at the end of the tension member 4 and the introduced tension can be maintained by screwing the nut 6 into the thread groove at the end of the tension member 4. As shown in the figure, when the hole-drilling portion 2 is inclined from the horizontal direction, it is preferable to use the fixing plate 5 manufactured so that one side surface is inclined at least. For example, after the tension introduction work of all the tension members 4 is completed, the tension introduction process is performed by performing the filling work of the filling material 32 (for example, mortar) on the end part (inner wall surface side) of the drilling part 2. Ends.

図2は、図1のII部分を拡大した図である。緊張部材4に緊張力T1が導入されることにより、突出部材7から拡大削孔部8内の充填材31へ支圧応力T2が作用する。すなわち、支圧応力T2は緊張力T1が分散した応力であり、拡大削孔部8の孔面から該拡大削孔部8の外周の壁コンクリートへ支圧応力T2が伝達されることとなる。したがって、少なくとも該拡大削孔部8内に充填材31が十分に充填されていれば、緊張部材4に導入された緊張力T1は拡大削孔部8(の内部で硬化した充填材31)を介して既存構造物の壁コンクリートに伝達されるため、緊張力T1による既存構造物のコンクリートの締め付け効果は十分に期待できる。なお、突出部材7の配置される位置は図2に示すように主筋11の位置と縦断面的に同位置程度となる場合のほかに、主筋11からさらに地盤G側(外側)となる位置であってもよい(図示せず)。この場合は、拡大削孔部8が主筋11を外側から押さえ込むような配置となるため、通常の新設構造物における主筋にフック定着されたせん断補強筋とほぼ同様な効果を期待することができる。   FIG. 2 is an enlarged view of a portion II in FIG. By introducing the tension force T <b> 1 to the tension member 4, the supporting stress T <b> 2 acts from the protruding member 7 to the filler 31 in the enlarged hole portion 8. That is, the bearing stress T2 is a stress in which the tension force T1 is dispersed, and the bearing stress T2 is transmitted from the hole surface of the enlarged hole portion 8 to the wall concrete on the outer periphery of the enlarged hole portion 8. Therefore, if at least the filler 31 is sufficiently filled in the enlarged hole portion 8, the tension force T1 introduced into the tension member 4 causes the enlarged hole portion 8 (the filler 31 cured inside) to expand. Therefore, the effect of tightening the concrete of the existing structure by the tension force T1 can be sufficiently expected. In addition to the case where the position where the protruding member 7 is arranged is approximately the same position in the longitudinal section as the position of the main muscle 11 as shown in FIG. 2, the position where the protruding member 7 is further on the ground G side (outside) from the main muscle 11. May be present (not shown). In this case, since the enlarged hole portion 8 is arranged so as to press down the main reinforcing bar 11 from the outside, it is possible to expect the same effect as the shear reinforcing bar hook-fixed to the main reinforcing bar in a normal new structure.

以上、本発明の実施の形態を図面を用いて詳述してきたが、具体的な構成はこの実施形態に限定されるものではなく、本発明の要旨を逸脱しない範囲における設計変更等があっても、それらは本発明に含まれるものである。   The embodiment of the present invention has been described in detail with reference to the drawings. However, the specific configuration is not limited to this embodiment, and there are design changes and the like without departing from the gist of the present invention. They are also included in the present invention.

本発明のせん断補強方法によって補強された既存構造物の縦断面図。The longitudinal cross-sectional view of the existing structure reinforced with the shear reinforcement method of this invention. 図1のII部分の拡大図であり、拡大削孔部からの支圧応力を示した説明図。It is an enlarged view of the II part of Drawing 1, and is explanatory drawing which showed bearing stress from an enlarged hole part. 従来の既存構造物のせん断補強方法によって補強された柱を示したものであり、(a)は柱の横断面図であり、(b)は柱の縦断面図。The pillar reinforced with the shear reinforcement method of the conventional existing structure is shown, (a) is a cross-sectional view of a pillar, (b) is a longitudinal cross-sectional view of a pillar. 従来の既存構造物のせん断補強方法によって補強された柱を示したものであり、(a)は柱の横断面図であり、(b)は柱の縦断面図。The pillar reinforced with the shear reinforcement method of the conventional existing structure is shown, (a) is a cross-sectional view of a pillar, (b) is a longitudinal cross-sectional view of a pillar. 従来の既存構造物のせん断補強方法によって補強された壁を示した縦断面図。The longitudinal cross-sectional view which showed the wall reinforced by the shear reinforcement method of the conventional existing structure.

符号の説明Explanation of symbols

1…構成部材、2…削孔部、4…緊張部材、5…定着板、6…ナット、7…突出部材、8…拡大削孔部、11,11a,11b…主筋、21…一般部、31…充填材、32…間詰め材 DESCRIPTION OF SYMBOLS 1 ... Constituent member, 2 ... Drilling part, 4 ... Tension member, 5 ... Fixing plate, 6 ... Nut, 7 ... Projection member, 8 ... Enlarged drilling part, 11, 11a, 11b ... Main reinforcement, 21 ... General part, 31 ... Filler, 32 ... Filling material

Claims (4)

鉄筋コンクリートからなる既存構造物のせん断補強方法であって、
前記既存構造物を構成する構成部材の部材厚さ方向または略部材厚さ方向に所定長さの削孔部を形成する削孔工程と、該削孔部への充填材の充填およびPC鋼線やPC鋼棒などの緊張部材の挿入を行う緊張部材設置工程と、前記充填材の硬化後に該緊張部材に緊張力を導入し、該緊張部材のうち挿入方向の後端付近に少なくとも定着板を設置する緊張力導入工程と、からなることを特徴とする、既存構造物のせん断補強方法。
A method for shear reinforcement of an existing structure made of reinforced concrete,
A drilling step of forming a drilling portion having a predetermined length in the member thickness direction or substantially the member thickness direction of the constituent members constituting the existing structure, filling the drilling portion with a filler, and PC steel wire A tension member installation step for inserting a tension member such as a steel rod or a PC steel rod, and a tension force is introduced into the tension member after the filler is cured, and at least a fixing plate is provided near the rear end of the tension member in the insertion direction. A method for shear reinforcement of an existing structure, characterized by comprising a tension force introducing step to be installed.
前記削孔部のうち、削孔方向の先端部分には該削孔部の他の部分に比べて大きく削孔された拡大削孔部が形成されており、前記緊張部材のうち、挿入方向の先端付近には該緊張部材の軸心から放射方向に突出する突出部材が備えてあり、該突出部材が前記拡大削孔部内に埋設されていることを特徴とする、請求項1に記載の既存構造物のせん断補強方法。   In the drilling portion, an enlarged drilling portion that is drilled larger than the other portions of the drilling portion is formed at a tip portion in the drilling direction. The existing member according to claim 1, wherein a projecting member projecting radially from the axial center of the tension member is provided near the tip, and the projecting member is embedded in the enlarged hole portion. A method for shear reinforcement of structures. 請求項1または2に記載の既存構造物のせん断補強方法であって、
せん断補強される前記既存構造物の構成部材が鉛直方向に立設する場合の前記削孔工程においては、前記削孔部が削孔方向の後端から先端へ向かって斜め下方に伸びるように形成されることを特徴とする、既存構造物のせん断補強方法。
A method for shear reinforcement of an existing structure according to claim 1 or 2,
In the drilling step when the structural members of the existing structure to be sheared are erected in the vertical direction, the drilling portion is formed to extend obliquely downward from the rear end to the front end in the drilling direction. A method for shear reinforcement of an existing structure.
前記既存構造物の構成部材が地盤内に埋設されている壁または柱であることを特徴とする、請求項1から3のいずれかに記載の既存構造物のせん断補強方法。   The method for reinforcing a shear of an existing structure according to any one of claims 1 to 3, wherein the constituent member of the existing structure is a wall or a pillar embedded in the ground.
JP2004197177A 2004-07-02 2004-07-02 Shear reinforcement method for existing structures Withdrawn JP2006016893A (en)

Priority Applications (1)

Application Number Priority Date Filing Date Title
JP2004197177A JP2006016893A (en) 2004-07-02 2004-07-02 Shear reinforcement method for existing structures

Applications Claiming Priority (1)

Application Number Priority Date Filing Date Title
JP2004197177A JP2006016893A (en) 2004-07-02 2004-07-02 Shear reinforcement method for existing structures

Publications (1)

Publication Number Publication Date
JP2006016893A true JP2006016893A (en) 2006-01-19

Family

ID=35791420

Family Applications (1)

Application Number Title Priority Date Filing Date
JP2004197177A Withdrawn JP2006016893A (en) 2004-07-02 2004-07-02 Shear reinforcement method for existing structures

Country Status (1)

Country Link
JP (1) JP2006016893A (en)

Cited By (11)

* Cited by examiner, † Cited by third party
Publication number Priority date Publication date Assignee Title
JP2011106147A (en) * 2009-11-17 2011-06-02 Tokyo Electric Power Co Inc:The Structure and method for reinforcing steel tower foundation
JP2012140820A (en) * 2011-01-05 2012-07-26 Sakawa:Kk Joining method of wooden frame members
JP2012211440A (en) * 2011-03-30 2012-11-01 Taisei Corp Reinforcement structure and reinforcement method for existing reinforced concrete wall
KR101224202B1 (en) * 2012-05-30 2013-01-21 김성수 Method structure levelling
JP2013217141A (en) * 2012-04-11 2013-10-24 Kyokuto Kowa Corp Amplification reinforcement structure and amplification reinforcement method of existing concrete structure
JP2014058841A (en) * 2012-09-19 2014-04-03 Kumagai Gumi Co Ltd Shear reinforcement structure for plate-like concrete structure
JP2014181473A (en) * 2013-03-19 2014-09-29 Penta Ocean Construction Co Ltd Shear reinforcement method of existing concrete construction
CN104831944A (en) * 2015-05-07 2015-08-12 宝业大和工业化住宅制造有限公司 Reinforced plate clamp application process
JP2020094431A (en) * 2018-12-13 2020-06-18 清水建設株式会社 Reinforcement structure of masonry structure and reinforcement method
CN111456450A (en) * 2020-05-28 2020-07-28 四川省建筑科学研究院有限公司 Implanted steel bar anchoring structure and implanted steel bar anchoring construction method
JP2020153195A (en) * 2019-03-22 2020-09-24 鹿島建設株式会社 Shear reinforcement method for reinforced concrete walls

Cited By (13)

* Cited by examiner, † Cited by third party
Publication number Priority date Publication date Assignee Title
JP2011106147A (en) * 2009-11-17 2011-06-02 Tokyo Electric Power Co Inc:The Structure and method for reinforcing steel tower foundation
JP2012140820A (en) * 2011-01-05 2012-07-26 Sakawa:Kk Joining method of wooden frame members
JP2012211440A (en) * 2011-03-30 2012-11-01 Taisei Corp Reinforcement structure and reinforcement method for existing reinforced concrete wall
JP2013217141A (en) * 2012-04-11 2013-10-24 Kyokuto Kowa Corp Amplification reinforcement structure and amplification reinforcement method of existing concrete structure
KR101224202B1 (en) * 2012-05-30 2013-01-21 김성수 Method structure levelling
JP2014058841A (en) * 2012-09-19 2014-04-03 Kumagai Gumi Co Ltd Shear reinforcement structure for plate-like concrete structure
JP2014181473A (en) * 2013-03-19 2014-09-29 Penta Ocean Construction Co Ltd Shear reinforcement method of existing concrete construction
CN104831944A (en) * 2015-05-07 2015-08-12 宝业大和工业化住宅制造有限公司 Reinforced plate clamp application process
JP2020094431A (en) * 2018-12-13 2020-06-18 清水建設株式会社 Reinforcement structure of masonry structure and reinforcement method
JP7186078B2 (en) 2018-12-13 2022-12-08 清水建設株式会社 Reinforcement structure and reinforcement method for masonry structure
JP2020153195A (en) * 2019-03-22 2020-09-24 鹿島建設株式会社 Shear reinforcement method for reinforced concrete walls
JP7208840B2 (en) 2019-03-22 2023-01-19 鹿島建設株式会社 Method for shear reinforcement of reinforced concrete walls
CN111456450A (en) * 2020-05-28 2020-07-28 四川省建筑科学研究院有限公司 Implanted steel bar anchoring structure and implanted steel bar anchoring construction method

Similar Documents

Publication Publication Date Title
US11293183B2 (en) Precast column base joint and construction method therefor
JP4599384B2 (en) Embankment structure and construction method thereof
JP5393263B2 (en) Masonry wall reinforcement method and masonry structure.
CN110761292A (en) Prestressed anchor cable structure and prestressed anchor cable construction method
JP2011006947A (en) Reinforcing structure of masonry construction wall, masonry construction wall, masonry structure, and method of reinforcing masonry construction wall
JP2009001987A (en) Reinforcing structure and reinforcing method
JP2006016893A (en) Shear reinforcement method for existing structures
JP2006104747A (en) Joint structure and joining method of pedestal
KR101299008B1 (en) Vertical shear connector for precast concrete bridge pier
KR101864857B1 (en) Construction method of foundation pile with reinforced casing structure
JP5113342B2 (en) Embankment structure
KR101357637B1 (en) Horizontal shear connector for precast concrete bridge pier
JP5579403B2 (en) Masonry wall reinforcement structure and masonry structure
KR100530025B1 (en) Section enlargement repairing and reinforcing apparatus for reinforcing earing power of reinforced concrete structures by introducing prestress to entended section and repairing and reinforcing construction method using the apparatus
JP6172501B2 (en) Seismic reinforcement structure and seismic reinforcement method
JP7795977B2 (en) Reinforcement structure and reinforcement method
KR101138499B1 (en) Method for Head Setting of Micro-Pile and Apparatus for the Same
JP4780781B2 (en) Seismic reinforcement method for existing concrete pier
JP4181192B2 (en) Ground anchor and ground anchor method
KR101125615B1 (en) Anchor support for ground stability and construction method
JPH1082056A (en) Method of earthquake-resisting pile foundation construction
JPH1082057A (en) Method of earthquake-resisting pile foundation construction
JP7032865B2 (en) Frame joint structure and its construction method, and split prevention muscle
KR102911592B1 (en) Slope stabilization support method with improved stability using a double-composite compression permanent anchor body
JP6619136B2 (en) Composite column structure and existing concrete column replacement method

Legal Events

Date Code Title Description
A300 Withdrawal of application because of no request for examination

Free format text: JAPANESE INTERMEDIATE CODE: A300

Effective date: 20070904