JP2005332640A - 車両用前照灯ユニット - Google Patents
車両用前照灯ユニット Download PDFInfo
- Publication number
- JP2005332640A JP2005332640A JP2004148287A JP2004148287A JP2005332640A JP 2005332640 A JP2005332640 A JP 2005332640A JP 2004148287 A JP2004148287 A JP 2004148287A JP 2004148287 A JP2004148287 A JP 2004148287A JP 2005332640 A JP2005332640 A JP 2005332640A
- Authority
- JP
- Japan
- Prior art keywords
- reflecting surface
- light
- sub
- vehicle headlamp
- reflectors
- Prior art date
- Legal status (The legal status is an assumption and is not a legal conclusion. Google has not performed a legal analysis and makes no representation as to the accuracy of the status listed.)
- Pending
Links
- 230000003287 optical effect Effects 0.000 claims description 19
- 238000009792 diffusion process Methods 0.000 description 5
- 239000000463 material Substances 0.000 description 5
- 229920000178 Acrylic resin Polymers 0.000 description 4
- 239000004925 Acrylic resin Substances 0.000 description 4
- 229920005668 polycarbonate resin Polymers 0.000 description 3
- 239000004431 polycarbonate resin Substances 0.000 description 3
- 229920005992 thermoplastic resin Polymers 0.000 description 3
- 238000007740 vapor deposition Methods 0.000 description 3
- 230000000694 effects Effects 0.000 description 2
- 230000004907 flux Effects 0.000 description 2
- 229920005989 resin Polymers 0.000 description 2
- 239000011347 resin Substances 0.000 description 2
- 239000011248 coating agent Substances 0.000 description 1
- 238000000576 coating method Methods 0.000 description 1
- 238000001816 cooling Methods 0.000 description 1
- 230000008878 coupling Effects 0.000 description 1
- 238000010168 coupling process Methods 0.000 description 1
- 238000005859 coupling reaction Methods 0.000 description 1
- 239000011521 glass Substances 0.000 description 1
- 230000012447 hatching Effects 0.000 description 1
- 239000007787 solid Substances 0.000 description 1
- 229920006352 transparent thermoplastic Polymers 0.000 description 1
Images
Classifications
-
- F—MECHANICAL ENGINEERING; LIGHTING; HEATING; WEAPONS; BLASTING
- F21—LIGHTING
- F21V—FUNCTIONAL FEATURES OR DETAILS OF LIGHTING DEVICES OR SYSTEMS THEREOF; STRUCTURAL COMBINATIONS OF LIGHTING DEVICES WITH OTHER ARTICLES, NOT OTHERWISE PROVIDED FOR
- F21V29/00—Protecting lighting devices from thermal damage; Cooling or heating arrangements specially adapted for lighting devices or systems
- F21V29/50—Cooling arrangements
- F21V29/70—Cooling arrangements characterised by passive heat-dissipating elements, e.g. heat-sinks
- F21V29/80—Cooling arrangements characterised by passive heat-dissipating elements, e.g. heat-sinks with pins or wires
-
- F—MECHANICAL ENGINEERING; LIGHTING; HEATING; WEAPONS; BLASTING
- F21—LIGHTING
- F21S—NON-PORTABLE LIGHTING DEVICES; SYSTEMS THEREOF; VEHICLE LIGHTING DEVICES SPECIALLY ADAPTED FOR VEHICLE EXTERIORS
- F21S41/00—Illuminating devices specially adapted for vehicle exteriors, e.g. headlamps
- F21S41/10—Illuminating devices specially adapted for vehicle exteriors, e.g. headlamps characterised by the light source
- F21S41/14—Illuminating devices specially adapted for vehicle exteriors, e.g. headlamps characterised by the light source characterised by the type of light source
- F21S41/141—Light emitting diodes [LED]
- F21S41/147—Light emitting diodes [LED] the main emission direction of the LED being angled to the optical axis of the illuminating device
- F21S41/148—Light emitting diodes [LED] the main emission direction of the LED being angled to the optical axis of the illuminating device the main emission direction of the LED being perpendicular to the optical axis
-
- F—MECHANICAL ENGINEERING; LIGHTING; HEATING; WEAPONS; BLASTING
- F21—LIGHTING
- F21S—NON-PORTABLE LIGHTING DEVICES; SYSTEMS THEREOF; VEHICLE LIGHTING DEVICES SPECIALLY ADAPTED FOR VEHICLE EXTERIORS
- F21S41/00—Illuminating devices specially adapted for vehicle exteriors, e.g. headlamps
- F21S41/10—Illuminating devices specially adapted for vehicle exteriors, e.g. headlamps characterised by the light source
- F21S41/14—Illuminating devices specially adapted for vehicle exteriors, e.g. headlamps characterised by the light source characterised by the type of light source
- F21S41/141—Light emitting diodes [LED]
- F21S41/151—Light emitting diodes [LED] arranged in one or more lines
- F21S41/153—Light emitting diodes [LED] arranged in one or more lines arranged in a matrix
-
- F—MECHANICAL ENGINEERING; LIGHTING; HEATING; WEAPONS; BLASTING
- F21—LIGHTING
- F21S—NON-PORTABLE LIGHTING DEVICES; SYSTEMS THEREOF; VEHICLE LIGHTING DEVICES SPECIALLY ADAPTED FOR VEHICLE EXTERIORS
- F21S41/00—Illuminating devices specially adapted for vehicle exteriors, e.g. headlamps
- F21S41/30—Illuminating devices specially adapted for vehicle exteriors, e.g. headlamps characterised by reflectors
- F21S41/32—Optical layout thereof
- F21S41/321—Optical layout thereof the reflector being a surface of revolution or a planar surface, e.g. truncated
-
- F—MECHANICAL ENGINEERING; LIGHTING; HEATING; WEAPONS; BLASTING
- F21—LIGHTING
- F21S—NON-PORTABLE LIGHTING DEVICES; SYSTEMS THEREOF; VEHICLE LIGHTING DEVICES SPECIALLY ADAPTED FOR VEHICLE EXTERIORS
- F21S41/00—Illuminating devices specially adapted for vehicle exteriors, e.g. headlamps
- F21S41/30—Illuminating devices specially adapted for vehicle exteriors, e.g. headlamps characterised by reflectors
- F21S41/32—Optical layout thereof
- F21S41/36—Combinations of two or more separate reflectors
- F21S41/365—Combinations of two or more separate reflectors successively reflecting the light
-
- F—MECHANICAL ENGINEERING; LIGHTING; HEATING; WEAPONS; BLASTING
- F21—LIGHTING
- F21V—FUNCTIONAL FEATURES OR DETAILS OF LIGHTING DEVICES OR SYSTEMS THEREOF; STRUCTURAL COMBINATIONS OF LIGHTING DEVICES WITH OTHER ARTICLES, NOT OTHERWISE PROVIDED FOR
- F21V7/00—Reflectors for light sources
- F21V7/22—Reflectors for light sources characterised by materials, surface treatments or coatings, e.g. dichroic reflectors
- F21V7/24—Reflectors for light sources characterised by materials, surface treatments or coatings, e.g. dichroic reflectors characterised by the material
-
- F—MECHANICAL ENGINEERING; LIGHTING; HEATING; WEAPONS; BLASTING
- F21—LIGHTING
- F21V—FUNCTIONAL FEATURES OR DETAILS OF LIGHTING DEVICES OR SYSTEMS THEREOF; STRUCTURAL COMBINATIONS OF LIGHTING DEVICES WITH OTHER ARTICLES, NOT OTHERWISE PROVIDED FOR
- F21V7/00—Reflectors for light sources
- F21V7/22—Reflectors for light sources characterised by materials, surface treatments or coatings, e.g. dichroic reflectors
- F21V7/28—Reflectors for light sources characterised by materials, surface treatments or coatings, e.g. dichroic reflectors characterised by coatings
-
- F—MECHANICAL ENGINEERING; LIGHTING; HEATING; WEAPONS; BLASTING
- F21—LIGHTING
- F21S—NON-PORTABLE LIGHTING DEVICES; SYSTEMS THEREOF; VEHICLE LIGHTING DEVICES SPECIALLY ADAPTED FOR VEHICLE EXTERIORS
- F21S41/00—Illuminating devices specially adapted for vehicle exteriors, e.g. headlamps
- F21S41/10—Illuminating devices specially adapted for vehicle exteriors, e.g. headlamps characterised by the light source
- F21S41/19—Attachment of light sources or lamp holders
-
- F—MECHANICAL ENGINEERING; LIGHTING; HEATING; WEAPONS; BLASTING
- F21—LIGHTING
- F21S—NON-PORTABLE LIGHTING DEVICES; SYSTEMS THEREOF; VEHICLE LIGHTING DEVICES SPECIALLY ADAPTED FOR VEHICLE EXTERIORS
- F21S41/00—Illuminating devices specially adapted for vehicle exteriors, e.g. headlamps
- F21S41/20—Illuminating devices specially adapted for vehicle exteriors, e.g. headlamps characterised by refractors, transparent cover plates, light guides or filters
- F21S41/25—Projection lenses
- F21S41/255—Lenses with a front view of circular or truncated circular outline
-
- F—MECHANICAL ENGINEERING; LIGHTING; HEATING; WEAPONS; BLASTING
- F21—LIGHTING
- F21S—NON-PORTABLE LIGHTING DEVICES; SYSTEMS THEREOF; VEHICLE LIGHTING DEVICES SPECIALLY ADAPTED FOR VEHICLE EXTERIORS
- F21S41/00—Illuminating devices specially adapted for vehicle exteriors, e.g. headlamps
- F21S41/40—Illuminating devices specially adapted for vehicle exteriors, e.g. headlamps characterised by screens, non-reflecting members, light-shielding members or fixed shades
- F21S41/43—Illuminating devices specially adapted for vehicle exteriors, e.g. headlamps characterised by screens, non-reflecting members, light-shielding members or fixed shades characterised by the shape thereof
-
- F—MECHANICAL ENGINEERING; LIGHTING; HEATING; WEAPONS; BLASTING
- F21—LIGHTING
- F21Y—INDEXING SCHEME ASSOCIATED WITH SUBCLASSES F21K, F21L, F21S and F21V, RELATING TO THE FORM OR THE KIND OF THE LIGHT SOURCES OR OF THE COLOUR OF THE LIGHT EMITTED
- F21Y2115/00—Light-generating elements of semiconductor light sources
- F21Y2115/10—Light-emitting diodes [LED]
Landscapes
- Engineering & Computer Science (AREA)
- General Engineering & Computer Science (AREA)
- Physics & Mathematics (AREA)
- Microelectronics & Electronic Packaging (AREA)
- Optics & Photonics (AREA)
- Mathematical Physics (AREA)
- Non-Portable Lighting Devices Or Systems Thereof (AREA)
Abstract
【課題】 車両用前照灯としての適合性を備え、かつLEDの点灯時の色ムラを解消すること。
【解決手段】 2個の副リフレクタ2は、第1反射面2aの第2焦点F2同士をユニットの光軸Z上に合致させ、その第1焦点F1をそれぞれ後方側の光軸Zの両側部分に位置させて配置される。主リフレクタ3は、第2反射面3aの第1焦点f1を第2焦点F2付近に位置させ、第2反射面3aの下部開口部3bが2個の第1反射面2aの上部開口部2bを対向させて配置される。2個のLED1の光は、それぞれ左右の副リフレクタ2の第1反射面2aで反射されて主リフレクタ3の第2反射面3aの第1焦点付近f1に集束し、その後主リフレクタ3の第2反射面3aに入射し、第2反射面3aで反射された後は凸レンズ5を介して総じて所望の配光パターンとなって灯具前方に出射する。
【選択図】 図3
【解決手段】 2個の副リフレクタ2は、第1反射面2aの第2焦点F2同士をユニットの光軸Z上に合致させ、その第1焦点F1をそれぞれ後方側の光軸Zの両側部分に位置させて配置される。主リフレクタ3は、第2反射面3aの第1焦点f1を第2焦点F2付近に位置させ、第2反射面3aの下部開口部3bが2個の第1反射面2aの上部開口部2bを対向させて配置される。2個のLED1の光は、それぞれ左右の副リフレクタ2の第1反射面2aで反射されて主リフレクタ3の第2反射面3aの第1焦点付近f1に集束し、その後主リフレクタ3の第2反射面3aに入射し、第2反射面3aで反射された後は凸レンズ5を介して総じて所望の配光パターンとなって灯具前方に出射する。
【選択図】 図3
Description
本発明は、ランプハウジング内に、1個あるいは複数個を組み付けることによりヘッドランプを構成することができる、光源としてLED(発光ダイオード)を用いた車両用前照灯ユニットに関する。
図11は、この種の車両用前照灯ユニット100を示す(例えば、特許文献1参照)。この車両用前照灯ユニット100は、光源としてのLEDが、高輝度で点状に見えると共に反射面がきれいに光って見えないこと、および大きな発光面を構成することが困難であることを解消するためになされたもので、プリント基板104上に実装されたLED1と、LED1の前方を包囲するように配置された第1の反射部材101と、第1の反射部材101に対向して配置された第2の反射部材102と、第2の反射部材102の前方に配置された配光制御レンズ103とから構成されている。第1の反射部材101の反射膜101aは、LED1の発光部1a付近に位置する第1焦点位置F1と、光軸Zからずれて、図示の場合LED1の発光部1aから斜め前方に位置する第2焦点位置F2とを有して形成されている。なお、図11(b)中、符号105は、透光性材料からなるカバーである。
この車両用前照灯ユニット100によれば、LED1の点灯時にはその光が、第1の反射部材101の反射膜101aにより反射されて、その第2焦点位置F2に向かって集束し、第2焦点位置F2に集束した光が、その後第2の反射部材102の反射膜102aにより反射され、平行光束となって前方に向かって進むことになる。そしてこの平行光束は、配光制御レンズ103に入射することにより、エイミングされかつ配光制御されることにより、前方に向かって照射されることになり、これにより当初の目的を達成することができる。図11(a)中、発光部分を斜線を付して示している。
特開2003−229006公報
しかしながら、車両用前照灯ユニット100は、発光面の中央に未発光部分が現出する(図11(a)参照)ことにより、車両用前照灯としての適合性に欠ける、という課題を有している。
また、車両用前照灯ユニット100は、LED1個で1個の前照灯ユニットを構成するものであるから、LEDの点灯時の色ムラが100%現出し、これにより点灯時の見栄えの低下を招く、という課題を有している。
その上、車両用前照灯ユニット100は、LED1個で1個の前照灯ユニットを構成するものであるから、照度不足からLEDを複数個設置しなければならない場合、その数に応じたユニットを設置することになり、これにより灯具全体の大型化を招く、という課題をも有している。
そこで、本発明は、車両用前照灯としての適合性を備えると共に、LEDの点灯時の色ムラの現出を解消して点灯時の見栄えの向上を図ることができ、かつ灯具全体のコンパクト化が可能な車両用前照灯ユニットを提供することを目的としている。
前記した目的を達成するため、請求項1記載の発明は、複数個のLEDの光をそれぞれ対応する複数個の副リフレクタを介して1個の主リフレクタに集束させると共に、主リフレクタで反射されて凸レンズを介して前方に適宜の配光パターンを投影する車両用前照灯ユニットであって、
前記複数個の副リフレクタの各々は、回転楕円曲面あるいは回転楕円を基本にした自由曲面として形成される上部を開口した第1反射面を有して形成され、前記第1反射面の上部開口部を前記ユニットの光軸を含む水平面に略合致させて下方へ凸になるように配置されていることを特徴とする。
前記複数個の副リフレクタの各々は、回転楕円曲面あるいは回転楕円を基本にした自由曲面として形成される上部を開口した第1反射面を有して形成され、前記第1反射面の上部開口部を前記ユニットの光軸を含む水平面に略合致させて下方へ凸になるように配置されていることを特徴とする。
このため、請求項1記載の発明では、複数個のLEDの各光は、それぞれ対応する副リフレクタの第1反射面に向かって出射し、第1反射面で反射されて主リフレクタに集束すると共に、主リフレクタで反射されて凸レンズを介して前方に適宜の配光パターンを投影する。このとき得られる配光パターンは、内部に未発光部を有しないものとなっている。
また、個々のLEDに点灯時の色ムラがあったとしても、ユニット単位では、複数個のLEDの総合した光となるので、前記色ムラを軽減させることができる。
また、ユニットは複数個のLEDを組み込むことにより構成されるものであるから、個々のLEDの占める面積が、1個組み込みのものに比べて少なくすることができる。
また、複数個のLEDにそれぞれ対応する複数個の副リフレクタは、第1反射面の上部開口部をユニットの光軸を含む水平面に略合致させて下方へ凸になるように配置されているので、通常デッドスペースとなる前記水平面以下のスペースを有効利用することができる。
また、請求項2記載の発明は、請求項1に記載の車両用前照灯ユニットであって、
前記複数個の副リフレクタの各々は、前記第1反射面の第2焦点同士を前記ユニットの前側部分の前記光軸上に略合致するように集合させると共に、前記第1反射面の第1焦点を各別に前記ユニットの後側部分に位置させて配置されており、
前記主リフレクタは、回転楕円曲面あるいは回転楕円を基本にした自由曲面として形成される下部を開口した第2反射面を有して形成されると共に、前記第2反射面の第1焦点を前記第1反射面の第2焦点同士の集合位置付近に合致させ、かつ前記第2反射面の下部開口部を前記複数個の副リフレクタの前記第1反射面の上部開口部に対向させて配置されていることを特徴とする。
前記複数個の副リフレクタの各々は、前記第1反射面の第2焦点同士を前記ユニットの前側部分の前記光軸上に略合致するように集合させると共に、前記第1反射面の第1焦点を各別に前記ユニットの後側部分に位置させて配置されており、
前記主リフレクタは、回転楕円曲面あるいは回転楕円を基本にした自由曲面として形成される下部を開口した第2反射面を有して形成されると共に、前記第2反射面の第1焦点を前記第1反射面の第2焦点同士の集合位置付近に合致させ、かつ前記第2反射面の下部開口部を前記複数個の副リフレクタの前記第1反射面の上部開口部に対向させて配置されていることを特徴とする。
このため、請求項2記載の発明では、複数個のLEDの各光は、それぞれ対応する副リフレクタの第1反射面に向かって出射し、第1反射面で反射されて主リフレクタの第2反射面の第1焦点付近に集束(第1集束)する。この第1集束後、複数個の副リフレクタの各反射光は、それぞれ主リフレクタの第2反射面に入射し、かつ反射されて第2反射面の第2焦点付近に集束(第2集束)する。第2集束後は、凸レンズを介して総じて所望の配光パターンとなって灯具前方に出射する。
この第1集束および第2集束により、LEDの光の有効利用を図ることができると共に、計算された配光通りのパターンが得られる。
また、請求項3記載の発明は、請求項1または2に記載の車両用前照灯ユニットであって、
前記副リフレクタは、2個形成され、前記第1反射面の第2焦点同士を前記ユニットの前側部分の光軸上に略合致させると共に、前記第1反射面の第1焦点をそれぞれ後方側の前記光軸の両側部分に位置させて配置されており、
前記LEDは、発光部を前記第1反射面に対向させて前記第1反射面の第1焦点付近に相当する前記第1反射面の上部開口部に臨ませて前記副リフレクタ毎にそれぞれ設けられていることを特徴とする。
前記副リフレクタは、2個形成され、前記第1反射面の第2焦点同士を前記ユニットの前側部分の光軸上に略合致させると共に、前記第1反射面の第1焦点をそれぞれ後方側の前記光軸の両側部分に位置させて配置されており、
前記LEDは、発光部を前記第1反射面に対向させて前記第1反射面の第1焦点付近に相当する前記第1反射面の上部開口部に臨ませて前記副リフレクタ毎にそれぞれ設けられていることを特徴とする。
このため、請求項3記載の発明では、2個のLEDの各光は、それぞれ左右の副リフレクタの第1反射面に向かって出射し、第1反射面で反射されて主リフレクタの第2反射面の第1焦点付近に集束(第1集束)する。この第1集束後、左および右副リフレクタの各反射光は、それぞれ主リフレクタの第2反射面の右および左側部分に入射し、かつ反射されて第2反射面の第2焦点付近に集束(第2集束)する。第2集束後は、凸レンズを介して総じて所望の配光パターンとなって灯具前方に出射する。
この第1集束および第2集束により、LEDの光の有効利用を図ることができると共に、計算された配光通りのパターンが得られる。
請求項1記載の発明によれば、内部に未発光部を有しない光を灯具前方へ出射させることができるので、車両用前照灯としての適合性を備えた車両用前照灯ユニットを提供することができる。
また、請求項1記載の発明によれば、複数個のLEDの総合した光となるので、個々のLEDに点灯時の色ムラがあったとしても、前記色ムラを平均化させて軽減させることができ、これによりLEDの点灯時の色ムラの現出を解消して点灯時の見栄えの向上を図ることができる。
また、請求項1記載の発明によれば、複数個の副リフレクタを通常デッドスペースとなる箇所に設けてスペースの有効利用を図
さらに、請求項1記載の発明によれば、LED自体が小型であること、複数個の副リフレクタを通常デッドスペースとなる箇所に設けてスペースの有効利用を図ったこと、およびユニット内の1個のLEDの占有面積を少なくすることができることにより、灯具全体のコンパクト化が可能な車両用前照灯ユニットを提供することができる。
さらに、請求項1記載の発明によれば、LED自体が小型であること、複数個の副リフレクタを通常デッドスペースとなる箇所に設けてスペースの有効利用を図ったこと、およびユニット内の1個のLEDの占有面積を少なくすることができることにより、灯具全体のコンパクト化が可能な車両用前照灯ユニットを提供することができる。
また、請求項2記載の発明によれば、複数個のLEDの光の第1集束および第2集束により、LEDの光の有効利用を図ることができると共に、計算された配光通りのパターンが得られるので、請求項1の発明の効果に加えて、所望の配光パターンを高照度で容易に得ることができる。
また、請求項3記載の発明によれば、2個のLEDの光の第1集束および第2集束により、LEDの光の有効利用を図ることができると共に、計算された配光通りのパターンが得られるので、請求項1の発明の効果に加えて、所望の配光パターンを高照度で容易に得ることができる。
以下、本発明の実施の形態を図面に基づいて説明する。なお、図11に開示したものと同一機能を奏する構成要素は、同一符号を付して説明する。
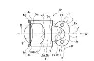
図1〜図4は、本発明の第1実施形態としての車両用前照灯ユニット10を示す。この車両用前照灯ユニット10は、2個のLED1の光をそれぞれ異なる副リフレクタ2を介して1個の主リフレクタ3に集束させると共に、主リフレクタ3で反射されて凸レンズ5を介して前方に適宜の配光パターンを投影するように構成されている。
副リフレクタ2は、回転楕円曲面あるいは回転楕円を基本にした自由曲面として形成される上部を開口した第1反射面2aを有して2個形成され、第1反射面2aの上部開口部2bをユニット10の光軸Zを含む水平面に略合致させて下方へ凸になるように配置されている。
この副リフレクタ2の配置構成によれば、通常デッドスペースとなる光軸Zを含む水平面以下のスペースを有効利用することができる。
より詳しくは、副リフレクタ2は、第1反射面2aの第2焦点F2同士をユニット10の前側の光軸Z上に略合致させると共に、第1反射面2aの第1焦点F1をそれぞれ後方側の光軸Zの両側部分に位置させて配置されている。
本実施形態では2個の副リフレクタ2、2は、ポリカーボネート樹脂やアクリル樹脂等の熱可塑性樹脂材を用いて一体に形成されると共に、内面に反射機能を備える塗膜あるいは蒸着を施して第1反射面2aを形成することにより全体構成されている。
また、主リフレクタ3は、回転楕円曲面あるいは回転楕円を基本にした自由曲面として形成される下部を開放した第2反射面3aを有して形成されると共に、第2反射面3aの第1焦点f1を第1反射面2aの第2焦点F2付近に合致させ、かつ第2反射面3aの下部開口部3bが2個の第1反射面2a、2aの上部開口部2b、2bを部分的に跨ぐようにして配置されている。
本実施形態では主リフレクタ3は、ポリカーボネート樹脂やアクリル樹脂等の熱可塑性樹脂材を用いて、下部開口部3bおよび前開口部3cを有するドーム形状に形成されると共に、内面に反射機能を備える塗膜あるいは蒸着を施して第2反射面3aを形成することにより全体構成されている。
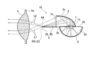
また、凸レンズ5は、そのレンズ焦点FRを第2反射面3aの第2焦点f2付近に合致させて配置されている。本実施形態では凸レンズ5は、アクリル樹脂等の透明熱可塑性樹脂材を用いて、外周に薄肉の取付用フランジ部5aを備えて両凸の非球面形状に形成されている(図2、図3参照)。
また、2個のLED1、1は、それぞれ発光部1aを第1反射面2aに対向させて第1反射面2aの第1焦点F1付近に相当する第1反射面2aの上部開口部2bに臨ませて副リフレクタ2毎に設けられている。本実施形態ではLED1は、図5に示すように、取付板9に固着されてサブアッシされており、取付板9を、上部開口部2bを覆う適宜の天板(図示せず)にねじ6で結合することにより、その発光部1aを第1焦点F1付近に位置させると共に第1反射面2aに対向させて取り付けられる。図5中、符号7は4本のリード線で、内2本がLED1のリード線で、他の2本が冷却素子用である。
さらに、シェード4が、第2反射面3aの第2焦点f2付近に位置するエッジ中央部4Aを有してメリジオナル像面に沿って形成されるエッジ部4aと、このエッジ部4aから後部側に延設される反射面4bとを有して形成されている。本実施形態ではシェード4は、反射面4bの両側部分をそれぞれ前方に平行に延設して形成される支持腕4c、4cと、この支持腕4c、4cの各先端の相互に対向する部分にU字状に切り欠かれて形成されるレンズ係合部4d、4dとを備えて、ポリカーボネート樹脂やアクリル樹脂等の熱可塑性樹脂材を用いて一体形成されると共に、上面に反射機能を備える塗膜あるいは蒸着を施して全体構成されている。
凸レンズ5は、その取付用フランジ部5aをレンズ係合部4d、4dに係合させる(図2参照)ことにより、そのレンズ焦点FRをエッジ中央部4Aにほぼ合致させてシェード4に組み付けることができる。
このように構成された車両用前照灯ユニット10は、2個のLED1、1の各光は、それぞれ左右の副リフレクタ2、2の第1反射面2aに向かって出射し、第1反射面2aで反射されて主リフレクタ3の第2反射面3aの第1焦点f1付近に集束(第1集束)する(図4参照)。この第1集束後、左および右副リフレクタの各反射光は、それぞれ主リフレクタ3の第2反射面3aの右および左側部分に入射し、かつ反射されて第2反射面3aの第2焦点f2付近に集束(第2集束)する。
この第2反射面3aの第2焦点f2付近には、シェード4が設けられているので、第2集束した光は、その一部L1がシェード4をスルーして直接凸レンズ5に到達すると共に、その残余の部分L2がシェード4の反射面4bで反射された後凸レンズ5に到達する。凸レンズ5に到達した光は、総じて所望の配光パターンとなって灯具前方に出射する。
この実施形態では、回転楕円体から成る第1および第2反射面2aおよび3aを組み合わせたことで、高効率な光学系を構成している。すなわち、この光学系はLED1を囲む立体角は100%ではないが、LED1の光の指向性により、第1および第2反射面2aおよび3aはLED1の光束の少なくとも97%を利用することができる。
また、このとき得られる配光パターンは、内部に未発光部を有しない、シェード4の反射面4bの断面形状に相似したカットラインを有するすれ違いビームに適した配光パターンとなる。
すなわち、左側に位置するLED1の光は、図6(a)に示すように、左側の副リフレクタ2の第1反射面2aに向かって出射すると共に、第1反射面2aで反射されて主リフレクタ3の第2反射面3aの第1焦点f1付近に集束(第1集束)し、その後主リフレクタ3の第2反射面3aの右側部分に入射し、かつ反射されて第2反射面3aの第2焦点f2付近に集束(第2集束)する。この第2集束光は、その一部がシェード4をスルーし、残余の部分がシェード4の反射面4bで反射されて大部分が凸レンズ5の左側部分を経由して前方に出射する。このときの出射光L3は、図7(a)に示す配光パターンP1を呈する。
他方の右側に位置するLED1の光は、図6(b)に示すように、右側の副リフレクタ2の第1反射面2aに向かって出射すると共に、第1反射面2aで反射されて主リフレクタ3の第2反射面3aの第1焦点f1付近に集束(第1集束)し、その後主リフレクタ3の第2反射面3aの左側部分に入射し、かつ反射されて第2反射面3aの第2焦点f2付近に集束(第2集束)する。この第2集束光は、その一部がシェード4をスルーし、残余の部分がシェード4の反射面4bで反射されて大部分が凸レンズ5の右側部分を経由して前方に出射する。このときの出射光L4は、図7(b)に示す配光パターンP2を呈する。
しかして、車両用前照灯ユニット10は、左右のLED1、1の同時点灯で、配光パターンP1+P2からなる配光パターンP0(図7(c))を呈する出射光を前方へ出射することができる。この配光パターンP0は、カットラインを有するすれ違いビームに適したものとなっている。
また、車両用前照灯ユニット10は、個々のLED1、1に点灯時の色ムラがあったとしても、ユニット単位では、2個のLED1、1の総合した光となるので、前記色ムラを軽減させることができる。
すなわち、車両用前照灯ユニット10は、2個のLED1、1の平均化した点灯色が得られるので、LED1の点灯時の色ムラの現出を解消して点灯時の見栄えの向上を図ることができる。
また、車両用前照灯ユニット10は、2個のLED1、1を組み込むことにより構成されるものであるから、共用部分が現出して個々のLED1の占める面積が、1個組み込みのものに比べて少なくすることができる。これにより、照度不足からLED1を複数個設置しなければならない場合でも、ユニット10を複数個組み込むことにより必要個数のLED1を少ない占有面積で設置することができ、これにより灯具全体のコンパクト化を図ることができる。
いずれにしろ車両用前照灯ユニット10は、LED1自体が小型であること、複数個の副リフレクタ2を通常デッドスペースとなる箇所に設けてスペースの有効利用を図ったこと、およびユニット10内の1個のLED1の占有面積を少なくすることができることにより、灯具全体のコンパクト化を図ることができる。
つぎに車両用前照灯ユニット10を複数個組み込んで構成される車両用前照灯について説明する。
図8は、この車両用前照灯Aを示す。車両用前照灯Aは、5個の車両用前照灯ユニット10a、10b、10c、10d、10eを、前部を開口したランプハウジング13内に組み込むと共に、ランプハウジング13の開口部を素通しガラス14で覆って全体構成されている。このとき5個の車両用前照灯ユニット10a〜10eは、ピボット構造やエイミングスクリュウ等を備えた適宜の取付具(図示せず)を介して光軸調整可能にランプハウジング13に組み付けられている。
また、5個の車両用前照灯ユニット10a〜10eは、総じてヘッドランプ機能を奏するように構成されるもので、その取付位置によって、例えば次の配光パターンが得られるように設計される。
図9は、その配光パターンで、(a)は水平拡散フラットタイプ(第1配光パターン)、(b)はすれ違いビームのカットラインを有する水平拡散タイプ(第2配光パターン)、(c)はすれ違いビームのカットラインを有する集光タイプ(第3配光パターン)をそれぞれ示す。
そして5個の車両用前照灯ユニット10a〜10eは、例えば、その内の1個が第3配光パターンが得られるように構成し、2個が第1配光パターンが得られるように構成し、かつ他の2個が第2配光パターンが得られるように構成する。
5個の車両用前照灯ユニット10a〜10eは、前述した車両用前照灯ユニット10の基本構造を有して構成されるものであり、加えて段付きカットライン(第2および第3配光パターン)はシェード4の反射面4bの断面形状を前記カットラインに相似した段付き形状に設計することにより得られ、フラットなカットライン(第1配光パターン)はシェード4の反射面4bを平坦面に設計することにより得られ、さらには拡散タイプ(第1および第2配光パターン)は図2の2個の副リフレクタ2、2のLED1の発光中心と第2焦点F2とを通る線a、bの交差角θが大きくなるようにLED1、1を配置することによって得られ、集光タイプ(第3配光パターン)は前記した線a、bの交差角θが小さくなるようにLED1、1を配置することによって得られる。
このようにして構成された車両用前照灯Aは、図10に示すように、高照度のホットゾーンLP1を伴って、すれ違いビームに適したカットラインCLを有する配光パターンLPの出射光を灯具前方へ出射することができる。
その上、車両用前照灯Aは、LED1の仕様個数(本実施形態では10個)にも拘わらず灯具全体の拡大化を伴うことなくコンパクトに構成することができると共に、樹脂製のユニット10a〜10eを用いているので灯具全体の重量の抑制をも図ることができる。
本発明は、前記した実施形態に限定されるものではなく、LED1の個数、およびLED1に対応して設けられる副リフレクタ2の個数をそれぞれ3個以上設定して構成される車両用前照灯ユニットも当然のことながら含んでいる。
1 LED
1a 発光部(LEDの)
2 副リフレクタ
2a 第1反射面
2b 上部開口部(第1反射面の)
3 主リフレクタ
3a 第2反射面
3b 下部開口部(第2反射面の)
4 シェード
4A エッジ中央部
4a エッジ部
4b 反射面
5 凸レンズ
10、10a、10b、10c、10d、10e 車両用前照灯ユニット
A 車両用前照灯
F1 第1焦点(第1反射面の)
F2 第2焦点(第1反射面の)
f1 第1焦点(第2反射面の)
f2 第2焦点(第2反射面の)
FR レンズ焦点
Z 光軸
1a 発光部(LEDの)
2 副リフレクタ
2a 第1反射面
2b 上部開口部(第1反射面の)
3 主リフレクタ
3a 第2反射面
3b 下部開口部(第2反射面の)
4 シェード
4A エッジ中央部
4a エッジ部
4b 反射面
5 凸レンズ
10、10a、10b、10c、10d、10e 車両用前照灯ユニット
A 車両用前照灯
F1 第1焦点(第1反射面の)
F2 第2焦点(第1反射面の)
f1 第1焦点(第2反射面の)
f2 第2焦点(第2反射面の)
FR レンズ焦点
Z 光軸
Claims (3)
- 複数個のLEDの光をそれぞれ対応する複数個の副リフレクタを介して1個の主リフレクタに集束させると共に、主リフレクタで反射されて凸レンズを介して前方に適宜の配光パターンを投影する車両用前照灯ユニットであって、
前記複数個の副リフレクタの各々は、回転楕円曲面あるいは回転楕円を基本にした自由曲面として形成される上部を開口した第1反射面を有して形成され、前記第1反射面の上部開口部を前記ユニットの光軸を含む水平面に略合致させて下方へ凸になるように配置されていることを特徴とする車両用前照灯ユニット。 - 請求項1に記載の車両用前照灯ユニットであって、
前記複数個の副リフレクタの各々は、前記第1反射面の第2焦点同士を前記ユニットの前側部分の前記光軸上に略合致するように集合させると共に、前記第1反射面の第1焦点を各別に前記ユニットの後側部分に位置させて配置されており、
前記主リフレクタは、回転楕円曲面あるいは回転楕円を基本にした自由曲面として形成される下部を開口した第2反射面を有して形成されると共に、前記第2反射面の第1焦点を前記第1反射面の第2焦点同士の集合位置付近に合致させ、かつ前記第2反射面の下部開口部を前記複数個の副リフレクタの前記第1反射面の上部開口部に対向させて配置されていることを特徴とする車両用前照灯ユニット。 - 請求項1または2に記載の車両用前照灯ユニットであって、
前記副リフレクタは、2個形成され、前記第1反射面の第2焦点同士を前記ユニットの前側部分の光軸上に略合致させると共に、前記第1反射面の第1焦点をそれぞれ後方側の前記光軸の両側部分に位置させて配置されており、
前記LEDは、発光部を前記第1反射面に対向させて前記第1反射面の第1焦点付近に相当する前記第1反射面の上部開口部に臨ませて前記副リフレクタ毎にそれぞれ設けられていることを特徴とする車両用前照灯ユニット。
Priority Applications (4)
| Application Number | Priority Date | Filing Date | Title |
|---|---|---|---|
| JP2004148287A JP2005332640A (ja) | 2004-05-18 | 2004-05-18 | 車両用前照灯ユニット |
| EP05010778A EP1598593B1 (en) | 2004-05-18 | 2005-05-18 | Headlamp unit for vehicle and headlamp unit assembly |
| US11/131,789 US7207703B2 (en) | 2004-05-18 | 2005-05-18 | Headlamp unit for vehicle and headlamp unit assembly |
| DE602005027517T DE602005027517D1 (de) | 2004-05-18 | 2005-05-18 | Scheinwerfer für ein Fahrzeug |
Applications Claiming Priority (1)
| Application Number | Priority Date | Filing Date | Title |
|---|---|---|---|
| JP2004148287A JP2005332640A (ja) | 2004-05-18 | 2004-05-18 | 車両用前照灯ユニット |
Publications (1)
| Publication Number | Publication Date |
|---|---|
| JP2005332640A true JP2005332640A (ja) | 2005-12-02 |
Family
ID=34936650
Family Applications (1)
| Application Number | Title | Priority Date | Filing Date |
|---|---|---|---|
| JP2004148287A Pending JP2005332640A (ja) | 2004-05-18 | 2004-05-18 | 車両用前照灯ユニット |
Country Status (4)
| Country | Link |
|---|---|
| US (1) | US7207703B2 (ja) |
| EP (1) | EP1598593B1 (ja) |
| JP (1) | JP2005332640A (ja) |
| DE (1) | DE602005027517D1 (ja) |
Cited By (1)
| Publication number | Priority date | Publication date | Assignee | Title |
|---|---|---|---|---|
| JP2008103192A (ja) * | 2006-10-19 | 2008-05-01 | Stanley Electric Co Ltd | 半導体発光素子を光源とする車両前照灯用の投影レンズ |
Families Citing this family (20)
| Publication number | Priority date | Publication date | Assignee | Title |
|---|---|---|---|---|
| EP1853461B1 (en) * | 2005-03-04 | 2012-05-02 | Osram Sylvania, Inc. | Led headlamp system |
| US20070047234A1 (en) * | 2005-08-24 | 2007-03-01 | Cooper Technologies Company | Method and apparatus for providing light |
| US20070047235A1 (en) * | 2005-08-24 | 2007-03-01 | Cooper Technologies Company | Method and apparatus for providing light |
| US7410282B2 (en) * | 2005-10-25 | 2008-08-12 | Visteon Global Technologies, Inc. | Bi-functional headlight module |
| DE602005004802T2 (de) * | 2005-12-14 | 2009-03-05 | Tyc Brother Industrial Co., Ltd. | Projektions-Beleuchtungseinrichtung |
| FR2896852B1 (fr) | 2006-01-27 | 2008-02-29 | Valeo Vision Sa | Projecteur a led pour vehicule automobile. |
| JP4535453B2 (ja) * | 2006-03-06 | 2010-09-01 | 株式会社小糸製作所 | 光源モジュール及び車輌用灯具 |
| DE102007016294B4 (de) * | 2006-04-11 | 2009-04-02 | Koito Manufacturing Co., Ltd. | Fahrzeugleuchte |
| DE102006041942A1 (de) * | 2006-09-07 | 2008-03-27 | Hella Kgaa Hueck & Co. | Projektionsscheinwerfer für Fahrzeuge |
| US20100246203A1 (en) * | 2009-03-27 | 2010-09-30 | North American Lighting, Inc. | System and method for exterior lighting of vehicles |
| KR101619832B1 (ko) * | 2009-11-30 | 2016-05-13 | 삼성전자주식회사 | 발광다이오드 패키지, 이를 구비한 발광다이오드 패키지 모듈과 그 제조 방법, 및 이를 구비한 헤드 램프 모듈과 그 제어 방법 |
| FR2996281A1 (fr) | 2012-10-01 | 2014-04-04 | Valeo Vision | Dispositif d'actionnement d'un element optique d'un dispositif d'eclairage et/ou de signalisation |
| JP6180772B2 (ja) * | 2013-04-01 | 2017-08-16 | 株式会社小糸製作所 | 車両用灯具 |
| JP6111805B2 (ja) * | 2013-04-04 | 2017-04-12 | 市光工業株式会社 | 車両用灯具 |
| FR3010770B1 (fr) | 2013-07-24 | 2018-02-02 | Valeo Vision Belgique | Module d'eclairage et/ou de signalisation notamment pour vehicule, avec une partie centrale n'emettant pas de lumiere |
| JP2015056228A (ja) * | 2013-09-10 | 2015-03-23 | 株式会社小糸製作所 | プリント基板および車両用灯具 |
| US9651211B2 (en) | 2014-10-16 | 2017-05-16 | Valeo North America, Inc. | Multi-function optical system with shared exit optic |
| JP6517556B2 (ja) * | 2015-03-24 | 2019-05-22 | スタンレー電気株式会社 | 車両用灯具 |
| TWI642568B (zh) * | 2016-09-07 | 2018-12-01 | 世正光電股份有限公司 | 照明結構及其配光方法 |
| CN113007643B (zh) * | 2021-03-22 | 2022-06-24 | 江西亚中电子科技股份有限公司 | 一种led透镜可调多功能灯架 |
Family Cites Families (4)
| Publication number | Priority date | Publication date | Assignee | Title |
|---|---|---|---|---|
| US6796696B2 (en) * | 2000-12-05 | 2004-09-28 | Stanley Electric Co., Ltd. | Vehicle light with movable reflector portion and shutter portion for selectively switching an illuminated area of light incident on a predetermined portion of the vehicle light during driving |
| FR2826098B1 (fr) * | 2001-06-14 | 2003-12-26 | Valeo Vision | Dispositif d'eclairage ou de signalisation, notamment pour vehicule, comportant plusieurs sources lumineuses |
| JP4123338B2 (ja) | 2002-02-01 | 2008-07-23 | スタンレー電気株式会社 | 灯具 |
| JP4083593B2 (ja) * | 2003-02-13 | 2008-04-30 | 株式会社小糸製作所 | 車両用前照灯 |
-
2004
- 2004-05-18 JP JP2004148287A patent/JP2005332640A/ja active Pending
-
2005
- 2005-05-18 EP EP05010778A patent/EP1598593B1/en not_active Expired - Lifetime
- 2005-05-18 DE DE602005027517T patent/DE602005027517D1/de not_active Expired - Lifetime
- 2005-05-18 US US11/131,789 patent/US7207703B2/en not_active Expired - Fee Related
Cited By (1)
| Publication number | Priority date | Publication date | Assignee | Title |
|---|---|---|---|---|
| JP2008103192A (ja) * | 2006-10-19 | 2008-05-01 | Stanley Electric Co Ltd | 半導体発光素子を光源とする車両前照灯用の投影レンズ |
Also Published As
| Publication number | Publication date |
|---|---|
| US20050259431A1 (en) | 2005-11-24 |
| US7207703B2 (en) | 2007-04-24 |
| DE602005027517D1 (de) | 2011-06-01 |
| EP1598593A2 (en) | 2005-11-23 |
| EP1598593B1 (en) | 2011-04-20 |
| EP1598593A3 (en) | 2009-03-25 |
Similar Documents
| Publication | Publication Date | Title |
|---|---|---|
| JP2005332640A (ja) | 車両用前照灯ユニット | |
| US8007149B2 (en) | Vehicle lighting assembly and light guiding lens for use in vehicle lighting assembly | |
| JP4289268B2 (ja) | 車両用前照灯ユニット | |
| US7635206B2 (en) | Light emitting diode lighting device having a lens connected to a hood | |
| JP3195294B2 (ja) | 車両用灯具 | |
| JP4258465B2 (ja) | 車両用前照灯ユニット | |
| KR101423874B1 (ko) | 차량용 등기구 | |
| JP4300123B2 (ja) | 導光体を用いたled灯具 | |
| EP2487407B1 (en) | Vehicle lighting device | |
| JP2010050008A (ja) | 灯具 | |
| JP2003317513A (ja) | 光源ユニット | |
| JP2009064729A (ja) | 車両用灯具ユニット | |
| JP4424148B2 (ja) | プロジェクタ型車両用前照灯ユニット | |
| JP4687905B2 (ja) | Led照明灯具 | |
| JP4211736B2 (ja) | 車両用灯具 | |
| JP5368233B2 (ja) | 車両用灯具 | |
| CN113028351A (zh) | 照明灯具 | |
| JP2012238477A (ja) | ランプユニット | |
| JP4407395B2 (ja) | 車両用灯具 | |
| JP2005302328A (ja) | プロジェクタ型車両用灯具 | |
| JP2017168335A (ja) | 車両用灯具 | |
| JP2005209602A (ja) | プロジェクタ型車両用灯具 | |
| JP4158140B2 (ja) | 車両用灯具 | |
| US6851842B2 (en) | Vehicular lamp | |
| JP6756576B2 (ja) | 車両用灯具 |