JP2005302625A - 電池 - Google Patents

電池 Download PDF

Info

Publication number
JP2005302625A
JP2005302625A JP2004119962A JP2004119962A JP2005302625A JP 2005302625 A JP2005302625 A JP 2005302625A JP 2004119962 A JP2004119962 A JP 2004119962A JP 2004119962 A JP2004119962 A JP 2004119962A JP 2005302625 A JP2005302625 A JP 2005302625A
Authority
JP
Japan
Prior art keywords
terminal
electrode terminal
taper
battery
insulating material
Prior art date
Legal status (The legal status is an assumption and is not a legal conclusion. Google has not performed a legal analysis and makes no representation as to the accuracy of the status listed.)
Granted
Application number
JP2004119962A
Other languages
English (en)
Other versions
JP4590911B2 (ja
Inventor
Shigeru Takagi
茂 高城
Current Assignee (The listed assignees may be inaccurate. Google has not performed a legal analysis and makes no representation or warranty as to the accuracy of the list.)
Toyota Motor Corp
Original Assignee
Toyota Motor Corp
Priority date (The priority date is an assumption and is not a legal conclusion. Google has not performed a legal analysis and makes no representation as to the accuracy of the date listed.)
Filing date
Publication date
Application filed by Toyota Motor Corp filed Critical Toyota Motor Corp
Priority to JP2004119962A priority Critical patent/JP4590911B2/ja
Publication of JP2005302625A publication Critical patent/JP2005302625A/ja
Application granted granted Critical
Publication of JP4590911B2 publication Critical patent/JP4590911B2/ja
Anticipated expiration legal-status Critical
Expired - Fee Related legal-status Critical Current

Links

Images

Classifications

    • YGENERAL TAGGING OF NEW TECHNOLOGICAL DEVELOPMENTS; GENERAL TAGGING OF CROSS-SECTIONAL TECHNOLOGIES SPANNING OVER SEVERAL SECTIONS OF THE IPC; TECHNICAL SUBJECTS COVERED BY FORMER USPC CROSS-REFERENCE ART COLLECTIONS [XRACs] AND DIGESTS
    • Y02TECHNOLOGIES OR APPLICATIONS FOR MITIGATION OR ADAPTATION AGAINST CLIMATE CHANGE
    • Y02EREDUCTION OF GREENHOUSE GAS [GHG] EMISSIONS, RELATED TO ENERGY GENERATION, TRANSMISSION OR DISTRIBUTION
    • Y02E60/00Enabling technologies; Technologies with a potential or indirect contribution to GHG emissions mitigation
    • Y02E60/10Energy storage using batteries

Landscapes

  • Connection Of Batteries Or Terminals (AREA)
  • Sealing Battery Cases Or Jackets (AREA)

Abstract

【課題】内圧の大きな上昇に対しても,良好な抜け止め性,絶縁性,シール性を確保できる端子部分の構造を有する電池を提供すること。
【解決手段】本発明の二次電池は,蓋部13に端子14を貫通させる筒状の端子固定部17が外向きに設けられるとともに,その基部に基端側が大径である第1テーパ部18が設けられており,端子14に,端子固定部17を貫通して外部に突出する本体部21と,本体部21の外周面に位置し,端子固定部17が小径である第2テーパ部25とが設けられており,端子固定部17と端子14との間に筒状の絶縁用樹脂15が挟持されており,絶縁用樹脂15に,第1テーパ部18に対面する外面の第3テーパ部34と,第2テーパ部25に対面する内面の第4テーパ部35とが設けられており,絶縁用樹脂15および端子固定部17が端子14に対して固定されているものである。
【選択図】 図2

Description

本発明は,リチウム二次電池等の電池に関する。さらに詳細には,ケースの外部に電極端子が突出した電池に関するものである。
近年,リチウム電池等の二次電池が広く普及している。このような電池では,ケースから突出して取り付けられる端子に関し,次の各点において良好な性質が要求される。すなわち,端子が電池から抜け落ちないための抜け止め性,端子とケース部材との間の絶縁性,端子部分から内部の電解液が漏れ出ないためのシール性等である。特に二次電池の場合では,ケース内で充放電による内圧の変化があり,中でも内部短絡等の異常時には内圧が大きく上昇する場合がある。さらに,缶ケースに発電要素が封入された電池缶構造の二次電池では,缶ケース自体の強度が大きいことから端子の接続部分に内圧が加わりがちであり,端子部分の構造が重要なものとなる。
従来,このような電池における端子構造としては,例えば,缶ケースに取り付けられる金属製の蓋部に端子用の貫通孔を形成しておき,その貫通孔を貫通させて柱状の端子を取付けるものがある。一般に,貫通孔の周囲に円筒形の固定部を延設し,間に絶縁用の樹脂を挟んで,端子とともにカシメることによって固定する。そのカシメられた部分に樹脂をやや押しつぶして挟み込み,抜け止め性とともに絶縁性,シール性を確保しようとする構造のものがあった。
さらに,このような二次電池では,内部短絡等の異常時等には,特に内圧が大きく上昇する。そのため,この内圧上昇時にも蓋部に固定された端子が抜けることのないように,従来より様々な工夫がなされている(例えば,特許文献1参照。)。この文献に記載の電池では,その蓋部と端子との間に絶縁用樹脂が設けられている。そして,蓋部および端子にフランジ部が設けられて絶縁用樹脂の溝にはめ込まれ,絶縁用樹脂からの抜け止めにされている。
特開2003−208879号公報
しかしながら,前記した各従来の電池における端子部分の構造では,絶縁性のために蓋部と端子との間に挿入される樹脂が,内圧によって変形されるおそれがあった。特に,異常時に発生する大きな内圧によって樹脂が変形すると,変形しない蓋部や端子との間に僅かな隙間ができるおそれがある。その隙間に,内部で発生したガスが入り込むとシール性を悪化させ,内部のガスが漏れ出すおそれがあるという問題点があった。さらに,自動車等に設けられる二次電池では,外部からの振動によって様々な方向の力が加えられるためさらに,端子がゆるんだり抜けたりするおそれがあるという問題点があった。
本発明は,前記した従来の電池が有する問題点を解決するためになされたものである。すなわちその課題とするところは,内圧の大きな上昇に対しても,良好な抜け止め性,絶縁性,シール性を確保できる端子部分の構造を有する電池を提供することにある。
この課題の解決を目的としてなされた本発明の電池は,ケース内に発電要素を収納するとともに,発電要素に接続された電極端子がケースを貫通して外部に突出する電池であって,ケースの一部に,電極端子を貫通させる筒状の保持部が外向きに設けられるとともに,その基部に基端側が大径である第1テーパ部が設けられており,電極端子に,保持部を貫通して外部に突出する本体部と,本体部の外周面に位置し,発電要素側が小径である第2テーパ部とが設けられており,保持部と電極端子との間に筒状の絶縁材が挟持されており,絶縁材に,第1テーパ部に対面する外面の第3テーパ部と,第2テーパ部に対面する内面の第4テーパ部とが設けられており,絶縁材および保持部が電極端子に対して固定されているものである。
本発明の電池によれば,絶縁材を間に挟持して保持部と電極端子とが固定されるので,保持部と電極端子との絶縁性が絶縁材によって確保される。さらに,保持部の第1テーパ部と絶縁材の外面の第3テーパ部とが対面し,それらの基端側が大径であることにより,電極端子または絶縁材に対する先端方向への力はこれらのテーパ部によって受けられる。また,電極端子の本体部の第2テーパ部と絶縁材の第4テーパ部とが対面し,発電要素側が小径であることにより,電極端子または絶縁材に対する基端方向への力はこれらのテーパ部によって受けられる。従って,内圧の大きな上昇に対しても,端子の良好な抜け止め性,絶縁性,シール性を確保できる電池となっている。
さらに本発明では,絶縁材および保持部の電極端子への固定が,第1〜第4のいずれのテーパ部よりも先端寄りの位置で,保持部を電極端子に対してかしめることにより行われていることが望ましい。
このようにすれば,第1〜第4のテーパ部の外側で,絶縁材と保持部が電極端子にかしめられて固定される。従って,かしめ部分によって良好な抜け止め性が確保されるとともに,第1〜第4のテーパ部によるシール性も確保される。
あるいは本発明では,電極端子の先端に取り付けられ,保持部の先端の径より大径なワッシャを有し,絶縁材の先端が,保持部の先端とワッシャとの間から外方に突出しており,絶縁材および保持部の電極端子への固定が,ワッシャを電極端子の先端に固定することにより行われているものであっても良い。
このようなものであっても,絶縁材によって良好な絶縁性が確保されるとともに,ワッシャの固定により良好な抜け止め性が確保される。
さらに本発明では,電極端子に,ケースの内側に位置し第1テーパ部の最大径より大径のフランジ部が設けられており,フランジ部の本体部側の面の一部に,絶縁材から離隔する受圧部が設けられていることが望ましい。
このようなものであれば,第1テーパ部の最大径より大径のフランジ部を有するので,電極端子に対してケース内から大きな外向きの力が加えられた場合でも,フランジ部によって抜け止めされる。さらに,受圧部がフランジ部の本体部側の面の一部に設けられていることから,この受圧部にも内圧は加わる。そのため,電極端子に対して外向きの力である内圧とともに,受圧部では内向きの力が働く。これらが互いに相殺されることから,電極端子に加わる力は減じられ,より良好な抜け止め性を確保できる。
本発明の電池によれば,内圧の大きな上昇に対しても,良好な抜け止め性,絶縁性,シール性を確保できる端子部分の構造を有する電池となっている。
「第1の形態」
以下,本発明を具体化した第1の形態について,添付図面を参照しつつ詳細に説明する。本形態は,缶ケースに封入された缶構造の二次電池である。
本形態の二次電池1は,図1に示すように,発電要素である電極体11と,電極体11を封入する缶ケース12と,缶ケース12に取り付けられる蓋部13とを有している。また,蓋部13には,貫通して突出する正極と負極の端子14が取り付けられている。電極体11は,正極板と負極板とをセパレータシートを挟んで捲回し,扁平状に形成したものである。缶ケース12は,図中奥行き方向の厚みの薄い扁平な略直方体形状であり,その図中上面が蓋部13で覆われて密封されている。従って,缶ケース12と蓋部13とがケースに相当する。また,蓋部13と端子14との間には,絶縁用樹脂15が挟み込まれている。
また,端子14の図中下部にはそれぞれ,電極体11の正極板または負極板に接続されたリード16が接続されている。さらに,この二次電池1の端子14は,図1,図2に示すように,その基端部が絶縁用樹脂15と蓋部13とによって覆われている。そして,端子14と絶縁用樹脂15と蓋部13とが,まとめてカシメられて固定されている。図2は,図1の端子14の周辺を奥行き方向の断面図で示している。また,蓋部13には,図2に示すように,端子14を貫通させるための略円筒状の端子固定部17が形成され,その付け根の部分には末広がりの第1テーパ部18が形成されている。この端子固定部17が保持部に相当する。
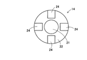
両端子14は,図2,図3,図4に示すように,略円柱形状の本体部21とフランジ部22を有している。本体部21の外周面には,カシメ用の円溝23が設けられている。また,フランジ部22の本体部21側の面には,互いに90度をなす位置の縁辺に,4箇所の角溝24が設けられている。本体部21のうちフランジ部22の近くの外周には,フランジ部22へ向かって細くなる第2テーパ部25が設けられている。この角溝24が受圧部に相当する。
また,絶縁用樹脂15は,図5に示すように,円筒部31,フランジ部32,袴部33を有している。さらに,円筒部31とフランジ部32との境目には,外周側に,末広がりの第3テーパ部34が設けられている。さらに,内周側には,フランジ部32へ向かって孔径が小さくなる方向の第4テーパ部35が設けられている。この第4テーパ部35の内周の最小径は,端子14の第2テーパ部25の外周の最大径より小さく形成されている。また,円筒部31は,端子14の本体部21より短く,蓋部13の端子固定部17よりやや長く形成されている。袴部33には,リード16を通すための切り欠き36が形成されている。この絶縁用樹脂15は,PP,フッ素樹脂等の良好な絶縁性を有する樹脂で形成される。
このように形成された蓋部13,端子14,絶縁用樹脂15を組み付ける際には,絶縁用樹脂15の中央の貫通孔に,端子14の本体部21を圧入する。さらに,端子14と絶縁用樹脂15とを蓋部13の端子固定部17に挿入する。この時点では,絶縁用樹脂15の端子固定部17の外形は平坦な筒状である。これらをまとめて,端子14の円溝23の位置でカシメることにより,図2に示すように,蓋部13の端子固定部17と絶縁用樹脂15の円筒部31とを変形させて固定される。このカシメによる固定により,端子14は,図中上下方向の力に対抗して良好に抜け止めされている。
さらに,このようにカシメることにより,絶縁用樹脂15が蓋部13と端子14とによって挟まれる。このとき,絶縁用樹脂15の円筒部31が,端子14の本体部21より短く,蓋部13の端子固定部17より長く形成されているので,蓋部13と端子14とが直接接触することはない。従って,絶縁用樹脂15によって,蓋部13と端子14との良好な絶縁性は確保されている。そして,端子14の先端部は絶縁用樹脂15から図2中上方へ突出した状態となるので,端子14によってこの二次電池1を他の装置と接続して使用することができる。
また,このようにして固定された結果,絶縁用樹脂15の第3テーパ部34と蓋部13の第1テーパ部18とが圧接された状態で保持される。さらに,絶縁用樹脂15の第4テーパ部35と端子14の第2テーパ部25とが圧接された状態で保持される。これらの圧接によって,蓋部13と絶縁用樹脂15との間,および端子14と絶縁用樹脂15との間は,それぞれ絶縁用樹脂15の変形を伴って強力に密接される。従って,この端子14は,絶縁用樹脂15によって良好なシール性が確保されている。
次に,二次電池1に内圧が加わった場合について説明する。一般に,内圧は二次電池1の内部にガスが発生することによって次第に上昇する。この内圧により,端子14は,フランジ部22に図2中下側から上向きの力を受ける。さらに,内部で発生したガスは,絶縁用樹脂15と端子14との間から角溝24の内部へ入り込む。従って,角溝24の部分では,端子14はその入り込んだガスによって図中下向きの力を受ける。これらの力は,角溝24の部分では互いに逆向きであり,相殺される。従って,端子14の全体としては,内圧によってあまり大きな上向きの力が加えられることはない。
さらにこの二次電池1では,端子14が内圧や振動によって僅かに上下方向に移動した場合においても,良好なシール性が保持されることを説明する。まず,端子14が図2中上方向に移動した場合は,絶縁用樹脂15の第3テーパ部34が蓋部13の第1テーパ部18にさらに強力に圧接される。また,端子14が図中下方向に移動した場合は,絶縁用樹脂15の第4テーパ部35が端子14の第2テーパ部25にさらに強力に圧接される。これらのことから,端子14が,上下いずれの方向へ移動した場合においても,良好なシール性は保持されているといえる。
以上詳細に説明したように,本形態の二次電池1によれば,絶縁用樹脂15の円筒部31と蓋部13の端子固定部17とを変形させて,端子14の円溝23にカシメているので,良好な抜け止め性を有している。また,絶縁用樹脂15が蓋部13と端子14との間を覆っているので,良好な絶縁性を有している。さらに,絶縁用樹脂15に第3テーパ部34と第4テーパ部35とが設けられ,これらが端子14の第2テーパ部25および蓋部13の第1テーパ部18に圧接されているので,良好なシール性を有している。これらのことから,本形態の二次電池1では,内圧の大きな上昇に対しても,良好な抜け止め性,絶縁性,シール性を確保できる端子部分の構造を有する電池となっている。
「第2の形態」
次に,本発明を具体化した第2の形態について,添付図面を参照しつつ詳細に説明する。本形態は,第1の形態と同様に缶ケースに封入された缶構造の二次電池に設けられる端子構造であり,ここでは,第1の形態と異なる部分のみを説明する。
本形態の二次電池の端子構造では,図6に示すように,カシメに代えてネジ41とワッシャ42とによって固定されている。そのため,端子14には円溝23は設けられていない。それに代えて,端子14の本体部21の図中上面にはネジ穴43が設けられている。また,絶縁用樹脂15の円筒部31は,端子14の本体部21より長く形成される。
本形態の端子構造においても,端子14は絶縁用樹脂15に圧入される。その後,絶縁用樹脂15の円筒部31の先端を加温し,ワッシャ42によって圧迫して押し開くことにより変形させる。さらに,ネジ41をネジ穴43にねじ込んでワッシャ42を固定する。これにより,ワッシャ42は,絶縁用樹脂15の先端部を挟んで蓋部13の端子固定部17に圧接されて固定される。従って,良好な抜け止め性と絶縁性が確保されている。さらに,このねじ込みにより,蓋部13と絶縁用樹脂15との間,および端子14と絶縁用樹脂15との間の圧接が強固なものとなる。従って,良好なシール性も確保されている。
以上詳細に説明したように,本形態の二次電池の端子構造によっても,第1の形態と同様に,内圧の大きな上昇に対しても,良好な抜け止め性,絶縁性,シール性を確保できる端子部分の構造を有する電池となっている。
なお,上記の各形態は単なる例示にすぎず,本発明を何ら限定するものではない。したがって本発明は当然に,その要旨を逸脱しない範囲内で種々の改良,変形が可能である。
例えば,上記の各形態では,端子14のフランジ部22に4箇所の角溝24を形成するとしたが,4箇所に限るものではない。より多数の角溝としても良いし,より大きな溝を少数箇所に設けるようにしても良い。また,各角溝は,フランジ部22と本体部21との境目まで,あるいはさらに内周側まで形成しても良い。また,角溝に代えてフランジ部22の外周に沿った円弧状の溝であっても良い。あるいは,図7に示すように,フランジ部22の外周に沿って360度形成された段差45であっても良い。また,必ずしも360度でなくても良い。
また例えば,フランジ部22に角溝24を形成する代わりに,平坦形状のフランジ部に適切な外周形状のワッシャ等をはめ込むことにより,フランジ部22と絶縁用樹脂15との間に受圧部を設けることもできる。
また例えば,第1の形態では,端子14にあらかじめ円溝23が形成されているとしたが,この円溝23をカシメによって形成されるようにしても良い。
また例えば,第2の形態では,絶縁用樹脂15の上端部をあらかじめ開いた形状に形成しておいても良い。
第1の形態の二次電池の概略構成を示す部分断面図である。 端子部分の概略構成を示す断面図である。 端子を示す斜視図である。 端子を示す平面図である。 絶縁用樹脂を示す斜視図である。 第2の形態の二次電池の端子部分の概略構成を示す断面図である。 端子の別の例を示す斜視図である。
符号の説明
1 二次電池(電池)
11 電極体(発電要素)
12 缶ケース(ケース)
13 蓋部(ケース)
14 端子(電極端子)
15 絶縁用樹脂(絶縁材)
17 端子固定部(保持部)
18 第1テーパ部
21 本体部
22 フランジ部
24 角溝(受圧部)
25 第2テーパ部
34 第3テーパ部
35 第4テーパ部
42 ワッシャ

Claims (4)

  1. ケース内に発電要素を収納するとともに,前記発電要素に接続された電極端子が前記ケースを貫通して外部に突出する電池において,
    前記ケースの一部に,前記電極端子を貫通させる筒状の保持部が外向きに設けられるとともに,その基部に基端側が大径である第1テーパ部が設けられており,
    前記電極端子に,
    前記保持部を貫通して外部に突出する本体部と,
    前記本体部の外周面に位置し,前記発電要素側が小径である第2テーパ部とが設けられており,
    前記保持部と前記電極端子との間に筒状の絶縁材が挟持されており,
    前記絶縁材に,
    前記第1テーパ部に対面する外面の第3テーパ部と,
    前記第2テーパ部に対面する内面の第4テーパ部とが設けられており,
    前記絶縁材および前記保持部が前記電極端子に対して固定されていることを特徴とする電池。
  2. 請求項1に記載の電池において,
    前記絶縁材および前記保持部の前記電極端子への固定が,第1〜第4のいずれのテーパ部よりも先端寄りの位置で,前記保持部を前記電極端子に対してかしめることにより行われていることを特徴とする電池。
  3. 請求項1に記載の電池において,
    前記電極端子の先端に取り付けられ,前記保持部の先端の径より大径なワッシャを有し,
    前記絶縁材の先端が,前記保持部の先端と前記ワッシャとの間から外方に突出しており,
    前記絶縁材および前記保持部の前記電極端子への固定が,前記ワッシャを前記電極端子の先端に固定することにより行われていることを特徴とする電池。
  4. 請求項1から請求項3までのいずれか1つに記載の電池において,
    前記電極端子に,前記ケースの内側に位置し前記第1テーパ部の最大径より大径のフランジ部が設けられており,
    前記フランジ部の前記本体部側の面の一部に,前記絶縁材から離隔する受圧部が設けられていることを特徴とする電池。
JP2004119962A 2004-04-15 2004-04-15 電池 Expired - Fee Related JP4590911B2 (ja)

Priority Applications (1)

Application Number Priority Date Filing Date Title
JP2004119962A JP4590911B2 (ja) 2004-04-15 2004-04-15 電池

Applications Claiming Priority (1)

Application Number Priority Date Filing Date Title
JP2004119962A JP4590911B2 (ja) 2004-04-15 2004-04-15 電池

Publications (2)

Publication Number Publication Date
JP2005302625A true JP2005302625A (ja) 2005-10-27
JP4590911B2 JP4590911B2 (ja) 2010-12-01

Family

ID=35333844

Family Applications (1)

Application Number Title Priority Date Filing Date
JP2004119962A Expired - Fee Related JP4590911B2 (ja) 2004-04-15 2004-04-15 電池

Country Status (1)

Country Link
JP (1) JP4590911B2 (ja)

Cited By (10)

* Cited by examiner, † Cited by third party
Publication number Priority date Publication date Assignee Title
JP2005183359A (ja) * 2003-11-28 2005-07-07 Matsushita Electric Ind Co Ltd 角形電池とその製造方法
KR100590046B1 (ko) 2004-11-30 2006-06-14 삼성에스디아이 주식회사 이차 전지 및 이차 전지 모듈
JP2010027521A (ja) * 2008-07-23 2010-02-04 Toyota Motor Corp 密閉型電池
JP2010097818A (ja) * 2008-10-16 2010-04-30 Toyota Motor Corp 電極端子支持構造および電極端子支持方法
JP2010521046A (ja) * 2007-05-29 2010-06-17 ビーワイディー カンパニー リミテッド バッテリーパック
WO2011010350A1 (ja) 2009-07-24 2011-01-27 トヨタ自動車株式会社 電池の製造方法、及びそれに用いるプレス工具、並びに電池
CN102656716A (zh) * 2010-01-12 2012-09-05 丰田自动车株式会社 电池的制造方法以及电池
EP2541650A1 (en) * 2011-06-30 2013-01-02 SB LiMotive Co., Ltd. Rechargeable battery having improved gasket and terminal structure
WO2021065335A1 (ja) 2019-09-30 2021-04-08 株式会社村田製作所 二次電池
US20220085344A1 (en) * 2020-06-12 2022-03-17 Zhuhai Xunda Technology Co., Ltd. Button battery and manufacturing method therefor

Families Citing this family (1)

* Cited by examiner, † Cited by third party
Publication number Priority date Publication date Assignee Title
JP6179089B2 (ja) * 2011-11-29 2017-08-16 株式会社Gsユアサ 蓄電素子および蓄電素子の製造方法

Citations (5)

* Cited by examiner, † Cited by third party
Publication number Priority date Publication date Assignee Title
JPH0887991A (ja) * 1994-09-09 1996-04-02 Moli Energy 1990 Ltd 充填口および端子の一体化構造体を有する密封電気装置
JP2001093486A (ja) * 1999-09-28 2001-04-06 Sanyo Electric Co Ltd 角形密閉電池とその製造方法
JP2001135300A (ja) * 1999-10-29 2001-05-18 Sanyo Electric Co Ltd 角形蓄電池
JP2003297413A (ja) * 2002-03-29 2003-10-17 Matsushita Electric Ind Co Ltd 電 池
JP2005183359A (ja) * 2003-11-28 2005-07-07 Matsushita Electric Ind Co Ltd 角形電池とその製造方法

Patent Citations (5)

* Cited by examiner, † Cited by third party
Publication number Priority date Publication date Assignee Title
JPH0887991A (ja) * 1994-09-09 1996-04-02 Moli Energy 1990 Ltd 充填口および端子の一体化構造体を有する密封電気装置
JP2001093486A (ja) * 1999-09-28 2001-04-06 Sanyo Electric Co Ltd 角形密閉電池とその製造方法
JP2001135300A (ja) * 1999-10-29 2001-05-18 Sanyo Electric Co Ltd 角形蓄電池
JP2003297413A (ja) * 2002-03-29 2003-10-17 Matsushita Electric Ind Co Ltd 電 池
JP2005183359A (ja) * 2003-11-28 2005-07-07 Matsushita Electric Ind Co Ltd 角形電池とその製造方法

Cited By (14)

* Cited by examiner, † Cited by third party
Publication number Priority date Publication date Assignee Title
JP2005183359A (ja) * 2003-11-28 2005-07-07 Matsushita Electric Ind Co Ltd 角形電池とその製造方法
KR100590046B1 (ko) 2004-11-30 2006-06-14 삼성에스디아이 주식회사 이차 전지 및 이차 전지 모듈
JP2010521046A (ja) * 2007-05-29 2010-06-17 ビーワイディー カンパニー リミテッド バッテリーパック
JP2010027521A (ja) * 2008-07-23 2010-02-04 Toyota Motor Corp 密閉型電池
JP2010097818A (ja) * 2008-10-16 2010-04-30 Toyota Motor Corp 電極端子支持構造および電極端子支持方法
US8828600B2 (en) 2009-07-24 2014-09-09 Toyota Jidosha Kabushiki Kaisha Battery with reinforcing member for press-fitted terminal
CN102057517B (zh) * 2009-07-24 2014-03-12 丰田自动车株式会社 电池的制造方法、在该制造方法中使用的冲压工具、以及电池
WO2011010350A1 (ja) 2009-07-24 2011-01-27 トヨタ自動車株式会社 電池の製造方法、及びそれに用いるプレス工具、並びに電池
CN102656716A (zh) * 2010-01-12 2012-09-05 丰田自动车株式会社 电池的制造方法以及电池
CN102656716B (zh) * 2010-01-12 2014-12-17 丰田自动车株式会社 电池的制造方法以及电池
EP2541650A1 (en) * 2011-06-30 2013-01-02 SB LiMotive Co., Ltd. Rechargeable battery having improved gasket and terminal structure
US9236596B2 (en) 2011-06-30 2016-01-12 Samsung Sdi Co., Ltd. Rechargeable battery
WO2021065335A1 (ja) 2019-09-30 2021-04-08 株式会社村田製作所 二次電池
US20220085344A1 (en) * 2020-06-12 2022-03-17 Zhuhai Xunda Technology Co., Ltd. Button battery and manufacturing method therefor

Also Published As

Publication number Publication date
JP4590911B2 (ja) 2010-12-01

Similar Documents

Publication Publication Date Title
KR101901768B1 (ko) 축전 소자
US10665827B2 (en) Cap assembly for a second battery and second battery
JP5945904B2 (ja) 蓄電素子の製造方法
EP2479815B1 (en) Electric storage device
JP4375660B2 (ja) 密閉型電池
US8945760B2 (en) Storage element and terminal fabricating method
US8795882B2 (en) Battery
JP5920650B2 (ja) 蓄電素子
US9118051B2 (en) Battery and method of manufacturing the same
CN102064333B (zh) 电池
KR101097221B1 (ko) 이차전지
JP4530333B2 (ja) 密閉型電池
JPWO2017115854A1 (ja) 蓄電素子及び蓄電素子の製造方法
JP4590911B2 (ja) 電池
JP6693042B2 (ja) 蓄電素子
JP4451654B2 (ja) リチウム二次電池
JP6428123B2 (ja) 蓄電素子
JP6456802B2 (ja) 電流遮断装置とそれを用いた蓄電装置
JP6394983B2 (ja) 車載用電池の端子構造
JP6103225B2 (ja) 蓄電装置
CN218788441U (zh) 顶盖组件与单体电池
JP5041457B2 (ja) 密閉型電池
JP2019053883A (ja) 密閉型電池

Legal Events

Date Code Title Description
A621 Written request for application examination

Free format text: JAPANESE INTERMEDIATE CODE: A621

Effective date: 20070108

A977 Report on retrieval

Free format text: JAPANESE INTERMEDIATE CODE: A971007

Effective date: 20100531

A131 Notification of reasons for refusal

Free format text: JAPANESE INTERMEDIATE CODE: A131

Effective date: 20100615

A521 Request for written amendment filed

Free format text: JAPANESE INTERMEDIATE CODE: A523

Effective date: 20100713

TRDD Decision of grant or rejection written
A01 Written decision to grant a patent or to grant a registration (utility model)

Free format text: JAPANESE INTERMEDIATE CODE: A01

Effective date: 20100817

A01 Written decision to grant a patent or to grant a registration (utility model)

Free format text: JAPANESE INTERMEDIATE CODE: A01

A61 First payment of annual fees (during grant procedure)

Free format text: JAPANESE INTERMEDIATE CODE: A61

Effective date: 20100830

FPAY Renewal fee payment (event date is renewal date of database)

Free format text: PAYMENT UNTIL: 20130924

Year of fee payment: 3

FPAY Renewal fee payment (event date is renewal date of database)

Free format text: PAYMENT UNTIL: 20130924

Year of fee payment: 3

LAPS Cancellation because of no payment of annual fees