JP2005299172A - 手摺り支柱用ブラケット、先行手摺り組立セット、枠組足場 - Google Patents

手摺り支柱用ブラケット、先行手摺り組立セット、枠組足場 Download PDF

Info

Publication number
JP2005299172A
JP2005299172A JP2004115463A JP2004115463A JP2005299172A JP 2005299172 A JP2005299172 A JP 2005299172A JP 2004115463 A JP2004115463 A JP 2004115463A JP 2004115463 A JP2004115463 A JP 2004115463A JP 2005299172 A JP2005299172 A JP 2005299172A
Authority
JP
Japan
Prior art keywords
handrail
support
building frame
column
bracket
Prior art date
Legal status (The legal status is an assumption and is not a legal conclusion. Google has not performed a legal analysis and makes no representation as to the accuracy of the status listed.)
Granted
Application number
JP2004115463A
Other languages
English (en)
Other versions
JP4183654B2 (ja
Inventor
Yutaka Morita
豊 森田
Hiroshi Eda
宏 江田
Takashi Nagumo
隆司 南雲
Current Assignee (The listed assignees may be inaccurate. Google has not performed a legal analysis and makes no representation or warranty as to the accuracy of the list.)
HORII ENGINEERING KK
Original Assignee
HORII ENGINEERING KK
Priority date (The priority date is an assumption and is not a legal conclusion. Google has not performed a legal analysis and makes no representation as to the accuracy of the date listed.)
Filing date
Publication date
Application filed by HORII ENGINEERING KK filed Critical HORII ENGINEERING KK
Priority to JP2004115463A priority Critical patent/JP4183654B2/ja
Publication of JP2005299172A publication Critical patent/JP2005299172A/ja
Application granted granted Critical
Publication of JP4183654B2 publication Critical patent/JP4183654B2/ja
Anticipated expiration legal-status Critical
Expired - Lifetime legal-status Critical Current

Links

Images

Classifications

    • EFIXED CONSTRUCTIONS
    • E04BUILDING
    • E04GSCAFFOLDING; FORMS; SHUTTERING; BUILDING IMPLEMENTS OR AIDS, OR THEIR USE; HANDLING BUILDING MATERIALS ON THE SITE; REPAIRING, BREAKING-UP OR OTHER WORK ON EXISTING BUILDINGS
    • E04G5/00Component parts or accessories for scaffolds
    • E04G5/14Railings
    • E04G5/147Railings specially adapted for mounting prior to the mounting of the platform

Landscapes

  • Engineering & Computer Science (AREA)
  • Architecture (AREA)
  • Mechanical Engineering (AREA)
  • Civil Engineering (AREA)
  • Structural Engineering (AREA)
  • Steps, Ramps, And Handrails (AREA)

Abstract

【課題】 製造が容易であり、僅かな製造コストであるにも拘わらず、現場への搬送、現場での組立又は解体が容易な手摺り支柱用ブラケット、先行手摺り組立セット及び先行手摺り組立セットを備えた枠組足場を提供する。
【解決手段】 建枠26の脚柱27に挿脱するジョイントピン2の中間部の拡径凸部2aに、手摺り支柱20を着脱自在に支持する支柱支持部材6を設ける。必要に応じて、支柱支持部材6には建枠26の脚柱27の外周面に当接する凹部7aを設ける。
【選択図】 図1

Description

この発明は、例えば、土木、建築等の工事現場において、橋梁の脚柱の周りや建築物の外壁に沿って作業足場を組立てる際に使用する枠組足場を構成する手摺り支柱用ブラケット、先行手摺り組立セットと、手摺り支柱用ブラケットを備えた枠組足場に関する。
従来から、土木、建築等の工事現場では、いわゆる鳥居型の建枠を使用した枠組足場が広く使用されている。
図17に、従来の枠組足場の代表例として縦一列だけを斜視図で示す。
従来の枠組足場を構築する建枠40は、2本の脚柱41を有し、脚柱41の上端を腕木42で連結している。腕木42と脚柱41の間は、連結補強材43で補強している。建枠40は上下左右に増設されることで、必要な大きさの作業足場が完成する。
隣り合った左右の建枠40,40相互間には筋交い44を斜めに渡すと共に、腕木42に足場板46が水平に架設される。建枠40の脚柱41は管材が使われており、下段の建枠40aの脚柱41aの上端開口部と上段の建枠40bの脚柱41bの下端開口部とはジョイントピン47によって連結されることで、縦方向に段数を重ねることかできるようになっている。腕木42の高さは一定であるから、各段毎に水平に連続した足場板46による作業足場が組立られる。
枠組足場を組み立てるときは、下段の枠組足場を作り、下段に上段の足場を重ねていき、解体のときは逆に、上段から順次下段に向かって解体していく。枠組足場の組み立て、解体に際しては、最上段の足場46板の上面に立って組立、解体作業を行う。
しかしながら、組み立て時には最上段の足場板46の周囲には、建枠40の脚柱41や手摺りがないので、作業者には転落の危険があるという問題点があった。
そこで、従来の枠組足場の形状を変えずに、最上段の足場板上の作業に先行して手摺り設けることで作業者の安全を確保しようとした、いわゆる先行手摺りを採用した枠組足場の構築法が提案されている(特許文献1を参照のこと)。
図18は、従来の枠組足場に先行手摺りを取り付ける組立作業の例を示す枠組足場の正面図である。
この枠組足場にあっては、建枠Tに固定金具56によって着脱可能に固定される複数本の垂直方向の手摺柱54と、この手摺柱54を連結する水平方向の伸縮手摺55で構成し、組立分解時において、建枠Tの上下の段数が変化するときに1本の手摺柱54を固定金具56に沿って上下に移動させると、一端が他の手摺柱54に連結された伸縮手摺55が伸長して斜め方向になり、各手摺柱54が伸縮手摺55で常に連結されるように構成されている。
図示していないが、前記固定金具56は、金具本体の正面に縦方向のスリットが形成された四角筒体であり、金具本体内部に手摺柱54が上下にスライドできるようになっているため、金具本体には多くの構成部材により構成されており、建枠Tへの固定金具の取り付け作業や手摺柱54の盛り替え作業の他、その解体作業が面倒なものとなっていた。
特開2001−288883号公報
以上のように、改良を加えていない従来の鳥居型の建枠を使用した枠組足場は、作業者の安全対策が十分ではなく、作業性にも問題点があった。
また、従来の鳥居型の建枠に手摺柱用の固定金具を設ける枠組足場は、複雑な構造であり、組立作業や解体作業に手間が掛かり新たなコストの発生を招いていた。同様に、伸縮手摺の構造も伸縮可能な複雑な構造であり、その取り付けや取り外しに手間が掛かり新たなコストの発生を招いていた。
そこで、この発明は、製造が容易であり、僅かな製造コストであるにも拘わらず、現場への搬送、現場での組立又は解体が容易な手摺り支柱用ブラケット、先行手摺り組立セット及び手摺り支柱用ブラケットを備えた枠組足場を提供することを課題としている。
そこで、かかる課題を解決するため、請求項1に記載の発明は、建枠の脚柱に挿脱するジョイントピンの中間部の拡径凸部に、手摺り支柱を着脱自在に支持する支柱支持部材を設けていることを特徴とする。
これにより、ジョイントピンとに支柱支持部材とが一体に構成されていることから、建枠を使用して枠組足場を上方に構築して行く際に、下層階の建枠の脚柱と上層階の建枠の脚柱との接続に必然的に使用されるジョイントピンを下層階の建枠の脚柱の上端開口部に挿着すると同時に、手摺り支柱を支持する支柱支持部材が下層階の建枠の上端部に取り付けられることになる。
請求項2に記載の発明は、請求項1に記載の構成に加えて、前記支柱支持部材には建枠の脚柱の外周面に当接する凹部が設けられていることを特徴とする。
これにより、建枠の脚柱の内部をジョイントピンが支え、建枠の脚柱の外周面を支柱支持部材の一部が支えることになるから、手摺り支柱用ブラケットが建枠に対してしっかりと固定される。
請求項3に記載の発明は、一対の請求項1又は2に記載の手摺り支柱用ブラケットと、前記支柱支持部材に取り付けられた一対の手摺り支柱と、該一対の手摺り支柱同士を連結する手摺り棒とからなり、前記手摺り支柱の少なくとも上端部には手摺り棒係止部を有し、前記手摺り棒の両端部には前記手摺り棒係止部に係合する係合孔を有し、前記手摺り支柱に対して前記手摺り棒が前記手摺り棒係止部を中心にして揺動自在に取り付けられることを特徴とする。
これにより、一対の手摺り支柱の手摺り棒係止部に手摺り棒の両端部の係合孔を係合した状態で、一方の手摺り支柱に対して他方の手摺り支柱を上下に動かすことができるから、一対の手摺り支柱に手摺り棒が取り付けられた状態で一方の手摺り支柱を一対の建枠の一方の建枠に下層階から先に取り付け、その後で他方の手摺り支柱を下層階から持ち上げて他方の建枠に取り付けることができる。
請求項4に記載の発明は、建枠の脚柱の上端開口部に、請求項1又は2に記載の手摺り支柱用ブラケットの前記ジョイントピンの下部を挿着し、前記建枠の脚柱と前記手摺り支柱用ブラケットと前記ジョイントピントの下部とを、これらを貫通する1本のねじ棒で固定した前記建枠を水平方向と垂直方向に複数配置し、水平方向に向かい合う前記建枠同士に足場板を掛け渡してなることを特徴とする。
これにより、手摺り支柱を着脱自在に支持する支柱支持部材を備えた手摺り支柱用ブラケットがすべての建枠にセットされることになるので、最上階を含む各階層に先行手摺り組立セットが取り付けることができる。そのため、組立時と解体時の最上階での作業の安全を確保するには最上階にのみ手摺りがあればよいので、縦一列の枠組足場に対して一つの先行手摺り組立セットを使用することとし、一つの先行手摺り組立セットを上層階に順次盛り替えていくことも可能となる。
以上説明したように、請求項1に記載の発明によれば、枠組足場を上方に構築して行く際に、下層階の支柱と上層階の支柱との接続に必然的に使用されるジョイントピンと支柱支持部材とが一体に構成されているので、従来のように手摺り支柱支持部材を取り付けるための特別な時間を必要としない。したがって、ほぼ通常の枠組足場の組立時間で効率よく手摺り支柱を取り付けるための手摺り支柱用ブラケットを建枠に取り付けることができる。また、構造が簡単なので製造が容易であり、僅かな製造コストであるにも拘わらず、現場への搬送、現場での組立又は解体が容易な手摺り支柱用ブラケットを提供することができる。
さらに、手摺り支柱支持部材には手摺り支柱を着脱自在に支持できる構造であるので、手摺り支柱を上層階に転用することもできる。また、手摺り支柱が邪魔な場合などには簡単に取り外すことができる。
請求項2に記載の発明によれば、請求項1の効果に加え、建枠に対して手摺り支柱を支持する手摺り支柱用ブラケットがしっかりと固定されるため、手摺り支柱がぐらつくようなことがなく、安全作業が確保できると共に作業者に安心感を与えることにもなる。
請求項3に記載の発明によれば、請求項1又は2の効果に加え、一対の手摺り支柱の手摺り棒係止部に手摺り棒の両端部の係合孔を係合した状態で一方の手摺り支柱に対して他方の手摺り支柱を上下に動かすことで、下層の足場板の上から上層の手摺り棒の取り付けが容易にできるから、最上段の足場板上の作業に先行して手摺り設けることで作業者の安全を確保できる。
請求項4に記載の発明によれば、請求項1又は2の効果に加え、先行手摺り支柱を備えた先行手摺り組立セットが各階層の建枠にセットされているので、先行手摺り組立セットを備えた枠組足場を容易に組み立てることができる。また、手摺り支柱は手摺り支柱用ブラケットと、手摺り支柱用ブラケットは建枠の脚柱と、それぞれ着脱自在なので、手摺り支柱及び手摺り支柱用ブラケットを取り外すことにより、従来の建枠と分離することができるので、保管時及び運搬時にも効率よく車等に積載することができるので流通コストの低減が図れる。
以下、この発明に係る手摺り支柱用ブラケットの実施の形態1乃至3について図1乃至7により説明する。
図1は、この発明に係る手摺り支柱用ブラケットの実施の形態1の正面図である。図2は、同実施の形態1の平面図である。図3は、同実施の形態1の左側面図である。図4は、同実施の形態2の正面図である。図5は、同実施の形態2の平面図である。図6は、同実施の形態3の正面図である。図7は同実施の形態3の平面図である。
[手摺り支柱用ブラケットの実施の形態1]
まず、この発明に係る手摺り支柱用ブラケットの実施の形態1の構成について、図1乃至3により説明する。
図1乃至図3に示したように、手摺り支柱用ブラケット1は、金属製管材からなる軸心方向の中間部外周面に拡径凸部2aを有するジョイントピン2と、金属製板材を折り曲げて平面形状が略コ字状に形成され、手摺り支柱20を着脱自在に支持する固定手段を備えた支柱支持部材6とを有し、支柱支持部材6がジョイントピン2の拡径凸部2aに、例えば、溶接により固着されて、支柱支持部材6とジョイントピン2とが一体化されている。
ジョイントピン2は、拡径凸部2aを挟んで拡径凸部2aより縮径された上部挿入部2bと下部挿入部2cとが一体に形成されている。上部挿入部2bの上部には軸心方向に向かって係止孔2d,2dが穿設されている。また、下部挿入部2cの下方位置で、係止孔2dと同じ方向にボルト挿入孔2e,2eが穿設されている。係止孔2d,2dには、略U字状の板バネ4の両先端部の外側に向けてロックピン5,5が取り付けられた弾発ピン部材3をジョイントピン2の上部挿入部2b内に挿入して、ロックピン5,5部が係止孔2d,2dに係合されてジョイントピン2の外周面より外方に出没自在に突出している。弾発ピン部材3は、板バネ4により外方に付勢されたロックピン5,5部が、建枠27の脚柱に穿設された係止孔(図示せず)に係合することにより、上側の建枠27に手摺り支柱用ブラケット1が固定されるようになっている。
支柱支持部材6は、対面する二辺と、2枚の連結補強板8,9の両端部及び1つの固定部材7の両端部とが、例えば、溶接により固着されている。そして、図2において、左側の連結補強板8の左方の中空部は手摺り支柱20が挿入される支柱挿入部10になっている。また、図1において、正面形状が略コ字状に形成された支柱支持部材6の右方上部には対面する2辺の連結部6a,6aが形成されていて、この下方には対面する2辺の支柱当接部6b,6bが形成されている。
固定部材7の平面形状は、図2に示したように、建枠26の脚柱27の外周面に対応した凹部7aを有しており、建枠26の脚柱27をしっかりと把持することに寄与している。さらに、支柱支持部材6の中間部の対面する2辺には、板厚方向に貫通する係止孔6d,6dが穿設されている。また、支柱支持部材6の下部には、ジョイントピン2に向かうボルト挿入孔6e,6eが穿設されている。そして、この下方に紐状部材14を掛止するための掛止部6cが突設されている。
[手摺り支柱用ブラケットの実施の形態2]
次に、この発明に係る手摺り支柱用ブラケットの実施の形態2について説明する。
ただし、実施の形態2の説明にあたっては、実施の形態1と同一構成部分については同一符号を付して重複する説明を省略する。
手摺り支柱用ブラケットの実施の形態2(1A)がその実施の形態1と異なる点は、図4及び図5に示したように、支柱支持部材6が手摺り支柱20が嵌入できる大きさの貫通孔10aを有する金属製の管材で形成されおり、支柱支持部材6とジョイントピン2とを連結部材16を介して、例えば、溶接により固着すると共に、支柱支持部材6の下部には連結部材16と略同一形状の支柱当接部材17が固着されていることである。
連結部材16と支柱当接部材17とは略角筒状に形成されていて、対応する二組の対辺のうちの一組の対向する二辺は、ジョイントピン2の拡径凸部2aの外周面形状に対応させた凹部16b及び支柱支持部材6の外周面形状に対応させた凹部17bが形成されている。
このように構成された手摺り支柱用ブラケットの実施の形態2(1A)においても、実施の形態1と同様の作用効果が得られると共に、支柱支持部6Aが手摺り支柱20と同形状の円筒状なので、手摺り支柱20の収まりがよく、手摺り支柱20のぐらつきを一層減少させることができる。
[手摺り支柱用ブラケットの実施の形態3]
次に、この発明に係る手摺り支柱用ブラケットの実施の形態3について説明する。
ただし、実施の形態3の説明にあたっては、実施の形態1と同一構成部分については同一符号を付して重複する説明を省略する。
手摺り支柱用ブラケットの実施の形態3(1B)がその実施の形態1と異なる点は、図6及び図7に示したように、金属製の管材の支柱支持部材6の一部をジョイントピン2と同一形状の第2のジョイントピン2Bとし、この第2のジョイントピン2Bの拡径凸部2aとジョイントピン2の拡径凸部2aとを連結部材18を介して、例えば、溶接により固着されていると共に、支柱支持部材6の下部には連結部材18と略同一形状の支柱当接部材19が固着されていることである。
連結部材18と支柱当接部材19とは略角筒状に形成されていて、対応する二組の対辺のうちの一組の対向する二辺は、ジョイントピン2の拡径凸部2aの外周面形状に対応させた凹部18b及び支柱支持部材6の外周面形状に対応させた凹部19bが形成されている。
このように構成された手摺り支柱用ブラケットの実施の形態3(1B)においても、実施の形態1と同様の作用効果が得られると共に、支柱支持部材6としてジョイントピン2と同一形状のものを使用するため、製造コストが低減できる利点がある。
次に、手摺り支柱用ブラケットに手摺り支柱を取り付ける方法及び手摺り支柱用ブラケットを建枠に取り付ける方法について説明する。
図8は、手摺り支柱用ブラケットに手摺り支柱を取り付けた状態を示す側面図である。
手摺り支柱用ブラケット1に手摺り支柱20を取り付ける場合には、図8に示したように、手摺り支柱20に突設された手摺り棒係止部21,21を内側(建枠側)に向けて、手摺り支柱20の下部を支柱挿入部10に上方から挿入して、手摺り支柱20及び支柱支持部材6に穿設された係止孔6d,6dを介して係止ピン13により固定される。係止ピン13は、紛失しないように支柱支持部材6に突設された掛止部6cに吊止された紐状部材14により掛止されている。係止ピン13は、金属棒の先端部寄りの内部に形成された空洞内に弾性部材により外方に向けて付勢された係止部材13aにより、係止ピン13の外周面より飛び出した状態に出没自在に収容されている。これにより、係止孔6d,6dへの係止ピン13の挿脱が容易であると共に、ある程度の強い力で引き抜かない限り、自然に抜け落ちることはない。
図9は、手摺り支柱を有する手摺り支柱用ブラケットを建枠に取り付けた状態を示す正面図である。
建枠26に手摺り支柱用ブラケット1を取り付ける場合には、図8及び図9に示したように、下側の建枠26aの支柱27aの上端開口部に手摺り支柱用ブラケット1のジョイントピン2の下部挿入部2cを挿入して、支柱支持部材6のボルト挿入孔6e、建枠26の支柱27のねじ棒挿入孔(図示せず)、及びジョイントピン2のねじ棒挿入孔2e,2eを介してねじ棒11を挿入してねじ棒11の先端にナット12を螺合することにより、建枠26aの支柱27aに手摺り支柱用ブラケット1が固定される。
次に、手摺り棒係止部と手摺り棒との関係及び先行手摺り組立セットについて、図10乃至図14により説明する。
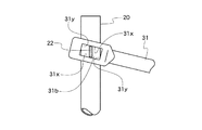
図10は、手摺り支柱の手摺り棒係合部に手摺り棒を係止させた状態の要部拡大図である。図11は、手摺り支柱の中間部を省略した正面図である。図12は、手摺り支柱の中間部を省略した右側面図である。図13は、手摺り棒の中間部を省略した正面図である。図14は、手摺り支柱の手摺り棒係合部に手摺り棒の一端を斜め下方から係止させた状態を示した説明図である。
この発明に係る先行手摺り組立セットUは、長尺の管材である手摺り支柱20の中間部より上方の外周面に突設された2個の手摺り棒係止部21,21(係止板22,22)を備えた手摺り支柱20が、この発明の手摺り支柱用ブラケット1の支柱支持部材6に着脱自在な固定手段により支持されている。
手摺り支柱20は、長尺の管材の高さ方向の下端部で、管材の軸心方向に向かって対向させた2つのU字状切欠部20a,20aがその板厚を貫通して形成されている。このすぐ上方位置に、このU字状切欠部20aと直交する方向に係止孔20b,20bがその板厚を貫通させて穿設されている。また、管材の上端部近傍及びその位置から所定の寸法を隔てた下方位置に、係止孔20b,20bと直交する方向を向いた板状の手摺り棒係止部21,21(係止板22,22)が突設されている。
図10乃至図12に示したように、手摺り棒係止部21を構成する係止板22,22はその板面を直立させた状態で、その長さ方向の一端を管材である手摺り支柱20に取り付けている。係止板22,22は、長手方向の上下の辺縁に波形の凹凸を形成してある。つまり、手摺り棒31が係止自在な凹部22bを係止板22の上下の辺縁部に有している上縁は凸部22aを2箇所と、これらに対応する凹部22bを2箇所に設けてある。上縁の波形と下縁の波形は同調することなく、下縁は凸部22aを3箇所とこれらに対応する凹部22bを2箇所設けてある。係止板22の先端に位置する凸部22aの端部は丸みを持たせることで、手摺り棒31の開口部31a,31bの取り付け、取り外しを容易にすると共に作業者への安全を考慮した形状としている。
なお、手摺り用支柱20の手摺り係止部21は、少なくとも手摺り用支柱20の上端部に一つ設ければよいが、図10及び図11で示したように、その長手方向に所定の間隔を置いて2つ設けることで、手摺り棒11を2本平行に配置して、枠組足場の開口部をより小さくして作業の安全性を高めることが望ましい。
手摺り棒31は、両端に支柱係合部32,32を有している。手摺り棒31は管体で形成してあり、その支柱係合部32,32は、管体両端をそれぞれを前後から潰して部分的に垂直板部を形成し、その垂直板部の内側を矩形状にくり抜いて形成してある。すなわち、手摺り棒には、一方の開口部31aと他方の開口部31bとを設けている。
それぞれの開口部31a,31bは、手摺り支柱20の係止板22が差し込み自在な大きさにくり抜いてある。具体的には、開口部31a,31bは、図14に示したように、手摺り棒31の軸心を手摺り支柱20の軸心と平行乃至傾斜させて係止板22にあてがった時に、凸部22aの最大寸法よりも大きな寸法を有する平行な対向二辺31y,31yを有している。つまり、開口部31a,31bの手摺り棒31の軸心と平行な対向二辺31x,31xの間隔は係止板22の凹部22bよりも広く凸部22aよりも狭い寸法に形成されており、開口部31a,31bの手摺り棒31の軸心と直交する対向二辺31y,31yの間隔は係止板22の手摺り支柱20の軸心と平行な凸部22aの最大寸法よりも小さな寸法に形成されている。
このため、手摺り棒31を手摺り支柱20の軸心と平行乃至傾斜させて係止板22に宛ったときに、手摺り棒31の開口部31a,31bが係止板22の凸部22aを通過して一気に係止板22の付け根部まで到達させることができる。
一方、手摺り棒31を手摺り支柱20の軸心と直交させた場合、(手摺り棒31が直立した手摺り支柱20に取り付けられた水平な姿勢の場合)には、開口部31aの手摺り棒31の軸心と平行な対向二辺31x,31xの間隔は、係止板22の手摺り支柱20の軸心と平行な凸部22aの最大寸法より小さい関係にあるから、係止板22に手摺り支柱20の支柱係合部32を係合させた状態では、手摺り棒31の重心の関係で支柱係合部32の垂直板部32aが垂直な姿勢に保たれる。そこで、この状態(手摺り棒31が直立した手摺り支柱20に取り付けられた水平な姿勢)のまま係止板22の先端側へ手摺り棒31を引っ張ったとしても、開口部31a,31bが係止板22の凸部22aを通過することができないから、手摺り棒31を手摺り支柱20から取り外すことはできない。
ただし、係止板22の凹部22bから凸部22aの先端までの差し渡し寸法を開口部31a,31bの手摺り棒31の軸心と平行な対向二辺31x,31xの間隔より僅かに小さい寸法に設定しておくことで、図10に示したように、開口部31a,31bの手摺り棒31の軸心と平行な対向二辺31x,31xの向かい合う壁の一方を係止板22の凹部22bに接触させて手摺り棒31の軸心を中心に垂直板部32aを係止板22の先端側へ対向二辺31x,31xの向かい合う他方の壁が係止板22の凸部22aを乗り越えさせるといった動作を繰り返せば、手摺り棒31は水平な状態のままでも手摺り棒31を手摺り支柱20から外すことができる。しかしながら、これは作業者が意識的にそのような操作を行った場合であって風が吹いたり作業者の体が手摺り棒31に触れた程度では手摺り棒31が係止板22から外れるようなことはないので、作業者の高所での作業の安全が保証される。
次に、この発明に係る先行手摺り組立セットを建枠枠に取り付けて枠組足場を構築する方法を、図15及び図16によって説明する。
図15は、先行手摺り組立セットを取り付ける様子を示した枠組足場を側面から見た状態の概略図を示している。図16は、先行手摺り組立セットを取り付ける様子を示した枠組足場を正面図から見た状態の概略図である。
構築が終わった下層段の建枠26aを実線で示し、構築予定の上段の建枠26bを二点鎖線で示している。下層段には、建枠26a、筋交い(図示せず)、足場板Pなどが既に取り付けてある。作業者は、下層段の足場板P上にいて上層段の手摺り用支柱20と手摺り棒31とを組んでいく。
最初に手摺り棒31を一方の手摺り用支柱20に架けるときは、図14に示したように、一方の手摺り用支柱20に対して手摺り棒31を傾けるようにして行う。そして、手摺り棒31を他方の手摺り用支柱20に対して傾けながら架けるときは、図16に示したように、既に下段の建枠26aの脚柱27aに固定されている一方の手摺り支柱20の手摺り棒係止部21を回動軸として、他方の手摺り支柱20を持ち上げて、その下端部を支柱支持部材6に挿着して、係止ピン13を支柱支持部材6の係止孔6d,6dと手摺り用支柱20の係止孔20bに挿通させて、手摺り用支柱20が支柱支持部材6から脱落しないように固定する。
枠組足場の構築に当たり、正面から見て手摺り棒31を傾けて手摺り棒31の一方の開口部31aを左右一対の手摺り用支柱20のいずれか一方の手摺り棒係止部21に係合する。
以上のような手順で左右一対の手摺り用支柱20,20を左右一対の建枠26,26の脚柱27に取り付けるようにすれば、手摺り用支柱20が建枠26に取り付けられた段階で、左右一対の手摺り用支柱20,20の間、つまり左右一対の建枠26,26の間には手摺り棒31が水平な状態で存在することになる。
そして、下層段の建枠26aの脚柱27aの上端開口部にジョイントピン2を差し込み、上層段の足場板P上で左右一対の新たな(上層段の)建枠26b,26bの脚柱27bの下端開口部をジョイントピン2の上端部に差し込み上段の建枠26bを組み付ける。次に、その左右一対の建枠26b,26b間に筋交いを取り付けて上段の枠組足場を完成させる。
次に、支柱支持部材6に挿通されている係止ピン13を抜いて、下層段の建枠26aに取り付けられていた手摺り支柱用ジョイント1に取り付けられていた手摺り用支柱20を取り外して、その取り外した手摺り棒31の付いた手摺り用支柱20を新たな(上層段の)建枠26bの支柱27bに取り付けるといった作業を繰り返す。これにより、左右一対の手摺り用支柱20,20とその手摺り用支柱20に取り付けられた手摺り棒31との先行手摺り組立セットUを左右一対の建枠26,26の縦一列に対して1セットだけ使用して、建枠26を積層していく際に常時最上段の建枠26に転用して行くことで、縦一列の枠組足場に対して先行手摺り組立セットUを1セット使用するだけで各段毎の足場板P上での安全作業が可能となる。
この例によれば、先行手摺り組立セットUは下段から上段に枠組足場を一段一段構築する度に取り外しと取り付けを繰り返すが、一旦取り付けた先行手摺り組立セットUは取り外さないで、各段毎に先行手摺り組立セットUを備え付けるようにしてもよい。この場合には、一単位であるすべての枠組足場毎に先行手摺り組立セットUが必要になるが、各段毎の取り外し作業が不要となる。いずれの方式を採用するかは、施工業者が工事の態様によって適宜選択すればよい。
この発明に係る手摺り支柱用ブラケットの実施の形態1の正面図である。 同実施の形態1の平面図である。 同実施の形態1の左側面図である。 同実施の形態2の正面図である。 同実施の形態2の平面図である。 同実施の形態3の正面図である。 同実施の形態3の平面図である。 手摺り支柱用ブラケットに手摺り支柱を取り付けた状態を示す側面図である。 手摺り支柱を有する手摺り支柱用ブラケットを建枠に取り付けた状態を示す正面図である。 手摺り支柱の手摺り棒係合部に手摺り棒を係止させた状態の要部拡大図である。 手摺り支柱の中間部を省略した正面図である。図12は、手摺り支柱の中間部を省略した右側面図である。 手摺り支柱の中間部を省略した右側面図である。 手摺り棒の中間部を省略した正面図である。 手摺り支柱の手摺り棒係合部に手摺り棒の一端を斜め下方から係止させた状態を示した説明図である。 先行手摺り組立セットを取り付ける様子を示した枠組足場を側面から見た状態の概略図を示している。 先行手摺り組立セットを取り付ける様子を示した枠組足場を正面図から見た状態の概略図である。 従来の枠組足場の代表例として一列だけを示した斜視図である。 従来の枠組足場に先行手摺りを取り付ける組立作業の例を示す枠組足場の正面図である。
符号の説明
1,1A,1B 手摺り支柱用ブラケット
2,2A ジョイントピン
2a 拡径凸部
2d 係止孔
2e ねじ棒挿入孔
6,6A,6B 支柱支持部材
6d 係止孔
6e ねじ棒挿入孔
7 固定部材
7a,16b,17b 凹部
10,10a 支柱挿入部
11 ねじ棒
12 ナット
13 係止ピン
16 連結部材
U 先行手摺り組立セット
20 手摺り支柱
20a U字状切欠部
20b 係止孔
21 手摺り棒係止部
22 係止板
22a 凸部
22b 凹部
26 建枠
27 支柱
31 手摺り棒
31a,31b 開口部
31x 軸心と平行な対向二辺
31y 軸心と直交する対向二辺
32 支柱係合部
P 足場板

Claims (4)

  1. 建枠の脚柱に挿脱するジョイントピンの中間部の拡径凸部に、手摺り支柱を着脱自在に支持する支柱支持部材を設けていることを特徴とする手摺り支柱用ブラケット。
  2. 前記支柱支持部材には建枠の脚柱の外周面に当接する凹部が設けられていることを特徴とする請求項1に記載の手摺り支柱用ブラケット。
  3. 一対の請求項1又は2に記載の手摺り支柱用ブラケットと、前記支柱支持部材に取り付けられた一対の手摺り支柱と、該一対の手摺り支柱同士を連結する手摺り棒とからなり、前記手摺り支柱の少なくとも上端部には手摺り棒係止部を有し、前記手摺り棒の両端部には前記手摺り棒係止部に係合する係合孔を有し、前記手摺り支柱に対して前記手摺り棒が前記手摺り棒係止部を中心にして揺動自在に取り付けられることを特徴とする先行手摺りユニット。
  4. 建枠の脚柱の上端開口部に、請求項1又は2に記載の手摺り支柱用ブラケットの前記ジョイントピンの下部を挿着し、前記建枠の脚柱と前記手摺り支柱用ブラケットと前記ジョイントピントの下部とを、これらを貫通する1本のねじ棒で固定した前記建枠を水平方向と垂直方向に複数配置し、水平方向に向かい合う前記建枠同士に足場板を掛け渡してなることを特徴とする枠組足場。
JP2004115463A 2004-04-09 2004-04-09 手摺り支柱用ブラケット、先行手摺り組立セット、枠組足場 Expired - Lifetime JP4183654B2 (ja)

Priority Applications (1)

Application Number Priority Date Filing Date Title
JP2004115463A JP4183654B2 (ja) 2004-04-09 2004-04-09 手摺り支柱用ブラケット、先行手摺り組立セット、枠組足場

Applications Claiming Priority (1)

Application Number Priority Date Filing Date Title
JP2004115463A JP4183654B2 (ja) 2004-04-09 2004-04-09 手摺り支柱用ブラケット、先行手摺り組立セット、枠組足場

Publications (2)

Publication Number Publication Date
JP2005299172A true JP2005299172A (ja) 2005-10-27
JP4183654B2 JP4183654B2 (ja) 2008-11-19

Family

ID=35331056

Family Applications (1)

Application Number Title Priority Date Filing Date
JP2004115463A Expired - Lifetime JP4183654B2 (ja) 2004-04-09 2004-04-09 手摺り支柱用ブラケット、先行手摺り組立セット、枠組足場

Country Status (1)

Country Link
JP (1) JP4183654B2 (ja)

Cited By (2)

* Cited by examiner, † Cited by third party
Publication number Priority date Publication date Assignee Title
JP2006207229A (ja) * 2005-01-27 2006-08-10 Horii Engineering Kk 先行手摺用固定金具及び先行手摺用固定金具付き建枠
JP2020110106A (ja) * 2019-01-15 2020-07-27 株式会社クボタ 圃場作業機

Cited By (3)

* Cited by examiner, † Cited by third party
Publication number Priority date Publication date Assignee Title
JP2006207229A (ja) * 2005-01-27 2006-08-10 Horii Engineering Kk 先行手摺用固定金具及び先行手摺用固定金具付き建枠
JP2020110106A (ja) * 2019-01-15 2020-07-27 株式会社クボタ 圃場作業機
JP7058614B2 (ja) 2019-01-15 2022-04-22 株式会社クボタ 圃場作業機

Also Published As

Publication number Publication date
JP4183654B2 (ja) 2008-11-19

Similar Documents

Publication Publication Date Title
JP2006176951A (ja) 法面の作業床構築システムと作業床構築装置及び作業床パネル
JP3851105B2 (ja) 仮設構造物の構築方法とこれに用いる手摺り筋交い
JP4183654B2 (ja) 手摺り支柱用ブラケット、先行手摺り組立セット、枠組足場
JP2001200632A (ja) 仮設構造物の構築方法
JP4204605B2 (ja) 組立足場
JP5809955B2 (ja) 仮設足場
JP5971878B1 (ja) 骨組構造物用構造材及びこれを用いた骨組構造物
JP7190134B2 (ja) 荷受けステージ及びその取付け方法
JP4909291B2 (ja) 足場用建枠
JP2003147954A (ja) 枠組足場の先行手摺
JP2001288883A (ja) 枠組足場の先行手摺
JP5485579B2 (ja) 出隅用仮設足場及びその構築方法
JP3220791U (ja) 足場用建枠、及び足場構造
JP4695433B2 (ja) わく組足場用手摺
JP4098213B2 (ja) 足場用建枠
JP2009191506A (ja) 手摺及び枠組足場
JPH09250235A (ja) 組み立て式足場
JP2001159231A (ja) 仮設構造物とその構築方法
JP5502396B2 (ja) 手摺支柱および先行手摺
JP3872481B2 (ja) 建枠及び建枠の製造方法
JP4789374B2 (ja) 仮設足場の建枠ユニット
JP3924567B2 (ja) 先行手摺り組立セット並びに先行手摺り用支柱
JP5745898B2 (ja) 先行手摺枠付き方杖型つなぎ材および仮設足場
JP2001173223A (ja) 足場板支持装置
JP2023042869A (ja) 仮設構造体

Legal Events

Date Code Title Description
A621 Written request for application examination

Free format text: JAPANESE INTERMEDIATE CODE: A621

Effective date: 20070326

A977 Report on retrieval

Free format text: JAPANESE INTERMEDIATE CODE: A971007

Effective date: 20080515

A131 Notification of reasons for refusal

Free format text: JAPANESE INTERMEDIATE CODE: A131

Effective date: 20080520

A521 Request for written amendment filed

Free format text: JAPANESE INTERMEDIATE CODE: A523

Effective date: 20080714

TRDD Decision of grant or rejection written
A01 Written decision to grant a patent or to grant a registration (utility model)

Free format text: JAPANESE INTERMEDIATE CODE: A01

Effective date: 20080819

A01 Written decision to grant a patent or to grant a registration (utility model)

Free format text: JAPANESE INTERMEDIATE CODE: A01

A61 First payment of annual fees (during grant procedure)

Free format text: JAPANESE INTERMEDIATE CODE: A61

Effective date: 20080902

FPAY Renewal fee payment (event date is renewal date of database)

Free format text: PAYMENT UNTIL: 20110912

Year of fee payment: 3

R150 Certificate of patent or registration of utility model

Ref document number: 4183654

Country of ref document: JP

Free format text: JAPANESE INTERMEDIATE CODE: R150

Free format text: JAPANESE INTERMEDIATE CODE: R150

FPAY Renewal fee payment (event date is renewal date of database)

Free format text: PAYMENT UNTIL: 20120912

Year of fee payment: 4

R250 Receipt of annual fees

Free format text: JAPANESE INTERMEDIATE CODE: R250

FPAY Renewal fee payment (event date is renewal date of database)

Free format text: PAYMENT UNTIL: 20130912

Year of fee payment: 5

R250 Receipt of annual fees

Free format text: JAPANESE INTERMEDIATE CODE: R250

R250 Receipt of annual fees

Free format text: JAPANESE INTERMEDIATE CODE: R250

R250 Receipt of annual fees

Free format text: JAPANESE INTERMEDIATE CODE: R250

R250 Receipt of annual fees

Free format text: JAPANESE INTERMEDIATE CODE: R250

R250 Receipt of annual fees

Free format text: JAPANESE INTERMEDIATE CODE: R250

R250 Receipt of annual fees

Free format text: JAPANESE INTERMEDIATE CODE: R250

S111 Request for change of ownership or part of ownership

Free format text: JAPANESE INTERMEDIATE CODE: R313111

R350 Written notification of registration of transfer

Free format text: JAPANESE INTERMEDIATE CODE: R350

R250 Receipt of annual fees

Free format text: JAPANESE INTERMEDIATE CODE: R250

S533 Written request for registration of change of name

Free format text: JAPANESE INTERMEDIATE CODE: R313533

R350 Written notification of registration of transfer

Free format text: JAPANESE INTERMEDIATE CODE: R350

R250 Receipt of annual fees

Free format text: JAPANESE INTERMEDIATE CODE: R250

R250 Receipt of annual fees

Free format text: JAPANESE INTERMEDIATE CODE: R250

R250 Receipt of annual fees

Free format text: JAPANESE INTERMEDIATE CODE: R250

R250 Receipt of annual fees

Free format text: JAPANESE INTERMEDIATE CODE: R250

R250 Receipt of annual fees

Free format text: JAPANESE INTERMEDIATE CODE: R250

EXPY Cancellation because of completion of term