JP2005239052A - Motorcycle front fork - Google Patents

Motorcycle front fork Download PDF

Info

Publication number
JP2005239052A
JP2005239052A JP2004054058A JP2004054058A JP2005239052A JP 2005239052 A JP2005239052 A JP 2005239052A JP 2004054058 A JP2004054058 A JP 2004054058A JP 2004054058 A JP2004054058 A JP 2004054058A JP 2005239052 A JP2005239052 A JP 2005239052A
Authority
JP
Japan
Prior art keywords
cylinder shaft
fork
shaft
support cylinder
bottom bridge
Prior art date
Legal status (The legal status is an assumption and is not a legal conclusion. Google has not performed a legal analysis and makes no representation as to the accuracy of the status listed.)
Granted
Application number
JP2004054058A
Other languages
Japanese (ja)
Other versions
JP4559752B2 (en
Inventor
Hisatoshi Kobayashi
久利 小林
Current Assignee (The listed assignees may be inaccurate. Google has not performed a legal analysis and makes no representation or warranty as to the accuracy of the list.)
Honda Motor Co Ltd
Original Assignee
Honda Motor Co Ltd
Priority date (The priority date is an assumption and is not a legal conclusion. Google has not performed a legal analysis and makes no representation as to the accuracy of the date listed.)
Filing date
Publication date
Application filed by Honda Motor Co Ltd filed Critical Honda Motor Co Ltd
Priority to JP2004054058A priority Critical patent/JP4559752B2/en
Priority to CNB200510005879XA priority patent/CN100384687C/en
Publication of JP2005239052A publication Critical patent/JP2005239052A/en
Application granted granted Critical
Publication of JP4559752B2 publication Critical patent/JP4559752B2/en
Anticipated expiration legal-status Critical
Expired - Fee Related legal-status Critical Current

Links

Images

Landscapes

  • Steering Devices For Bicycles And Motorcycles (AREA)
  • Axle Suspensions And Sidecars For Cycles (AREA)
  • Vibration Dampers (AREA)
  • Fluid-Damping Devices (AREA)

Abstract

【課題】 自動二輪車の前輪を懸架するフロントフォークのボトムブリッジへの溶接取付を強化し、また、ダンパ弾性部材による緩衝と車両の乗り心地を向上させる。
【解決手段】 ステアリング軸26の下端に取り付けられるボトムブリッジ27に切欠き27fを設け、フォークパイプの支持筒軸50上端を当て付けて切欠き27fを通してボトムブリッジ27に溶接し、溶接範囲を十分に確保することによりボトムブリッジ27とフォークパイプとの取付け強度を向上させる。更に、いずれか一方のフォークパイプの支持筒軸50にのみ内部にダンパ弾性部材53を設け、ダンパ弾性部材を設けない側の可動筒軸51の長さを長くして、支持筒軸50と可動筒軸51との嵌合長をより長くして、フロントフォークの強度剛性をより高め可動筒軸51の円滑な摺動を実現した。
【選択図】 図2
PROBLEM TO BE SOLVED: To strengthen welding attachment to a bottom bridge of a front fork for suspending a front wheel of a motorcycle, and improve shock absorption and vehicle ride comfort by a damper elastic member.
A bottom bridge 27 attached to the lower end of a steering shaft 26 is provided with a notch 27f, and the upper end of a support cylinder shaft 50 of a fork pipe is applied to the bottom bridge 27 and welded to the bottom bridge 27 through a notch 27f, thereby providing a sufficient welding range. By securing, the attachment strength between the bottom bridge 27 and the fork pipe is improved. Furthermore, a damper elastic member 53 is provided inside only the support cylinder shaft 50 of any one of the fork pipes, and the movable cylinder shaft 51 on the side where the damper elastic member is not provided is lengthened to be movable with the support cylinder shaft 50. The fitting length with the cylinder shaft 51 was made longer, the strength rigidity of the front fork was further increased, and smooth sliding of the movable cylinder shaft 51 was realized.
[Selection] Figure 2

Description

本発明は、自動二輪車の前輪を懸架するフロントフォークに関し、特に、フロントフォークの溶接取付を強化し、また、車両の乗り心地を向上させることができる技術に関する。   The present invention relates to a front fork that suspends a front wheel of a motorcycle, and more particularly, to a technique that can enhance welding attachment of the front fork and improve riding comfort of a vehicle.

自動二輪車には前輪を懸架するためのフロントフォークが備えられている。フロントフォークは車体フレームの前端に軸回り回動自在に設けられたステアリング軸の下端にボトムブリッジを介して一対のフォークパイプを取付けた構造であり、これらフォークパイプの下端部間に前輪を回転自在に支持し、ステアリング軸の上端にハンドルバーを取り付けて、ハンドルバーの操作による前輪の操舵系を構成している。
また、フロントフォークは前輪のクッション系も構成しており、一対のフォークパイプをそれぞれボトムブリッジに溶接される支持筒軸に可動筒軸を軸方向に摺動自在に嵌合させ、これら支持筒軸と可動筒軸との間にクッションスプリングを介装した構造として、可動筒軸の下端部間に回転自在に支持した前輪の上下動を許容して緩衝するようにしている。
The motorcycle is provided with a front fork for suspending the front wheel. The front fork has a structure in which a pair of fork pipes is attached to the lower end of a steering shaft provided at the front end of the body frame so as to be rotatable about the axis via a bottom bridge, and the front wheels can freely rotate between the lower ends of these fork pipes. And a handlebar is attached to the upper end of the steering shaft to constitute a steering system for the front wheels by operating the handlebar.
The front fork also constitutes a cushion system for the front wheels, and a pair of fork pipes are fitted to the support cylinder shafts welded to the bottom bridge, respectively, so that the movable cylinder shaft is slidable in the axial direction. As a structure in which a cushion spring is interposed between the movable cylinder shaft and the movable cylinder shaft, the front wheel supported in a freely rotatable manner between the lower end portions of the movable cylinder shaft is allowed to be buffered.

上記のようにフロントフォークは自動二輪車の前輪を支持するものであるので、十分な強度や剛性を確保する必要があり、また、十分な強度や剛性を確保することにより走行時やブレーキ作動時における乗り心地を向上することができる。
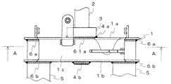
このようなことから、フロントフォークを構成するボトムブリッジと一対のフォークパイプとの取付けは図11及び図12に示すような構造により行われていた。なお、図11はボトムブリッジと一対のフォークパイプとの取付部の正面図、図12は図11中のA―A矢視断面図である。
As mentioned above, the front fork supports the front wheels of the motorcycle, so it is necessary to ensure sufficient strength and rigidity. Also, by ensuring sufficient strength and rigidity, the front fork can be used when traveling or braking. Riding comfort can be improved.
For this reason, the bottom bridge constituting the front fork and the pair of fork pipes have been attached by a structure as shown in FIGS. 11 is a front view of a mounting portion between the bottom bridge and the pair of fork pipes, and FIG. 12 is a cross-sectional view taken along line AA in FIG.

ボトムブリッジ1は鋼板をコ字形に折り曲げ加工し、上板部1aと下板部1bとを縦板部1cによりつないだ形状となっている。ボトムブリッジ1の中央にはステアリング軸2が上方から挿着されており、このステアリング軸2はブラケット3を介して上板部1aに溶接(溶接部4a)されるとともに下板部1bに溶接(溶接部4b)されている。
また、ボトムブリッジ1のステアリング軸2を中心とした対称な位置にはフォークパイプの支持筒軸5が下方から挿着されており、これら支持筒軸5はその上端を上板部1aの下面に当て付けて溶接(溶接部6a)されるとともに下板部1bに溶接(溶接部6b)されている。
The bottom bridge 1 has a shape in which a steel plate is bent into a U shape, and an upper plate portion 1a and a lower plate portion 1b are connected by a vertical plate portion 1c. A steering shaft 2 is inserted into the center of the bottom bridge 1 from above. The steering shaft 2 is welded to the upper plate portion 1a via the bracket 3 (welded portion 4a) and welded to the lower plate portion 1b ( Welded part 4b).
Also, fork pipe support cylinder shafts 5 are inserted from below at symmetrical positions around the steering shaft 2 of the bottom bridge 1, and these support cylinder shafts 5 have their upper ends on the lower surface of the upper plate portion 1a. It is applied and welded (welded portion 6a) and welded (welded portion 6b) to the lower plate portion 1b.

このようにステアリング軸2とフォークパイプ(支持筒軸5)との連結は、ボトムブリッジ1にステアリング軸2と支持筒軸5とをそれぞれ挿着して2箇所を溶接することにより、フロントフォークの強度や剛性を確保するようにしている。
また、フロントフォークのクッション系の構造については、ボトムブリッジに取り付けられた両方の支持筒軸内にダンパ弾性部材を設け、当該支持筒軸に下方から嵌合された可動筒軸の摺動をダンパ弾性部材で緩衝する技術が知られており、更に、これら2つのダンパ弾性部材の高さを相違させ或いはこれら2つのダンパ弾性部材のボトムブリッジに当接する高さを相違させて、緩衝特性に変化をもたせる技術が知られている(特許文献1参照。)。
特公平6―41276号公報
In this way, the steering shaft 2 and the fork pipe (support cylinder shaft 5) are connected to each other by inserting the steering shaft 2 and the support cylinder shaft 5 into the bottom bridge 1 and welding the two locations to each other. Strength and rigidity are ensured.
In addition, with respect to the cushion system structure of the front fork, damper elastic members are provided in both support cylinder shafts attached to the bottom bridge, and the sliding of the movable cylinder shaft fitted to the support cylinder shaft from below is made damper. A technique of buffering with an elastic member is known, and further, the shock absorber characteristics are changed by making the heights of these two damper elastic members different or making the height of the two damper elastic members contacting the bottom bridge different. There is known a technique for providing (see Patent Document 1).
Japanese Patent Publication No. 6-41276

上記のようなボトムブリッジ1と支持筒軸(フォークパイプ)5との取付構造にあっては、図12に詳示されるように、支持筒軸5の上板部1aに当て付けた部分の溶接が全周の3分の2程度でしかできず、支持筒軸5の略全周にわたって溶接するのが望ましいにも拘らず溶接部6aの範囲が制限されていた。このように溶接範囲が制限されてしまう理由は、溶接できない部分は上板部1aと下板部1bとにより挟まれた狭い空間の尚且つ縦板部1cやステアリング軸2が邪魔をする位置であるので、溶接棒を当該部分に差し入れて溶接作業するのが極めて困難だからである。
なお、支持筒軸5の上端開口は、雨水や塵埃の侵入防止のため、上記のように支持筒軸5の上端を上板部1aに当て付けてその上端開口を塞いでいる。
In the mounting structure of the bottom bridge 1 and the support cylinder shaft (fork pipe) 5 as described above, as shown in detail in FIG. 12, the welding of the portion applied to the upper plate portion 1a of the support cylinder shaft 5 is performed. However, the range of the welded portion 6a is limited although it is desirable that welding is performed over substantially the entire circumference of the support cylinder shaft 5. The reason why the welding range is limited in this way is that the portion that cannot be welded is in a narrow space sandwiched between the upper plate portion 1a and the lower plate portion 1b, and the position where the vertical plate portion 1c and the steering shaft 2 interfere. This is because it is extremely difficult to perform welding work by inserting a welding rod into the part.
Note that the upper end opening of the support cylinder shaft 5 closes the upper end opening by applying the upper end of the support cylinder shaft 5 to the upper plate portion 1a as described above in order to prevent intrusion of rainwater and dust.

また、フロントフォークのクッション系の構造については、支持筒軸内にダンパ弾性部材を設けて可動筒軸の摺動を緩衝するのが好ましいが、この反面、ダンパ弾性部材を設けることにより可動筒軸の摺動可能長が短くなってしまうので、必要な摺動可能長を確保するために可動筒軸の長さを短くしなければならず、延いては、支持筒軸と可動筒軸との嵌合長が短くなってしまっていた。この支持筒軸と可動筒軸との嵌合長はフォークパイプ全体としての強度や剛性に寄与するものであるとともに、可動筒軸を円滑に摺動させるために重要な要素であり、車両の走破性をより向上させる際には、改善の余地があった。   As for the structure of the cushion system of the front fork, it is preferable to provide a damper elastic member in the support cylinder shaft to buffer the sliding of the movable cylinder shaft. On the other hand, by providing the damper elastic member, the movable cylinder shaft is provided. Therefore, in order to secure the necessary slidable length, the length of the movable cylinder shaft must be shortened. The fitting length was shortened. The fitting length between the support cylinder shaft and the movable cylinder shaft contributes to the strength and rigidity of the fork pipe as a whole, and is an important factor for smoothly sliding the movable cylinder shaft. There was room for improvement in improving the performance.

本発明は上記従来の事情に鑑みなされたもので、フロントフォークの溶接取付構造を合理的に強化することを実現することを目的としている。
更に、本発明は、フロントフォークの改良により自動二輪車の乗り心地を向上させることを目的としている。
The present invention has been made in view of the above-described conventional circumstances, and an object thereof is to realize a reasonably strengthened weld attachment structure for a front fork.
Another object of the present invention is to improve the riding comfort of a motorcycle by improving the front fork.

本発明は、ボトムブリッジのフォークパイプ(すなわち、支持筒軸)を取り付ける部位に切欠きを設け、支持筒軸の上端面をフォークパイプ取り付け部位に当て付けて切欠きを通してボトムブリッジに溶接した自動二輪車のフロントフォークである。
したがって、従来のようにボトムブリッジの板部で挟まれた狭い空間に溶接棒を差し入れて溶接作業する必要はなく、切欠きを通した溶接作業により支持筒軸の上端をボトムブリッジに容易に溶接することができる。しかも、切欠きであるのでボトムブリッジの支持筒軸取り付け部位は脱落することなく残るため、当該部位が支持筒軸の上端開口を塞いでフォークパイプ内への雨水や塵埃の侵入を防止する。
すなわち、例えば、支持筒軸の略全周にわたって連続した又は断続した切欠きを設けることにより、支持筒軸をその略全周にわたってボトムブリッジに溶接することができる。
The present invention provides a motorcycle in which a notch is provided at a portion where a fork pipe (that is, a support cylinder shaft) of a bottom bridge is attached, and an upper end surface of the support cylinder shaft is applied to the fork pipe attachment portion and welded to the bottom bridge through the notch. The front fork.
Therefore, there is no need to insert a welding rod into the narrow space sandwiched between the bottom bridge plates as in the conventional case, and the upper end of the support cylinder shaft is easily welded to the bottom bridge by welding through a notch. can do. In addition, since the support cylinder shaft attachment part of the bottom bridge remains without dropping because it is a notch, the part closes the upper end opening of the support cylinder axis to prevent rainwater and dust from entering the fork pipe.
That is, for example, by providing a notch that is continuous or intermittent over substantially the entire circumference of the support cylinder shaft, the support cylinder axis can be welded to the bottom bridge over substantially the entire circumference.

更に、本発明は、いずれか一方のフォークパイプの支持筒軸内部に可動筒軸の摺動を緩衝するダンパ弾性部材を設け、ダンパ弾性部材を設けない他方のフォークパイプの可動筒軸の長さを前記一方の可動筒軸の長さより長くして、当該他方のフォークパイプにおける支持筒軸と可動筒軸との嵌合長を前記一方のフォークパイプより長くした自動二輪車のフロントフォークである。
したがって、ダンパ弾性部材による可動筒軸の緩衝を実現しつつ、支持筒軸と可動筒軸との嵌合長を十分に確保して、フォークパイプとしての強度や剛性を高めるとともに可動筒軸の円滑な摺動を実現し、車両の乗り心地を向上させることができる。
Furthermore, the present invention provides a damper elastic member for buffering the sliding of the movable cylinder shaft inside the support cylinder shaft of one of the fork pipes, and the length of the movable cylinder shaft of the other fork pipe without the damper elastic member. This is a front fork of a motorcycle in which the length of the one movable cylinder shaft is made longer than that of the other fork pipe, and the fitting length between the support cylinder shaft and the movable cylinder shaft in the other fork pipe is made longer than that of the one fork pipe.
Therefore, while realizing the buffering of the movable cylindrical shaft by the damper elastic member, the fitting length between the supporting cylindrical shaft and the movable cylindrical shaft is sufficiently secured to increase the strength and rigidity as the fork pipe and to smoothly move the movable cylindrical shaft. Smooth sliding and improving the riding comfort of the vehicle.

本発明によると、ボトムブリッジに設けた切欠きを通して、当該ボトムブリッジに当て付けられる支持筒軸の上端面を溶接するようにしたため、支持筒軸の上端開口を塞いだ構造にて支持筒軸の略全周にわたって溶接することができ、フォークパイプとしての強度や剛性を高めることができる。
更に、本発明によると、いずれか一方のフォークパイプの支持筒軸内部に可動筒軸の摺動を緩衝するダンパ弾性部材を設け、ダンパ弾性部材を設けない他方のフォークパイプの可動筒軸の長さを長くしたため、フォークパイプにおける支持筒軸と可動筒軸との嵌合長を十分に確保することができ、ダンパ弾性部材による緩衝と可動筒軸の円滑な摺動を実現することができる。
According to the present invention, since the upper end surface of the support cylinder shaft applied to the bottom bridge is welded through the notch provided in the bottom bridge, the support cylinder shaft has a structure in which the upper end opening of the support cylinder shaft is closed. It can be welded over substantially the entire circumference, and the strength and rigidity as a fork pipe can be increased.
Further, according to the present invention, a damper elastic member for buffering sliding of the movable cylinder shaft is provided inside the support cylinder shaft of one of the fork pipes, and the length of the movable cylinder shaft of the other fork pipe without the damper elastic member. Since the length is increased, the fitting length between the support cylinder shaft and the movable cylinder shaft in the fork pipe can be sufficiently secured, and the buffering by the damper elastic member and the smooth sliding of the movable cylinder shaft can be realized.

本発明を一実施形態に基づいて具体的に説明する。
まず、本例の自動二輪車は、図8に示すように、車体の骨格をフレーム20により構成し、フレーム20の前部にレッグシールド21と低床のステップフロア22を設け、フレーム20の後部にリアボディ23を設け、リアボディ23上にシート24を設けたスクータ型である。
ハンドルバー25を上端に設けたステアリング軸26がフレーム20の前端に軸回りに回動自在に設けられ、ステアリング軸26の下端にはボトムブリッジ27が溶接されて設けられている。ボトムブリッジ27にはフロントフォーク28が溶接されて設けられており、フロントフォーク28の下端には前輪29が回転自在に設けられている。
The present invention will be specifically described based on an embodiment.
First, as shown in FIG. 8, in the motorcycle of this example, the skeleton of the vehicle body is constituted by a frame 20, a leg shield 21 and a low floor step floor 22 are provided at the front of the frame 20, and the rear of the frame 20 is provided. A scooter type in which a rear body 23 is provided and a seat 24 is provided on the rear body 23.
A steering shaft 26 having a handlebar 25 at its upper end is provided at the front end of the frame 20 so as to be rotatable about the shaft, and a bottom bridge 27 is welded to the lower end of the steering shaft 26. A front fork 28 is welded to the bottom bridge 27, and a front wheel 29 is rotatably provided at the lower end of the front fork 28.

エンジン31とエンジン出力を伝達するベルト式無段変速機32とを一体化してパワーユニット33が構成されており、このパワーユニット33はフレーム20に設けられたブラケット34にリンク機構35を介して上下に揺動自在に設けられて、また、パワーユニット33はフレーム20との間にクッションユニット40を介して支持されている。パワーユニット33に支持された後輪36にはエンジン出力がベルト式無段変速機32を介して伝達され、後輪36が駆動回転される。   A power unit 33 is configured by integrating the engine 31 and a belt-type continuously variable transmission 32 that transmits engine output. The power unit 33 swings up and down via a link mechanism 35 on a bracket 34 provided on the frame 20. The power unit 33 is supported by a cushion unit 40 between the power unit 33 and the frame 20. The engine output is transmitted to the rear wheel 36 supported by the power unit 33 via the belt type continuously variable transmission 32, and the rear wheel 36 is driven to rotate.

前輪29と後輪36とにはそれぞれ機械式ドラムブレーキ装置42が設けられており、これらブレーキ装置42はブレーキアーム43をブレーキ操作力伝達部材44により引っ張ることにより車輪の回転を制動する。すなわち、ハンドルバー25に設けられたブレーキレバー45を運転者が握るブレーキ操作力がブレーキ操作力伝達部材44を介して伝達され、ブレーキアーム43が回動して車輪回転が制動される。   A mechanical drum brake device 42 is provided on each of the front wheel 29 and the rear wheel 36, and these brake devices 42 brake the rotation of the wheels by pulling the brake arm 43 by the brake operation force transmission member 44. That is, the brake operation force that the driver holds the brake lever 45 provided on the handlebar 25 is transmitted through the brake operation force transmission member 44, and the brake arm 43 is rotated to brake the wheel rotation.

図9及び図10には上記自動二輪車のフロント側部分の詳細を示してある。
フロントフォーク28は一対のフォークパイプをボトムブリッジ27に取付けた構造であり、各フォークパイプは支持筒軸50内にコイルスプリング52を介装して可動筒軸51が摺動自在に納められたクッション構造で、各支持筒軸50の上端部がボトムブリッジ27に溶接固定されてステアリング軸26とともに操舵回動するようになっている。
一方の支持筒軸50内にはゴム等の弾性体から成るダンパ弾性部材53が設けられており、自動二輪車が障害物を乗り越えた際等において、可動筒軸51が大きく摺動した場合に当該可動筒軸51の上端と支持筒軸50の底面側(ボトムブリッジ27)との間にダンパ弾性部材53が当接して摺動を緩衝するようになっている。
9 and 10 show details of the front side portion of the motorcycle.
The front fork 28 has a structure in which a pair of fork pipes are attached to the bottom bridge 27, and each fork pipe is a cushion in which a movable cylinder shaft 51 is slidably accommodated in a support cylinder shaft 50 via a coil spring 52. In the structure, the upper end portion of each support cylinder shaft 50 is fixed by welding to the bottom bridge 27 and is steered together with the steering shaft 26.
A damper elastic member 53 made of an elastic material such as rubber is provided in one support cylinder shaft 50. When the movable cylinder shaft 51 slides greatly, such as when a motorcycle gets over an obstacle, the A damper elastic member 53 abuts between the upper end of the movable cylinder shaft 51 and the bottom surface side (bottom bridge 27) of the support cylinder shaft 50 to buffer the sliding.

可動筒軸51の下端部間には車軸55が支持されており、前輪29のホイール56が車軸55に軸受を介して回転自在に支持されている。ホイール56の中央にドラム状に形成されたハブ部57はドラムブレーキ装置42のブレーキドラムを兼ねており、当該ハブ部57内に、公知のように、一対の半円形のブレーキシューをブレーキアーム43の回動により拡開させてブレーキドラム57の内周面に圧接させ、ブレーキドラム57(すなわち、前輪29)の回転を制動する機械式ドラムブレーキ装置が設けられている。
ブレーキアーム43にはブレーキ操作力伝達ワイヤ44が連結されており、当該アーム43とワイヤ44とはブレーキジョイント60により連結されている。なお、図9中に示す59は前輪29の回転数を伝達するスピードメータケーブルである。
An axle 55 is supported between the lower ends of the movable cylinder shaft 51, and a wheel 56 of the front wheel 29 is rotatably supported on the axle 55 via a bearing. A hub portion 57 formed in a drum shape in the center of the wheel 56 also serves as a brake drum of the drum brake device 42, and a pair of semicircular brake shoes are provided in the hub portion 57, as is well known. A mechanical drum brake device is provided that spreads by rotating and is brought into pressure contact with the inner peripheral surface of the brake drum 57 to brake the rotation of the brake drum 57 (that is, the front wheel 29).
A brake operation force transmission wire 44 is connected to the brake arm 43, and the arm 43 and the wire 44 are connected by a brake joint 60. In addition, 59 shown in FIG. 9 is a speedometer cable which transmits the rotation speed of the front wheel 29. FIG.

ボトムブリッジ27への支持筒軸50(フォークパイプ)及びステアリング軸26の取付構造を、図1〜図4を参照して詳しく説明する。
図1はボトムブリッジと一対のフォークパイプとの取付部の正面図、図2は図1中の上方から見た平面図、図3は図2中のB―B矢視断面図、図4は支持筒軸50を取付ける前の状態を図2と同じ視線で示す平面図である。
なお、本例の取付構造は、ボトムブリッジ27のおおよその構造や、支持筒軸50やステアリング軸26のおおよその取付け構造は図11及び図12に示した構造と同様で、鋼板をコ字形に折り曲げ加工したボトムブリッジ27にステアリング軸26と一対のフロントフォーク支持筒軸50を溶接した構造であり、下記のように支持筒軸50とボトムブリッジ27との切欠きを通した溶接構造が特徴的な部分である。
The attachment structure of the support cylinder shaft 50 (fork pipe) and the steering shaft 26 to the bottom bridge 27 will be described in detail with reference to FIGS.
1 is a front view of a mounting portion between a bottom bridge and a pair of fork pipes, FIG. 2 is a plan view seen from above in FIG. 1, FIG. 3 is a cross-sectional view taken along the line BB in FIG. It is a top view which shows the state before attaching the support cylinder shaft 50 with the same eyes | visual_axis as FIG.
The mounting structure of this example is the same as the structure shown in FIGS. 11 and 12 in the approximate structure of the bottom bridge 27 and the mounting structure of the support cylinder shaft 50 and the steering shaft 26. The bent bottom bridge 27 has a structure in which the steering shaft 26 and a pair of front fork support cylinder shafts 50 are welded, and a welded structure in which the support cylinder shaft 50 and the bottom bridge 27 are notched as described below is characteristic. It is an important part.

ボトムブリッジ27は鋼板をコ字形に折り曲げ加工し、上板部27aと下板部27bとを縦板部27cによりつないだ上記従来と同様な形状となっている。ボトムブリッジ27の中央にはステアリング軸26が上方から挿着されており、このステアリング軸26はブラケット30を介して上板部27aに溶接(溶接部61a)されるとともに下板部27bに溶接(溶接部61b)されている。
また、ボトムブリッジ27のステアリング軸26を中心とした対称な位置にはフォークパイプの支持筒軸50が下方から挿着されており、これら支持筒軸50はその上端を上板部27aの下面に当て付けて溶接(溶接部62a)されるとともに下板部1bに溶接(溶接部62b)されている。
The bottom bridge 27 has a shape similar to the above-described conventional structure in which a steel plate is bent into a U-shape, and an upper plate portion 27a and a lower plate portion 27b are connected by a vertical plate portion 27c. A steering shaft 26 is inserted into the center of the bottom bridge 27 from above, and the steering shaft 26 is welded to the upper plate portion 27a via the bracket 30 (welded portion 61a) and welded to the lower plate portion 27b ( Welded part 61b).
Further, support cylinder shafts 50 of the fork pipe are inserted from below at symmetrical positions around the steering shaft 26 of the bottom bridge 27, and these support cylinder shafts 50 have their upper ends on the lower surface of the upper plate portion 27a. It is applied by welding (welded portion 62a) and welded to the lower plate portion 1b (welded portion 62b).

上板部27aの上記支持筒軸50を当接させて取付ける部位には一対の半円状切欠き27dがそれぞれ貫通して設けられており、また、上板部27aの対向する半円状切欠き27d間には上方へ膨らんだ膨出部27eが設けられている。これら一対の半円状切欠き27dはそれぞれ支持筒軸50の上端に対応する大きさ及び形状で形成されており、これら一対の半円状切欠き27dによって囲まれた上板部27aの円形部分27fが膨出部27eによって上板部27aにつながった構造となっている。
したがって、支持筒軸50を上板部27aの下面に当て付けると、キャップ部材を別途必要とすることなく支持筒軸50の上端開口が円形部分27fにより塞がれるとともに支持筒軸50の上端縁の略全周が半円状切欠き27dに臨むこととなり、これら半円状切欠き27d内を溶接することにより、支持筒軸50の上端を閉塞した状態でその略全周を均一に上板部27aに溶接することができ、支持筒軸50内への雨水等の侵入を防止するとともに支持筒軸50をボトムブリッジ27に十分な強度剛性をもって取付けることができる。
A pair of semicircular cutouts 27d are provided in the upper plate portion 27a where the support cylinder shaft 50 is attached in contact with each other, and the semicircular cutouts of the upper plate portion 27a are opposed to each other. Between the notches 27d, a bulging portion 27e bulging upward is provided. The pair of semicircular cutouts 27d are formed in sizes and shapes corresponding to the upper ends of the support cylindrical shafts 50, respectively, and the circular portion of the upper plate portion 27a surrounded by the pair of semicircular cutouts 27d. 27f is connected to the upper plate portion 27a by the bulging portion 27e.
Therefore, when the support cylinder shaft 50 is applied to the lower surface of the upper plate portion 27a, the upper end opening of the support cylinder shaft 50 is closed by the circular portion 27f without requiring a cap member, and the upper end edge of the support cylinder shaft 50 is used. The entire circumference of the support cylinder shaft 50 faces the semicircular cutout 27d. By welding the inside of the semicircular cutout 27d, the upper plate is uniformly spread over the entire circumference with the upper end of the support cylinder shaft 50 closed. It can be welded to the portion 27a, and rain water or the like can be prevented from entering the support cylinder shaft 50, and the support cylinder shaft 50 can be attached to the bottom bridge 27 with sufficient strength and rigidity.

上板部27aに上記のような切欠き27dを形成するには、例えば図5に示すように、一対の膨出部27eにまたがる径の円筒型の切削工具64を用い、この切削工具64を軸回転させて先端の切歯により上板部27aを環状に切削することにより容易に行うことができる。すなわち、切削工具64が上板部27aを切り抜いたところで切削を停止することにより、膨出部27eが切り抜かれないままで残るため、上記のように一対の半円状切欠き27dによって囲まれた円形部分27fが膨出部27eによって上板部27aにつながった構造が容易に形成される。   In order to form the notch 27d as described above in the upper plate portion 27a, for example, as shown in FIG. 5, a cylindrical cutting tool 64 having a diameter spanning a pair of bulging portions 27e is used. This can be easily performed by rotating the shaft and cutting the upper plate portion 27a into an annular shape with the cutting teeth at the tip. That is, when the cutting tool 64 cuts the upper plate portion 27a and stops cutting, the bulging portion 27e remains without being cut out, and thus is surrounded by the pair of semicircular cutouts 27d as described above. A structure in which the circular portion 27f is connected to the upper plate portion 27a by the bulging portion 27e is easily formed.

なお、このような切欠き27dの形成は、プレス打ち抜き等の公知の種々な方法で行うこともできる。
また、上記のような切削加工を行う場合には膨出部27eは極めて有用であるが、例えばプレス打ち抜き加工の場合には膨出部27eは省略することができ、膨出部27eは切欠き27dの加工方法に応じて設ければよい。
また、本発明では、切欠き27dの形状は半円形に限定されるものではなく、全体として環状となる間欠的な切欠き等、要は、支持筒軸50の上端縁を必要な範囲にわたって露呈させて溶接可能とするものであればよい。そして、本発明では、ボトムブリッジ27の構成及び形状は上記の例に限定されるものではなく、要は、フォークパイプの支持筒軸50をボトムブリッジ27に突き当てて溶接する取付け構造において、当該支持筒軸50の上端を溶接するための切欠き27dをボトムブリッジ27に設ければよい。
The formation of the notches 27d can also be performed by various known methods such as press punching.
Further, the bulging portion 27e is extremely useful when performing the above-described cutting process. However, for example, in the case of press punching, the bulging portion 27e can be omitted, and the bulging portion 27e is notched. What is necessary is just to provide according to the processing method of 27d.
Further, in the present invention, the shape of the notch 27d is not limited to a semicircular shape, but the upper end edge of the support cylinder shaft 50 is exposed over a necessary range, such as an intermittent notch that is annular as a whole. It is sufficient if it can be welded. In the present invention, the configuration and shape of the bottom bridge 27 are not limited to the above example. In short, in the mounting structure in which the support cylinder shaft 50 of the fork pipe is abutted against the bottom bridge 27 and welded, A cutout 27 d for welding the upper end of the support cylinder shaft 50 may be provided in the bottom bridge 27.

図6にはフロントフォーク28の内部構造の詳細を一部断面して示してある。なお、支持筒軸50、可動筒軸51、コイルスプリング52について、一方と他方とを区別する場合には、これらの符号に区別符号R、Lを添えて記載し、また、図6中にも区別記号を添えた符号をもって記載してある。
図示のフロントフォーク28は、そのフォークパイプ部を断面して示すように、一方の支持筒軸50R(図示の例では、紙面に向かって左側)の内部にのみダンパ弾性部材53が設けられており、他方の支持筒軸50Lの内部にはダンパ弾性部材は設けられていない。
フロントフォーク28は、支持筒軸50内にその下端開口から可動筒軸51を軸方向摺動自在に嵌合し、支持筒軸50の上端面(すなわち、ボトムブリッジの上板部27a)と可動筒軸51の上端との間にコイルスプリング52を介装して、コイルスプリング52に抗して可動筒軸51を軸方向へ摺動自在とした構造であり、ダンパ弾性部材53は支持筒軸50Rの上端面と可動筒軸51Rの上端との間(すなわち、コイルスプリング52Rの内部)に軸方向へ移動自在に内装されている。なお、図中の66は可動筒軸51Rの上端開口を閉塞してダンパ弾性部材53の当り面を構成する蓋部材である。
FIG. 6 is a partial sectional view showing details of the internal structure of the front fork 28. In addition, when distinguishing one from the other about the support cylinder axis | shaft 50, the movable cylinder axis | shaft 51, and the coil spring 52, it describes by attaching | subjecting the identification codes R and L to these codes | symbols, and also in FIG. It is described with a reference sign.
The illustrated front fork 28 is provided with a damper elastic member 53 only inside one support cylinder shaft 50R (in the illustrated example, on the left side as viewed in the drawing), as shown in cross-section. The damper elastic member is not provided inside the other support cylinder shaft 50L.
The front fork 28 is fitted in the support cylinder shaft 50 so that the movable cylinder shaft 51 is slidable in the axial direction from its lower end opening, and is movable with the upper end surface of the support cylinder shaft 50 (that is, the upper plate portion 27a of the bottom bridge). A coil spring 52 is interposed between the upper end of the cylinder shaft 51 and the movable cylinder shaft 51 is slidable in the axial direction against the coil spring 52. The damper elastic member 53 is a support cylinder shaft. It is mounted between the upper end surface of 50R and the upper end of the movable cylinder shaft 51R (that is, inside the coil spring 52R) so as to be movable in the axial direction. In the figure, reference numeral 66 denotes a lid member that closes the upper end opening of the movable cylinder shaft 51R and forms a contact surface of the damper elastic member 53.

すなわち、自動二輪車の走行中に前輪29に外力が加わると、可動筒軸51がコイルスプリング52に抗して上方へ摺動してこれを緩衝し、更に大きな外力が加わると、ダンパ弾性部材53が支持筒軸50Rの上端と可動筒軸51Rの上端との間に挟まれて更に大きな緩衝作用を与えるとともに可動筒軸51の更なる摺動を規制する。
なお、支持筒軸50Rの上端側でのダンパ弾性部材53の当り面はボトムブリッジ上板部27aの円形部分27fによって構成されるが、上記のように円形部分27fを切欠き27dによって支持筒軸50の上端と溶接しているため、支持筒軸50Rのダンパ弾性部材当り面が十分な強度及び剛性をもって構成されている。
That is, when an external force is applied to the front wheel 29 while the motorcycle is running, the movable cylindrical shaft 51 slides upward against the coil spring 52 to buffer it, and when a larger external force is applied, the damper elastic member 53 Is sandwiched between the upper end of the support cylinder shaft 50R and the upper end of the movable cylinder shaft 51R to provide a larger buffering action and restrict further sliding of the movable cylinder shaft 51.
The contact surface of the damper elastic member 53 on the upper end side of the support cylinder shaft 50R is constituted by the circular portion 27f of the bottom bridge upper plate portion 27a. As described above, the circular portion 27f is notched by the notch 27d and the support cylinder shaft is formed. Since the upper end of 50 is welded, the damper elastic member contact surface of the support cylinder shaft 50R is configured with sufficient strength and rigidity.

ここで、上記のようなダンパ弾性部材53への当りを考慮したストロークを確保する必要から、ダンパ弾性部材53を設けた側の支持筒軸50Rと可動筒軸51Rとの嵌合長は決定されるが、ダンパ弾性部材53を設けていない側の支持筒軸50Lと可動筒軸51Lとの嵌合長は、同じストローク長さが得られればこのような制限がない。そのため、ダンパ弾性部材53を設けた側の可動筒軸51Rに較べてダンパ弾性部材を設けていない側の可動筒軸51Lの長さを長く(H)して、ダンパ弾性部材を設けていない側の支持筒軸50Lと可動筒軸51Lとの嵌合長を、ダンパ弾性部材53を設けた側の支持筒軸50Rと可動筒軸51Rとの嵌合長より長くしている。
これにより、ダンパ弾性部材を設けない側のフォークパイプにより支持筒軸50と可動筒軸51との嵌合長をできるだけ確保してフォークパイプに要求される強度や剛性を十分に満たすとともに可動筒軸51の摺動を円滑にし、しかも、ダンパ弾性部材53を設けない側のフォークパイプにより緩衝特性に変化をもたせることができ、総じて、車両の乗り心地を向上させることができる。
Here, since it is necessary to secure a stroke considering the contact with the damper elastic member 53 as described above, the fitting length between the support cylinder shaft 50R on the side where the damper elastic member 53 is provided and the movable cylinder shaft 51R is determined. However, the fitting length between the support cylinder shaft 50L on the side where the damper elastic member 53 is not provided and the movable cylinder shaft 51L is not limited as long as the same stroke length can be obtained. Therefore, the length of the movable cylinder shaft 51L on the side where the damper elastic member is not provided is longer (H) than the movable cylinder shaft 51R on the side where the damper elastic member 53 is provided, and the side where the damper elastic member is not provided. The fitting length between the support cylinder shaft 50L and the movable cylinder shaft 51L is longer than the fitting length between the support cylinder shaft 50R on the side where the damper elastic member 53 is provided and the movable cylinder shaft 51R.
Accordingly, the fork pipe on the side where the damper elastic member is not provided secures the fitting length between the support cylinder shaft 50 and the movable cylinder shaft 51 as much as possible to sufficiently satisfy the strength and rigidity required for the fork pipe, and the movable cylinder shaft. The sliding of 51 can be made smooth, and the buffer characteristics can be changed by the fork pipe on the side where the damper elastic member 53 is not provided, and the riding comfort of the vehicle can be improved as a whole.

図7にはフロントフォーク28の内部構造の他の例を示してある。なお、支持筒軸50、可動筒軸51、コイルスプリング52について、一方と他方とを区別する場合には、これらの符号に区別符号R、Lを添えて記載し、また、図7中にも区別記号を添えた符号をもって記載してある。
図示のフロントフォーク28は、上記の例と同様に一方のフォークパイプにのみダンパ弾性部材53が設けられており、当該ダンパ弾性部材53を設けた側のフォークパイプの構造は上記の例と同様である。
ダンパ弾性部材53が設けられていない側のフォークパイプは、上記の例と同様に他方より支持筒軸50Lと可動筒軸51Lとの嵌合長が長く(H)されているが、若干小径としたコイルスプリング52Lをスプリングガイド68により保持して可動筒軸51L内側で支持するインナータイプの構造となっている。
FIG. 7 shows another example of the internal structure of the front fork 28. In addition, when distinguishing one from the other about the support cylinder axis | shaft 50, the movable cylinder axis | shaft 51, and the coil spring 52, description code | symbol is attached with the identification codes R and L, and also in FIG. It is described with a reference sign.
In the illustrated front fork 28, a damper elastic member 53 is provided only on one fork pipe as in the above example, and the structure of the fork pipe on the side where the damper elastic member 53 is provided is the same as in the above example. is there.
The fork pipe on the side where the damper elastic member 53 is not provided has a longer fitting length (H) between the support cylinder shaft 50L and the movable cylinder shaft 51L than the other, as in the above example, but it has a slightly smaller diameter. The coil spring 52L is held by a spring guide 68 and is supported on the inner side of the movable cylinder shaft 51L.

すなわち、ダンパ弾性部材53が設けられていない側のフォークパイプにおいては、可動筒軸51Lの内部にコイルスプリングの座板69を設けるとともに、可動筒軸51Lの上端に開口を有するフォルダ部材70を設けている。そして、上端をボトムブリッジ上板部27aの円形部分27fに取付けた筒軸状のスプリングガイド68にコイルスプリング52Lを保持し、コイルスプリング52Lの下端部をフォルダ部材70の開口から可動筒軸51L内に挿し入れて座板69により支持させている。
このような構造によると、上記の例と同様にダンパ弾性部材を設けない側のフォークパイプにより支持筒軸50Lと可動筒軸51Lとの嵌合長をできるだけ確保できることに加えて、このように支持筒軸50Lと可動筒軸51Lとの嵌合長を長くしても座板69の取付位置に応じてコイルスプリング52Lを長尺とすることができる。スプリングの長さはバネ特性を設定する上での1つの重要な要素であり、コイルスプリング52Lを長尺化してソフトな緩衝フィーリングを実現することが可能となる。
That is, in the fork pipe on the side where the damper elastic member 53 is not provided, the seat plate 69 of the coil spring is provided inside the movable cylinder shaft 51L, and the folder member 70 having an opening at the upper end of the movable cylinder shaft 51L is provided. ing. The coil spring 52L is held by a cylindrical shaft-shaped spring guide 68 attached at its upper end to the circular portion 27f of the bottom bridge upper plate portion 27a, and the lower end portion of the coil spring 52L is moved from the opening of the folder member 70 into the movable cylindrical shaft 51L. And is supported by a seat plate 69.
According to such a structure, in addition to the fact that the fitting length between the support cylinder shaft 50L and the movable cylinder shaft 51L can be ensured as much as possible by the fork pipe on the side where the damper elastic member is not provided as in the above example, the support is thus supported. Even if the fitting length between the cylinder shaft 50L and the movable cylinder shaft 51L is increased, the coil spring 52L can be elongated according to the mounting position of the seat plate 69. The length of the spring is one important factor in setting the spring characteristics, and the length of the coil spring 52L can be increased to realize a soft cushion feeling.

本発明の一実施形態に係るボトムブリッジとフォークパイプとの取付部の一部破断した正面図である。It is the front view which fractured | ruptured partially the attachment part of the bottom bridge and fork pipe which concern on one Embodiment of this invention. 本発明の一実施形態に係るボトムブリッジとフォークパイプとの取付部を図1中の上方から見た平面図である。It is the top view which looked at the attaching part of the bottom bridge and fork pipe which concern on one Embodiment of this invention from the upper direction in FIG. 図2中のB―B矢視断面図である。FIG. 3 is a cross-sectional view taken along the line BB in FIG. 2. 本発明の他の一実施形態に係るボトムブリッジの支持筒軸を取付ける前の状態を図2と同じ視線で示す平面図である。It is a top view which shows the state before attaching the support cylinder shaft of the bottom bridge which concerns on other one Embodiment of this invention with the same eyes | visual_axis as FIG. 本発明の一実施形態に係る切欠きの形成方法を説明する図である。It is a figure explaining the formation method of a notch concerning one embodiment of the present invention. 本発明の一実施形態に係るフロントフォークの内部構造を示す部分断面図である。It is a fragmentary sectional view showing the internal structure of the front fork concerning one embodiment of the present invention. 本発明の一実施形態に係るフロントフォークの内部構造の他の例を示す部分断面図である。It is a fragmentary sectional view showing other examples of the internal structure of the front fork concerning one embodiment of the present invention. 本発明を適用する自動二輪車の全体構成を示す側面図である。1 is a side view showing an overall configuration of a motorcycle to which the present invention is applied. 本発明を適用する自動二輪車のフロントフォーク部を示す一部断面側面図である。1 is a partial cross-sectional side view showing a front fork portion of a motorcycle to which the present invention is applied. 本発明を適用する自動二輪車のフロントフォーク部を示す一部断面正面図である。1 is a partial cross-sectional front view showing a front fork portion of a motorcycle to which the present invention is applied. 従来のボトムブリッジとフォークパイプとの取付部の一部破断した正面図である。It is the front view which fractured | ruptured the attachment part of the conventional bottom bridge and a fork pipe partially. 図11中のA―A矢視断面図である。It is AA arrow sectional drawing in FIG.

符号の説明Explanation of symbols

26:ステアリング軸、 27:ボトムブリッジ、
27a:上板部、 27b:下板部、
27c:縦板部、 27d:切欠き、
27e:膨出部、 27f:円形部、
28:フロントフォーク、 50、50R、50L:支持筒軸、
51、51R、51L:可動筒軸、 52、52R、52L:コイルスプリング、
53:ダンパ弾性部材、 62a、62b:溶接部、
H:嵌合長の差、
26: Steering shaft, 27: Bottom bridge,
27a: upper plate portion, 27b: lower plate portion,
27c: vertical plate portion, 27d: notch,
27e: bulging portion, 27f: circular portion,
28: Front fork 50, 50R, 50L: Supporting cylinder shaft,
51, 51R, 51L: movable cylinder shaft, 52, 52R, 52L: coil spring,
53: damper elastic member, 62a, 62b: welded part,
H: difference in fitting length,

Claims (2)

自動二輪車のフロントフォークにおいて、
ステアリング軸の下端に取り付けられるボトムブリッジのフォークパイプ取り付け部位に切欠きを設け、フォークパイプの上端面をフォークパイプ取り付け部位に当て付けて切欠きを通してボトムブリッジに溶接したことを特徴とする自動二輪車のフロントフォーク。
In front forks of motorcycles,
The motorcycle has a notch in the bottom bridge fork pipe attachment part attached to the lower end of the steering shaft, the upper end surface of the fork pipe is abutted against the fork pipe attachment part and welded to the bottom bridge through the notch. Front fork.
請求項1に記載の自動二輪車のフロントフォークにおいて、
前輪を支持する一対のフォークパイプはそれぞれ、ボトムブリッジに取り付けられる支持筒軸に可動筒軸を軸方向に摺動自在に嵌合させ、これら支持筒軸と可動筒軸との間にクッションスプリングを介装した構造であり、
更に、いずれか一方のフォークパイプの支持筒軸内部に可動筒軸の摺動を緩衝するダンパ弾性部材を設け、ダンパ弾性部材を設けない他方のフォークパイプの可動筒軸の長さを前記一方の可動筒軸の長さより長くして、当該他方のフォークパイプにおける支持筒軸と可動筒軸との嵌合長を前記一方のフォークパイプより長くしたことを特徴とする自動二輪車のフロントフォーク。
The front fork of the motorcycle according to claim 1,
Each of the pair of fork pipes that support the front wheels has a movable cylindrical shaft slidably fitted to a supporting cylindrical shaft attached to the bottom bridge, and a cushion spring is interposed between the supporting cylindrical shaft and the movable cylindrical shaft. Intervening structure,
Further, a damper elastic member for buffering sliding of the movable cylinder shaft is provided inside the support cylinder shaft of one of the fork pipes, and the length of the movable cylinder shaft of the other fork pipe without the damper elastic member is set to the one of the fork pipes. A motorcycle front fork characterized in that it is longer than the length of the movable cylinder shaft, and the fitting length between the support cylinder shaft and the movable cylinder shaft in the other fork pipe is longer than that of the one fork pipe.
JP2004054058A 2004-02-27 2004-02-27 Motorcycle front fork Expired - Fee Related JP4559752B2 (en)

Priority Applications (2)

Application Number Priority Date Filing Date Title
JP2004054058A JP4559752B2 (en) 2004-02-27 2004-02-27 Motorcycle front fork
CNB200510005879XA CN100384687C (en) 2004-02-27 2005-01-27 Front fork of automatic two-wheeler

Applications Claiming Priority (1)

Application Number Priority Date Filing Date Title
JP2004054058A JP4559752B2 (en) 2004-02-27 2004-02-27 Motorcycle front fork

Publications (2)

Publication Number Publication Date
JP2005239052A true JP2005239052A (en) 2005-09-08
JP4559752B2 JP4559752B2 (en) 2010-10-13

Family

ID=35010299

Family Applications (1)

Application Number Title Priority Date Filing Date
JP2004054058A Expired - Fee Related JP4559752B2 (en) 2004-02-27 2004-02-27 Motorcycle front fork

Country Status (2)

Country Link
JP (1) JP4559752B2 (en)
CN (1) CN100384687C (en)

Cited By (4)

* Cited by examiner, † Cited by third party
Publication number Priority date Publication date Assignee Title
JP2010285063A (en) * 2009-06-11 2010-12-24 Honda Motor Co Ltd Bridge member
JP2015142925A (en) * 2014-01-31 2015-08-06 柳河マシンテック株式会社 Binding of steering system components
WO2018105683A1 (en) * 2016-12-09 2018-06-14 Kybモーターサイクルサスペンション株式会社 Front forks
WO2025163843A1 (en) * 2024-02-01 2025-08-07 Astemo株式会社 Shock absorber, manufacturing method therefor, and front fork

Families Citing this family (1)

* Cited by examiner, † Cited by third party
Publication number Priority date Publication date Assignee Title
CN102837788A (en) * 2011-06-21 2012-12-26 祁成 Damper for front fork of electric bicycle

Citations (2)

* Cited by examiner, † Cited by third party
Publication number Priority date Publication date Assignee Title
JPS5728089U (en) * 1980-07-24 1982-02-13
JP2001253382A (en) * 2000-03-13 2001-09-18 Showa Corp Front fork

Family Cites Families (5)

* Cited by examiner, † Cited by third party
Publication number Priority date Publication date Assignee Title
JPS5326293Y2 (en) * 1975-10-24 1978-07-04
JPH02203158A (en) * 1989-02-01 1990-08-13 Hitachi Ltd Baffle plate fitting structure at outlet of water supplying pipe in can body
JP3343755B2 (en) * 1995-04-28 2002-11-11 スズキ株式会社 Motorcycle front fork
CN2235939Y (en) * 1995-05-05 1996-09-25 吴锦庭 bicycle fork
JP3850091B2 (en) * 1997-01-17 2006-11-29 株式会社ショーワ Front fork for motorcycle

Patent Citations (2)

* Cited by examiner, † Cited by third party
Publication number Priority date Publication date Assignee Title
JPS5728089U (en) * 1980-07-24 1982-02-13
JP2001253382A (en) * 2000-03-13 2001-09-18 Showa Corp Front fork

Cited By (4)

* Cited by examiner, † Cited by third party
Publication number Priority date Publication date Assignee Title
JP2010285063A (en) * 2009-06-11 2010-12-24 Honda Motor Co Ltd Bridge member
JP2015142925A (en) * 2014-01-31 2015-08-06 柳河マシンテック株式会社 Binding of steering system components
WO2018105683A1 (en) * 2016-12-09 2018-06-14 Kybモーターサイクルサスペンション株式会社 Front forks
WO2025163843A1 (en) * 2024-02-01 2025-08-07 Astemo株式会社 Shock absorber, manufacturing method therefor, and front fork

Also Published As

Publication number Publication date
CN100384687C (en) 2008-04-30
CN1660651A (en) 2005-08-31
JP4559752B2 (en) 2010-10-13

Similar Documents

Publication Publication Date Title
JP6141897B2 (en) Front wheel suspension system for saddle-ride type vehicles
JP6187919B2 (en) Saddle-type vehicle steering device
JP6141898B2 (en) Front wheel suspension system for saddle-ride type vehicles
JP4559752B2 (en) Motorcycle front fork
JP6206819B2 (en) Saddle-type vehicle steering device
EP4082881A1 (en) Leaning vehicle
US10279859B2 (en) Saddle-type vehicle
EP4082882A1 (en) Leaning-type vehicle
JP6222707B2 (en) Saddle-type vehicle steering device
EP4082883A1 (en) Leaning-type vehicle
US7311168B2 (en) Rear wheel support structure of motorcycle or three-wheeled vehicle
JP4091635B2 (en) Saddle riding vehicle
EP4082886B1 (en) Lean-type vehicle
JP2006096163A (en) Motorcycle swing arm support structure
US8382158B2 (en) All terrain vehicle
JP6206818B2 (en) Saddle-type vehicle steering device
JP3898356B2 (en) Rear fork mounting structure for motorcycles
CN111655571B (en) saddle-ridden vehicle
JPH10316076A (en) Shock absorbing fork for front wheel of two-wheeler and tricycle
JP2010018259A (en) Frame structure in vehicle such as two-wheel vehicle
JP2005263001A (en) Front wheel suspension system for bicycles
JP2012092882A (en) Suspension system of vehicle
WO2020255170A1 (en) Speed deceleration system of vehicle
JP2017154593A (en) Saddle-type vehicle suspension device and saddle-type vehicle
JP2005263000A (en) Front wheel suspension system for bicycles

Legal Events

Date Code Title Description
A621 Written request for application examination

Free format text: JAPANESE INTERMEDIATE CODE: A621

Effective date: 20061129

RD02 Notification of acceptance of power of attorney

Free format text: JAPANESE INTERMEDIATE CODE: A7422

Effective date: 20070921

RD04 Notification of resignation of power of attorney

Free format text: JAPANESE INTERMEDIATE CODE: A7424

Effective date: 20070928

RD04 Notification of resignation of power of attorney

Free format text: JAPANESE INTERMEDIATE CODE: A7424

Effective date: 20071015

A131 Notification of reasons for refusal

Free format text: JAPANESE INTERMEDIATE CODE: A131

Effective date: 20091110

A521 Written amendment

Free format text: JAPANESE INTERMEDIATE CODE: A523

Effective date: 20091226

TRDD Decision of grant or rejection written
A01 Written decision to grant a patent or to grant a registration (utility model)

Free format text: JAPANESE INTERMEDIATE CODE: A01

Effective date: 20100629

A01 Written decision to grant a patent or to grant a registration (utility model)

Free format text: JAPANESE INTERMEDIATE CODE: A01

A61 First payment of annual fees (during grant procedure)

Free format text: JAPANESE INTERMEDIATE CODE: A61

Effective date: 20100723

R150 Certificate of patent or registration of utility model

Ref document number: 4559752

Country of ref document: JP

Free format text: JAPANESE INTERMEDIATE CODE: R150

Free format text: JAPANESE INTERMEDIATE CODE: R150

FPAY Renewal fee payment (event date is renewal date of database)

Free format text: PAYMENT UNTIL: 20130730

Year of fee payment: 3

FPAY Renewal fee payment (event date is renewal date of database)

Free format text: PAYMENT UNTIL: 20140730

Year of fee payment: 4

LAPS Cancellation because of no payment of annual fees