JP2005238290A - Metal slab manufacturing method - Google Patents

Metal slab manufacturing method Download PDF

Info

Publication number
JP2005238290A
JP2005238290A JP2004051793A JP2004051793A JP2005238290A JP 2005238290 A JP2005238290 A JP 2005238290A JP 2004051793 A JP2004051793 A JP 2004051793A JP 2004051793 A JP2004051793 A JP 2004051793A JP 2005238290 A JP2005238290 A JP 2005238290A
Authority
JP
Japan
Prior art keywords
metal
forging
lump
slab
metal slab
Prior art date
Legal status (The legal status is an assumption and is not a legal conclusion. Google has not performed a legal analysis and makes no representation as to the accuracy of the status listed.)
Withdrawn
Application number
JP2004051793A
Other languages
Japanese (ja)
Inventor
Muneyuki Iwasaki
宗之 岩崎
Current Assignee (The listed assignees may be inaccurate. Google has not performed a legal analysis and makes no representation or warranty as to the accuracy of the list.)
JFE Steel Corp
Original Assignee
JFE Steel Corp
Priority date (The priority date is an assumption and is not a legal conclusion. Google has not performed a legal analysis and makes no representation as to the accuracy of the date listed.)
Filing date
Publication date
Application filed by JFE Steel Corp filed Critical JFE Steel Corp
Priority to JP2004051793A priority Critical patent/JP2005238290A/en
Publication of JP2005238290A publication Critical patent/JP2005238290A/en
Withdrawn legal-status Critical Current

Links

Images

Landscapes

  • Metal Rolling (AREA)
  • Forging (AREA)

Abstract

【課題】チタン,ジルコニウム等の円柱状金属塊から金属スラブを製造するにあたって、既存の設備を利用して、高能率かつ高歩留りで金属スラブを製造する。
【解決手段】円柱状金属塊10を中心線CLを水平にして金敷30上に載置し、上方から金敷31で圧下を加えて1次鍛造を行い、中間厚の板状金属塊11とした後、両端部のみを部分的に先行して打上設定厚まで圧下して2次鍛造を行い、その後、全体の仕上鍛造もしくは仕上圧延又は仕上鍛造後さらに仕上圧延を行い、所定厚さの金属スラブとする。
【選択図】図1(a)
When manufacturing a metal slab from a cylindrical metal lump such as titanium or zirconium, a metal slab is manufactured with high efficiency and high yield using existing equipment.
A cylindrical metal lump 10 is placed on an anvil 30 with a center line CL horizontal, and subjected to primary forging by applying a reduction with an anvil 31 from above to obtain a plate-shaped metal lump 11 having an intermediate thickness. After that, only the both ends are partly preceded and rolled down to the set launch thickness, and then the secondary forging is performed. Thereafter, the entire finish forging or finish rolling or finish forging is further performed, and then a metal slab having a predetermined thickness is formed. And
[Selection] Figure 1 (a)

Description

本発明は、円柱状金属塊から板状金属塊を経て、矩形断面を有する金属スラブを製造する方法に関し、特に金属鋳塊の製造工程において真空溶解炉等で溶製し円柱形鋳型に鋳込むことによって円柱状金属塊を鋳造する金属(例えばチタン、ジルコニウム等)から金属スラブを歩留良く製造する方法に関するものである。本発明において、円柱状とは、径が一様な円柱はもちろん、径が変化する円柱、異径円柱が軸方向に連接された円柱、又は横断面が円形の一部欠損した形状の円柱を言う。   The present invention relates to a method of manufacturing a metal slab having a rectangular cross section from a cylindrical metal block through a plate-shaped metal block, and in particular, in a metal ingot manufacturing process, it is melted and cast into a cylindrical mold. The present invention relates to a method for producing a metal slab with high yield from a metal (for example, titanium, zirconium, etc.) for casting a cylindrical metal block. In the present invention, the columnar shape means not only a cylinder with a uniform diameter but also a cylinder with a variable diameter, a cylinder in which different diameter cylinders are connected in the axial direction, or a cylinder with a partially missing circular shape in cross section. say.

種々の金属材料を製造するにあたって、まず所定の成分を有する溶融金属を溶製した後、これを鋳型に鋳込んで金属鋳塊とし、次いでこの金属鋳塊に鍛造あるいは圧延を施して所定の寸法の金属スラブを製造する技術がある。これらの溶融金属の溶製から金属鋳塊を経て金属スラブを得るまでの一連の工程は、その金属材料の成分や特性に応じて適宜選択される。   In producing various metal materials, first, a molten metal having a predetermined component is melted and then cast into a mold to form a metal ingot, and then the metal ingot is subjected to forging or rolling to a predetermined size. There is technology to manufacture metal slabs. A series of steps from melting these molten metals to obtaining a metal slab through a metal ingot is appropriately selected according to the components and characteristics of the metal material.

例えばチタン、ジルコニウム等の金属材料では、その金属鋳塊の製造工程において、一般的に、真空溶解炉等で溶製し、円柱形の鋳型に鋳込むことによって円柱状金属塊を製造する。この円柱状金属塊から金属スラブを製造する際には、分塊圧延機が広く使用されている。   For example, in the case of a metal material such as titanium or zirconium, in the manufacturing process of the metal ingot, generally, the columnar metal ingot is manufactured by melting in a vacuum melting furnace or the like and casting into a cylindrical mold. When producing a metal slab from this cylindrical metal block, a block mill is widely used.

分塊圧延機で円柱状金属塊から金属スラブを製造する場合は、分塊圧延機に配設された水平圧延ロールと垂直圧延ロールを用いて円柱状金属塊に水平方向およぴ垂直方向の圧下を施して板状金属塊とし、さらに圧下を加えて所定の寸法の金属スラブを製造する。   When a metal slab is produced from a cylindrical metal lump with a block mill, the horizontal and vertical rolls are arranged on the cylindrical metal lump using the horizontal and vertical rolling rolls arranged in the block mill. The metal slab having a predetermined size is manufactured by applying a reduction to form a plate-shaped metal lump and further applying the reduction.

ところが円柱状金属塊を圧延して金属スラブに仕上げると、金属スラブの端部にタングと呼ばれる舌状のクロップが生じる。金属スラブが製品として出荷される際には、このタングを切断除去するので、歩留り低下の原因となる。そこでタングの形成を抑制する技術が種々提案されている。   However, when a cylindrical metal lump is rolled into a metal slab, a tongue-like crop called tongue is generated at the end of the metal slab. When the metal slab is shipped as a product, the tongue is cut and removed, which causes a decrease in yield. Various techniques for suppressing the formation of tongues have been proposed.

例えば、金属スラブとしてチタンスラブを製造する技術として、丸形チタン鋳塊を加熱した後、鍛造して扁平鋳塊を得る際に、その扁平鋳塊の端部を先細りのテーパー形状に加工し、次いで再加熱して分塊圧延を施すことによって、タングの生成を抑制する技術がある(例えば、特許文献1参照。)
この技術では、鍛造によって扁平鋳塊の端部に先細りのテーパー部を設けるので、テーパー面に段差が生じ、この段差が金属スラブの表面欠陥として残存する。テーパー面に段差を生じさせず、所定のテーパー角度を有するテーパー面を形成するためには、鍛造の圧下量を細分化した上で圧下回数を増加せざるを得ず、テーパー面の形成に長時間を要することとなる。しかも扁平鋳塊の上面、下面、両側面(合計4面)にテーパー面を形成するので、作業能率が低下することが避けられない。なお、この技術では、素材となる丸型チタン鋳塊の中心線を扁平鋳塊の各面に投影した線に対して、テーパー部の縁部は、いずれも直角になっている。
For example, as a technique for producing a titanium slab as a metal slab, after heating a round titanium ingot, forging to obtain a flat ingot, the end of the flat ingot is processed into a tapered taper shape, Next, there is a technique for suppressing the generation of tongue by performing re-heating and partial rolling (see, for example, Patent Document 1).
In this technique, since the tapered portion is provided at the end of the flat ingot by forging, a step is generated on the tapered surface, and this step remains as a surface defect of the metal slab. In order to form a tapered surface having a predetermined taper angle without causing a step in the tapered surface, it is necessary to increase the number of reductions after subdividing the amount of reduction in forging, and it is long to form a tapered surface. It will take time. And since a taper surface is formed in the upper surface of a flat ingot, a lower surface, and both side surfaces (a total of 4 surfaces), it is inevitable that work efficiency falls. In this technique, the edge of the tapered portion is perpendicular to the line obtained by projecting the center line of the round titanium ingot that is the raw material onto each surface of the flat ingot.

また、チタンを溶解した後、端部にテーパー部を設けた矩形断面の鋳型に鋳込んで、端部にテーパー部を有する角形チタン鋳塊を製造し、さらに分塊圧延を施すことによって、タングの生成を抑制する技術がある(例えば、特許文献2参照。)。   In addition, after melting titanium, it is cast into a rectangular cross-section mold having a tapered portion at the end portion, producing a rectangular titanium ingot having a tapered portion at the end portion, and further subjected to ingot rolling, There is a technique for suppressing the generation of (see, for example, Patent Document 2).

チタンスラブを製造する際には、組織を均一にし、不純物の巻き込みを少なくするために、真空溶解炉等で溶製し、円柱形鋳型に鋳込むことによって円柱状のチタン鋳塊を製造するのが一般的である。従って、この技術を適用するには、溶融チタンを溶製してチタン鋳塊を鋳込むまでの一連の工程で使用する設備を改造する必要がある。   When manufacturing a titanium slab, in order to make the structure uniform and reduce the entrainment of impurities, it is melted in a vacuum melting furnace or the like and cast into a cylindrical mold to manufacture a cylindrical titanium ingot. Is common. Therefore, in order to apply this technique, it is necessary to remodel equipment used in a series of processes from melting molten titanium to casting a titanium ingot.

また、熱処理を施して表面疵を減じることにより歩留を上げる技術がある(例えば、特許文献3参照。)。   In addition, there is a technique for increasing the yield by performing heat treatment to reduce surface defects (see, for example, Patent Document 3).

そのほか、素材に矩形インゴットを用いる技術もある(例えば、特許文献4参照。)。しかし、一般的には円柱インゴットを用いるのが通常の製造工程である。   In addition, there is a technique using a rectangular ingot as a material (see, for example, Patent Document 4). However, in general, it is a normal manufacturing process to use a cylindrical ingot.

また、ビッカース硬さ300を越える最表層部分を除去する技術もある(例えば、特許文献5参照。)。
特公昭59−16858号公報 特開昭60−3950号公報 特開平08−060317号公報 特開平07−251202号公報 特開平09−271807号公報
There is also a technique for removing the outermost layer portion having a Vickers hardness of 300 (see, for example, Patent Document 5).
Japanese Patent Publication No.59-16858 JP 60-3950 A Japanese Patent Laid-Open No. 08-060317 Japanese Patent Laid-Open No. 07-251202 JP 09-271807 A

本発明は上記のような問題を解消し、チタン,ジルコニウム等の円柱状金属塊から金属スラブを製造するにあたって、高能率かつ高歩留りで金属スラブを製造する方法を提供することを目的とする。この場合に、既存の設備を利用することとし、設備改造に要する費用が高騰しないようにする。   An object of the present invention is to solve the above problems and to provide a method for producing a metal slab with high efficiency and high yield when producing a metal slab from a cylindrical metal block such as titanium or zirconium. In this case, the existing equipment will be used so that the cost required for equipment modification will not rise.

本発明は、上記課題を解決するためになされたもので、次の技術手段を講じたことを特徴とする金属スラブの製造方法である。すなわち、本発明は、円柱状金属塊から所定の厚さを有する金属スラブを製造する方法において、前記円柱状金属塊を中心線を水平にして金敷上に載置し、前記中心線に対して垂直に上方から圧下を加えて1次鍛造を行い、中間厚の板状金属塊とした後、両端部のみを部分的に先行して打上設定厚まで圧下する2次鍛造を行い、その後、全体の仕上鍛造を行い、所定厚さの金属スラブを製造することを特徴とする。   The present invention has been made to solve the above-described problems, and is a method for producing a metal slab characterized by taking the following technical means. That is, the present invention provides a method for producing a metal slab having a predetermined thickness from a cylindrical metal lump, wherein the columnar metal lump is placed on a metal floor with a center line horizontal, Primary forging is performed by applying vertical reduction from above to form a plate-shaped metal lump with an intermediate thickness, then secondary forging is performed in which only the both ends are partially advanced to the set-up thickness, and then the whole This is characterized in that a metal slab having a predetermined thickness is manufactured by finishing forging.

本発明において、円柱状金属塊とは、径が一様な円柱形及びこれに順ずる形状、例えば径が変化する円柱、横断面が円に近い形状の金属塊(素材)を云い、板状金属塊とは、素材である円柱状金属塊と所定の寸法に仕上げられた金属スラブとの中間製品を言い、前記円柱状金属塊に圧下を施し、平面部を形成した状態の金属塊を言う。   In the present invention, the columnar metal block means a columnar shape having a uniform diameter and a shape conforming thereto, for example, a column having a variable diameter, and a metal block (material) having a cross-sectional shape close to a circle. A metal lump refers to an intermediate product between a cylindrical metal lump that is a raw material and a metal slab that has been finished to a predetermined size, and refers to a metal lump in a state in which a planar portion is formed by applying a reduction to the columnar metal lump. .

本発明は、加熱した円柱状金属塊から、必要に応じて適宜再加熱を施しつつ、所定の厚さを有する金属スラブを製造する方法である。本発明は、形状制御によりクロップを減じて歩留を向上させる技術である。   The present invention is a method for producing a metal slab having a predetermined thickness from a heated cylindrical metal lump while appropriately reheating as necessary. The present invention is a technique for improving yield by reducing crops by shape control.

本発明の最も特徴とするところは、中間厚の板状金属塊とした後、この板状金属塊の端部のみを先行して打上設定厚まで圧下する2次鍛造を行う点にある。このことにより、クロップを生ずることなく、歩留り向上を図ることができる。   The most characteristic feature of the present invention is that after forming a plate-shaped metal lump with an intermediate thickness, secondary forging is performed in which only the end of the plate-shaped metal lump is drawn down to a preset launch thickness. As a result, yield can be improved without cropping.

前記の端部のみを先行して打上設定厚まで圧下する2次鍛造は、強圧下により1パスで端部のみを仕上げることが望ましい。プレス能力制限により1パスで仕上げることが出来ない場合においても、圧下力を最大にして最低限のパス回数とすることが好ましい。   In the secondary forging in which only the above-mentioned end portion is first reduced to the set launch thickness, it is desirable to finish only the end portion in one pass by strong pressure reduction. Even when the finishing cannot be completed in one pass due to the press capacity limitation, it is preferable to maximize the rolling force to the minimum number of passes.

その後、所定厚さの金属スラブとする段階では全体の仕上鍛造を行う。この全体の仕上鍛造に代えて仕上圧延を行ってもよく、又は、仕上鍛造を行った後、さらに仕上圧延を行うこととしてもよい。   Thereafter, the entire finish forging is performed at the stage of forming a metal slab having a predetermined thickness. Instead of this overall forging, finishing rolling may be performed, or after finishing forging, further finishing rolling may be performed.

上記の金属スラブを製造する方法において、素材としては径が一様な完全な円柱の金属塊を用いてよく、又は径が変化する円柱、異径円柱が軸方向に連接された円柱、又は横断面が円形の一部を欠損した形状の円柱の金属塊等であってもよい。例えば、円柱に若干の加工を加えた準円柱形状の金属塊を用いることも可能である。ここで若干の加工とは皮削、又は予備鍛造等を指す。   In the above-described method for producing a metal slab, the material may be a completely cylindrical metal block having a uniform diameter, or a cylinder having a variable diameter, a cylinder in which different diameter cylinders are connected in the axial direction, or a crossing. The surface may be a cylindrical metal lump or the like with a part of a circular shape missing. For example, it is also possible to use a quasi-cylindrical metal lump obtained by adding some processing to a cylinder. Here, the slight processing refers to skin cutting or preliminary forging.

本発明は、円柱状金属塊から金属スラブを製造するに当って、効率の良い鍛造要領・鍛造手順を採用するようにしたので、高能率かつ高歩留りで金属スラブを製造できるようになった。また、本発明の製造工程は既存の設備を利用している実施することができるから、設備改造に要する費用及び鍛造作業負荷を低減することができるという効果もある。   In the present invention, when a metal slab is manufactured from a cylindrical metal lump, an efficient forging procedure and forging procedure are adopted, so that the metal slab can be manufactured with high efficiency and high yield. Moreover, since the manufacturing process of this invention can be implemented using the existing equipment, there is also an effect that the cost required for remodeling equipment and the forging work load can be reduced.

本発明は、円柱状金属塊から所定の厚さを有する金属スラブを製造する場合に、
(1)円柱状金属塊を中心線を水平にして金敷上に載置し、垂直上方から圧下を加えて1次鍛造を行い、中間厚の板状金属塊とする工程、
(2)板状金属塊の両端部のみを部分的に先行して打上設定厚まで圧下する、2次鍛造工程、及び、
(3)その後、全体の仕上鍛造もしくは仕上圧延又は仕上鍛造後さらに仕上圧延を行う工程
によって所定厚さの金属スラブを製造する。
The present invention, when producing a metal slab having a predetermined thickness from a cylindrical metal lump,
(1) A step of placing a cylindrical metal lump on an anvil with the center line horizontal, performing primary forging by applying a reduction from above vertically, and forming a plate-shaped metal lump with an intermediate thickness;
(2) a secondary forging step in which only the both end portions of the plate-shaped metal block are partially preceded and reduced to the launch setting thickness; and
(3) Thereafter, a metal slab having a predetermined thickness is manufactured by a process of performing finish rolling after finishing forging or finishing rolling or finishing forging.

本発明の対象とする材料は例えばチタン、ジルコニウム等の金属材料である。本発明による最終製品は矩形板状の金属スラブである。本発明の最も特徴とする点は特に上記(2)の工程を設けたことである。   The target material of the present invention is a metal material such as titanium or zirconium. The final product according to the present invention is a rectangular plate-shaped metal slab. The most characteristic feature of the present invention is that the step (2) is particularly provided.

本発明では、円柱状の金属塊の加熱方法は特定の方法に限定しない。但しチタンの楊合、加熱温度が920℃未満では、タングの形成を抑制できない。一方、990℃を超えると、後述する金属スラブの表面のシワ疵が深くなり、手入作業負荷が増大するばかりでなく、歩止低下を招く。したがって、円柱状の金属塊の加熱温度はチタンでは920〜990℃の範囲内を満足するのが好ましい。   In the present invention, the heating method of the cylindrical metal block is not limited to a specific method. However, the formation of tongues cannot be suppressed if the temperature of the titanium combination and heating temperature is less than 920 ° C. On the other hand, if it exceeds 990 ° C., the wrinkles on the surface of the metal slab, which will be described later, become deep, and not only the maintenance work load increases, but also the yield decreases. Therefore, it is preferable that the heating temperature of the cylindrical metal block satisfies the range of 920 to 990 ° C. for titanium.

以下図面を参照して本発明の実施の形態を説明する。   Embodiments of the present invention will be described below with reference to the drawings.

図1(a)〜図1(i)は、本発明における円柱状金属塊から金属スラブに至るまでの加工工程の推移を模式的に示す説明図である。円柱状金属塊は真円柱はもちろん、例えば図4、図5に示すような形状の金属塊10を含む。   Fig.1 (a)-FIG.1 (i) are explanatory drawings which show typically the transition of the processing process from the column-shaped metal lump in this invention to a metal slab. The cylindrical metal block includes not only a true cylinder but also a metal block 10 having a shape as shown in FIGS.

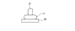
図1(a)、(b)は加熱した円柱状金属塊10に1次鍛造を施して板状金属塊11を得る工程を示している。1次鍛造では、図1(a)に示すように、円柱状金属塊10を、その中心線CLを水平にして下金敷30上に載置する。次いで図1(b)に示すように、上金敷31を用いて上方から中心線CLに対して垂直に圧下を加えて板状金属塊11とする。このとき、圧下の回数は限定しない。すなわち、板状金属塊11や上金敷31の寸法に応じて、圧下回数を適宜設定する。   FIGS. 1A and 1B show a process of obtaining a plate-shaped metal block 11 by subjecting a heated columnar metal block 10 to primary forging. In the primary forging, as shown in FIG. 1A, the columnar metal block 10 is placed on the lower anvil 30 with its center line CL horizontal. Next, as shown in FIG. 1 (b), a plate-shaped metal mass 11 is formed by applying a reduction from the upper side perpendicularly to the center line CL using an upper anvil 31. At this time, the number of times of reduction is not limited. That is, the number of reductions is appropriately set according to the dimensions of the plate-shaped metal block 11 and the upper metal pad 31.

図2(a)〜(c)は、1次鍛造の別の具体例を示す図で、円柱状金属塊10を下金敷30上に載置した状態を、それぞれ平面図、正面図、側面図で示したものである。   FIGS. 2A to 2C are diagrams showing another specific example of primary forging, in which a state in which the cylindrical metal block 10 is placed on the lower anvil 30 is a plan view, a front view, and a side view, respectively. It is shown by.

図3(a)〜(c)は図2に示す状態から、上金敷31によって上から圧下を加えて金属塊を板状金属塊11とした状態を示す、それぞれ平面図、正面図、側面図でである。   3 (a) to 3 (c) are a plan view, a front view, and a side view, respectively, showing a state in which the metal block is made into a plate-like metal block 11 by applying a reduction from above with the upper anvil 31 from the state shown in FIG. It is.

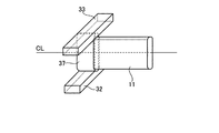
次に、図1(c)、(d)は板状金属塊11の先端を打上寸法にまで成形する工程を示したもので、まず、図1(c)に示すように板状金属塊11の端部の厚さを金敷32、33により部分的に薄く鍛造し、次いで図1(d)に示すように板状金属塊11の端部の幅を金敷32、33により鍛造する。先端部のみ仕上鍛造を厚方向及び幅方向に適宜繰返し、板状金属塊11の端部を打上設定寸法に仕上げる。   Next, FIGS. 1C and 1D show a process of forming the tip of the plate-shaped metal block 11 to the launch dimension. First, as shown in FIG. The thickness of the end portion is forged partially by the anvils 32 and 33, and then the width of the end portion of the plate-shaped metal block 11 is forged by the anvils 32 and 33 as shown in FIG. Finish forging of only the tip portion is repeated in the thickness direction and width direction as appropriate, and the end portion of the plate-shaped metal lump 11 is finished to the launch setting dimension.

このとき、金敷掛け幅は素材の円柱状金属塊10の寸法にも依るが、工業的に製造される金属塊10に対しては100mm以上が好ましい。100mm未満の場合、先尾端のクロップ形状がタング形状を呈するのを十分に防止することができない。ここで言う金敷掛け幅とは、金敷が板状金属塊11に対して中心線CLと平行に接触している部分の長さである。金敷掛け幅の最大値は使用する金敷の寸法と等しい。   At this time, although the metal laying width depends on the dimensions of the cylindrical metal block 10 as a raw material, it is preferably 100 mm or more for the metal block 10 manufactured industrially. When it is less than 100 mm, it is not possible to sufficiently prevent the crop shape at the leading end from exhibiting a tongue shape. The anvil width referred to here is the length of the portion where the anvil is in contact with the plate-shaped metal block 11 in parallel with the center line CL. The maximum value of the anvil is equal to the size of the anvil used.

図1(e)、(f)は、一方の端部に打上寸法の部分12を形成した板状金属塊11の他端側に打上寸法の部分を形成する工程を示しており、図1(c)、(d)工程と同様の加工工程である。   1 (e) and 1 (f) show a step of forming a launch dimension portion on the other end side of the plate-shaped metal block 11 in which the launch dimension portion 12 is formed at one end portion. It is a processing step similar to steps c) and (d).

図1(g)、(h)は板状金属塊11の全体成形工程を示すもので、金敷34、35を矢印36方向に移動させながら、打上寸法の部分12以外の中央部を成形する。   FIGS. 1 (g) and 1 (h) show the overall forming process of the plate-shaped metal block 11, and the central part other than the launching dimension part 12 is formed while the anvils 34 and 35 are moved in the direction of the arrow 36. FIG.

図1(i)は成形を完了した金属スラブ13を示す斜視図である。上記のようにして板状金属塊11の先尾端部に打上寸法の部分12を予め形成しておくことにより、それ以降の仕上げ鍛造に際して発生する端部方向へのメタルフローが端部において発生しない。従って端部がタング形状に張り出すことを防止することができる。その結果、金属スラブのクロップロスが減少して歩留を向上させることができる。   FIG. 1 (i) is a perspective view showing a metal slab 13 that has been formed. As described above, by forming the launch dimension portion 12 in advance at the leading end of the plate-shaped metal lump 11, the metal flow in the end direction generated in the subsequent finish forging is generated at the end. do not do. Therefore, it is possible to prevent the end portion from protruding into a tongue shape. As a result, the crop loss of the metal slab can be reduced and the yield can be improved.

仕上圧延を行う場合、圧延装置の構成は特定の形式に限定されない。たとえば、図6に示すような従来から知られている分塊圧延機を用いて支障なく圧延することができる。すなわち、水平圧延ロール61を用いて金属塊60を厚さ方向に圧下し、垂直圧延ロール62を用いて金属塊60を幅方向に圧下し、仕上圧延を行うことができる。   When performing finish rolling, the configuration of the rolling apparatus is not limited to a specific type. For example, it can be rolled without any trouble using a conventionally known block mill as shown in FIG. That is, the metal lump 60 can be reduced in the thickness direction using the horizontal rolling roll 61, and the metal lump 60 can be reduced in the width direction using the vertical rolling roll 62 to perform finish rolling.

本発明で仕上圧延を行う場合は、図1(g)、(h)に示した仕上鍛造と同様に、垂直圧延ロールと水平垂直圧延ロールを板状金属塊11の中央部から薄肉部(端部の打上寸法の部分12)の方向へ相対的に移動させながら圧下を加える必要がある。従って、圧延装置の搬送コンベアに板状金属塊11を載置して、板状金属塊11の中央部から薄肉部の方向へ搬送しながら圧延を行う。   When finish rolling is performed according to the present invention, the vertical rolling roll and the horizontal vertical rolling roll are moved from the central portion of the plate-shaped metal block 11 to the thin-walled portion (end) as in the finish forging shown in FIGS. It is necessary to apply the reduction while relatively moving in the direction of the portion 12) of the launch dimension of the part. Therefore, the plate-shaped metal lump 11 is placed on the conveying conveyor of the rolling apparatus, and rolling is performed while conveying the plate-shaped metal lump 11 from the central portion toward the thin-walled portion.

また、仕上鍛造と仕上圧延を併用しても良い。すなわち図1(g)、(h)に示す仕上鍛造を行った後、必要に応じて再加熱を施し、図6に示す仕上圧延を行って金属スラブを製造することも可能である。   Further, finish forging and finish rolling may be used in combination. That is, it is also possible to produce a metal slab by performing finish forging shown in FIGS. 1 (g) and 1 (h), followed by reheating as necessary, and performing finish rolling shown in FIG.

このようにして予め板状金属塊11に薄肉部(端部の打上寸法の部分12)を形成することによって、メタルフローに起因する肉盛りを発生させ、その薄肉部(端部の打上寸法の部分12)を有する板状金属塊11に圧下を加えることによって、板状金属塊11の幅方向中央部がタング形状に張り出す部分とバランスする。その結果、金属スラブ13のタングを減少して歩留りを向上させることができる。   In this way, by forming a thin portion (a portion 12 having a launch dimension at the end portion) in advance in the plate-shaped metal lump 11, a build-up caused by the metal flow is generated, and the thin portion (the launch dimension of the end portion is determined). By applying a reduction to the plate-shaped metal lump 11 having the portion 12), the central portion in the width direction of the plate-shaped metal lump 11 is balanced with a portion protruding into a tongue shape. As a result, the tongue of the metal slab 13 can be reduced and the yield can be improved.

真空溶解炉を用いて溶製した純チタンを円柱形鋳型に鋳込んで、直径980mm、長さ2450mmの円柱状金属塊を製造した。次いで、その円柱状金属塊を加熱炉に装入して980℃に加熱した後、事前鍛造を行い、全周の軽圧下と金属塊長手方向中央部約1200mmを直径940mmに縮径鍛造して円柱に準ずる形状の金属塊とした。980℃の加熱炉に装入して復熱した後、幅800mmの上金敷4と幅3000mmの板下金敷5を有する6000ton鍛造プレス機を用いて図1(a)、(b)に示すように1次鍛造を行い、厚さ450〜500mmの板状金属塊11を製造した。   Pure titanium melted using a vacuum melting furnace was cast into a cylindrical mold to produce a cylindrical metal block having a diameter of 980 mm and a length of 2450 mm. Next, the cylindrical metal lump was charged into a heating furnace and heated to 980 ° C., and then pre-forged, and subjected to reduction forging to a diameter of 940 mm by lightly reducing the entire circumference and about 1200 mm in the metal lump longitudinal center. The metal lump was shaped like a cylinder. As shown in FIGS. 1A and 1B using a 6000 ton forging press having an upper metal plate 4 having a width of 800 mm and an under metal plate 5 having a width of 3000 mm after charging in a heating furnace at 980 ° C. The plate-shaped metal lump 11 having a thickness of 450 to 500 mm was manufactured by primary forging.

更に図1(c)〜(f)に示すように2次鍛造を行い、板状金属塊11の両端部の中心線CL上の上下面に打上寸法の部分(薄肉部)12を形成した。打上寸法の部分12の圧下量は、上下面各25mm、計50mm(実施例1、3)、上面50mm(実施例2)とした。これらの実施例1〜3の板状金属塊11を、下金敷を幅800mmの金敷に交換して片方の端部約400mmを打上仕上寸法(厚さ330mm、幅1500mm)まで仕上げた。振替後のマニ掴み代を確保するため、引続いて長手中央方向に更に800mm仕上寸法(厚さ330mm、幅1500mm)に仕上げた後、振替を行って残りの端部約400mm長を仕上寸法(厚さ330mm、幅1500mm)に仕上げた。実施例1、3では図4に示す形状の金属塊10を形成した後、再加熱を実施してから1次鍛造に供した。実施例2では、図5に示す金属塊10を形成した後そのまま連続して1次鍛造に供した。   Further, secondary forging was performed as shown in FIGS. 1 (c) to 1 (f), and portions (thin wall portions) 12 having launch dimensions were formed on the upper and lower surfaces on the center line CL at both ends of the plate-shaped metal lump 11. The amount of rolling of the portion 12 of the launch dimension was 25 mm for each of the upper and lower surfaces, a total of 50 mm (Examples 1 and 3), and the upper surface 50 mm (Example 2). These plate-shaped metal ingots 11 of Examples 1 to 3 were finished by changing the lower anvil to an anvil with a width of 800 mm and finishing one end portion of about 400 mm to a finish size (thickness 330 mm, width 1500 mm). In order to secure the allowance for gripping the manifold after the transfer, the finish is further finished in the longitudinal central direction to a finish dimension of 800 mm (thickness 330 mm, width 1500 mm), and then the transfer is performed so that the remaining end portion of about 400 mm length is finished ( (Thickness 330 mm, width 1500 mm). In Examples 1 and 3, after the metal lump 10 having the shape shown in FIG. 4 was formed, reheating was performed, and then subjected to primary forging. In Example 2, after the metal lump 10 shown in FIG. 5 was formed, it was continuously subjected to primary forging as it was.

仕上鍛造として、幅方向の圧下と厚さ方向の圧下を繰り返して金属スラブ13(厚さ330mm、幅1500mm、長さ3900mm)を製造した。   As finish forging, metal slab 13 (thickness 330 mm, width 1500 mm, length 3900 mm) was manufactured by repeating the reduction in the width direction and the reduction in the thickness direction.

得られた金属スラブ13を分塊工場に搬送し、加熱炉で970℃に加勲した後、分塊圧延機で圧延して、厚さ110mm、幅1260mm(実施例1、2)、厚さ210mm、幅1260mm(実施例3)の金属スラブとした。なお比較例は2次鍛造での端部先行打上を行わないこと以外は実施例3と同じ工程で金属スラブとした。これらの金属スラブのタング部を切断除去して、歩留を調査したところ、実施例1では97.5%、実施例2では97.1%、実施例3では97.1%、比較例では94.7%であり、実施例では歩留が向上した。   The obtained metal slab 13 is transported to a lump factory, and is heated to 970 ° C. in a heating furnace, and then rolled by a lump rolling mill to have a thickness of 110 mm, a width of 1260 mm (Examples 1 and 2), and a thickness. A metal slab having a width of 210 mm and a width of 1260 mm (Example 3) was obtained. In addition, the comparative example was made into the metal slab by the same process as Example 3 except not performing the edge part advance launch by secondary forging. The metal slab tangs were cut and removed, and the yield was investigated. As a result, 97.5% in Example 1, 97.1% in Example 2, 97.1% in Example 3, and 97.1% in Comparative Example. It was 94.7%, and the yield was improved in the example.

実施例の製造工程を示す説明図である。It is explanatory drawing which shows the manufacturing process of an Example. 実施例の製造工程を示す説明図である。It is explanatory drawing which shows the manufacturing process of an Example. 実施例の製造工程を示す説明図である。It is explanatory drawing which shows the manufacturing process of an Example. 実施例の製造工程を示す説明図である。It is explanatory drawing which shows the manufacturing process of an Example. 実施例の製造工程を示す説明図である。It is explanatory drawing which shows the manufacturing process of an Example. 実施例の製造工程を示す説明図である。It is explanatory drawing which shows the manufacturing process of an Example. 実施例の製造工程を示す説明図である。It is explanatory drawing which shows the manufacturing process of an Example. 実施例の製造工程を示す説明図である。It is explanatory drawing which shows the manufacturing process of an Example. 実施例の製造工程を示す説明図である。It is explanatory drawing which shows the manufacturing process of an Example. 実施例の鍛造前の平面図である。It is a top view before the forging of an Example. 実施例の鍛造前の正面図である。It is a front view before forging of an Example. 実施例の鍛造前の側面図である。It is a side view before forging of an Example. 実施例の鍛造前の平面図である。It is a top view before the forging of an Example. 実施例の鍛造前の正面図である。It is a front view before forging of an Example. 実施例の鍛造前の側面図である。It is a side view before forging of an Example. 鍛造前の材料の形状例を示す説明図である。It is explanatory drawing which shows the example of a shape of the material before forging. 鍛造前の材料の形状例を示す説明図である。It is explanatory drawing which shows the example of a shape of the material before forging. 分塊圧延機の圧延工程の説明図である。It is explanatory drawing of the rolling process of a block mill.

符号の説明Explanation of symbols

10 金属塊
11 板状金属塊
12 打上寸法の部分(薄肉部)
13 金属スラブ
30 下金敷
31 上金敷
32、33、34、35 金敷
36 矢印
60 金属塊
61 水平圧延ロール
62 垂直圧延ロール
10 Metal lump 11 Plate-shaped metal lump 12 Part of launch dimensions (thin wall part)
13 Metal slab 30 Lower anvil 31 Upper anvil 32, 33, 34, 35 Anvil 36 Arrow 60 Metal lump 61 Horizontal rolling roll 62 Vertical rolling roll

Claims (4)

円柱状金属塊から所定の厚さを有する金属スラブを製造する方法において、前記円柱状金属塊を中心線を水平にして金敷上に載置し、前記中心線に対して垂直に上方から圧下を加えて1次鍛造を行い、中間厚の板状金属塊とした後、両端部のみを部分的に先行して打上設定厚まで圧下する2次鍛造を行い、その後、全体の仕上鍛造を行い、所定厚さの金属スラブを製造することを特徴とする金属スラブの製造方法。   In a method of manufacturing a metal slab having a predetermined thickness from a cylindrical metal lump, the columnar metal lump is placed on a metal floor with a center line being horizontal, and is rolled down vertically from above the center line. In addition, primary forging is performed to form a plate-shaped metal lump with an intermediate thickness, then secondary forging is performed in which only the both ends are partially advanced and reduced to the launch setting thickness, and then the overall finish forging is performed. A method for producing a metal slab, comprising producing a metal slab having a predetermined thickness. 前記2次鍛造は、圧下力を最大として最低限のパス回数とすることを特微とする請求項1記載の金属スラブの製造方法。   2. The method of manufacturing a metal slab according to claim 1, wherein the secondary forging is characterized in that the rolling force is maximized and the minimum number of passes is set. 前記全体の仕上鍛造に代え、仕上圧延を行うことを特微とする請求項1又は2記載の金属スラブの製造方法。   3. The method for producing a metal slab according to claim 1, wherein finish rolling is performed instead of the overall finish forging. 前記全体の仕上鍛造に代え、仕上鍛造及び仕上圧延を行うことを特微とする請求項1又は2記載の金属スラブの製造方法。   The method for producing a metal slab according to claim 1 or 2, wherein the finish forging and finish rolling are performed instead of the overall finish forging.
JP2004051793A 2004-02-26 2004-02-26 Metal slab manufacturing method Withdrawn JP2005238290A (en)

Priority Applications (1)

Application Number Priority Date Filing Date Title
JP2004051793A JP2005238290A (en) 2004-02-26 2004-02-26 Metal slab manufacturing method

Applications Claiming Priority (1)

Application Number Priority Date Filing Date Title
JP2004051793A JP2005238290A (en) 2004-02-26 2004-02-26 Metal slab manufacturing method

Publications (1)

Publication Number Publication Date
JP2005238290A true JP2005238290A (en) 2005-09-08

Family

ID=35020572

Family Applications (1)

Application Number Title Priority Date Filing Date
JP2004051793A Withdrawn JP2005238290A (en) 2004-02-26 2004-02-26 Metal slab manufacturing method

Country Status (1)

Country Link
JP (1) JP2005238290A (en)

Cited By (7)

* Cited by examiner, † Cited by third party
Publication number Priority date Publication date Assignee Title
CN102513490A (en) * 2011-12-09 2012-06-27 攀钢集团江油长城特殊钢有限公司 Titanium ingot forging and expanding process
CN102873237A (en) * 2012-10-17 2013-01-16 西南铝业(集团)有限责任公司 T-shaped forge piece blank-manufacturing processing technology and device thereof
CN112846059A (en) * 2020-12-30 2021-05-28 安徽省瑞杰锻造有限责任公司 Free forging process of bearing seat
CN113751637A (en) * 2021-09-16 2021-12-07 湖南金天钛业科技有限公司 Forging method for improving yield of large-size titanium plate blank
KR102395233B1 (en) * 2020-12-18 2022-05-04 주식회사 포스코 Method for manufacturing metal slab
CN116603962A (en) * 2023-05-09 2023-08-18 中铝沈阳有色金属加工有限公司 Forging method for small-diameter wide-specification titanium plate blank of consumable furnace
CN116786737A (en) * 2023-05-17 2023-09-22 宁夏中色金航钛业有限公司 Ti80 alloy plate and short-flow forging method for improving tissue uniformity

Cited By (8)

* Cited by examiner, † Cited by third party
Publication number Priority date Publication date Assignee Title
CN102513490A (en) * 2011-12-09 2012-06-27 攀钢集团江油长城特殊钢有限公司 Titanium ingot forging and expanding process
CN102873237A (en) * 2012-10-17 2013-01-16 西南铝业(集团)有限责任公司 T-shaped forge piece blank-manufacturing processing technology and device thereof
KR102395233B1 (en) * 2020-12-18 2022-05-04 주식회사 포스코 Method for manufacturing metal slab
CN112846059A (en) * 2020-12-30 2021-05-28 安徽省瑞杰锻造有限责任公司 Free forging process of bearing seat
CN113751637A (en) * 2021-09-16 2021-12-07 湖南金天钛业科技有限公司 Forging method for improving yield of large-size titanium plate blank
CN113751637B (en) * 2021-09-16 2023-08-18 湖南湘投金天钛业科技股份有限公司 Forging method for improving yield of large-sized titanium plate blank
CN116603962A (en) * 2023-05-09 2023-08-18 中铝沈阳有色金属加工有限公司 Forging method for small-diameter wide-specification titanium plate blank of consumable furnace
CN116786737A (en) * 2023-05-17 2023-09-22 宁夏中色金航钛业有限公司 Ti80 alloy plate and short-flow forging method for improving tissue uniformity

Similar Documents

Publication Publication Date Title
CN104624900B (en) Forging method for efficiently recovering internal defects of thin plate forged pieces
CN105834346B (en) A kind of forging method for the steel ingot inner void type defect that efficiently healed using small pressure
CN102756062A (en) Forging method for efficiently healing hole flaws inside blank with large height-diameter ratio
KR101188605B1 (en) A Manufacturing method for profiled ring used of semi-finished ring rolling machine
JP2009006379A (en) Central defect prevention method for difficult-to-process large products
CN108188659A (en) A kind of manufacturing process of steel billet
KR101220738B1 (en) Forging method of Heavy Thick Plate
CN106715005B (en) Titanium slab for hot rolling with excellent surface properties after hot rolling even if rough rolling process and finishing process are omitted, and production method thereof
RU2487962C2 (en) Method of producing thin sheets
JP2005238290A (en) Metal slab manufacturing method
EP2623229B1 (en) Manufacturing method for blade material
KR100775950B1 (en) Crop loss reduction method and metal ingot and floor block in rolling metal ingot
CN109317679A (en) A kind of aluminum alloy sheet production method
JP3528504B2 (en) Manufacturing method of extra thick steel plate
JP4312928B2 (en) Metal rolling method
JP2009006361A (en) Hot rolling method
JP2010005659A (en) Method of manufacturing magnesium sheet
JP2005007469A (en) Metal slab manufacturing method
JPS5837042B2 (en) Manufacturing method of shaped steel
JPH09327743A (en) Preventing cracking in forging
RU2474484C1 (en) Method of making forged pieces with fine-grain structure
JP4230123B2 (en) Constant strain steel used for CVJ and other machine structural products
JP4389639B2 (en) Ingot rolling method
JP4325414B2 (en) Metal slab manufacturing method
JPS5919761B2 (en) Method and device for blooming steel ingots for extra-thick steel materials

Legal Events

Date Code Title Description
A300 Withdrawal of application because of no request for examination

Free format text: JAPANESE INTERMEDIATE CODE: A300

Effective date: 20070501