JP2005188258A - Column joint structure - Google Patents

Column joint structure Download PDF

Info

Publication number
JP2005188258A
JP2005188258A JP2003434622A JP2003434622A JP2005188258A JP 2005188258 A JP2005188258 A JP 2005188258A JP 2003434622 A JP2003434622 A JP 2003434622A JP 2003434622 A JP2003434622 A JP 2003434622A JP 2005188258 A JP2005188258 A JP 2005188258A
Authority
JP
Japan
Prior art keywords
column
joint
joint member
joint structure
column joint
Prior art date
Legal status (The legal status is an assumption and is not a legal conclusion. Google has not performed a legal analysis and makes no representation as to the accuracy of the status listed.)
Pending
Application number
JP2003434622A
Other languages
Japanese (ja)
Inventor
Takashi Kitano
隆司 北野
Eisuke Kamebuchi
英助 亀淵
Current Assignee (The listed assignees may be inaccurate. Google has not performed a legal analysis and makes no representation or warranty as to the accuracy of the list.)
Senqcia Corp
Original Assignee
Hitachi Metals Techno Ltd
Priority date (The priority date is an assumption and is not a legal conclusion. Google has not performed a legal analysis and makes no representation as to the accuracy of the date listed.)
Filing date
Publication date
Application filed by Hitachi Metals Techno Ltd filed Critical Hitachi Metals Techno Ltd
Priority to JP2003434622A priority Critical patent/JP2005188258A/en
Publication of JP2005188258A publication Critical patent/JP2005188258A/en
Pending legal-status Critical Current

Links

Images

Landscapes

  • Joining Of Building Structures In Genera (AREA)

Abstract

<P>PROBLEM TO BE SOLVED: To provide a column joint structure capable of preventing the considerable extension of a peripheral portion of a column joint structure inside a room of a building or outside the building and also capable of preventing strengths for connecting upper and lower column members in the length direction from being uniform at each position of a mutual connecting and contacting surface. <P>SOLUTION: A first joint member 101 jointed in a body to the lower end surface of an upper column member 32 and a second joint member 102 jointed in a body to the upper surface of a lower column member 34 are provided, and by connecting the first joint member 101 to the second joint member 102 in the up-down direction, screw fastening members 136 and 138 fastening the first joint member 101 and the second joint member 102 which make a column joint structure 100 connect the upper column member 32 and the lower column member 34 in the length direction can be installed in a concave 115 formed at least at either of the first joint member 101 and the second joint member 102. <P>COPYRIGHT: (C)2005,JPO&NCIPI

Description

本発明は、建物の柱、例えば鋼構造、或はコンクリート充填鋼管構造等の柱の端部間をその長さ方向に連結するために用いられる柱継手構造に関するものである。   The present invention relates to a column joint structure used to connect the ends of columns of a building column, such as a steel structure or a concrete-filled steel pipe structure, in the longitudinal direction thereof.

従来の柱継手構造としては例えば、図15,16に示すような柱継手構造30がある(例えば、特許文献1)。この従来の柱継手構造30は、まず、角筒状の上柱部材32の下端面に上面を接触させて、溶接により一体的に接合された柱継手板部材40が設けられている。   As a conventional column joint structure, for example, there is a column joint structure 30 as shown in FIGS. 15 and 16 (for example, Patent Document 1). In this conventional column joint structure 30, first, a column joint plate member 40 that is integrally joined by welding is provided, with the upper surface being brought into contact with the lower end surface of the square columnar upper column member 32.

そして、上柱部材32と同様に角筒状の、下柱部材34の上端部の周囲には、柱継手環状部材42の内周部42bが嵌合して、柱継手環状部材42が下柱部材34の上端部に溶接により一体的に接合されている。   Then, like the upper column member 32, the inner peripheral portion 42 b of the column joint annular member 42 is fitted around the upper end portion of the lower column member 34 having a rectangular tube shape, and the column joint annular member 42 is the lower column. The upper end of the member 34 is integrally joined by welding.

また、下柱部材34の柱継手環状部材42より下方には、下柱部材34に梁部材36の端部を接合するために用いる、柱梁接合部材38が溶接により一体的に接合されている。なお、梁部材36の端部は、柱継手環状部材42の周部にも溶接により一体的に接合されるようになっている。   Further, below the column joint annular member 42 of the lower column member 34, a column beam joining member 38 used for joining the end of the beam member 36 to the lower column member 34 is integrally joined by welding. . Note that the end portion of the beam member 36 is also integrally joined to the peripheral portion of the column joint annular member 42 by welding.

また、柱継手板部材40と柱継手環状部材42は、図16における左右各辺が水平方向に大きく張り出しており、この張り出し部がボルト44とナット46により互いに締結され、このことにより上記上柱部材32と下柱部材34がその長さ方向に連結されるようになっている。   Further, the column joint plate member 40 and the column joint annular member 42 have their left and right sides greatly extended in the horizontal direction in FIG. The member 32 and the lower column member 34 are connected in the length direction.

特願2003−341589Japanese Patent Application No. 2003-341589

しかしながら、このような従来の柱継手構造にあっては、上述したようにボルト44とナット46により締結される、柱継手板部材40と柱継手環状部材42の周部が、上柱部材32と下柱部材34の側面から垂直方向(水平方向)外側に大きく張り出しているため、次のような問題がある。   However, in such a conventional column joint structure, as described above, the peripheral portions of the column joint plate member 40 and the column joint annular member 42 that are fastened by the bolts 44 and the nuts 46 are connected to the upper column member 32. Since it protrudes largely from the side surface of the lower column member 34 to the outside in the vertical direction (horizontal direction), there are the following problems.

すなわち、柱継手板部材40と柱継手環状部材42が部屋の床下に配置される場合は問題ないが、床と天井の間の中間高さ位置に配置されると、柱継手板部材40と柱継手環状部材42の周部が部屋内に大きく張り出して、その先端部に上下方向に伸びる壁を設けると、上記張り出した分だけ部屋が狭くなってしまうという問題があった。   That is, there is no problem when the column joint plate member 40 and the column joint annular member 42 are arranged under the floor of the room, but when the column joint plate member 40 and the column joint annular member 42 are arranged at an intermediate height position between the floor and the ceiling, the column joint plate member 40 and the column are arranged. If the peripheral portion of the joint annular member 42 protrudes greatly into the room and a wall extending in the vertical direction is provided at the tip, there is a problem that the room is narrowed by the amount of the protrusion.

また、図16に示すように、上柱部材32と下柱部材34が、その断面の四辺に梁部材36の端部が連結されるような、建物の中柱として使われる場合はともかくとして、図17、18に示す他の従来の柱継手構造80のように、上柱部材32と下柱部材34が、その断面の隣り合う二辺に梁部材36が連結されるような、建物の隅柱として使われる場合には次のような問題がある。   Moreover, as shown in FIG. 16, aside from the case where the upper pillar member 32 and the lower pillar member 34 are used as the middle pillar of a building in which the ends of the beam member 36 are connected to the four sides of the cross section, As in the other conventional column joint structure 80 shown in FIGS. 17 and 18, the upper column member 32 and the lower column member 34 are connected to the adjacent two sides of the cross section so that the beam member 36 is connected to the corner of the building. When used as a pillar, there are the following problems.

すなわち、建物内部の部屋を少しでも広くするためには、前記柱継手板部材40と柱継手環状部材42に相当する、図18に示す柱継手板部材90と柱継手環状部材92は、建物の外側に対向する二辺90c、90cを、上記梁部材36の端部が連結される他の二辺のように外側に大きく張り出させることができない。   That is, in order to enlarge the room inside the building as much as possible, the column joint plate member 90 and the column joint annular member 92 shown in FIG. 18 corresponding to the column joint plate member 40 and the column joint annular member 42 are The two sides 90c and 90c that face the outside cannot be extended to the outside as the other two sides to which the ends of the beam member 36 are connected.

このため、柱継手板部材90と柱継手環状部材92は、図18における左側と上側の各辺が外側に大きく張り出してボルト44とナット46により締結され、このことにより上柱部材32と下柱部材34がその長さ方向に連結されるようになっている。   For this reason, the column joint plate member 90 and the column joint annular member 92 are each fastened by bolts 44 and nuts 46 with the left and upper sides in FIG. The member 34 is connected in the length direction.

この場合は、柱継手板部材90と柱継手環状部材92は、図18におけるそれらの右側と下側の各辺がボルト44とナット46により締結されないことになる(図17の、柱継手板部材90と柱継手環状部材92の右側を参照)。   In this case, the column joint plate member 90 and the column joint annular member 92 are not fastened by the bolts 44 and the nuts 46 on their right and lower sides in FIG. 18 (the column joint plate member of FIG. 17). 90 and the right side of the column joint annular member 92).

このため、上柱部材32を倒すような水平方向の成分を有する外力が加わった場合には、柱継手板部材90と柱継手環状部材92の、図18におけるそれらの右側と下側の各辺相互間が開いて(離れて)しまい、上柱部材32と下柱部材34を連結する強度が、柱継手板部材90と柱継手環状部材92の連結接触面の各位置によって不均一となるという問題があった。   For this reason, when an external force having a horizontal component that tilts the upper column member 32 is applied, the right and lower sides of the column joint plate member 90 and the column joint annular member 92 in FIG. It is said that the strength of connecting the upper column member 32 and the lower column member 34 becomes uneven depending on the positions of the connection contact surfaces of the column joint plate member 90 and the column joint annular member 92. There was a problem.

そこで本発明は、上記問題点に鑑みて、柱継手構造の周部が建物の部屋内や建物の外側に向って大きく張り出すことを防止すると共に、上下柱部材をそれらの長さ方向に連結する強度が互いの連結接触面の各位置によって不均一となることを防止することができる柱継手構造を提供することを課題とするものである。   Therefore, in view of the above problems, the present invention prevents the peripheral portion of the column joint structure from protruding greatly toward the outside of the room of the building or the outside of the building, and connects the upper and lower column members in their length direction. It is an object of the present invention to provide a column joint structure capable of preventing the strength to be generated from being non-uniform depending on each position of the connecting contact surfaces.

上記課題を解決するために、本発明は、
上柱部材の下端面に一体的に接合される第1継手部材と、
下柱部材の上端面に一体的に接合される第2継手部材とを備え、
前記第1継手部材と前記第2継手部材を上下方向に連結することにより前記上柱部材と前記下柱部材をこの長さ方向に連結する柱継手構造であって、
前記第1継手部材と前記第2継手部材を締結するネジ締結部材が、第1継手部材及び第2継手部材の少なくとも一方に形成された凹部内に設けられるようにしたことを特徴とするものである。
In order to solve the above problems, the present invention provides:
A first joint member integrally joined to the lower end surface of the upper column member;
A second joint member integrally joined to the upper end surface of the lower column member,
A column joint structure for coupling the upper column member and the lower column member in the length direction by coupling the first joint member and the second joint member in the vertical direction,
A screw fastening member for fastening the first joint member and the second joint member is provided in a recess formed in at least one of the first joint member and the second joint member. is there.

このような本発明の柱継手構造によれば、この柱継手構造の周部が建物の部屋内や建物の外側に向って大きく張り出すことを防止すると共に、上下柱部材をそれらの長さ方向に連結する強度が互いの連結接触面の各位置によって不均一となることを防止することができる。   According to such a column joint structure of the present invention, it is possible to prevent the peripheral portion of the column joint structure from projecting greatly toward the outside of the building room or the outside of the building, and the upper and lower column members in the length direction thereof. It can prevent that the intensity | strength linked to becomes uneven by each position of a mutual connection contact surface.

以下、本発明の実施の形態について、図面に基づいて具体的に説明する。
図1ないし図4は、本発明による柱継手構造の第1の実施の形態について説明するために参照する図である。
Hereinafter, embodiments of the present invention will be specifically described with reference to the drawings.
FIGS. 1 to 4 are views referred to for describing a first embodiment of a column joint structure according to the present invention.

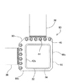
図1に示す本実施の形態に係る柱継手構造100は、まず、角筒状の上柱部材32の下端面に最上面を接触させて、溶接により一体的に接合された第1継手部材101が設けられている。そして、やはり角筒状の下柱部材34の上端面に最下面を接触させて、溶接により一体的に接合された第2継手部材102が設けられている。   In the column joint structure 100 according to the present embodiment shown in FIG. 1, first, the first joint member 101 is integrally joined by welding with the uppermost surface in contact with the lower end surface of the upper column member 32 having a rectangular tube shape. Is provided. Also, the second joint member 102 is provided in which the lowermost surface is brought into contact with the upper end surface of the lower column member 34 having a rectangular tube shape and integrally joined by welding.

第1継手部材101は、水平方向の外形寸法の大きさが前記上柱部材32の水平断面の外形寸法と同じ大きさの上板部104と下板部106を有し、これらの間には、図2に示すように、水平断面中央部の角柱部108と、この角柱部108の各面中央部から上下板部104、106の各辺中央部に伸びる4枚の補強板110が設けられている。   The first joint member 101 has an upper plate portion 104 and a lower plate portion 106 whose horizontal dimension is the same as the horizontal sectional dimension of the upper pillar member 32, and between these, As shown in FIG. 2, there are provided a rectangular column 108 at the center of the horizontal section and four reinforcing plates 110 extending from the center of each surface of the prism 108 to the center of each side of the upper and lower plate portions 104 and 106. ing.

また第1継手部材101には、上板部104の中央部から下板部106の中央部にかけて貫通し、角柱部108の軸線部を通る角孔112が形成されている。そして、下板部106には各隅部に3個ずつ、計12個のボルト孔114が形成されている。   Further, the first joint member 101 is formed with a square hole 112 that penetrates from the central portion of the upper plate portion 104 to the central portion of the lower plate portion 106 and passes through the axial portion of the prismatic portion 108. The lower plate portion 106 is formed with twelve bolt holes 114, three at each corner.

したがって、第1継手部材101には、上板部104の下面と、下板部106の上面と、角柱部108の周面と、補強板110の表裏面とにより囲まれた、凹部115が形成されており、この凹部115内にボルト孔114が形成されていることになる。   Therefore, the first joint member 101 is formed with a recess 115 surrounded by the lower surface of the upper plate portion 104, the upper surface of the lower plate portion 106, the peripheral surface of the prism portion 108, and the front and back surfaces of the reinforcing plate 110. Thus, the bolt hole 114 is formed in the recess 115.

第2継手部材102は、水平方向の外形寸法の大きさが前記下柱部材34の水平断面の外形寸法と同じ大きさの上板部124と下板部126を有し、これらの間には、図3に示すように、水平断面中央部の角柱部128と、この角柱部128の各面中央部から上下板部124、126の各辺中央部に伸びる4枚の補強板130が設けられている。   The second joint member 102 has an upper plate portion 124 and a lower plate portion 126 whose horizontal dimension is the same as the horizontal sectional dimension of the lower pillar member 34, and between these, As shown in FIG. 3, there are provided a rectangular column 128 at the center of the horizontal section, and four reinforcing plates 130 extending from the center of each surface of the prism 128 to the center of each side of the upper and lower plate parts 124, 126. ing.

また第2継手部材102には、上板部124の中央部から下板部126の中央部にかけて貫通し、角柱部128の軸線部を通る角孔132が形成されている。そして、上板部124には各隅部に3個ずつ、計12個のボルト孔134が、前記第1継手部材101のボルト孔114の各位置に対応する位置に形成されている。   Further, the second joint member 102 is formed with a square hole 132 that penetrates from the central part of the upper plate part 124 to the central part of the lower plate part 126 and passes through the axial part of the prismatic part 128. A total of twelve bolt holes 134, three at each corner, are formed in the upper plate portion 124 at positions corresponding to the positions of the bolt holes 114 of the first joint member 101.

したがって、第2継手部材102には、上板部124の下面と、下板部126の上面と、角柱部128の周面と、補強板130の表裏面とにより囲まれた、凹部135が形成されており、この凹部135内にボルト孔134が形成されていることになる。   Accordingly, the second joint member 102 is formed with a recess 135 surrounded by the lower surface of the upper plate portion 124, the upper surface of the lower plate portion 126, the peripheral surface of the prismatic portion 128, and the front and back surfaces of the reinforcing plate 130. Thus, a bolt hole 134 is formed in the recess 135.

このような第1継手部材101の各ボルト孔114と、第2継手部材102の各ボルト孔134には、図1に示すように、ボルト136が下から上に向けて挿通され、このボルト136の先端部にナット138が締結されることにより、上柱部材32と下柱部材34はその長さ方向に連結されるようになっている。
図4は、図1における柱継手構造100のA−A線断面矢視図である。
As shown in FIG. 1, bolts 136 are inserted through the bolt holes 114 of the first joint member 101 and the bolt holes 134 of the second joint member 102 as shown in FIG. When the nut 138 is fastened to the tip of the upper pillar member 32, the upper pillar member 32 and the lower pillar member 34 are connected in the length direction thereof.
FIG. 4 is a cross-sectional view of the column joint structure 100 in FIG.

このような柱継手構造100によれば、その第1継手部材101や第2継手部材102の周部が建物の部屋内や建物の外側に向って大きく張り出すこと防止すると共に、上下柱部材32,34を長さ方向に連結する強度が、第1継手部材101と第2継手部材102の互いの連結接触面の各位置によって不均一となることを防止することができる。   According to such a column joint structure 100, the peripheral portions of the first joint member 101 and the second joint member 102 are prevented from greatly projecting toward the inside of the room of the building or the outside of the building, and the upper and lower column members 32. , 34 in the longitudinal direction can be prevented from becoming uneven depending on the positions of the connecting contact surfaces of the first joint member 101 and the second joint member 102.

そして、各ボルト孔114、134が、第1継手部材101及び第2継手部材102の軸回り方向に全体としてほぼ均等に配置されるようになっているので、上下柱部材32,34を長さ方向に連結する強度が、それらの軸回り方向の各位置によって不均一となることを防止することができる。   And since each bolt hole 114,134 is arrange | positioned substantially equally as a whole in the shaft periphery direction of the 1st joint member 101 and the 2nd joint member 102, the upper and lower column members 32,34 are made long. It is possible to prevent the strength of coupling in the direction from becoming uneven due to the respective positions around the axis.

なお、上記実施の形態に係る柱継手構造100においては、第1継手部材101及び第2継手部材102に角孔112及び132が形成されていたが、これらの角孔112及び132は必ずしも設けなくともよい。このように角孔112、132を設けない場合は、第1継手部材101及び第2継手部材102による、上柱部材32を倒すような水平方向の成分を有する外力に対する強度を向上させることができる。   In the column joint structure 100 according to the above embodiment, the square holes 112 and 132 are formed in the first joint member 101 and the second joint member 102. However, these square holes 112 and 132 are not necessarily provided. Also good. When the square holes 112 and 132 are not provided as described above, the strength of the first joint member 101 and the second joint member 102 against an external force having a horizontal component that causes the upper column member 32 to be tilted can be improved. .

図5,6は、本発明の第2の実施の形態について説明するために参照する図である。この第2の実施の形態は、前記第1の実施の形態における第1継手部材101及び第2継手部材102の代わりに、図5に示す第1継手部材141、及び図6に示す第2継手部材142を用いたものである。   5 and 6 are diagrams referred to for describing the second embodiment of the present invention. In the second embodiment, instead of the first joint member 101 and the second joint member 102 in the first embodiment, the first joint member 141 shown in FIG. 5 and the second joint shown in FIG. 6 are used. The member 142 is used.

前記第1継手部材101及び第2継手部材102は、その形状の上から、型を用いて鋳造又は鍛造により製造することが望ましいが、この第2の実施の形態における第1継手部材141及び第2継手部材142は、その形状の上から、機械切削加工によっても製造し易くすることができるようにしたものである。   The first joint member 101 and the second joint member 102 are desirably manufactured by casting or forging using a die from the top, but the first joint member 141 and the second joint member in the second embodiment are used. The two joint members 142 can be easily manufactured from the shape by mechanical cutting.

すなわち、第1継手部材141においては、4つの補強板110は中心部の菱形柱部148と円弧面を介して連続するよう形成されており、第2継手部材142においても、4つの補強板130は中心部の菱形柱部158と円弧面を介して連続するよう形成されている。   That is, in the first joint member 141, the four reinforcing plates 110 are formed so as to be continuous with the central rhombus column 148 via the arc surface, and also in the second joint member 142, the four reinforcing plates 130 are formed. Is formed so as to be continuous with the rhomboid column 158 at the center via an arc surface.

このような補強板110と菱形柱部148により凹部145の奥の形状が形成されることにより、直方体の鉄鋼材料からフライス盤などの機械加工機の回転刃により切削加工することが可能となっている。また、補強板130と菱形柱部158により凹部165の奥の形状が形成されることにより、前記鉄鋼材料から機械加工機の回転刃により切削加工することが可能となっている。   By forming the back shape of the concave portion 145 by the reinforcing plate 110 and the rhomboid column portion 148, it is possible to cut a rectangular parallelepiped steel material with a rotary blade of a machining machine such as a milling machine. . In addition, since the reinforcing plate 130 and the rhombus column 158 form a shape behind the concave portion 165, the steel material can be cut by a rotary blade of a machining machine.

図7〜9は、本発明の第3の実施の形態について説明するために参照する図である。図7に示す本実施の形態に係る柱継手構造200は、まず、角筒状の上柱部材32の下端面に最上面を接触させて、溶接により一体的に接合された継手部材201が設けられている。そして、やはり角筒状の下柱部材34の上端面に下面を接触させて、溶接により一体的に接合された継手板部材202が設けられている。   7 to 9 are diagrams which are referred to for explaining the third embodiment of the present invention. The column joint structure 200 according to the present embodiment shown in FIG. 7 is provided with a joint member 201 that is integrally joined by welding by bringing the uppermost surface into contact with the lower end surface of the upper column member 32 having a rectangular tube shape. It has been. Also, a joint plate member 202 is provided in which the lower surface is brought into contact with the upper end surface of the lower column member 34 having a rectangular tube shape and integrally joined by welding.

継手部材201は、図2に示すような、前記第1の実施の形態における第1継手部材101と全く同様の構成を有するものであるので、その構成の重複する説明は省略するものとする。   The joint member 201 has the same configuration as that of the first joint member 101 in the first embodiment as shown in FIG. 2, and therefore redundant description of the configuration is omitted.

継手板部材202は、図8に示すように、四角形状の板部材により構成され、この継手板部材202には各隅部に3個ずつ、計12個のネジ孔204が、前記継手部材201のボルト孔114(図2参照)の各位置に対応する位置に形成されている。   As shown in FIG. 8, the joint plate member 202 is formed of a quadrangular plate member, and the joint plate member 202 has three screw holes 204 in each corner, a total of twelve screw holes 204. The bolt hole 114 (see FIG. 2) is formed at a position corresponding to each position.

このため、図7に示すように、継手部材201のボルト孔114にその上方からボルト236を挿通させ、その先端ネジ部を継手板部材202のネジ孔204にネジ締結させることにより、上柱部材32と下柱部材34はその長さ方向に連結されるようになっている。
図9は、図7における柱継手構造200のA−A線断面矢視図である。
For this reason, as shown in FIG. 7, by inserting a bolt 236 into the bolt hole 114 of the joint member 201 from above and screwing the screw thread portion 204 to the screw hole 204 of the joint plate member 202, the upper column member 32 and the lower column member 34 are connected in the length direction.
FIG. 9 is a cross-sectional view of the column joint structure 200 in FIG.

図10、11は、本発明の第4の実施の形態について説明するために参照する図である。図10に示す本実施の形態に係る柱継手構造は、前記第1の実施の形態に係る柱継手構造100と全く同様の構成を有するものであるので、その構成の重複する説明は省略するものとする。   10 and 11 are diagrams which are referred to in order to explain the fourth embodiment of the present invention. The column joint structure according to the present embodiment shown in FIG. 10 has the same configuration as that of the column joint structure 100 according to the first embodiment, and therefore redundant description of the configuration is omitted. And

但しこの第4の実施の形態は、図10に示すように、第2継手部材102の下板部126の下面に中間板部材212の上面を接触させて、溶接により一体的に接合すると共に、さらに、この中間板部材212の下面に、上柱部材32より水平断面の外形寸法が大きな下柱部材234の上面を接触させて、溶接により一体的に接合したものである。   However, in the fourth embodiment, as shown in FIG. 10, the upper surface of the intermediate plate member 212 is brought into contact with the lower surface of the lower plate portion 126 of the second joint member 102 and integrally joined by welding, Further, the upper surface of the lower column member 234 whose outer cross-sectional dimension is larger than that of the upper column member 32 is brought into contact with the lower surface of the intermediate plate member 212 and integrally joined by welding.

このような第4の実施の形態によれば、水平断面の外形寸法の大きさが異なる上下柱部材間をも連結させることができる。
図11は、図10における柱継手構造のA−A線断面矢視図である。
According to such a 4th embodiment, it can connect also between the upper and lower pillar members from which the size of the outside dimension of a horizontal section differs.
FIG. 11 is a cross-sectional view of the column joint structure in FIG.

図12〜14は、本発明の第5の実施の形態について説明するために参照する図である。図12に示す本実施の形態に係る柱継手構造300の、第1継手部材301は、前記第1の実施の形態における第1継手部材101と全く同様の構成を有するものであるので、その構成の重複する説明は省略するものとする。   12-14 is a figure referred in order to demonstrate the 5th Embodiment of this invention. The first joint member 301 of the column joint structure 300 according to the present embodiment shown in FIG. 12 has the same configuration as the first joint member 101 in the first embodiment. The redundant description of will be omitted.

柱継手構造300の第2継手部材302は、図12、13に示すように、第1継手部材301の下板部106と同じ大きさの上板部324と、上柱部材32より大きな水平断面の外形寸法を有する下柱部材234の外形寸法と同じ大きさの外形寸法の下板部326を有し、これらの間に、角柱部328と、4枚の補強板330が設けられている。   As shown in FIGS. 12 and 13, the second joint member 302 of the column joint structure 300 includes an upper plate portion 324 having the same size as the lower plate portion 106 of the first joint member 301 and a horizontal section larger than that of the upper column member 32. The lower plate member 234 having the same outer size as the lower column member 234 has the same outer size as the lower column member 234, and the prismatic portion 328 and the four reinforcing plates 330 are provided therebetween.

また第2継手部材302の上板部324には、その中央部から下板部326の中央部にかけて貫通し、角柱部328の軸線部を通る角孔332が形成されていると共に、各隅部に3個ずつ、計12個のボルト孔334が、前記第1継手部材301のボルト孔114(図2参照)の各位置に対応する位置に形成されている。   Further, the upper plate portion 324 of the second joint member 302 is formed with a square hole 332 that penetrates from the central portion thereof to the central portion of the lower plate portion 326 and passes through the axial portion of the prismatic portion 328, and each corner portion. In total, twelve bolt holes 334 are formed at positions corresponding to the respective positions of the bolt holes 114 (see FIG. 2) of the first joint member 301.

したがって、第2継手部材302には、上板部324の下面と、下板部326の上面と、角柱部328の周面と、補強板330の表裏面とにより囲まれた、凹部335が形成されており、この凹部335内にボルト孔334が形成されていることになる。   Therefore, the second joint member 302 is formed with a recess 335 surrounded by the lower surface of the upper plate portion 324, the upper surface of the lower plate portion 326, the peripheral surface of the prismatic portion 328, and the front and back surfaces of the reinforcing plate 330. Thus, the bolt hole 334 is formed in the recess 335.

このような第1継手部材301の各ボルト孔114と、第2継手部材302の各ボルト孔334には、図12に示すように、ボルト136が下から上に向けて挿通され、このボルト136の先端ネジ部にナット138が締結されることにより、上柱部材32と下柱部材234はその長さ方向に連結されるようになっている。
図14は、図12における柱継手構造300のA−A線断面矢視図である。
As shown in FIG. 12, bolts 136 are inserted through the respective bolt holes 114 of the first joint member 301 and the bolt holes 334 of the second joint member 302 from the bottom to the top. When the nut 138 is fastened to the tip screw portion, the upper column member 32 and the lower column member 234 are connected in the length direction thereof.
FIG. 14 is a cross-sectional view of the column joint structure 300 in FIG.

なお、前記実施の形態においては、柱部材に角筒状のものを用いた場合について説明したが、H型鋼等の他の異なる形状の断面を有する柱部材を用いた場合にも本発明は適用することができる。   In the above-described embodiment, the case where a prismatic member is used as the column member has been described. However, the present invention is also applied to a case where a column member having a different cross-section such as H-shaped steel is used. can do.

また、前記実施の形態においては継手部材の水平方向の外形寸法が、その継手部材が設けられる柱部材の水平断面の外形寸法と同一に設定された場合について説明したが、必ずしもぴったり同一である必要はないが、継手部材の水平方向の外形寸法は、柱部材の水平断面の外形寸法とほぼ同一又はこれより小さいことが望ましい。   In the above embodiment, the case has been described where the horizontal dimension of the joint member is set to be the same as the horizontal dimension of the horizontal cross-section of the column member on which the joint member is provided. However, it is preferable that the horizontal dimension of the joint member is substantially the same as or smaller than the dimension of the horizontal cross section of the column member.

また、前記実施の形態においては、柱継手構造に梁部材の端部を一体的に連結しない場合について説明したが、柱継手構造が部屋の床下に配置される場合は柱継手構造に梁部材の端部を一体的に連結するようにしてもよい。   In the above embodiment, the case where the end of the beam member is not integrally connected to the column joint structure has been described. However, when the column joint structure is arranged under the floor of the room, the beam member is not attached to the column joint structure. You may make it connect an edge part integrally.

本発明の第1の実施の形態に係る柱継手構造100を示す側面図である。1 is a side view showing a column joint structure 100 according to a first embodiment of the present invention. 図1における第1継手部材101を示す図であり、図2(a)はその平面図、図2(b)はその側面図である。It is a figure which shows the 1st coupling member 101 in FIG. 1, Fig.2 (a) is the top view, FIG.2 (b) is the side view. 図1における第1継手部材102を示す図であり、図3(a)はその平面図、図3(b)はその側面図である。FIG. 3A is a plan view of the first joint member 102 in FIG. 1, and FIG. 3B is a side view thereof. 図1における柱継手構造100のA−A線断面矢視図である。FIG. 2 is a cross-sectional view of the column joint structure 100 in FIG. 本発明の第2の実施の形態に係る柱継手構造の第1継手部材141を示す図であり、図5(a)はその平面図、図5(b)はその側面図である。It is a figure which shows the 1st coupling member 141 of the column coupling structure which concerns on the 2nd Embodiment of this invention, Fig.5 (a) is the top view, FIG.5 (b) is the side view. 本発明の第2の実施の形態に係る柱継手構造の第2継手部材142を示す図であり、図6(a)はその平面図、図6(b)はその側面図である。It is a figure which shows the 2nd coupling member 142 of the column coupling structure which concerns on the 2nd Embodiment of this invention, Fig.6 (a) is the top view, FIG.6 (b) is the side view. 本発明の第3の実施の形態に係る柱継手構造200を示す側面図である。It is a side view which shows the column joint structure 200 which concerns on the 3rd Embodiment of this invention. 図7における継手板部材202を示す図であり、図8(a)はその平面図、図8(b)はその側面図である。It is a figure which shows the coupling board member 202 in FIG. 7, FIG. 8 (a) is the top view, FIG.8 (b) is the side view. 図7における柱継手構造200のA−A線断面矢視図である。FIG. 8 is a cross-sectional view of the column joint structure 200 in FIG. 本発明の第4の実施の形態に係る柱継手構造を示す側面図である。It is a side view which shows the column joint structure which concerns on the 4th Embodiment of this invention. 図10における柱継手構造のA−A線断面矢視図である。It is an AA sectional view taken on the line of the column joint structure in FIG. 本発明の第5の実施の形態に係る柱継手構造300を示す側面図である。It is a side view which shows the column joint structure 300 which concerns on the 5th Embodiment of this invention. 図12における第2継手部材302を示す図であり、図13(a)はその平面図、図13(b)はその側面図である。It is a figure which shows the 2nd coupling member 302 in FIG. 12, (a) is the top view, FIG.13 (b) is the side view. 図12における柱継手構造300のA−A線断面矢視図である。FIG. 13 is a cross-sectional view of the column joint structure 300 in FIG. 従来の柱継手構造30を示す側面断面図である。It is side surface sectional drawing which shows the conventional column joint structure 30. FIG. 図15における柱継手構造30のA−A線断面矢視図である。It is the AA sectional view taken on the line of the pillar joint structure 30 in FIG. 他の従来の柱継手構造80を示す側面断面図である。It is side surface sectional drawing which shows the other conventional column joint structure 80. 図17における柱継手構造80のA−A線断面矢視図である。FIG. 18 is a cross-sectional view taken along line AA of the column joint structure 80 in FIG. 17.

符号の説明Explanation of symbols

30 柱継手構造
32 上柱部材
34 下柱部材
36 梁部材
40 柱継手板部材
42 柱継手環状部材
42b 内周部
44 ボルト
46 ナット
80 柱継手構造
90 柱継手板部材
92 柱継手環状部材
100 柱継手構造
101 第1継手部材
102 第2継手部材
104 上板部
106 下板部
108 角柱部
110 補強板
114 ボルト孔
115 凹部
124 上板部
126 下板部
128 角柱部
130 補強板
134 ボルト孔
135 凹部
141 第1継手部材
142 第2継手部材
145 凹部
148 菱形柱部
158 菱形柱部
165 凹部
200 柱継手構造
201 継手部材
202 継手板部材
204 ネジ孔
212 中間板部材
234 下柱部材
236 ボルト
300 柱継手構造
301 第1継手部材
302 第2継手部材
324 上板部
326 下板部
328 角柱部
330 補強板
332 角孔
334 ボルト孔
335 凹部

30 Column Joint Structure 32 Upper Column Member 34 Lower Column Member 36 Beam Member 40 Column Joint Plate Member 42 Column Joint Ring Member 42b Inner Perimeter 44 Bolt 46 Nut 80 Column Joint Structure 90 Column Joint Plate Member 92 Column Joint Ring Member 100 Column Joint Structure 101 First joint member 102 Second joint member 104 Upper plate portion 106 Lower plate portion 108 Square column portion 110 Reinforcing plate 114 Bolt hole 115 Recessed portion 124 Upper plate portion 126 Lower plate portion 128 Square column portion 130 Reinforcing plate 134 Bolt hole 135 Recessed portion 141 First joint member 142 Second joint member 145 Concave portion 148 Diamond column portion 158 Diamond column portion 165 Concavity portion 200 Column joint structure 201 Joint member 202 Joint plate member 204 Screw hole 212 Intermediate plate member 234 Lower column member 236 Bolt 300 Column joint structure 301 First joint member 302 Second joint member 324 Upper plate 3 26 Lower plate portion 328 Square column portion 330 Reinforcement plate 332 Square hole 334 Bolt hole 335 Recessed portion

Claims (3)

上柱部材の下端面に一体的に接合される第1継手部材と、
下柱部材の上端面に一体的に接合される第2継手部材とを備え、
前記第1継手部材と前記第2継手部材を上下方向に連結することにより前記上柱部材と前記下柱部材をこの長さ方向に連結する柱継手構造であって、
前記第1継手部材と前記第2継手部材を締結するネジ締結部材が、第1継手部材及び第2継手部材の少なくとも一方に形成された凹部内に設けられるようにした
ことを特徴とする柱継手構造。
A first joint member integrally joined to the lower end surface of the upper column member;
A second joint member integrally joined to the upper end surface of the lower column member,
A column joint structure for coupling the upper column member and the lower column member in the length direction by coupling the first joint member and the second joint member in the vertical direction,
A column joint characterized in that a screw fastening member for fastening the first joint member and the second joint member is provided in a recess formed in at least one of the first joint member and the second joint member. Construction.
前記ネジ締結部材が、前記上柱部材及び前記下柱部材の軸回り方向に全体としてほぼ均等位置に配置されるようにした請求項1に記載の柱継手構造。 2. The column joint structure according to claim 1, wherein the screw fastening members are arranged at substantially equal positions as a whole in a direction around an axis of the upper column member and the lower column member. 前記第1継手部材及び前記第2継手部材の少なくとも一方に梁部材の端部を一体的に連結するようにした請求項1に記載の柱継手構造。

The column joint structure according to claim 1, wherein an end portion of a beam member is integrally connected to at least one of the first joint member and the second joint member.

JP2003434622A 2003-12-26 2003-12-26 Column joint structure Pending JP2005188258A (en)

Priority Applications (1)

Application Number Priority Date Filing Date Title
JP2003434622A JP2005188258A (en) 2003-12-26 2003-12-26 Column joint structure

Applications Claiming Priority (1)

Application Number Priority Date Filing Date Title
JP2003434622A JP2005188258A (en) 2003-12-26 2003-12-26 Column joint structure

Publications (1)

Publication Number Publication Date
JP2005188258A true JP2005188258A (en) 2005-07-14

Family

ID=34791629

Family Applications (1)

Application Number Title Priority Date Filing Date
JP2003434622A Pending JP2005188258A (en) 2003-12-26 2003-12-26 Column joint structure

Country Status (1)

Country Link
JP (1) JP2005188258A (en)

Cited By (4)

* Cited by examiner, † Cited by third party
Publication number Priority date Publication date Assignee Title
CN103104033A (en) * 2011-11-10 2013-05-15 同济大学 Steel pipe splicing non-protrusion conversion type connection node
CN104074275A (en) * 2013-03-26 2014-10-01 中国二十冶集团有限公司 Prefabricated concrete column connecting joint structure
JP2020041333A (en) * 2018-09-11 2020-03-19 大和ハウス工業株式会社 Column joint block and column joint structure
JP2021161725A (en) * 2020-03-31 2021-10-11 日鉄建材株式会社 Dry joint structure and building of column members

Cited By (6)

* Cited by examiner, † Cited by third party
Publication number Priority date Publication date Assignee Title
CN103104033A (en) * 2011-11-10 2013-05-15 同济大学 Steel pipe splicing non-protrusion conversion type connection node
CN104074275A (en) * 2013-03-26 2014-10-01 中国二十冶集团有限公司 Prefabricated concrete column connecting joint structure
JP2020041333A (en) * 2018-09-11 2020-03-19 大和ハウス工業株式会社 Column joint block and column joint structure
JP7174576B2 (en) 2018-09-11 2022-11-17 大和ハウス工業株式会社 Column joint block and column joint structure
JP2021161725A (en) * 2020-03-31 2021-10-11 日鉄建材株式会社 Dry joint structure and building of column members
JP7152440B2 (en) 2020-03-31 2022-10-12 日鉄建材株式会社 Dry joint structures and buildings of column members

Similar Documents

Publication Publication Date Title
JP6823950B2 (en) Joining structure and method of joining columns and beams
TW201812147A (en) Joint for structural material and structure
JP2005188258A (en) Column joint structure
JP5344747B2 (en) Connection structure of steel column and beam concrete main reinforcement
JP2007162244A (en) Member and structure for reinforcing through-hole of steel beam
JP5950331B2 (en) Column member connection structure and assembly method thereof
JP5594758B2 (en) Column joint structure
JP3820292B2 (en) Building unit connector
JP6467267B2 (en) Column joint structure
JP3987470B2 (en) Integration method for steel beam-column joints
JP6057516B2 (en) Column member connection structure and joining member
JP5759317B2 (en) Beam-column connection structure and member
JP3239776U (en) junction structure
JP2693581B2 (en) Fastener
JP5759926B2 (en) Bonded hardware
JP6871989B2 (en) Column base structure and base plate of the structure
JP2005213891A (en) Bonded hardware
JP7667685B2 (en) Brace structure
JP2021006691A (en) Joint structure of square steel pipe column
JP2008240479A (en) Pressure receiving structure
JP2532767Y2 (en) Pillar
JP7003744B2 (en) Building pillar material and pillar end joint structure
JP4171443B2 (en) Reinforced frame
JP7174576B2 (en) Column joint block and column joint structure
JPH06288005A (en) Joint structure of steel skeleton framework

Legal Events

Date Code Title Description
A621 Written request for application examination

Free format text: JAPANESE INTERMEDIATE CODE: A621

Effective date: 20061122

A977 Report on retrieval

Free format text: JAPANESE INTERMEDIATE CODE: A971007

Effective date: 20080904

A131 Notification of reasons for refusal

Free format text: JAPANESE INTERMEDIATE CODE: A131

Effective date: 20080916

A521 Written amendment

Free format text: JAPANESE INTERMEDIATE CODE: A523

Effective date: 20081112

A131 Notification of reasons for refusal

Free format text: JAPANESE INTERMEDIATE CODE: A131

Effective date: 20090220

A521 Written amendment

Free format text: JAPANESE INTERMEDIATE CODE: A523

Effective date: 20090417

A02 Decision of refusal

Free format text: JAPANESE INTERMEDIATE CODE: A02

Effective date: 20090629