JP2005180159A - 固定装置 - Google Patents

固定装置 Download PDF

Info

Publication number
JP2005180159A
JP2005180159A JP2004016241A JP2004016241A JP2005180159A JP 2005180159 A JP2005180159 A JP 2005180159A JP 2004016241 A JP2004016241 A JP 2004016241A JP 2004016241 A JP2004016241 A JP 2004016241A JP 2005180159 A JP2005180159 A JP 2005180159A
Authority
JP
Japan
Prior art keywords
gantry
base
fixing device
fixing
installation body
Prior art date
Legal status (The legal status is an assumption and is not a legal conclusion. Google has not performed a legal analysis and makes no representation as to the accuracy of the status listed.)
Granted
Application number
JP2004016241A
Other languages
English (en)
Other versions
JP4429028B2 (ja
Inventor
Keiji Yamada
恵司 山田
Hiroto Masuda
弘人 増田
Tetsuyuki Shirai
哲之 白井
Current Assignee (The listed assignees may be inaccurate. Google has not performed a legal analysis and makes no representation or warranty as to the accuracy of the list.)
Kyocera Corp
Original Assignee
Kyocera Corp
Priority date (The priority date is an assumption and is not a legal conclusion. Google has not performed a legal analysis and makes no representation as to the accuracy of the date listed.)
Filing date
Publication date
Application filed by Kyocera Corp filed Critical Kyocera Corp
Priority to JP2004016241A priority Critical patent/JP4429028B2/ja
Publication of JP2005180159A publication Critical patent/JP2005180159A/ja
Application granted granted Critical
Publication of JP4429028B2 publication Critical patent/JP4429028B2/ja
Anticipated expiration legal-status Critical
Expired - Fee Related legal-status Critical Current

Links

Images

Classifications

    • FMECHANICAL ENGINEERING; LIGHTING; HEATING; WEAPONS; BLASTING
    • F24HEATING; RANGES; VENTILATING
    • F24SSOLAR HEAT COLLECTORS; SOLAR HEAT SYSTEMS
    • F24S25/00Arrangement of stationary mountings or supports for solar heat collector modules
    • F24S25/60Fixation means, e.g. fasteners, specially adapted for supporting solar heat collector modules
    • FMECHANICAL ENGINEERING; LIGHTING; HEATING; WEAPONS; BLASTING
    • F24HEATING; RANGES; VENTILATING
    • F24SSOLAR HEAT COLLECTORS; SOLAR HEAT SYSTEMS
    • F24S25/00Arrangement of stationary mountings or supports for solar heat collector modules
    • F24S25/30Arrangement of stationary mountings or supports for solar heat collector modules using elongate rigid mounting elements extending substantially along the supporting surface, e.g. for covering buildings with solar heat collectors
    • F24S25/33Arrangement of stationary mountings or supports for solar heat collector modules using elongate rigid mounting elements extending substantially along the supporting surface, e.g. for covering buildings with solar heat collectors forming substantially planar assemblies, e.g. of coplanar or stacked profiles
    • F24S25/35Arrangement of stationary mountings or supports for solar heat collector modules using elongate rigid mounting elements extending substantially along the supporting surface, e.g. for covering buildings with solar heat collectors forming substantially planar assemblies, e.g. of coplanar or stacked profiles by means of profiles with a cross-section defining separate supporting portions for adjacent modules
    • FMECHANICAL ENGINEERING; LIGHTING; HEATING; WEAPONS; BLASTING
    • F24HEATING; RANGES; VENTILATING
    • F24SSOLAR HEAT COLLECTORS; SOLAR HEAT SYSTEMS
    • F24S25/00Arrangement of stationary mountings or supports for solar heat collector modules
    • F24S25/60Fixation means, e.g. fasteners, specially adapted for supporting solar heat collector modules
    • F24S25/65Fixation means, e.g. fasteners, specially adapted for supporting solar heat collector modules for coupling adjacent supporting elements, e.g. for connecting profiles together
    • FMECHANICAL ENGINEERING; LIGHTING; HEATING; WEAPONS; BLASTING
    • F24HEATING; RANGES; VENTILATING
    • F24SSOLAR HEAT COLLECTORS; SOLAR HEAT SYSTEMS
    • F24S20/00Solar heat collectors specially adapted for particular uses or environments
    • F24S2020/10Solar modules layout; Modular arrangements
    • F24S2020/13Overlaying arrangements similar to roof tiles
    • FMECHANICAL ENGINEERING; LIGHTING; HEATING; WEAPONS; BLASTING
    • F24HEATING; RANGES; VENTILATING
    • F24SSOLAR HEAT COLLECTORS; SOLAR HEAT SYSTEMS
    • F24S25/00Arrangement of stationary mountings or supports for solar heat collector modules
    • F24S2025/01Special support components; Methods of use
    • F24S2025/014Methods for installing support elements
    • YGENERAL TAGGING OF NEW TECHNOLOGICAL DEVELOPMENTS; GENERAL TAGGING OF CROSS-SECTIONAL TECHNOLOGIES SPANNING OVER SEVERAL SECTIONS OF THE IPC; TECHNICAL SUBJECTS COVERED BY FORMER USPC CROSS-REFERENCE ART COLLECTIONS [XRACs] AND DIGESTS
    • Y02TECHNOLOGIES OR APPLICATIONS FOR MITIGATION OR ADAPTATION AGAINST CLIMATE CHANGE
    • Y02BCLIMATE CHANGE MITIGATION TECHNOLOGIES RELATED TO BUILDINGS, e.g. HOUSING, HOUSE APPLIANCES OR RELATED END-USER APPLICATIONS
    • Y02B10/00Integration of renewable energy sources in buildings
    • Y02B10/20Solar thermal
    • YGENERAL TAGGING OF NEW TECHNOLOGICAL DEVELOPMENTS; GENERAL TAGGING OF CROSS-SECTIONAL TECHNOLOGIES SPANNING OVER SEVERAL SECTIONS OF THE IPC; TECHNICAL SUBJECTS COVERED BY FORMER USPC CROSS-REFERENCE ART COLLECTIONS [XRACs] AND DIGESTS
    • Y02TECHNOLOGIES OR APPLICATIONS FOR MITIGATION OR ADAPTATION AGAINST CLIMATE CHANGE
    • Y02EREDUCTION OF GREENHOUSE GAS [GHG] EMISSIONS, RELATED TO ENERGY GENERATION, TRANSMISSION OR DISTRIBUTION
    • Y02E10/00Energy generation through renewable energy sources
    • Y02E10/40Solar thermal energy, e.g. solar towers
    • Y02E10/47Mountings or tracking

Landscapes

  • Engineering & Computer Science (AREA)
  • Physics & Mathematics (AREA)
  • Life Sciences & Earth Sciences (AREA)
  • Sustainable Development (AREA)
  • Sustainable Energy (AREA)
  • Thermal Sciences (AREA)
  • Chemical & Material Sciences (AREA)
  • Combustion & Propulsion (AREA)
  • Mechanical Engineering (AREA)
  • General Engineering & Computer Science (AREA)
  • Roof Covering Using Slabs Or Stiff Sheets (AREA)
  • Photovoltaic Devices (AREA)

Abstract

【課題】 傾斜屋根上での配設作業が容易で、作業工数が少なく施工作業が簡単なで、しかも安全性を十分確保した太陽光発電装置を提供すること。
【解決手段】 建造物に設置される設置体を固定するための固定装置であって、建造物に連結され、長尺状に形成される基台と、基台に案内されて基台の長手方向となる第1方向に移動可能に形成される支持部材と、支持部材に案内されて前記第1方向と交差する第2方向に移動可能に形成され、設置体を保持する架台と、基台に対する支持部材の変位および支持部材に対する架台の変位を阻止可能な変位阻止部材とを含むことを特徴とする。
【選択図】 図1

Description

本発明は、太陽エネルギーを利用して発電を行う太陽電池モジュールや太陽熱を利用する太陽集熱器などの設置体を架台を介して設置するための固定装置に関するものである。
近年、地球環境問題への関心の高まりとともに、自然エネルギーを利用した新エネルギー技術が注目されている。そのひとつとして、太陽エネルギーを利用したシステムの関心が高く、特に、太陽光発電システムの住宅への普及が加速されてきている。
太陽光発電システムは、その主要な構成要素である太陽電池パネルにより太陽光エネルギーを電力に変換して利用することにより家庭の電気負荷を低減させるものである。住宅においては、家屋の屋根上に太陽電池モジュールを配設して利用されることが多いため、屋根上への太陽電池モジュールの取り付け構造も種々考案されている。
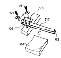
図58は第1の従来の固定装置110を用いて太陽電池モジュール103を屋根上に設置する状態を模式的に示す斜視図である。図59は、図58のセクションS1を拡大して示す斜視図である。図60は、第1の従来の固定装置110を瓦葺き屋根118上に設置した状態を模式的に示す断面図であり、図61は、固定金具124を示す斜視図である。
第1の従来の固定装置110を用いて、太陽電池モジュール103を屋根面に固定する場合、作業者はまず、屋根上に縦桟101を固定し、その上に横桟102を設置する。次に、横桟102に枠付き太陽電池モジュール103をボルト104等で取り付ける。
具体的には、作業者は、縦桟101上に横桟102を取り付ける場合、まず複数の縦桟101を、屋根上に設けられた固定金具124に屋根の傾斜方向Xに沿って取り付ける。次に、前記複数の縦桟101上に直交するように横桟102を配置し、縦桟101に設けられたネジ穴112や貫通穴を用いて横桟102を横桟固定金具125で縦桟101に固定する。横桟102上には太陽電池モジュール103をネジ止めするためのネジ穴113や貫通穴が複数設けられており、太陽電池モジュール103は各々の載置位置に固定される。
特開2001−144314号公報 特開平11−2011号公報 特開2002−4526号公報 特開2000−286438号公報
しかしながら、前述の方法では太陽電池モジュール側に固定用の穴114等を設けなければならず、太陽電池モジュール103の枠が小型化しにくいといった問題があった。また、太陽電池モジュール103を個々に取り付けるため、ボルト104等の固定箇所が多く、作業工数が多かった。
そこで、横桟や横架台と呼ばれる屋根の傾斜方向Xと直交する方向Yに等間隔で配設された架台102の隣り合う2つに太陽電池モジュール103を渡して取り付け、太陽電池モジュール103の小型化、取り付け作業工数の削減ができる方法が提案されている(例えば、特許文献1参照)。
さらに、既設の種々の屋根にも容易に対応でき、雨仕舞いが容易で、固定の位置出しが容易な取り付け装置および取り付け方法の提案がされている。(例えば、特許文献2参照)
また、屋根面に並行で一定間隔に取り付けた横桟に略コ形状の太陽電池モジュール挿入部を設け、枠無しか、比較的簡易な枠を有する太陽電池モジュールを挿入するようにして、枠部分を軽量化する技術も提案されている(例えば、特許文献3参照)。
また、通常、架台および太陽電池モジュールは両方とも接地処理が行なわれている必要があり、金属製の縦桟を用いない場合には、架台および太陽電池モジュールの接地を行うには横桟同士の電気的導通を何らかの方法で取らなければならない。
そこで、太陽電池パネルの枠に接地するために導電部材を設け、この導電部材に電気的接触を得るために前記枠の表面に形成された絶縁性被膜を破る被膜破壊手段を設ける方法が提案されている(例えば、特許文献4参照)。
特許文献1に開示される固定装置は、屋根材の上に個別に配置され、屋根の上に固定される固定金具によって、屋根上に固定される。固定装置は、複数の横桟に跨って載置した太陽電池モジュールの端部を横桟と外側挟持部材で挟持することにより太陽電池モジュールを桟上に強固に固定する。この場合、太陽電池モジュールのネジ固定の工数を軽減させることができるが、図58に示すような縦桟101を用いないので、図60に示すような波瓦118の屋根への設置には適さない。これは瓦葺き屋根に取り付けられる固定金具124の配置間隔が、太陽電池モジュール103の幅と必ずしも合致しないことによる。
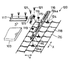
図62は、第2の従来技術の固定装置120を示す分解斜視図である。第2の従来技術の固定装置120は、縦桟の代わりに固定金具124と架台保持部116とが用いられる。前記架台保持部116は、固定金具124の固定用ボルト124aを挿通するスリット115を設け、このスリット115の幅で架台となる横桟117の位置調整を行なうことができる。この場合、波瓦118やスレート瓦のような段差を有する屋根上であっても、横桟117の固定位置を移動させることで、太陽電池モジュール103の幅と合致させることができるが、固定金具124と架台保持部材116とを固定するのに、固定用ボルト124aに嵌るナット119を用い、また、架台となる横桟117を架台保持部材116に固定するのに、別の固定用ボルト121を用いるので、構造が複雑で架台設置のための工程数が多かった。また、横桟117の位置調整が短いスリットの幅でしか行なえなかったので、固定装置120を屋根面に固定するにあたって、位置決めの精度が必要であり、精度の不具合がある場合に、固定装置120の位置決めを再度行なわなければならないといった問題もあった。
図63は第2の従来の固定装置120を用いて太陽電池モジュール103を屋根上に設置した状態を模式的に示す図である。図64は、図63の一部拡大斜視図である。図65(a)は従来の固定装置120を用いて太陽電池モジュール103を屋根上に設置した第1例を模式的に示す図である。図65(b)は従来の固定装置120を用いて太陽電池モジュール103を屋根上に設置した第2例を模式的に示す図である。図65(c)は従来の固定装置120を用いて太陽電池モジュール103を屋根上に設置した第3例を模式的に示す図である。図65(d)は従来の固定装置と120用いて太陽電池モジュール103を屋根上に設置した第4例を模式的に示す図である。
第2の従来技術のような太陽電池モジュール103の端部を挟持する固定装置120において、これを架台保持部材116上に配するようにした場合には図64に示すように横桟117の溝部123を横桟固定金具125が覆うことによって横桟117に太陽電池モジュール103をはめ込むことができない部分が生じることになり、図63に示すように屋根上に太陽電池モジュール103を多数配した太陽電池アレイ127としたときに、横桟固定金具125の箇所に隙間が存在する載置となってしまい、家屋の屋根の外観を損なう。
これは図65(a)〜65(d)に示すように台形状の屋根への配置や三角形状、平行四辺形、さらには長さの異なる太陽電池モジュール103の組み合わせ配置において特に顕著である。具体的には図65(a)に示すように台形状の屋根に太陽電池モジュール103を載置するとした場合、架台保持部材116に横桟117を固定する横桟固定金具125上には太陽電池モジュール103を載置できないので、架台保持部材116が剥き出しの外観になるほか、架台保持部材116分の屋根面積が発電できない面積として設置可能な面積を減少させることになる。
また、太陽電池モジュール103の横配列のb列では屋根面積としては3枚の太陽電池モジュール103が載置できるが、架台保持部116を跨いで横桟117にはめ込み固定できないので2枚しか載置できず屋根上の設置可能な面積を減少させることになる。
また、図65(b)のように、三角形状の屋根においてはb列が3枚の載置にできないだけでなくa列上部にもう1枚載置できる屋根空間が活用されない。
図65(c)の平行四辺形状の屋根においては外観上、屋根の斜辺の傾きに合わせて太陽電池モジュール103のa〜e列をそれぞれずらして載置することが望ましいが、それに対応できない。
なお、以上の問題は図65(d)に示すように、大きさの異なる太陽電池モジュール103,105を用いても同様であり、本来様々な組み合わせによる載置で屋根上の面積を発電可能な面積としたり、屋根形状にあわせた外観とすることを阻害するものである。
また、前述の技術においては固定金具124もしくは横桟117の設置位置を予め決定し、その位置合わせ位置に従って施工する必要があり、位置合わせの精度が後の施工に大きく影響し、時には固定装置120の位置なおしを行わなければならなくなるといった手間も生じることとなる。
そこで、本発明は、このような従来技術の課題に鑑み、構造が簡単で、固定装置の固定に関する工程数を減らすこと、並びに、固定装置を建造物に固定するにあたって、位置決めの精度が必要なく、したがって固定装置の位置なおしの手間がかからないようにすることを目的とする。
また、固定金具の位置に縦桟の配置されるべき位置が影響しないようにして、固定金具の屋根上への取り付け精度を緩和できるようにすることを目的とする。
また、特許文献3号公報に開示されたような技術では、横桟で全体の剛性を保つため太陽電池モジュールは軽量化できても、太陽電池モジュールを屋根面端部より太陽電池モジュールを挿入するために、太陽電池モジュールを設置位置まで移動させる必要があり、工数が増加する。
また、太陽電池モジュールの端部が横桟に引っかかることもあり作業しづらく、太陽電池モジュールが破損するおそれもある。
さらに、太陽電池モジュール配置後に、特定の太陽電池モジュールを脱着できないため、施工時の電気配線やメンテナンス時に、横に並んだ太陽電池モジュール全てをずらす必要があり、工数を要する。
したがって、本発明の他の目的は、傾斜屋根上での配設作業が容易で、作業工数が少なく施工作業が簡単なで、しかも安全性を十分確保した固定装置を提供することである。
また、特許文献4に開示されたような技術では、接地のための新たな部品を設けなくてはならず、部品点数が増加するほか、その部材を取り付ける作業が必要となり工数が増加する。特に、屋根上で小さな部材を取り付けることは非常に煩雑で施工時間が長くなる。また、部品や工具の滑落といった事故を生じさせる要因となる。
したがって、本発明のさらに他の目的は、部品点数が増加することなく、屋根上での配設作業が容易で、作業工数が少なく施工作業が簡単な接地構造とした固定装置を提供することである。
本発明の固定装置は、建造物に設置される設置体を固定するための固定装置であって、建造物に連結され、長尺状に形成される基台と、基台に案内されて基台の長手方向となる第1方向に移動可能に形成される支持部材と、支持部材に案内されて前記第1方向と交差する第2方向に移動可能に形成され、設置体を保持する架台と、基台に対する支持部材の変位および支持部材に対する架台の変位を阻止可能な変位阻止部材とを含むことを特徴とする。
また、本発明の他の固定装置は、変位阻止部材は、架台の一部を基台に対して押圧することで、架台を基台に固定することを特徴とする。
また、本発明の他の固定装置は、変位阻止部材は、支持部材に連結されて、架台の一部を基台に対して押圧することで、架台を基台と支持部材とによって挟持することを特徴とする。
また、本発明の他の固定装置は、間隔をあけてそれぞれ設けられる2つの架台によって、設置体の両側の周縁部をそれぞれ保持することを特徴とする。
また、本発明の他の固定装置は、架台に設置体を固定可能な設置体固定部材をさらに含むことを特徴とする。
また、本発明の他の固定装置は、架台に設置体を固定する設置体固定部材をさらに含み、固定部材は、架台と反対側から設置体に当接するカバー体と、カバー体を架台に向かって押圧する押圧部材とを備えることを特徴とする。
また、本発明の他の固定装置は、架台は、設置体を乗載する乗載部と、乗載部よりも建造物側に設けられ、支持部材に連結される連結部とが形成されることを特徴とする。
また、本発明の他の固定装置は、支持部材は、前記第2方向に延びるレール状の支持部材係止部が形成され、架台は、建造物側に設けられて支持部材の係合部に係合するレール状の架台係止部とが形成され、支持部材係止部と架台係止部とが係合することを特徴とする。
また、本発明の他の固定装置は、基台は、建造物に固定される基台固定部と、基台固定部に案内されて、基台固定部に対して第1方向に移動可能に設けられ、前記支持部材を連結する基台移動部と、基台固定部に対する基台移動部の変位を阻止可能な基台結合部とを備えることを特徴とする。
また、本発明の他の固定装置は、建造物に設置される設置体を固定するための固定装置であって、建造物に連結される基台と、基台に直接または間接的に連結され、設置体を乗載する架台と、架台と協働して、設置体を挟持するカバー体と、架台に螺着可能に形成され、架台に螺進することによってカバー体を架台に押圧する押圧力を発生するねじ部材と、ねじ部材が架台から螺退するとともにカバー体を架台から離反移動させる間隔調整部材とを含むことを特徴とする。
また、本発明の他の固定装置は、間隔調整部材は、ねじ部材によるカバー体押圧前におけるカバー体と架台との間隔を、カバー体押圧後よりも広く保持することを特徴とする。
また、本発明の他の固定装置は、間隔調整部材は、前記押圧力とは反対方向の力をカバー体に与えるバネ部材を含むことを特徴とする。
また、本発明の他の固定装置は、カバー体は、架台から離反した状態で、架台に乗載される設置体に当接し、設置体の移動を抑止する当接部が形成されることを特徴とする。
また、本発明の他の固定装置は、間隔調整部材は、架台とカバー体とにともに接触し、架台とカバーとを電気的に接続することを特徴とする。
また、本発明の他の固定装置は、建造物に設置される設置体を固定するための固定装置であって、建造物に連結される基台と、基台に直接または間接的に連結され、設置体を乗載する架台と、架台と協働して、設置体を挟持するカバー体と、架台に螺着可能に形成され、架台に螺進することによってカバー体を架台に押圧する押圧力を発生するねじ部材とを含み、カバー体は、架台と協働して設置体を仮止め可能な仮止め状態で、架台に装着されることを特徴とする。
また、本発明の他の固定装置は、架台とカバー体とによって、上下方向両側にそれぞれ2つの設置体を挟持可能に形成され、2つの設置体を保持した状態で、架台は、下側に位置する下側設置体の上方側周縁部を載置する下方側載架面と、上側に位置する上側設置体の下方側周縁部を載置し、下方側載架面よりも高く設けられる上方側載架面と、上方側載架面から連続して下方側載架面の上にせり出て、ねじ部材に螺合するためのねじ孔が形成されるねじ形成部とが形成され、カバー体は、下側設置体の上側周縁部を上側から押圧する下側押圧片と、上側設置体の下側周縁部を上側から押圧し、下側押圧片よりも上方に設けられる上側押圧片とが形成され、各設置体の周縁部を架台の各載架面に載置可能な状態で、ねじ部材の先端部でカバー体の下側押圧片を架台の下側載架面に対して押圧することで、カバー体を架台に固定可能であるとともに、ねじ部材を緩めてカバー体の固定状態を解くと、設置体の周縁部をカバー体によって押圧可能な状態にすることができ、この押圧可能な状態でねじ部材を締め付けて設置体の周縁部をカバー体によって押圧することを特徴とする。
また、本発明の他の固定装置は、カバー体には、設置体を位置決めするストッパー部分が形成されることを特徴とする。
また、本発明の他の固定装置は、ねじ部材は、前後をねじ形成部に挟まれる非ねじ形成部が設けられることを特徴とする。
また、本発明の他の固定装置は、ねじ部材は、架台に螺合した状態で、先端部が残余の部分よりも大きく形成されることを特徴とする。
また、本発明の他の固定装置は、間隔をあけてそれぞれ設けられる2つの架台によって、設置体の両側の周縁部をそれぞれ保持することを特徴とする。
また、本発明の他の固定装置は、建造物に設置される設置体を固定するための固定装置であって、建造物に連結される基台と、基台に対して予め定める角変位軸線まわりに角変位可能に設けられる案内部材と、案内部材に案内されて移動可能に形成されて、設置体を保持する架台とを含むことを特徴とする。
また、本発明の他の固定装置は、架台の位置を保持しつつ、案内部材によって架台を案内したときに、前記角変位軸線まわりに基台を案内部材に対して角変位することで、建造物に対する基台の固定位置を任意に決定可能としたことを特徴とする。
また、本発明の他の固定装置は、案内部材に対して基台を角変位軸線まわりに180度回動させた前後において、建造物と基台との固定位置が変化することを特徴とする。
また、本発明の他の固定装置は、角変位軸線は、基台の長手方向中間部以外の位置に設けられることを特徴とする。
また、本発明の他の固定装置は、基台の長手方向と架台の長手方向とのなす角を所定角度以上ずらしたときに、架台と案内部材とを押圧して、案内部材に対する架台の変位を規制する押圧部材が基台に設けられることを特徴とする。
また、本発明の他の固定装置は、基台の長手方向と架台の長手方向とのなす角を所定角度以上ずらしたときに、架台と案内部材とを押圧して、案内部材に対する架台の変位を規制する押圧部材が設けられ、押圧部材は、基台と案内部材との間に介在されて、押圧部材を架台の長手方向に対して所定角度移動させたときに、架台が案内部材に対して固定されることを特徴とする。
また、本発明の他の固定装置は、基台の長手方向と架台の長手方向とのなす角を所定角度以上ずらしたときに、架台と案内部材とを押圧して、案内部材に対する架台の変位を規制する押圧部材が設けられ、押圧部材は、基台と案内部材との間に介在されて、押圧部材を架台に対し所定の方向に移動させたときに、架台が案内部材に対して固定されることを特徴とする。
また、本発明の他の固定装置は、基台の長手方向と架台の長手方向とのなす角を所定角度以上ずらしたときに、架台と案内部材とを押圧して、案内部材に対する架台の変位を規制する押圧部材が設けられ、押圧部材は、凸条部分が形成されることを特徴とする。
また、本発明の他の固定装置は、基台の長手方向と架台の長手方向とのなす角を所定角度以上ずらしたときに、架台と案内部材とを押圧して、案内部材に対する架台の変位を規制する押圧部材が設けられ、押圧部材は、基台と案内部材との間に介在されて、凸条部分が形成されることを特徴とする。
また、本発明の他の固定装置は、間隔をあけてそれぞれ設けられる2つの架台によって、設置体の両側の周縁部をそれぞれ保持することを特徴とする。
また、本発明の他の固定装置は、設置体および架台の側面を覆う側面カバー体をさらに含み、側面カバー体は設置体と当接して設置体を接地することを特徴とする。
また、本発明の設置体は、建造物に設置される設置体であって、架台に当接する部分が電気導通可能に形成されることを特徴とする。
また、本発明の他の固定装置は、建造物に設置される設置体を固定するための固定装置であって、建造物に連結され、長尺レール上に形成される基台と、基台に案内されて基台に予め定められる第1方向に移動可能に形成される支持部材と、支持部材に案内されて前記第1方向と交差する第2方向に移動可能に形成され、設置体を保持する架台と、基台に対する支持部材の変位および支持部材に対する架台の変位を阻止する変位阻止部材と、架台と協働して、設置体を挟持するカバー体と、架台に螺着可能に形成され、架台に螺進することによってカバー体を架台に押圧する押圧力を発生するねじ部材と、ねじ部材が架台を螺退するとともにカバー体を架台から離反移動させる間隔調整部材とを含むことを特徴とする。
また、本発明の他の固定装置は、建造物に設置される設置体を固定するための固定装置であって、建造物に連結され、長尺レール上に形成される基台と、基台に案内されて基台に予め定められる第1方向に移動可能に形成される支持部材と、支持部材に案内されて前記第1方向と交差する第2方向に移動可能に形成され、設置体を保持する架台と、架台と協働して、設置体を挟持するカバー体と、架台に螺着可能に形成され、架台に螺進することによってカバー体を架台に押圧する押圧力を発生するねじ部材とを含み、カバー体は、架台と協働して設置体を仮止め可能な仮止め状態で、架台に装着されることを特徴とする。
また、本発明の更なる他の固定装置は、建造物に設置される設置体を固定するための固定装置であって、建造物に連結される基台と、基台に支持されて水平方向に移動可能に形成され、設置体を保持する架台と、基台に対する架台の変位および支持部材に対する架台の変位を阻止可能な変位阻止部材とを含むことを特徴とする。
請求項1に記載の固定装置によれば、建造物に設置される設置体を固定するための固定装置であって、建造物に連結され、長尺状に形成される基台と、基台に案内されて基台の長手方向となる第1方向に移動可能に形成される支持部材と、支持部材に案内されて前記第1方向と交差する第2方向に移動可能に形成され、設置体を保持する架台と、基台に対する支持部材の変位および支持部材に対する架台の変位を阻止可能な変位阻止部材とを含むことで、基台上を支持部材が基台の長手方向全域に渡って移動できる状態で配置することにより、前記支持部材に支持される架台も基台上を長手方向に沿って移動できる。これによって、設置体、たとえば太陽電池モジュールの取り付け時に基点を決めておけば、その後の取り付けは全て現物合わせで行うことができ、基台位置決めの精度の緩和や作業工数を大幅に削減することができる。
また、上述したように、基台を建造物に固定したあとで、架台を第1方向および第1方向に交差する第2方向に位置調整することができる。これによって建造物に対する基台の固定位置を正確に位置合わせする必要がない。また基台の固定位置にかかわらず、架台の位置を調整することができる。これによって建造物での基台固定作業を簡単化することができる。たとえば、建造物が屋根であって、設置体が太陽電池モジュールである場合、屋根面での基台固定作業を簡単化することによって、屋根上の太陽電池モジュールの固定作業を簡単化することができる。
また、請求項2、3に記載の固定装置によれば、支持部材が基台に載架された架台を支持し、前記支持部材に設けた変位阻止部材でもって、前記架台を基台に固定可能であることから、1つの変位阻止部材の締結によって基台に対する架台と支持部材との両方の固定を1度で行なうことができる。これにより、架台を基台に取り付ける際の工程数を減らすことができる。また、支持部材を、建造物に固定される長尺状の基台に案内されて基台の長手方向に移動可能としたことから、前記長手方向における架台の位置調整を広い範囲で行なうことができる。これにより、基台を建造物に固定するにあたって、位置決めの精度が必要なく、したがって、基台の位置なおしの手間がかからない。
また、変位阻止部材によって、架台の一部と基台との間に摩擦力を発生させることができる。これによって基台に対する架台の変位を阻止することができる。これによって架台と支持部材とを固定する構造と、支持部材と基台とを固定する構造を兼用させることができ、固定装置の構造を簡単化することができる。また架台の位置合せの手間を減らすことができる。
また本発明によれば、架台を位置合わせすると、架台を案内する支持部材も、第1方向に移動する。このとき変位阻止部材は、支持部材に連結されるので、架台の移動とともに移動する。したがって変位阻止部材を架台に対して位置合わせする必要がなく、架台と基台との固定をさらに容易に行うことができる。
また、請求項4に記載の固定装置によれば、間隔をあけてそれぞれ設けられる2つの架台によって、設置体の両側の周縁部をそれぞれ保持することで、架台によって設置体の両側の周縁部を保持することによって、より確実に設置体を固定することができる。また上述したように、架台の位置を調整可能であるので、設置体の両側を保持する2つの架台のうち、第1の架台が連結される第1の基台と、第2の架台が連結される第2の基台を建造物に仮固定しておいて、第1の架台を第1の基台に固定した状態で、保持されるべき設置体の周縁部の幅に応じて、第2の架台を第2の基台に固定することができる。このように2つの架台によって設置体の両側の周縁部を保持する場合でも、第1の架台に対する第2の架台の位置を調整可能であるので、第2の基台の位置調整を正確に行う必要がない。
また、請求項5に記載の固定装置によれば、架台に設置体を固定可能な設置体固定部材をさらに含むことで、設置体は、設置体固定部材によって架台に固定される。これによって設置体をより確実に建造物に固定することができる。たとえば設置体固定部材は、架台と協働して設置体を挟持するカバー体を含んで実現される。また設置体に架台と固定するためのボルト孔などを形成する必要が無く、設置体を小型化および軽量化することができる。
また、請求項6に記載の固定装置によれば、架台に設置体を固定する設置体固定部材をさらに含み、固定部材は、架台と反対側から設置体に当接するカバー体と、カバー体を架台に向かって押圧する押圧部材とを備えることで、押圧部材によってカバー体を架台に向けて押圧することによって、架台に保持される設置体が固定される。押圧部材は、たとえばねじ部材によって実現される。
また、請求項7に記載の固定装置によれば、架台は、設置体を乗載する乗載部と、乗載部よりも建造物側に設けられ、支持部材に連結される連結部とが形成されることで、連結部は、乗載部よりも建造物側、たとえば下側に形成される。これによって架台は、連結部の形成に起因して架台の乗載が阻害される部分が形成されることがなく、乗載部全面にわたって設置体を乗載することができる。したがって建造物に配置可能な設置体の数を増やすことができる。
また、架台を支持部材にて基台上に取り付ける構造としたので、架台に設けられる設置体を乗載するための乗載部を塞ぐことがなく、架台上に設置体を載置することが可能となり、設置体間に基台の露出した隙間が生じることがなく屋根外観を損なうことがない。また、基台による隙間分の屋根面積が太陽光発電に利用可能な面積から削除されることがない。たとえば、台形状、三角形状、平行四辺形状の屋根の形状に合わせて設置体を列ごとにずらして載置することもできるので、様々な設置体の配置を選択することができるようになり、同一設置面における設置体の面積比率を向上させることが可能となる。また、大きさの異なる設置体およびを用いて配置するような場合においても容易に対応できる。
また、小型太陽電池モジュールを多数用いた太陽電池アレイとする場合などに基台上に多数の架台を配する場合においても、支持部材が移動できるので、どのような間隔(間隔の異なる変則的な配置にも対応可能)、本数での架台配置にも対応でき、しかも架台や変位阻止部材、太陽電池モジュールの固定工数が少ないので従来の工法に対し施工工数の削減効果が大きい。
また、請求項8に記載の固定装置によれば、支持部材は、前記第2方向に延びるレール状の支持部材係止部が形成され、架台は、建造物側に設けられて支持部材の係合部に係合するレール状の架台係止部とが形成され、支持部材係止部と架台係止部とが係合することで、支持部材係止部と架台係止部とが、第2方向に延び、互いに係合する。これによって架台は、支持部材に対して第1方向の変位が阻止された状態で、第2方向に移動可能となる。
また、請求項9に記載の固定装置によれば、基台は、建造物に固定される基台固定部と、基台固定部に案内されて、基台固定部に対して第1方向に移動可能に設けられ、前記支持部材を連結する基台移動部と、基台固定部に対する基台移動部の変位を阻止可能な基台結合部とを備えることで、基台の固定部の長手方向に基台の基台移動部が移動できるように、前記基台固定部を設けるとともに、基台固定部と基台移動部との変位を阻止する基台結合部を設けたことで、施工時に基台固定部と基台移動部とを仮固定しておき、架台を基台移動部上に取り付けた後に、基台固定部と基台移動部とを基台結合部によって、固定させることにより架台を基台移動部とともに移動させて建造物における位置合せができる。これにより基台移動部の位置合せ精度が必要なく、施工作業がより簡単になる。また、この方法によれば基台固定部の建造物に対する位置合せも必要なくなる。
また、請求項10に記載の固定装置によれば、建造物に設置される設置体を固定するための固定装置であって、建造物に連結される基台と、基台に直接または間接的に連結され、設置体を乗載する架台と、架台と協働して、設置体を挟持するカバー体と、架台に螺着可能に形成され、架台に螺進することによってカバー体を架台に押圧する押圧力を発生するねじ部材と、ねじ部材が架台から螺退するとともにカバー体を架台から離反移動させる間隔調整部材とを含むことで、フレーム材に軽薄な部材を使用した設置体、たとえば太陽電池モジュールであっても、架台に取り付けた状態で剛性を保つことができる。また設置体、たとえば太陽電池モジュールの施工作業が簡単で、容易に着脱ができる。また、フレーム材に軽薄な部材を使用した太陽電池モジュールであっても仮置き時に滑り落ちることがなく、安全に施工作業が行なえる。
また、請求項11に記載の固定装置によれば、間隔調整部材は、ねじ部材によるカバー体押圧前におけるカバー体と架台との間隔を、カバー体押圧後よりも広く保持することで、ねじ部材が架台に螺着され、架台に向かって螺進することによってカバー体が押圧される。これによってカバー体は、設置体を架台に押圧して、設置体を固定する。また、ねじ部材を架台から螺退させた場合、ねじ部材の螺退とともにカバー体が架台から離反する。これによって設置体を架台から取外す場合、架台とカバー体との間の間隔が大きくなるので、設置体の取外し作業を容易に行うことができる。
また、請求項12に記載の固定装置によれば、間隔調整部材は、前記押圧力とは反対方向の力をカバー体に与えるバネ部材を含むことで、カバー体と架台との間に設けられるバネ部材によって、間隔調整部材を実現することができる。
また、請求項13に記載の固定装置によれば、カバー体は、架台から離反した状態で、架台に乗載される設置体に当接し、設置体の移動を抑止する当接部が形成されることで、架台から離間した状態であっても、架台に乗載される設置体にカバー体の当接部が当接する。これによって、不所望に架台に乗載した設置体が移動することを阻止することができ、仮止め段階において、架台から設置体が脱落することを防ぐことができる。
また、設置体、たとえば太陽電池モジュールを容易に着脱することができ、仮置き状態での配線チェックやメンテナンス等で太陽電池モジュールの取外しが必要となる際にも容易に作業できる。
また、請求項14に記載の固定装置によれば、間隔調整部材は、架台とカバー体とにともに接触し、架台とカバーとを電気的に接続することで、間隔調整部材が、架台とカバー体との電気的導通を持たせる機能を有することで、改めて専用の部材を設けなくとも架台とカバー体とを導通状態に保てるため、架台のみを接地することでカバー体をも接地することができる。
また、請求項15に記載の固定装置によれば、建造物に設置される設置体を固定するための固定装置であって、建造物に連結される基台と、基台に直接または間接的に連結され、設置体を乗載する架台と、架台と協働して、設置体を挟持するカバー体と、架台に螺着可能に形成され、架台に螺進することによってカバー体を架台に押圧する押圧力を発生するねじ部材とを含み、カバー体は、架台と協働して設置体を仮止め可能な仮止め状態で、架台に装着されることで、設置体がカバー体によって仮止めされることによって、仮止め段階において架台から設置体が脱落することを防ぐことができ、建造物への設置体の設置作業を容易に行うことができる。
また、請求項16に記載の固定装置によれば、架台とカバー体とによって、上下方向両側にそれぞれ2つの設置体を挟持可能に形成され、2つの設置体を保持した状態で、架台は、下側に位置する下側設置体の上方側周縁部を載置する下方側載架面と、上側に位置する上側設置体の下方側周縁部を載置し、下方側載架面よりも高く設けられる上方側載架面と、上方側載架面から連続して下方側載架面の上にせり出て、ねじ部材に螺合するためのねじ孔が形成されるねじ形成部とが形成され、カバー体は、下側設置体の上側周縁部を上側から押圧する下側押圧片と、上側設置体の下側周縁部を上側から押圧し、下側押圧片よりも上方に設けられる上側押圧片とが形成され、各設置体の周縁部を架台の各載架面に載置可能な状態で、ねじ部材の先端部でカバー体の下側押圧片を架台の下側載架面に対して押圧することで、カバー体を架台に固定可能であるとともに、ねじ部材を緩めてカバー体の固定状態を解くと、設置体の周縁部をカバー体によって押圧可能な状態にすることができ、この押圧可能な状態でねじ部材を締め付けて設置体の周縁部をカバー体によって押圧することで、地上で予め設置体とカバー体とをねじ部材でもって組み合わせておき、建造物では、この組み合わせた状態から、非常に少ない作業量で架台に設置体を固定することができるので、勾配のある建造物上、たとえば屋根上で設置体を架台に固定する際の作業量を低減し、作業性と安全性を向上させることができる。
また、請求項17に記載の固定装置によれば、カバー体には、設置体を位置決めするストッパー部分が形成されることで、前記ストッパー部分により、設置体の位置ズレを防止することができる。
また、請求項18に記載の固定装置によれば、ねじ部材は、前後をねじ形成部に挟まれる非ねじ形成部が設けられることで、前記ねじ部材に、前後をねじ形成部に挟まれた非ねじ形成部を設けたことから、この非ねじ形成部が緩み止めとなりねじ部材が架台から抜け出ることを防止することができる。
また、請求項19に記載の固定装置によれば、ねじ部材は、架台に螺合した状態で、先端部が残余の部分よりも大きく形成されることで、ねじ部材の先端部が大きく形成されるので、ねじ部材が架台から脱落することを防止することができる。
また、請求項20に記載の固定装置によれば、間隔をあけてそれぞれ設けられる2つの架台によって、設置体の両側の周縁部をそれぞれ保持することで、架台によって設置体の両側の周縁部を保持することによって、より確実に設置体を固定することができる。
また、請求項21、22に記載の固定装置によれば、前記基台に対して角変位軸線まわりに前記案内部材を角変位可能としたことにより、基台を架台から取り外すことなく、架台の位置を保持したままで、建造物の状況に応じて、固定装置の取付位置を調整できる。また、部品点数が少なく簡易な構成であるので、安価に製作でき、取付け工数を低減することができるとともに、軽量であるので、屋根の上でも取扱やすく、安全な作業が可能である。
また、請求項23に記載の固定装置によれば、案内部材に対して基台を角変位軸線まわりに180度回動させた前後において、建造物と基台との固定位置が変化することで、基台の長手方向を変えずに2つの固定配置を選択することができる。したがって、架台を固定するために最適な基台の向きを変更することなく、不都合な固定位置を回避して別の固定位置を選択することができる。
また、請求項24に記載の固定装置によれば、角変位軸線は、基台の長手方向中間部以外の位置に設けられることで、架台に対して基台を角変位させることによって、基台が建造物に固定される固定位置を変更することができる。
また、請求項25に記載の固定装置によれば、基台の長手方向と架台の長手方向とのなす角を所定角度以上ずらしたときに、架台と案内部材とを押圧して、案内部材に対する架台の変位を規制する押圧部材が基台に設けられることで、前記基台の長手方向と前記架台の長手方向とのなす角を所定角度以上ずらしただけで、前記架台を前記案内部材に押圧して前記架台を固定するので、架台の固定が非常に簡便に行なえる。
また、請求項26、27に記載の固定装置によれば、板状であって簡便な構造の押圧部材を用いることで案内部材の構造が簡単である。したがって、安価に製作でき、取付け工数を低減することができるとともに、軽量であるので、屋根の上でも取扱やすく、安全な作業が可能である。
また、請求項28、29に記載の固定装置によれば、架台と基台、または架台と押圧部材相互の所定の動きにともない、架台が凸条に乗り上げる。その結果、架台が案内部材に押圧されて架台が固定される。この構成によれば、構造が極めて簡単になるので、部品点数が少なく安価に製作でき、取付け工数を低減することができるとともに、軽量であるので、屋根の上でも取扱やすく、安全な作業が可能である。
また、請求項30に記載の固定装置によれば、間隔をあけてそれぞれ設けられる2つの架台によって、設置体の両側の周縁部をそれぞれ保持することで、建造物の状況に応じて、設置体を強固に屋根の上に配設することができる。
また、請求項31に記載の固定装置によれば、設置体および架台の側面を覆う側面カバー体をさらに含み、側面カバー体は設置体と当接して設置体を接地することで、設置体を接地する架台の端部に、架台とは直交する方向に複数の架台に渡って取り付ける電気導通可能な金属製の側面体を設けることにより、太陽光発電装置、および設置屋根の外観が向上し、設置体の枠が非伝導性の材質であっても設置体の接地をすることができる。
さらに、金属製の側面体で太陽光発電装置と屋根面の隙間を塞ぐことにより、鳥などが設置体の下に侵入し、騒音や汚れの発生を防止することができる。
また、請求項32に記載の設置体によれば、建造物に設置される設置体であって、架台に当接する部分が電気導通可能に形成されることで、架台に当接して電気導通可能に形成されるので、接地のための配線を別途設ける必要がない。
また、請求項33に記載の固定装置によれば、建造物に設置される設置体を固定するための固定装置であって、建造物に連結され、長尺レール上に形成される基台と、基台に案内されて基台に予め定められる第1方向に移動可能に形成される支持部材と、支持部材に案内されて前記第1方向と交差する第2方向に移動可能に形成され、設置体を保持する架台と、基台に対する支持部材の変位および支持部材に対する架台の変位を阻止する変位阻止部材と、架台と協働して、設置体を挟持するカバー体と、架台に螺着可能に形成され、架台に螺進することによってカバー体を架台に押圧する押圧力を発生するねじ部材と、ねじ部材が架台を螺退するとともにカバー体を架台から離反移動させる間隔調整部材とを含むことで、基台を建造物に固定したあとで、架台を第1方向および第1方向に交差する第2方向に位置調整することができる。これによって建造物に対する基台の固定位置を正確に位置合わせする必要がない。これによって建造物での基台固定作業を簡単化することができる。たとえば、建造物が屋根であって、設置体が太陽電池モジュールである場合、屋根面での基台固定作業を簡単化することによって、屋根状の太陽電池モジュールの固定作業を簡単化することができる。またねじ部材が架台に螺着され、架台に向かって螺進することによってカバー体が押圧される。これによってカバー体は、設置体を架台に押圧して、設置体を固定する。また、ねじ部材を架台から螺退させた場合、ねじ部材の螺退とともにカバー体が架台から離反する。これによって設置体を架台から取外す場合、架台とカバー体との間の間隔が大きくなるので、設置体の取外し作業を容易に行うことができる。
また、請求項34に記載の固定装置によれば、建造物に設置される設置体を固定するための固定装置であって、建造物に連結され、長尺レール上に形成される基台と、基台に案内されて基台に予め定められる第1方向に移動可能に形成される支持部材と、支持部材に案内されて前記第1方向と交差する第2方向に移動可能に形成され、設置体を保持する架台と、架台と協働して、設置体を挟持するカバー体と、架台に螺着可能に形成され、架台に螺進することによってカバー体を架台に押圧する押圧力を発生するねじ部材とを含み、カバー体は、架台と協働して設置体を仮止め可能な仮止め状態で、架台に装着されることで、基台を建造物に固定したあとで、架台を第1方向および第1方向に交差する第2方向に位置調整することができる。これによって建造物に対する基台の固定位置を正確に位置合わせする必要がない。これによって建造物での基台固定作業を簡単化することができる。たとえば、建造物が屋根であって、設置体が太陽電池モジュールである場合、屋根面での基台固定作業を簡単化することによって、屋根状の太陽電池モジュールの固定作業を簡単化することができる。設置体がカバー体によって仮止めされることによって、仮止め段階において架台から設置体が脱落することを防ぐことができ、建造物への設置体の設置作業を容易に行うことができる。
また、請求項35に記載の固定装置によれば、建造物に設置される設置体を固定するための固定装置であって、建造物に連結される基台と、基台に支持されて水平方向に移動可能に形成され、設置体を保持する架台と、基台に対する架台の変位および支持部材に対する架台の変位を阻止可能な変位阻止部材とを含むことで、架台を水平方向に移動可能に形成することによって、基台の屋根に対する水平方向の位置合せ精度が低い場合であっても、設置体を屋根面に固定することができる。また基台を屋根面に固定した後に、屋根面の形状に合わせて架台を水平方向に移動させることが容易であり、屋根面での作業性を向上することができる。
以下図面を参考にして本発明の好適な実施例を詳細に説明する。
以下に、本発明の第1の実施形態の一例を平板状の屋根設置体である太陽電池モジュールを架台を用いて屋根上に配設する場合を例にとり、模式的に図示した図面に基づいて詳細に説明する。たとえば屋根面は、水平面29から傾斜して設けられる。
図1は、本発明の第1の実施の形態の屋根用固定装置30の一例について示す断面図である。図2〜図4は本発明の屋根用固定装置30の実施形態の一例について部品構成と組み合わせ状態を示す斜視図である。図1に示すように、屋根用固定装置30は基台レール1、架台支持部材2、架台固定部材3およびボルト4とを含む。図2〜図4に示すように、架台支持部材2には架台固定部材3が前記架台支持部材2の締結受け部59のねじ穴72にボルト4により、架台固定部材3が移動可能な状態で取付けられている。この状態で架台支持部材2および架台固定部材3が図3のように基台レール1に挿入される。このとき、前記基台レール1のフランジ部56,57の裏面には、前記架台支持部材2の係合部63が当たるようになっており、ボルト4を締め付けることにより前記架台固定部材3と前記係合部63によりフランジ部56,57が狭持され固定される。
本実施形態の屋根用固定装置30を用いた支持物体の屋根への取付け構造を図1の断面図を用いて説明する。屋根用固定装置30は基台レール1、架台支持部材2および架台固定部材3、およびボルト4とを含んで構成される。前記架台支持部材2の係合部63は、前記基台レール1のフランジ部56,57に係合する。また、前記架台支持部材2の係止部65と架台5の第一係合部50と互いに結合する。また、架台固定部材3の係止部73と前記架台5の第二係合部49とが互いに係合する。前記架台5の第一係合部50および第二係合部49は、前記ボルト4が締め込まれることにより前記架台支持部材2の係合部63と架台固定部材3の係止部73とで挟持されている。また、前記ボルト4を締め込むことにより前記架台5は下方に、前記架台支持部材2は上方に引かれるため、前記架台5の第一係合部50および第二係合部49および前記架台支持部材2の係合部63は前記基台レール1のフランジ部56,57に押圧される。これによって、前記基台レール1に対して前記架台5は、屋根17の傾斜方向およびこれに直交する方向に不可動状態となる。ただし、前記ボルト4を締め込む前には、前記基台レール1に対して、前記架台支持部材2は屋根の傾斜方向Xに移動可能であり、前記架台支持部材2に対して前記架台5は屋根の傾斜方向Xと直交する方向Yに移動可能である。
前記基台レール1はシール材6を介し、屋根材7を貫通して取付ビス8にて野地板9およびたるき10に取付けられる。前記架台5には、上下方向から太陽電池モジュール11,23の載架片96,97が載架され、その上面から固定カバー12が固定ビス18にて前記架台5に固定される。
さらに詳しく説明すると、基台レール1は、長尺状に形成され、屋根面に固定される。以下、固定装置に対応する各構成部材について、固定装置として構成された場合に、屋根面と平行でかつ水平線に垂直な方向を傾斜方向Xとし、屋根面と平行でかつ水平線に沿って延びる方向を水平方向Yとし、屋根面に垂直な方向を法線方向Zとする。なお、傾斜方向上方X1は、屋根面に沿って上方に向かう方向となり、法線方向上方Z1は、屋根面に垂直であって上方に向かう方向となる。
図2〜図4に示すように、基台レール1は、傾斜方向Xに垂直な断面で切断すると、その切断面が略U字状に形成される。基台レール1の長手方向は、傾斜方向Xに沿い、基台レール1の幅方向は、水平方向Yに沿う。基台レール1は、底面部60と、立設部61,62と、ストッパー片48とを含む。底面部60は、長尺状に形成され、その長手方向が傾斜方向Xに沿って延びる。底面部60は、屋根面固定用の取付ビス遊通孔55が形成される。取付ビス8は、底面部60の取付ビス遊通孔55に緩やかに挿通して底面部60を屋根17に固定する。
各立設部61,62は、底面部60の水平方向Y両側部分から、法線方向上方Z1にそれぞれ立ち上がり、傾斜方向Xに沿ってそれぞれ延びる。各立設部61,62の法線方向上方Z1側端部は、水平方向Yに互いに近接する方向に屈曲する。すなわち各立設部61,62は、傾斜方向Xに垂直な仮想面で切断した場合、その切断面がそれぞれL字状に形成される。ストッパー片48は、底面部60の傾斜方向下方X2側端部に連なり、底面部60から法線方向上方Z1に突出する。ストッパー片48が設けられることによって、架台支持部材2が基台レール1から脱落することを防ぐことができる。
架台支持部材2は、基台レール1に装着され、架台5と基台レール1とを連結する。架台支持部材2は、板状に形成される平坦部63と、平坦部63の傾斜方向上方X1側端部66から法線方向上方Z1に立ち上がる第1突出部64と、平坦部63の傾斜方向下方X2側端部67から法線方向上方Z1に立ち上がる第2突出部65とが形成される。
各突出部64,65は、平坦部63に連なる胴部分69と、胴部分69に連なり平坦部63から法線方向上方Z1に離反した位置で、胴部分69から水平方向Y両側に突出する腕部分68とを有する。
平坦部63の水平方向寸法L1は、基台レール1の2つの立設部61,62の屈曲部分56,57の間の水平方向距離L2よりも大きく形成される。また胴部分69の水平方向寸法L3は、2つの立設部61,62の屈曲部分56,57の間の水平方向距離L2よりも小さく形成される。また腕部分68の水平方向寸法L4は、2つの立設部61,62の屈曲部分56,57の間の水平方向距離L2よりも大きく形成される。これによって架台支持部材2は、胴部69が2つの屈曲部分56,57の間に配置され、基台レール1の内部に平坦部63が配置され、基台レール1の外部に腕部分68が配置可能となる。このように配置されることによって、架台支持部材2は、傾斜方向Xに沿って移動可能で、その他の方向Y,Zへの移動が規制されて基台レール1に装着される。
2つの突出部64,65のうち、第1突出部64は、L字状に形成される。具体的には第1突出部64は、平坦部63に連なり、平坦部63から傾斜方向上方X1に離反するとともに法線方向上方Z1に延びる第1傾斜部分58と、第1傾斜部分58に連なり、第1傾斜部分58から傾斜方向上方X1に離反するとともに法線方向下方Z2に延びる第2傾斜部分59とが形成される。第2突出部65は、平坦部63から法線方向上方Z1に進むとともに傾斜方向上方X1に延びる。
本実施の形態では、第1傾斜部分58と第2突出部65とは、略同方向に延びる。また第2傾斜部分59は、第1傾斜部分58に対して90度屈曲する。第2傾斜部分59には、ボルト4が螺着するねじ孔72が形成される。ねじ孔72の軸線L99は、第2傾斜部分59に垂直に形成される。すなわちねじ孔72の軸線L99は、法線方向上方Z1に進むにつれて傾斜方向上方X1に延びる。
架台固定部材3は、略L字状に形成されて、第1突出部64に沿う形状に形成される。架台固定部材3は、第1傾斜部分73と、第1傾斜部分73に連なり第1傾斜部分73に対して90度屈曲する第2傾斜部分70とが形成される。架台固定部材3の第2傾斜部分70は、ボルト4が螺合するねじ孔71が形成される。また架台固定部材3の第1傾斜部分73の水平方向寸法L5は、基台レール1の水平方向寸法L6とほぼ同じ寸法に形成される。
架台固定部材3の第2傾斜部分70が第1突出部64の第2傾斜部分59に対向して配置された状態で、ボルト4は、架台固定部材3の第2傾斜部分70に形成されるねじ孔71を挿通し、第1突出部64の第2傾斜部分59のねじ孔72に螺着する。これによって架台固定部材3が架台支持部材2に装着される。架台固定部材3の第1傾斜部分73は、第1突出部64の第1傾斜部分58に略平行に配置される。ボルト4が架台支持部材2のねじ孔72に対して螺進することによって、架台固定部材3は、ねじ孔72の軸線L99に沿って、架台支持部材2の平坦部63に向かって移動する。また、架台固定部材3が架台支持部材2に装着された状態で、架台固定部材3の第1傾斜部分73と、第1突出部64の第1傾斜部分58とは、傾斜方向Xおよび法線方向Zに間隔を開けて配置される。
架台5は、太陽電池モジュール11,23を保持する。架台5は、架台支持部材2を介して基台レール1に装着される。架台5は、基台レール1に装着された状態で、水平方向Yに沿って延びる。架台5は、水平方向Yに垂直な仮想平面で切断した場合、本体部51と、第1つば部49と、第2つば部50とが形成される。本体部51は、略U字状に形成される。第1つば部49は、本体部51bのうちの傾斜方向上方X1側端部に連なり、本体部51に対して屈曲する。第1つば部49は、本体部51から傾斜方向上方X1に屈曲し、傾斜方向Xに平行な当接面が形成される。第2つば部50は、本体部51のうちの、傾斜方向下方X2側端部に連なり、本体部51に対して屈曲する。第2つば部50は、本体部51から傾斜方向下方X2に進むにつれて法線方向下方Z2に延びる。
架台5が基台レール1に装着された状態で、第1つば部49は、基台レール1の各屈曲部分56,57と、架台固定部材3の第1傾斜部分73との間に配置される。このとき第1つば部49は、基台レール1の各屈曲部分56,57に対向して平行に延びる。第2つば部50は、基台レール1の各屈曲部分56,57と、架台支持部材2の第2突出部65との間に配置される。このとき第2つば部50は、架台支持部材2の第2突出部65に対向して平行に延びる。
架台5は、基台レール1に装着された状態で、第2つば部50が架台支持部材2の第2突出部65に案内されることによって、水平方向Yへの移動が可能であり、傾斜方向Xへの移動が阻止される。このとき、第2突出部65および第2つば部50が、屈曲部分56,57に対して傾斜しているので、基台レール1が水平面に対して傾斜して固定されても、架台5を安定して案内することができる。
またボルト4が架台支持部材2に対して螺進することによって、架台固定部材3がねじ孔72の軸線方向に沿って基台レール1に向かって移動する。これによって架台固定部材3の第1傾斜部分73は、架台5の第1つば部49を、架台支持部材2に向かって押圧する。具体的には、第1傾斜部分73は、架台5を傾斜方向下方X2および法線方向下方Z2に向かって押圧する。
架台5の第1つば部49と架台支持部材2との間には、基台レール1の各屈曲部分56,57が配置される。したがって架台5が架台固定部材3によって押圧された場合、架台5の第1つば部49が、基台レール1の屈曲部分56,57に押し当てられる。また架台5の第2つば部50が、架台支持部材2の第2突出部65に押し当てられる。これによって架台5と基台レール1との間に摩擦力が発生し、架台5が基台レール1および架台支持部材2から変位することが阻止される。
また第1つば部49が屈曲部分56,57に面接触することによって、大きな摩擦力を得ることができ、架台5を基台レール1に対して確実に固定することができる。またボルト4をまわすだけで、架台5の傾斜方向Xおよび水平方向Yの両方の変位を同時に阻止することができ、架台5の固定作業を簡単に行うことができる。さらに第2つば部50の法線方向上方Z1に、第2突出部65が配置されることによって、架台5が法線方向上方Z1に変位することを阻止することができる。また摩擦力を向上するために、架台5と架台支持部材3との当接部分、架台5と基台レール1との当接部分および基台レール1と架台支持部材3との間にゴムなどの摩擦係数の高い材料を部分的に設けてもよい。また架台5と基台レール1とを当接させた状態で、架台5が下方に移動することを防ぐように、架台5、基台レール1および架台支持部材3のいずれ一方と、いずれか他方とが噛合う凹凸形状をそれぞれに形成してもよい。これによってボルトが少々緩んだ場合であっても、架台5の落下を防ぐことができる。
またストッパー片48によって、架台支持部材2の脱落を防止することができるので、屋根に取り付ける前に架台支持部材2を基台レール1に予め装着することができる。この状態の基台レール1を屋根面に固定することによって、屋根面上で基台レール1に架台支持部材2を装着する必要がなく、屋根面での作業性を向上することができる。
したがって基台レール1の各立設部61,62のうち、屈曲する屈曲部分56,57が、フランジ部56,57となる。また架台支持部材2の平坦部63が係合部63となり、第1突出部64の第2傾斜部分59が締結受け部59となり、第2突出部65が係止部65となる。また架台固定部材3の第1傾斜部分73が、係止部73となる。また架台5の第1つば部49が第二係合部49となり、第2つば部50が第一係合部50となる。またボルト4と架台固定部材3とを含んで、架台の移動を阻止する移動阻止部材となる。本実施の形態の固定装置30は、架台5を含まなくてもよい。
かかる本実施形態の屋根固定装置の構成によれば、架台支持部材2が基台レール1に直接載架された架台5を支持し、前記架台支持部材2に装着した架台固定部材3でもって、前記架台5を基台レール1に固定することが可能であることから、1つの架台固定部材3の締結によって基台レール1に対する架台5と架台支持部材2の両方の固定を1度で行なうことができる。これにより、架台5を屋根固定装置に取り付ける際の工程数を減らすことができる。
図5(a)〜図5(d)は本発明の実施形態の一例の施工状態を示した図である。この図を用いて本発明の屋根用固定装置を用いた取付け手順の説明を行なう。
まず、図5(a)に示すように屋根材7の上に最も軒先側の屋根用固定装置の屋根傾斜方向の位置を示す横墨14aを書き込み、この横墨14aを基点として屋根の棟方向へ横墨14b、横墨14cと書き込んでいく。次に前記横墨と直交する架台5の端部、基台レール1の長手方向の通りを示す縦墨15を書き込む。最も軒先側の屋根用固定装置30a,30bを縦墨15の位置に合せ、軒側の先端を横墨14に合せて取付ビス8等にて屋根面に固定する。他の屋根用固定装置も同様に横墨14と縦墨15の交点付近に固定する。ここで、本発明の屋根用固定装置30は前述のようにボルト4の締結前には架台5を屋根の傾斜方向Xおよび傾斜方向に直交する方向Yで広い範囲での位置調節が可能であるため、横墨14と縦墨15の交点に精密に合わせて固定する必要はない。
基台レール1の取付けが完了したら、最も軒先側の架台52を屋根固定装置30a,30bに取付け、固定する。
次に、図5(b)に示すように順次棟側へ隣の架台53,54を取付ける。このとき、2段目の架台53を1段目の架台52を基準に治具16を用いて取付間隔を調整しながら取付けるようにするとよい。図6は、治具16を示す断面図である。屋根用固定装置30はボルト4の締結前には架台を屋根の傾斜方向Xおよび傾斜方向に直交する方向Yで広い範囲での位置調節が可能であるので、屋根用固定装置30bに架台52が固定された状態で、治具16を架台52,53にはめ込むようにして屋根用固定装置30dと架台53との取付間隔を、屋根用固定装置30dの架台支持部材2を移動させながら調整し、屋根用固定装置30dのボルト4を締め込むと隣り合う2本の架台52,53は所定の間隔を保持して屋根面に固定される。冶具16は架台53の固定が終了したら取外し、同様にして架台53を基点に次の架台54の固定作業に使用していく。
全ての架台の取付けが完了した後、図5(c)に示したように隣り合う架台52,53をまたいで太陽電池モジュール11を仮置きする。同様にして架台53,54間にも太陽電池モジュール23を仮置きしていく。全ての太陽電池モジュールの仮置きが完了すれば、図5(d)に示すように、固定カバー12を固定ビス18等で締結することにより前記太陽電池モジュール11,23を固定する。これにより太陽電池モジュール11,23の設置が完了する。
また、図7は、第1の実施の形態の他の例の架台支持部材42と基台レール41とを示す斜視図である。本発明では、基台レール41をI字状のものとしてもよい。この場合は架台支持部材42が前記基台レール41を包み込むようにする。このとき、図1乃至4に示すような架台固定部材3を用いてもよいし、架台固定部材としてボルト43が架台を直接押圧するようにしてもよい。
図8は、第1実施形態のさらに他の例の固定装置80を示す断面図である。この形態は、図1に示す実施形態の例示と類似した構成を示す。したがって図1に示す形態と対応する構成については、説明を省略し、同一の参照符号を付する。固定装置80は、図1に示す固定装置80に比べて、大略的に、架台支持部材82と架台85とが異なる。架台85は、2つの太陽電池モジュール11,23を乗載する。架台85に保持された状態において、一方の太陽電池モジュール11と他方の太陽電池モジュール23とは、その法線方向Zの保持位置が異なる。架台85は、本体部51として、下方の太陽電池モジュール11を乗載する下側乗載部86と、上方の太陽電池モジュール23を保持する上側乗載部87とが形成される。上側乗載部87は、下側乗載部86に比べて法線方向上方Z1に形成される。このような本体部51の形状が図1に示す場合と異なる場合であっても、架台85は、図1に示す第1つば部49と第2つば部50と同様の各つば部49,50が形成される。
架台支持部材82は、図1に示す各突出部64,65に対応する構成を有する。また架台支持部材82は、平坦部63に代えて、架台85が装着された状態で、第1つば部49に対向する第1平坦部88と、第2つば部50に対向する第2平坦部89と、第1平坦部88と第2平坦部89とを連結する連結部90とが形成される。各平坦部89,89は、図1に示す平坦部63と同様の機能を有する。第1平坦部88と架台固定部材3の第1傾斜部分73とによって、架台85の第1つば部49と基台レール1の屈曲部分56,57とを挟持する。また架台支持部材2の第2突出部65によって、架台85が基台レール1に対して係止される。
連結部90は、各平坦部88,89よりも法線方向上方Z1に立ち上がり、架台85の下側乗載部86に当接して架台85を支持する。これによって架台85が太陽電池モジュール11を保持した場合に、架台85が変形することを防ぐことができる。この構成は、図1に示す架台支持部材2にも適用可能である。
このように架台85の本体部51の形状が異なる場合であっても、架台85に第1つば部49および第2つば部50が設けられることによって、架台支持部材2および架台固定部材3によって架台85を確実に係止することができる。図8に示すような架台85および架台支持部材82が固定装置85に用いられる場合であっても、図5に示す方法で屋根17に固定することができる。
このように本発明は、屋根面に固定される長尺状の基台レール1と、該基台レール1に案内されて前記基台レール1の長手方向に移動可能な架台支持部材2,82と、該架台支持部材2,82に設けた架台固定部材3とからなり、前記架台支持部材2,82は、前記基台レール1に直接載架された平板状の屋根設置体用の架台5,85を支持し、該架台5,85の所定部位を前記架台固定部材3でもって前記基台レール1に対して押圧することで、前記架台5,85を基台レール1に固定できるようにしたことを特徴とする固定装置である。
また本発明は、少なくとも2辺が互いに平行の平面角形状をなす1以上の屋根設置体に対し、上記した屋根用固定装置によって、複数個の屋根設置体用の架台を固定し、前記架台によって前記屋根設置体である太陽電池モジュールを屋根上に配設した固定構造であって、前記屋根に、所定間隔をおいて少なくとも2列に設けた固定装置群を配設するとともに、前記一方の固定装置群と他方の固定装置群のそれぞれに前記架台をそれぞれ固定し、該架台どうしの間に前記屋根設置体の互いに平行な2辺部分が固定されるように配設したことを特徴とする固定装置である。
なお、図1乃至図4に示すように、基台レール1を略U字状の筒状とした場合、架台支持材2および架台固定部材3の一部を基台レール1の溝内に収納した状態で架台固定が行なえるので屋根固定装置の薄型化ができるという利点がある。これに対して、図7に示すように、基台レール41をI字状とした場合、架台5を屋根面から離して通気を良くしたい時など、屋根固定部材で高さを確保できるという利点がある。
また、図1乃至図4に示すように、架台固定部材3として第1傾斜部分73のような押圧片を用いた場合、着脱が容易でかつ架台5と架台支持部材2を同時に固定できるという利点がある。これに対して、図7に示すように、架台固定部材としてボルト43を用いた場合、前記ボルト43を係止部として兼用できるので部品点数を減らせるという利点がある。
なお、本実施形態では屋根設置体として太陽電池モジュールを例にとり説明したが、これに限定されるものではなく、太陽集熱器等の平板状の太陽エネルギー利用機器等に好適に適用可能であり、本発明の要旨を逸脱しない範囲で適宜変更し実施が可能である。すなわち固定装置は、建造物に固定される設置体の固定に関して広く用いることができる。
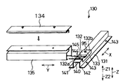
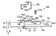
図9は本発明の第2の実施の形態の固定装置130の実施形態の一例について部品構成と組み合わせ状態を示す斜視図である。なお、図1に示す固定装置の構成と対応する構成については、図1に示す固定装置の構成と同様の符号を用い、その説明を省略する。
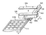
図9に示すように、固定装置130は基台レール131、架台支持部材132、架台固定部材133を有する。架台支持部材132は基台レール131上を長手方向に沿って移動できる状態で取り付けられるようになっており、この架台支持部材132には太陽電池モジュールなどを支持する架台135(横ラック)が取り付けられる。
架台135は自身で太陽電池モジュールなどの平板状の設置体を固定する固定手段を有してもよい。また、架台135だけで太陽電池モジュール11などの平板状の設置体を固定する固定手段を有さない場合に、図10に示すように架台135だけでなく、架台135に加え、外側挟持部材134などを用いて、太陽電池モジュール等の平板状の設置体をネジやボルトで挟持固定できる。
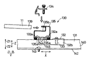
図11は本発明に係る固定装置130の構造を示す断面図、図12は本発明に係る固定装置130の基台レール131上での移動状態を示す断面図、図13は本発明に係る固定装置130に太陽電池モジュール11を挟持固定する様子を示す断面図、図14は本発明に係る固定装置130が基台レール131に固定された状態を示す断面図である。
図11に示すように架台支持部材132は架台135を固定するためのレール状の係止部132aと基台レール131上を移動可能な台座部132bを備え、架台固定部材133で基台レール131に固定される。
図12に示すように、最初、架台支持部材132は基台レール131上に置かれただけの状態であり、基台レール131の長手方向、すなわち屋根の傾斜方向Xに沿って自由に移動可能であり、架台135の設置位置に合わせて位置を調整した後、基台レール131にねじ込み用の穴をあけて架台固定部材133を挿入、固定することで固定される。
なお、本例では位置調整後に穴をあける方法を例にしたが、基台レール1にあらかじめ架台固定部材締結用のネジ穴などを設けて現場作業を簡略化しても良い。
次に、図13のように架台支持部材132のレール状の係止部132aの下側に架台135の下部のレール状の係止部である下端135aを通し、架台固定部材133を締め付けると架台支持部材2の台座132bが基台レール131側に押しつけられ、架台135の下部のレール状の係止部である下端135aがレール状の係止部132aと基台レール131上面との間で挟持固定されることで架台135は固定される。
太陽電池モジュール11を架台135上に固定するとき、架台135と外側挟持部材134とで太陽電池モジュール11を固定する固定手段を用いた例について説明する。
架台135が固定された後、太陽電池モジュール11の端部を架台135の開口部135bに挿入し、外側挟持部材134を架台135の上部に固定することで、図14に示すように太陽電池モジュール11は外側挟持部材134と架台135の間で強固に挟持固定される。
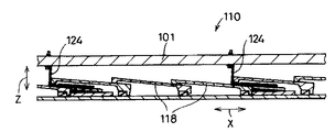
具体的には、基台レール131は、長尺状に形成され、その長手方向が屋根の傾斜方向Xすなわち屋根面に落下した雨水が流れる方向に沿って固定される。図9に示すように、基台レール131は、傾斜方向Xに垂直な切断面による断面形状が略U字状に形成されて傾斜方向Xに延びる本体部分140と、本体部分の法線方向下方Z2側部分から水平方向Y両側にそれぞれ突出する固定部分141,142とが形成される。固定部分141,142は、ボルト143によって屋根17に固定される。したがって本体部分140は、屋根面から法線方向上方Z1に突出する。
架台支持部材132は、台座部132bと係止部132aとが形成される。台座部132bは、傾斜方向Xに垂直な切断面による断面形状が略U字状に形成され、基台レール131の本体部分140に法線方向上方Z1から嵌り込む。これによって架台支持部材132は、台座部132bが基台レール131に嵌り込んだ状態で、傾斜方向Xに移動可能に形成される。また、台座部132bには、基台レール131と固定されるためのねじ孔95が形成される。
係止部132aは、水平方向Yに延びて、傾斜方向Xに並ぶ2条のレール部144と、各レール部144と台座部132bとを連結する支持部145とを有する。支持部145は、2つのレール部144の傾斜方向Xの中間位置に設けられ、各レール部144を両持ち支持する。
各レール部144は、L字状に形成される。各レール部144は、そのうち、屈曲部分144cが最も法線方向上方Z1に突出する。具体的には、各レール部144は、支持部145に連なり、支持部145から傾斜方向Xに離反するにつれて法線方向上方Z1に延びる立ち上がり部分144aと、立ち上がり部分144aに連なり支持部145から傾斜方向Xに離反するにつれて法線方向下方Z2延びる立ち下がり部分144bとが形成される。立ち上がり部分144aは、支持部145に対して、約45度傾斜し、立ち下がり部分144bは、立ち上がり部分144aに対して約90度屈曲する。なお、図12に示すように、架台支持部材132が基台レール131に嵌り込み、ねじ133がねじ孔95に螺合した状態で、各レール部144と基台レール131との間に法線方向Zに隙間146,147が形成される。
本実施の形態では、2つのレール部144のうち一方は、台座部132bから傾斜方向他方X2に突出し、基台レール131との間に法線方向Zに隙間146が形成される。また2つのレール部144のうち他方は、台座部132bに対向して配置される。しかし、台座部132bは、他方のレール部144に対向する部分が切除されており、他方のレール部144と基台レール131との間に法線方向Zに隙間147が形成される。これらの2つの隙間146,147は、基台レール131の法線方向距離Z距離が等しく形成される。
架台135は、長尺状に形成され、水平方向Yに垂直な切断面による断面形状が略U字状に形成される。架台135の断面形状における両端部には、係止部135aがそれぞれ形成される。各係止部135aは、架台135の内側に向かって屈曲し、互いに近接する方向に湾曲する。なお、図13に示すように、各係止部135aの先端は、架台135が架台支持部材132に装着された状態で、法線方向上方Z1に反るように形成される。
基台レール131に架台支持部材132が装着された状態で、架台135が装着される場合、架台135の各係止部135aが、基台レール131と架台支持部材132の各係止部132aとの間を挿通する。このとき架台135の各係止部135aの先端が基台レール131の法線方向上方Z1に反るように形成されることによって、架台135が架台支持部材132に対して、傾斜方向Xおよび法線方向Zに変位することが阻止される。またボルト133によって、架台支持部材132が基台レール131に向かって法線方向Zに移動することによって、各レール部144と基台レール131との間に形成される隙間146,147が小さくなる。これによって、各レール部144と基台レール131との間の隙間146,147が小さくなる。したがって、架台135の係止部135aが、架台支持部材132の係止部132aと基台レール131とによって挟持されて、基台レール131に対する架台135の水平方向Yの変位が阻止される。
図15は本発明に係る固定装置130の基台レール131を屋根上に取り付けるときの模式図、図16は本発明に係る固定装置130の架台支持部材132を基台レール131上に取り付けたときの模式図、図17は本発明に係る固定装置130の架台135を架台支持部材132上に取り付けたときの模式図、図18は本発明に係る固定装置130に太陽電池モジュール11を固定するときの模式図、図19は本発明に係る固定装置130に太陽電池モジュール11を固定したときの模式図、図20は本発明に係わる固定装置130を用いた架台135により太陽電池アレイが構築される様子を模式的に示す平面図、図21(a)〜(d)は本発明に係る固定装置130を用いたことにより屋根上への太陽電池モジュール11の載置が改善された様子を示す平面図、図22は本発明に係る固定装置130の基台レール131を設置面固定金具上を可動可能とする構造を示す断面図であり、図23は、基台レール131を可動可能とした場合の屋根設置上面から見た斜視図である。図24は、基台レール131を可動可能とした場合の一部を拡大する斜視図である。
本実施形態の固定装置130を用いた支持物体である太陽電池モジュール11の屋根への施工の手順を図15〜図20の図を用いて説明する。
まず、図15に示すように屋根材7上に基台レール131を屋根上に取り付けるための複数の屋根用取付部材32を取付ビス等にて屋根面に固定する。屋根用取付部材32は施工する家屋の屋根の屋根材が何であるかによって使用する部材を選択すればよく、本発明の固定装置130による制限は生じない。家屋の屋根材7としては波瓦、スレート瓦、板金等があるが本例では板状の瓦を用いたスレート瓦葺きの屋根を事例として説明する。
屋根用取付部材32を介して基台レール131を屋根材に固定した後、図16に示すように基台レール131上に架台支持部材132(132u,132s,132t)を必要数配置する。本例では2列の太陽電池アレイとするので架台135は3本必要であり、架台支持部材132は6個配置した。しかる後、屋根の最も軒側に位置する架台支持部材132uについて正しく位置出しをして架台固定部材133で基台レール131に固定する。
なお、このとき架台支持部材132s,132tを位置合わせして架台固定部材133で基台レール131上に固定しても良いが本例では可動状態のままとしておく。
次に、図17のように架台135(135u,135s,135t)を架台支持部材132u,132s,132tにそれぞれ取り付ける。このとき、架台135s,135tは架台支持部材132s,132tとともに基台レール131上を自在に移動可能であるので、図18のように太陽電池モジュール11aを挿入する際に既に固定された架台135uを基点として太陽電池モジュール11aを挿入し、架台135sを太陽電池モジュール11に合わせて下ろすことにより自動的に架台135sの位置出しが完了するので、施工において固定装置130の位置出しにかかる作業を簡略化し、施工工数を削減することが可能である。
なお、太陽電池モジュール11を固定装置130に挿入する様子は図10に示すように基台レール131上に直交して取り付けられた架台135の開口部135bに太陽電池モジュール11の端部139(枠部)が挿入され、外側挟持部材134が太陽電池モジュール11を架台135側に押さえつけることによって挟持固定されるものである。
そして、太陽電池モジュール11a,11bの載置が完了したら図19のように架台135sを架台支持部材132sで基台レール131に固定することにより太陽電池モジュール11a,11bが固定される。
同様にして、図20のように太陽電池モジュール11c,11dを載置した後、架台135tを架台支持部材132tで基台レール131に固定することにより、太陽電池アレイ149が完成する。
上述したように、本発明の固定装置130においては基台レール131(縦ラック)上を架台支持部材132が全域に渡って移動できる状態で配置されることにより、基台レール131と架台支持部材132に支持される架台135(横ラック)も基台レール131上を長手方向に沿って移動できるので、太陽電池モジュール11の取り付け時に基点を決めておけばその後の取り付けは全て現物合わせで行うことができ、墨だしの精度の緩和や作業工数を大幅に削減することができるのである。
また、架台135を架台支持部材132にて基台レール131上に取り付ける構造であるので、架台135の太陽電池モジュール11を挿入する開口部135bを塞ぐことがなく、基台レール131上に太陽電池モジュール11を載置することが可能となり、図21(a)に示すように太陽電池モジュール11間に基台レール131(縦ラック)の露出した隙間が生じることがなく屋根外観を損なうことがない。また、基台レール131による隙間分の屋根面積が太陽光発電に利用可能な面積から削除されることがない。
さらに、図21(b)〜図21(d)のような台形状、三角形状、平行四辺形状の屋根の形状に合わせて太陽電池モジュールを列ごとにずらして載置することも可能であるので様々な太陽電池モジュールの配置を選択することができるようになり、同一屋根における太陽光発電可能な面積比率を向上させることが可能となる。
具体的には図21(b)の台形状の屋根の事例では従来技術である図65(a)に比べて2枚、図21(c)の三角形状の屋根の事例では従来技術である図65(b)に比べて3枚の太陽電池モジュール11が増設されている。また、図21(d)のように大小の大きさの異なる太陽電池モジュール11,138を用いて配置するような場合においても容易に対応できる。
また、特に図示しないが、小型太陽電池モジュールを多数用いた太陽電池アレイとする場合などには基台レール131上に多数の架台135を配する必要があるが、架台支持部材132が移動できるので、どのような間隔(間隔の異なる変則的な配置にも対応可能)、本数での横架台配置にも対応でき、しかも架台135や架台固定部材132、太陽電池モジュール11の固定工数が少ないので従来の工法に対し施工工数の削減効果が大きい。
また、図22に示すように、基台レール131を金具ベース153と押え金具152で挟持固定する構造としてもよい。この場合、基台レール131の下部に設けたレール状の係止部の一方である基台レール底部158aを、金具ベース153の上部押え部153aと金具ベース153の底部160とで挟持する。また、基台レール131の下部に設けたレール状の係止部の他方である基台レール底部158bを、押え金具152の爪部152aと金具ベース153の底部160とで挟持するようにすれば、締結ボルト154を締め付けるまでは基台レール131は図23のように金具ベース153上を屋根の軒と棟方向すなわち基台レール131の長手方向に移動できるので、施工時に基台レール131を仮固定(外れない程度に締結ボルト154を締める)しておき、架台135を基台レール131上に取り付けた後に設置面固定金具152の締結ボルト154を締め付けて挟持固定させることにより架台135を基台レール131とともに移動させて屋根上の位置出しができる。
具体的には、基台は、基台レール131と設置面固定金具150とを含む。設置面固定金具150は、金具ベース153と、押さえ金具152とによって構成される。基台は、基台固定部と、基台移動部と、基台結合部とを備える。基台固定部は、建造物に固定され、本実施の形態では金具ベース153によって実現される。基台移動部は、金具ベース153に案内されて、金具ベース153に対して傾斜方向Xに移動可能に設けられ、架台支持部材135を連結する。本実施の形態では、基台移動部は、基台レール131によって実現される。結合部は、金具ベース153に対する基台レール131の移動を阻止する。基台結合部は、押さえ金具152によって実現される。
金具ベース153は、屋根面に固定され、傾斜方向Xに沿って延びる。金具ベース153は、レール状に形成され、略U字状に形成される。金具ベース153は、底部160と、底部160の水平方向Y両側から法線方向上方Z1にそれぞれ突出する2つのガイド部161,162とを有する。
2つのうち一方となる第1ガイド部161は、その先端部となる第1先端部153aが他方のガイド部162に向かって延びる。すなわち底部160と、第1先端部153aとは、厚み方向Zに隙間を開けて対向する。第1先端部153aは、上述した上部押さえ部153aとなる。2つのうち他方となる第2ガイド部162は、その先端部となる第2先端部153bが一方のガイド部161から離反する方向に延びる。第2先端部153bは、締結ボルト154が螺着するねじ孔が法線方向Zに挿通して形成される。
押さえ金具152は、上述する締結ボルト154が挿通するねじ孔が形成される。締結ボルト154のねじ孔を挿通して、前記第2先端部153bのねじ孔に挿通する。締結ボルト154が前記第2先端部153bに螺進することによって、押さえ金具152が第2先端部153bに向かって移動する。押さえ金具152は、第2先端部153bから第1先端部153aに向かって延びる。押さえ金具152は、先端に爪部152aが形成される。締結ボルト154によって第2先端部153に螺着された状態で、押さえ金具152は、その爪部152aが、金具ベース153の底部160に対向し、押さえ金具152の残余の部分に比べて法線方向下方Z2に向かって屈曲する。
基台レール131は、長尺状に形成され、その長手方向が屋根の傾斜方向Xに沿って固定される。基台レール131は、傾斜方向Xに垂直な切断面による断面形状が略U字状に形成されて傾斜方向Xに延びる本体部分163と、本体部分163の水平方向Y両側からそれぞれ水平方向Y外方に突出する底部158a,158bとが形成される。
基台レール131は、金具ベース153の各ガイド部161,162に案内された状態で底部160に乗載される。このとき基台レール131の2つの底部158a,158bのうち、一方の底部158aは、金具ベース153の底部160と第1先端部153aとの間に収容される。また基台レール131の2つの底部158a,158bのうち、他方の底部158bは、金具ベース153の底部160と、押さえ金具152の爪部152aとの間に収容される。
締結ボルト154が第2先端部153bに螺進することによって、押さえ金具152が金具ベース153に近接する。これによって押さえ金具152の爪部152aが基台レール131の他方の底部158bを金具ベース153の底部160に押圧する。これによって基台レール131が金具ベース153に固定される。また締結ボルト154が第2先端部153bから螺退することによって、押さえ金具152が金具ベース153から離反する。これによって押さえ金具152の爪部152aが基台レール131から離れ、基台レール131は、金具ベース153に対して、傾斜方向Xに変位自在となる。
これにより、最も軒側にある架台135を屋根の軒に対して水平に位置あわせをしたときに、基台レール131のそれぞれが軒側へはみ出す長さが様々であったとしても問題なくなるので、基台レール131の墨だし精度が必要なく、施工作業がより簡単になる。また、この方法によれば金具ベース153の固定についても墨だしが必要なくなるので、さらに施工が容易になることはいうまでもない。
このように本発明は、設置面に平板状の設置体たとえば太陽電池モジュールを固定するための固定装置130であって、この固定装置130は設置面上に固定される長尺状の基台レール131と、この基台レール131に案内されてこの基台レール131の長手方向Xに移動可能な架台支持部材132と、この架台支持部材132にて前記基台レール131上に取り付けられて前記基台レール131と直交する方向Yに移動可能な長尺状の架台135とを有し、この架台135もしくはこの架台135と外部挟持部材134とで前記設置体を固定する固定手段を備え、さらに前記架台支持部材132および前記架台135を前記基台レール131上に固定するための架台固定部材132を設けたことを特徴とする固定装置130である。
また本発明は、前記架台135を前記基台レール131上にこの基台レール131と直交する方向Yに係止するためのレール状の係止部132aを前記架台支持部材132に設けるとともに、前記架台135の下部にこの架台135を前記基台レール131上に前記架台支持部材132の係止部132aにて係止されるためのレール状の係止部135aを設け、前記架台支持部材132に設けられた係止部132aと前記架台135の下部に設けられた係止部135aとを係合させたことを特徴とする。
また本発明は、前記基台レール131が設置された設置面上にこの基台レール131の長手方向に移動できるように、前記基台レール131の下部にレール状の係止部158aを設けるとともに、前記設置面に前記基台レール131の係止部158aと係合させるための設置面固定金具150を設けたことを特徴とする。
なお、本実施形態では架台支持部材132が架台135の内側で挟持固定するようにしたが外側での挟持固定でもよく、また、基台レール131を上面に溝を配したコの字型のレールとして架台支持部材132を内側を移動できるものにしてもよい。また、設置面固定金具150による基台レール131の挟持固定を基台レール131の内側で行うようにしてもよい。また、設置体として太陽電池モジュールを例にとり説明したが、これに限定されるものではなく、太陽集熱器等の平板状の太陽エネルギー利用機器等に好適に適用可能であり、本発明の要旨を逸脱しない範囲で適宜変更し実施が可能である。
図25は、本発明の第3の実施形態の固定装置180の一例について示す断面図である。なお、図8に示す固定装置の構成と対応する構造については、図8に示す固定装置の構成と同様の符号を用い、説明を省略する。本発明の固定装置は、後記するように、傾斜屋根の棟−軒方向へ複数の架台85を互いに略平行に配設し、棟側及び軒側に位置する架台85のそれぞれの上に、平板状の太陽電池モジュール11,23の棟側辺及び軒側辺のそれぞれを載置して、架台85とこの架台85を覆う固定カバー170とで形成される2つの凹部のそれぞれに、太陽電池モジュール11,23の棟側辺及び軒側辺のそれぞれを収容した固定装置180であって、特に、架台85の上に載置した太陽電池モジュール11,23に対して、固定カバー170と架台85との間で押圧させるための締結手段171と、この締結手段171による押圧前における前記2つの凹部内の間隙を、押圧後より広く保持する間隔保持手段172とを備えたものである。
まず、平板状の太陽電池モジュール11を傾斜屋根上で固定するための固定装置180について説明する。図25に示すように、固定装置180は基台レール1を固定ビス8でシール材6を介して屋根材7を貫通して野地板9や垂木に固定される。シール材6は、屋根材7の貫通部からの雨水などの浸入を防止する効果や後記する架台85から屋根材にかかる荷重を緩衝する効果を有するものが好適であり、ブチルゴム製や発泡ゴム製のものを用いる。また、固定ビス8には雨水の浸入を防止するため、その首部にパッキン8aを装着する。
また、基台レール1は上面部にスリットが設けられており、このスリットに架台支持部材82を挿入するようにしているので、架台支持部材82は基台レール1内を傾斜方向Xに自由に移動することができる。なお、架台支持部材82の底部169は基台レール1内に沈み込んでしまわないだけの高さを有しており、上部が基台レール1上に露出する。架台支持部材82の片端には架台支持部材3がネジ4によって取り付けられている。そして、ネジ4を締め付けることにより、基台レール1上の任意の位置で架台支持部材82を固定することができる。なお、このような構造は、図1および図8に関して、説明しており、ここでの説明は、省略する。
また、架台支持部材82には架台85が挿入されるようになっており、ネジ4を締め付けることにより基台レール1上の任意の位置で架台支持部材82とともに、架台85を固定することができるようにしている。また、架台85上には固定カバー170が、間隔保持手段である間隔保持部材172とともに締結用ネジ171で取り付けられる。
以下に本発明の設置体固定装置180を使用して、屋根上に太陽電池モジュール11,23を設置する方法を施工手順に従って説明する。図26(a)に示すように、家屋等の屋根上に配されたスレート瓦等の屋根材7に固定装置180A〜180Fを固定する。そして図26(b)に示すように、固定装置180の180Aと180B、180Cと180D、180Eと180Fをペアとして、架台85(85a,85b,85c)を屋根上に水平に一定間隔で挿入する。このとき、架台85上には、固定カバー170を締結手段を構成する締結用ネジ171にて予め取り付けておくとよい。
ここで、設置体固定装置180、架台85、及び固定カバー170は、耐候性を有する表面処理を施したアルミニウム合金や鋼材などの金属、樹脂等で構成される。また、太陽電池モジュール11は図26(c)に示すように、架台85aの棟側と架台85bの軒側で支持される。
そして図27(a)、図27(b)に示すように、全ての太陽電池モジュール11,23の配置、及び配線チェックが完了した後、架台85a,85b,85cの固定カバー170のネジ171を締め付けることで固定し、太陽電池アレイが完成する。このとき、太陽電池モジュール11,23は軒側が架台85に引っ掛かかる態様としているので、仮置き状態でも滑落しない。
なお、本実施例では、固定装置180は、架台85ごとに独立して設けているが、屋根面の傾斜方向に前記架台85を複数取り付ける縦桟と呼ばれるような固定部材であってもよい。また、架台85の長さをより長くして多数の固定装置180で支持するようにしてもよい。また、太陽電池モジュール11,23の設置開始を屋根の棟側からとしてもよく、架台85への太陽電池モジュール11,23の配置が終ったところから順次ネジ固定を行なうこととしても良い。
次に架台85間に太陽電池モジュール11,23を配設する様子を説明する。太陽電池モジュール11,23は、図28に示すように、太陽電池本体174の4辺に枠175が装着されて形成されている。ただし、必ずしも前記枠175は必要ではなく太陽電池本体174のみで前記太陽電池モジュール11,23を構成することも可能である。枠175はアルミニウム等の加工性に優れた金属材料や樹脂の成型品等から構成される。また、一般に太陽電池本体174は受光面にガラスや樹脂等の透光性基板が設けられ、この透光性基板に多数の太陽電池素子が収容された樹脂等からなる封止材によって裏面材が貼着されたものであるり、太陽電池素子としては例えばシリコン系半導体やガリウムヒ素等から成る化合物半導体などの単結晶、多結晶や非晶質の材料が用いられ、互いに直列及び/または並列に電気的に接続されて、外部に出力が取り出される。
図29(a)、図29(b)に示すように、固定カバー170には締結用ネジ171と間隔保持部材172が取り付けられており、架台85に設けた締結手段を構成するネジ固定部材184でネジ止めできるようにしている。間隔保持部材172は金属、樹脂などで弾性を有するものであればよいが、さらに、締結用ネジ171の首部177を挟持するような形状にすることにより、締結用ネジ171の無用な緩みを防止することができ好適である。また、間隔保持部材172に金属材料を使用することで、架台85と固定カバー170の間の電気的導通が確保でき、静電気を逃せるようになるのでさらに好適である。また、固定カバー170の下部に折り返し片178を設け、固定カバー170を架台85に取り付けた際に太陽電池モジュール11の屋根流れ方向、すなわち屋根の傾斜方向Xへの動きを抑止するようにすると好適である。
具体的には、太陽電池モジュール11,23は、架台85と固定カバー170とに挟持されることによって、架台85に固定される。架台85は、締結用ねじ171が螺着する挿通孔185が形成される。挿通孔185は、その軸線L98が法線方向Zに沿って延びる。固定カバー170は、上述した締結用ねじ171が螺着する挿通孔136が形成される。締結用ねじ171が、固定カバー170の挿通孔136を挿通し、さらに架台85の挿通孔185を挿通することによって、固定カバー170が架台85に装着される。このとき固定カバー170は、架台85の下側乗載部86に対向する第1対向部分190と、架台85の上側乗載部87に対向する第2対向部分191とが形成される。固定カバー170と締結用ねじ171とは、架台85に太陽電池モジュール11,23を固定する設置体固定部材となる。
架台85の各乗載部86,87にそれぞれ太陽電池モジュール11,23が乗載された状態で、締結用ねじ171を架台85に向けて螺進することによって、固定カバー170を太陽電池モジュール11,23に押圧することができる。これによって太陽電池モジュール11,23は、固定カバー170と架台85とによって、挟持される。すなわち屋根面に対して固定される。
間隔保持部材172は、締結用ねじ171が固定カバー170を挿通した状態で、締結用ねじ171のねじ溝形成部分のうち、首部177付近に設けられる。間隔保持部材172は、締結用ねじ171に連結される連結部192と、連結部192から両側にそれぞれ延びるバネ部193,194とを含む。バネ部193,194は、互いに離反する方向に延びるとともに締結用ねじ171の軸線方向に、締結用ねじ171の頭部195から離反する方向に延びる。バネ部193,194は、弾発性を有する。連結部192には、締結用ねじ171が螺合した状態で貫通する貫通孔137が形成される。
この状態で、締結用ねじ171が架台85に螺進することによって、間隔保持部材172のバネ部193,194が架台85の上面に当接する。さらに締結用ねじ171が架台85に螺進することによって、固定カバー170が架台85に向かって移動し、太陽電池モジュール11,23を固定カバー170と架台85とによって挟持する。このとき、間隔保持部材170が弾性変形し、架台85から離反する方向の力を固定カバー170に与える。締結用ねじ171を緩められた場合、固定カバー170は、間隔保持部材172から与えられるバネ力によって、架台85との間隔が大きい状態に保持される。また間隔保持部材172は、2つのバネ部193,194が形成されることによって、バネ力が偏ることなく、固定カバー170との間隔を精度よく保持することができる。なお、間隔保持部材172は、締結用ねじ171が貫通するナットであってもよい。
次に、太陽電池モジュール11,23が架台85と固定装置180により固定される様子を説明する。図30に示すように、屋根上に固定された固定装置180a,180cに取り付けられた架台85a,85b間に太陽電池モジュール11,23を固定する場合、まず架台85bの凹部である開口部176cに前記太陽電池モジュール11の棟側周縁部92を挿入する。このとき、固定カバー170bは上述した締結用ねじ171bに取り付けられた間隔保持部材172bによって上方へ引き上げられているので、締結用ネジ171bを締め込んだ状態よりも棟方向に広い状態が保持され、開口部176cは太陽電池モジュール11を挿入するのに十分な奥行きを確保することができる。これにより、太陽電池モジュール11の軒側周縁部91が、架台85a上部に取り付けられた固定カバー170aよりも棟側に入り込むことができるようになるので、軒側辺91を前記固定カバー170aと架台85aとで構成される凹部である開口部176aに挿入する。この時点で架台85aの軒側に太陽電池モジュールを配置しないのであれば締結用ネジ171aを締め付ける。これにより、太陽電池モジュール11の軒側周縁部91が前記固定カバー170aと架台85aで挟持され固定される。
次に、架台85bの棟側に配する太陽電池モジュール23を同様の手順にて、軒側周縁部93を固定カバー170bと架台85bとで構成される凹部である開口部176bに挿入し、締結用ネジ171bを締め付けて太陽電池モジュール11の棟側周縁部92と太陽電池モジュール23の軒側周縁部93を、固定カバー170bと架台85bで挟持され固定される。
太陽電池モジュール11,23の挿入時における状態を図31に示し、締結用ネジ171を締めて太陽電池モジュール11を固定した状態を図32に示す。また、図31に示すように、太陽電池モジュール11の棟側周縁部92は固定カバー170bの下部に設けられた折り返し片178によって棟側への移動が抑止されており、これにより、脱落が防止される。また、太陽電池モジュール11,23を架台85a,85bに配設する際、太陽電池モジュール11,23を挿入・固定する開口部(凹部)を、太陽電池モジュール11,23の厚みよりも広い空間を確保することができ、施工性が向上する。
また、固定カバー170bは、上述したように締結用ねじ171に取り付けられた間隔保持部材172によって上方へ引き上げられるようになっているので、締結用ネジ171bを再度緩めることにより、締め込んだ状態よりも棟方向すなわち、傾斜方向Xに広い空間が確保され、開口部176cに太陽電池モジュール11をより奥まで挿入することで太陽電池モジュール11の取外しを容易に行なうことができる。
以上、詳述したように、固定装置180によれば、フレーム材に軽薄な部材を使用した設置体、たとえば太陽電池モジュール11,23であっても、架台85に取り付けた状態で剛性を保つことができる。また太陽電池モジュール11,23の施工作業が簡単で、容易に着脱ができる。また、フレーム材に軽薄な部材を使用した太陽電池モジュール11,23であっても仮置き時に滑り落ちることがなく、安全に施工作業が行なえる。
図33は、本発明の第4の実施形態の固定装置190の一例について示す断面図である。図34は、図33の一部を拡大した図面である。なお、図1または図8に示す固定装置の構成と対応する構造については、上述した固定装置の構成と同様の符号を用い、その説明を省略する。図33に示すように、架台85は、長尺の本体部200の上側に、締結用ねじ171でもって、太陽電池モジュール11,23を押圧固定するための長尺の固定カバー170を装着する構造となっている。前記本体部200は、屋根の傾斜方向において隣接する一対の太陽電池モジュール11,23のうち下側に位置する太陽電池モジュール11の軒側周縁部91を載架する軒側載架面201と、該軒側載架面201より高く設けられ他方の太陽電池モジュール23の軒側周縁部93を載架する棟側載架面202と、該棟側載架面202から連続して傾斜方向下方X2に延びて前記軒側載架面201の上にせり出た軒片203と、前記締結用ねじ171を嵌合するための前記軒片203に設けられたねじ孔204とを備えている。
架台85は、上述したように、水平方向Yに垂直な仮想面で切断した場合、略U字状に形成される本体部200と、上述した第1つば部49と、第2つば部50とが形成される。本体部200は、第1隆起部205と、軒側乗載部86と、第2隆起部206と、軒片203と、棟側乗載部87と、案内部207と、第3隆起部208とをさらに含んで形成される。
第2つば部50は、本体部200の第1隆起部205に連なる。第1隆起部205は、第2つば部50と連なる部分から、法線方向一方Z1に立ち上がり、軒側乗載部86に連なる。下側乗載部86は、下側に位置する太陽電池モジュール11の軒側周縁部91を乗載し、基台レール1と平行な軒側載架面201が形成される。下側乗載部86は、第1隆起部205と第2隆起部206とを連結する。第2隆起部206は、下側乗載部86と連なる部分から、法線方向一方Z1に立ち上がり、軒片203に連なる。軒片203は、下側乗載部86に対向して延びる。軒片203には、締結用ねじ171が螺着するねじ孔204が形成される。なお、ねじ孔204の軸線の延長線は、下側乗載部86を通過する。
軒片203は、上側乗載部87に連なる。上側乗載部87は、上側に位置する太陽電池モジュール23の軒側周縁部93を乗載し、基台レール1と平行な棟側載架面202が形成される。上側乗載部87は、軒片203と案内部207とを連結する。案内部207は、上側乗載部87と連なる部分から、法線方向他方Z2に下がる。案内部207は、傾斜方向一方X1に進むにつれて法線方向他方Z2に傾斜する。案内部207は、上側乗載部87と第3隆起部208とを連結する。第3隆起部208は、案内部207と連なる部分から、法線方向他方Z2に下がり、第1つば部49に連なる。
前記固定カバー170は、太陽電池モジュール11を上側から押圧する軒側押圧片220と、該軒側押圧片220より高く設けられた棟側押圧片221と、前記締結用ねじ171を挿通するための貫通孔222とを備えている。
また、固定カバー170は、折り返し片178を有する。折り返し片178は、軒側押圧片220の傾斜方向上方X1側端部から、棟側押圧片221に対して離反する方向に屈曲する。また固定カバー170の突起223は、棟側押圧片221から折り返し片178と同方向に突出する。
本実施形態のおいて、前記固定カバー170は、断面略Uの字状をなし、上片が棟側押圧片221、下片が軒側押圧片220となっている。また、軒側押圧片221に設けた貫通孔222は長孔となっていて、固定カバー170が後述の、使用前状態と使用状態との異なる配置をとることができるようになっている。また、前記棟側押圧片221の先端部近傍に下向きの突起223が設けられ、前記使用前状態において、この下向きの突起が太陽電池モジュール23の仮止めを行うとともに、使用状態において、太陽モジュール23の位置決めを行なう。
次に、図35と図36は、前記基台レール1によって屋根上に固定された架台85を用い、前記太陽電池モジュールを取り付ける詳細な手順を示している。図37は特に、特に、架台85を中心に示す図である。
図35(a)に示すように、屋根上に固定された基台レール1a,1bに取り付けられた架台85a,85b間に太陽電池モジュール11を固定する場合、まず架台85aの棟側載架面202に前記太陽電池モジュール11の軒側周縁部91を載架する。続いて、前記太陽電池モジュール11を棟方向にすなわち、屋根面に向かって倒しながら該太陽電池モジュール11の棟側周縁部92を架台85bの軒側載架面202に載架する。次に図35(b)、(c)に示すように、架台85bの棟側に配する太陽電池モジュール23を同様の手順にて軒側周縁部93を架台85bの棟側載架面202に載架していく。
このとき、図37(a)、図37(b)に示すように、太陽モジュール11,23の周縁部を前記本体部200の載架面201,202に載置可能な状態において、前記締結用ねじの先端173の先端で前記固定カバー170の軒側押圧片220を前記本体部200の軒側載架面201に押圧することで、前記固定カバー170を前記本体部200に固定した状態、これに加えて太陽モジュール11,23の周縁部91,92を前記本体部200の載架面201,202に載置しておいて、前記下向きの突起223で太陽モジュール23を仮固定した状態(使用前状態)となっている。
ところで、太陽電池モジュール11,23を設置していく際、配置後の配線確認などの作業を考えると、太陽電池モジュールを安全に仮固定でき、配線確認後に本固定ができることが好ましい。そこで図37(a)に示すように固定カバー170と架台85は締結用ねじ171により前記固定カバー170が傾いた状態で仮固定し、太陽電池モジュール11の軒側受け部を構成する。このとき、該状態には、設置される屋根上で行なうのではなく地上での作業で仮固定されるか、もしくは工場出荷時に仮固定して出荷されるようにすることにより、屋根上で細かな前記締結用ねじ171を多数、架台85のねじ孔204のタップに係合させて締めこむ作業をなくすことができる。さらに、前記固定カバー170の折り返し片178を前記締結用ねじ171で締め込むような構造にして仮固定することで、前記折り返し片178のばね性により前記締結用ねじ171は緩みが防止される。したがって、工場出荷時に仮固定したとしても輸送中に緩み、脱落することがない。また、この折返し片178は、太陽電池モジュール11を位置決めするためのストッパーとしての作用も有している。
太陽電池モジュールの配設が完了したら、配線確認等を行ない、図36(a)に示すように、一旦締結ねじ171を緩めて固定カバー170a,170bを可動状態にし、図36(b)に示すように、固定カバー170a,170bを太陽電池モジュール11,23を固定する位置に移動させ、再度締結用ねじ171a,171bを締め付けることで図36(c)のように前記太陽電池モジュール11の棟側周縁部92と前記太陽電池モジュール23の軒側周縁部93を前記固定カバー170a,170bと架台85a,85bで挟持され固定される。なお、前記締結用ねじ171を緩め、再度締め付ける際の詳細を図37(c)〜図37(e)に示す。
次に、図38は、別実施形態の架台85を示す。図38(a)に示したように前記締結用ねじ171の中間部の一部にねじがなく、径がねじの谷径よりも細い非ねじ形成部187を設けることのより同様に前記締結用ねじ171の緩みを防止し、脱落することを防止できる。すなわち、前記締結用ねじ171を前記非ねじ形成部187よりも深く締め込んでおけば、振動などで前記非ねじ形成部187まで緩んだとしても該非ねじ形成部187よりも先端のねじに係合することはなく、該非ねじ形成部187より先まで緩むことはない。さらに、図38(b)に示すごとく前述の2つの緩み防止方法を併せて用いることで、前記折り返し片178の固定が万一緩んだとしても、前記非ねじ形成部187により緩みが止まるため二重の脱落防止効果が得られる。
すなわち、締結用ねじ171を一旦緩め、固定カバー170を太陽電池モジュール11の固定位置に移動させた後、再度、前記締結用ねじ171を締め込む。ここで、前記締結用ねじ171を前述したように非ねじ形成部187を設ければ、一旦緩める際に勢い余って前記締結用ねじ171が脱落する心配もなく、電動ドライバーなどの工具を使用しても円滑に作業を進めることができる。一方で、前記締結用ねじ171を引き上げながら緩めることで外すことも可能であるので保守性を損なうこともない。また、締結用ねじの脱落を防止するために、締結用ねじ171が架台85に装置された状態で、その先端部173をねじ孔の内径よりも大きくしてもよい。
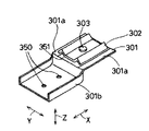
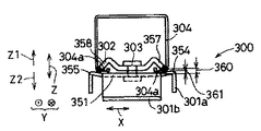
図39は、本発明の第5の実施形態の屋根用固定装置300の一例について示す断面図であり、図40は、一部を示す斜視図である。固定装置300は基台301と基台301の上に設けられて架台304の動きを規制する規制部材302とを含む。前記基台301と前記規制部材302は、両部材を上下方向に貫通する回動軸303で該回動軸303を中心に図示のように回動可能に組み立てられている。ここで、回動軸303はリベットやボルト、ナットなどの円筒の軸を有する締結部材が好適である。また、後述の架台304を固定するための固定手段として基台301には、長手方向に凸条をなす押圧部301aを有している。
図39に示す固定装置300は、前記基台301に対して回動軸303のまわりに前記規制部材302を回動可能としたことにより、固定装置300を後述の架台304から取り外すことなく、架台304の位置を保持したままで、屋根材7の状況に応じて、固定装置300の取付位置を調整できる。また、部品点数が少なく簡易な構成であるので、安価に製作でき、取付け工数を低減することができるとともに、軽量であるので、屋根の上でも取扱やすく、安全な作業が可能である。
図39に示すように、本実施形態において、基台301は長手方向の両端部に、屋根材との固定部301bを備える。そして、回動軸303と規制部材302とは、基台301の長手方向において、その一方端の側に偏った位置に設けられている。したがって、前記規制部材302に対する基台301を180°回動させた前後の、前記屋根材との固定部301bの位置が変化する。これにより、基台301の長手方向を変えずに2つの固定配置を選択することができることから、架台304を固定するために最適な基台301の向きを変更することなく、不都合な固定位置を回避して別の固定位置を選択することができる。
図41、42は、前記屋根用架台固定装置300に長尺の架台304を案内した状態を示した図である。図41は前記基台301と架台304との長手方向Xが平行になっている状態を示す。この状態では架台304が基台301の押圧部301aに当たらないため、基台301が架台304の長手方向Xには可動状態になる。前記可動状態から前記回動軸303を中心に基台301を規制部材302ならびに架台304に対して90°回転した状態を図42に示した。同図に示した状態では、架台304の係止部304aが基台301の押圧部301aによって上方に押圧されるため、該押圧部301aと規制部材302との間に挟持され、基台301は、架台304の長手方向にも不可動状態となる。すなわち、基台301に対して架台304が固定された状態となる。
具体的には、基台301は、支持部351と、一対の脚部352,353と、固定部301bと、押圧部301aとを有する。支持部351は、板状に形成されて傾斜方向Xに延びる。各脚部352,353は、それぞれ支持部351の傾斜方向X両端部に連なり、支持部351から、法線方向他方Z2に屈曲する。固定部301bは、各脚部352,353の法線方向他方方Z2端部に連なり、支持部351と平行に延びる。すなわち支持部351は、一対の脚部352,353とを連結し、一対の脚部352,353に張架される。また、固定部301bは、屋根材7に固定するためのねじ孔350が形成される。押圧部301aは、水平方向Y両側に設けられる。押圧部301aは、支持部351から法線方向上方Z1に突出し、傾斜方向Xに延びる押圧部凸条354,355が形成される。本実施の形態では、押圧部凸条354,355は、水平方向Y両側にそれぞれ形成される。
規制部材302は、基台301の支持部351に対して、相対的に回転可能に設けられる。規制部材302の回転軸線は、基台301の傾斜方向中央位置とは異なる位置に設けられる。規制部材302は、支持部351に平行に延びる規制本体部356と、規制本体部356の両側に形成される規制部凸条357,358とが形成される。規制部凸条357,358は、規制本体部356から法線方向上方Z1に突出する。本実施の形態では、規制部凸条357,358は、2つ設けられ、互いに予め定める方向に延びる。規制部凸条357,358は、少なくとも、押圧部凸条354,355の水平方向寸法よりも長く形成される。
図41および図42は、基台301に対して第1の配置状態に配置される規制部材302を示す図である。第1の配置状態では、規制部材302は、押圧部301aの押圧部凸条354,355の間に配置される。このとき、規制部材302の規制部凸条357,358は、押圧部凸条354,355に平行に延びる。押圧部凸条354,355は、略L字状に形成され、その屈曲部分が押圧部凸条354,355のうち残余の部分に比べて最も法線方向上方Z1に配置される。同様に規制部凸条357,358は、略L字状に形成され、その屈曲部分が規制部凸条357,358のうち残余の部分に比べて最も法線方向上方Z1に配置される。また押圧部凸条354,355および規制部凸条357,358の少なくともいずれかは、弾発性および可撓性を有する材料によって実現される。
図41に示すように、第1配置状態において、規制部凸条357,358と基台301との間に隙間360が形成される。また押圧部凸条354,355は、支持部351よりも水平方向Yに離れた位置で、支持部351よりも法線方向上方Z1に予め定める量361だけ突出する。架台304は、長尺状に形成され、その断面形状が略U字状に形成される。架台304の断面形状における両端部には、係止部304aがそれぞれ形成される。各係止部304aは、架台304の内側に向かって屈曲し、互いに近接する方向に湾曲する。なお、図41に示すように、規制部材302が第1配置状態に配置された状態で、架台304は、その係止部304aが規制部材302と基台301の支持部351との間に挿入可能に形成される。すなわち第1配置状態において、規制部凸条357,358と基台301との間に形成される隙間360は、係止部304aの法線方向寸法よりも大きく形成される。これによって架台304は、傾斜方向Xに変位可能に係止される。
また、第1配置状態から、規制部材302に対して基台304を相対的に角変位させると、図42に示すように、規制部材302は、第2配置状態となる。第2配置状態では、押圧部凸部354,355と規制部材302との隙間が、係止部304aの法線方向Z寸法よりも小さくなる。したがって図42に示すように、第1配置状態において、架台304が規制部材302に係止された状態で、第2配置状態に移行すると、架台304の係止部304aが、規制部材302と、押圧部凸部354,355とによって挟持される。これによって架台304の変位が阻止される。
図43には、固定装置300を位置調整して架台304に固定する手順を示した。図43(a)に示すように固定装置300の前記基台301と前記規制部材302の長手方向が平行になるように第1状態にセットし、図43(b)に示すように架台304の係止部304aが、屋根用架台固定装置300の前記基台301と前記規制部材302の間隙を通るように挿入する。次に、図43(c)に示すように屋根用架台固定装置300を架台304の固定位置まで挿入した後、図43(d)に示すように基台301を架台304と直角になる位置まで回転させる。このとき、図43(d)の方向では屋根材の段差との干渉で屋根面への取り付けができない場合には、図44(a)、図44(b)に示したように前記基台301を180度回転して屋根面への取付け位置を変更すればよい。
本実施形態の屋根用架台固定装置300の取付け構造をさらに詳しく説明するために図39を用いて説明する。屋根用架台固定装置300は基台301、規制部材302および回動軸303で構成され、前記基台301の押圧部301aと前記規制部材302の間隙に架台304の係止部304aを挟持している。前記基台301はシール材を介し、屋根材7を貫通して取付ビス8にて野地板9およびたるき10に取り付けられる。架台304には、上下方向から太陽電池モジュール11,23の載架片310,320が載架され、その上面から固定カバー311を介して固定ビス312にて架台304に固定される。
図45は、屋根材7の段差と架台の位置関係および屋根用架台固定装置300の向きとの関係について説明するための図である。図45(a)に示すように、野地板9上に配された屋根材7は、隣り合う屋根材同士が瓦重ね状になっており、屋根用架台固定装置300を固定する場合、この段差に前記屋根用架台固定装置300の固定部分を配するのは、前記屋根用架台固定装置300が安定しなかったりするため好ましくない。また、同様に屋根材7の端部付近に取付ビス8用の穴を設けたりした場合も前記屋根材7の破損を招きやすいといった問題がある。しかも架台304は屋根上のどの位置に配置されることになるか予想できない。そこで、図45(a)、図45(b)に示した範囲に架台304が位置する場合には屋根用架台固定装置300の基台301は架台304に対して棟側400に延出する向きにすることにより屋根材の段差を避けて取り付けることができ、P0から棟側のPUの範囲をカバーすることができる。そして、図45(c)、図45(d)に示した範囲に架台304が位置する場合には屋根用架台固定装置300の基台301は架台304に対して軒側に延出する向きにすることにより屋根材の段差を避けて取り付けることができ、P0から軒側のPDの範囲をカバーすることができる。これにより、屋根材7の瓦重ね部P1から次の瓦重ね部P2までの範囲をカバーすることができるようになる。なお、図45(a)より棟側400に架台304が位置する場合には、図45(d)と同じ状態で屋根材7の段差を避けて取り付けることができるため、上記の状態を繰り返すことによりどの位置に前記横架台が位置しても基台301の向きを選択することで屋根材の段差を避けて屋根用架台固定装置300を屋根面に取り付けることができる。また、図45(b)、図45(c)の場合はいずれを選択しても良い。
ところで、上記の屋根用架台固定装置300は図39に示した構造の他、図46に示したように基台301の中央に凸条の押圧部401aを設けた構造でもよい。なお、架台304を固定するための固定手段としては、前記凸条の押圧部301aのみでなく、凸突起やその他の手段を適宜用いることができる。
このように本実施の形態では、第2配置状態において、基台301と規制部材302とによって架台304の係止部304aを両側から挟持する構成であればよい。図46の構成を具体的に述べると、基台301は、押圧部301aに代えて、傾斜側部301cが形成される。傾斜側部301cは、支持部351の水平方向Y両側に設けられ、傾斜方向Xに延びる。傾斜側部301cは、支持部351から水平方向外方に向かうにつれて、法線方向下方Z2に傾斜して延びる。
図46に示すように、第1配置状態では、規制部材302の規制部凸条357,358は、傾斜側部301cと対向する。規制部凸条357,358と傾斜側部301cとの間には、隙間363が形成され、この隙間は、架台304の係止部304aの法線方向寸法364よりも大きく形成される。これによって架台304が傾斜方向Xに変位自在に基台に装着される。
第2配置状態に移行すると、規制部凸条357,358は、支持部351と対向する。規制部凸条357,358と支持部351との間の隙間は、架台304の係止部304aの法線方向寸法364よりも小さく形成される。したがって架台304が装着された状態で第2配置状態に移行すると、架台304は、規制部凸条357,358と支持部351とによって挟持される。これによって架台304の変位が規制される。このように架台を案内する2つの部材の間隔を、第1配置状態よりも第2配置状態を小さくすることによって、規制部材302に装着した架台304と、基台301とを角変位するだけで、架台304の状態を移動可能状態または移動阻止状態に切換えることができる。すなわちボルトなどの部材を必要とせず、利便性を向上することができる。
また、第1配置状態において、架台304を基台301に対して、任意の位置に移動させた状態で、第2配置状態に移行させることによって、架台304を基台301に対して、任意の位置で固定することができる。このとき架台304と基台301とを相対的に角変位させるだけで、架台304と基台301とを固定することができる。すなわち、ボルトを用いることなく、架台304と基台301とを固定することができ、作業性を向上することができる。
また、図47のように基台301の屋根への取付ビスを締め込む固定部301bを片方に設けた形状でもよい。いいかえると、支持部351は、1つの脚部によって片持支持されてもよい。
次に、本発明の他の実施形態を、図48を用いて説明する。図48(a)のように屋根用架台固定装置300は基台301、押圧部材316、規制部材302の順に重ね合わせ、回動軸303を中心にそれぞれが図48(b)のように可動状態になるよう前記回動軸303で係合されている。前記押圧部材316にはその長手方向と直交する方向に前記回動軸303を挟んで2列の凸条の押圧部316aを設けてある。
詳しく説明すると、図39〜図42に示す支持部351および押圧部凸条354,355を含む押圧部材316が、基台301に対して別体に設けられる。押圧部材316は、基台301と規制部材302との間に介在され、規制部材302および基台301に対して、規制部材302の角変位軸線まわりに角変位可能に設けられる。また押圧部材316は、支持部351と押圧部凸条354,355との他に、つまみ部367を有する。つまみ部367は、支持部351と押圧部凸条354,355と一体に設けられ、角変位軸線の半径方向に基台から突出する。
図48(c)のように前記屋根用架台固定装置300の規制部材302と前記押圧部材316との間隙に架台304の係合部304aを架台304の固定位置まで挿入した後、図48(d)のように押圧部材316を所定角度回動させることにより押圧部材316の押圧部凸条316aが架台304の長手方向に平行な方向から直交する方向に変化するため、押圧部材316の押圧部凸条316aと架台304の係合部304aの交差する部分で押圧部材316の押圧部凸条316aと規制部材302との間に架台304の係合部34aが挟持され、架台304の長手方向には不可動となる。
さらに、本発明の他の実施形態について図49を用いて説明する。図49(a)に示すように、屋根用架台固定装置300は基台301、押圧部材316、基台301の順に重ね合わせ、回動軸303を中心にそれぞれが可動状態に前記回動軸303で係合されている。図49(a)のように前記押圧部材316にはその長手方向と直交する方向に前記回動軸303を挟んで2列の凸条の押圧部316aが設けてある。また、前記押圧部材316の前記回動軸303を挿通する貫通穴318は長穴となっており基台301の長手方向にスライド可能になっている。前記押圧部材316の長手方向端部の一方には第1立ち上がり片371の当たり部316bを設けており、他方の端部には第2立ち上り片370を設け、押圧ビス317を取り付ける。この屋根用架台固定装置300を図49(c)のように前記屋根用架台固定装置300の前記規制部材302と前記押圧部材316との間隙に架台304の係合部304aを挿入し、固定位置まで挿入した後、図49(d)のように前記押圧部材316の前記押圧ビス317を締め込むことにより、押圧ビス371が架台304に当接して、前記押圧部材316の押圧部316aが前記横架台304の係合部304aの直下に移動し、前記押圧部材316の押圧部316aと前記係止部材302との間に架台304の係合部304aが挟持され、前記横架台304の長手方向には不可動となる。また、前記押圧ビス317を締め込む過程において前記押圧部材316の前記当たり部316bが前記横架台304の側面に当たることで前記押圧ビス317を締め込みすぎて前記押圧部材316の押圧部316aが前記横架台304の係合部304aからずれてしまうことを防ぐことができる。
上述したように複数の実施例を説明したが、各実施例のうち、固定装置を構成するために部分的に併用可能な構成については、それらの実施の形態の各構成を組み合わせて、固定装置を実現してもよい。なお、本明細書において、傾斜方向X、水平方向Yおよび法線方向Zは、理解を容易にするために用いた方向である。したがって固定装置の各構成は、傾斜方向Xに対応する第1方向、水平方向Yに対応する第2方向および法線方向Zに対応する第3方向に従って形成されてもよい。このような第1方向〜第3方向は、方向の関係が傾斜方向X、水平方向Yおよび法線方向Zに対応していればよい。すなわち第1方向は、傾斜方向でなくてもよく、第2方向は、水平方向でなくてもよく、第3方向も法線方向でなくてもよい。
なお、本実施の形態では、架台は、水平方向に移動可能として説明した場合があるが、水平方向は、基台の長手方向に直交する方向でなくてもよく、基台の長手方向に交差し、屋根面に相方向であればよい。また、本発明でいう架台は、横ラック、横桟および横架台と称される場合がある。また、固定装置を屋根面に固定する場合について、述べたが屋根以外の建造物に固定装置を固定してもよい。
図52は、本発明の太陽電池モジュール11を示す平面図であり、図53は、一部を拡大して示す斜視図である。太陽電池モジュール11は平面長方形状をなす太陽電池本体の周縁部において、一部を除き絶縁性被膜で表面が覆われた金属枠から成る短辺枠501と長辺枠509とが組み合わされて構成されており、その短辺枠501の下面に突設部501aを設け、接地された保持部材である架台上に載架される部分を削って絶縁性被膜による表面処理部分を剥離させた当接部501bとしている。すなわち、架台の導体上に金属枠501、509が接する状態で載置して成り、この金属枠501,509の載置する側の面が段差状に形成されているとともに、後記するように、金属枠501,509の架台に当接する側の面を段差状に形成するとともに、金属枠において、少なくとも架台に当接する側の面を除く表面が絶縁性被膜で覆われている。
突設部501aと当接部501bを太陽電池モジュール裏面から見た様子を図53Aに示す。なお、長辺枠509は短辺枠501よりも突設部501aが無い分だけ厚みが少なくなっており、さらに短辺枠501の突設部501aを削って当接部501bを構成する際には、少なくとも前記長辺枠509よりも高く突出させておく。
図8に示すように、太陽電池モジュールは、上述した各固定装置によって屋根面に固定される。図8を参照して説明すると、固定カバー170には締結用ネジ171が取り付けられ、架台85に設けたネジ穴でネジ止めできるようにしており、太陽電池モジュール23は固定カバー170と架台85の間に挿入された状態でねじ締め固定される。このとき、前記太陽電池モジュール23の両端にある短辺枠501の当接部501bが、架台85と電気的に接触するようになり、架台85に対してアース接地が行なわれるようにしている。また架台85は、直接または、間接的に屋根面と電気的に接続される。
次に、太陽電池モジュール11,23が架台85a,85bを有する固定装置180a,180bにより固定される様子を図30を用いて説明する。屋根上に固定された基台レール1に取り付けられた架台85a,85b間に、太陽電池モジュール11,23を固定する場合、まず、前記固定カバー170bと架台85bとで構成される凹部である開口部に、前記太陽電池モジュール11の棟側周縁部92を挿入する。その後、太陽電池モジュール11の軒側周縁部91を前記固定カバー170aと架台85aとで構成される凹部である開口部に挿入する。この時点で架台85aの軒側に太陽電池モジュールを配置しないのであれば締結用ネジ171aを締め付ける。
これにより、太陽電池モジュール11の軒側周縁部91が前記固定カバー170aと架台85aで挟持され固定される。同時に、太陽電池モジュール11の当接部と架台85a,85bが押圧されるため、太陽電池モジュール11の短辺枠501と架台85は電気的導通状態となり、軒側の架台85aと棟側の架台85bは電気的に導通状態となる。
一方、図30に示すように架台85bの棟側に配する太陽電池モジュール23がある場合は、同様の手順にて、架台85bの開口部に太陽電池モジュール23の軒側周縁部93を挿入し、締結用ネジ171bを締め付けて太陽電池モジュール11の棟側周縁部92と太陽電池モジュール23の軒側周縁部93を、固定カバー170bと架台85bで挟持され固定される。これにより、太陽電池モジュール23の当接部と架台85bが押圧されるため、太陽電池モジュール23の短辺枠501と架台85bは電気的導通状態となる。
全ての太陽電池モジュールの配置、及び配線チェックが完了した後、各架台の固定カバー170のネジを締め付け、固定することで太陽電池アレイが完成し、これと同時に、太陽電池モジュールの短辺枠501にある当接部と架台85が押圧されるため、太陽電池モジュール11の短辺枠501と架台85は電気的導通状態となる。短辺枠501は隣り合う架台85、例えば85a,85bに渡って載架されているため、隣り合う架台85a,85b同士も電気的導通状態となり、全ての架台85が電気的に導通状態となる。そこで、いずれかの架台85から一箇所を接地すれば、全ての架台85が接地できる。
なお、架台85の長さをより長くして多数の固定装置300で支持するようにしてもよい。また、太陽電池モジュール11,23の設置開始を屋根の棟側からとしてもよく、横桟への太陽電池モジュール11,23の配置が終ったところから順次ネジ固定を行うこととしても良い。また、地面への接地を架台設置後に行ったり、固定装置から地面へ接地を行ってもよい。
また、本発明の太陽電池モジュール枠を利用しない接地方法の実施形態について、図56、57を用いて説明する。前述の実施形態と同様に、設置した太陽光発電装置の固定カバー170にねじを取り付けるねじ穴521を設けておき、屋根に設置した太陽光発電装置の側面に金属製の側面カバー519を取付ねじ520にて、隣り合う架台上の固定カバー(例えば170a,170b)に取り付ける。このとき、側面カバー519の取付けねじ穴518の周辺を非塗装、すなわち電導性を有するようにしておけば、隣り合う架台上の固定カバー170間を前記側面カバー519により電気的な導通が確保され、いずれかの架台85から一箇所を接地すれば、全ての太陽電池モジュール11,23や架台85が接地できる。また、取付けねじ穴521が塗装されていても、葉付き座金などのように、取付けねじ520を締め付けることで塗膜(絶縁性被膜)を破るような構造にしてもよい。
これにより、太陽電池モジュール11,23の短辺枠501や長辺枠509が樹脂や非導電性の材質であっても、全ての太陽電池モジュール11,23や架台85の接地が可能であるだけでなく、太陽光発電装置の外観を向上せしめ、鳥などが太陽電池モジュール11,23の下に侵入することを防止する機能を有するようにできる。
なお、本実施形態では、傾斜屋根の棟−軒方向へ複数の架台を互いに略平行に配設し、棟側及び軒側に位置する架台のそれぞれの上に、金属枠を有した平板状の太陽電池モジュールの棟側辺及び軒側辺のそれぞれを載置して、架台とこの架台を覆う固定カバー170とで形成される2つの凹部のそれぞれに、太陽電池モジュール11,23の棟側辺及び軒側辺のそれぞれを収容した太陽光発電装置であって、特に、架台の上に載置した太陽電池モジュール11,23に対して、固定カバー170と架台との間で押圧させるための締結手段171とを備えたものとしているが、この限りではなく、発明の要旨を逸脱しない範囲で適宜の方法・構成を採用することができる。
本発明は、その精神または主要な特徴から逸脱することなく、他のいろいろな形態で実施できる。したがって、前述の実施形態はあらゆる点で単なる例示に過ぎず、本発明の範囲は特許請求の範囲に示すものであって、明細書本文には何ら拘束されない。さらに、特許請求の範囲に属する変形や変更は全て本発明の範囲内のものである。
図1は、本発明の第1実施形態の屋根用固定装置30の一例について示す断面図である。 図2は、基台レール1、架台支持部材2、架台固定部材3およびボルト4とを示す斜視図である。 図3は、架台支持部材2、架台固定部材3およびボルト4とを連結した状態を示す斜視図である。 図4は、基台レール1、架台支持部材2、架台固定部材3およびボルト4を連結した状態を示す斜視図である。 図5(a)は、太陽電池モジュールの屋根面固定における施工状態の第1段階を示す斜視図である。 図5(b)は、太陽電池モジュールの屋根面固定における施工状態の第2段階を示す斜視図である。 図5(c)は、太陽電池モジュールの屋根面固定における施工状態の第3段階を示す斜視図である。 図5(d)は、太陽電池モジュールの屋根面固定における施工状態の第4段階を示す斜視図である。 図6は、第1方向Xに並ぶ架台の位置を調整する治具16を示す断面図である。 図7は、本発明の第1実施形態の他の例の基台レール41および架台支持部材42を示す斜視図である。 図8は、本発明の第1実施形態のさらに他の例の架台支持部材82と架台85とを示す斜視図である。 図9は、本発明の第2実施形態の屋根用固定装置130の一例について示す分解斜視図である。 図10は、太陽電池モジュールの固定する状態を示す斜視図である。 図11は、固定装置130の構成要素の一部を示す側面図である。 図12は、架台支持部材132が基台レール131に案内された状態を示す側面図である。 図13は、架台135が架台支持部材132に支持された状態を示す側面図である。 図14は、固定装置130に太陽電池モジュール11,23が装着された状態を示す側面図である。 図15は、基台レール131を屋根状に取り付けるときの状態を模式的に示す平面図である。 図16は、架台支持部材132を基台レール131に取り付けた状態を模式的に示す平面図である。 図17は、架台135を架台支持部材132に取り付けた状態を模式的に示す平面図である。 図18は、架台135間に第1の太陽電池モジュール11aが挿入された状態を模式的に示す平面図である。 図19は、架台135間に第2の太陽電池モジュール11bが挿入された状態を模式的に示す平面図である。 図20は、複数の太陽電池モジュールが架台135に装着された状態を模式的に示す平面図である。 図21(a)は、固定装置130を用いて太陽電池モジュール11を屋根上に配置した第1例を模式的に示す平面図である。 図21(b)は、固定装置130を用いて太陽電池モジュール11を屋根上に配置した第2例を模式的に示す平面図である。 図21(c)は、固定装置130を用いて太陽電池モジュール11を屋根上に配置した第3例を模式的に示す平面図である。 図21(d)は、固定装置130を用いて太陽電池モジュール11を屋根上に配置した第4例を模式的に示す平面図である。 図22は、本発明の第2実施形態の変形例の固定装置を示す断面図である。 図23は、第2実施形態の変形例の固定装置を屋根に連結した状態を示す斜視図である。 図24は、第2実施形態の変形例の固定装置に案内される架台135を示す斜視図である。 図25は、本発明の第3実施形態の屋根用固定装置180の一例について示す断面図である。 図26(a)は、太陽電池モジュールの屋根面固定における施工状態の第1段階を示す平面図である。 図26(b)は、太陽電池モジュールの屋根面固定における施工状態の第2段階を示す平面図である。 図26(c)は、太陽電池モジュールの屋根面固定における施工状態の第3段階を示す平面図である。 図27(a)は、太陽電池モジュールの屋根面固定における施工状態の第4段階を示す平面図である。 図27(b)は、太陽電池モジュールの屋根面固定における施工状態の第5段階を示す平面図である。 図28は、太陽電池モジュールを示す平面図である。 図29(a)は、間隔調整部材172が装着される固定カバー170を示す側面図である。 図29(b)は、間隔調整部材172が装着される固定カバー170を示す正面図である。 図30は、固定装置180に装着される太陽電池モジュールを示す断面図である。 図31は、固定カバー170による太陽電池モジュール挟持前の状態を示す断面図である。 図32は、固定カバー170による太陽電池モジュール挟持後の状態を示す断面図である。 図33は、本発明の第4実施形態の屋根面固定装置190の一例を示す断面図である。 図34は、図33の固定カバー付近を拡大して示す断面図である。 図35(a)は、太陽電池モジュールの架台への装着作業における第1段階を示す断面図である。 図35(b)は、太陽電池モジュールの架台への装着作業における第2段階を示す断面図である。 図35(c)は、太陽電池モジュールの架台への装着作業における第3段階を示す断面図である。 図36(a)は、太陽電池モジュールの架台への装着作業における第4段階を示す断面図である。 図36(b)は、太陽電池モジュールの架台への装着作業における第5段階を示す断面図である。 図36(c)は、太陽電池モジュールの架台への装着作業における第6段階を示す断面図である。 図37(a)は、固定カバーが架台に装着された状態を示す断面図である。 図37(b)は、架台に太陽電池モジュールが仮止めされた状態を示す断面図である。 図37(c)は、太陽電池モジュールが仮止めされた状態から、ねじが緩められる状態を示す断面図である。 図37(d)は、固定カバーを太陽電池モジュール挟持位置に移動させた状態から、ねじが締められる状態を示す断面図である。 図37(e)は、固定カバーと架台とによって太陽電池モジュールを挟持した状態を示す断面図である。 図38(a)は、本発明の第4実施形態の他の例のねじ部材を示す断面図である。 図38(b)は、ねじ部材によって固定される固定カバー体の状態を示す断面図である。 図39は、本発明の第5実施形態の屋根用固定装置300を示す断面図である。 図40は、屋根用固定装置300を示す斜視図である。 図41は、架台に対して基台が第1位置にあるときを示す断面図である。 図42は、架台に対して基台が第2位置にあるときを示す断面図である。 図43(a)は、架台が支持部材に装着される装着手順の第1段階を示す斜視図である。 図43(b)は、架台が支持部材に装着される装着手順の第2段階を示す斜視図である。 図43(c)は、架台に対して基台を変位駆動させる装着部材の第3段階を示す。 図43(d)は、基台に架台が案内された規制された状態を示す。 図44(a)は、架台に対する基台の変位が規制された状態を示す。 図44(b)は、図44(a)に示す状態から、架台に対して基台を180度角変位させた状態を示す。 図45(a)は、屋根材の段差と架台の位置関係および固定相値の向きとの関係について説明するための断面図であり、固定装置が第1の位置に固定される状態を示す。 図45(b)は、屋根材の段差と架台の位置関係および固定相値の向きとの関係について説明するための断面図であり、固定装置が第2の位置に固定される状態を示す。 図45(c)は、屋根材の段差と架台の位置関係および固定相値の向きとの関係について説明するための断面図であり、固定装置が第3の位置に固定される状態を示す。 図45(d)は、屋根材の段差と架台の位置関係および固定相値の向きとの関係について説明するための断面図であり、固定装置が第4の位置に固定される状態を示す。 図46は、第5実施形態の他の例の基台レールを示す断面図である。 図47は、第5実施形態のさらに他の例の基台レールを示す断面図である。 図48(a)は、第5実施形態のさらに他の例の基台レールを示し、架台を案内可能な状態を示す斜視図である。 図48(b)は、図48(a)に示す状態から支持部材を90度角変位させた状態を示す斜視図である。 図48(c)は、図48(a)に示す状態で支持部材に架台を案内させた状態を示す斜視図である。 図48(d)は、図46(c)に示す状態から支持部材を90度角変位させた状態を示す斜視図である。 図49(a)は、第5実施形態のさらに他の例の基台レールを示す分解斜視図である。 図49(b)は、図49(a)に示すさらに他の例の基台レールを組立てた状態を示す斜視図である。 図49(c)は、図49(b)に示す状態で支持部材に架台を案内させた状態を示す斜視図である。 図49(d)は、図49(c)に示す状態から架台を変位阻止した状態を示す斜視図である。 図50は、図49(c)を示す断面図である。 図51は、図49(d)を示す断面図である。 図52は、本発明の太陽電池モジュールの一部を示す平面図である。 図53(a)は、太陽電池モジュールの上面を示す斜視図である。 図53(b)は、太陽電池モジュールの下面を示す斜視図である。 図54(a)は、架台に垂直に延びて、太陽電池モジュールの枠体となるべき第1前駆体を示す斜視図である。 図54(b)は、第1前駆体を加工した第2前駆体を示す斜視図である。 図54(c)は、第2前駆体に導通加工を施した太陽電池モジュールの枠体を示す斜視図である。 図53は、太陽電池モジュールの上下方向枠体の一部を拡大して示す断面図である。 図56は、本発明の第6実施形態の固定装置を示す断面図である。 図57は、固定装置本体と、側面カバー体とを示す分解平面図である。 図58は、第1の従来技術の固定装置110を用いて太陽電池モジュール103を屋根状に設置する状態を模式的に示す斜視図である。 図59は、図58のセクションS1−S1を拡大して示す斜視図である。 図60は、第1の従来の固定装置110を瓦葺き屋根118状に設置した状態を模式的に示す断面図である。 図61は、第1の従来技術の固定金具124を示す斜視図である。 図62は、第2の従来技術の固定装置120を示す分解斜視図である。 図63は、第2の従来の固定装置120を用いて太陽電池モジュール103を屋根上に設置した状態を模式的に示す平面図である。 図64は、図63の一部拡大斜視図である。 図65(a)は、従来の固定装置120を用いて太陽電池モジュール103を屋根上に配置した第1例を模式的に示す平面図である。 図65(b)は、従来の固定装置120を用いて太陽電池モジュール103を屋根上に配置した第2例を模式的に示す平面図である。 図65(c)は、従来の固定装置120を用いて太陽電池モジュール103を屋根上に配置した第3例を模式的に示す平面図である。 図65(d)は、従来の固定装置120を用いて太陽電池モジュール103を屋根上に配置した第4例を模式的に示す平面図である。
符号の説明
1、1a、1b、41、131、301:基台レール
2、42、82、132、132u、132s、132t:架台支持部材
3、133:架台固定部材
4、43、143:ボルト
5、52、53、54、85、85a、85b、85c、135、135u、135s、135t、302、304:架台
6:シール材
7:屋根材
8、312:取付ビス
8a:パッキン
9:野地板
10:たるき
11、11a、11b、11c、11d、23、138太陽電池モジュール
12、170、170a、170b、311:固定カバー
14、14a、14b、14c:横墨
15:縦墨
16:治具
17:屋根
18:固定ビス
30、30a、30b、30c、30d、80、130、180、180A〜180F、190、300:固定装置
32:屋根用取付部材
48:ストッパー片
49:第二係合部
50:第一係合部
51、51b、200:本体部
55:取付ビス遊通孔
56、57:フランジ部
58:第1傾斜部分
59:締結受け部
60:底面部
61、62:立設部
34a、63:係合部
64:第1突出部
65、73、132a、304a:係止部
66:傾斜方向上方X1側端部
67:傾斜方向下方X2側端部
68:腕部分
69:平坦部63に連なる胴部分
70:第2傾斜部分
71、72、95、204、350、518:ねじ穴
73:第1傾斜部分
86:下側乗載部
87:上側乗載部
88:第1平坦部
89:第2平坦部
90、192:連結部
91、93:軒側周縁部
92:棟側周縁部
96、97、310、320:載架片
132b:台座部
133、520:ねじ
134:外側挟持部材
135a:レール状の係止部である下端
135b、176a、176b、176c:開口部
136、137、185、222、318:貫通孔
139:端部(枠部)
140:本体部分
141、142:固定部分
144:レール部
144a:立ち上がり部分
144b:立ち下がり部分
144c:屈曲部分
145、351:支持部
146、147、360、363:隙間
149:太陽電池アレイ
150:設置面固定金具
152:押え金具
152a:爪部
153:金具ベース
153a:上部押え部
153b:先端部
154:締結ボルト
158a、158b:基台レール底部
160、169:底部
161、162:ガイド部
163:本体部分
171:締結手段
171a、171b:締結用ねじ
172:間隔保持手段
174:太陽電池本体
175:枠
177:首部
178:折り返し片
184:ネジ固定部材
187:非ねじ形成部
190、191:対向部分
193、194:バネ部
201:軒側載架面
202:棟側載架面
203:軒片
205、206、208:隆起部
207:案内部
220:軒側押圧片
221:棟側押圧片
223:突起
301a、316a、401a:押圧部
301b:固定部
301c:傾斜側部
302:規制部材
303:回動軸
316:押圧部材
316b:当たり部
317:押圧ビス
352、353:脚部
354、355:押圧部凸条
356:規制本体部
357、358:規制部凸条
361:法線方向上方Z1に予め定める量
364:法線方向寸法
367:つまみ部
370、371:立ち上がり片
400:棟側
501:短辺枠
501a:突設部
501b:当接部
509:長辺枠
519:側面カバー
L1:平坦部63の水平方向寸法
L2:水平方向距離
L3:胴部分69の水平方向寸法
L4:腕部分68の水平方向寸法
L5:第1傾斜部分73の水平方向寸法
L6:基台レール1の水平方向寸法
L98、L99:軸線
P1、P2:瓦重ね部
X:傾斜方向
X1:傾斜方向上方
X2:傾斜方向下方
Y:方向
Z:法線方向
Z1:法線方向上方
Z2:法線方向下方

Claims (35)

  1. 建造物に設置される設置体を固定するための固定装置であって、
    建造物に連結され、長尺状に形成される基台と、
    基台に案内されて基台の長手方向となる第1方向に移動可能に形成される支持部材と、
    支持部材に案内されて前記第1方向と交差する第2方向に移動可能に形成され、設置体を保持する架台と、
    基台に対する支持部材の変位および支持部材に対する架台の変位を阻止可能な変位阻止部材とを含むことを特徴とする固定装置。
  2. 変位阻止部材は、架台の一部を基台に対して押圧することで、架台を基台に固定することを特徴とする請求項1記載の固定装置。
  3. 変位阻止部材は、支持部材に連結されて、架台の一部を基台に対して押圧することで、架台を基台と支持部材とによって挟持することを特徴とする請求項1記載の固定装置。
  4. 間隔をあけてそれぞれ設けられる2つの架台によって、設置体の両側の周縁部をそれぞれ保持することを特徴とする請求項1記載の固定装置。
  5. 架台に設置体を固定可能な設置体固定部材をさらに含むことを特徴とする請求項1記載の固定装置。
  6. 架台に設置体を固定する設置体固定部材をさらに含み、
    固定部材は、架台と反対側から設置体に当接するカバー体と、
    カバー体を架台に向かって押圧する押圧部材とを備えることを特徴とする請求項1記載の固定装置。
  7. 架台は、設置体を乗載する乗載部と、乗載部よりも建造物側に設けられ、支持部材に連結される連結部とが形成されることを特徴とする請求項1記載の固定装置。
  8. 支持部材は、前記第2方向に延びるレール状の支持部材係止部が形成され、
    架台は、建造物側に設けられて支持部材の係合部に係合するレール状の架台係止部とが形成され、支持部材係止部と架台係止部とが係合することを特徴とする請求項1記載の固定装置。
  9. 基台は、建造物に固定される基台固定部と、
    基台固定部に案内されて、基台固定部に対して第1方向に移動可能に設けられ、前記支持部材を連結する基台移動部と、
    基台固定部に対する基台移動部の変位を阻止可能な基台結合部とを備えることを特徴とする請求項1記載の固定装置。
  10. 建造物に設置される設置体を固定するための固定装置であって、
    建造物に連結される基台と、
    基台に直接または間接的に連結され、設置体を乗載する架台と、
    架台と協働して、設置体を挟持するカバー体と、
    架台に螺着可能に形成され、架台に螺進することによってカバー体を架台に押圧する押圧力を発生するねじ部材と、
    ねじ部材が架台から螺退するとともにカバー体を架台から離反移動させる間隔調整部材とを含むことを特徴とする固定装置。
  11. 間隔調整部材は、ねじ部材によるカバー体押圧前におけるカバー体と架台との間隔を、カバー体押圧後よりも広く保持することを特徴とする請求項10記載の固定装置。
  12. 間隔調整部材は、前記押圧力とは反対方向の力をカバー体に与えるバネ部材を含むことを特徴とする請求項10記載の固定装置。
  13. カバー体は、架台から離反した状態で、架台に乗載される設置体に当接し、設置体の移動を抑止する当接部が形成されることを特徴とする請求項10記載の固定装置。
  14. 間隔調整部材は、架台とカバー体とにともに接触し、架台とカバーとを電気的に接続することを特徴とする請求項10記載の固定装置。
  15. 建造物に設置される設置体を固定するための固定装置であって、
    建造物に連結される基台と、
    基台に直接または間接的に連結され、設置体を乗載する架台と、
    架台と協働して、設置体を挟持するカバー体と、
    架台に螺着可能に形成され、架台に螺進することによってカバー体を架台に押圧する押圧力を発生するねじ部材とを含み、
    カバー体は、架台と協働して設置体を仮止め可能な仮止め状態で、架台に装着されることを特徴とする固定装置。
  16. 架台とカバー体とによって、上下方向両側にそれぞれ2つの設置体を挟持可能に形成され、2つの設置体を保持した状態で、
    架台は、下側に位置する下側設置体の上方側周縁部を載置する下方側載架面と、
    上側に位置する上側設置体の下方側周縁部を載置し、下方側載架面よりも高く設けられる上方側載架面と、
    上方側載架面から連続して下方側載架面の上にせり出て、ねじ部材に螺合するためのねじ孔が形成されるねじ形成部とが形成され、
    カバー体は、下側設置体の上側周縁部を上側から押圧する下側押圧片と、
    上側設置体の下側周縁部を上側から押圧し、下側押圧片よりも上方に設けられる上側押圧片とが形成され、
    各設置体の周縁部を架台の各載架面に載置可能な状態で、ねじ部材の先端部でカバー体の下側押圧片を架台の下側載架面に対して押圧することで、カバー体を架台に固定可能であるとともに、ねじ部材を緩めてカバー体の固定状態を解くと、設置体の周縁部をカバー体によって押圧可能な状態にすることができ、この押圧可能な状態でねじ部材を締め付けて設置体の周縁部をカバー体によって押圧することを特徴とする請求項15記載の固定装置。
  17. カバー体には、設置体を位置決めするストッパー部分が形成されることを特徴とする請求項15記載の固定装置。
  18. ねじ部材は、前後をねじ形成部に挟まれる非ねじ形成部が設けられることを特徴とする請求項15記載の固定装置。
  19. ねじ部材は、架台に螺合した状態で、先端部が残余の部分よりも大きく形成されることを特徴とする請求項15記載の固定装置。
  20. 間隔をあけてそれぞれ設けられる2つの架台によって、設置体の両側の周縁部をそれぞれ保持することを特徴とする請求項15記載の固定装置。
  21. 建造物に設置される設置体を固定するための固定装置であって、
    建造物に連結される基台と、
    基台に対して予め定める角変位軸線まわりに角変位可能に設けられる案内部材と、
    案内部材に案内されて移動可能に形成されて、設置体を保持する架台とを含むことを特徴とする固定装置。
  22. 架台の位置を保持しつつ、案内部材によって架台を案内したときに、前記角変位軸線まわりに基台を案内部材に対して角変位することで、建造物に対する基台の固定位置を任意に決定可能としたことを特徴とする請求項21記載の固定装置。
  23. 案内部材に対して基台を角変位軸線まわりに180度回動させた前後において、建造物と基台との固定位置が変化することを特徴とする請求項21記載の固定装置。
  24. 角変位軸線は、基台の長手方向中間部以外の位置に設けられることを特徴とする請求項21記載の固定装置。
  25. 基台の長手方向と架台の長手方向とのなす角を所定角度以上ずらしたときに、架台と案内部材とを押圧して、案内部材に対する架台の変位を規制する押圧部材が基台に設けられることを特徴とする請求項21記載の固定装置。
  26. 基台の長手方向と架台の長手方向とのなす角を所定角度以上ずらしたときに、架台と案内部材とを押圧して、案内部材に対する架台の変位を規制する押圧部材が設けられ、
    押圧部材は、基台と案内部材との間に介在されて、押圧部材を架台の長手方向に対して所定角度移動させたときに、架台が案内部材に対して固定されることを特徴とする請求項21記載の固定装置。
  27. 基台の長手方向と架台の長手方向とのなす角を所定角度以上ずらしたときに、架台と案内部材とを押圧して、案内部材に対する架台の変位を規制する押圧部材が設けられ、
    押圧部材は、基台と案内部材との間に介在されて、押圧部材を架台に対し所定の方向に移動させたときに、架台が案内部材に対して固定されることを特徴とする請求項21記載の固定装置。
  28. 基台の長手方向と架台の長手方向とのなす角を所定角度以上ずらしたときに、架台と案内部材とを押圧して、案内部材に対する架台の変位を規制する押圧部材が設けられ、
    押圧部材は、凸条部分が形成されることを特徴とする請求項21記載の固定装置。
  29. 基台の長手方向と架台の長手方向とのなす角を所定角度以上ずらしたときに、架台と案内部材とを押圧して、案内部材に対する架台の変位を規制する押圧部材が設けられ、
    押圧部材は、基台と案内部材との間に介在されて、凸条部分が形成されることを特徴とする請求項21記載の固定装置。
  30. 間隔をあけてそれぞれ設けられる2つの架台によって、設置体の両側の周縁部をそれぞれ保持することを特徴とする請求項21記載の固定装置。
  31. 設置体および架台の側面を覆う側面カバー体をさらに含み、側面カバー体は設置体と当接して設置体を接地することを特徴とする請求項1、10、15、21のいずれかに記載の固定装置。
  32. 建造物に設置される設置体であって、架台に当接する部分が電気導通可能に形成されることを特徴とする請求項1、10、15、21のいずれかに記載の固定装置。
  33. 建造物に設置される設置体を固定するための固定装置であって、
    建造物に連結され、長尺レール上に形成される基台と、
    基台に案内されて基台に予め定められる第1方向に移動可能に形成される支持部材と、
    支持部材に案内されて前記第1方向と交差する第2方向に移動可能に形成され、設置体を保持する架台と、
    基台に対する支持部材の変位および支持部材に対する架台の変位を阻止する変位阻止部材と、
    架台と協働して、設置体を挟持するカバー体と、
    架台に螺着可能に形成され、架台に螺進することによってカバー体を架台に押圧する押圧力を発生するねじ部材と、
    ねじ部材が架台を螺退するとともにカバー体を架台から離反移動させる間隔調整部材とを含むことを特徴とする固定装置。
  34. 建造物に設置される設置体を固定するための固定装置であって、
    建造物に連結され、長尺レール上に形成される基台と、
    基台に案内されて基台に予め定められる第1方向に移動可能に形成される支持部材と、
    支持部材に案内されて前記第1方向と交差する第2方向に移動可能に形成され、設置体を保持する架台と、
    架台と協働して、設置体を挟持するカバー体と、
    架台に螺着可能に形成され、架台に螺進することによってカバー体を架台に押圧する押圧力を発生するねじ部材とを含み、
    カバー体は、架台と協働して設置体を仮止め可能な仮止め状態で、架台に装着されることを特徴とする固定装置。
  35. 建造物に設置される設置体を固定するための固定装置であって、
    建造物に連結される基台と、
    基台に支持されて水平方向に移動可能に形成され、設置体を保持する架台と、
    基台に対する架台の変位および支持部材に対する架台の変位を阻止可能な変位阻止部材とを含むことを特徴とする固定装置。
JP2004016241A 2003-01-30 2004-01-23 固定装置 Expired - Fee Related JP4429028B2 (ja)

Priority Applications (1)

Application Number Priority Date Filing Date Title
JP2004016241A JP4429028B2 (ja) 2003-01-30 2004-01-23 固定装置

Applications Claiming Priority (6)

Application Number Priority Date Filing Date Title
JP2003021239 2003-01-30
JP2003040326 2003-02-18
JP2003050048 2003-02-26
JP2003072356 2003-03-17
JP2003398221 2003-11-27
JP2004016241A JP4429028B2 (ja) 2003-01-30 2004-01-23 固定装置

Publications (2)

Publication Number Publication Date
JP2005180159A true JP2005180159A (ja) 2005-07-07
JP4429028B2 JP4429028B2 (ja) 2010-03-10

Family

ID=34799922

Family Applications (1)

Application Number Title Priority Date Filing Date
JP2004016241A Expired - Fee Related JP4429028B2 (ja) 2003-01-30 2004-01-23 固定装置

Country Status (1)

Country Link
JP (1) JP4429028B2 (ja)

Cited By (14)

* Cited by examiner, † Cited by third party
Publication number Priority date Publication date Assignee Title
JP2005314898A (ja) * 2004-04-27 2005-11-10 Yane Gijutsu Kenkyusho:Kk 太陽光発電パネル等を屋根上等に設置するための取付け枠桟用の固定装置
JP2007163256A (ja) * 2005-12-13 2007-06-28 Sus Corp 機器位置決め装置と機器位置決め装置用回転機構
JP2007182713A (ja) * 2006-01-06 2007-07-19 Sanko Metal Ind Co Ltd 安全レール装置
JP2007231514A (ja) * 2006-02-27 2007-09-13 Sharp Corp 太陽電池モジュール及びその取り付け構造
JP2007291703A (ja) * 2006-04-25 2007-11-08 Roof System Co Ltd 屋根上設置物取り付け金具
JP2011196067A (ja) * 2010-03-18 2011-10-06 Toshiba Plant Systems & Services Corp 太陽電池アレイ及び太陽電池アレイの施工方法
JP2013227859A (ja) * 2010-07-20 2013-11-07 Kyocera Corp 太陽電池アレイ
JP2014240558A (ja) * 2013-06-11 2014-12-25 三洋電機株式会社 太陽電池パネルの取り付け器具及び太陽電池装置
JP2014240568A (ja) * 2013-06-11 2014-12-25 三洋電機株式会社 太陽電池パネルの取り付け器具及び太陽電池装置
JP2015214877A (ja) * 2014-03-31 2015-12-03 パナソニックIpマネジメント株式会社 固定具、太陽電池モジュールの施工方法
JP2019085702A (ja) * 2017-11-01 2019-06-06 積水ハウス株式会社 支持具、太陽電池モジュールの取付ユニットおよび太陽電池モジュールの取付方法
CN114593530A (zh) * 2022-03-15 2022-06-07 辽宁生态工程职业学院 分布式发电系统中太阳能集热板与支架的连接机构
CN114679123A (zh) * 2020-12-24 2022-06-28 苏州阿特斯阳光电力科技有限公司 光伏组件
JPWO2023026579A1 (ja) * 2021-08-23 2023-03-02

Families Citing this family (2)

* Cited by examiner, † Cited by third party
Publication number Priority date Publication date Assignee Title
JP5717854B2 (ja) * 2011-06-03 2015-05-13 京セラ株式会社 太陽電池アレイ
JP6905324B2 (ja) * 2016-10-24 2021-07-21 ソーラーフロンティア株式会社 パネル用の固定装置、パネル用の固定装置を設置する方法、及びパネルを設置する方法

Citations (2)

* Cited by examiner, † Cited by third party
Publication number Priority date Publication date Assignee Title
JPH10122125A (ja) * 1996-10-15 1998-05-12 Sumitomo Densetsu Corp 太陽エネルギー利用設備取付け架台
JP2003035016A (ja) * 2001-07-26 2003-02-07 Ykk Ap Inc 形材の固定構造およびこれを用いた太陽光発電用設置架台

Patent Citations (2)

* Cited by examiner, † Cited by third party
Publication number Priority date Publication date Assignee Title
JPH10122125A (ja) * 1996-10-15 1998-05-12 Sumitomo Densetsu Corp 太陽エネルギー利用設備取付け架台
JP2003035016A (ja) * 2001-07-26 2003-02-07 Ykk Ap Inc 形材の固定構造およびこれを用いた太陽光発電用設置架台

Cited By (15)

* Cited by examiner, † Cited by third party
Publication number Priority date Publication date Assignee Title
JP2005314898A (ja) * 2004-04-27 2005-11-10 Yane Gijutsu Kenkyusho:Kk 太陽光発電パネル等を屋根上等に設置するための取付け枠桟用の固定装置
JP2007163256A (ja) * 2005-12-13 2007-06-28 Sus Corp 機器位置決め装置と機器位置決め装置用回転機構
JP2007182713A (ja) * 2006-01-06 2007-07-19 Sanko Metal Ind Co Ltd 安全レール装置
JP2007231514A (ja) * 2006-02-27 2007-09-13 Sharp Corp 太陽電池モジュール及びその取り付け構造
JP2007291703A (ja) * 2006-04-25 2007-11-08 Roof System Co Ltd 屋根上設置物取り付け金具
JP2011196067A (ja) * 2010-03-18 2011-10-06 Toshiba Plant Systems & Services Corp 太陽電池アレイ及び太陽電池アレイの施工方法
JP2013227859A (ja) * 2010-07-20 2013-11-07 Kyocera Corp 太陽電池アレイ
JP2014240558A (ja) * 2013-06-11 2014-12-25 三洋電機株式会社 太陽電池パネルの取り付け器具及び太陽電池装置
JP2014240568A (ja) * 2013-06-11 2014-12-25 三洋電機株式会社 太陽電池パネルの取り付け器具及び太陽電池装置
JP2015214877A (ja) * 2014-03-31 2015-12-03 パナソニックIpマネジメント株式会社 固定具、太陽電池モジュールの施工方法
JP2019085702A (ja) * 2017-11-01 2019-06-06 積水ハウス株式会社 支持具、太陽電池モジュールの取付ユニットおよび太陽電池モジュールの取付方法
CN114679123A (zh) * 2020-12-24 2022-06-28 苏州阿特斯阳光电力科技有限公司 光伏组件
JPWO2023026579A1 (ja) * 2021-08-23 2023-03-02
JP7371276B2 (ja) 2021-08-23 2023-10-30 高島株式会社 固定具、及び固定装置
CN114593530A (zh) * 2022-03-15 2022-06-07 辽宁生态工程职业学院 分布式发电系统中太阳能集热板与支架的连接机构

Also Published As

Publication number Publication date
JP4429028B2 (ja) 2010-03-10

Similar Documents

Publication Publication Date Title
JP4429028B2 (ja) 固定装置
US11296648B1 (en) Solar panel racking system and devices for the same
US20140182662A1 (en) Method and Apparatus for Forming and Mounting a Photovoltaic Array
US20130140416A1 (en) Apparatus for Forming and Mounting a Photovoltaic Array
KR101390571B1 (ko) Pv 모듈 실장 및 지지 조립체 및 실장 방법
US9911880B2 (en) Method and apparatus for forming and mounting a photovoltaic array
US8250829B2 (en) Module attachment apparatus
US9166524B2 (en) Connecting components for photovoltaic arrays
EP3812529B1 (en) Rail-less roof mounting system
US9038329B2 (en) Structure following roof mounted photovoltaic system
US20130136531A1 (en) Plate-like module securing structure
JP6865403B2 (ja) 太陽光発電装置
US20040216399A1 (en) Fixing apparatus
AU2007355014A1 (en) Fixing structure of solar battery module, frame for the solar battery module, and fixing member
US9941835B2 (en) Manual snap-on photovoltaic mounting system for rapid installation of photovoltaic arrays onto metal roofs
US20160173024A1 (en) Fastening device and fastening method of solar cell module
US10298170B2 (en) Photovoltaic mounting system
EP3099984B1 (en) Solar photovoltaic module clamping system and solar carport
JPH1113238A (ja) 太陽電池モジュール用架台
WO2012121147A1 (ja) 太陽電池モジュールの架台、その施工方法、及びそれを備えた太陽光発電システム
US10224864B2 (en) Solar cell module mounting device
JP2005264441A (ja) 太陽電池アレイ
JP2003096987A (ja) 屋根用固定装置及びそれを用いた固定構造
US20240117835A1 (en) Rail mounting apparatus, system and method of securing devices to a structure
JP7572039B2 (ja) モジュールロック金具、太陽光発電設備、及び太陽電池モジュール施工方法

Legal Events

Date Code Title Description
A621 Written request for application examination

Free format text: JAPANESE INTERMEDIATE CODE: A621

Effective date: 20070119

A977 Report on retrieval

Free format text: JAPANESE INTERMEDIATE CODE: A971007

Effective date: 20090326

A131 Notification of reasons for refusal

Free format text: JAPANESE INTERMEDIATE CODE: A131

Effective date: 20090331

A521 Request for written amendment filed

Free format text: JAPANESE INTERMEDIATE CODE: A523

Effective date: 20090601

A131 Notification of reasons for refusal

Free format text: JAPANESE INTERMEDIATE CODE: A131

Effective date: 20090721

A521 Request for written amendment filed

Free format text: JAPANESE INTERMEDIATE CODE: A523

Effective date: 20090909

TRDD Decision of grant or rejection written
A01 Written decision to grant a patent or to grant a registration (utility model)

Free format text: JAPANESE INTERMEDIATE CODE: A01

Effective date: 20091117

A01 Written decision to grant a patent or to grant a registration (utility model)

Free format text: JAPANESE INTERMEDIATE CODE: A01

A61 First payment of annual fees (during grant procedure)

Free format text: JAPANESE INTERMEDIATE CODE: A61

Effective date: 20091215

FPAY Renewal fee payment (event date is renewal date of database)

Free format text: PAYMENT UNTIL: 20121225

Year of fee payment: 3

R150 Certificate of patent or registration of utility model

Ref document number: 4429028

Country of ref document: JP

Free format text: JAPANESE INTERMEDIATE CODE: R150

FPAY Renewal fee payment (event date is renewal date of database)

Free format text: PAYMENT UNTIL: 20121225

Year of fee payment: 3

FPAY Renewal fee payment (event date is renewal date of database)

Free format text: PAYMENT UNTIL: 20131225

Year of fee payment: 4

LAPS Cancellation because of no payment of annual fees