JP2005176784A - Welsh onion conveyor - Google Patents

Welsh onion conveyor Download PDF

Info

Publication number
JP2005176784A
JP2005176784A JP2003425325A JP2003425325A JP2005176784A JP 2005176784 A JP2005176784 A JP 2005176784A JP 2003425325 A JP2003425325 A JP 2003425325A JP 2003425325 A JP2003425325 A JP 2003425325A JP 2005176784 A JP2005176784 A JP 2005176784A
Authority
JP
Japan
Prior art keywords
conveying
descending
leek
unit
onion
Prior art date
Legal status (The legal status is an assumption and is not a legal conclusion. Google has not performed a legal analysis and makes no representation as to the accuracy of the status listed.)
Pending
Application number
JP2003425325A
Other languages
Japanese (ja)
Inventor
Koji Ikeda
幸治 池田
Current Assignee (The listed assignees may be inaccurate. Google has not performed a legal analysis and makes no representation or warranty as to the accuracy of the list.)
Kobashi Industries Co Ltd
Original Assignee
Kobashi Industries Co Ltd
Priority date (The priority date is an assumption and is not a legal conclusion. Google has not performed a legal analysis and makes no representation as to the accuracy of the date listed.)
Filing date
Publication date
Application filed by Kobashi Industries Co Ltd filed Critical Kobashi Industries Co Ltd
Priority to JP2003425325A priority Critical patent/JP2005176784A/en
Publication of JP2005176784A publication Critical patent/JP2005176784A/en
Pending legal-status Critical Current

Links

Images

Landscapes

  • Harvesting Machines For Root Crops (AREA)

Abstract

<P>PROBLEM TO BE SOLVED: To provide a Welsh onion conveyor for drying the harvested Welsh onions on the ground. <P>SOLUTION: The Welsh onion conveying machine is equipped with a downward conveyor 19 that conveys down Welsh onions N from the machine body and send out them in the side position based on the ground G from the end of the conveyor 19 toward the ground G. The conveying machine is equipped with a horizontal conveyor 17 for conveying the Welsh onions N in the horizontal direction and a descending conveyor 19. The vegetable discharging position in the downward conveyor is made controllable. The horizontal conveyor 17 and the descending conveyor 19 are continuously provided and an onion-spring out inhibitor 31 that exactly inhibits the conveyed onions from spring out of the conveying route is attached to the place where the vegetables are relayed from the horizontal conveyor 17 to the descending conveyor 19. A vegetable-falling off inhibitor 50 is set on the upper face of the descending conveyor 19. A vegetable posture attitude controller 18 for adjusting the posture of the vegetables are provided on the vegetable conveying route. The conveying angle in the descending conveyor 19 is made adjustable. The driving forces for the horizontal conveyor 17 and the descending conveyor 19 are provided on the same axis. The height of the conveying end edge in the descending conveyer 19 is made adjustable. <P>COPYRIGHT: (C)2005,JPO&NCIPI

Description

本発明は、圃場から収穫したねぎを搬送する搬送装置に関し、さらに詳しくは、収穫したねぎを地干しするために、ねぎを機体から下降させながら搬送し、地面に対し機体の移動方向と交差する横姿勢で排出する下降搬送部を備えたねぎ搬送装置に関する。   The present invention relates to a transport device for transporting harvested green onions from a farm field. More specifically, in order to dry the harvested green onions, the green onions are transported while being lowered from the machine body and intersect the ground movement direction. The present invention relates to a green onion conveying apparatus including a descending conveying unit that discharges in a horizontal posture.

従来、圃場に栽培されているねぎを掘取って搬送し、その搬送過程で根部に付着している土を落とし、不要な根や葉を切断するなど調製して収容、あるいは結束したりする、自走式、あるいは牽引式のねぎ収穫機が知られている。
一方、トラクターに牽引されるフレームの一側方から下方へ延長して設けた延長腕に、畝に生えているネギの根部の下方へ進入して、土と共にネギを持ち上げる前方へ傾斜した刃板を設け、該刃板の後方に、持ち上げたネギを一方向へ倒す複数本の長さの異なる案内杆を前記刃板の中心線よりフレーム寄りの片側に設けると共に、上下に振動してネギと土を分離する柵状の振動枠を設けたネギ抜取装置が、特許文献1に開示されている。
Conventionally, digging and transporting green onions cultivated in the field, removing the soil attached to the root in the transport process, cutting and cutting unnecessary roots and leaves, etc. Self-propelled or towed leek harvesters are known.
On the other hand, the blade that slants forward to lift the leek together with the soil by entering the extension arm provided extending from one side of the frame towed by the tractor and entering below the root of the leek growing on the reed A plurality of guide rods of different lengths that tilt the lifted leek in one direction are provided on one side closer to the frame than the center line of the blade plate, and vibrate up and down. A leek extraction device provided with a fence-like vibration frame for separating soil is disclosed in Patent Document 1.

実公平7−19211号No. 7-19211

上記周知のねぎ収穫機においては、圃場から掘り取ったねぎから、根部に付着している土を落とし、不要な根や葉を除去するなど、高度な調製作業を行うことができるが、収穫したねぎを地干ししようとすると、一旦収穫したねぎを、改めて地上に並べ直す必要があり、収穫とは別の手数を要していた。
また、特許文献1に記載のネギ抜取装置においては、畝から掘り起こしたネギを横姿勢に倒すことができず、地干しを行う状態に並べることはできなかった。
従って、両先行技術のものは、地干しを効率良く行うことができなかった。また、地干しの効率を上げようとすると、収穫作業者とは別の作業者を必要とした。
本発明は、一人の作業者で、収穫作業と共に地干し作業も行えるようにしたねぎ搬送装置を提供することを目的とする。
In the above-mentioned well-known onion harvester, it is possible to perform advanced preparation work such as removing soil attached to the roots and removing unnecessary roots and leaves from the leek dug from the field. When trying to dry the green onions, it was necessary to arrange the harvested green onions once again on the ground, which required a different effort from the harvest.
Moreover, in the leek extraction apparatus described in Patent Document 1, the leek digged up from the fence cannot be brought down to the horizontal position, and cannot be arranged in a state where it is laid down.
Therefore, both prior arts could not dry the ground efficiently. In addition, in order to increase the efficiency of dredging, a worker different from the harvester was required.
SUMMARY OF THE INVENTION An object of the present invention is to provide a leek conveying apparatus that allows a single worker to perform a land-drying operation together with a harvesting operation.

上記の目的を達成するために本発明は、以下の構成を有することを特徴としている。
A.圃場から収穫したねぎを搬送する搬送装置であって、
ねぎを機体から下降させながら搬送し、その搬送終端において地面に対し機体の移動方向と交差する横姿勢で排出する下降搬送部を備えた。
B.ねぎをほぼ水平方向に搬送する水平搬送部と、ねぎを機体から下降させながら搬送し、地面に対し機体の移動方向と交差する横姿勢で排出する下降搬送部と、を備えた。
C.前記下降搬送部における地面に対する排出位置を調節可能とした。
In order to achieve the above object, the present invention is characterized by having the following configuration.
A. A conveying device for conveying harvested leek from a farm field,
A descending transport unit is provided that transports green onions while descending from the machine body and discharges the green onion in a lateral posture intersecting the moving direction of the machine body at the end of the transportation.
B. A horizontal transport unit that transports green onions in a substantially horizontal direction, and a descending transport unit that transports green onions while lowering the green onion from the machine body and discharges the green onion in a lateral posture that intersects the moving direction of the machine body.
C. The discharge position with respect to the ground in the descending conveyance unit can be adjusted.

D.前記水平搬送部と下降搬送部とを連続して設け、水平搬送部から下降搬送部にねぎを受け渡す箇所に、ねぎの飛び出しを防止するためのねぎ飛び出し防止部を設けた。
E.前記下降搬送部の上面に、ねぎが抜け落ちるのを防止するねぎ抜け落ち防止部を設けた。
F.ねぎの搬送経路に、ねぎの姿勢を整えるねぎ姿勢整列部を設けた。
D. The horizontal transport unit and the descending transport unit are provided in succession, and a leek pop-out preventing unit for preventing the leek from jumping out is provided at a position where the green onion is transferred from the horizontal transport unit to the descending transport unit.
E. On the upper surface of the descending conveyance unit, a leek drop prevention unit for preventing the leek from falling off was provided.
F. A leek attitude alignment unit for adjusting the leek attitude was provided in the leek transport path.

G.前記下降搬送部における搬送角度を調整可能とした。
H.前記水平搬送部及び下降搬送部の駆動源を同軸上に設けた。
I.前記下降搬送部における搬送終端位置の高さを調節可能とした。
G. The conveyance angle in the descending conveyance unit can be adjusted.
H. Drive sources for the horizontal transport unit and the descending transport unit are provided coaxially.
I. The height of the conveyance end position in the descending conveyance unit can be adjusted.

J.前記水平搬送部及び下降搬送部の駆動源をオン・オフ操作できるようにした。
K.前記ねぎ搬送部が駆動停止状態のとき、ねぎを調製して載置しておくための作業台を着脱可能に設けた。
L.前記下降搬送部は、非使用時には格納可能な構成である。
J. et al. The drive source of the horizontal transport unit and the descending transport unit can be turned on / off.
K. A work table for preparing and placing the green onions was detachably provided when the green onion transport unit was in the drive stop state.
L. The descending conveyance unit is configured to be retractable when not in use.

イ.前記A.(請求項1)の構成により、ねぎを機体から下降させながら搬送し、その搬送終端において地面に対し機体の移動方向と交差する横姿勢で排出する下降搬送部を備えたので、一人のねぎ収穫作業者により、ねぎの地干し作業を同時に行うことができ、効率の良い作業を行うことができる。
ロ.前記B.(請求項2)の構成により、ねぎをほぼ水平方向に搬送する水平搬送部と、ねぎを機体から下降させながら搬送し、地面に対し機体の移動方向と交差する横姿勢で排出する下降搬送部と、を備えたので、ねぎの搬送姿勢を容易に修正することができ、ねぎを適正な姿勢に保持しながら搬送することができる。
ハ.前記C.(請求項3)の構成により、下降搬送部における地面に対する排出位置を調節可能としたので、ねぎを地干しに適した場所(地面)を選んで排出し、効率の良い地干し作業を行うことができる。
A. A. According to the structure of (Claim 1), the onion is transported while being lowered from the machine body, and is provided with a descending conveyance unit that discharges it in a lateral posture intersecting the moving direction of the machine body at the end of the transportation. The operator can simultaneously perform the leek lapping work and can perform efficient work.
B. B. above. With the configuration of (Claim 2), a horizontal transport unit that transports green onions in a substantially horizontal direction, and a downward transport unit that transports green onions while lowering the green onion from the machine body and discharges the green onion in a lateral posture that intersects the moving direction of the machine body Therefore, it is possible to easily correct the conveying posture of the green onion and to convey the green onion while maintaining the proper posture.
C. C. above. With the configuration of (Claim 3), the discharge position with respect to the ground in the descending conveyance unit can be adjusted, so the onions are discharged by selecting a place (ground) suitable for the ground drying and performing efficient ground drying work. Can do.

ニ.前記D.(請求項4)の構成により、水平搬送部と下降搬送部とを連続して設け、水平搬送部から下降搬送部にねぎを受け渡す箇所に、ねぎの飛び出しを防止するためのねぎ飛び出し防止部を設けたので、水平搬送部から下降搬送部へのねぎの受け渡しがスムーズに行われ、ねぎの搬送を円滑に行うことができる。
ホ.前記E.(請求項5)の構成により、下降搬送部の上面に、ねぎが抜け落ちるのを防止するねぎ抜け落ち防止部を設けたので、下降搬送部により下降搬送されるねぎが下降搬送部から抜け落ちることなく確実に搬送される。
ヘ.前記F.(請求項6)の構成により、ねぎの搬送経路に、ねぎの姿勢を整えるねぎ姿勢整列部を設けたので、搬送部によるねぎの搬送をスムーズに行うことができる。
D. D. above. According to the configuration of (Claim 4), the horizontal transport unit and the descending transport unit are provided continuously, and the onion pop-out preventing unit for preventing the onion from jumping out from the horizontal transport unit to the part that delivers the onions to the descending transport unit. Therefore, the green onions are smoothly transferred from the horizontal transfer unit to the descending transfer unit, and the green onions can be transferred smoothly.
E. E. above. With the configuration of (Claim 5), the onion drop prevention unit for preventing the green onion from falling off is provided on the upper surface of the descending transport unit, so that the green onion transported downward by the descending transport unit can be reliably prevented from falling off the descending transport unit. It is conveyed to.
F. F. above. With the configuration of (Claim 6), the leek posture alignment unit for adjusting the leek posture is provided in the leek conveyance path, so that the leek can be smoothly conveyed by the conveyance unit.

ト.前記G.(請求項7)の構成により、下降搬送部における搬送角度を調整可能としたので、下降搬送部により搬送されるねぎの性状、量などに応じて下降搬送部の搬送角度を適宜調整し、ねぎをスムーズに搬送することができる。
チ.前記H.(請求項8)の構成により、水平搬送部及び下降搬送部の駆動源を同軸上に設けたので、水平搬送部及び下降搬送部の回転数の同期が容易となり、また、伝動構成を簡素化することができる。
リ.前記I.(請求項9)の構成により、下降搬送部における搬送終端位置の高さを調節可能としたので、下降搬送部からねぎを排出して地干しを行う地面に起伏があっても、下降搬送部を上下調節して、搬送終端位置が地面と接する(衝突する)ような事態を回避することができる。
G. G. With the configuration of (Claim 7), the conveyance angle in the descending conveyance unit can be adjusted. Therefore, the conveyance angle of the descending conveyance unit is appropriately adjusted according to the nature and amount of the green onion conveyed by the descending conveyance unit. Can be transported smoothly.
H. H. With the configuration of (Claim 8), since the drive sources for the horizontal transport unit and the descending transport unit are provided on the same axis, the rotation speeds of the horizontal transport unit and the descending transport unit can be easily synchronized, and the transmission configuration is simplified. can do.
Li. I. According to the configuration of (Claim 9), the height of the conveyance end position in the descending conveyance unit can be adjusted. Can be adjusted up and down to avoid a situation in which the conveyance end position touches (collises with) the ground.

ヌ.前記J.(請求項10)の構成により、水平搬送部及び下降搬送部の駆動源をオン・オフ操作できるようにしたので、水平搬送部及び下降搬送部の使用、不使用を適宜選択することができ、不使用時には駆動を停止して安全を確保することができる。
ル.前記K.(請求項11)の構成により、ねぎ搬送部が駆動停止状態のとき、ねぎを調製して載置しておくための作業台を着脱可能に設けたので、水平搬送部及び下降搬送部を使用しないときに、その駆動を停止して作業台を装着し、ねぎの調製作業、ストックを行うことができる。
オ.前記L.(請求項12)の構成により、下降搬送部は、非使用時には格納可能な構成であるので、機体格納時や機体移動時などの際に、下降搬送部を格納しておくことにより機体長さ(あるいは幅)を小さくでき、邪魔になるのを防止することができる。
Nu. J. With the configuration of (Claim 10), since the drive source of the horizontal transport unit and the descending transport unit can be turned on / off, the use and non-use of the horizontal transport unit and the descending transport unit can be appropriately selected. When not in use, the drive can be stopped to ensure safety.
Le. The K. According to the structure of (Claim 11), since the work table for preparing and placing the green onion is detachably provided when the green onion transport unit is in the drive stop state, the horizontal transport unit and the descending transport unit are used. When not, the drive can be stopped and a work table can be mounted to prepare and stock green onions.
E. The L. With the configuration of (Claim 12), since the descending conveyance unit can be stored when not in use, the length of the aircraft is reduced by storing the descending conveyance unit when the aircraft is stored or when the aircraft is moving. (Or width) can be reduced, and can be prevented from getting in the way.

以下、本発明を実施するための最良の形態について、添付の図面を参照しながら具体的に説明する。   The best mode for carrying out the present invention will be specifically described below with reference to the accompanying drawings.

図1及び図2において、符号1はねぎ収穫機で、機体2に、左右対をなしスピン(超信地)旋回を可能にしたクローラ3,3を装備している。機体2の一側やや後側に位置してカバーにより覆われたエンジン部4が設けられ、その中にエンジンが搭載され、該エンジン部4の近傍に図示しない油圧装置が装備され、エンジンから動力を受けるようにしている。クローラ3,3間で、機体2の後部寄り下部位置に、図3に示すHST(油圧無断変速装置)5aを備えたトランスミッション5を設け、該トランスミッション5及びHST5aにより変速された動力が、クローラ3,3及び後述する回転駆動部分に伝達されて駆動するようにしている。   1 and 2, reference numeral 1 denotes a leek harvesting machine, and a machine body 2 is equipped with crawlers 3 and 3 that are paired in left and right and that enable spin (super-confidence) rotation. An engine unit 4 is provided on one side and slightly rear side of the machine body 2 and is covered with a cover. The engine is mounted therein, and a hydraulic device (not shown) is provided in the vicinity of the engine unit 4 so that power from the engine can be increased. I am trying to receive it. A transmission 5 having an HST (hydraulic continuously variable transmission) 5a shown in FIG. 3 is provided between the crawlers 3 and 3 at a lower position near the rear of the machine body 2, and the power changed by the transmission 5 and the HST 5a is transmitted to the crawler 3 , 3 and a rotational drive part which will be described later.

前記クローラ3,3は、機体2の前進方向後部において駆動輪3aにより履帯3bを駆動して走行するようにし、該履帯3bを接地側に押圧するようにして転接する複数の接地用転輪3cを支持する転輪フレーム3dを、機体2のフレームに対して前後一対のリンク部材3eにより上下移動可能に支持し、上記転輪フレーム3dと機体2のフレームとの間に伸縮作動するシリンダ機構3fを設け、該シリンダ機構3fの伸縮により履帯3bの接地部分を駆動輪3aを中心に上下移動可能に構成している。   The crawlers 3 and 3 run by driving the crawler belt 3b by the driving wheel 3a at the rear part in the forward direction of the machine body 2, and a plurality of grounding wheels 3c that are in rolling contact with the crawler belt 3b by pressing the crawler belt 3b toward the grounding side. Is supported by a pair of front and rear link members 3e so as to move up and down with respect to the frame of the body 2, and a cylinder mechanism 3f that extends and contracts between the wheel frame 3d and the frame of the body 2 is supported. And the ground contact portion of the crawler belt 3b can be moved up and down around the drive wheel 3a by expansion and contraction of the cylinder mechanism 3f.

クローラ3,3間の機体2の下部前方から機体2の中央下部を通って機体2の後方に向け、先端に掘取り刃6を有し、この掘取り刃6に連続して該掘取り刃6により掘り取られたねぎの根部を縦姿勢に載置して揚上しながら後方斜め上方に向け搬送する無端バーコンベア7を有する掘取り・搬送コンベア装置8を後傾状に斜設している。この掘取り・搬送コンベア装置8の上方に位置して、圃場から掘取られたねぎの茎葉部を縦姿勢で挟持して搬送する,上記掘取り・搬送コンベア装置8より長さの長い、左右一対の挟持搬送ベルト9,9を設けている。   It has a digging blade 6 at the tip from the lower front of the machine body 2 between the crawlers 3 and 3 to the rear of the machine body 2 through the center lower part of the machine body 2, and the digging blade is continuously connected to the digging blade 6. 6. A digging / conveying conveyor device 8 having an endless bar conveyor 7 that conveys the back of the green onion digged up by 6 in a vertical posture and lifts it obliquely upward while being lifted up is inclined in a backward inclined manner. Yes. Positioned above the digging / conveying conveyor device 8, the left and right stalks and leaves of the leek excavated from the field are sandwiched and conveyed in a vertical posture, and are longer than the digging / conveying conveyor device 8. A pair of nipping and conveying belts 9 and 9 are provided.

前記掘取り・搬送コンベア装置8の基端部は、機体2から前方に突出した伝動ケースを兼ねる支持フレーム10に対して、図示しない軸を介して上下に回動可能に枢支されている。また、掘取り・搬送コンベア装置8のフレームの後部下側にはブラケット8aが設けられ、このブラケット8aと機体2との間に油圧シリンダ11が介装されていて、該油圧シリンダ11の伸縮作動により掘取り・搬送コンベア装置8は軸を中心に上下方向に回動するようになっている。   A base end portion of the digging / conveying conveyor device 8 is pivotally supported by a support frame 10 that also serves as a transmission case protruding forward from the machine body 2 via a shaft (not shown). Further, a bracket 8a is provided on the lower rear side of the frame of the digging / conveying conveyor device 8, and a hydraulic cylinder 11 is interposed between the bracket 8a and the machine body 2 so that the hydraulic cylinder 11 can be expanded and contracted. Thus, the digging / conveying conveyor device 8 is configured to rotate in the vertical direction about the axis.

前記挟持搬送ベルト9,9は、左右の対向面が多数の弾性支持されたアームの先端に軸支された填圧ローラ9a,9a…により填圧されて、ねぎの茎葉部を傷つけることなく挟持して搬送するようにしており、該挟持搬送ベルト9,9の前端部が、基端部を掘取り・搬送コンベア装置8のフレームに枢着したリンクアーム12の先端部に枢支され、後端部が、基端部を機体2側に枢着された伝動ケースを兼ねるリンクアーム13の先端部に枢支されている。そして、上記掘取り・搬送コンベア装置8の基部が回動して上動するとき、これと連動してリンクアーム12,13を介して挟持搬送ベルト9も後方に移動するようになっている。また、掘取り・搬送コンベア装置8の下側にはねぎに付着している土を落とす耕耘ロータ状の土落としロ−タ14が支持され、この土落としロ−タ14の後方で挟持搬送ベルト9,9の下方に位置して、土落とし装置15が設けられている。この土落とし装置15は、回転しながらねぎの根部に直接接触して、根部に付着している土を取り除く働きをする。   The sandwiching conveyor belts 9 and 9 are sandwiched without damaging the foliage of the green onion, with the left and right opposing surfaces being pressed by the pressure-pressing rollers 9a, 9a.. The front end portions of the sandwiching and conveying belts 9 and 9 are pivotally supported by the distal end portion of the link arm 12 whose base end portion is pivotally attached to the frame of the conveying and conveying device 8, The end portion is pivotally supported by the distal end portion of the link arm 13 that also serves as a transmission case having a base end portion pivoted to the airframe 2 side. When the base portion of the digging / conveying conveyor device 8 rotates and moves upward, the sandwiching and conveying belt 9 is also moved rearward via the link arms 12 and 13 in conjunction with this. Further, a tilling rotor-like soil dropping rotor 14 for dropping the soil adhering to the leek is supported on the lower side of the digging / conveying conveyor device 8. 9 and 9, a soil removing device 15 is provided. The earth removing device 15 works to remove the soil adhering to the root by directly contacting the root of the green onion while rotating.

前記挟持搬送ベルト9,9の搬送終端部の下側に、第2の挟持搬送ベルト16,16の始端部を連続して設けている。この第2の挟持搬送ベルト16,16は、その始端部で挟持搬送ベルト9,9により挟持搬送されてきたねぎの茎葉部を継承し、縦姿勢のまま搬送しつつ順次斜め横姿勢に変換し、終端部でほぼ45度捻った捻り状態で排出する。この第2の挟持搬送ベルト16,16の搬送終端部の下方には、第2の挟持搬送ベルト16,16から排出されたねぎを載置してほぼ水平状態で後方に向け搬送する,左右一対の無端Vベルト17a,17aからなる水平搬送ベルト(水平搬送部)17,17が設けられている。また、第2の挟持搬送ベルト16,16の搬送終端部側方には、第2の挟持搬送ベルト16,16により挟持搬送されてくるねぎの葉部を支持して搬送する葉部搬送ベルト16aが、第2の挟持搬送ベルト16,16の終端回転支持部と同軸に設けられている。   On the lower side of the conveyance end portion of the nipping / conveying belts 9 and 9, the start end portions of the second nipping / conveying belts 16 and 16 are continuously provided. The second sandwiching and transporting belts 16 and 16 inherit the stalks and leaves of the green onion that have been sandwiched and transported by the sandwiching and transporting belts 9 and 9 at their starting ends, and sequentially convert them into oblique and lateral postures while transporting them in a vertical posture. , And discharged in a twisted state of approximately 45 degrees twisted at the end portion. A pair of left and right left and right pair of left and right conveying belts 16 and 16 is mounted on the left nipping and conveying belts 16 and 16 so as to be conveyed rearward in a substantially horizontal state. Horizontal endless belts 17a and 17a (horizontal transport belts) 17 and 17 are provided. Further, on the side of the conveyance end portion of the second nipping and conveying belts 16 and 16, a leaf portion conveying belt 16a that supports and conveys the leaf portion of the green onion nipped and conveyed by the second nipping and conveying belts 16 and 16. Is provided coaxially with the terminal rotation support portion of the second holding and conveying belts 16 and 16.

第2の挟持搬送ベルト16,16の搬送終端部と水平搬送ベルト17,17の搬送始端部との間は、上下に段差が設けられているが、この段差部分に、第2の挟持搬送ベルト16,16の搬送終端部から排出されたねぎを一時的にストックし、ねぎを整列して姿勢を整え、水平搬送ベルト17,17の搬送始端部上に落下させるようにしたねぎ姿勢整列部としてのストックレーキ18を設けている。   A step is provided up and down between the conveyance end portion of the second nipping and conveying belts 16 and 16 and the conveyance start end of the horizontal conveying belts 17 and 17, and the second nipping and conveying belt is provided at this step portion. As a leek posture alignment unit that temporarily stocks the green onions discharged from the conveyance end portions 16 and 16, aligns the green onions and adjusts the posture, and drops them onto the conveyance start end portions of the horizontal conveyance belts 17 and 17. Stock rake 18 is provided.

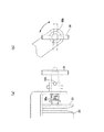
前記水平搬送ベルト17,17の搬送終端部に連続して、図3〜図10に詳細に示す、本発明に係る下降搬送部19,19が機体から下降するように斜設されている。この下降搬送部19,19は、左右一対の無端Vベルト19a,19aの長さ方向上面に、ねぎNを係止して搬送するためのねぎ係止用突起19bを所定間隔に多数設けたもので、水平搬送ベルト17,17により搬送されてきたねぎNを承継して、機体から後方に下降させながら搬送し、その搬送終端において地面Gに対し機体の移動方向と交差する横姿勢で排出し、ねぎNを地干しするものである。   Continuing to the conveying terminal portion of the horizontal conveying belts 17 and 17, the descending conveying portions 19 and 19 according to the present invention shown in detail in FIGS. 3 to 10 are obliquely installed so as to descend from the machine body. The descending and conveying portions 19 and 19 are provided with a large number of onion locking projections 19b at predetermined intervals for engaging and conveying the onions N on the upper surface in the length direction of the pair of left and right endless V belts 19a and 19a. Then, the green onion N conveyed by the horizontal conveying belts 17 and 17 is taken over and conveyed while being lowered rearward from the machine body, and discharged at a lateral position intersecting the moving direction of the machine body with respect to the ground G at the end of the conveyance. , The green onion N is dried.

図7に示すように、水平搬送ベルト17,17と下降搬送部19,19の駆動プーリ17b,17bと19c,19cは、同じ駆動回転軸20に取付けられ、駆動プーリ17bに無端Vベルト17aが、また、駆動プーリ19cにねぎ係止用突起19bを有する無端Vベルト19aがそれぞれ巻回されて、水平搬送ベルト17,17と下降搬送部19,19は同期して回転する。駆動回転軸20の軸端には伝動プーリ21が取付けられ、図3に示す伝動系から動力伝達される。図3において、HST5aにより変速されて出力された動力は、ベルト伝動系22,23を介して、図5に示す回転支持部24に伝達される。回転支持部24においては、ベルト伝動系23と同軸に伝動プーリ25が取付けられ、この伝動プーリ25と前記伝動プーリ21との間に張りプーリ26を介装して伝動ベルト27が巻回されている。この伝動ベルト27には、クラッチアーム28の先端に軸支されたテンションローラ29が転接している。前記クラッチアーム28は、図5及び図6に示す回転支持部24の外側端部に回動可能に支持されたクラッチノブ30により、戻しバネ30a及び位置決め具30bを介してクラッチ入り、クラッチ切りの位置に回動される。   As shown in FIG. 7, the horizontal conveying belts 17, 17 and the driving pulleys 17b, 17b, 19c, 19c of the descending conveying portions 19, 19 are attached to the same driving rotary shaft 20, and the endless V-belt 17a is attached to the driving pulley 17b. In addition, the endless V-belt 19a having the onion locking projection 19b is wound around the drive pulley 19c, and the horizontal conveying belts 17 and 17 and the descending conveying portions 19 and 19 rotate in synchronization. A transmission pulley 21 is attached to the shaft end of the drive rotary shaft 20 to transmit power from the transmission system shown in FIG. In FIG. 3, the power output after being shifted by the HST 5 a is transmitted to the rotation support portion 24 shown in FIG. 5 via the belt transmission systems 22 and 23. In the rotation support portion 24, a transmission pulley 25 is attached coaxially with the belt transmission system 23, and a transmission belt 27 is wound between the transmission pulley 25 and the transmission pulley 21 with a tension pulley 26 interposed therebetween. Yes. A tension roller 29 pivotally supported at the tip of the clutch arm 28 is in rolling contact with the transmission belt 27. The clutch arm 28 is engaged with the clutch via a return spring 30a and a positioning tool 30b by a clutch knob 30 rotatably supported on the outer end portion of the rotation support portion 24 shown in FIGS. Pivoted into position.

前記水平搬送部17から下降搬送部19にねぎNを受け渡す箇所に、ねぎNの飛び出しを防止するための、レーキ状のねぎ飛び出し防止部31を設けている。このねぎ飛び出し防止部31は、高さ調節可能の支持アーム31aの上端部に止めネジ31bにより固定したものであり、支持アーム31aを中心に前方に複数本設けられている。そして、ねぎ飛び出し防止部31は、水平搬送部17の搬送終端位置から排出されるねぎNが下降搬送部19の搬送始端部に受け継がれるとき、跳ね上がってねぎ係止用突起19bに係止されなくなり、下降搬送が乱れるのを防止する働きをする(図4参照)。また、前記支持アーム31aに、下降搬送部19の上面に位置して、下方側に向けて延び、ねぎNが下降搬送部19から抜け落ちるのを防止するレーキ状のねぎ抜け落ち防止部50を設けている。   A rake-shaped onion pop-out preventing unit 31 for preventing the onion N from popping out is provided at a location where the green onion N is transferred from the horizontal transport unit 17 to the descending transport unit 19. The onion pop-out preventing portion 31 is fixed to the upper end portion of the height-adjustable support arm 31a by a set screw 31b, and a plurality of the onion pop-out prevention portions 31 are provided forward around the support arm 31a. Then, when the green onion N discharged from the transfer end position of the horizontal transfer unit 17 is inherited by the transfer start end of the descending transfer unit 19, the green onion prevention unit 31 jumps up and is not locked by the onion locking projection 19 b. It works to prevent the downward conveyance from being disturbed (see FIG. 4). Further, the support arm 31 a is provided with a rake-shaped onion drop prevention unit 50 that is positioned on the upper surface of the lowering conveyance unit 19 and extends downward and prevents the green onion N from falling off the lowering conveyance unit 19. Yes.

前記下降搬送部19の下側の長さ方向ほぼ中間部と機体との間にはターンバックル32が介装され、このターンバックル32を回動して伸縮させると、下降搬送部19は前記駆動回転軸20を中心に上下に回動して、その搬送角度が調整されると共に、搬送終端位置における地面Gとの高さが調節される。このターンバックル32は、下降搬送部19の下側への取付け位置、または機体への取付け位置において着脱可能となっており、例えば、下降搬送部19の非使用時にターンバックル32を機体への取付け位置から取り外して、下降搬送部19を駆動回転軸20を中心に下方へ回動させ、ターンバックル32と共に機体に添わせた格納状態にすることができる。また、ターンバックル32は、図9及び図10に示すシリンダ機構32a、あるいは他の伸縮手段に代えても良い。   A turnbuckle 32 is interposed between the lower intermediate portion of the lower conveying portion 19 in the longitudinal direction and the airframe, and when the turnbuckle 32 is rotated and expanded, the lower conveying portion 19 is driven. By rotating up and down around the rotation shaft 20, the conveyance angle is adjusted, and the height from the ground G at the conveyance end position is adjusted. The turnbuckle 32 can be attached / detached at a lower mounting position or a mounting position on the machine body. For example, the turnbuckle 32 is attached to the machine body when the lowering conveyance section 19 is not used. It can be removed from the position, and the descending conveyance unit 19 can be rotated downward about the drive rotating shaft 20 to be in a retracted state along with the turnbuckle 32 along with the machine body. Further, the turnbuckle 32 may be replaced with the cylinder mechanism 32a shown in FIGS. 9 and 10 or other expansion / contraction means.

前記水平搬送部17の長さ方向一側に手摺り33が設けられている。この手摺り33は運転者が運転作業中に水平搬送部17に接触するのを防止すると共に、ねぎNの調製作業を行う際に作業者の身体を支える働きをする。本発明では、この手摺り33を、移動支持部33aを介して機体の幅方向に移動・固定可能に支持しており、手摺り33の下部に、水平搬送部17により搬送されるねぎNの根部先端が摺接しながら移動するねぎ根部摺接板34を固設している。そして、手摺り33及びねぎ根部摺接板34を左右に移動させることにより、水平搬送部17により搬送されるねぎNの左右位置が変わり、下降搬送部19を介して搬送されてその搬送終端から排出される地面GへのねぎNの排出位置を調節することが可能となっている。   A handrail 33 is provided on one side of the horizontal conveying portion 17 in the length direction. The handrail 33 prevents the driver from coming into contact with the horizontal conveyance unit 17 during the driving operation, and also serves to support the operator's body when preparing the leek N. In the present invention, the handrail 33 is supported so as to be movable and fixed in the width direction of the machine body via the movement support portion 33 a, and the nail N conveyed by the horizontal conveyance portion 17 is below the handrail 33. A green onion root sliding plate 34 that moves while sliding at the root tip is fixed. Then, by moving the handrail 33 and the green onion slidable contact plate 34 to the left and right, the left and right positions of the green onions N transported by the horizontal transport unit 17 change, and are transported via the descending transport unit 19 and from the transport end. It is possible to adjust the discharge position of the green onion N to the discharged ground G.

前記エンジン4と反対側の機体2の側部には、操縦部35、操縦者用ステップ36、座席37、作業者用ステップ38、補助ステップ38a等が設けられている。このうちの作業者用ステップ38には作業者が乗って作業するが、座席37に座った操縦者が作業することもできるように、座席37はその支持腕(図示せず)が、操縦者(作業者)が操縦部35に向かって操縦作業を行ったり、あるいは水平搬送部17に向かってねぎの調製作業を行ったりすることができるように、自由に旋回可能となっている。また、座席37のシートは、操縦者(作業者)が座った状態で、あるいは立った状態で作業ができるように前後に起倒できる構造になっている。   On the side of the airframe 2 opposite to the engine 4, a control unit 35, a pilot step 36, a seat 37, a worker step 38, an auxiliary step 38 a and the like are provided. Of these, the operator steps on the operator's step 38, and the operator sits on the seat 37 so that the operator sitting on the seat 37 can work. The (operator) can freely turn so that the maneuvering operation can be performed toward the manipulating unit 35 or the green onion preparation can be performed toward the horizontal conveying unit 17. The seat 37 has a structure that can be tilted back and forth so that the operator (operator) can work while sitting or standing.

前記掘取り・搬送コンベア装置8の左右のフレームから前方に向けて、左右一対の支持アーム39,39が突出しており、この支持アーム39,39の先端に、収穫対象ねぎ畝の傾斜両肩部に転接する一対の接地ホィール40,40を対向させて軸支している。このホィール40,40は、掘取り・搬送コンベア装置8の上下調節と共に、収穫対象ねぎ畝の長さ方向に沿って機体の移動と共に追従する畝追従装置としての機能も果たすもので、掘取り・搬送コンベア装置8に対して上下調節シリンダ41により上下調節可能、かつ左右移動調節機構により左右移動調節可能に支持されている。また、一対のホィール40,40は、キャンバー角を有しており、収穫対象ねぎ畝の傾斜両肩部に接して回転し、機体を収穫対象ねぎ畝に追従して操向,移動させるようにしている。ホィール40と掘取り・搬送コンベア装置8の先端部との間に、収穫畝の肩部を崩すための畝崩しディスク42が支持アームに支持され、上下左右移動調節機構により上下左右移動調節可能に設けられている。   A pair of left and right support arms 39, 39 project forward from the left and right frames of the digging / conveying conveyor device 8, and the inclined shoulder portions of the harvest target green onion at the tips of the support arms 39, 39. A pair of grounding wheels 40, 40 that are in rolling contact with each other are pivotally supported to face each other. These wheels 40 and 40 also function as a heel follower that follows the machine body along the length direction of the harvested leek culm along with the vertical adjustment of the digging / conveying conveyor device 8. The conveyance conveyor device 8 is supported so that it can be adjusted up and down by a vertical adjustment cylinder 41 and can be adjusted by a horizontal movement adjustment mechanism. The pair of wheels 40, 40 have a camber angle, rotate in contact with the inclined shoulders of the harvested onion ridge, and steer and move the machine following the harvested onion ridge. ing. Between the wheel 40 and the tip of the digging / conveying conveyor device 8, a collapsible disk 42 for collapsing the shoulder of the harvesting basket is supported by a support arm, and can be adjusted up / down / left / right by a vertical / horizontal movement adjustment mechanism. Is provided.

前記エンジン4から動力を受けて変速するトランスミッション5においては、前述のようにHST5aを具備しており、トランスミッション5の変速ギヤとHST5aの無断変速とを組み合わせて無段と有段とに変速出力するようにし、サイドクラッチ、デファレンシャル装置を介して動力伝達を接,断してクローラ3,3を無段と有段とに変速駆動して機体を走行させ、また、スピン旋回(超信地旋回)を可能にしている。また、トランスミッション5及びHST5aから、変速された動力が各回転部に伝達され、その回転速度が無段と有段とに変速調節可能であり、この変速とクローラ3,3の無段または有段走行と組合せることにより、掘取り作業速度が自在に設定可能である。   The transmission 5 that changes power by receiving power from the engine 4 includes the HST 5a as described above. The transmission 5 and the stepless transmission of the HST 5a are combined to output the speed continuously and steplessly. In this way, the power transmission is connected and disconnected via the side clutch and differential device, the crawlers 3 and 3 are driven in a stepless and stepless manner to drive the aircraft, and spin turning (super turning) Is possible. Further, the transmission 5 and the HST 5a transmit the speed-changed power to each rotating portion, and the rotation speed thereof can be adjusted steplessly and steplessly. By combining with traveling, the excavation work speed can be set freely.

前記下降搬送部19は、図9に示すように、下降搬送部19の下側の長さ方向ほぼ中間部と機体との間にシリンダ機構32aを介装して、このシリンダ機構32aを伸縮させることにより下降搬送部19の搬送角度が調整し、また、搬送終端位置における地面Gとの高さを調節するようにしても良い。また、下降搬送部19の下側の長さ方向下端側に、上端を前後回動、固定可能に支持した支持アーム43aの下端部に高さ調節用接地輪43を軸支し、支持アーム43aを前後回動させることにより下降搬送部19の搬送角度調整及び搬送終端位置における地面Gとの高さを調節するようにしても良い。また、図10に示すように、前記高さ調節用接地輪43に代えて、上端を、下降搬送部19の下側の長さ方向下端側に前後回動、固定可能に支持した支持アーム44aの下端部に高さ調節用そり44を取付け、支持アーム44aを回動させて下降搬送部19の搬送角度調整及び搬送終端位置における地面Gとの高さを調節するようにしても良いものである。   As shown in FIG. 9, the descending conveyance unit 19 includes a cylinder mechanism 32 a interposed between a substantially intermediate portion in the longitudinal direction on the lower side of the descending conveyance unit 19 and the machine body, and expands and contracts the cylinder mechanism 32 a. Thereby, the conveyance angle of the descending conveyance unit 19 may be adjusted, and the height from the ground G at the conveyance end position may be adjusted. Further, a height adjusting grounding wheel 43 is pivotally supported on the lower end of a support arm 43a supported so as to be pivotable and fixable at the lower end in the longitudinal direction on the lower side of the descending conveyance unit 19, and the support arm 43a. May be adjusted back and forth to adjust the transport angle of the descending transport unit 19 and the height of the ground G at the transport end position. Further, as shown in FIG. 10, instead of the height adjusting grounding wheel 43, a support arm 44 a is supported so that the upper end thereof can be pivoted back and forth and fixed to the lower end in the longitudinal direction on the lower side of the lowering conveying portion 19. A height adjusting sled 44 may be attached to the lower end of the lower end of the lower end of the lower end of the lower end of the lower end of the lower end of the lower end of the lower transfer section 19 and the support arm 44a may be rotated to adjust the transport angle of the descending transport section 19 and the height of the ground G at the transport end position. is there.

圃場から収穫したねぎを地干ししない場合には、前記クラッチノブ30を操作してクラッチアーム28を回動させ、テンションローラ29による伝動ベルト27の緊張を解除してクラッチ切りとし、水平搬送ベルト17,17及び下降搬送部19,19の駆動回転を停止する。この状態で、図11及び図12に示すように、作業台45を、支持フック45a,45aを手摺り33に掛け、支持アーム45bを機体に支持された状態で設置する。この作業台45は、作業者側を低く、反対側が高くなるように傾斜した板状体からなり、前記第2の挟持搬送ベルト16,16の搬送終端部からストックレーキ18を介して排出されるねぎを調製して載置しておくためのものである。また、調製したねぎを結束したり袋詰めしたりすることもできる。この作業台45の前記エンジン部4側の下側には、調製したねぎの不要物を圃場に排出するための不要物排出案内板46が、機体の側方に向け下降傾斜して設けられている。   When the leek harvested from the field is not to be laid down, the clutch knob 28 is operated to rotate the clutch arm 28 to release the tension of the transmission belt 27 by the tension roller 29 to release the clutch, and the horizontal conveyor belt 17 , 17 and the descent conveyance units 19, 19 are stopped. In this state, as shown in FIGS. 11 and 12, the work table 45 is installed with the support hooks 45a and 45a hung on the handrail 33 and the support arm 45b supported by the machine body. The work table 45 is formed of a plate-like body that is inclined so that the worker side is low and the opposite side is high, and the work table 45 is discharged through the stock rake 18 from the conveyance end portions of the second holding conveyance belts 16 and 16. It is for preparing a green onion and placing it. Moreover, the prepared green onion can be bound or bagged. Below the engine unit 4 side of the work table 45, an unnecessary material discharge guide plate 46 for discharging an unnecessary material of the prepared green onion to the field is provided to be inclined downward toward the side of the machine body. Yes.

次に、上記のように構成された実施例のねぎ収穫機1の動作について説明する。ねぎ収穫機1は、ねぎNを圃場から収穫するとき、クローラ3,3を収穫対象ねぎ畝の畝間に位置させ、接地ホィール40,40をねぎ畝の傾斜両肩部に転接させて、掘取り・搬送コンベア装置8の掘取り刃6部分を上下調節シリンダ41により上下動調節して掘取り深さを調節し、機体の前進により畝崩しディスク42により畝を崩し、ねぎを畝土と共に下方から掘取り刃6により掘り上げ、その根部をバーコンベア7上に載置して根部に付着している土を落下させながら機体斜め上方に向け搬送させる。この搬送と同時にねぎNの茎葉部は挟持搬送ベルト9に挟持されて傷つくことなく搬送される。クローラ3,3が走行する畝間に左右の傾きがあるときは、クローラ3,3の一方を上下調節して機体を水平状態に保持して走行させる。   Next, operation | movement of the leek harvesting machine 1 of the Example comprised as mentioned above is demonstrated. When the green onion harvester 1 harvests the green onion N from the field, the crawlers 3 and 3 are positioned between the harvested green onions and the grounding wheels 40 and 40 are brought into rolling contact with the slanted shoulders of the green onion to dig The digging blade 6 portion of the take-up / conveyor device 8 is adjusted up and down by the vertical adjustment cylinder 41 to adjust the digging depth, the crushing is broken by the advancement of the machine, the disc 42 is broken, and the green onion is lowered together with the clay. Then, the digging blade 6 digs it up, places the root portion on the bar conveyor 7, and transports it obliquely upward while dropping the soil adhering to the root portion. Simultaneously with this conveyance, the foliage of the green onion N is nipped by the nipping conveyance belt 9 and conveyed without being damaged. When the crawlers 3 and 3 travel with a left-right inclination, the crawlers 3 and 3 are adjusted up and down to keep the aircraft in a horizontal state and travel.

バーコンベア7及び挟持搬送ベルト9により縦姿勢で搬送されるねぎNがバーコンベア7の終端部に達したとき、土落としロ−タ14がねぎNの根茎部に接して、根茎部に付着している土が落とされる。ねぎNがさらに移動すると、根部に土落とし装置15が回転しながら接触し、根に付着している土が除去される。そして、ねぎが挟持搬送ベルト9の終端から排出される直前に、ねぎNの茎葉部が第2の挟持搬送ベルト16により挟持されて継送され、その葉部は葉部搬送ベルト16aにより搬送されて、第2の挟持搬送ベルト16の終端部において横姿勢となって排出される。排出されたねぎNはストックレーキ18により一時的にストックされ、整列された姿勢で水平搬送ベルト17,17の搬送始端部上に落下し、根部先端をねぎ根部摺接板34に摺接させて搬送される。   When the green onion N conveyed in a vertical posture by the bar conveyor 7 and the sandwiching and conveying belt 9 reaches the end portion of the bar conveyor 7, the soil removal rotor 14 contacts the rhizome portion of the green onion N and adheres to the rhizome portion. The soil is dropped. When the green onion N further moves, the soil removing device 15 contacts the root while rotating, and the soil adhering to the root is removed. Then, immediately before the green onion is discharged from the end of the pinch conveyance belt 9, the foliage of the green onion N is pinched by the second pinch conveyance belt 16 and transferred, and the leaf portion is conveyed by the leaf conveyance belt 16a. Thus, the sheet is discharged in a lateral posture at the end portion of the second holding and conveying belt 16. The discharged green onions N are temporarily stocked by the stock rake 18 and fall onto the conveying start ends of the horizontal conveying belts 17 and 17 in an aligned posture, and the root tips are brought into sliding contact with the leek root sliding plates 34. Be transported.

水平搬送ベルト17,17により搬送されたねぎNは、その搬送終端部から下降搬送部19,19の搬送始端部に向け排出される。下降搬送部19,19は下降方向に傾斜しているので、水平搬送ベルト17,17から排出されたねぎNは、飛び上がった状態で下降搬送部19,19に向け排出されることになるが、その飛び上がりはねぎ飛び出し防止部31により抑制されて下降搬送部19,19上に落下し、また、ねぎ抜け落ち防止部50によりねぎNが抜け落ちるのが防止して、ねぎ係止用突起19bにより係止された状態で機体から後方に下降させながら搬送し、その搬送終端において地面Gに対し機体の移動方向と交差する横姿勢で排出し、ねぎNを地干しする。また、下降搬送部19,19においては、ターンバックル32またはシリンダ機構32aを伸縮させて、下降搬送部19の搬送角度を調整されると共に、搬送終端位置における地面Gとの高さを調節する。また、下降搬送部19の搬送角度及び搬送終端位置における地面Gとの高さ調節は、高さ調節用接地輪43や高さ調節用そり44によっても行うことができる。   The green onions N transported by the horizontal transport belts 17 and 17 are discharged from the transport end portion toward the transport start end portions of the descending transport portions 19 and 19. Since the descending conveyance units 19 and 19 are inclined in the descending direction, the green onions N discharged from the horizontal conveyance belts 17 and 17 are discharged toward the descending conveyance units 19 and 19 in a jumped state. The jumping up is suppressed by the onion pop-out prevention part 31 and falls onto the descending conveying parts 19, 19, and the onion drop-off prevention part 50 prevents the onion N from falling off and is locked by the onion locking projection 19 b. In this state, the vehicle is transported while being lowered from the machine body, and is discharged in a lateral posture intersecting the movement direction of the machine body with respect to the ground G at the conveyance end, and the green onion N is dried. Further, in the descending conveyance units 19 and 19, the turnbuckle 32 or the cylinder mechanism 32a is expanded and contracted to adjust the conveyance angle of the descending conveyance unit 19 and to adjust the height from the ground G at the conveyance end position. Further, the height adjustment with respect to the ground G at the conveyance angle and the conveyance end position of the descending conveyance unit 19 can also be performed by the height adjusting grounding wheel 43 and the height adjusting sled 44.

さらに、下降搬送部19,19は、非使用時にターンバックル32を機体への取付け位置から取り外して、下降搬送部19を駆動回転軸20を中心に下方へ回動させ、ターンバックル32と共に機体に添わせた格納状態にすることもできる。また、ねぎNの地面Gへの排出位置を調節するときは、手摺り33及びねぎ根部摺接板34を、移動支持部33aを介して機体の幅方向に移動させることにより、水平搬送部17により搬送されるねぎNの左右位置が変わり、下降搬送部19を介して搬送されてその搬送終端から排出される地面GへのねぎNの排出位置を変える。   Further, when the lowering conveying unit 19 or 19 is not in use, the turnbuckle 32 is detached from the mounting position on the machine body, and the lowering conveying unit 19 is rotated downward about the drive rotating shaft 20 to be attached to the machine body together with the turnbuckle 32. It can also be put in a stored state. Further, when adjusting the discharge position of the green onion N to the ground G, the horizontal conveying portion 17 is moved by moving the handrail 33 and the green onion root portion sliding contact plate 34 in the width direction of the machine body via the movement support portion 33a. The left and right positions of the green onion N are changed by the above, and the discharge position of the green onion N to the ground G that is transferred through the descending transfer unit 19 and discharged from the transfer end is changed.

圃場から収穫したねぎNを地干ししないときは、クラッチノブ30を操作してクラッチアーム28を回動させ、テンションローラ29による伝動ベルト27の緊張を解除してクラッチ切りとし、水平搬送ベルト17,17及び下降搬送部19,19の駆動回転を停止する。この状態で、作業台45を、支持フック45a,45aを手摺り33に掛け、支持アーム45bを機体に支持させて設置する。そして、第2の挟持搬送ベルト16,16の搬送終端部からストックレーキ18を介して排出されるねぎNを、作業者用ステップ38に立った作業者、あるいは座席37に座った(あるいは座席37位置に立った)作業者が調製し、作業台45に載置する。作業者により調製されたねぎNの不要物は、不要物排出案内板46を介して圃場に排出され、エンジン部4上に排出されることがない。   When the green onion N harvested from the field is not dried up, the clutch knob 30 is operated to rotate the clutch arm 28 to release the tension of the transmission belt 27 by the tension roller 29 and to release the clutch. 17 and the drive rotation of the descending conveyance units 19 and 19 are stopped. In this state, the work table 45 is installed with the support hooks 45a and 45a hung on the handrail 33 and the support arm 45b supported by the machine body. Then, the green onions N discharged from the conveyance end portions of the second holding and conveying belts 16 and 16 through the stock rake 18 are seated on the worker standing in the operator step 38 or on the seat 37 (or on the seat 37). Prepared by an operator (standing in position) and placed on the work table 45. Unnecessary leek N prepared by the operator is discharged to the field via the unnecessary discharge guide plate 46 and is not discharged onto the engine unit 4.

ここで、ねぎ収穫機1は、クローラ3,3の無段または有段変速走行と、各回転部分の無段または有段変速回転とにより、圃場条件、作物条件に応じて適切な移動速度及び回転速度を選択でき、作業精度が高く、かつ能率のよい収穫作業が行われる。また、クローラ3,3はスピン旋回(超信地旋回)が可能であり、油圧シリンダ11により掘取り・搬送コンベア装置8、挟持搬送ベルト9、第2の挟持搬送ベルト16、葉部搬送ベルト16a、及び接地ホィール40、畝崩しディスク42等を上方に回動させ、機体の全長を短くして枕地等において安定よくスピン旋回して、1回の旋回で次の収穫畝に移動することができる。   Here, the leek harvesting machine 1 has an appropriate moving speed according to the field condition and the crop condition by the stepless or stepped variable speed travel of the crawlers 3 and 3, and the stepless or stepped variable speed rotation of each rotating part. The rotation speed can be selected, the work accuracy is high, and the efficient harvesting work is performed. Further, the crawlers 3 and 3 are capable of spin turning (super-spinning turning), and the excavating / conveying conveyor device 8, the sandwiching and transporting belt 9, the second sandwiching and transporting belt 16, and the leaf portion transporting belt 16 a by the hydraulic cylinder 11. , And the grounding wheel 40, the collapsible disc 42, etc. are rotated upward, the entire length of the machine body is shortened, the spin is stably rotated on the headland, etc., and it is possible to move to the next harvest basket in one turn. it can.

さらに、掘取り・搬送コンベア装置8の前方には、収穫対象ねぎ畝の長さ方向に沿って機体の移動と共に追従する接地ホィール40,40を設け、掘取り・搬送コンベア装置8に対し上下調節シリンダ41により上下調節可能、かつ左右移動調節機構により左右移動調節可能に支持しているので、両ホィール40は収穫対象のねぎ畝に対し正確に追従して機体を自動操向し、掘取り・搬送コンベア装置8及び挟持搬送ベルト9、第2の挟持搬送ベルト16による自動掘取り・搬送が行われる。従って、操縦者は収穫対象ねぎ畝の畝端における機体操向操作以外は、ほとんどの時間を調製作業に当てることができる。   Further, in front of the digging / conveying conveyor device 8, grounding wheels 40, 40 that follow the movement of the machine body along the length direction of the harvested green onion are provided, and the digging / conveying conveyor device 8 is vertically adjusted. Since it is supported by the cylinder 41 so that it can be adjusted up and down and by the left and right movement adjustment mechanism, both wheels 40 automatically follow the onion to be harvested and automatically steer the aircraft to dig, Automatic digging / conveying is performed by the conveyor device 8, the sandwiching and transporting belt 9, and the second sandwiching and transporting belt 16. Accordingly, the operator can spend most of the time on the preparation work except for the airframe steering operation at the heel of the harvested green onion.

本発明のねぎ搬送装置により、ねぎを機体から下降させながら搬送し、その搬送終端において地面に対し機体の移動方向と交差する横姿勢で排出する下降搬送部を備えているので、一人のねぎ収穫作業者により、ねぎの地干し作業を収穫と同時に行うことができる。   With the leek conveying device of the present invention, the leek is transported while being lowered from the machine body, and is provided with a descending conveyance unit that discharges the leek in a lateral posture intersecting the moving direction of the machine body at the end of the conveyance, so that one person can harvest the leek. The operator can perform the leek lapping work simultaneously with harvesting.

本発明を適用したねぎ収穫機の全体左側面図である。1 is an overall left side view of a leek harvester to which the present invention is applied. 同平面図である。It is the same top view. 下降搬送部及び伝動装置の右側面図である。It is a right view of a descent | fall conveyance part and a transmission. 下降搬送部の作業状態の右側面図である。It is a right view of the working state of a descending conveyance part. 伝動装置の部分正面図である。It is a partial front view of a transmission. (a)はクラッチの側面図、(b)はクラッチの正面図である。(A) is a side view of the clutch, (b) is a front view of the clutch. 水平搬送部及び下降搬送部の伝動部分の断面図である。It is sectional drawing of the transmission part of a horizontal conveyance part and a downward conveyance part. 水平搬送部の作業状態の平面図である。It is a top view of the working state of a horizontal conveyance part. 下降搬送部の第2実施例の右側面図である。It is a right view of 2nd Example of a downward conveyance part. 下降搬送部の第3実施例の右側面図である。It is a right view of 3rd Example of a descent | fall conveyance part. 作業台部分の平面図である。It is a top view of a work-table part. 同正面図である。It is the same front view.

符号の説明Explanation of symbols

1 ねぎ収穫機
2 機体
3 クローラ 3a 駆動輪 3b 履帯 3c 接地用転輪 3d 転輪フレーム 3e リンク部材 3f シリンダ機構
4 エンジン部
5 トランスミッション 5a HST
6 掘取り刃
7 無端バーコンベア
8 掘取り・搬送コンベア装置 8a ブラケット
9 挟持搬送ベルト 9a 填圧ローラ
10 支持フレーム
11 油圧シリンダ
12,13 リンクアーム
14 土落としロ−タ
15 土落とし装置
16 第2の挟持搬送ベルト 16a 葉部搬送ベルト
17 水平搬送ベルト(水平搬送部) 17a 無端Vベルト 17b 駆動プーリ
18 ストックレーキ
19 下降搬送部 19a 無端Vベルト 19b ねぎ係止用突起 19c 駆動プーリ
20 駆動回転軸
21,25 伝動プーリ
22,23 ベルト伝動系
24 回転支持部
26 張りプーリ
27 伝動ベルト
28 クラッチアーム
29 テンションローラ
30 クラッチノブ 30a 戻しバネ 30b 位置決め具
31 ねぎ飛び出し防止部 31a 支持アーム 31b 止めネジ
32 ターンバックル 32a シリンダ機構
33 手摺り 33a 移動支持部
34 ねぎ根部摺接板
35 操縦部
36 操縦者用ステップ
37 座席
38 作業者用ステップ 38a 補助ステップ
39 車輪支持アーム
40 接地ホィール
41 上下調節用シリンダ
42 畝崩しディスク
43 高さ調節用接地輪 43a 支持アーム
44 高さ調節用そり 44a 支持アーム
45 作業台 45a 支持フック 45b 支持アーム
46 不要物排出案内板
50 ねぎ抜け落ち防止部
N ねぎ
G 地面
DESCRIPTION OF SYMBOLS 1 Leek harvesting machine 2 Machine body 3 Crawler 3a Drive wheel 3b Crawler belt 3c Grounding wheel 3d Wheel frame 3e Link member 3f Cylinder mechanism 4 Engine part 5 Transmission 5a HST
6 Digging Blade 7 Endless Bar Conveyor 8 Digging and Conveying Device 8a Bracket 9 Nipping and Conveying Belt 9a Filling Roller 10 Support Frame 11 Hydraulic Cylinder 12, 13 Link Arm 14 Dirt Removal Rotor 15 Dirt Removal Device 16 Second Nipping conveyor belt 16a Leaf conveyor belt 17 Horizontal conveyor belt (horizontal conveyor) 17a Endless V-belt 17b Drive pulley 18 Stock rake 19 Lower conveyor 19a Endless V-belt 19b Green onion protrusion 19c Drive pulley 20 Drive rotary shaft 21, DESCRIPTION OF SYMBOLS 25 Transmission pulley 22, 23 Belt transmission system 24 Rotation support part 26 Tension pulley 27 Transmission belt 28 Clutch arm 29 Tension roller 30 Clutch knob 30a Return spring 30b Positioning tool 31 Green onset prevention part 31a Support arm 31b Set screw 32 Turnbuckle 32a Cylinder mechanism 33 Handrail 33a Movement support part 34 Green onion base sliding contact plate 35 Control part 36 Pilot step 37 Seat 38 Worker step 38a Auxiliary step 39 Wheel support arm 40 Grounding wheel 41 Vertical adjustment cylinder 42 畝Breaking disc 43 Height adjusting ground ring 43a Support arm 44 Height adjusting sled 44a Support arm 45 Work table 45a Support hook 45b Support arm 46 Unnecessary material discharge guide plate 50 Green onion drop prevention part N Green onion G Ground

Claims (12)

圃場から収穫したねぎを搬送する搬送装置であって、
ねぎを機体から下降させながら搬送し、その搬送終端において地面に対し機体の移動方向と交差する横姿勢で排出する下降搬送部を備えたことを特徴とするねぎ搬送装置。
A conveying device for conveying harvested leek from a farm field,
A leek conveying apparatus comprising a descending conveying portion that conveys green onions while being lowered from the machine body, and discharges the leek in a lateral posture intersecting the moving direction of the machine body at the conveyance end.
ねぎをほぼ水平方向に搬送する水平搬送部と、ねぎを機体から下降させながら搬送し、地面に対し機体の移動方向と交差する横姿勢で排出する下降搬送部と、を備えたことを特徴とする請求項1記載のねぎ搬送装置。   A horizontal transport unit that transports green onions in a substantially horizontal direction, and a descending transport unit that transports green onions while lowering the green onion from the machine body and discharges the green onion in a lateral posture that intersects the direction of movement of the machine body. The leek conveying device according to claim 1. 前記下降搬送部における地面に対する排出位置を調節可能としたことを特徴とする請求項1又は2記載のねぎ搬送装置。   The green onion conveying apparatus according to claim 1 or 2, wherein a discharge position with respect to the ground in the descending conveying unit is adjustable. 前記水平搬送部と下降搬送部とを連続して設け、水平搬送部から下降搬送部にねぎを受け渡す箇所に、ねぎの飛び出しを防止するためのねぎ飛び出し防止部を設けたことを特徴とする請求項1,2又は3記載のねぎ搬送装置。   The horizontal conveying unit and the descending conveying unit are provided continuously, and a leek jumping prevention unit for preventing the leek from jumping out is provided at a location where the leek is transferred from the horizontal conveying unit to the descending conveying unit. The onion conveyance apparatus of Claim 1, 2, or 3. 前記下降搬送部の上面に、ねぎが抜け落ちるのを防止するねぎ抜け落ち防止部を設けたことを特徴とする請求項1,2,3又は4記載のねぎ搬送装置。   The onion carrying device according to claim 1, 2, 3, or 4, further comprising a leek drop-off preventing unit for preventing the leek from falling off on an upper surface of the descending carrying unit. ねぎの搬送経路に、ねぎの姿勢を整えるねぎ姿勢整列部を設けたことを特徴とする請求項1,2,3,4又は5記載のねぎ搬送装置。   6. A leek conveying apparatus according to claim 1, wherein a leek attitude aligning section for adjusting the leek attitude is provided in the leek conveying path. 前記下降搬送部における搬送角度を調整可能としたことを特徴とする請求項1,2,3,4,5又は6記載のねぎ搬送装置。   The leek conveying apparatus according to claim 1, wherein a conveying angle in the descending conveying portion is adjustable. 前記水平搬送部及び下降搬送部の駆動源を同軸上に設けたことを特徴とする請求項1,2,3,4,5,6又は7記載のねぎ搬送装置。   8. A leek conveying apparatus according to claim 1, wherein driving sources of the horizontal conveying unit and the descending conveying unit are provided coaxially. 前記下降搬送部における搬送終端位置の高さを調節可能としたことを特徴とする請求項1,2,3,4,5,6,7又は8記載のねぎ搬送装置。   The onion transport apparatus according to claim 1, 2, 3, 4, 5, 6, 7 or 8, wherein a height of a transport end position in the descending transport section is adjustable. 前記水平搬送部及び下降搬送部の駆動源をオン・オフ操作できるようにしたことを特徴とする請求項1,2,3,4,5,6,7,8又は9記載のねぎ搬送装置。   The onion conveying apparatus according to claim 1, 2, 3, 4, 5, 6, 7, 8 or 9, wherein a driving source of the horizontal conveying unit and the descending conveying unit can be turned on and off. 前記ねぎ搬送部が駆動停止状態のとき、ねぎを調製して載置しておくための作業台を着脱可能に設けたことを特徴とする請求項1,2,3,4,5,6,7,8,9又は10記載のねぎ搬送装置。   A work table for preparing and placing a green onion is detachably provided when the green onion transport unit is in a drive stop state. The onion conveying apparatus according to 7, 8, 9 or 10. 前記下降搬送部は、非使用時には格納可能な構成であることを特徴とする請求項1,2,3,4,5,6,7,8,9,10又は11記載のねぎ搬送装置。   12. The leek conveying apparatus according to claim 1, 2, 3, 4, 5, 6, 7, 8, 9, 10 or 11, wherein the descending conveying portion is configured to be retractable when not in use.
JP2003425325A 2003-12-22 2003-12-22 Welsh onion conveyor Pending JP2005176784A (en)

Priority Applications (1)

Application Number Priority Date Filing Date Title
JP2003425325A JP2005176784A (en) 2003-12-22 2003-12-22 Welsh onion conveyor

Applications Claiming Priority (1)

Application Number Priority Date Filing Date Title
JP2003425325A JP2005176784A (en) 2003-12-22 2003-12-22 Welsh onion conveyor

Publications (1)

Publication Number Publication Date
JP2005176784A true JP2005176784A (en) 2005-07-07

Family

ID=34785241

Family Applications (1)

Application Number Title Priority Date Filing Date
JP2003425325A Pending JP2005176784A (en) 2003-12-22 2003-12-22 Welsh onion conveyor

Country Status (1)

Country Link
JP (1) JP2005176784A (en)

Cited By (12)

* Cited by examiner, † Cited by third party
Publication number Priority date Publication date Assignee Title
JP2007097404A (en) * 2005-09-30 2007-04-19 Kobashi Kogyo Co Ltd Harvester
JP2007116915A (en) * 2005-10-25 2007-05-17 Kobashi Kogyo Co Ltd Harvester
JP2014195409A (en) * 2013-03-29 2014-10-16 ヤンマー株式会社 Welsh onion digging-out harvester
CN106034534A (en) * 2016-08-17 2016-10-26 沃华农业科技(江苏)股份有限公司 Transverse conveying device of full-automatic crawler type Allium fistulosum harvester
CN106034533A (en) * 2016-08-17 2016-10-26 沃华农业科技(江苏)股份有限公司 Conveying system of full-automatic crawler type Allium fistulosum harvester
CN106068875A (en) * 2016-08-17 2016-11-09 沃华农业科技(江苏)股份有限公司 A kind of full-automatic crawler track type Green Chinese onion harvester
CN106105539A (en) * 2016-08-17 2016-11-16 沃华农业科技(江苏)股份有限公司 A kind of longitudinal conveying device of full-automatic crawler track type Green Chinese onion harvester
CN106258164A (en) * 2016-08-17 2017-01-04 沃华农业科技(江苏)股份有限公司 A kind of earth separation device of full-automatic crawler track type Green Chinese onion harvester
CN106416578A (en) * 2016-11-08 2017-02-22 山东农业大学 Automatically operating unilineal crawler combine harvester of scallion
CN106358565B (en) * 2016-11-08 2018-08-21 山东农业大学 A kind of duplicate rows is from walking crawler type green Chinese onion combine harvester
KR101945605B1 (en) 2014-03-19 2019-02-07 얀마 가부시키가이샤 Welsh onion harvester
CN113136995A (en) * 2020-01-17 2021-07-20 深圳市丰怡国际建筑设计有限公司 BIM-based assembled curtain wall structure and installation method thereof

Cited By (17)

* Cited by examiner, † Cited by third party
Publication number Priority date Publication date Assignee Title
JP2007097404A (en) * 2005-09-30 2007-04-19 Kobashi Kogyo Co Ltd Harvester
JP2007116915A (en) * 2005-10-25 2007-05-17 Kobashi Kogyo Co Ltd Harvester
JP2014195409A (en) * 2013-03-29 2014-10-16 ヤンマー株式会社 Welsh onion digging-out harvester
KR101945605B1 (en) 2014-03-19 2019-02-07 얀마 가부시키가이샤 Welsh onion harvester
CN106034534B (en) * 2016-08-17 2019-05-07 沃华农业科技(江苏)股份有限公司 A kind of cross conveyor of full-automatic crawler track type Green Chinese onion harvester
CN106068875A (en) * 2016-08-17 2016-11-09 沃华农业科技(江苏)股份有限公司 A kind of full-automatic crawler track type Green Chinese onion harvester
CN106105539A (en) * 2016-08-17 2016-11-16 沃华农业科技(江苏)股份有限公司 A kind of longitudinal conveying device of full-automatic crawler track type Green Chinese onion harvester
CN106258164A (en) * 2016-08-17 2017-01-04 沃华农业科技(江苏)股份有限公司 A kind of earth separation device of full-automatic crawler track type Green Chinese onion harvester
CN106034533A (en) * 2016-08-17 2016-10-26 沃华农业科技(江苏)股份有限公司 Conveying system of full-automatic crawler type Allium fistulosum harvester
CN106034534A (en) * 2016-08-17 2016-10-26 沃华农业科技(江苏)股份有限公司 Transverse conveying device of full-automatic crawler type Allium fistulosum harvester
CN106068875B (en) * 2016-08-17 2019-06-11 沃华农业科技(江苏)股份有限公司 A kind of full-automatic crawler track type Green Chinese onion harvester
CN106105539B (en) * 2016-08-17 2019-09-13 山东沃华农业科技股份有限公司 A kind of longitudinal conveying device of full-automatic crawler track type Green Chinese onion harvester
CN106416578A (en) * 2016-11-08 2017-02-22 山东农业大学 Automatically operating unilineal crawler combine harvester of scallion
CN106358565B (en) * 2016-11-08 2018-08-21 山东农业大学 A kind of duplicate rows is from walking crawler type green Chinese onion combine harvester
CN106416578B (en) * 2016-11-08 2018-11-20 山东农业大学 Uniline walks crawler type green Chinese onion combine harvester certainly
CN113136995A (en) * 2020-01-17 2021-07-20 深圳市丰怡国际建筑设计有限公司 BIM-based assembled curtain wall structure and installation method thereof
CN113136995B (en) * 2020-01-17 2022-06-07 深圳市丰怡国际建筑设计有限公司 BIM-based assembled curtain wall structure and installation method thereof

Similar Documents

Publication Publication Date Title
JP2005176784A (en) Welsh onion conveyor
JP3443203B2 (en) Agricultural harvester
JP2007282642A (en) Device for stripping and recovering mulch film
JP3803993B2 (en) Green onion harvester
JP2008154536A (en) Stems/leaves conveying device for bean reaper
JPH07107830A (en) Machine for harvesting agricultural product
JP2900208B2 (en) Agricultural harvester
JP3455342B2 (en) Agricultural harvester
JP3172979B2 (en) Agricultural harvester
JP3334832B2 (en) Agricultural harvester
JP4515629B2 (en) Structure for preventing reverse rotation of working section in agricultural product harvesting machine
JP4263318B2 (en) Produce harvester
JP4523701B2 (en) Produce harvester
JP7550717B2 (en) Harvesting Machine
JP3300180B2 (en) Agricultural harvester
JP3390224B2 (en) Agricultural harvester
JP3633703B2 (en) Green onion harvester
JP4107755B2 (en) Root crop crop harvester
JP2553737Y2 (en) Agricultural harvester
JP2003310021A (en) Cut leaf-dropping position-changing device of welsh onion harvester
JP3771480B2 (en) Root transfer device for green onion harvester
JP2007116915A (en) Harvester
JP2002010705A (en) Agricultural product harvester
JP2007236333A (en) Self-propelled harvester
JP2003134912A (en) Daughter taro treatment unit in agricultural product harvesting machine

Legal Events

Date Code Title Description
A621 Written request for application examination

Free format text: JAPANESE INTERMEDIATE CODE: A621

Effective date: 20061011

A977 Report on retrieval

Free format text: JAPANESE INTERMEDIATE CODE: A971007

Effective date: 20080110

A131 Notification of reasons for refusal

Free format text: JAPANESE INTERMEDIATE CODE: A131

Effective date: 20080115

A521 Written amendment

Free format text: JAPANESE INTERMEDIATE CODE: A523

Effective date: 20080317

A02 Decision of refusal

Free format text: JAPANESE INTERMEDIATE CODE: A02

Effective date: 20080404