JP2005176783A - スープ付きカップ容器入り小麦製食品及びその飲食方法 - Google Patents

スープ付きカップ容器入り小麦製食品及びその飲食方法 Download PDF

Info

Publication number
JP2005176783A
JP2005176783A JP2003425316A JP2003425316A JP2005176783A JP 2005176783 A JP2005176783 A JP 2005176783A JP 2003425316 A JP2003425316 A JP 2003425316A JP 2003425316 A JP2003425316 A JP 2003425316A JP 2005176783 A JP2005176783 A JP 2005176783A
Authority
JP
Japan
Prior art keywords
soup
container
bread
cup
lid
Prior art date
Legal status (The legal status is an assumption and is not a legal conclusion. Google has not performed a legal analysis and makes no representation as to the accuracy of the status listed.)
Granted
Application number
JP2003425316A
Other languages
English (en)
Other versions
JP3783216B2 (ja
Inventor
Masayo Ebihara
昌代 海老原
Current Assignee (The listed assignees may be inaccurate. Google has not performed a legal analysis and makes no representation or warranty as to the accuracy of the list.)
Fuji Co Ltd
Original Assignee
Fuji Co Ltd
Priority date (The priority date is an assumption and is not a legal conclusion. Google has not performed a legal analysis and makes no representation as to the accuracy of the date listed.)
Filing date
Publication date
Application filed by Fuji Co Ltd filed Critical Fuji Co Ltd
Priority to JP2003425316A priority Critical patent/JP3783216B2/ja
Priority to US10/877,375 priority patent/US20050136157A1/en
Priority to CNA2004100577335A priority patent/CN1636839A/zh
Publication of JP2005176783A publication Critical patent/JP2005176783A/ja
Application granted granted Critical
Publication of JP3783216B2 publication Critical patent/JP3783216B2/ja
Anticipated expiration legal-status Critical
Expired - Fee Related legal-status Critical Current

Links

Images

Classifications

    • BPERFORMING OPERATIONS; TRANSPORTING
    • B65CONVEYING; PACKING; STORING; HANDLING THIN OR FILAMENTARY MATERIAL
    • B65DCONTAINERS FOR STORAGE OR TRANSPORT OF ARTICLES OR MATERIALS, e.g. BAGS, BARRELS, BOTTLES, BOXES, CANS, CARTONS, CRATES, DRUMS, JARS, TANKS, HOPPERS, FORWARDING CONTAINERS; ACCESSORIES, CLOSURES, OR FITTINGS THEREFOR; PACKAGING ELEMENTS; PACKAGES
    • B65D85/00Containers, packaging elements or packages, specially adapted for particular articles or materials
    • B65D85/70Containers, packaging elements or packages, specially adapted for particular articles or materials for materials not otherwise provided for
    • B65D85/804Disposable containers or packages with contents which are mixed, infused or dissolved in situ, i.e. without having been previously removed from the package
    • B65D85/816Disposable containers or packages with contents which are mixed, infused or dissolved in situ, i.e. without having been previously removed from the package into which liquid is added and the resulting preparation is retained, e.g. cups preloaded with powder or dehydrated food
    • AHUMAN NECESSITIES
    • A23FOODS OR FOODSTUFFS; TREATMENT THEREOF, NOT COVERED BY OTHER CLASSES
    • A23LFOODS, FOODSTUFFS OR NON-ALCOHOLIC BEVERAGES, NOT OTHERWISE PROVIDED FOR; PREPARATION OR TREATMENT THEREOF
    • A23L23/00Soups; Sauces; Preparation or treatment thereof
    • A23L23/10Soup concentrates, e.g. powders or cakes
    • BPERFORMING OPERATIONS; TRANSPORTING
    • B65CONVEYING; PACKING; STORING; HANDLING THIN OR FILAMENTARY MATERIAL
    • B65DCONTAINERS FOR STORAGE OR TRANSPORT OF ARTICLES OR MATERIALS, e.g. BAGS, BARRELS, BOTTLES, BOXES, CANS, CARTONS, CRATES, DRUMS, JARS, TANKS, HOPPERS, FORWARDING CONTAINERS; ACCESSORIES, CLOSURES, OR FITTINGS THEREFOR; PACKAGING ELEMENTS; PACKAGES
    • B65D25/00Details of other kinds or types of rigid or semi-rigid containers
    • B65D25/02Internal fittings
    • B65D25/04Partitions
    • BPERFORMING OPERATIONS; TRANSPORTING
    • B65CONVEYING; PACKING; STORING; HANDLING THIN OR FILAMENTARY MATERIAL
    • B65DCONTAINERS FOR STORAGE OR TRANSPORT OF ARTICLES OR MATERIALS, e.g. BAGS, BARRELS, BOTTLES, BOXES, CANS, CARTONS, CRATES, DRUMS, JARS, TANKS, HOPPERS, FORWARDING CONTAINERS; ACCESSORIES, CLOSURES, OR FITTINGS THEREFOR; PACKAGING ELEMENTS; PACKAGES
    • B65D77/00Packages formed by enclosing articles or materials in preformed containers, e.g. boxes, cartons, sacks or bags
    • B65D77/04Articles or materials enclosed in two or more containers disposed one within another
    • BPERFORMING OPERATIONS; TRANSPORTING
    • B65CONVEYING; PACKING; STORING; HANDLING THIN OR FILAMENTARY MATERIAL
    • B65DCONTAINERS FOR STORAGE OR TRANSPORT OF ARTICLES OR MATERIALS, e.g. BAGS, BARRELS, BOTTLES, BOXES, CANS, CARTONS, CRATES, DRUMS, JARS, TANKS, HOPPERS, FORWARDING CONTAINERS; ACCESSORIES, CLOSURES, OR FITTINGS THEREFOR; PACKAGING ELEMENTS; PACKAGES
    • B65D77/00Packages formed by enclosing articles or materials in preformed containers, e.g. boxes, cartons, sacks or bags
    • B65D77/10Container closures formed after filling
    • B65D77/20Container closures formed after filling by applying separate lids or covers, i.e. flexible membrane or foil-like covers
    • B65D77/2004Container closures formed after filling by applying separate lids or covers, i.e. flexible membrane or foil-like covers the cover being maintained on the container by mechanical means, e.g. crimping, clamping, riveting
    • B65D77/2012Container closures formed after filling by applying separate lids or covers, i.e. flexible membrane or foil-like covers the cover being maintained on the container by mechanical means, e.g. crimping, clamping, riveting the cover being crimped or folded over the container flange
    • BPERFORMING OPERATIONS; TRANSPORTING
    • B65CONVEYING; PACKING; STORING; HANDLING THIN OR FILAMENTARY MATERIAL
    • B65DCONTAINERS FOR STORAGE OR TRANSPORT OF ARTICLES OR MATERIALS, e.g. BAGS, BARRELS, BOTTLES, BOXES, CANS, CARTONS, CRATES, DRUMS, JARS, TANKS, HOPPERS, FORWARDING CONTAINERS; ACCESSORIES, CLOSURES, OR FITTINGS THEREFOR; PACKAGING ELEMENTS; PACKAGES
    • B65D81/00Containers, packaging elements, or packages, for contents presenting particular transport or storage problems, or adapted to be used for non-packaging purposes after removal of contents
    • B65D81/34Containers, packaging elements, or packages, for contents presenting particular transport or storage problems, or adapted to be used for non-packaging purposes after removal of contents for packaging foodstuffs or other articles intended to be cooked or heated within the package
    • BPERFORMING OPERATIONS; TRANSPORTING
    • B65CONVEYING; PACKING; STORING; HANDLING THIN OR FILAMENTARY MATERIAL
    • B65DCONTAINERS FOR STORAGE OR TRANSPORT OF ARTICLES OR MATERIALS, e.g. BAGS, BARRELS, BOTTLES, BOXES, CANS, CARTONS, CRATES, DRUMS, JARS, TANKS, HOPPERS, FORWARDING CONTAINERS; ACCESSORIES, CLOSURES, OR FITTINGS THEREFOR; PACKAGING ELEMENTS; PACKAGES
    • B65D2581/00Containers, packaging elements, or packages, for contents presenting particular transport or storage problems, or adapted to be used for non-packaging purposes after removal of contents
    • B65D2581/34Containers, packaging elements, or packages, for contents presenting particular transport or storage problems, or adapted to be used for non-packaging purposes after removal of contents for packaging foodstuffs or other articles intended to be cooked or heated within
    • B65D2581/3401Cooking or heating method specially adapted to the contents of the package
    • B65D2581/3402Cooking or heating method specially adapted to the contents of the package characterised by the type of product to be heated or cooked
    • B65D2581/3405Cooking bakery products
    • B65D2581/3406Pizza or bread
    • BPERFORMING OPERATIONS; TRANSPORTING
    • B65CONVEYING; PACKING; STORING; HANDLING THIN OR FILAMENTARY MATERIAL
    • B65DCONTAINERS FOR STORAGE OR TRANSPORT OF ARTICLES OR MATERIALS, e.g. BAGS, BARRELS, BOTTLES, BOXES, CANS, CARTONS, CRATES, DRUMS, JARS, TANKS, HOPPERS, FORWARDING CONTAINERS; ACCESSORIES, CLOSURES, OR FITTINGS THEREFOR; PACKAGING ELEMENTS; PACKAGES
    • B65D2581/00Containers, packaging elements, or packages, for contents presenting particular transport or storage problems, or adapted to be used for non-packaging purposes after removal of contents
    • B65D2581/34Containers, packaging elements, or packages, for contents presenting particular transport or storage problems, or adapted to be used for non-packaging purposes after removal of contents for packaging foodstuffs or other articles intended to be cooked or heated within
    • B65D2581/3437Containers, packaging elements, or packages, for contents presenting particular transport or storage problems, or adapted to be used for non-packaging purposes after removal of contents for packaging foodstuffs or other articles intended to be cooked or heated within specially adapted to be heated by microwaves
    • B65D2581/3439Means for affecting the heating or cooking properties
    • B65D2581/3455Packages having means for improving the internal circulation of air
    • B65D2581/3458Convective heating chambers, e.g. hot air channels

Landscapes

  • Engineering & Computer Science (AREA)
  • Mechanical Engineering (AREA)
  • Life Sciences & Earth Sciences (AREA)
  • Food Science & Technology (AREA)
  • Health & Medical Sciences (AREA)
  • Nutrition Science (AREA)
  • Chemical & Material Sciences (AREA)
  • Polymers & Plastics (AREA)
  • Bakery Products And Manufacturing Methods Therefor (AREA)
  • Seeds, Soups, And Other Foods (AREA)
  • Package Specialized In Special Use (AREA)
  • Packages (AREA)

Abstract

【課題】 特にパン本来の旨さを失うことなくスープ付きパンを食べることができ、パン以外の小麦製食品にも適用できるようにした、スープ付きカップ容器入り小麦製食品及びその飲食方法を提供する。
【解決手段】 スープ入り袋を収納した外側容器1と、パン5を収納すると共に複数の小孔3aを設けた内蓋3を取り付けた内側容器2を備え、食前の状態では外側容器1内に内側容器2を収納して外蓋にて密封されている。食べる時には、外蓋を外して内側容器2を取り出し、スープ入り袋を開封して粉末スープを外側容器1内に入れ、熱湯を注いでスープ7を調製する。このスープ調製直後に、内側容器2を逆さにして外側容器1に被せて密着し、スープ調製時に発生する蒸気が前記小孔3aを通して内側容器2内に流入することでパン5を加湿・加温する。この後、内蓋3を開けてパン5を取り出し、スープ7に付けながら美味しく食べることができる。
【選択図】 図3

Description

本発明は、例えばパン等の小麦製食品を、スープに浸しながら飲食するのに適したスープ付きカップ容器入り小麦製食品及びその飲食方法に関する。
カップ容器入り食品で代表される即席麺は、カップ容器内に収納されている乾燥した麺に必要量の熱湯を注いで数分間待ち、麺がほぐれて膨潤した時点で飲食する。又、スープ粉末や具を小袋に入れたカップ容器入り即席麺においては、そのスープ粉末や具をカップ容器内に入れて熱湯を注入して溶かし、ほぐれて膨潤した麺と共に飲食するようにしたものである(例えば、特許文献1)。
それ以外のカップ容器入り即席食品としては、例えば特許文献2に開示されている。この特許文献2に開示されているカップ容器入り即席食品は、容器の下方部を小径に、容器の上方部を大径に形成し、容器の上端に蓋を嵌合したカップ容器を形成し、小径の下方部には加熱すると溶融する食品を入れ、大径の上方部には容器の中間部に引っ掛けて固形状態の食品を入れた構成のものである。そして、加熱すると溶融する食品と、固形状態の食品とが食べる直前まで分離しているので、各食品が混ざって味が変わることはなく、食べる時に下方部に入れた食品を加熱して溶融し、この溶融した食品に上方部に入れた固形状態の食品を崩して混入することによって食べるようにしたものである。
上記加熱すると溶融する下部の食品としては、例えばゼラチンや片栗粉(澱粉)や小麦粉やカレー粉等を適量入れることで、傾けても溢れるのを防ぐ程度の固さに調理したスープ、味噌汁、ミートソース、汁粉、カレー、又はこれらの冷凍食品、或はお茶の冷凍食品等が例示されている。上記固形状態の上部の食品としては、例えばおにぎり、焼きおにぎり、ゼラチン質入りで非加熱のおにぎり、ゼラチン質入りで軽く焼いたおにぎり、餅、パン、或は加熱前は固形状態に冷凍した、そば、うどん、スパゲッティ等が例示されている。これら上下の食品の組み合わせによって、例えばスープライス、おじや、カレースープライス、お茶漬け、ミートソーススパゲッティ、スープスパゲッティ、餅入り汁粉等として飲食することができる。
特開平10−211953号公報 特開平10−001173号公報
上記特許文献2において、上下の食品の組み合わせをパンとスープにすると、スープ付きのパンを飲食できるが、カップ入り食品を電子レンジ等で加熱してスープを溶融した後、上部のパンを突き崩して下部のスープに落とし込んで食べることになる。この場合には、スープとパンの量の割合にもよるが、パンを突き崩してスープに落とし込むと、パンのかけらがスープにより濡れてふやけた状態となり、パンのかけらにスープを適量含ませた好ましい状態でスープ付きパンを食べられないことになる。又、スープを加熱して溶融する際に、パンも加熱されるためパン中に含まれている水分が飛ばされて乾燥し、パン本来の旨さが失われることにもなる。
一方、スープとパンは別々に用意して、パンを千切りながらスープに付けて食べるようにすれば、パンのかけらにスープを適量含ませた好ましい状態でスープ付きパンを食べられるが、身近なところにパンがない時や、パンは有ってもスープがないような場合には、スープ付きパンを食べることはできない。
本発明は、上記のような従来の問題点に鑑みてなされたものであり、特にパン本来の旨さを失うことなくスープ付きパンを食べることができ、パン以外の他の小麦製食品にも適用できるようにした、スープ付きカップ容器入り小麦製食品及びそれを飲食する方法を提供することを目的とする。
上記の目的を達成するために、本発明に係る請求項1のスープ付きカップ容器入り小麦製食品は、外側容器と、この外側容器内に収納される内側容器と、この内側容器内に収納される小麦製食品と、前記外側容器内に収納されるスープ入り袋と、前記内側容器を施蓋する複数の小孔を設けた内蓋と、前記外側容器を密封する外蓋とを備えてなることを特徴とする。
本発明に係る請求項2のスープ付きカップ容器入り小麦製食品は、カップ容器の内部にこのカップ容器の深さより若干低い寸法の仕切壁を立設してカップ容器内を区分し、一つの区分内に小麦製食品を収納すると共に、他の区分内にスープ入り袋を収納し、前記カップ容器の上端開口部に蓋体を貼着してなることを特徴とする。
本発明に係る請求項3のスープ付きカップ容器入り小麦製食品は、請求項2において、少なくとも前記小麦製食品を収納する一つの区分内の上方に位置する蓋体の内面部分に吸水材からなる吸水層を設けることを特徴とする。
本発明に係る請求項4のスープ付きカップ容器入り小麦製食品は、カップ容器の内部にこのカップ容器の深さと同じ寸法の仕切壁を立設してカップ容器内を区分し、この仕切壁の上端部分は水滴は通さないが蒸気は通す材質からなる蒸気透過層を設け、一つの区分内に小麦製食品を収納すると共に、他の区分内にスープ入り袋を収納し、前記カップ容器の上端開口部に蓋体を貼着してなることを特徴とする。
本発明に係る請求項5のスープ付きカップ容器入り小麦製食品は、カップ容器内にパンとスープ入り袋とを収納し、前記カップ容器の上端開口部に蓋体を貼着してなることを特徴とする。
本発明に係る請求項6のスープ付きカップ容器入り小麦製食品は、請求項1ないし請求項4いずれか1項において、前記小麦製食品はパンであることを特徴とする。
本発明に係る請求項7のスープ付きカップ容器入り小麦製食品は、請求項5又は請求項6において、前記パンは水分を少なく調整した乾燥パン又は半乾燥パンであることを特徴とする。
本発明に係る請求項8のスープ付きカップ容器入り小麦製食品を飲食する方法は、請求項1のスープ付きカップ容器入り小麦製食品において、前記外蓋を開けて内側容器を取り出し、前記スープ入り袋を開封してスープを外側容器内に入れると共に、所要量のお湯を注入してスープを溶かし、その直後に外側容器の開口端に前記内側容器を、内蓋が下側になるようにして被せて所要時間載置し、前記スープを溶かす時に発生する蒸気が前記複数の小孔を介して内側容器内に流入することで前記小麦製食品を加湿・加温し、この後内側容器の内蓋を開けて小麦製食品を取り出し、前記外側容器内のスープに付けながら飲食することを特徴とする。
本発明に係る請求項9のスープ付きカップ容器入り小麦製食品を飲食する方法は、請求項2ないし請求項4いずれか1項のスープ付きカップ容器入り小麦製食品において、前記蓋体を一部剥がし、前記スープ入り袋を開封してスープを前記他の区分内に入れると共に、所要量のお湯を注入してスープを溶かし、その直後に前記蓋体を被せて前記カップ容器の上端開口部をシールし、前記スープを溶かす時に発生する蒸気が前記仕切壁の上方空間又は仕切壁の上端部分から前記一つの区分内に流入することで前記小麦製食品を加湿・加温し、この後前記カップ容器の蓋体を全部剥がして小麦製食品を取り出し、前記他の区分内のスープに付けながら飲食することを特徴とする。
上記請求項1の発明によれば、カップ容器を外側容器とこの外側容器から分離可能な内側容器とで構成し、小麦製食品は内側容器内に収納するため、外側容器内でお湯を注いでスープ作りをする時に発生する蒸気を、内蓋に設けた複数の小孔から流入させることにより内側容器内の小麦製製品を加湿・加温することができる。これにより、オーブン等で加熱する必要がなくなり、その加熱時に小麦製食品中の水分が飛ばされて乾燥し、小麦製食品本来の旨さが失われることもなくなる。
請求項2の発明によれば、カップ容器内に立設した仕切壁により区分されているため、スープ作りをする時の熱によって小麦製食品中の水分が飛ばされて乾燥するのを防ぐと共に、スープ作りの際に発生する蒸気が仕切壁の上方空間から小麦製食品の収納されている区分側に流入することで、小麦製食品を加湿・加温することができる。
請求項3の発明によれば、請求項2において、少なくとも前記小麦製食品を収納する一つの区分内の上方に位置する蓋体の内面部分に吸水材からなる吸水層を設けてあるため、スープ作りの際に発生する蒸気が小麦製食品の収納されている区分側に流入し、当該区分の蓋体の内面部分で冷やされて凝縮する凝縮水が吸い取られる。吸水層がない場合には、蓋体の内面部分で凝縮した水滴が落下して小麦製食品が水濡れする恐れがあるが、本発明ではこのような水濡れを未然に防ぐことができる。
請求項4の発明によれば、カップ容器の内部にこのカップ容器の深さと同じ寸法の仕切壁を立設してカップ容器内を区分し、この仕切壁の上端部分は水滴は通さないが蒸気は通す材質からなる蒸気透過層を設けてあるため、スープ作りの際に発生する蒸気の一部が蓋体の内面部分で冷やされて粒子の大きな水滴になって混在した時、蒸気透過層によって遮断される。これにより、小麦製食品の収納されている区分側には含水率の低い蒸気が流入し、小麦製食品の加湿過多を防ぐことができる。
請求項5の発明によれば、カップ容器内にパンとスープ入り袋とを組み合わせて収納してあるため、スープ付きパンを容易に飲食することができる。このため、身近な所にパンとスープを用意しておく必要がなくなる。
請求項6の発明によれば、請求項1ないし請求項4いずれか1項において、前記小麦製食品はパンであるため、スープ作りの際に発生する蒸気によりパンを加湿・加温してふっくらとした温かいパンにすることができる。
請求項7の発明によれば、請求項5又は請求項6において、前記パンは水分を少なく調整した乾燥パン又は半乾燥パンであるため、スープ作りの際に発生する蒸気によりパンを加湿・加温する時、加湿過多にならないように調整することができる。これにより、焼き立てのような状態の美味しいパンにすることができる。
請求項8の発明によれば、請求項1において、外側容器内で熱湯を注入してスープを調製する際に、小麦製食品を収納した内側容器を逆さにして外側容器の開口部に被せるようにして載置することで、外側容器内で発生する蒸気が内蓋に設けた多数の小孔を介して内側容器内に流入し、小麦製食品を加湿・加温することができる。これにより、スープ付き小麦製食品を美味しく飲食することができる。小麦製食品がパンである場合には、焼き立てに近い状態のパンを温かいスープに付けて食べることができる。
請求項9の発明によれば、請求項2ないし請求項4いずれか1項において、スープを調製した直後に蓋体を閉じることで、この蓋体と仕切壁との間に生じる上方空間又は仕切壁の上端部分を利用してスープ調製の際に発生する蒸気が小麦製食品を収納した区分内に流入し、小麦製食品を加湿・加温することができる。これにより、スープ付き小麦製食品を美味しく飲食することができる。小麦製食品がパンである場合には、焼き立てに近い状態のパンを温かいスープに付けて食べることができる。
以下、本発明に係るスープ付きカップ容器入り小麦製食品及びその飲食方法の好ましい実施形態について、添付図面を参照しながら説明する。
図1は、本発明をパンに適用した第1実施形態を示す概略断面図である。図2は、図1における内側容器の概略斜視図である。図3は、スープを調製した直後に蒸気によってパンを加湿・加温する状態を示す概略断面図である。
図1において、1は外側容器であり、例えば樹脂で形成し又は紙を基材として表面に樹脂を塗着ないしは樹脂フィルムを貼ることにより形成する。樹脂は耐熱性であることが好ましい。この外側容器1は、所定の大きさを有する角型に形成されているが、丸型又は楕円型等の他の形状に形成することも可能であり、上方に開口してその開口端に水平の縁片1aを設けてある。
2は内側容器であり、外側容器1と同様に樹脂で形成し又は紙を基材として表面に樹脂を塗着ないしは樹脂フィルムを貼ることにより形成する。樹脂は必ずしも耐熱性でなくても良い。この内側容器2は、上記外側容器1よりも小さい角型に形成されているが、外側容器1の形状に合わせて丸型又は楕円型等の他の形状に形成することも可能であり、上方に開口してその開口端に水平の縁片2aを設けてある。又、内側容器2の開口端部には、樹脂製又は樹脂フィルムを貼った紙製の薄い内蓋3が、縁片2aに貼着されることにより取り付けられ、図2のように複数の小孔3aがほぼ全域に亘って設けられている。この内蓋3は耐熱性であることが好ましい。
4は樹脂製又は樹脂フィルムを貼った紙製の外蓋であり、外周縁部に沿って係止部4aが形成されている。この外蓋4は、外側容器1の縁片1aに上記内側容器2の縁片2aを受け止させるようにして、内側容器2を外側容器1内に落とし込み、その上方から被せて外側容器1の縁片1aと内側容器2の縁片2aとの接合部を上記係止部4aにより挟み込んで係止することにより、内側容器2と共に外側容器1を密封できるようにしてある。更に、図示は省略したが、これら全体を透明の防湿性熱収縮フィルムやシート等で被覆してシール性を向上させるようにすることもできる。
5は内側容器2内に収納されているパンであり、その大きさや形は必ずしも限定されないが、内側容器2の内容積よりも小形のものとし、内側容器2内に隙間が生じるようにしておく。このパン5としては、通常の製法によって焼き上げたパンでよいが、特にパネトーネ酵母を利用して発酵させたパンであると保存期間を延長させることができる。その時の保存状態にもよるが、通常のパンでは常温で保存期間が3日程度であるのに対し、パネトーネ酵母発酵パンでは約60日である。この場合には、パン5を内側容器2内に収納することで、パンの酸化の原因である光を遮断できるため長期間の保存が有利となる。
又、パネトーネ酵母を利用したパンを棒状形態にして通常よりも低い温度(約160℃)で長く(約25分)焼くことにより、通常のパンより水分を少なく調整した乾燥パン又は半乾燥パンとすれば、保存性をより一層高めることができる。更に、パネトーネ酵母を利用したパンの表面に食物繊維を入れたビスケット生地を載せ、平たく形成して焼いたものだと、保存性が高いばかりでなく健康食品としてのパンを作ることができる。又、パンの中にフラワーペーストを入れることにより、色々な味を付けることが可能である。パンは通常水分を多く入れ、副材料が少ないため総エネルギーが小麦粉由来のエネルギーであるが、卵、加工油脂等を多く使用することにより、通常のパンより総エネルギーを増大させることも可能である。
6は前記外側容器1内に収納されているスープ入り袋であり、防湿性の袋内に適量のスープ粉末が密封状態で収納されている。このスープ粉末はお湯を注いで溶かすとスープが調製される。このスープとしては、例えばコーンスープ、コンソメスープ等の種々のスープ類を選択して使用することができる。又、スープは粉末に限らずに濃縮した液体状であっても構わない。尚、パンの種類によってはスープ以外のもの、例えばコーヒーやミルク、紅茶などであっても使用可能である。その場合には、即席のコーヒー粉末や粉ミルクを袋入りとし、紅茶は濾紙用袋入りとすれば良い。
上記のように構成されているスープ付きカップ容器入り小麦製食品(本実施形態ではパン)の飲食方法について以下に説明する。このカップ容器において、先ず外蓋4を取り外す。この時全体が熱収縮フィルムやシートで被覆されている場合には、その被覆を破いて除去した後に外蓋4を取り外すことは言うまでもない。次いで、内蓋3の付いた内側容器2を外側容器1から取り出してスープ作りを行う。
このスープ作りは、外側容器1の内底部からスープ入り袋6を取り出して開封すると共に、スープ粉末を外側容器1内に入れ、予め用意しておいたお湯(通常は熱湯)を注ぎながらスプーン等で攪拌し、所定量注入してスープ粉末を十分に溶かす。これにより、外側容器1内にスープ7が調製される。
スープ7の調製直後に、図3に示すように内側容器2を下向きにして外側容器1の上に被せる。この時、内側容器2の下端外周縁と外側容器1の上端外周縁とを合わせるようにすると、内側容器2の縁片2aが外側容器1の縁片1aに受け止される。これにより、内側容器2は、外側容器1によって安定良く且つ密着状態にて保持される。
この状態において、内側容器2内に収納されているパン5は、前記内蓋3により受け止されるため外側容器1内のスープ7内に落下することはない。又、内蓋3には複数の小孔3aが設けられているため、スープ調製時に発生する蒸気(湯気)が小孔3aを通過して内側容器2内に流入し、パン5を加湿・加温する。内側容器2内はパン5との間に隙間があるため、小孔3aから十分量の蒸気が流入すると共に、流入した蒸気が内側容器2内を対流する。この蒸気による加湿・加温を数分間(パンの種類により異なるが通常5〜6分間)行うと、パン5はふっくらとした状態に膨らむと共に適度に温められて焼き立てのような状態になる。特に、パンが乾燥パン又は半乾燥パンの場合には、蒸気による加湿・加温が有効に作用してパン本来の旨さが生じることになる。
この後、内側容器2を取り外して内蓋3を開けばパン5を取り出すことができる。そして、このパン5を少しずつ千切りながら外側容器1内のスープ7に付けて食べることができる。上記パン5の加湿・加温中においては、外側容器1の内部は内側容器2により密閉されているため、スープ7が保温されて早期に冷えるのが阻止される。これにより、温められたパン5を温かいスープ7に付けて美味しく食べることができる。
図4ないし図6は、本発明に係るスープ付きカップ容器入り小麦製食品及びその飲食方法の他の実施形態を示している。図4は、本発明をパンに適用した第2実施形態を示す概略断面図である。図5は、カップ容器の概略上面図である。図6は、スープを調製した状態を示す概略断面図である。
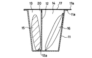
図4において、11はカップ容器であり、例えば樹脂で形成し又は紙を基材として表面に樹脂を塗着ないしは樹脂フィルムを貼ることにより形成する。樹脂は耐熱性であることが好ましい。このカップ容器11は、所定の大きさを有する丸型に形成されているが、角型等の他の形状に形成することも可能であり、上方に開口してその開口端に水平の縁片11aを設けてある。
上記カップ容器11は、仕切壁12が立設されて内部が区分されている。この仕切壁12は、下端の折曲片12aをカップ容器11の内底面に接着すると共に、両側端の折曲片12bを図5のようにカップ容器11の内壁面にそれぞれ接着することにより取り付けられる。この場合、仕切壁12はカップ容器11の中央よりやや側方にずれた位置に立設され、且つカップ容器11の深さより若干低い(5mm〜10mm)寸法に設定されている。
上記仕切壁12で区分されたうち狭い方の第1区分13内にはパン15を収納し、広い方の第2区分14内にはスープ入り袋16を収納し、そしてカップ容器11の上端開口部には蓋体17を貼着することにより、カップ容器11が密封されている。尚、仕切壁12によるカップ容器11内の区分の数は2つに限定されない。例えば、図示は省略したがカップ容器内を3つに区分し、そのうち2つの区分内に種類の異なるパン又は種類のことなるスープ入り袋を収納することが可能である。
蓋体17は、例えば樹脂で形成し又は紙を基材として表面に樹脂を塗着ないしは樹脂フィルムを貼ることにより薄く形成する。この蓋体17は外周縁部を前記カップ容器11の縁片11aに接着して取り付け、図5のように外周縁の一部には側方に突出するつまみ用の舌片17aを設けてある。この舌片17aは上記第2区分14側に位置させる。
前記第1区分13内に収納されているパン15は、その大きさや形は必ずしも限定されないが、第1区分13の内容積よりも小形のものとし、第1区分13内に隙間が生じるようにしておく。このパン15としては、前記と同様に通常の製法によって焼き上げたパンでよいが、特にパネトーネ酵母を利用して発酵させたパンであると保存期間を延長させることができる。この場合には、パン15をカップ容器11内に収納することで、パンの酸化の原因である光を遮断できるため長期間の保存が有利となる。
又、パネトーネ酵母を利用したパンを棒状形態にして通常よりも低い温度(約160℃)で長く(約25分)焼くことにより、通常のパンより水分を少なくした乾燥パン又は半乾燥パンとすれば、保存性をより一層高めることができる。細い棒状のパンを複数本収納するように構成することも可能である。更に、パネトーネ酵母を利用したパンの表面に食物繊維を入れたビスケット生地を載せ、平たく形成して焼いたものだと、保存性が高いばかりでなく健康食品としてのパンを作ることができる。パン15の中にフラワーペーストを入れることにより、色々な味を付けることが可能である。パンは通常水分を多く入れ、副材料が少ないため総エネルギーが小麦粉由来のエネルギーであるが、卵、加工油脂等を多く使用することにより、通常のパンより総エネルギーを増大させることも可能である。
上記第2区分14内に収納されているスープ入り袋16は、前記と同様に防湿性の袋内に適量のスープ粉末が密封状態で収納されている。このスープ粉末はお湯を注いで溶かすとスープが調製される。このスープとしては、例えばコーンスープ、コンソメスープ等の種々のスープ類を選択して使用することができる。又、スープは粉末に限らずに濃縮した液体状であっても構わない。尚、パンの種類によってはスープ以外のもの、例えばコーヒーやミルク、紅茶などであっても使用可能である。その場合には、即席のコーヒー粉末や粉ミルクを袋入りとし、紅茶は濾紙用袋入りとすれば良い。
このように構成されたスープ付きカップ容器入り小麦製食品(パン)の飲食方法について説明する。先ず、カップ容器11の蓋体17を仕切壁12の部分まで、即ち第2区分14に対応する領域部分だけ開く。この時、前記舌片17aを指でつまんで持ち上げることにより、蓋体17を容易に開くことができる。但し、図示はしないが、カップ容器11の全体が熱収縮フィルムやシートで被覆されている場合には、その被覆を破いて除去した後に蓋体17を開くことは言うまでもない。次いで、第2区分14内からスープ入り袋16を取り出してスープ作りを行う。
このスープ作りは、スープ入り袋16を開封すると共に、スープ粉末を第2区分14内に入れ、予め用意しておいたお湯(通常は熱湯)を注ぎながらスプーン等で攪拌し、所定量注入してスープ粉末を十分に溶かす。これにより、図6のように第2区分14内にスープ18が調製される。
スープ調製直後に、半開き状態の蓋体17をカップ容器11に被せると共に適当な重しを載せて蓋体17を密着させる。重しとしては、例えばスープ調製時に用いた薬缶や小鍋等を用いることができる。蓋体17を密着させると、仕切壁12との間に隙間S(図4参照)が生じるため、スープ調製時に発生する蒸気(湯気)がその隙間Sを通過して第1区分13内に流入し、パン15を加湿・加温する。第1区分13はパン15との間に隙間があるため十分な量の蒸気が流入すると共に、流入した蒸気が第1区分13内を対流する。この蒸気による加湿・加温を数分間(パンの種類により異なるが通常5〜6分間)行うと、パン15はふっくらとした状態に膨らむと共に適度に温められて焼き立てのような状態になる。特に、パンが乾燥パン又は半乾燥パンの場合には、蒸気による加湿・加温が有効に作用してパン本来の旨さが生じる。
この後、蓋体17を全開すれば第1区分13内からパン15を取り出すことができる。そして、このパン15を第2区分14内のスープ18に付けながら食べることができる。上記パン15の加湿・加温中においては、カップ容器11の内部は蓋体17により密閉してあるため、スープ18が保温されて早期に冷えるのが阻止される。これにより、ふっくらとした焼き立て状態のパン15を温かいスープ18に付けて美味しく食べることができる。
図7は、本発明をパンに適用した第3実施形態を示す概略断面図である。基本的な大部分の構成部材は前記第2実施形態のものと同じであるから、第2実施形態と同じ構成部材は第2実施形態と同じ符号を付けて示し、それらの詳しい説明は省略する。
この第3実施形態において、第2実施形態と異なる構成は蓋体17の内面の一部に吸水材からなる吸水層19を設けたことである。即ち、パン15を収納している第1区分13の真上に位置する蓋体17の内面部分に吸水層19を設けてある。この吸水層19としては、例えば脱脂綿、スポンジ、パルプなどの天然物からなる吸水材を用いることができるが、著しく吸水性に優れている高吸水性樹脂を用いると好ましい。
上記高吸水性樹脂は、例えば澱粉にアクリル系モノマーをグラフト重合させて処理したもので、この製法は基本的には水溶性高分子を部分的に架橋して不溶化している。この架橋によって水に溶けるのを防ぎ、分子間に多量の水を蓄えることができる。そして、自重の数百倍程度の吸水力と少々の圧力では水を離脱しない保持力とを備えている。現在では、多種の高吸水性樹脂が開発されており、大別すると、天然の高分子である澱粉・アクリル酸系、合成化学品・アクリル酸系、カルボキシル・メチル・セルローズ系等である。尚、吸水層19は第1区分13の上方に設けるだけでなく、第2区分14の上方にも設けるようにしてもよい。
少なくとも第1区分13の上方に位置させて吸水層19を設けておくと、第2区分14内においてスープを調製する時に発生する蒸気(湯気)が、隙間Sを通過して第1区分13内に流入しパン15を加湿・加温する際に、第1区分13内において蓋体17の内側部分で生じる凝縮水を吸水することができる。この吸水層19が無い場合には、第2区分14から流入する蒸気によって第1区分13内が過飽和状態となり、且つ蓋体17の外側部分は内側部分より低温であるため、蒸気の一部が冷やされて蓋体17の内側に凝縮水となって付着する。この凝縮水が水滴となって落下すると、パン15を濡らし特にパン15の上半部が加湿過多となり、又落下した水滴が第1区分13の底部に溜まるとパン15の下部が加湿過多となる。パン15が加湿過多になると、その部分がふやけて不味くなってしまう。上記吸水層19はこのような事態を未然に防止することができる。
図示は省略したが、第2区分14の上方に位置させて蓋体17の内面部分にも吸水層を設けてある場合には、スープ調製時に発生する蒸気の一部が蓋体17の内面部分で冷やされて凝縮する水滴を吸水することができる。このため、第2区分14内において蒸気の含水率が低下し、その含水率の低下した蒸気が隙間Sを通って第1区分13内に流入することになる。この結果、第1区分13内での凝縮水の生成量を緩和することができる。又、第2区分14内で生じる凝縮水は吸水層により吸水されるため、蓋体17の内面部分に凝縮水が付着することはなく、凝縮水がスープ内に落下することもなくなる。
このように構成された第3実施形態のスープ付きカップ容器入り小麦製食品(パン)の飲食方法は、前記第2実施形態のものと同じであるからその説明は省略する。
図8は、本発明をパンに適用した第4実施形態を示す概略断面図である。基本的な大部分の構成部材は前記第2実施形態のものと同じであるから、第2実施形態と同じ構成部材は第2実施形態と同じ符号を付けて示し、それらの詳しい説明は省略する。
この第4実施形態において、第2実施形態と異なる構成はカップ容器11の深さと同じ寸法の仕切壁12を立設し、仕切壁12の上端部分は水滴は通さないが蒸気は通す材質からなる蒸気透過層20を設けたことである。この蒸気透過層20としては、例えばガス透過膜、多孔質膜、多孔質の不織布等であって、これらはいずれも蒸気粒子は通すがそれより大きい水粒子は通さない材質のものを用いることができる。
上記のように仕切壁12の上端部分に蒸気透過層20を設けておくと、第2区分14内においてスープを調製する時に発生する蒸気(湯気)が、蒸気透過層20を通過して第1区分13内に流入しパン15を加湿・加温する際に、蒸気中に一部生じた粒子径の大きい水粒子を蒸気透過層20によって遮断することができる。このため、第1区分13内に流入する蒸気の含水率が低下し、第1区分13内での凝縮水の生成量を緩和することができる。この結果、蒸気によるパン15の加湿を調整すると共に加湿過多を防止し、適度の加湿・加温によってふっくらとした美味しいパンに仕上げることができる。
このように構成された第4実施形態のスープ付きカップ容器入り小麦製食品(パン)の飲食方法も、前記第2実施形態及び第3実施形態のものと同じであるからその説明は省略する。
図9は、本発明をパンに適用した第5実施形態を示す概略断面図である。この場合も、前記第2実施形態と同じ構成部材は第2実施形態と同じ符号を付けて示し、それらの詳しい説明は省略する。
この第5実施形態において、第2実施形態と異なる構成はカップ容器11内に仕切壁12を設けずに、パン15とスープ入り袋16とを収納したことである。仕切壁12がないため、同一容積のカップ容器11であってもパン15の収納量を増やすことが可能となり、これに伴ってスープ入り袋16の増量も可能となる。
このように構成された第5実施形態のスープ付きカップ容器入り小麦製食品(パン)の飲食方法は、蓋体17を全開してパン15とスープ入り袋16を取り出し、先にスープ作りを行う。このスープ作りは、スープ入り袋16を開封すると共に、スープ粉末をカップ容器11内に入れ、予め用意しておいたお湯(通常は熱湯)を注ぎながらスプーン等で攪拌し、所定量注入してスープ粉末を十分に溶かす。これにより、図示は省略したがカップ容器11内にスープが調製される。
この場合は、原則としてスープ作りの際に発生する蒸気(湯気)によってパン15を加湿・加温することはできないが、全く不可能であるというものではない。例えば、図示は省略したがスープ調製直後にカップ容器11の開口端に2本の箸を適当な間隔をあけて平行に差し渡し、その2本の箸の上に直角方向となるようにパン15を載置すれば、スープから立ち上る蒸気によってパン15をある程度加湿・加温することができる。このため、パン15は平たい棒状のものにすると好ましい。
或は、パン15を円形又は楕円形状のものとし、この円形又は楕円形状のパン(図略)をスープ調製直後にカップ容器11の開口端にほぼ蓋を被せるように載置すれば、スープから立ち上る蒸気によってパン15を加湿・加温することができる。このため、円形又は楕円形状のパンの外径は、カップ容器11の開口端の内径より若干大きくすると好ましい。尚、円形又は楕円形状のパンの外径がカップ容器11の開口端の内径より小さくて載置できないような場合には、カップ容器11の開口端より少し下方に落とし込むようにすれば、カップ容器11の内壁によって受け止されるので蒸気による加湿・加温が可能となる。但し、パン15がスープに接触しないようにすることが要求される。
このようにカップ容器11内にパン15とスープ入り袋16とを組み合わせて収納した食品は従来存在せず、身近な所にパン又はスープが無い時はパンをスープに付けて食べることはできなかったが、本実施形態の食品によればそのような不便を容易に解消することができる。
本発明は、上記実施形態ではいずれもスープ付きパンの例で説明したが、パン以外のも
の例えば麺つゆ付き蕎麦や饂飩、ソース付きスパゲッティやマカロニ、その他のスープ付
き小麦製食品にも適用することができる。
本発明をパンに適用した第1実施形態を示す概略断面図である。 図1における内側容器の概略斜視図である。 スープを調製した直後に蒸気によってパンを加湿・加温する状態を示す概略断面図である。 本発明をパンに適用した第2実施形態を示す概略断面図である。 カップ容器の概略上面図である。 スープを調製した状態を示す概略断面図である。 本発明をパンに適用した第3実施形態を示す概略断面図である。 本発明をパンに適用した第4実施形態を示す概略断面図である。 本発明をパンに適用した第5実施形態を示す概略断面図である。
符号の説明
1 外側容器
2 内側容器
3 内蓋
3a 小孔
4 外蓋
5 パン
6 スープ入り袋
7 スープ
11 カップ容器
12 仕切壁
13 第1区分
14 第2区分
15 パン
16 スープ入り袋
17 蓋体
18 スープ
19 吸水層
20 蒸気透過層

Claims (9)

  1. 外側容器と、この外側容器内に収納される内側容器と、この内側容器内に収納される小麦製食品と、前記外側容器内に収納されるスープ入り袋と、前記内側容器を施蓋する複数の小孔を設けた内蓋と、前記外側容器を密封する外蓋とを備えてなることを特徴とするスープ付きカップ容器入り小麦製食品。
  2. カップ容器の内部にこのカップ容器の深さより若干低い寸法の仕切壁を立設してカップ容器内を区分し、一つの区分内に小麦製食品を収納すると共に、他の区分内にスープ入り袋を収納し、前記カップ容器の上端開口部に蓋体を貼着してなることを特徴とするスープ付きカップ容器入り小麦製食品。
  3. 少なくとも前記小麦製食品を収納する一つの区分内の上方に位置する蓋体の内面部分に吸水材からなる吸水層を設けることを特徴とする請求項2記載のスープ付きカップ容器入り小麦製食品。
  4. カップ容器の内部にこのカップ容器の深さと同じ寸法の仕切壁を立設してカップ容器内を区分し、この仕切壁の上端部分は水滴は通さないが蒸気は通す材質からなる蒸気透過層を設け、一つの区分内に小麦製食品を収納すると共に、他の区分内にスープ入り袋を収納し、前記カップ容器の上端開口部に蓋体を貼着してなることを特徴とするスープ付きカップ容器入り小麦製食品。
  5. カップ容器内にパンとスープ入り袋とを収納し、前記カップ容器の上端開口部に蓋体を貼着してなることを特徴とするスープ付きカップ容器入り小麦製食品。
  6. 前記小麦製食品はパンであることを特徴とする請求項1ないし請求項4いずれか1項記載のスープ付きカップ容器入り小麦製食品。
  7. 前記パンは水分を少なく調整した乾燥パン又は半乾燥パンであることを特徴とする請求項5又は請求項6記載のスープ付きカップ容器入り小麦製食品。
  8. 前記外蓋を開けて内側容器を取り出し、前記スープ入り袋を開封してスープを外側容器内に入れると共に、所要量のお湯を注入してスープを溶かし、その直後に外側容器の開口端に前記内側容器を、内蓋が下側になるようにして被せて所要時間載置し、前記スープを溶かす時に発生する蒸気が前記複数の小孔を介して内側容器内に流入することで前記小麦製食品を加湿・加温し、この後内側容器の内蓋を開けて小麦製食品を取り出し、前記外側容器内のスープに付けながら飲食することを特徴とする請求項1記載のスープ付きカップ容器入り小麦製食品の飲食方法。
  9. 前記蓋体を一部剥がし、前記スープ入り袋を開封してスープを前記他の区分内に入れると共に、所要量のお湯を注入してスープを溶かし、その直後に前記蓋体を被せて前記カップ容器の上端開口部をシールし、前記スープを溶かす時に発生する蒸気が前記仕切壁の上方空間又は仕切壁の上端部分から前記一つの区分内に流入することで前記小麦製食品を加湿・加温し、この後前記カップ容器の蓋体を全部剥がして小麦製食品を取り出し、前記他の区分内のスープに付けながら飲食することを特徴とする請求項2ないし請求項4いずれか1項記載のスープ付きカップ容器入り小麦製食品の飲食方法。
JP2003425316A 2003-12-22 2003-12-22 スープ付きカップ容器入りパン Expired - Fee Related JP3783216B2 (ja)

Priority Applications (3)

Application Number Priority Date Filing Date Title
JP2003425316A JP3783216B2 (ja) 2003-12-22 2003-12-22 スープ付きカップ容器入りパン
US10/877,375 US20050136157A1 (en) 2003-12-22 2004-06-25 Wheaten food with powdery soup in a cupped container and method of eating the same
CNA2004100577335A CN1636839A (zh) 2003-12-22 2004-08-10 在杯形容器中带粉状汤料的小麦食品及其食用方法

Applications Claiming Priority (1)

Application Number Priority Date Filing Date Title
JP2003425316A JP3783216B2 (ja) 2003-12-22 2003-12-22 スープ付きカップ容器入りパン

Publications (2)

Publication Number Publication Date
JP2005176783A true JP2005176783A (ja) 2005-07-07
JP3783216B2 JP3783216B2 (ja) 2006-06-07

Family

ID=34675423

Family Applications (1)

Application Number Title Priority Date Filing Date
JP2003425316A Expired - Fee Related JP3783216B2 (ja) 2003-12-22 2003-12-22 スープ付きカップ容器入りパン

Country Status (3)

Country Link
US (1) US20050136157A1 (ja)
JP (1) JP3783216B2 (ja)
CN (1) CN1636839A (ja)

Cited By (5)

* Cited by examiner, † Cited by third party
Publication number Priority date Publication date Assignee Title
JP2010202262A (ja) * 2009-03-05 2010-09-16 Morinaga & Co Ltd 食品包装用トレー及び食品包装体
KR101173421B1 (ko) 2011-11-05 2012-08-10 이지은 식품용기
KR101467385B1 (ko) * 2013-08-19 2014-12-02 김현겸 이종 조리물용 조리용기
JP2015050978A (ja) * 2013-09-09 2015-03-19 株式会社金竜食品産業 インスタント食品及びインスタント食品の容器
JP2018203267A (ja) * 2017-05-30 2018-12-27 大日本印刷株式会社 パウチ

Families Citing this family (13)

* Cited by examiner, † Cited by third party
Publication number Priority date Publication date Assignee Title
CA2586813A1 (en) * 2004-11-08 2006-05-18 Overby Farm, Llc Methods and apparatus for producing packaged companion animal food products to be distributed along with human food products
US20090039076A1 (en) * 2007-08-09 2009-02-12 Albert Vincent Maslowski Multi-Compartment Microwaveable Food Container
WO2010137848A2 (ko) * 2009-05-25 2010-12-02 Yi Leland D 소스수용부가 형성된 음식물 용기 뚜껑
KR20100127160A (ko) * 2009-05-25 2010-12-03 리랜드 디 이 소스수용부가 형성된 음식물 용기 뚜껑
USD677162S1 (en) 2011-03-04 2013-03-05 The Quaker Oats Company Lid
USD649054S1 (en) 2011-03-04 2011-11-22 The Quaker Oats Company Container
USD645748S1 (en) 2011-03-04 2011-09-27 The Quaker Oats Company Container
TW201311198A (zh) * 2011-06-16 2013-03-16 Green Mountain Coffee Roasters Inc 用於部分包裝的湯品及膳食的成分、系統及方法
FR2977572B1 (fr) * 2011-07-07 2014-04-04 Stephane Giardi Contenant pour produits alimentaires
CN103496501A (zh) * 2013-10-17 2014-01-08 兰庆天 一次性杯装饮品专用的新型杯盖及其制造方法和使用方法
CN105501631B (zh) * 2015-12-31 2019-02-15 苏州奥特科然医疗科技有限公司 一种包装容器及其应用
US20180228189A1 (en) 2017-02-14 2018-08-16 Kraft Foods Group Brands Llc Process for maintaining freshness of vegetable pieces
AT520520B1 (de) * 2017-12-04 2019-05-15 Pyar Ltd Behältnis für die Lagerung von feuchtegradsensiblen Produkten

Family Cites Families (19)

* Cited by examiner, † Cited by third party
Publication number Priority date Publication date Assignee Title
US1003112A (en) * 1910-11-01 1911-09-12 Mahalia E Johnson Steam-cooker.
US2965501A (en) * 1953-09-18 1960-12-20 Lloyd J Harriss Frozen pie package
US2850392A (en) * 1955-03-07 1958-09-02 George G Gunsberg Frozen food package
US2990096A (en) * 1957-04-19 1961-06-27 Crosby Leo William Food process and container
US3069043A (en) * 1959-09-23 1962-12-18 Aluminum Co Of America Food package
US3282708A (en) * 1964-03-09 1966-11-01 Walton W Cushman Process for moisturizing stale baked dough products and package utilized therefor
US3367785A (en) * 1964-09-30 1968-02-06 Gen Foods Corp Package and method for hydrating a hydratable product
US3465873A (en) * 1965-10-22 1969-09-09 Otto John Munz Combination food package,serving tray and shipping and display container
US3717478A (en) * 1967-09-22 1973-02-20 Gen Foods Corp Disposable cook-in package for frozen food products
US3548736A (en) * 1968-09-13 1970-12-22 George E Wahl Jr Package for buns to be used in heating and freshening the same
US3667667A (en) * 1970-12-15 1972-06-06 Continental Can Co Double boiler and throw-a-way food package
US3819080A (en) * 1972-01-03 1974-06-25 Plastronics Carrying container
GB1530605A (en) * 1974-12-13 1978-11-01 Nissin Shokuhin Kaisha Ltd Container for pre-cooked foods with an inner lid or tray inside an outer lid
US4348421A (en) * 1975-12-09 1982-09-07 House Food Industrial Company Limited Process for reconstituting dehydrated food
US4529089A (en) * 1984-11-30 1985-07-16 Anthony Gasbarra Food container
US4803088A (en) * 1985-05-01 1989-02-07 House Food Industrial Company Limited Container packed with instant food for use in microwave oven
US5057331A (en) * 1989-01-13 1991-10-15 Levinson Melvin L Cooking food in a food preparation kit in a microwave and in a thermal oven
US5045333A (en) * 1990-08-14 1991-09-03 Petrofsky's Enterprises, Inc. Method for self-icing bakery goods
US5674546A (en) * 1995-08-10 1997-10-07 Nabisco Technology Company Package for storing and cooking an omelet

Cited By (5)

* Cited by examiner, † Cited by third party
Publication number Priority date Publication date Assignee Title
JP2010202262A (ja) * 2009-03-05 2010-09-16 Morinaga & Co Ltd 食品包装用トレー及び食品包装体
KR101173421B1 (ko) 2011-11-05 2012-08-10 이지은 식품용기
KR101467385B1 (ko) * 2013-08-19 2014-12-02 김현겸 이종 조리물용 조리용기
JP2015050978A (ja) * 2013-09-09 2015-03-19 株式会社金竜食品産業 インスタント食品及びインスタント食品の容器
JP2018203267A (ja) * 2017-05-30 2018-12-27 大日本印刷株式会社 パウチ

Also Published As

Publication number Publication date
JP3783216B2 (ja) 2006-06-07
US20050136157A1 (en) 2005-06-23
CN1636839A (zh) 2005-07-13

Similar Documents

Publication Publication Date Title
JP3783216B2 (ja) スープ付きカップ容器入りパン
JP4248737B2 (ja) 食品包装体及び食品の調理方法
US20090297673A1 (en) Packaging Box for Packaging, Preserving, Microwave Steam Cooking and Consumption of Foods
JPH0951767A (ja) 具材を有する食品及び食品容器
JP2013090637A (ja) 喫食用容器入り冷凍麺
JPH0515419B2 (ja)
KR200259355Y1 (ko) 전자레인지용 1회용 편의 식품용기
JP5296938B1 (ja) 喫食用容器入り冷凍麺
WO2014200847A1 (en) Preserved microwavable food products
KR100935296B1 (ko) 즉석 호떡
JPH0615203Y2 (ja) 電子レンジ用乾燥スパゲティ入り容器
JPH0144076Y2 (ja)
RU72467U1 (ru) Герметичный контейнер для хранения и разогрева пищевых продуктов
JP3741650B2 (ja) パイ蓋付容器入り食品の製造方法
JPH0237745Y2 (ja)
JPH025846A (ja) 冷凍食品及び冷凍食品の製造方法
JP3843403B2 (ja) フィリング付き蒸し食品及びその製造方法
JPH1175748A (ja) 即席カップ麺
JPH0499460A (ja) オーブンまたはオーブントースター加熱用容器入り冷凍麺
JP3057365U (ja) 玄米パンの素の包装体
JP6860570B2 (ja) 容器入り冷凍食品
JPH0716368B2 (ja) 電子レンジ用即席食品入り容器
JPH0453272Y2 (ja)
JPH02150247A (ja) 即席調理用揚げ出し豆腐
JP3122230U (ja) インスタントサラダのカップ食品

Legal Events

Date Code Title Description
A977 Report on retrieval

Free format text: JAPANESE INTERMEDIATE CODE: A971007

Effective date: 20051011

A131 Notification of reasons for refusal

Free format text: JAPANESE INTERMEDIATE CODE: A131

Effective date: 20051025

A521 Written amendment

Free format text: JAPANESE INTERMEDIATE CODE: A523

Effective date: 20051207

TRDD Decision of grant or rejection written
A01 Written decision to grant a patent or to grant a registration (utility model)

Free format text: JAPANESE INTERMEDIATE CODE: A01

Effective date: 20060207

A61 First payment of annual fees (during grant procedure)

Free format text: JAPANESE INTERMEDIATE CODE: A61

Effective date: 20060303

R150 Certificate of patent or registration of utility model

Free format text: JAPANESE INTERMEDIATE CODE: R150

FPAY Renewal fee payment (event date is renewal date of database)

Free format text: PAYMENT UNTIL: 20090324

Year of fee payment: 3

FPAY Renewal fee payment (event date is renewal date of database)

Free format text: PAYMENT UNTIL: 20100324

Year of fee payment: 4

LAPS Cancellation because of no payment of annual fees