JP2005140405A - Air conditioner - Google Patents

Air conditioner Download PDF

Info

Publication number
JP2005140405A
JP2005140405A JP2003376892A JP2003376892A JP2005140405A JP 2005140405 A JP2005140405 A JP 2005140405A JP 2003376892 A JP2003376892 A JP 2003376892A JP 2003376892 A JP2003376892 A JP 2003376892A JP 2005140405 A JP2005140405 A JP 2005140405A
Authority
JP
Japan
Prior art keywords
suction
suction hole
opening
closing plate
air conditioner
Prior art date
Legal status (The legal status is an assumption and is not a legal conclusion. Google has not performed a legal analysis and makes no representation as to the accuracy of the status listed.)
Pending
Application number
JP2003376892A
Other languages
Japanese (ja)
Inventor
Yasushi Jinno
寧 神野
Current Assignee (The listed assignees may be inaccurate. Google has not performed a legal analysis and makes no representation or warranty as to the accuracy of the list.)
Panasonic Holdings Corp
Original Assignee
Matsushita Electric Industrial Co Ltd
Priority date (The priority date is an assumption and is not a legal conclusion. Google has not performed a legal analysis and makes no representation as to the accuracy of the date listed.)
Filing date
Publication date
Application filed by Matsushita Electric Industrial Co Ltd filed Critical Matsushita Electric Industrial Co Ltd
Priority to JP2003376892A priority Critical patent/JP2005140405A/en
Priority to KR1020040062714A priority patent/KR101065965B1/en
Priority to CNB2004100575359A priority patent/CN100354580C/en
Publication of JP2005140405A publication Critical patent/JP2005140405A/en
Pending legal-status Critical Current

Links

Images

Landscapes

  • Air Filters, Heat-Exchange Apparatuses, And Housings Of Air-Conditioning Units (AREA)
  • Air Conditioning Control Device (AREA)

Abstract

【課題】小型、小出力の吸引装置でエアーフィルターの吸引清掃と換気ができる空気調和機を提供する。
【解決手段】エアーフィルター1の上流側表面に沿って移動可能な吸引ノズル3と、吸引ノズル3に連結された吸引装置6とを備え、吸引ノズル3は、塵埃吸引用の吸引孔21と、吸引孔21の開口面積を変える吸引孔開閉板(図示せず)を有するもので、吸引孔開閉板で前記吸引孔21の一部だけ開口させて、吸引ノズル3を移動させながら吸引することで、強い吸引力を確保しながら、吸引風量が低下することで、小さな動力の吸引装置でエアフィルター1の吸引清掃を行うことができ、吸引孔21を全開させて吸引することで、通風抵抗が大幅に低減し、風量が増加するので部屋の空気の換気にも利用できる。
【選択図】図1
An air conditioner that can perform suction cleaning and ventilation of an air filter with a small-sized, low-output suction device.
A suction nozzle 3 movable along an upstream surface of an air filter 1 and a suction device 6 connected to the suction nozzle 3 are provided. The suction nozzle 3 includes a suction hole 21 for sucking dust, By having a suction hole opening / closing plate (not shown) that changes the opening area of the suction hole 21, only a part of the suction hole 21 is opened by the suction hole opening / closing plate, and suction is performed while moving the suction nozzle 3. Since the suction air volume is reduced while securing a strong suction force, the air filter 1 can be suction-cleaned with a small power suction device, and the suction resistance is reduced by fully opening the suction hole 21 for suction. It can be used for ventilation of room air because the air volume is greatly reduced and the air volume is increased.
[Selection] Figure 1

Description

本発明は、フィルターの清掃を自動的に行う空気調和機に関するものである。   The present invention relates to an air conditioner that automatically cleans a filter.

従来の空気調和機では、熱交換器の前面に、空気調和機の本体内部へ埃が侵入することを防ぐためのエアフィルターが設けられており、このエアフィルターは付着した塵埃を手や外部の電気掃除機などで清掃できるように、空気調和機本体に着脱自在に設けられていた。このようなエアフィルターは頻繁なメンテナンスが必要となるだけでなく、メンテナンスが行われるまでの間にはエアフィルターが徐々に目詰まりしていき、その結果、熱交換器を通過する風量が低下して空調能力が低下して消費電力の増大につながることとなる。   In a conventional air conditioner, an air filter is provided on the front surface of the heat exchanger to prevent dust from entering the inside of the air conditioner body. It was detachably provided on the air conditioner body so that it could be cleaned with a vacuum cleaner. Such an air filter not only requires frequent maintenance, but the air filter gradually clogs until the maintenance is performed, resulting in a reduction in the amount of air passing through the heat exchanger. As a result, the air conditioning capacity is reduced, leading to an increase in power consumption.

このため、エアフィルターのメンテナンスの手間を低減する目的で、駆動軸に張架したベルト状のエアフィルターと、前記エアフィルターの表面に接する回転ブラシを設け、前記駆動軸を回転させてエアフィルターを移動させながら、その表面に堆積した塵埃を回転ブラシを回転させて掻きとるようにした空気調和機がある(例えば、特許文献1参照)。
特開平6−74521号公報
Therefore, for the purpose of reducing the maintenance work of the air filter, a belt-like air filter stretched around the drive shaft and a rotating brush in contact with the surface of the air filter are provided, and the air filter is rotated by rotating the drive shaft. There is an air conditioner in which dust accumulated on its surface is scraped by rotating a rotating brush while moving (see, for example, Patent Document 1).
JP-A-6-74521

しかしながら、上記のブラシでエアフィルターに付着した塵埃を掻きとる空気調和機では、ブラシとエアフィルターがお互いにこすられるためブラシに塵埃が絡みついたり、ブラシが摩耗もしくは変形して集塵性能が低下するなどの問題があった。また、ブラシがエアフィルターの全幅に渡って設けられるため、ブラシを回転させるのに高トルクを要し、そのためブラシの駆動手段が大きなものになり、その収納スペースの確保のために空気調和機本体が大型化するという問題があった。   However, in the air conditioner that scrapes off dust adhering to the air filter with the above brush, the brush and the air filter are rubbed against each other, so the dust gets entangled with the brush, or the brush wears or deforms and the dust collecting performance decreases. There were problems such as. In addition, since the brush is provided over the entire width of the air filter, high torque is required to rotate the brush, which increases the driving means of the brush, and the air conditioner main body for securing the storage space There was a problem of increasing the size.

こうした観点から、エアフィルターを自動清掃する方法としては、エアフィルターに付着した塵埃を吸引ノズルにて吸引し、吸引された塵埃を集塵装置に集塵もしくは室外へ排出するのが好ましい。   From this point of view, as a method for automatically cleaning the air filter, it is preferable to suck the dust adhering to the air filter with a suction nozzle and collect the sucked dust in a dust collector or discharge it outside the room.

しかし、この方法において、エアフィルター全面を清掃するために吸引ノズルにエアフィルター全長に相当する長いスリット状の吸引孔を設けて、吸引孔よりエアフィルターに付着した塵埃を吸引清掃するのが良いが、吸引孔全域から吸引しようとした場合には吸引風量が多くなるため吸引装置の出力が非常に大きくなり、電力を消費するだけでなく空気調和機本体内部への吸引装置の内蔵が困難となる課題があった。   However, in this method, in order to clean the entire surface of the air filter, it is desirable to provide a suction nozzle with a long slit-like suction hole corresponding to the entire length of the air filter, and suck and clean the dust adhering to the air filter from the suction hole. When trying to suck from the whole suction hole, the suction air volume increases, so the output of the suction device becomes very large, which not only consumes power but also makes it difficult to incorporate the suction device inside the air conditioner body There was a problem.

本発明は、前記従来の課題を解決するもので、小出力・小型の吸引装置でエアフィルターの吸引清掃ができると共に、換気機能も備えた空気調和機を提供することを目的とする。   The present invention solves the above-described conventional problems, and an object thereof is to provide an air conditioner that can perform suction cleaning of an air filter with a small output and small suction device and also has a ventilation function.

前記従来の課題を解決するために、本発明の空気調和機は、熱交換器と、前記熱交換器に流入する空気に含まれる塵埃を捕集するエアフィルターと、前記エアーフィルターの上流側表面に沿って移動可能な吸引ノズルと、前記吸引ノズルに連結された吸引装置とを備え、前記吸引ノズルは、塵埃吸引用の吸引孔と、前記吸引孔の開口面積を変える吸引孔開閉板を有するもので、前記吸引孔開閉板で前記吸引孔の一部だけを順次開口させて、吸引
ノズルを移動させながら吸引すると、吸引風量が絞られ、吸引孔での強い吸引力が確保されながら、吸引風量を低下させることが可能となり、小さな動力の吸引装置でエアフィルター全面の吸引清掃を行うことができる。また、前記吸引孔開閉板で前記吸引孔を全開させて吸引すると、吸引孔での風速が落ちるので通風抵抗が大幅に低減し、吸引装置の出力は同じでも風量は大きく増加するので、これを利用して部屋の空気の換気を行うことができ、さらに、吸引孔を全閉することで、吸引装置の待機時に吸引ノズル側に空気の逆流が発生することを防止することができる。
In order to solve the conventional problems, an air conditioner of the present invention includes a heat exchanger, an air filter that collects dust contained in the air flowing into the heat exchanger, and an upstream surface of the air filter. A suction nozzle movable along the suction nozzle and a suction device connected to the suction nozzle, the suction nozzle having a suction hole for sucking dust and a suction hole opening / closing plate for changing an opening area of the suction hole. With the suction hole opening / closing plate, only a part of the suction hole is sequentially opened, and suction is performed while moving the suction nozzle. As a result, the suction air volume is reduced and the suction force is secured while ensuring a strong suction force at the suction hole. The air volume can be reduced, and suction cleaning of the entire surface of the air filter can be performed with a small power suction device. Also, if the suction hole is fully opened by the suction hole opening / closing plate and sucked, the air velocity at the suction hole is lowered, so the ventilation resistance is greatly reduced, and the air volume is greatly increased even if the output of the suction device is the same. The air in the room can be ventilated by use, and furthermore, by fully closing the suction hole, it is possible to prevent the backflow of air from occurring on the suction nozzle side during standby of the suction device.

本発明の空気調和機は、極めて小型かつ小出力の吸引装置でエアフィルターに付着した塵埃を自動的に吸引清掃してメンテナンスの手間を大幅に軽減するとともに、吸引ノズルを利用して換気を行い、室内の空気を常に清浄に維持することができるものである。   The air conditioner of the present invention is an extremely small and low-power suction device that automatically sucks and cleans dust adhering to the air filter, greatly reducing maintenance work, and ventilating using a suction nozzle. The indoor air can always be kept clean.

第1の発明は、熱交換器と、前記熱交換器に流入する空気に含まれる塵埃を捕集するエアフィルターと、前記エアーフィルターの上流側表面に沿って移動可能な吸引ノズルと、前記吸引ノズルに連結された吸引装置とを備え、前記吸引ノズルは、塵埃吸引用の吸引孔と、前記吸引孔の開口面積を変える吸引孔開閉板を有するもので、前記吸引孔開閉板で前記吸引孔の一部だけを順次開口させて、吸引ノズルを移動させながら吸引すると、吸引風量が絞られ、吸引孔での強い吸引力が確保されながら、吸引風量を低下させることが可能となり、小さな動力の吸引装置でエアフィルター全面の吸引清掃を行うことができる。また、前記吸引孔開閉板で吸引孔を全開させて吸引すると、吸引孔での風速が落ちるので通風抵抗が大幅に低減し、吸引装置の出力は同じでも風量は大きく増加するので、これを利用して部屋の空気の換気を行うことができ、さらに、吸引孔を全閉することで、吸引装置の待機時に吸引ノズル側に空気の逆流が発生することを防止することができる。   The first invention includes a heat exchanger, an air filter that collects dust contained in the air flowing into the heat exchanger, a suction nozzle that is movable along an upstream surface of the air filter, and the suction A suction device connected to the nozzle, the suction nozzle having a suction hole for sucking dust and a suction hole opening / closing plate for changing an opening area of the suction hole. If the suction nozzle is moved while the suction nozzle is moved sequentially, the suction air volume is reduced and the suction air volume can be reduced while securing a strong suction force at the suction hole. Suction cleaning of the entire surface of the air filter can be performed with a suction device. In addition, if suction is performed with the suction hole opening / closing plate fully opened, the air velocity at the suction hole will drop, so the resistance to ventilation will be greatly reduced, and even if the output of the suction device is the same, the air volume will increase greatly. Thus, the air in the room can be ventilated, and further, by fully closing the suction hole, it is possible to prevent the backflow of air from occurring on the suction nozzle side during standby of the suction device.

第2の発明は、特に、第1の発明の吸引孔開閉板を吸引孔に対し水平方向に往復移動させて前記吸引孔の開口面積を変えるようにしたもので、吸引ノズルを薄く構成することができ、吸引ノズルの付加により空気調和機本体が大型化するのを防止できる。   In the second invention, in particular, the suction hole opening / closing plate of the first invention is reciprocated horizontally with respect to the suction hole to change the opening area of the suction hole, and the suction nozzle is made thin. It is possible to prevent the air conditioner body from becoming large due to the addition of the suction nozzle.

第3の発明は、特に、第1の発明の吸引孔開閉板を吸引孔に対し水平方向に回転させて前記吸引孔の開口面積を変えるようにしたもので、吸引ノズルを薄く構成できるとともに、簡易な構造とすることができ、空気調和機本体の大型化を抑え、また、安価に構成することができる。   In the third invention, in particular, the suction hole opening and closing plate of the first invention is rotated in the horizontal direction with respect to the suction hole to change the opening area of the suction hole, and the suction nozzle can be configured to be thin, A simple structure can be obtained, and an increase in the size of the air conditioner body can be suppressed, and the structure can be reduced.

第4の発明は、特に、第1の発明の吸引孔開閉板を吸引孔に対し垂直方向に往復移動させて前記吸引孔の開口面積を変えるようにしたもので、吸引ノズルの幅を小さく構成でき、吸引ノズルを設けることによる熱交換器を通る流通風量の低下を抑制でき、また、吸引ノズルの内蔵と、空気調和機の性能を両立させることができる。   In the fourth invention, in particular, the suction hole opening / closing plate of the first invention is reciprocated in the direction perpendicular to the suction hole to change the opening area of the suction hole, and the width of the suction nozzle is reduced. It is possible to suppress a decrease in the flow rate of air flowing through the heat exchanger due to the provision of the suction nozzle, and it is possible to achieve both the built-in suction nozzle and the performance of the air conditioner.

第5の発明は、特に、第1の発明の吸引孔開閉板を吸引孔に対し垂直方向に回転させることで前記吸引孔の開口面積を変えるようにしたもので、吸引ノズル幅を小さく構成し、吸引ノズルによる熱交換器を通る流通風量の低下を抑制し、吸引ノズルの内蔵と、空気調和機の性能を両立させることができる。   In the fifth invention, in particular, the suction hole opening / closing plate of the first invention is rotated in the direction perpendicular to the suction hole to change the opening area of the suction hole, and the suction nozzle width is reduced. It is possible to suppress a decrease in the flow rate of air flowing through the heat exchanger by the suction nozzle, and to achieve both the built-in suction nozzle and the performance of the air conditioner.

第6の発明は、特に、第2〜5のいずれかひとつの発明の吸引孔開閉板を吸引孔を閉じる方向に付勢するバネと、前記吸引孔開閉板に連結されたワイヤーを備え、前記バネの付勢力に抗して前記ワイヤーを駆動させて前記吸引孔開閉板の移動又は回転を行なうようにしたもので、駆動力伝達に細いワイヤーを用いることで、吸引ノズルを薄く構成することができ、吸引ノズルの付加により空気調和機本体が大きくなることを抑制することができ
る。
The sixth invention, in particular, comprises a spring for urging the suction hole opening / closing plate of any one of the second to fifth inventions in the direction of closing the suction hole, and a wire connected to the suction hole opening / closing plate, The wire is driven against the biasing force of the spring to move or rotate the suction hole opening / closing plate. By using a thin wire for driving force transmission, the suction nozzle can be made thin. It is possible to suppress the increase in the size of the air conditioner body due to the addition of the suction nozzle.

第7の発明は、特に、第1の発明の吸引孔開閉板に形成した鋸状歯と、前記鋸状歯に噛合う歯車を有するモーターを設け、前記モーターで駆動することで前記吸引孔開閉板を駆動するもので、吸引孔開閉板の開閉動作を強い力で確実に行うことができ、吸引孔の開閉動作不良により、吸引清掃性能が低下することを防止できるものである。   According to a seventh aspect of the present invention, in particular, a motor having a sawtooth formed on the suction hole opening and closing plate of the first invention and a gear meshing with the sawtooth is provided, and the suction hole opening and closing is driven by the motor. The plate is driven, and the opening / closing operation of the suction hole opening / closing plate can be reliably performed with a strong force, and the suction cleaning performance can be prevented from being deteriorated due to the opening / closing operation failure of the suction hole.

第8の発明は、特に、第1の発明の吸引孔開閉板に形成されたねじ溝と、前記ねじ溝に噛合う回転シャフトを有するモーターを設け、前記モーターを駆動することで前記吸引孔開閉板を駆動するもので、吸引孔開閉板の開閉動作を強い力で確実に行えるとともに、吸引孔の開閉動作不良により吸引清掃性能が低下することを防止できるものである。   In an eighth aspect of the invention, in particular, a motor having a screw groove formed in the suction hole opening / closing plate of the first invention and a rotating shaft meshing with the screw groove is provided, and the suction hole opening / closing is performed by driving the motor. The plate is driven, and the opening / closing operation of the suction hole opening / closing plate can be reliably performed with a strong force, and the suction cleaning performance can be prevented from being deteriorated due to the opening / closing operation failure of the suction hole.

第9の発明は、特に、第1〜8のいずれかひとつの発明の吸引孔開閉板の吸引孔の周縁部分に対向する部分にシール材を設けたもので、吸引孔の周囲に万一塵埃などの異物が付着しても確実にシールできるので、一部の吸引孔で塵埃を吸引中に、他の吸引孔が異物により不完全な閉状態にあっても、吸引漏れを防止でき、吸引清掃性能が低下することを防止できるものである。   In the ninth aspect of the invention, in particular, a sealing material is provided in a portion facing the peripheral portion of the suction hole of the suction hole opening / closing plate of any one of the first to eighth aspects. Even if foreign matter such as a foreign substance adheres, it can be reliably sealed, so that suction suction can be prevented even when dust is being sucked by some suction holes and other suction holes are incompletely closed by foreign matter. It is possible to prevent the cleaning performance from deteriorating.

以下、本発明の実施の形態について、図面を参照しながら説明する。なお、この実施の形態によって本発明が限定されるものではない。   Hereinafter, embodiments of the present invention will be described with reference to the drawings. Note that the present invention is not limited to the embodiments.

(実施の形態1)
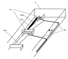
図1は、本発明の実施の形態1における空気調和機のエアフィルターの取り付け部を示す斜視図である。
(Embodiment 1)
FIG. 1 is a perspective view showing an air filter attachment portion of an air conditioner according to Embodiment 1 of the present invention.

図において、1は、熱交換器(図示せず)に流入する空気に含まれる塵埃を捕集するエアフィルターで、フィルター枠1aと、フィルター網1bから構成され、そのエアフィルター1の上流側表面に沿って移動可能な吸引ノズル3が設けられている。吸引ノズル3はフィルター枠1aの上下端に設置されたガイドレール4で支持され、エアフィルター1の表面と極めて狭い間隙を保って円滑に左右に移動することができる。   In the figure, reference numeral 1 denotes an air filter that collects dust contained in air flowing into a heat exchanger (not shown), and is composed of a filter frame 1a and a filter net 1b, and the upstream surface of the air filter 1 A suction nozzle 3 is provided that is movable along The suction nozzle 3 is supported by guide rails 4 installed at the upper and lower ends of the filter frame 1a, and can move smoothly from side to side with a very narrow gap from the surface of the air filter 1.

また、吸引ノズル3のエアフィルター1側の面には、2〜3mmの幅のスリット状の吸引孔21が設けてあり、エアフィルター1上に付着した塵埃はこの吸引孔21より吸引される。さらに、吸引ノズル3には吸引ダクト5の一端が連結され、吸引ダクト5の他端は、吸引風を生成する電動送風機(図示せず)を内蔵した吸引装置6に連結されている。吸引ダクト5は吸引ノズル3の左右の移動に差し支えないように可撓性に優れた蛇腹ホースなどからなり、折り曲げ可能に形成されている。   Further, a slit-like suction hole 21 having a width of 2 to 3 mm is provided on the surface of the suction nozzle 3 on the air filter 1 side, and dust adhering to the air filter 1 is sucked through the suction hole 21. Furthermore, one end of a suction duct 5 is connected to the suction nozzle 3, and the other end of the suction duct 5 is connected to a suction device 6 incorporating an electric blower (not shown) that generates suction air. The suction duct 5 is composed of a bellows hose having excellent flexibility so that the left and right movement of the suction nozzle 3 can be prevented, and is formed to be bendable.

さらに、吸引装置6の排気側は、室外と連通する排気ダクト7に接続されている。吸引ノズル3により吸引されたエアフィルター1の塵埃は吸引ダクト5、吸引装置6、排気ダクト7を経由して室外へ排出される。   Further, the exhaust side of the suction device 6 is connected to an exhaust duct 7 communicating with the outside. The dust of the air filter 1 sucked by the suction nozzle 3 is discharged to the outside through the suction duct 5, the suction device 6, and the exhaust duct 7.

図2は、前記吸引ノズル3の内部構造を示す概略透視図である。なお、吸引ノズル3は、図1に示されるように、エアフィルター1に沿って折れ曲がった構造をとるが、説明を容易にする為に、図2においては吸引ノズル3を真直に伸ばした状態で記載している。吸引ノズル3にはエアフィルター1に付着した塵埃を吸引するスリット状の吸引孔21が設けられており、この吸引孔21は吸引孔A21a、吸引孔B21b、吸引孔C21c、吸引孔D21dに4分割されている。   FIG. 2 is a schematic perspective view showing the internal structure of the suction nozzle 3. As shown in FIG. 1, the suction nozzle 3 has a structure bent along the air filter 1, but in order to facilitate the explanation, the suction nozzle 3 is straightly extended in FIG. It is described. The suction nozzle 3 is provided with a slit-like suction hole 21 for sucking dust adhering to the air filter 1, and the suction hole 21 is divided into four parts, a suction hole A21a, a suction hole B21b, a suction hole C21c, and a suction hole D21d. Has been.

吸引ノズル3内には、各々の吸引孔A〜D(21a〜21d)に対応して設けられると
共に水平方向に往復移動して前記吸引孔A〜D(21a〜21d)を開閉する吸引孔開閉板22a〜22dが設けられている。
The suction nozzle 3 is provided corresponding to each of the suction holes A to D (21a to 21d) and reciprocates in the horizontal direction to open and close the suction holes A to D (21a to 21d). Plates 22a to 22d are provided.

図2は、吸引孔A〜D(21a〜21d)のうち、吸引口A21aのみを開として、他の吸引孔B〜D(21b〜21d)が閉じられている状態を示している。この状態で吸引装置6を運転して吸引を行った場合、吸引される風の流れは図中の白矢印のようになり、吸引孔A21aのみで吸引されることとなる。図3は吸引孔B21bのみを開として、他の吸引孔A、C、D(21a、21c、21d)は閉じられ、吸引孔B21bのみで吸引されることとなる。同様にして吸引孔C21c、吸引孔D21dを順次開の状態がつくれる。   FIG. 2 shows a state in which, among the suction holes A to D (21a to 21d), only the suction hole A21a is opened, and the other suction holes B to D (21b to 21d) are closed. When suction is performed by operating the suction device 6 in this state, the flow of the sucked air is as shown by white arrows in the figure, and is sucked only by the suction hole A21a. In FIG. 3, only the suction hole B21b is opened, and the other suction holes A, C, D (21a, 21c, 21d) are closed, and suction is performed only by the suction hole B21b. Similarly, the suction hole C21c and the suction hole D21d can be sequentially opened.

次に、上記構成の吸引ノズル3にてエアフィルター1の全面を吸引清掃を行う際の具体的動作について説明する。   Next, a specific operation when the entire surface of the air filter 1 is suction-cleaned by the suction nozzle 3 having the above-described configuration will be described.

まず、図2に示すように、吸引孔開閉板22aを右方に移動させて吸引孔A21aのみを開き、吸引装置6を運転しながら吸引ノズル3をガイドレール4に沿って往復移動させることで、吸引口A21aに対応するエアフィルター1の(1)の範囲で全幅に渡って吸引清掃が行なわれる。次に、図3に示すように、吸引孔開閉板22aを左方に移動させて、吸引孔A21aを閉じると共に、吸引孔開閉板22bを右方に移動させて、吸引孔B21bを開き、吸引装置6を運転しながら吸引ノズル3をガイドレール4に沿って往復移動させて、吸引口B21bに対応するエアフィルター1の(2)の範囲で全幅に渡って吸引清掃を行う。同様にして順番に、吸引孔B21bを閉じて吸引孔C21cを開き、吸引孔C21cを閉じて吸引孔D21dを開いて、吸引運転を行うことにより、エアフィルター1の(3)、(4)の範囲を吸引清掃し、エアフィルター1の全面の吸引清掃を終える。   First, as shown in FIG. 2, the suction hole opening / closing plate 22a is moved to the right to open only the suction hole A21a, and the suction nozzle 3 is moved back and forth along the guide rail 4 while operating the suction device 6. Then, suction cleaning is performed over the entire width in the range (1) of the air filter 1 corresponding to the suction port A21a. Next, as shown in FIG. 3, the suction hole opening / closing plate 22a is moved to the left to close the suction hole A21a, and the suction hole opening / closing plate 22b is moved to the right to open the suction hole B21b. While operating the apparatus 6, the suction nozzle 3 is reciprocated along the guide rail 4 to perform suction cleaning over the entire width in the range (2) of the air filter 1 corresponding to the suction port B21b. Similarly, in order, the suction hole B21b is closed and the suction hole C21c is opened, the suction hole C21c is closed and the suction hole D21d is opened, and the suction operation is performed. The range is suction-cleaned, and suction cleaning of the entire surface of the air filter 1 is completed.

このようにすることで、各吸引孔を通過する風量は、全吸引孔で吸引した場合(吸引孔A〜D(21a〜21d)を全て開で運転した場合)の1/4に減少するが、吸引開口面積が絞られることになるので、各吸引孔A〜D(21a〜21d)での風速は必要風速を確保でき、十分な吸引力が得られる。   By doing in this way, although the air volume which passes each suction hole reduces to 1/4 of the case where all the suction holes are sucked (when the suction holes A to D (21a to 21d) are all opened), Since the suction opening area is reduced, the necessary wind speed can be secured for the air speeds at the suction holes A to D (21a to 21d), and a sufficient suction force can be obtained.

ここで、全吸引孔A〜D(21a〜21d)を全て開き、必要風速にて同時吸引する場合の必要動力と、吸引孔A〜D(21a〜21d)を1つづつ開いて吸引した場合のそれと比較すると、(必要動力は風量の3乗に比例するので)必要動力は1/64まで低減できることになる。このように吸引装置6に必要とされる動力は極めて小さいもので済ますことができ、その分吸引装置6の小型化が図れるものである。   Here, when all suction holes A to D (21a to 21d) are opened and suction is simultaneously performed at the required wind speed, and suction holes A to D (21a to 21d) are opened one by one and sucked Compared to that of (1), the required power can be reduced to 1/64 (since the required power is proportional to the cube of the air volume). Thus, the power required for the suction device 6 can be extremely small, and the suction device 6 can be reduced in size accordingly.

また、吸引孔A〜D(21a〜21d)を全て開けて全体の開口面積を広げると、その部分での風速が落ちることにより通風抵抗を大幅に低減することができるので、吸引装置6の出力は同じでも風量は大きく増加する(当然吸引力は大幅に低下しているので、この状態では吸引清掃はしない)。これを利用して、部屋の換気に必要な風量を吸引ノズル3から流すことが可能となり、吸引ノズル3を利用して空気調和機に換気のモードを持たせることができる。   Further, if all the suction holes A to D (21a to 21d) are opened to widen the entire opening area, the air flow resistance at that portion can be reduced, so that the ventilation resistance can be greatly reduced. Although the airflow is the same, the air volume increases greatly (of course, the suction force is greatly reduced, so suction cleaning is not performed in this state). By utilizing this, it becomes possible to flow the air volume necessary for ventilation of the room from the suction nozzle 3, and the air conditioner can have a ventilation mode using the suction nozzle 3.

さらに、吸引装置6が停止している状態(待機状態)の時、屋外に強風が吹くと屋外に連通している排気ダクト7から吸引ノズル3へ向けて風が逆流し、吸引ノズル3内部に付着した塵埃が噴出すことがあるが、この場合は吸引孔A〜D(21a〜21d)を全て閉じることでこうした逆流を防止できる。   Further, when the suction device 6 is in a stopped state (standby state), if strong wind blows outdoors, the wind flows backward from the exhaust duct 7 communicating with the outdoors toward the suction nozzle 3, and the suction nozzle 3 enters the inside. The adhering dust may be ejected. In this case, such backflow can be prevented by closing all the suction holes A to D (21a to 21d).

このように本実施の形態によれば、吸引装置6の小型化が図れるだけでなく、吸引ノズル3に換気機能を付加したり、逆流防止の機能を持たせることも可能となる。   As described above, according to the present embodiment, not only the suction device 6 can be miniaturized, but also the suction nozzle 3 can be provided with a ventilation function or a backflow prevention function.

また、本実施の形態に示すように、吸引孔開閉板22a〜22dを吸引ノズル3内に内蔵し、なおかつ吸引孔A〜D(21a〜21d)に対し水平方向に往復移動させる構成により、吸引ノズル3を薄く構成することが可能であり、空気調和機本体が大きくなることを極力抑制することも可能となる。加えて、図1に示されるように、吸引ノズル3がL字状に曲がっていても問題なく構成することができ、吸引ノズル3の設計に自由度を持たせることができる。   Further, as shown in the present embodiment, the suction hole opening / closing plates 22a to 22d are built in the suction nozzle 3, and the suction holes A to D (21a to 21d) are reciprocated in the horizontal direction so that the suction is performed. It is possible to make the nozzle 3 thin, and it is also possible to suppress the increase in the size of the air conditioner body as much as possible. In addition, as shown in FIG. 1, even if the suction nozzle 3 is bent in an L shape, the suction nozzle 3 can be configured without any problem, and the design of the suction nozzle 3 can have a degree of freedom.

図4は本実施の形態における吸引ノズル3の内部構造を示す概略斜視図である(分かり易くするため吸引孔C21c、吸引孔D21dを代表して示す)。   FIG. 4 is a schematic perspective view showing the internal structure of the suction nozzle 3 in the present embodiment (for the sake of clarity, the suction hole C21c and the suction hole D21d are shown as representatives).

この図では、吸引孔C21cは閉、吸引孔D21dは開の状態にある。(吸引孔A〜Dにも同様の機構を設ける)。吸引孔開閉板22a〜22dのそれぞれに、吸引孔A〜D(21a〜21d)のそれぞれを閉じる方向に付勢する1対のバネ41と、前記バネ41の付勢力に抗して引っ張るためのワイヤー42を設け、吸引孔開閉板22a〜22dはバネ41の力によって通常は閉の位置に固定されている(図中では、吸引孔C21cの状態)。   In this figure, the suction hole C21c is closed and the suction hole D21d is in an open state. (A similar mechanism is also provided in the suction holes A to D). A pair of springs 41 for biasing the suction holes A to D (21a to 21d) in the closing direction to the suction hole opening / closing plates 22a to 22d, respectively, and pulling against the biasing force of the spring 41 The wire 42 is provided, and the suction hole opening / closing plates 22a to 22d are normally fixed at the closed position by the force of the spring 41 (in the drawing, the state of the suction hole C21c).

各吸引孔開閉板22a〜22dを開にする時は、ワイヤー42をバネ41の力に抗して引っ張ることで行う(図中吸引孔D21dの状態)。ワイヤー42を引っ張る方法としてはモーター(図示せず)で巻き上げたり、ワイヤー42にアクチュエータ・ワイヤー(ワイヤーに通電することでワイヤーが収縮し、引っ張る作用を得る)を用いる方法などがある。 この方法によれば、駆動力伝達に細いワイヤー42を用いることで、吸引ノズル3を薄く構成することができ、吸引ノズル3の付加により空気調和機本体が大きくなることを抑制することができる。   Each suction hole opening / closing plate 22a to 22d is opened by pulling the wire 42 against the force of the spring 41 (state of the suction hole D21d in the figure). As a method of pulling the wire 42, there are a method of winding the wire 42 with a motor (not shown), or a method using an actuator wire (the wire is contracted and pulled by energizing the wire). According to this method, by using the thin wire 42 for driving force transmission, the suction nozzle 3 can be configured to be thin, and the addition of the suction nozzle 3 can prevent the air conditioner body from becoming large.

また、吸引ノズル3が真直(フラット)な仕様においては、図5に示すように、各吸引孔開閉板22a〜22dの一端を中心に各吸引孔A−D(21aから21d)に対し水平方向に回転させる機構にしても良い。こうした構成をとることで、より簡易な構成となり、コストを抑えることが可能になるとともに、塵埃の流通路の障害物も減るので通風抵抗を低減させることが可能となる。   Further, in the specification in which the suction nozzle 3 is straight (flat), as shown in FIG. 5, the suction nozzle 3 is horizontally oriented with respect to the suction holes AD (21a to 21d) around one end of each of the suction hole opening / closing plates 22a to 22d. You may make it the mechanism to rotate. By adopting such a configuration, a simpler configuration can be achieved, the cost can be reduced, and obstacles in the dust flow path can be reduced, so that ventilation resistance can be reduced.

上述のバネ41とワイヤー42を用いた吸引孔開閉板22a〜22dの駆動方法の他にも、図6に示すように、各吸引孔開閉板22a〜22dに鋸状歯61を設け、この鋸状歯61にかみ合わせた歯車62をモーター63で駆動することで吸引孔開閉板22を駆動するようにしたり、図7に示すように、各吸引孔開閉板22a〜22dにねじ溝を切った立て板71(図中には表れていないが、内部にねじ溝を切ってある)を設け、この立て板71のねじ溝にかみ合う回転シャフト72を貫通し、回転シャフト72をモーター73にて駆動するようにしても良い(図5〜図7においても図4同様に吸引孔C、Dを代表して示している)。これらの方法によれば、吸引孔開閉板22a〜22dの開閉動作を強い力で確実に行え、吸引孔21a〜21dの開閉動作不良により、吸引清掃性能が低下することを防止することができる。あるいは、特に図示しないが、電磁石やサーボモーターを用いて各吸引孔開閉板22a〜22dを駆動する方法なども容易に考えられのはいうまでもない。   In addition to the above-described driving method of the suction hole opening / closing plates 22a-22d using the spring 41 and the wire 42, as shown in FIG. 6, each of the suction hole opening / closing plates 22a-22d is provided with sawtooth teeth 61. The suction hole opening / closing plate 22 is driven by driving the gear 62 meshed with the tooth 61 by the motor 63, or the suction hole opening / closing plates 22a to 22d are cut into thread grooves as shown in FIG. A plate 71 (not shown in the figure but having a thread groove formed therein) is provided, passes through a rotating shaft 72 that meshes with the thread groove of the standing plate 71, and is driven by a motor 73. (Also in FIG. 5 to FIG. 7, the suction holes C and D are shown as representatives in the same manner as in FIG. 4). According to these methods, the opening / closing operation of the suction hole opening / closing plates 22a to 22d can be reliably performed with a strong force, and the suction cleaning performance can be prevented from being lowered due to the opening / closing operation failure of the suction holes 21a to 21d. Alternatively, although not particularly illustrated, it goes without saying that a method of driving the suction hole opening / closing plates 22a to 22d using an electromagnet or a servomotor can be easily considered.

(実施の形態2)
図8は、本発明の実施の形態2における空気調和機の吸引ノズル3の部分斜視図である。なお、上記実施の形態と同一部分については、同一符号を付してその説明を省略する。
(Embodiment 2)
FIG. 8 is a partial perspective view of suction nozzle 3 of the air conditioner according to Embodiment 2 of the present invention. In addition, about the same part as the said embodiment, the same code | symbol is attached | subjected and the description is abbreviate | omitted.

上記実施の形態1においては、吸引孔開閉板22a〜22dの動作は、いずれも吸引孔
A−D(21aから21d)に対し水平方向に往復移動、もしくは回転させるようにした。これに対し、本実施の形態では、各吸引孔開閉板22a〜22dをバネ41で各吸引孔A−D(21a〜21d)を閉じる方向に付勢するとともに、ワイヤー42で吸引孔開閉板22a〜22dを各吸引孔A−D(21a〜21d)に対し垂直方向に往復(図中では、上下に移動)させて、各吸引孔A−D(21a〜21d)を開閉するようにしたものである。
In the first embodiment, the suction hole opening / closing plates 22a to 22d are all reciprocally moved or rotated in the horizontal direction with respect to the suction holes AD (21a to 21d). In contrast, in the present embodiment, the suction hole opening / closing plates 22a to 22d are biased by the springs 41 in the direction of closing the suction holes AD (21a to 21d), and the suction holes opening / closing plates 22a are covered by the wires 42. ˜22d is reciprocated in the vertical direction with respect to each suction hole AD (21a-21d) (moved up and down in the drawing) to open and close each suction hole AD (21a-21d) It is.

あるいは、図9に示すように、各吸引孔開閉板22a〜22dの一側(図中では左側)を回動自在に支持し、さらに、ねじり型のバネ42で各吸引孔A−D(21a〜21d)を閉じる方向に付勢し、ワイヤー42で、前記バネ42の付勢力に抗して各吸引孔開閉板22a〜22dを回動させて、各吸引孔A−D(21a〜21d)を開閉するようにしても良い。   Alternatively, as shown in FIG. 9, one side (left side in the drawing) of each suction hole opening / closing plate 22a to 22d is rotatably supported, and each suction hole A-D (21a is supported by a torsion spring 42. 21d) is urged in the closing direction, and the suction holes A / D (21a to 21d) are rotated by rotating the suction hole opening / closing plates 22a to 22d against the biasing force of the spring 42 with the wire 42. May be opened and closed.

図8、図9に示した形態では、いずれも、各吸引孔開閉板22a〜22dの開閉駆動にバネとワイヤーを用いているが、実施の形態1の図6、図7にて説明した鋸状歯や回転シャフトを用いる方法、さらには電磁石を用いた方法も応用できるのは容易である。   In each of the forms shown in FIGS. 8 and 9, springs and wires are used to open and close the suction hole opening / closing plates 22a to 22d. The saw described in FIGS. 6 and 7 of the first embodiment is used. It is easy to apply a method using tooth teeth and a rotating shaft, and a method using an electromagnet.

上記構成によれば、 各吸引孔開閉板22a〜22dを、各吸引孔A−D(21a〜21d)に対し垂直方向の動きにすることにより、水平動作させる場合に比して各吸引孔開閉板22a〜22dの往復動作分のスペースが不要になり、吸引ノズル3の横幅を小さく形成でき、吸引ノズル3によって空気調和機の熱交換器を通る流通風量が妨害されて風量低下を招くことを抑制することができ、吸引ノズル3の内蔵と、空気調和機の性能を両立させることが可能となる。   According to the above configuration, the suction hole opening / closing plates 22a to 22d are moved in the vertical direction with respect to the suction holes AD (21a to 21d), so that each suction hole opening / closing is performed as compared with a case where the suction holes are opened horizontally. The space for the reciprocating operation of the plates 22a to 22d is not required, the lateral width of the suction nozzle 3 can be reduced, and the flow rate of air flowing through the heat exchanger of the air conditioner is obstructed by the suction nozzle 3, leading to a decrease in the air volume. Therefore, it is possible to achieve both the built-in suction nozzle 3 and the performance of the air conditioner.

(実施の形態3)
図10は、本発明の実施の形態3における空気調和機の吸引ノズル3の断面図(図8のE−E断面図)である。なお、上記実施の形態と同一部分については、同一符号を付してその説明を省略する。
(Embodiment 3)
FIG. 10 is a cross-sectional view (cross-sectional view taken along line EE in FIG. 8) of suction nozzle 3 of the air conditioner according to Embodiment 3 of the present invention. In addition, about the same part as the said embodiment, the same code | symbol is attached | subjected and the description is abbreviate | omitted.

各吸引孔開閉板22a〜22dで各吸引孔A−D(21a〜21d)を閉じる時には、完全にシールされるのが好ましい。もし、吸引孔A−D(21a〜21d)に異物が付着していて、閉じた時に吸引孔開閉板22a〜22dが若干でも浮いた状態となると、そこから吸引漏れが発生し、吸引清掃用に吸引孔A−D(21a〜21d)のひとつが開いている時に、その部分での吸引力が大きく低下してしまうこととなる。   When the suction holes A-D (21a to 21d) are closed by the suction hole opening / closing plates 22a to 22d, it is preferable that the suction holes are completely sealed. If foreign matter adheres to the suction holes A-D (21a to 21d) and the suction hole opening / closing plates 22a to 22d are slightly lifted when they are closed, a suction leak occurs, and suction cleaning is performed. When one of the suction holes AD (21a to 21d) is open, the suction force at that portion is greatly reduced.

本実施の形態は、上記のような吸引漏れが発生しないようにするもので、図10に示すように、 各吸引孔開閉板22a〜22dの各吸引孔A−D(21a〜21d)の周縁と接する部分に弾性材料からなるシール材91を貼付したものである。   In this embodiment, the suction leakage as described above does not occur. As shown in FIG. 10, the peripheral edges of the suction holes AD (21a to 21d) of the suction hole opening / closing plates 22a to 22d A sealing material 91 made of an elastic material is pasted on a portion in contact with.

以上の構成により、図10(a)に示すように、吸引孔A−D(21a〜21d)に異物が付着していても、図10(b)に示されるように、吸引孔開閉板22a〜22dで閉じた時にシール材91が弾性をもって変形することで隙間を塞ぎ、吸引漏れを防止し、開となっている吸引孔で充分な吸引性能を確保することが可能となる。   With the above configuration, as shown in FIG. 10 (a), even if foreign matter adheres to the suction holes AD (21a to 21d), as shown in FIG. 10 (b), the suction hole opening / closing plate 22a. When the sealing material 91 is closed at ~ 22d, the sealing material 91 is elastically deformed to close the gap, prevent the suction leakage, and ensure sufficient suction performance with the opened suction holes.

(実施の形態4)
図11は、本発明の実施の形態4における空気調和機の吸引ノズル3の概略透視図である。なお、上記実施の形態と同一部分については、同一符号を付してその説明を省略する。
(Embodiment 4)
FIG. 11 is a schematic perspective view of the suction nozzle 3 of the air conditioner according to Embodiment 4 of the present invention. In addition, about the same part as the said embodiment, the same code | symbol is attached | subjected and the description is abbreviate | omitted.

上記実施の形態1において説明したように、吸引孔A−D(21a〜21d)の全てを
開とすることで部屋の換気に必要な風量を吸引ノズル3から流すことが可能となる。この場合、換気風量をより増大させるには、各吸引孔A−D(21a〜21d)での風速を出来るだけ低減したほうが良いので、各吸引孔A−D(21a〜21d)の幅を大きくし開口面積を広げた方がよい。しかしながら、その開口面積を単に大きくしてしまうと、今度は吸引清掃を行う場合の風速が低下してしまい、清掃性能が低下してしまう。そこで本実施の形態では、吸引清掃時と換気時で、吸引孔A−D(21a〜21d)の各開口面積を調整できるようにしたものである。
As described in the first embodiment, by opening all of the suction holes AD (21a to 21d), it is possible to flow an air volume necessary for room ventilation from the suction nozzle 3. In this case, in order to further increase the ventilation air volume, it is better to reduce the wind speed at each suction hole AD (21a to 21d) as much as possible. Therefore, the width of each suction hole AD (21a to 21d) is increased. It is better to widen the opening area. However, if the opening area is simply increased, the wind speed in the case of suction cleaning will be reduced, and the cleaning performance will be reduced. Therefore, in the present embodiment, each opening area of the suction holes AD (21a to 21d) can be adjusted during suction cleaning and ventilation.

図11において、各吸引孔A−D(21a〜21d)の全開口幅は広めに、例えば10mmに形成されている。そしてエアフイルター1の吸引清掃時には、図11(a)に示すように、例えば吸引孔開閉板22bで吸引孔B21bを3mmのみ開けるようにする(他の吸引孔A、C、D(21a、21c、21d)を開ける時も同様に行なう)。こうすることにより、吸引風量を絞り込み、風速を上昇させて吸引性能を上げることができる。   In FIG. 11, the total opening width of each suction hole AD (21a to 21d) is formed wider, for example, 10 mm. At the time of suction cleaning of the air filter 1, as shown in FIG. 11A, for example, the suction hole B21b is opened by only 3 mm with the suction hole opening / closing plate 22b (other suction holes A, C, D (21a, 21c , 21d) is also performed in the same manner). In this way, the suction performance can be improved by narrowing the suction air volume and increasing the wind speed.

次に、吸引孔A−D(21a〜21d)の全部を開けて行なう換気の時は、各吸引孔A−D(21a〜21d)を幅10mmまで全開することにより、大きく吸引風速を低下させることになる。これにより、通風抵抗は大幅に低減し、吸引装置6の出力を上げることなく、大きな換気風量を得ることができる。また、風速が低下することにより、吸引孔A−D(21a〜21d)で発生する笛音も低下し、長時間使用する換気モードには好ましいものとすることができる。このように、吸引清掃性能と換気性能を両立させることが可能となる。   Next, when ventilation is performed by opening all of the suction holes AD (21a to 21d), the suction air speed is greatly reduced by fully opening the suction holes AD (21a to 21d) to a width of 10 mm. It will be. As a result, the ventilation resistance is greatly reduced, and a large ventilation air volume can be obtained without increasing the output of the suction device 6. Moreover, when the wind speed is lowered, the whistle sound generated in the suction holes AD (21a to 21d) is also lowered, which can be preferable for the ventilation mode used for a long time. In this way, it is possible to achieve both suction cleaning performance and ventilation performance.

なお、上記実施の形態では、吸引ノズル3の具体的な移動機構について触れなかったが、たとえば、吸引ノズル3を一方向に付勢する弾性体と、前記弾性体の付勢力に抗する方向に引き出されたワイヤー又は紐をそれぞれ吸引ノズル3に連結し、そのワイヤー又は紐を駆動モーターで巻き上げたり、緩めたりする事で、 吸引ノズル3を左右に移動させるようにすれば良い。或いは、ガイドレール4の一方を長尺のボルトで形成し、吸引ノズル3側に前記ボルトにねじ嵌合するナットを取り付け、前記ボルトを駆動モータで正転、反転させて、吸引ノズル3を左右に移動させるようにしてもよい。   In the above embodiment, the specific movement mechanism of the suction nozzle 3 has not been described. For example, the elastic body that biases the suction nozzle 3 in one direction and the direction that resists the biasing force of the elastic body. The drawn wire or string is connected to the suction nozzle 3, and the suction nozzle 3 may be moved left and right by winding or loosening the wire or string with a drive motor. Alternatively, one of the guide rails 4 is formed by a long bolt, a nut that is screwed to the bolt is attached to the suction nozzle 3 side, and the bolt is rotated forward and reverse by a drive motor to move the suction nozzle 3 to the left and right. You may make it move to.

以上のように、本発明にかかる空気調和機は、内蔵された極めて小型かつ小出力の吸引装置でエアフィルターに付着した塵埃を自動的に吸引清掃することができるので、空気調和機以外にもエアフィルターを有する各種送風機器、空気清浄機器、電源装置などにも適用できるものである。   As described above, the air conditioner according to the present invention can automatically suck and clean dust adhering to the air filter with a built-in extremely small and small output suction device. The present invention can also be applied to various blower devices having air filters, air cleaning devices, power supply devices, and the like.

本発明の実施の形態1における空気調和機のエアフィルターの取り付け部の斜視図The perspective view of the attachment part of the air filter of the air conditioner in Embodiment 1 of this invention 同空気調和機の吸引ノズルの内部を示す概略透視図Schematic perspective view showing the inside of the suction nozzle of the air conditioner 同吸引ノズルの内部を示す概略透視図Schematic perspective view showing the inside of the suction nozzle 同吸引ノズルの内部構成を示す部分概略斜視図Partial schematic perspective view showing the internal configuration of the suction nozzle 他の例を示す吸引ノズルの内部構成を示す部分概略斜視図The partial schematic perspective view which shows the internal structure of the suction nozzle which shows another example さらに他の例を示す吸引ノズルの内部構成を示す部分概略斜視図Furthermore, the partial schematic perspective view which shows the internal structure of the suction nozzle which shows another example. さらに他の例を示す吸引ノズルの内部構成を示す部分概略斜視図Furthermore, the partial schematic perspective view which shows the internal structure of the suction nozzle which shows another example. 本発明の実施の形態2における空気調和機の吸引ノズルの内部構成を示す部分概略斜視図The partial schematic perspective view which shows the internal structure of the suction nozzle of the air conditioner in Embodiment 2 of this invention. 他の例を示す吸引ノズルの内部構成を示す部分概略斜視図The partial schematic perspective view which shows the internal structure of the suction nozzle which shows another example (a)本発明の実施の形態3における空気調和機の吸引ノズルの断面図、(b)同吸引ノズルの断面図(A) Cross section of suction nozzle of air conditioner in Embodiment 3 of the present invention, (b) Cross section of same suction nozzle (a)本発明の実施の形態4における空気調和機の吸引ノズルの内部構成を示す概略透視図、(b)同吸引ノズルの動作をを示す概略透視図(A) Schematic perspective view showing the internal configuration of the suction nozzle of the air conditioner in Embodiment 4 of the present invention, (b) Schematic perspective view showing the operation of the suction nozzle.

符号の説明Explanation of symbols

1 エアーフィルター
3 吸引ノズル
6 吸引装置
21 吸引孔
22 吸引孔開閉板
41 バネ
42 ワイヤー
61 鋸状歯
91 シール材
DESCRIPTION OF SYMBOLS 1 Air filter 3 Suction nozzle 6 Suction device 21 Suction hole 22 Suction hole opening / closing plate 41 Spring 42 Wire 61 Sawtooth 91 Sealing material

Claims (9)

熱交換器と、前記熱交換器に流入する空気に含まれる塵埃を捕集するエアフィルターと、前記エアーフィルターの上流側表面に沿って移動可能な吸引ノズルと、前記吸引ノズルに連結された吸引装置とを備え、前記吸引ノズルは、塵埃吸引用の吸引孔と、前記吸引孔の開口面積を変える吸引孔開閉板を有することを特徴とする空気調和機。 A heat exchanger, an air filter for collecting dust contained in the air flowing into the heat exchanger, a suction nozzle movable along an upstream surface of the air filter, and a suction connected to the suction nozzle An air conditioner, wherein the suction nozzle has a suction hole for sucking dust and a suction hole opening / closing plate for changing an opening area of the suction hole. 吸引孔開閉板を吸引孔に対し水平方向に往復移動させて前記吸引孔の開口面積を変えるようにしたことを特徴とする請求項1記載の空気調和機。 2. An air conditioner according to claim 1, wherein the suction hole opening / closing plate is reciprocated in the horizontal direction with respect to the suction hole to change the opening area of the suction hole. 吸引孔開閉板を吸引孔に対し水平方向に回転させて前記吸引孔の開口面積を変えるようにしたことを特徴とする請求項1記載の空気調和機。 The air conditioner according to claim 1, wherein the suction hole opening / closing plate is rotated in a horizontal direction with respect to the suction hole to change an opening area of the suction hole. 吸引孔開閉板を吸引孔に対し垂直方向に往復移動させて前記吸引孔の開口面積を変えるようにしたことを特徴とする請求項1記載の空気調和機。 2. The air conditioner according to claim 1, wherein the suction hole opening / closing plate is reciprocated in a direction perpendicular to the suction hole to change an opening area of the suction hole. 吸引孔開閉板を吸引孔に対し垂直方向に回転させることで前記吸引孔の開口面積を変えるようにしたことを特徴とする請求項1記載の空気調和機。 The air conditioner according to claim 1, wherein an opening area of the suction hole is changed by rotating the suction hole opening / closing plate in a direction perpendicular to the suction hole. 吸引孔開閉板を吸引孔を閉じる方向に付勢するバネと、前記吸引孔開閉板に連結されたワイヤーを備え、前記バネの付勢力に抗して前記ワイヤーを駆動させて前記吸引孔開閉板の移動又は回転を行なうようにした請求項2〜5のいずれか1項記載の空気調和機。 The suction hole opening / closing plate includes a spring that biases the suction hole opening / closing plate in a direction to close the suction hole, and a wire connected to the suction hole opening / closing plate, and the wire is driven against the biasing force of the spring. The air conditioner according to claim 2, wherein the air conditioner is moved or rotated. 吸引孔開閉板に形成した鋸状歯と、前記鋸状歯に噛合う歯車を有するモーターを設け、前モーターで駆動することで前記吸引孔開閉板を駆動することを特徴とする請求項1記載の空気調和機。 2. A motor having a saw tooth formed on a suction hole opening and closing plate and a gear meshing with the saw tooth, and driving the suction hole opening and closing plate by driving with a front motor. Air conditioner. 吸引孔開閉板に形成されたねじ溝と、前記ねじ溝に噛合う回転シャフトを有するモーターを設け、前記モーターを駆動することで前記吸引孔開閉板を駆動することを特徴とする請求項1記載の空気調和機。 The screw hole formed in the suction hole opening / closing plate and a motor having a rotating shaft meshing with the screw groove are provided, and the suction hole opening / closing plate is driven by driving the motor. Air conditioner. 吸引孔開閉板の吸引孔の周縁部分に対向する部分にシール材を設けたことを特徴とする請求項1〜8のいずれか1項記載の空気調和機。 The air conditioner according to any one of claims 1 to 8, wherein a sealing material is provided on a portion of the suction hole opening / closing plate facing a peripheral portion of the suction hole.
JP2003376892A 2003-08-18 2003-11-06 Air conditioner Pending JP2005140405A (en)

Priority Applications (3)

Application Number Priority Date Filing Date Title
JP2003376892A JP2005140405A (en) 2003-11-06 2003-11-06 Air conditioner
KR1020040062714A KR101065965B1 (en) 2003-08-18 2004-08-10 Air conditioner with indoor unit with automatic cleaning of the air filter
CNB2004100575359A CN100354580C (en) 2003-08-18 2004-08-17 Air conditioner with indoor unit with automatic cleaning air filter

Applications Claiming Priority (1)

Application Number Priority Date Filing Date Title
JP2003376892A JP2005140405A (en) 2003-11-06 2003-11-06 Air conditioner

Related Child Applications (2)

Application Number Title Priority Date Filing Date
JP2008214957A Division JP2008281336A (en) 2008-08-25 2008-08-25 Air conditioner
JP2008214958A Division JP2008281337A (en) 2008-08-25 2008-08-25 Air conditioner

Publications (1)

Publication Number Publication Date
JP2005140405A true JP2005140405A (en) 2005-06-02

Family

ID=34687804

Family Applications (1)

Application Number Title Priority Date Filing Date
JP2003376892A Pending JP2005140405A (en) 2003-08-18 2003-11-06 Air conditioner

Country Status (1)

Country Link
JP (1) JP2005140405A (en)

Cited By (8)

* Cited by examiner, † Cited by third party
Publication number Priority date Publication date Assignee Title
JP2007205656A (en) * 2006-02-02 2007-08-16 Toshiba Kyaria Kk Air conditioner indoor unit
JP2008089245A (en) * 2006-10-03 2008-04-17 Daikin Ind Ltd Control method of air conditioner
JP2008145074A (en) * 2006-12-12 2008-06-26 Toshiba Kyaria Kk Air conditioner indoor unit
KR100907717B1 (en) * 2008-01-08 2009-07-14 엘지전자 주식회사 Air conditioner
JP2009287859A (en) * 2008-05-30 2009-12-10 Panasonic Corp Air filter for air conditioner and air conditioner
JPWO2013038599A1 (en) * 2011-09-14 2015-03-23 パナソニックIpマネジメント株式会社 Air conditioner
WO2017104126A1 (en) * 2015-12-17 2017-06-22 パナソニックIpマネジメント株式会社 Air-conditioner
CN110440343A (en) * 2018-04-28 2019-11-12 广东美的制冷设备有限公司 Cabinet air-conditioner

Cited By (11)

* Cited by examiner, † Cited by third party
Publication number Priority date Publication date Assignee Title
JP2007205656A (en) * 2006-02-02 2007-08-16 Toshiba Kyaria Kk Air conditioner indoor unit
JP2008089245A (en) * 2006-10-03 2008-04-17 Daikin Ind Ltd Control method of air conditioner
JP2008145074A (en) * 2006-12-12 2008-06-26 Toshiba Kyaria Kk Air conditioner indoor unit
KR100907717B1 (en) * 2008-01-08 2009-07-14 엘지전자 주식회사 Air conditioner
JP2009287859A (en) * 2008-05-30 2009-12-10 Panasonic Corp Air filter for air conditioner and air conditioner
JPWO2013038599A1 (en) * 2011-09-14 2015-03-23 パナソニックIpマネジメント株式会社 Air conditioner
WO2017104126A1 (en) * 2015-12-17 2017-06-22 パナソニックIpマネジメント株式会社 Air-conditioner
JP2017110860A (en) * 2015-12-17 2017-06-22 パナソニックIpマネジメント株式会社 Air conditioner
CN107208927A (en) * 2015-12-17 2017-09-26 松下知识产权经营株式会社 Air conditioner
CN107208927B (en) * 2015-12-17 2020-01-10 松下知识产权经营株式会社 Air conditioner
CN110440343A (en) * 2018-04-28 2019-11-12 广东美的制冷设备有限公司 Cabinet air-conditioner

Similar Documents

Publication Publication Date Title
KR101065965B1 (en) Air conditioner with indoor unit with automatic cleaning of the air filter
JP3918789B2 (en) Air conditioner
WO2007026706A1 (en) Indoor machine of air conditioner
JP5240020B2 (en) Air conditioner
JP2005140405A (en) Air conditioner
JP4050774B2 (en) Air conditioner
JP2008281337A (en) Air conditioner
JP3918802B2 (en) Air conditioner
JP2008281336A (en) Air conditioner
JP4533366B2 (en) Filter, filter cleaning device, and air conditioner
JP5092409B2 (en) Air conditioner
JP2005140406A (en) Air conditioner
JP4932491B2 (en) Air conditioner with indoor unit with automatic air filter cleaning function
JP4645059B2 (en) Filter device and air conditioner
JP2005195216A (en) Air conditioner
JP5061837B2 (en) Air conditioner
CN222466799U (en) Floor scrubber head and floor scrubber
CN212252892U (en) Structure and air conditioner for self-cleaning air conditioner filter
JP2008190836A (en) Air conditioner
JP2008256294A (en) Air conditioner
JP4599970B2 (en) Air conditioner
JP2008039390A (en) Air conditioner
JP2008256299A (en) Air conditioner
JP2008194574A (en) Air conditioner
JP2007071494A (en) Air conditioner

Legal Events

Date Code Title Description
A621 Written request for application examination

Free format text: JAPANESE INTERMEDIATE CODE: A621

Effective date: 20060822

RD01 Notification of change of attorney

Free format text: JAPANESE INTERMEDIATE CODE: A7421

Effective date: 20060913

A977 Report on retrieval

Free format text: JAPANESE INTERMEDIATE CODE: A971007

Effective date: 20090128

A131 Notification of reasons for refusal

Free format text: JAPANESE INTERMEDIATE CODE: A131

Effective date: 20090217

A521 Request for written amendment filed

Free format text: JAPANESE INTERMEDIATE CODE: A523

Effective date: 20090415

A02 Decision of refusal

Free format text: JAPANESE INTERMEDIATE CODE: A02

Effective date: 20090519