JP2005113676A - Vibration control wall of wooden building, wooden building and wall plate for vibration control wall - Google Patents
Vibration control wall of wooden building, wooden building and wall plate for vibration control wall Download PDFInfo
- Publication number
- JP2005113676A JP2005113676A JP2004268482A JP2004268482A JP2005113676A JP 2005113676 A JP2005113676 A JP 2005113676A JP 2004268482 A JP2004268482 A JP 2004268482A JP 2004268482 A JP2004268482 A JP 2004268482A JP 2005113676 A JP2005113676 A JP 2005113676A
- Authority
- JP
- Japan
- Prior art keywords
- wall
- plate
- damping
- wooden building
- frame
- Prior art date
- Legal status (The legal status is an assumption and is not a legal conclusion. Google has not performed a legal analysis and makes no representation as to the accuracy of the status listed.)
- Abandoned
Links
- 229910000838 Al alloy Inorganic materials 0.000 claims abstract description 40
- XAGFODPZIPBFFR-UHFFFAOYSA-N aluminium Chemical compound [Al] XAGFODPZIPBFFR-UHFFFAOYSA-N 0.000 claims abstract description 38
- 229910052782 aluminium Inorganic materials 0.000 claims abstract description 37
- 230000002093 peripheral effect Effects 0.000 claims abstract description 29
- 239000000853 adhesive Substances 0.000 claims abstract description 12
- 230000001070 adhesive effect Effects 0.000 claims abstract description 10
- 238000013016 damping Methods 0.000 claims description 115
- 239000000956 alloy Substances 0.000 claims description 20
- 230000008878 coupling Effects 0.000 claims description 12
- 238000010168 coupling process Methods 0.000 claims description 12
- 238000005859 coupling reaction Methods 0.000 claims description 12
- 238000009434 installation Methods 0.000 abstract description 8
- 229910000831 Steel Inorganic materials 0.000 description 19
- 239000000463 material Substances 0.000 description 19
- 239000010959 steel Substances 0.000 description 19
- 238000010276 construction Methods 0.000 description 11
- 230000000694 effects Effects 0.000 description 8
- 239000002699 waste material Substances 0.000 description 6
- 239000002023 wood Substances 0.000 description 4
- 230000008901 benefit Effects 0.000 description 3
- 230000000052 comparative effect Effects 0.000 description 3
- 239000012141 concentrate Substances 0.000 description 3
- 238000000034 method Methods 0.000 description 3
- 238000004064 recycling Methods 0.000 description 3
- 230000008719 thickening Effects 0.000 description 3
- 241000218645 Cedrus Species 0.000 description 2
- 238000005034 decoration Methods 0.000 description 2
- 238000005496 tempering Methods 0.000 description 2
- 235000008331 Pinus X rigitaeda Nutrition 0.000 description 1
- 235000011613 Pinus brutia Nutrition 0.000 description 1
- 241000018646 Pinus brutia Species 0.000 description 1
- 238000010521 absorption reaction Methods 0.000 description 1
- 238000002048 anodisation reaction Methods 0.000 description 1
- 238000005452 bending Methods 0.000 description 1
- 239000011248 coating agent Substances 0.000 description 1
- 238000000576 coating method Methods 0.000 description 1
- 238000009833 condensation Methods 0.000 description 1
- 230000005494 condensation Effects 0.000 description 1
- 230000003111 delayed effect Effects 0.000 description 1
- 238000011156 evaluation Methods 0.000 description 1
- 230000001747 exhibiting effect Effects 0.000 description 1
- 238000009408 flooring Methods 0.000 description 1
- 239000003292 glue Substances 0.000 description 1
- 239000011810 insulating material Substances 0.000 description 1
- 238000007639 printing Methods 0.000 description 1
- 230000008569 process Effects 0.000 description 1
- 230000003014 reinforcing effect Effects 0.000 description 1
- 230000035945 sensitivity Effects 0.000 description 1
- 230000009466 transformation Effects 0.000 description 1
- 230000037303 wrinkles Effects 0.000 description 1
Images
Landscapes
- Buildings Adapted To Withstand Abnormal External Influences (AREA)
- Vibration Prevention Devices (AREA)
Abstract
Description
この発明は、木造建築物の制振壁、これを備えた木造建築物及び木造建築物の制振壁に用いられる壁板に関する。 The present invention relates to a damping wall for a wooden building, a wooden building provided with the damping wall, and a wall plate used for the damping wall of the wooden building.
一般に家屋等の建築物には、木造建築物や鉄骨建築物などがある。木造建築物では主要な骨組に木材が用いられており、一方、鉄骨建築物では主要な骨組に鋼材が用いられている。木造建築物と鉄骨建築物とは、骨組の材質が相異するため、互いに異なる強度特性を有している。 In general, buildings such as houses include wooden buildings and steel structures. In wooden buildings, wood is used for the main frame, whereas in steel structures, steel is used for the main frame. A wooden building and a steel building have different strength characteristics because the materials of the frames are different.
ところで、鉄骨建築物においては、地震力等の外力を吸収し緩和する制振構造として、従来より次の構造が知られている。 By the way, in the steel structure building, the following structure is conventionally known as a damping structure that absorbs and relaxes external forces such as seismic force.
(1)建築物における外力が集中する層の部材を、塑性化部材と第1弾性部材と所定の第2弾性部材とから構成する構造(例えば特許文献1参照。)。 (1) The structure which comprises the member of the layer where the external force concentrates in a building from a plasticizing member, a 1st elastic member, and a predetermined | prescribed 2nd elastic member (for example, refer patent document 1).
(2)建築物における外力が集中する層を構成する部材の一部を、所定の塑性化部材で構成する構造(例えば特許文献2参照。)。 (2) A structure in which a part of a member constituting a layer in which external force concentrates in a building is constituted by a predetermined plasticizing member (see, for example, Patent Document 2).
(3)建築物における外力が集中する階の部材を、弾性部材と塑性化部材とから構成し、且つ、両者のうち少なくとも一方の断面係数を所定の分布に基づいて設定する構造(例えば特許文献3参照。)。 (3) A structure in which a member on a floor where external force concentrates in a building is composed of an elastic member and a plasticizing member, and at least one of the section modulus is set based on a predetermined distribution (for example, Patent Literature) 3).
(4)2個の梁の両端部を連結板で連結するとともに、双方の梁の端部に切欠き部を形成し、更に、連結板の中央部にくびれ部を形成する構造(例えば特許文献4参照。)。 (4) A structure in which both ends of two beams are connected by a connecting plate, a notch is formed at the ends of both beams, and a constricted portion is formed at the center of the connecting plate (for example, Patent Documents) 4).
(5)梁のウェブに、所定の透孔と所定の剪断降伏部とを設ける構造(例えば特許文献5参照。)。 (5) A structure in which a predetermined through hole and a predetermined shear yielding portion are provided on the web of the beam (see, for example, Patent Document 5).
さらに、鉄骨建築物の制振構造を開示した文献として、特開2002−295053号公報、特開2003−49558号公報、特開2001−355348号公報などが挙げられる(特許文献6−8参照。)。
而して、木造建築物は、上述したように、鉄骨建築物とは異なる強度特性を有していることから、もし仮に木造建築物に上記(1)〜(5)の構造を適用したとしても、制振性能の向上を図ることができるかどうか不明であった。 Thus, as described above, since the wooden building has strength characteristics different from those of the steel frame building, it is assumed that the above structures (1) to (5) are applied to the wooden building. However, it was unclear whether the damping performance could be improved.
しかも、上記(1)〜(5)の構造には、次のような難点があった。 Moreover, the structures (1) to (5) have the following difficulties.
すなわち、上記(1)〜(3)の構造では、いずれも、外力のエネルギーを吸収する部材として鋼製ブレース(筋交い)が取り付けられるが、既設の木造建築物にブレースを取り付けることは困難な作業を要する。 That is, in the structures (1) to (3), steel braces (bars) are attached as members that absorb the energy of external force, but it is difficult to attach braces to existing wooden buildings. Cost.
さらに、上記(1)〜(3)の構造では、外力による変形順序は、柱(縦材)及び梁(横材)からなる構造体に変形が生じてから、ブレースが塑性変形するようになっている。このとき、もし仮にこのブレースの剛性が高すぎる場合には、ブレースは塑性変形を生じず、その結果、外力のエネルギーを吸収することができなくなる。そこで、外力のエネルギーを確実に吸収できるようにするために、ブレーズの厚さを薄くし、該ブレースの剛性を低く設定する方法が考えられる。しかるに、ブレースは上述したように鋼製であることから、この鋼製ブレースで外力のエネルギーを確実に吸収できるようにするためには、ブレースの厚さを極めて薄く設定しなければならない。このような極めて薄い厚さのブレースは、取付け誤差を生じ易く、またハンドリング性が悪いという難点があった。 Further, in the structures (1) to (3) described above, the order of deformation due to external force is such that the brace is plastically deformed after deformation occurs in the structure composed of columns (vertical members) and beams (cross members). ing. At this time, if the brace has too high rigidity, the brace does not undergo plastic deformation, and as a result, it cannot absorb the energy of the external force. Therefore, in order to reliably absorb the energy of the external force, a method of reducing the thickness of the blaze and setting the brace rigidity low is conceivable. However, since the brace is made of steel as described above, the brace thickness must be set very thin in order to ensure that the steel brace can absorb the energy of external force. Such a brace having a very thin thickness is liable to cause a mounting error and has poor handling properties.
また、上記(4)及び(5)の構造では、梁の一部に切欠き部や透孔が設けられることから、既設の建築物において、梁の一部にこのような切欠き部等を設けると、梁の剛性が低下し、本来必要とされる梁の剛性を確保することが困難になるという難点があった。 In the structures (4) and (5), a notch or a through hole is provided in a part of the beam. Therefore, in an existing building, such a notch or the like is provided in a part of the beam. If provided, the rigidity of the beam is lowered, and it is difficult to ensure the rigidity of the beam that is originally required.
本発明は、上述した技術背景に鑑みてなされたもので、その目的は、優れた制振性能を有する木造建築物の制振壁、これを備えた木造建築物、及び木造建築物の制振壁に用いられる壁板を提供することにある。更に本発明の他の目的は、新築時において取付け作業を容易に行えることはもとより、既設の木造建築物への取付け作業についても容易に行うことができ、さらに、取付け誤差を生じ難く、且つ良好なハンドリング性を有する、木造建築物の制振壁、これを備えた木造建築物、及び木造建築物の制振壁に用いられる壁板を提供することにある。 The present invention has been made in view of the above-described technical background, and an object thereof is to provide a damping wall for a wooden building having excellent damping performance, a wooden building having the damping wall, and a damping for a wooden building. It is in providing the wall board used for a wall. Another object of the present invention is that not only the installation work can be easily performed at the time of new construction, but also the installation work to an existing wooden building can be easily performed, and it is difficult to cause an installation error and is good. An object of the present invention is to provide a damping wall for a wooden building, a wooden building having the same, and a wall plate used for a damping wall for a wooden building having excellent handling properties.
本発明は、以下の手段を提供する。 The present invention provides the following means.
[1] 制振壁板としてアルミニウム又はアルミニウム合金板が用いられ、該壁板が、その周縁部を木質の壁枠に固着されて取り付けられていることを特徴とする木造建築物の制振壁。 [1] An aluminum or aluminum alloy plate is used as the damping wall plate, and the wall plate is attached with its peripheral edge fixed to a wooden wall frame. .
[2] 前記壁板として、伸びが15%以上のアルミニウム又はアルミニウム合金板が用いられている前項1記載の木造建築物の制振壁。
[2] The wooden building damping wall according to
[3] 前記壁板として、耐力を引張強さで割った値が0.6以下のアルミニウム又はアルミニウム合金板が用いられている前項1又は2記載の木造建築物の制振壁。
[3] The damping wall for a wooden building according to the
[4] 前記壁板の周縁部が前記壁枠に機械的結合手段により固着されている前項1〜3のいずれか1項記載の木造建築物の制振壁。
[4] The damping wall for a wooden building according to any one of the preceding
[5] 前記機械的結合手段は釘である前項4記載の木造建築物の制振壁。
[5] The damping wall for a wooden building according to the
[6] 前記壁板の周縁部が前記壁枠に接着剤により固着されている前項1〜5のいずれか1項記載の木造建築物の制振壁。
[6] The damping wall for a wooden building according to any one of
[7] 前記壁枠の周縁部が前記壁枠の内側に向いた面に重ね合わされた状態で、該周縁部が前記壁枠に固着されている前項1〜6のいずれか1項記載の木造建築物の制振壁。
[7] The wooden structure according to any one of the preceding
[8] 前項1〜7のいずれか1項記載の制振壁を備えていることを特徴とする木造建築物。
[8] A wooden building comprising the damping wall according to any one of
[9] 木質の壁枠に周縁部を固着されて取り付けられる、木造建築物の制振壁用壁板であって、板状のアルミニウム又はアルミニウム合金材からなることを特徴とする木造建築物の制振壁用壁板。 [9] A wall plate for a damping wall of a wooden building, which is attached to a wooden wall frame with its peripheral edge fixed, and made of a plate-like aluminum or aluminum alloy material. Wall plate for damping wall.
[10] 伸びが15%以上のアルミニウム又はアルミニウム合金材からなる前項9記載の木造建築物の制振壁用壁板。
[10] The wall plate for a damping wall of a wooden building according to the
[11] 耐力を引張強さで割った値が0.6以下のアルミニウム又はアルミニウム合金材からなる前項9又は10記載の木造建築物の制振壁用壁板。 [11] The wall plate for a damping wall of a wooden building according to 9 or 10 above, which is made of aluminum or an aluminum alloy material whose yield strength divided by tensile strength is 0.6 or less.
次に、上記各項の発明を説明する。 Next, the invention of each of the above items will be described.
[1]の発明において、本発明者らは、上記目的を達成するため、鋭意研究した結果、制振壁板として、アルミニウム又はアルミニウム合金板を用い、該壁板を、その周縁部を木質の壁枠に固着して取り付けることにより、優れた制振特性を有する木造建築物の制振壁を得ることができることを見い出した。 In the invention of [1], as a result of intensive studies to achieve the above object, the present inventors have used aluminum or an aluminum alloy plate as the damping wall plate, and the wall plate is made of woody material at the periphery. It has been found that a vibration-damping wall of a wooden building having excellent vibration-damping characteristics can be obtained by being fixedly attached to a wall frame.
また、この制振壁によれば、壁枠の急速変形を効果的に遅延させることができる。 Moreover, according to this damping wall, the rapid deformation of the wall frame can be effectively delayed.
さらに、[1]の発明では、壁板として、鋼板ではなく、アルミニウム又はアルミニウム合金板が用いられていることにより、以下の作用を奏する。 Furthermore, in the invention of [1], not the steel plate but the aluminum or aluminum alloy plate is used as the wall plate, so that the following effects are exhibited.
すなわち、もし仮に壁板として鋼板が用いられている場合には、次のような不具合が生じる。すなわち、鋼製の壁板を木質の壁枠に取り付けると、該壁枠よりも壁板の方が剛性が高くなることがあり、その結果、地震力等の外力のエネルギーを吸収できなくなる虞がある。そこで、外力のエネルギーを確実に吸収できるようにするために、壁板を薄くし、該壁板の剛性、特に座屈強度を低く設定する必要がある。しかるに、鋼製の壁板で外力のエネルギーを確実に吸収できるようにするためには、壁板の厚さを例えば1mm未満という極めて薄い厚さに設定しなければならない。そのような極めて薄い壁板は、その取付け時にしわが生じるなど、取付け誤差を生じ易く、また持ち運び時に壁板が曲がるなど、ハンドリング性が悪くなるという問題が生じる。 That is, if a steel plate is used as the wall plate, the following problems occur. That is, when a steel wall plate is attached to a wooden wall frame, the wall plate may be more rigid than the wall frame, and as a result, it may not be possible to absorb the energy of external forces such as seismic force. is there. Therefore, in order to reliably absorb the energy of the external force, it is necessary to thin the wall plate and set the rigidity of the wall plate, particularly the buckling strength, to be low. However, in order to reliably absorb the energy of the external force with the steel wall plate, the thickness of the wall plate must be set to a very thin thickness, for example, less than 1 mm. Such an extremely thin wall plate is likely to cause a mounting error such as a wrinkle at the time of mounting, and the wall plate is bent at the time of carrying.
これに対して、本発明では、壁板として、アルミニウム又はアルミニウム合金板が用いられているので、該壁板の厚さを鋼製の壁板よりも厚く設定することができる。その結果、壁板を壁枠に取り付ける際に取付け誤差を生じ難くすることができるし、良好なハンドリング性を得ることができる。しかも、アルミニウム又はアルミニウム合金材は、鋼材よりも軽量な材料であるから、壁板の厚肉化に伴う重量増加は殆ど生じないという利点がある。 On the other hand, in this invention, since the aluminum or aluminum alloy plate is used as a wall board, the thickness of this wall board can be set thicker than a steel wall board. As a result, an attachment error can be made difficult to occur when the wall plate is attached to the wall frame, and good handling properties can be obtained. And since aluminum or aluminum alloy material is a lighter material than steel materials, there exists an advantage that the weight increase accompanying the thickening of a wall board hardly arises.
また、本発明の制振壁において、壁板の壁枠への取付けは、例えば、機械的結合手段(釘、ネジ、ボルト等)又は/及び接着剤を用いることにより行ことができる。そのため、新築時において壁板の取付け作業を容易に行うことができるし、更には、既設の建築物にこの壁板を取り付ける場合であっても、その取付け作業を容易に行うことができる。 In the damping wall of the present invention, the wall plate can be attached to the wall frame by using, for example, a mechanical coupling means (nail, screw, bolt, etc.) or / and an adhesive. Therefore, it is possible to easily perform the work of attaching the wall board at the time of new construction, and furthermore, it is possible to easily perform the work of attaching the wall board even when the wall board is attached to an existing building.
さらに、壁板としてアルミニウム又はアルミニウム合金板が用いられていることから、この壁板は切削加工や曲げ加工を容易に行うことができ、現場施工性に優れている。したがって、取付け作業の現場で、壁枠の形状や大きさに合わせて切削加工等を行うことができる。しかも、その際の加工工具としては、大掛かりな工具を必要とせず、ノコギリや金切り鋏等の小型汎用工具を用いて加工を行うことができる。また、その加工時に余った残り屑や、取り外した壁板は、現行のリサイクルルートを使って再利用することができ、そのため建築廃材の増加を抑制することができる。 Furthermore, since an aluminum or aluminum alloy plate is used as the wall plate, this wall plate can be easily cut and bent, and has excellent on-site workability. Therefore, it is possible to perform cutting or the like in accordance with the shape and size of the wall frame at the site of attachment work. In addition, as a processing tool at that time, a large-scale tool is not required, and the processing can be performed using a small general-purpose tool such as a saw or a hammer. Moreover, the remaining waste at the time of the processing and the removed wallboard can be reused using the current recycling route, and therefore, an increase in building waste can be suppressed.
なお、本発明では、壁板の壁枠への取付け手段は限定されるものではなく、例えば、上述したように機械的結合手段(釘、ネジ、ボルト等)、接着による結合手段が適用される。さらに、機械的結合手段と接着による接合手段とを併用しても良い。 In the present invention, the means for attaching the wall plate to the wall frame is not limited. For example, as described above, mechanical coupling means (nails, screws, bolts, etc.) and bonding means by adhesion are applied. . Furthermore, a mechanical coupling means and a bonding means by adhesion may be used in combination.
また、本発明では、壁枠は、通常、互いに対向する左右一対の木質の縦材と、互いに対向する上下一対の木質の横材とが所定形状に組み付けられて形成される。また、壁枠は、木質のものであれば良く、その種類に限定されるものではない。例えば、壁枠の材質としては、杉材、檜材、松材が挙げられる。 In the present invention, the wall frame is usually formed by assembling a pair of left and right wooden vertical members facing each other and a pair of upper and lower wooden horizontal members facing each other in a predetermined shape. Moreover, the wall frame should just be a wooden thing, and is not limited to the kind. For example, the material of the wall frame includes cedar, timber, and pine.
[2]の発明では、壁板として、伸びが15%以上のアルミニウム又はアルミニウム合金板が用いられることにより、制振壁の制振性能が更に向上する。 In the invention of [2], the damping performance of the damping wall is further improved by using an aluminum or aluminum alloy plate having an elongation of 15% or more as the wall plate.
[3]の発明では、壁板として、耐力を引張強さで割った値が0.6以下のアルミニウム又はアルミニウム合金板が用いられることにより、制振壁の制振性能が更に一層向上する。 In the invention of [3], the damping performance of the damping wall is further improved by using an aluminum or aluminum alloy plate having a value obtained by dividing the proof stress by the tensile strength as 0.6 or less as the wall plate.
[4]の発明では、壁板の周縁部が壁枠に機械的結合手段により固着されているので、新築時において壁板の壁枠への取付け作業を容易に行うことができるし、更には、既設の建築物において壁板を壁枠に取り付ける場合であっても、その取付け作業を容易に行うことができる。また、外力のエネルギーの吸収量を確実に増大させることができ、したがって優れた制振性能を確実に発揮に得る制振壁を提供できる。 In the invention of [4], since the peripheral portion of the wall plate is fixed to the wall frame by mechanical coupling means, the work of attaching the wall plate to the wall frame can be easily performed at the time of new construction. Even when the wall plate is attached to the wall frame in the existing building, the attaching operation can be easily performed. Further, the amount of energy absorbed by the external force can be reliably increased, and therefore, a damping wall that reliably exhibits excellent damping performance can be provided.
[5]の発明では、機械的結合手段が釘であるから、新築時において壁板の壁枠への取付け作業を更に容易に行うことができるし、更には、既設の建築物において壁板を壁枠に取り付ける場合であっても、その取付け作業を更に容易に行うことができる。 In the invention of [5], since the mechanical coupling means is a nail, the work of attaching the wall plate to the wall frame can be performed more easily at the time of new construction, and furthermore, the wall plate can be attached to an existing building. Even when it is attached to the wall frame, the attaching operation can be performed more easily.
[6]の発明では、壁板の周縁部が壁枠に接着剤により固着されているので、新築時において壁板の壁枠への取付け作業を容易に行うことができるし、更には、既設の建築物において壁板を壁枠に取り付ける場合であっても、その取付け作業を容易に行うことができる。また、外力のエネルギーの吸収量を確実に増大させることができ、したがって優れた制振性能を確実に発揮に得る制振壁を提供できる。 In the invention of [6], since the peripheral portion of the wall plate is fixed to the wall frame with an adhesive, the work of attaching the wall plate to the wall frame can be easily performed at the time of new construction. Even if it is a case where a wall board is attached to a wall frame in this building, the attachment operation | work can be performed easily. Further, the amount of energy absorbed by the external force can be reliably increased, and therefore, a damping wall that reliably exhibits excellent damping performance can be provided.
[7]の発明では、壁板の周縁部が壁枠の内側に向いた面に重ね合わされた状態で、該周縁部が壁枠に固着されているので、新築時において壁板の壁枠への取付け作業を容易に行うことができるし、更には、既設の建築物において壁板を壁枠に取り付ける場合であっても、その取付け作業を容易に行うことができる。また、外力のエネルギーの吸収量を確実に増大させることができ、したがって優れた制振性能を確実に発揮に得る制振壁を提供できる。 In the invention of [7], since the periphery of the wall plate is superimposed on the surface facing the inner side of the wall frame, the periphery is fixed to the wall frame. Can be easily performed, and furthermore, even in the case where the wall plate is attached to the wall frame in an existing building, the attachment operation can be easily performed. Further, the amount of energy absorbed by the external force can be reliably increased, and therefore, a damping wall that reliably exhibits excellent damping performance can be provided.
[8]の発明では、優れた制振性能を有する木造建築物を提供できる。 In the invention of [8], a wooden building having excellent vibration damping performance can be provided.
[9]の発明では、壁板は、アルミニウム又はアルミニウム合金材からなるので、該壁板を木質の壁枠に取り付けることにより、上記[1]の発明と同じ作用を奏する。 In the invention of [9], since the wall plate is made of aluminum or an aluminum alloy material, the same effect as that of the invention of [1] is achieved by attaching the wall plate to a wooden wall frame.
[10]の発明では、壁板は、伸びが15%以上のアルミニウム又はアルミニウム合金材からなるので、該壁板を木質の壁枠に取り付けることにより、上記[2]の発明と同じ作用を奏する。 In the invention of [10], since the wall plate is made of aluminum or aluminum alloy material having an elongation of 15% or more, the same effect as the invention of the above [2] can be obtained by attaching the wall plate to a wooden wall frame. .
[11]の発明では、壁板は、耐力を引張強さで割った値が0.6以下のアルミニウム又はアルミニウム合金材からなるので、該壁板を木質の壁枠に取り付けることにより、上記[3]の発明と同じ作用を奏する。 In the invention of [11], the wall plate is made of aluminum or an aluminum alloy material having a yield strength divided by a tensile strength of 0.6 or less. Therefore, by attaching the wall plate to a wooden wall frame, the above [ The same effect as the invention of [3].
[1]の発明によれば、壁板として、アルミニウム又はアルミニウム合金板が用いられ、該壁板が、その周縁部を木質の壁枠に固着されて取り付けられているので、優れた制振特性を有する木造建築物の制振壁を提供することができる。 According to the invention of [1], an aluminum or aluminum alloy plate is used as the wall plate, and the wall plate is attached with its peripheral edge fixed to a wooden wall frame, so that it has excellent vibration damping characteristics. It is possible to provide a damping wall for a wooden building having
さらに、壁板の厚さを厚く設定することができるため、壁板を壁枠に取り付ける際に取付け誤差を生じ難くすることができるし、良好なハンドリング性を得ることができる。しかも、壁板の厚肉化に伴う重量増加は殆ど生じないという利点がある。 Furthermore, since the thickness of the wall plate can be set thick, it is possible to make it difficult to cause an attachment error when the wall plate is attached to the wall frame, and it is possible to obtain good handling properties. Moreover, there is an advantage that almost no increase in weight due to thickening of the wall plate occurs.
さらに、この壁板の壁枠への取付けは、例えば、釘、ネジ、ボルト等の機械的結合手段又は/及び接着剤を用いることにより、行うことができるから、新築時において壁板の取付け作業を容易に行えることはもとより、既設の建築構造物の壁枠に壁板を取り付ける場合であっても取付け作業を容易に行うことができる。 Furthermore, since the wall plate can be attached to the wall frame by using, for example, mechanical coupling means such as nails, screws, bolts, and / or an adhesive, the wall plate is attached at the time of new construction. In addition to being able to easily perform the mounting, the mounting work can be easily performed even when the wall plate is mounted on the wall frame of the existing building structure.
その上、この壁板は現場施工性に優れており、したがって取付け作業の現場で壁枠の形状や大きさに合わせて切削加工等を行うことができる。しかも、その加工を、ノコギリや金切り鋏等の小型汎用工具を用いて行うことができる。また、その加工時に余った残り屑や取り外した壁板は、現行のリサイクルルートを使って再利用することができ、そのため建築廃材の増加を抑制することができる。 In addition, the wall plate is excellent in workability on the site, and therefore, cutting and the like can be performed in accordance with the shape and size of the wall frame at the site of the installation work. Moreover, the processing can be performed using a small general-purpose tool such as a saw or a hammer. Moreover, the remaining waste and the removed wall board at the time of the processing can be reused using the current recycling route, and therefore, an increase in building waste can be suppressed.
[2]の発明によれば、制振壁の制振性能を更に向上させることができる。 According to the invention of [2], the damping performance of the damping wall can be further improved.
[3]の発明によれば、制振壁の制振性能を更に一層向上させることができる。 According to the invention of [3], the damping performance of the damping wall can be further improved.
[4]の発明によれば、新築時において壁板の壁枠への取付け作業を容易に行うことができるし、更には、既設の建築物において壁板を壁枠に取り付ける場合であっても、その取付け作業を容易に行うことができる。また、外力のエネルギーの吸収量を確実に増大させることができ、したがって優れた制振性能を確実に発揮に得る制振壁を提供できる。 According to the invention of [4], it is possible to easily attach the wall plate to the wall frame at the time of new construction. Furthermore, even in the case where the wall plate is attached to the wall frame in an existing building. The mounting operation can be easily performed. Further, the amount of energy absorbed by the external force can be reliably increased, and therefore, a damping wall that reliably exhibits excellent damping performance can be provided.
[5]の発明によれば、新築時において壁板の壁枠への取付け作業を更に容易に行うことができるし、更には、既設の建築物において壁板を壁枠に取り付ける場合であっても、その取付け作業を更に容易に行うことができる。 According to the invention of [5], the work of attaching the wall plate to the wall frame can be performed more easily at the time of new construction, and furthermore, in the existing building, the wall plate is attached to the wall frame. However, the attaching operation can be performed more easily.
[6]の発明によれば、新築時において壁板の壁枠への取付け作業を容易に行うことができるし、更には、既設の建築物において壁板を壁枠に取り付ける場合であっても、その取付け作業を容易に行うことができる。また、外力のエネルギーの吸収量を確実に増大させることができ、したがって優れた制振性能を確実に発揮に得る制振壁を提供できる。 According to the invention of [6], the work of attaching the wall plate to the wall frame can be easily performed at the time of new construction, and furthermore, even when the wall plate is attached to the wall frame in an existing building. The mounting operation can be easily performed. Further, the amount of energy absorbed by the external force can be reliably increased, and therefore, a damping wall that reliably exhibits excellent damping performance can be provided.
[7]の発明によれば、壁板の周縁部が壁枠の内側に向いた面に重ね合わされた状態で、該周縁部が壁枠に固着されているので、新築時において壁板の壁枠への取付け作業を容易に行うことができるし、更には、既設の建築物において壁板を壁枠に取り付ける場合であっても、その取付け作業を容易に行うことができる。また、外力のエネルギーの吸収量を確実に増大させることができ、したがって優れた制振性能を確実に発揮に得る制振壁を提供できる。 According to the invention of [7], since the peripheral edge of the wall plate is superposed on the surface facing the inner side of the wall frame, the peripheral edge is fixed to the wall frame. The attachment work to the frame can be easily performed, and furthermore, even when the wall plate is attached to the wall frame in an existing building, the attachment work can be easily performed. Further, the amount of energy absorbed by the external force can be reliably increased, and therefore, a damping wall that reliably exhibits excellent damping performance can be provided.
[8]の発明によれば、優れた制振性能を有する木造建築物を提供できる。 According to the invention of [8], a wooden building having excellent vibration damping performance can be provided.
[9]の発明によれば、壁板を木質の壁枠に取り付けることにより、上記[1]の発明と同じ効果を奏する。 According to the invention [9], the same effect as the invention [1] can be obtained by attaching the wall board to the wooden wall frame.
[10]の発明によれば、壁板を木質の壁枠に取り付けることにより、上記[2]の発明と同じ効果を奏する。 According to the invention of [10], the same effect as that of the invention of [2] is achieved by attaching the wall board to the wooden wall frame.
[11]の発明によれば、壁板を木質の壁枠に取り付けることにより、上記[3]の発明と同じ効果を奏する。 According to the invention of [11], the same effect as that of the invention of [3] is achieved by attaching the wall board to the wooden wall frame.
次に、本発明の好ましい一実施形態について図面を参照して以下に説明する。 Next, a preferred embodiment of the present invention will be described below with reference to the drawings.
図1において、(1)は、本発明の一実施形態に係る木造建築物である。この木造建築物(1)は、柱(4)、梁(5)等の骨組に木材が用いられたものであり、詳述すると、例えば戸建て住宅であって、木造軸組工法により組み立てられたものである。なお、同図において、(10)は木質角材からなる筋交いである。 In FIG. 1, (1) is a wooden building according to an embodiment of the present invention. This wooden building (1) is made of wood in the framework of pillars (4), beams (5), etc. More specifically, it is a detached house, for example, and is assembled by a wooden frame construction method. Is. In the figure, (10) is a brace made of wood timber.
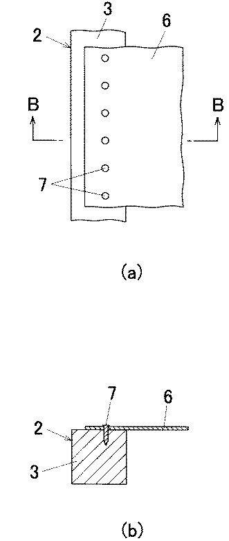
この木造建築物(1)は制振壁(2)を備えている。制振壁(2)は、図3に示すように、壁枠(3)と制振壁板(6)とから実質的に構成されている。 This wooden building (1) has a damping wall (2). As shown in FIG. 3, the damping wall (2) is substantially composed of a wall frame (3) and a damping wall plate (6).
壁枠(3)は木質のものである。詳述すると、この壁枠(3)は、互いに対向して配置された左右一対の木質の縦材としての柱(4)(4)と、互いに対向して配置された上下一対の木質の横材としての梁(5)(5)(桁を含む。)とが、正面視略ロ字状に組み付けられて形成されたものである。なお、この壁枠(3)には筋交い(ブレース)は設けられていない。柱(4)及び梁(5)はともに木質角材からなる。 The wall frame (3) is made of wood. Specifically, the wall frame (3) includes a pair of left and right wooden columns (4) and (4) as opposed to each other, and a pair of upper and lower wooden columns disposed opposite to each other. Beams (5) and (5) (including girders) as materials are assembled and formed in a generally square shape when viewed from the front. The wall frame (3) is not provided with braces. Both the column (4) and the beam (5) are made of wooden square lumber.
この壁枠(3)において、互いに隣接する柱(4)と梁(5)とは、ほぞ等の様々な仕口(図示せず)を介して組み付けられて連結されている。なお、本発明では、柱(4)と梁(5)とは、釘、ネジ、ボルト等で連結されていても良い。 In this wall frame (3), the columns (4) and beams (5) adjacent to each other are assembled and connected via various joints (not shown) such as tenons. In the present invention, the pillar (4) and the beam (5) may be connected by a nail, a screw, a bolt, or the like.
制振壁板(6)(以下、「壁板」と略記する。)は、板状のアルミニウム又はアルミニウム合金材からなる。すなわち、この壁板(6)として、アルミニウム又はアルミニウム合金板が用いられている。この壁板(6)の材質は、例えば、JIS 1000系、2000系、3000系、4000系、5000系、6000系及び7000系のアルミニウム又はアルミニウム合金から適宜選択される。また、壁板(6)は、アルミニウム又はアルミニウム合金の展伸材(例えば、圧延材や押出材)からなるものが好適に用いられる。ただし、本発明では、壁板(6)はこれに限定されるものではない。 The damping wall plate (6) (hereinafter abbreviated as “wall plate”) is made of plate-like aluminum or aluminum alloy material. That is, an aluminum or aluminum alloy plate is used as the wall plate (6). The material of the wall plate (6) is appropriately selected from, for example, JIS 1000 series, 2000 series, 3000 series, 4000 series, 5000 series, 6000 series and 7000 series aluminum or aluminum alloys. The wall plate (6) is preferably made of a stretched material of aluminum or aluminum alloy (for example, a rolled material or an extruded material). However, in this invention, a wall board (6) is not limited to this.
壁板(6)の形状は、正面視略四角形状に形成されている。ただし、本発明では、壁板(6)の形状はこれに限定されるものではない。また、壁板(6)の厚さは、0.5〜6mm(特に好ましくは1〜3mm)の範囲に設定されていることが望ましい。ただし、本発明では、壁板(6)の厚さはこの範囲に限定されるものではない。 The shape of the wall plate (6) is formed in a substantially square shape when viewed from the front. However, in the present invention, the shape of the wall plate (6) is not limited to this. Moreover, it is desirable that the thickness of the wall plate (6) is set in a range of 0.5 to 6 mm (particularly preferably 1 to 3 mm). However, in the present invention, the thickness of the wall plate (6) is not limited to this range.
そして、この壁板(6)は、壁枠(3)で囲まれた空間全面を閉塞するともに該壁板(6)の周縁部(即ち、上下左右の四側縁部)が壁枠(3)の前面に重ね合わされた状態に配置され、更に、この状態で、図1及び図2に示すように、該壁板(6)の周縁部(即ち、上下左右の四側縁部)が壁枠(3)の前面に釘(7)によって所定のピッチで固着されることにより、該壁板(1)が壁枠(3)に取り付けられている。釘(7)のピッチは、10〜100mm(特に好ましくは25〜50mm)の範囲に設定されていることが望ましい。ただし、本発明では、釘(7)のピッチはこの範囲に限定されるものではない。なお、本発明では、壁板(6)の周縁部は壁枠(3)に例えば接着剤によって固着しても良いし、更には、例えば糊釘併用のように機械的結合手段と接着による結合手段とを併用しても良い。 The wall plate (6) closes the entire space surrounded by the wall frame (3), and the peripheral portion of the wall plate (6) (that is, the upper, lower, left and right side edges) is the wall frame (3). In this state, as shown in FIGS. 1 and 2, the peripheral portion of the wall plate (6) (that is, the four side edges on the top, bottom, left and right) is a wall. The wall plate (1) is attached to the wall frame (3) by being fixed to the front surface of the frame (3) with a nail (7) at a predetermined pitch. It is desirable that the pitch of the nails (7) is set in a range of 10 to 100 mm (particularly preferably 25 to 50 mm). However, in the present invention, the pitch of the nail (7) is not limited to this range. In the present invention, the peripheral edge of the wall plate (6) may be fixed to the wall frame (3) by, for example, an adhesive, and further, for example, a mechanical coupling means and a bonding by bonding such as a glue nail. You may use together with a means.
而して、この木造建築物(1)では、もし仮に地震等によって外力(地震力等)が木造建築物(1)に加わった場合には、制振壁(2)は、例えば該制振壁(2)を含む平面内で斜めに変形する(例えば、後述する図5参照。)。このように制振壁(2)が変形することによって外力のエネルギーが吸収され、これにより、木造建築物(1)の倒壊を防止できるなど、優れた制振性能を発揮するようになる。なお、この制振壁(2)では、該制振壁(2)の変形に伴って、例えば、壁板(6)が座屈したり、壁板(6)と壁枠(3)との接合部が破断したり、壁枠(3)における柱(4)と梁(5)との接合部が破断したりする。 Thus, in this wooden building (1), if an external force (earthquake force, etc.) is applied to the wooden building (1) due to an earthquake or the like, the damping wall (2), for example, It is deformed obliquely in a plane including the wall (2) (for example, see FIG. 5 described later). As the damping wall (2) is deformed in this way, the energy of the external force is absorbed, thereby exhibiting excellent damping performance such as preventing the wooden building (1) from collapsing. In the damping wall (2), for example, the wall plate (6) buckles or the wall plate (6) and the wall frame (3) are joined together with the deformation of the damping wall (2). The portion breaks, or the joint between the column (4) and the beam (5) in the wall frame (3) breaks.
なお、本実施形態では、壁板(6)は木造建築物(1)の1箇所に取り付けられているが、本発明では、壁板(6)を取り付ける箇所は1箇所に限定されるものではなく、複数箇所に取り付けられていても良い。すなわち、壁板(6)は、木造建築物(1)における制振性が要求される任意の壁枠(3)に取り付けられるものである。 In addition, in this embodiment, although the wall board (6) is attached to one place of a wooden building (1), in this invention, the place which attaches a wall board (6) is not limited to one place. It may be attached to a plurality of places. That is, the wall plate (6) is attached to an arbitrary wall frame (3) that requires vibration damping in the wooden building (1).
さらに、この木造建築物(1)では、制振壁(2)の壁板(6)は、鋼材よりも低い剛性を有する材料であるアルミニウム又はアルミニウム合金材からなるので、該壁板(6)の厚さを鋼製の壁板よりも厚く設定することができる。そのため、壁板(6)を壁枠(3)に取り付ける際に取付け誤差を生じ難くすることができるし、良好なハンドリング性を得ることができる。しかも、アルミニウム又はアルミニウム合金材は、鋼材よりも軽量な材料であるから、壁板(6)の厚肉化に伴う重量増加は殆ど生じない。 Furthermore, in this wooden building (1), the wall plate (6) of the damping wall (2) is made of aluminum or an aluminum alloy material having a lower rigidity than that of the steel material, so that the wall plate (6) Can be set thicker than the steel wallboard. Therefore, an attachment error can be made difficult to occur when the wall plate (6) is attached to the wall frame (3), and good handling properties can be obtained. Moreover, since the aluminum or aluminum alloy material is a lighter material than the steel material, there is almost no increase in weight due to the thickening of the wall plate (6).
さらに、壁板(6)の壁枠(3)への取付けは、例えば、釘、ネジ、ボルト等の機械的結合手段又は/及び接着剤により、行うことができる。したがって、新築時において壁板(6)の取付け作業を容易に行うことができるし、更には、既設の建築物にこの壁板(6)を取り付ける場合であっても、その取付け作業を容易に行うことができる。 Further, the wall plate (6) can be attached to the wall frame (3) by, for example, mechanical coupling means such as nails, screws, bolts, and / or an adhesive. Therefore, the installation work of the wall plate (6) can be easily performed at the time of new construction, and furthermore, even when the wall plate (6) is attached to an existing building, the installation work can be easily performed. It can be carried out.
さらに、壁板(6)はアルミニウム又はアルミニウム合金材からなることから、この壁板(6)を壁枠(3)に例えば釘(7)によって取り付ける場合には、釘(7)を容易に壁板(6)に対して貫通させることができ、釘(7)の打付けを行い易いという利点がある。 Further, since the wall plate (6) is made of aluminum or an aluminum alloy material, when the wall plate (6) is attached to the wall frame (3) by, for example, a nail (7), the nail (7) can be easily attached to the wall. The plate (6) can be penetrated, and there is an advantage that the nail (7) can be easily struck.
さらに、壁板(6)はアルミニウム又はアルミニウム合金材からなるので、切削加工や曲げ加工を容易に行うことができ、現場施工性に優れている。したがって、取付け作業の現場で、壁枠(3)の形状や大きさに合わせて切削加工等を行うことができる。しかも、その際の加工工具としては、大掛かりな工具を必要とせず、ノコギリや金切り鋏等の小型汎用工具を用いて加工を行うことができる。また、その加工時に余った残り屑や、取り外した壁板は、現行のリサイクルルートを使って再利用することができ、そのため建築廃材の増加を抑制することができる。 Furthermore, since the wall plate (6) is made of aluminum or an aluminum alloy material, cutting and bending can be easily performed, and the on-site workability is excellent. Therefore, it is possible to perform cutting or the like in accordance with the shape and size of the wall frame (3) at the site of attachment work. In addition, as a processing tool at that time, a large-scale tool is not required, and the processing can be performed using a small general-purpose tool such as a saw or a hammer. Moreover, the remaining waste at the time of the processing and the removed wallboard can be reused using the current recycling route, and therefore, an increase in building waste can be suppressed.
ここで、本発明では、壁板(6)は、伸びが15%以上の板状アルミニウム又はアルミニウム合金材からなることが望ましい。こうすることにより、制振壁(2)の制振性能を更に向上させることができる。特に、アルミニウム又はアルミニウム合金材の伸びは大きいほど望ましく、これを具体的に示すと、20%以上、25%以上、30%以上又は40%以上であることが望ましい。一方、伸びの上限値は、特に限定されるものではなく、例えば60%(好ましくは50%)に設定される。 Here, in the present invention, the wall plate (6) is preferably made of plate-like aluminum or aluminum alloy material having an elongation of 15% or more. By doing so, the damping performance of the damping wall (2) can be further improved. In particular, the elongation of aluminum or aluminum alloy material is preferably as large as possible. Specifically, it is preferably 20% or more, 25% or more, 30% or more, or 40% or more. On the other hand, the upper limit of elongation is not particularly limited, and is set to 60% (preferably 50%), for example.
また、壁板(6)は、耐力を引張強さで割った値が0.6以下の板状アルミニウム又はアルミニウム合金材からなることが望ましい。こうすることにより、制振壁(2)の制振性能を更に一層向上させることができる。特に、この値は小さいほど望ましく、これを具体的に示すと、0.5以下又は0.4以下であることが望ましい。一方、この値の下限値は、特に限定されるものではなく、例えば0.3(好ましくは0.35)に設定される。 Moreover, it is desirable that the wall plate (6) is made of plate-like aluminum or aluminum alloy material having a value obtained by dividing the proof stress by the tensile strength of 0.6 or less. By doing so, the damping performance of the damping wall (2) can be further improved. In particular, this value is preferably as small as possible. Specifically, it is preferably 0.5 or less or 0.4 or less. On the other hand, the lower limit value of this value is not particularly limited, and is set to 0.3 (preferably 0.35), for example.
本発明では、壁板(6)の伸び、耐力、引張強さ等の機械的特性は、該壁板(6)を構成するアルミニウム又はアルミニウム合金材を調質処理することにより、所望する特性に確実に調整することができる。調質処理としては、例えば、JIS H0001で規定するF処理、O処理、H処理、W処理及びT処理が好適に用いられる。 In the present invention, the mechanical properties such as elongation, proof stress and tensile strength of the wall plate (6) are adjusted to the desired properties by tempering the aluminum or aluminum alloy material constituting the wall plate (6). It can be adjusted reliably. As the tempering processing, for example, F processing, O processing, H processing, W processing, and T processing specified in JIS H0001 are preferably used.
以上で、この発明の好ましい一実施形態について説明したが、この発明は上記実施形態に示したものに限定されるものではなく、様々設定変更可能である。 The preferred embodiment of the present invention has been described above. However, the present invention is not limited to the embodiment described above, and various settings can be changed.
例えば、本発明では、制振壁(2)の壁板(6)の表面に装飾処理が施されていても良い。この場合には、壁板の表面を露出させた状態で該壁板を壁枠に取り付けることにより、この壁板を内装板又は外装板としても用いることが可能となる。さらに、この壁板はアルミニウム又はアルミニウム合金材からなるので、装飾処理を容易に行うことができる。装飾処理としては、アルマイト処理等の陽極酸化処理やプリントが例示される。 For example, in the present invention, the surface of the wall plate (6) of the damping wall (2) may be decorated. In this case, by attaching the wall plate to the wall frame with the surface of the wall plate exposed, the wall plate can be used as an interior plate or an exterior plate. Furthermore, since this wall board consists of aluminum or an aluminum alloy material, a decoration process can be performed easily. Examples of the decoration treatment include anodization treatment such as alumite treatment and printing.
また、本発明では、壁板(6)の表面(又は裏面)に断熱材がコーティングされることで結露が防止されるものとなされていても良い。 In the present invention, condensation may be prevented by coating the surface (or the back surface) of the wall plate (6) with a heat insulating material.
また、本発明では、壁板(6)には補強リブ(図示せず)が設けられていても良い。この場合には、制振壁(2)の制振性能を確実に所望する性能に設定することができる。 In the present invention, the wall plate (6) may be provided with a reinforcing rib (not shown). In this case, the damping performance of the damping wall (2) can be reliably set to a desired performance.
また、本発明では、壁板(6)は、平板であっても良いし、波板であっても良いし、溝板であっても良い。壁板(6)が溝板である場合には、溝板の溝は、例えば、水平に延びていても良いし、垂直に延びても良いし、対角線上に延びていても良い。また、壁板(6)はその全体に亘って肉厚が均一に設定されたものであっても良いし、肉厚が不均一に設定されたもの、例えばテーパ材からなるものであっても良い。壁板(6)がテーパ材からなる場合には、壁板(6)として、壁板の中央ほど肉厚が薄くなるように設定されたものが例示される。また、壁板(6)に穴が開いていても良い。 In the present invention, the wall plate (6) may be a flat plate, a corrugated plate, or a groove plate. When the wall plate (6) is a groove plate, the grooves of the groove plate may, for example, extend horizontally, extend vertically, or extend diagonally. Further, the wall plate (6) may have a uniform wall thickness over the entire wall plate, or may have a non-uniform wall thickness, for example, a taper material. good. In the case where the wall plate (6) is made of a taper material, the wall plate (6) is exemplified such that the wall plate (6) is set so that the thickness becomes thinner toward the center of the wall plate. Moreover, the wall board (6) may have a hole.
また、本発明では、壁板(6)の形状に方向性を持たせても良い。例えば、壁板(6)に溝やテーパを設けることにより、制振性能を向上させたり、振れの感受性に方向性を持たせたりすることが可能となる。 Moreover, in this invention, you may give directionality to the shape of a wall board (6). For example, by providing a groove or a taper on the wall plate (6), it becomes possible to improve the vibration damping performance or to give directionality to the vibration sensitivity.
また、本発明では、制振壁(2)を床材に適用しても良い。例えば、壁板(6)を床の枠組(床枠)の隅に設けられた火打ちの箇所に取り付けても良い。この場合であっても、本発明の効果を得ることができる。 In the present invention, the damping wall (2) may be applied to the flooring. For example, you may attach a wall board (6) to the location of the fire strike provided in the corner of the frame (floor frame) of the floor. Even in this case, the effect of the present invention can be obtained.
本発明の制振壁の制振性能について評価するため、以下に示した試験を行った。 In order to evaluate the damping performance of the damping wall of the present invention, the following tests were performed.
<実施例1〜8>
図4に示した制振壁(2)を製作した。この制振壁(2)の壁枠(3)は、2個の柱(4)(4)及び梁(5)(5)が略ロ字状に組み付けられて形成されている。そして、この壁枠(3)に壁板(6)の周縁部が固着されることにより、該壁板(6)が壁枠(3)に取り付けられている。
<Examples 1-8>
The damping wall (2) shown in FIG. 4 was produced. The wall frame (3) of the damping wall (2) is formed by assembling two pillars (4), (4) and beams (5), (5) in a substantially square shape. The wall plate (6) is attached to the wall frame (3) by fixing the peripheral portion of the wall plate (6) to the wall frame (3).
この制振壁(2)の壁枠(3)において、柱(4)及び梁(5)は、ともに、100×100mmの断面四角形状の杉材からなる。また、壁枠(3)の高さ方向の長さLは2700mm、壁枠(3)の幅Wは900mmである。 In the wall frame (3) of the damping wall (2), both the pillar (4) and the beam (5) are made of cedar having a square cross section of 100 × 100 mm. The length L of the wall frame (3) in the height direction is 2700 mm, and the width W of the wall frame (3) is 900 mm.
また、この壁板(6)の材質、厚さ、伸び、及び耐力/引張強さの値(即ち、耐力を引張強さで割った値)は、表1のとおりである。なお、壁板(6)は、いずれも、平板状のアルミニウム又はアルミニウム合金の圧延材又は押出材からなる。また、同表中の「壁板の材質」の番号は、いずれも、JISで規定されたアルミニウム合金番号である。 Table 1 shows the material, thickness, elongation, and yield strength / tensile strength values (that is, the value obtained by dividing the yield strength by the tensile strength) of the wall plate (6). The wall plate (6) is made of a rolled material or extruded material of flat aluminum or aluminum alloy. In addition, the numbers of “material of wall plate” in the table are all aluminum alloy numbers defined by JIS.
この制振壁(2)において、壁板(6)の壁枠(3)への取付け方法は、図6(a)、図7(a)及び図8(a)で示した種類の方法を採用した。 In this damping wall (2), the wall plate (6) is attached to the wall frame (3) by the method shown in FIGS. 6 (a), 7 (a) and 8 (a). Adopted.
図6(a)では、壁板(6)の周縁部が壁枠(3)の前面に重ね合わされた状態で、該壁板(6)の周縁部が釘(7)によって壁枠(3)に固着されることにより、壁板(6)が壁枠(3)に取り付けられている(図6(b)参照。)。釘(7)のピッチは50mmである。 In FIG. 6A, the peripheral edge of the wall plate (6) is overlapped with the front surface of the wall frame (3), and the peripheral edge of the wall plate (6) is nailed by the nail (7). The wall plate (6) is attached to the wall frame (3) (see FIG. 6B). The pitch of the nails (7) is 50 mm.
図7(a)では、壁板(6)の周縁部が壁枠(3)の前面に重ね合わされた状態で、該壁板(6)の周縁部が接着剤によって壁枠(3)に固着されることにより、壁板(6)が壁枠(3)に取り付けられている(図7(b)参照。)。同図において、(8)は、接着剤による壁板(6)の接着部である。 In FIG. 7A, the peripheral edge of the wall plate (6) is fixed to the wall frame (3) with an adhesive in a state where the peripheral edge of the wall plate (6) is superimposed on the front surface of the wall frame (3). By doing so, the wall board (6) is attached to the wall frame (3) (refer FIG.7 (b)). In the same figure, (8) is the adhesion part of the wall board (6) by an adhesive agent.
図8(a)では、壁板(6)の周縁部が壁枠(3)の内側に向いた面に重ね合わされた状態で、該壁板(6)の周縁部が接着剤によって壁枠(3)に固着されることにより、壁板(6)が壁枠(3)に取り付けられている(図8(b)参照。)。この壁板(6)の壁枠(3)への取付け構造について詳述すると、次のとおりである。すなわち、壁板(6)の周縁部が直角に折り曲げられるとともに、この折曲げ部が壁枠(3)の内側に向いた面に重ね合わされ、この重合せ状態で、壁板(6)の折曲げ部が接着剤によって壁枠(3)に固着されることにより、壁板(6)が壁枠(3)に取り付けられている。図8(c)において、(8)は、接着剤による壁板(6)の接着部である。 In Fig.8 (a), the peripheral part of the wall board (6) is overlapped with the surface facing the inner side of the wall frame (3), and the peripheral part of the wall board (6) is attached to the wall frame ( By fixing to 3), the wall board (6) is attached to the wall frame (3) (refer FIG.8 (b)). The attachment structure of the wall plate (6) to the wall frame (3) will be described in detail as follows. That is, the peripheral portion of the wall plate (6) is bent at a right angle, and the bent portion is overlapped with the surface facing the inner side of the wall frame (3), and in this superposed state, the wall plate (6) is folded. The wall plate (6) is attached to the wall frame (3) by fixing the bent portion to the wall frame (3) with an adhesive. In FIG.8 (c), (8) is the adhesion part of the wall board (6) by an adhesive agent.
<比較例>
図4に示した上記実施例の制振壁(2)の壁板(6)を壁枠(3)に取り付けないで、すなわち壁枠(3)だけを製作した。
<Comparative example>
The wall plate (6) of the damping wall (2) of the above embodiment shown in FIG. 4 was not attached to the wall frame (3), that is, only the wall frame (3) was produced.
以上の実施例の制振壁と比較例の制振壁について、図5に示すように面内剪断試験を行い、制振性能を評価した。同図において、Pは荷重、dは変形量、γは変形角(=d/L)である。なお、Lは、上述したように壁枠(3)の高さ方向の長さである。この評価結果を表1に示す。また、実施例の制振壁(2)についての荷重−変形角曲線の一例を図9に示す。 With respect to the damping wall of the above example and the damping wall of the comparative example, an in-plane shear test was performed as shown in FIG. 5 to evaluate the damping performance. In the figure, P is a load, d is a deformation amount, and γ is a deformation angle (= d / L). Note that L is the length of the wall frame (3) in the height direction as described above. The evaluation results are shown in Table 1. Moreover, an example of the load-deformation angle curve about the damping wall (2) of an Example is shown in FIG.
同表に示すように、実施例の制振壁(2)の破壊荷重及び破壊変形角は、いずれも、比較例の制振壁のそれに比べて大きく、すなわち実施例の制振壁(2)は外力のエネルギーの吸収量が大きい。したがって、実施例の制振壁(2)は優れた制振性能を発揮し得ることを確認し得た。 As shown in the table, the breaking load and the breaking deformation angle of the damping wall (2) of the example are both larger than that of the damping wall of the comparative example, that is, the damping wall (2) of the example. Has a large amount of external energy absorption. Therefore, it was confirmed that the damping wall (2) of the example can exhibit excellent damping performance.
本発明に係る制振壁は、木造建築物の制振壁として利用可能である。 The damping wall according to the present invention can be used as a damping wall for a wooden building.
本発明に係る壁板は、木造建築物の制振壁に用いられる壁板として利用可能である。 The wall board which concerns on this invention can be utilized as a wall board used for the damping wall of a wooden building.
1:木造建築物
2:制振壁
3:壁枠
4:柱(縦材)
5:梁(横材)
6:制振壁板
7:釘
8:接着部
1: Wooden building 2: Damping wall 3: Wall frame 4: Pillar (vertical)
5: Beam (cross member)
6: Damping wall plate 7: Nail 8: Bonded part
Claims (11)
該壁板が、その周縁部を木質の壁枠に固着されて取り付けられていることを特徴とする木造建築物の制振壁。 Aluminum or aluminum alloy plate is used as the damping wall plate,
A damping wall for a wooden building, wherein the wall plate is attached with its peripheral edge fixed to a wooden wall frame.
板状のアルミニウム又はアルミニウム合金材からなることを特徴とする木造建築物の制振壁用壁板。 A wall plate for a damping wall of a wooden building, which is attached to a wooden wall frame with its peripheral edge fixed.
A wall plate for a damping wall of a wooden building, comprising a plate-like aluminum or aluminum alloy material.
Priority Applications (1)
| Application Number | Priority Date | Filing Date | Title |
|---|---|---|---|
| JP2004268482A JP2005113676A (en) | 2003-09-16 | 2004-09-15 | Vibration control wall of wooden building, wooden building and wall plate for vibration control wall |
Applications Claiming Priority (2)
| Application Number | Priority Date | Filing Date | Title |
|---|---|---|---|
| JP2003323272 | 2003-09-16 | ||
| JP2004268482A JP2005113676A (en) | 2003-09-16 | 2004-09-15 | Vibration control wall of wooden building, wooden building and wall plate for vibration control wall |
Publications (1)
| Publication Number | Publication Date |
|---|---|
| JP2005113676A true JP2005113676A (en) | 2005-04-28 |
Family
ID=34554458
Family Applications (1)
| Application Number | Title | Priority Date | Filing Date |
|---|---|---|---|
| JP2004268482A Abandoned JP2005113676A (en) | 2003-09-16 | 2004-09-15 | Vibration control wall of wooden building, wooden building and wall plate for vibration control wall |
Country Status (1)
| Country | Link |
|---|---|
| JP (1) | JP2005113676A (en) |
Cited By (1)
| Publication number | Priority date | Publication date | Assignee | Title |
|---|---|---|---|---|
| CN112523453A (en) * | 2020-12-17 | 2021-03-19 | 南南铝工程有限责任公司 | Aluminum alloy archaizing building structure |
-
2004
- 2004-09-15 JP JP2004268482A patent/JP2005113676A/en not_active Abandoned
Cited By (2)
| Publication number | Priority date | Publication date | Assignee | Title |
|---|---|---|---|---|
| CN112523453A (en) * | 2020-12-17 | 2021-03-19 | 南南铝工程有限责任公司 | Aluminum alloy archaizing building structure |
| CN112523453B (en) * | 2020-12-17 | 2022-05-03 | 南南铝工程有限责任公司 | Aluminum alloy archaize building structure |
Similar Documents
| Publication | Publication Date | Title |
|---|---|---|
| JP2019196634A (en) | Reinforcement member for wooden frame | |
| JP2012149464A (en) | Rigid junction structure of modified column and beam of laminated lumber | |
| JPWO2019203148A1 (en) | Bearing wall structure and bearing wall construction method for wooden structures | |
| JP2008308820A (en) | Bearing wall structure of conventional timber framed wooden buildings | |
| JP4655208B2 (en) | Bearing wall | |
| JP4413239B2 (en) | building | |
| JP2005113676A (en) | Vibration control wall of wooden building, wooden building and wall plate for vibration control wall | |
| JP2011157728A (en) | Damper and wood construction using the same | |
| JP5762236B2 (en) | Building load-bearing panels, and buildings and seismic reinforcement methods using the same | |
| JP2009091769A (en) | Connecting structure of foundation or beam and column | |
| JP2013060803A (en) | Earthquake-resistant hardware and earthquake-resistant structure using the same | |
| JP6784381B2 (en) | Composite material and metal plate used for it | |
| JP3126116U (en) | Load-bearing wall panels | |
| JP3962647B2 (en) | Wall structure | |
| JP2013209811A (en) | Bearing wall structure | |
| JP4401808B2 (en) | Beam reinforcement structure | |
| JP4279846B2 (en) | Reinforcement structure of wooden frame building | |
| JP6802086B2 (en) | Bearing wall and its construction method | |
| JP5268738B2 (en) | Building wall structure and building wall construction method | |
| JP2019214923A (en) | Bearing wall and its construction method | |
| JP7783474B2 (en) | Wooden structural shear wall, construction method for wooden structural shear wall, method for increasing the wall coefficient of wooden structural shear wall, and gypsum-based shear surface material | |
| JPH09125740A (en) | Earthquake-resisting wall | |
| JP7285649B2 (en) | roof structure | |
| JP2019214878A (en) | Bearing wall and construction method thereof | |
| JP3234545U (en) | A joining method that achieves both initial rigidity and toughness of the wood joint using split reinforcement technology using continuous fibers of the main wooden structural members. |
Legal Events
| Date | Code | Title | Description |
|---|---|---|---|
| A621 | Written request for application examination |
Free format text: JAPANESE INTERMEDIATE CODE: A621 Effective date: 20070726 |
|
| A762 | Written abandonment of application |
Free format text: JAPANESE INTERMEDIATE CODE: A762 Effective date: 20090318 |
