JP2005074817A - 接着剤を使用しない無垢木材集成パネル及びこのパネルに使用する小幅板 - Google Patents
接着剤を使用しない無垢木材集成パネル及びこのパネルに使用する小幅板 Download PDFInfo
- Publication number
- JP2005074817A JP2005074817A JP2003308192A JP2003308192A JP2005074817A JP 2005074817 A JP2005074817 A JP 2005074817A JP 2003308192 A JP2003308192 A JP 2003308192A JP 2003308192 A JP2003308192 A JP 2003308192A JP 2005074817 A JP2005074817 A JP 2005074817A
- Authority
- JP
- Japan
- Prior art keywords
- narrow
- narrow plate
- concave
- plate
- internal structure
- Prior art date
- Legal status (The legal status is an assumption and is not a legal conclusion. Google has not performed a legal analysis and makes no representation as to the accuracy of the status listed.)
- Pending
Links
Images
Landscapes
- Panels For Use In Building Construction (AREA)
Abstract
【課題】 同じ厚さのパネルであれば、より高い強度を発揮すると共にパネルの面積も大きく広げることができ、より多くの用途に適応できる新規な接着剤を使用しない無垢木材集成パネル及びこの無垢木材集成パネルに使用する小幅板を提供する。
【解決手段】 小幅板1の表裏面に、一辺が小幅板の幅寸法と同一の寸法からなる正方形形状の凹凸部2,3を有し、この凹凸部2,3を、小幅板1の長手方向に交互に形成して構成した凹凸部2,3を有する内部構造用小幅板1を多数設け、複数の内部構造用小幅板1をそれぞれの凹凸部2,3の位置を交互にずらせて横並びに並設し、同じく、複数の内部構造用小幅板1を上記横並びに並設した小幅板1に直交させて重ね、それぞれの凹凸部を2,3噛み合わせて二層構造とし、少なくともこの二層構造を含んでいるものである。
【選択図】 図7
Description
本発明は、有害物質を含まない、例えば住宅建築に有効活用できる接着剤を使用しない無垢木材集成パネル及びこの無垢木材集成パネルに使用する小幅板に関する。
山の森林はダムの役割をしている。そこで山が荒れると水源維持ができなくなる。即ち、山林は人手をかけて管理しないと、風圧、積雪によって倒木に至り、有効に保存されない。特に人工林は、間伐、下草刈、枝打(年間6〜7回)の手間をかけないと有効に保存されない。ところが、現状では山林を皆伐し、山出しを行っても、人件費もでないから人手をかけて管理していない山林が多い。そこで、国がとりあえず山を守るため、皆伐の予算を出して木を切っている。しかし現状ではこの皆伐材、間伐材が使用されることなく無駄になっている。
一方、近年では日本の木材需要は、地球環境を破壊しながら輸入材に依存している。林野庁の集計では、国産材の自給率は平均20%を切る状態である。
わが国でも地球環境のため、森林保全のため、皆伐、間伐を行い、資源の無駄使いが行われている。
建築環境資材としての木材は、30年、50年、100年経たないと使えないので、本来大事に使わなければならないはずである。
国産材の振興を図り、決して無駄にすることなく、森林資源の木材を住宅建築に有効に活用すること、そして、人工林と自然林のバランスを取りつつ、地球環境を維持することが、求められている。
わが国でも地球環境のため、森林保全のため、皆伐、間伐を行い、資源の無駄使いが行われている。
建築環境資材としての木材は、30年、50年、100年経たないと使えないので、本来大事に使わなければならないはずである。
国産材の振興を図り、決して無駄にすることなく、森林資源の木材を住宅建築に有効に活用すること、そして、人工林と自然林のバランスを取りつつ、地球環境を維持することが、求められている。
そこで、フリーサイズ、フリー形状、フリー断面の無垢木材パネル(集成単体材)は、厚さ、形状、面積の制約を受けず、無垢木材パネルの組立てが可能であり、ホルムアルデヒド等の有害物質を含まない、地球環境、地域環境、住人に負荷をかけないエコロジー建築に必要な無垢フリーサイズパネルの開発が求められており、既に提案されている(例えば特許文献1)。
特表2002−520198号公報
上記無垢フリーサイズパネルは、地域木材使用、輸送コスト削減、CO2排出量の低減ができ、断熱、調湿、吸音、遮音効果に優れ、省エネルギーが図れ、製造、輸送、廃棄、人工材料等取り換え等による環境負荷の低減も図れる。
しかも、葉干し乾燥した木材を柾目板状に製材し野積み乾燥後、含水率15%程度の板材を加工することが板の反り狂いを押え、強度の増した良質の部材提供が可能であり、部材の標準化と建築の生産管理、品質管理、在庫管理も可能となり好ましい。
さらに、人に対して安全、健康、癒し、やすらぎの付加価値を提供し、建物の価値評価を増すことができる。
即ち、このフリーサイズパネルを使用した木造壁式構造は、耐震的な建物を容易に造ることができ、部屋を構成している間仕切壁、天井、2階床板部分を容易に変えることができ、家族構成、ライフスタイルの変化に容易に対応できる。
また、このフリーサイズパネルは軸組構造、木質壁式構造、パネル工法、鉄骨RC造り建物にも使用可能であり付加価値効果大である。
しかも、葉干し乾燥した木材を柾目板状に製材し野積み乾燥後、含水率15%程度の板材を加工することが板の反り狂いを押え、強度の増した良質の部材提供が可能であり、部材の標準化と建築の生産管理、品質管理、在庫管理も可能となり好ましい。
さらに、人に対して安全、健康、癒し、やすらぎの付加価値を提供し、建物の価値評価を増すことができる。
即ち、このフリーサイズパネルを使用した木造壁式構造は、耐震的な建物を容易に造ることができ、部屋を構成している間仕切壁、天井、2階床板部分を容易に変えることができ、家族構成、ライフスタイルの変化に容易に対応できる。
また、このフリーサイズパネルは軸組構造、木質壁式構造、パネル工法、鉄骨RC造り建物にも使用可能であり付加価値効果大である。
上記特許文献1の先行例は、上記した通り、人的環境、地球環境にきわめて好ましい。
本発明は、この公知の無垢木材集成パネルの有効性はそのまま保ち、同じ厚さのパネルであれば、より高い強度を発揮すると共にパネルの面積も大きく広げることができ、より多くの用途に適応できる新規な接着剤を使用しない無垢木材集成パネル及びこの無垢木材集成パネルに使用する小幅板を提供する。
本発明は、この公知の無垢木材集成パネルの有効性はそのまま保ち、同じ厚さのパネルであれば、より高い強度を発揮すると共にパネルの面積も大きく広げることができ、より多くの用途に適応できる新規な接着剤を使用しない無垢木材集成パネル及びこの無垢木材集成パネルに使用する小幅板を提供する。
そのために、本発明接着剤を使用しない無垢木材集成パネルは、小幅板の表裏面に、一辺が小幅板の幅寸法と同一の寸法からなる正方形形状の凹凸部を有し、この凹凸部を、小幅板の長手方向に交互に形成して構成した凹凸部を有する内部構造用小幅板を多数設け、複数の内部構造用小幅板をそれぞれの凹凸部の位置を交互にずらせて横並びに並設し、同じく、複数の内部構造用小幅板を上記横並びに並設した小幅板に直交させて重ね、それぞれの凹凸部を噛み合わせて二層構造とし、少なくともこの二層構造を含んでいるものである。
また、本発明接着剤を使用しない無垢木材集成パネルは、小幅板の表裏面に、小幅板の長手方向に小幅板の幅寸法より僅かに大きい寸法からなる凸部と、小幅板の幅寸法より僅かに小さい寸法からなる凹部を小幅板の幅全部を占めて形成し、それぞれの上記凸部の底部が狭くなるよう、又凹部の底部が広くなるよう、上記凸部の片側辺を斜めに傾斜する傾斜部を形成して、凸部と凹部の底部の寸法を小幅板の幅寸法と同一とし、さらに上記凸部の小幅板片側部にも同様の斜めに傾斜する傾斜部を形成した凹凸部を有し、この凹凸部を、小幅板の長手方向に交互に形成して構成した、凹凸部を有する内部構造用小幅板を多数設け、複数の内部構造用小幅板を同一方向に指向してそれぞれの凹凸部の位置を交互にずらせて横並びに並設し、同じく複数の内部構造用小幅板を上記横並びに並設した小幅板に直交させて重ね、それぞれの凹凸部を噛み合わせ係合させて二層構造とし、少なくともこの二層構造を含んでいるものである。
さらに、本発明接着剤を使用しない無垢木材集成パネルは、表面に、小幅板の長手方向に小幅板の幅寸法の2倍の寸法より僅かに大きい寸法からなる凸部と、小幅板の幅寸法の2倍の寸法より僅かに小さい寸法からなる凹部を小幅板の幅全部を占めて形成し、それぞれの上記凸部の底部が狭くなるよう、又凹部の底部が広くなるよう、上記凹部の小幅板長手方向両側辺に斜めに傾斜する傾斜部を形成して、凸部と凹部の底部の寸法を小幅板の幅寸法の2倍の寸法とする一方、小幅板の裏面の上記表面の凹部と対応する位置に、小幅板の幅寸法の2倍の寸法からなる凸部を形成し、その片側辺に上記傾斜部と同様の傾斜部を形成し、反対側に角を削除した形状の傾斜部を形成して、表裏に凹凸部を有する内部構造用小幅板を設け、この内部構造用小幅板を、上記裏面の凸部の片側辺の傾斜部が外側になるよう一対の小幅板を組んで、一対からなる内部構造用小幅板の組とし、この一対からなる内部構造用小幅板の組を多数設け、複数の内部構造用小幅板の組を同一方向に指向してそれぞれの凹凸部の位置をずらせて横並びに並設し、同じく複数の内部構造用小幅板の組を上記横並びに並設した小幅板に直交させて重ね、それぞれを凹凸部を噛み合わせ係合させて二層構造とし、少なくともこの二層構造を含んでいるものである。
そして、本発明接着剤を使用しない無垢木材集成パネルは、二層構造の片面又は両面に、さらに複数の内部構造用小幅板を直交して重ねて相互の凹凸部を噛み合わせて複層構造とし、この複層構造を含んでいるものである。
上記凹凸部を有する内部構造用小幅板の表裏の同一位置に凸部と凹部を配置してあるものである。
また、上記凹凸部を有する内部構造用小幅板の表裏の同一位置に凸部同士と凹部同士を配置してあってもよい。
さらに、上記凹凸部の配置が同一形状からなる多数の小幅板を交互に直交して重ねて構成してある。
また、上記凹凸部の配置が異なる形状からなる多数の小幅板を交互に直交して重ねて構成してあってもよい。
上記凹凸部を有する内部構造用小幅板の表裏の同一位置に凸部と凹部を配置してあるものである。
また、上記凹凸部を有する内部構造用小幅板の表裏の同一位置に凸部同士と凹部同士を配置してあってもよい。
さらに、上記凹凸部の配置が同一形状からなる多数の小幅板を交互に直交して重ねて構成してある。
また、上記凹凸部の配置が異なる形状からなる多数の小幅板を交互に直交して重ねて構成してあってもよい。
また、本発明接着剤を使用しない無垢木材集成パネルは、表面を平面とし、裏面に上記同一寸法の正方形状の凹凸部を長手方向に交互に形成した表面仕上げ用小幅板を設け、一枚の内部構造用小幅板又は上記二層構造もしくは複層構造の表裏面に、上記表面仕上げ用小幅板をそれぞれの凹凸部を噛み合わせて構成してある。
そして、本発明接着剤を使用しない無垢木材集成パネルは、表裏面に、上記正方形状の凹凸部と同一寸法の凸部をその一辺が小幅板の側辺と45度傾斜させた位置で小幅板の長手方向に連続して設けた斜め配置用小幅板を設け、この斜め配置用小幅板を上記一枚又は複層の内部構造用小幅板に45度傾斜させて配置し、相互の凹凸部を噛み合わせて構成してある。
さらに、本発明接着剤を使用しない無垢木材集成パネルは、上記凹凸部を噛み合わせて構成した二層構造又は複層構造に、込栓、だぼ、木釘、ネジ釘等を打込み固定してあってもよい。
そして、本発明接着剤を使用しない無垢木材集成パネルは、表裏面に、上記正方形状の凹凸部と同一寸法の凸部をその一辺が小幅板の側辺と45度傾斜させた位置で小幅板の長手方向に連続して設けた斜め配置用小幅板を設け、この斜め配置用小幅板を上記一枚又は複層の内部構造用小幅板に45度傾斜させて配置し、相互の凹凸部を噛み合わせて構成してある。
さらに、本発明接着剤を使用しない無垢木材集成パネルは、上記凹凸部を噛み合わせて構成した二層構造又は複層構造に、込栓、だぼ、木釘、ネジ釘等を打込み固定してあってもよい。
次に、上記接着剤を使用しない無垢木材集成パネルに使用する本発明小幅板は、表裏面に一辺が小幅板の幅寸法と同一の寸法からなる正方形形状の凹凸部を有し、この凹凸部を、小幅板の長手方向に交互に形成して構成してあるものである。
また、本発明小幅板は、表裏面に、小幅板の長手方向に小幅板の幅寸法より僅かに大きい寸法からなる凸部と、小幅板の幅寸法より僅かに小さい寸法からなる凹部を小幅板の幅全部を占めて形成し、それぞれの上記凸部の底部が狭くなるよう、又凹部の底部が広くなるよう、上記凸部の片側辺を斜めに傾斜する傾斜部を形成して凸部と凹部の底部の寸法を小幅板の幅寸法と同一とし、さらに上記凸部の小幅板片側部にも同様の斜めに傾斜する傾斜部を形成した凹凸部を有し、この凹凸部を、小幅板の長手方向に交互に形成して構成してあるものである。
さらに、本発明小幅板は、表面に、小幅板の長手方向に小幅板の幅寸法の2倍の寸法より僅かに大きい寸法からなる凸部と、小幅板の幅寸法の2倍の寸法より僅かに小さい寸法からなる凹部を小幅板の幅全部を占めて形成し、それぞれの上記凸部の底部が狭くなるよう、又凹部の底部が広くなるよう、上記凹部の小幅板長手方向両側辺に斜めに傾斜する傾斜部を形成して凸部と凹部の底部の寸法を小幅板の幅寸法の2倍の寸法とする一方、小幅板の裏面の上記表面の凹部と対応する位置に、小幅板の幅寸法の2倍の寸法からなる凸部を形成し、その片側辺に上記傾斜部と同様の傾斜部を形成し、反対側に角を削除した形状の傾斜部を形成してあるものである。
そして、本発明小幅板は、表裏の同一位置に凸部と凹部を配置してあるものである。
また、本発明小幅板は、表裏の同一位置に凸部同士と凹部同士を配置してあってもよい。
また、本発明小幅板は、表裏の同一位置に凸部同士と凹部同士を配置してあってもよい。
本発明接着剤を使用しない無垢木材集成パネルは、小幅板の表裏面に、一辺が小幅板の幅寸法と同一の寸法からなる正方形形状の凹凸部を有し、この凹凸部を、小幅板の長手方向に交互に形成して構成した凹凸部を有する内部構造用小幅板を多数設け、複数の内部構造用小幅板をそれぞれの凹凸部の位置を交互にずらせて横並びに並設し、同じく複数の内部構造用小幅板を上記横並びに並設した小幅板に直交させて重ね、それぞれの凹凸部を噛み合わせて二層構造とし、少なくともこの二層構造を含んでいるものであるから、上記小幅板の凹凸部の噛み合わせにより、パネルの平面方向に直交する方向の摩擦接合力が増し、だぼ、木釘等の結合具を用いなくとも、無垢木材集成パネルを提供できる効果がある。 また、上記凹凸部の噛み合わせ構造により、凹凸部のない小幅板の集成パネルより、強度の大きい無垢木材集成パネルを提供できる効果がある。
さらに、小幅板を延長接合することにより、パネルを平面上縦横方向に自由に延長できる効果も有する。
さらに、小幅板を延長接合することにより、パネルを平面上縦横方向に自由に延長できる効果も有する。
また、本発明接着剤を使用しない無垢木材集成パネルは、小幅板の表裏面に、小幅板の長手方向に小幅板の幅寸法より僅かに大きい寸法からなる凸部と、小幅板の幅寸法より僅かに小さい寸法からなる凹部を小幅板の幅全部を占めて形成し、それぞれの上記凸部の底部が狭くなるよう、又凹部の底部が広くなるよう、上記凸部の片側辺を斜めに傾斜する傾斜部を形成して凸部と凹部の底部の寸法を小幅板の幅寸法と同一とし、さらに上記凸部の小幅板片側部にも同様の斜めに傾斜する傾斜部を形成した凹凸部を有し、この凹凸部を、小幅板の長手方向に交互に形成して構成した、凹凸部を有する内部構造用小幅板を多数設け、複数の内部構造用小幅板を同一方向に指向してそれぞれの凹凸部の位置を交互にずらせて横並びに並設し、同じく複数の内部構造用小幅板を上記横並びに並設した小幅板に直交させて重ね、それぞれの凹凸部を噛み合わせ係合させて二層構造とし、少なくともこの二層構造を含んでいるものであるから、傾斜部を有する凹凸部の噛み合わせ係合構造により、パネルの一体化結合がより大きくなり、だぼ、木釘等の結合具を不要とし、より強度の高い無垢木材集成パネルを提供できる効果がある。
さらに、本発明接着剤を使用しない無垢木材集成パネルは、表面に、小幅板の長手方向に小幅板の幅寸法の2倍の寸法より僅かに大きい寸法からなる凸部と、小幅板の幅寸法の2倍の寸法より僅かに小さい寸法からなる凹部を小幅板の幅全部を占めて形成し、それぞれの上記凸部の底部が狭くなるよう、又凹部の底部が広くなるよう、上記凹部の小幅板長手方向両側辺に斜めに傾斜する傾斜部を形成して凸部と凹部の底部の寸法を小幅板の幅寸法の2倍の寸法とする一方、小幅板の裏面の上記表面の凹部と対応する位置に、小幅板の幅寸法の2倍の寸法からなる凸部を形成し、その片側辺に上記傾斜部と同様の傾斜部を形成し、反対側に角を削除した形状の傾斜部を形成して、表裏に凹凸部を有する内部構造用小幅板を設け、この内部構造用小幅板を、上記裏面の凸部の片側辺の傾斜部が外側になるよう一対の小幅板を組んで、一対からなる内部構造用小幅板の組とし、この一対からなる内部構造用小幅板の組を多数設け、複数の内部構造用小幅板の組を同一方向に指向してそれぞれの凹凸部の位置をずらせて横並びに並設し、同じく複数の内部構造用小幅板の組を上記横並びに並設した小幅板に直交させて重ね、それぞれを凹凸部を噛み合わせ係合させて二層構造とし、少なくともこの二層構造を含んでいるものであるから、一対の内部構造用小幅板を組として構成し、パネルの組み込み作業を容易とする効果がある。
また、本発明接着剤を使用しない無垢木材集成パネルは、表面を平面とし、裏面に上記同一寸法の正方形状の凹凸部を長手方向に交互に形成した表面仕上げ用小幅板を設け、一枚の内部構造用小幅板又は上記二層構造もしくは複層構造の表裏面に、上記表面仕上げ用小幅板をそれぞれの凹凸部を噛み合わせて構成してあるから、表面が平面である無垢木材集成パネルを提供できる効果がある。
そして、本発明接着剤を使用しない無垢木材集成パネルは、表裏面に、上記正方形状の
凹凸部と同一寸法の凸部をその一辺が小幅板の側辺と45度傾斜させた位置で小幅板の長手方向に連続して設けた斜め配置用小幅板を設け、この斜め配置用小幅板を上記一枚または複層の内部構造用小幅板に45度傾斜させて配置し、相互の凹凸部を噛み合わせて構成してあるから、小幅板を直交構成にするだけでなく、45度斜めに配置して、より郷土の大きい無垢木材集成パネルを提供できる効果がある。
凹凸部と同一寸法の凸部をその一辺が小幅板の側辺と45度傾斜させた位置で小幅板の長手方向に連続して設けた斜め配置用小幅板を設け、この斜め配置用小幅板を上記一枚または複層の内部構造用小幅板に45度傾斜させて配置し、相互の凹凸部を噛み合わせて構成してあるから、小幅板を直交構成にするだけでなく、45度斜めに配置して、より郷土の大きい無垢木材集成パネルを提供できる効果がある。
次に、上記接着剤を使用しない無垢木材集成パネルに使用する本発明小幅板は、表裏面に一辺が小幅板の幅寸法と同一の寸法からなる正方形形状の凹凸部を有し、この凹凸部を、小幅板の長手方向に交互に形成して構成してあるものであるから、この小幅板を使用して、強度の大きい無垢木材集成パネルを生産提供できる効果がある。
また、本発明小幅板は、表裏面に、小幅板の長手方向に小幅板の幅寸法より僅かに大きい寸法からなる凸部と、小幅板の幅寸法より僅かに小さい寸法からなる凹部を小幅板の幅全部を占めて形成し、それぞれの上記凸部の底部が狭くなるよう、又凹部の底部が広くなるよう、上記凸部の片側辺を斜めに傾斜する傾斜部を形成して凸部と凹部の底部の寸法を小幅板の幅寸法と同一とし、さらに上記凸部の小幅板片側部にも同様の斜めに傾斜する傾斜部を形成した凹凸部を有し、この凹凸部を、小幅板の長手方向に交互に形成して構成してあるものであるから、一体化結合がより大きく、だぼ、木釘等結合具を不要とし、より強度の大きい無垢木材集成パネルを生産提供できる効果がある。
さらに、本発明小幅板は、表面に、小幅板の長手方向に小幅板の幅寸法の2倍の寸法より僅かに大きい寸法からなる凸部と、小幅板の幅寸法の2倍の寸法より僅かに小さい寸法からなる凹部を小幅板の幅全部を占めて形成し、それぞれの上記凸部の底部が狭くなるよう、又凹部の底部が広くなるよう、上記凹部の小幅板長手方向両側辺に斜めに傾斜する傾斜部を形成して凸部と凹部の底部の寸法を小幅板の幅寸法の2倍の寸法とする一方、小幅板の裏面の上記表面の凹部と対応する位置に、小幅板の幅寸法の2倍の寸法からなる凸部を形成し、その片側辺に上記傾斜部と同様の傾斜部を形成し、反対側に角を削除した形状の傾斜部を形成してあるものであるから、パネルの組み込み作業を容易とした無垢木材集成パネルを生産提供できる効果がある。
本発明の接着剤を使用しない無垢木材集成パネル及びこの無垢木材集成パネルに使用する小幅板の詳細について、以下に示す好ましいいくつかの実施例により説明する。
本発明の接着剤を使用しない無垢木材集成パネル及びこの無垢木材集成パネルに使用する小幅板の好ましい基本的な第1実施例を図1乃至図7に示してある。
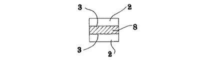
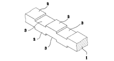
図中符号1が内部構造用の小幅板で、その表裏面に一辺が小幅板1の幅寸法と同一の寸法からなる正方形形状の凸部2と凹部3とを形成してある。この凸部2と凹部3とは、小幅板1の長手方向に交互に形成して構成してあり、小幅板1の表裏の同一位置に凸部2と凹部3とを配置して構成してある。
図5には表面仕上げ用の小幅板4を示してあり、表面を平面とし、裏面に上記内部構造用小幅板1の凸部2及び凹部3と同様の凸部2と凹部3を小幅板4の長手方向に交互に形成してある。
図中符号1が内部構造用の小幅板で、その表裏面に一辺が小幅板1の幅寸法と同一の寸法からなる正方形形状の凸部2と凹部3とを形成してある。この凸部2と凹部3とは、小幅板1の長手方向に交互に形成して構成してあり、小幅板1の表裏の同一位置に凸部2と凹部3とを配置して構成してある。
図5には表面仕上げ用の小幅板4を示してあり、表面を平面とし、裏面に上記内部構造用小幅板1の凸部2及び凹部3と同様の凸部2と凹部3を小幅板4の長手方向に交互に形成してある。
本発明の接着剤を使用しない無垢木材集成パネルでは、上記内部構造用小幅板1を多数設け、複数の内部構造用小幅板1を、それぞれの凸部2と凹部3を交互にずらせて図6に示すように横並びに並設し、同じく複数の内部構造用小幅板1を、上記横並びに並設した小幅板1に直交して重ね、それぞれの凸部2と凹部3とを噛み合わせて二層構造とし、少なくともこの二層構造又は三層構造以上の複層構造としてあり、さらに、この二層構造又は三層構造以上の複層構造の表裏面に、表面仕上げ用小幅板4をその凸部2と内部構造用小幅板1の凹部3と、また表面仕上げ用小幅板4の凹部3と内部構造用小幅板1の凸部2とを噛み合わせて無垢木材集成パネルを構成してある(図6、7図示)
もっとも、単に一枚の内部構造用小幅板1の表裏面に表面仕上げ用小幅板4を重ね、凹凸部を噛み合わせて無垢木材集成パネルを構成してもよい。
もっとも、単に一枚の内部構造用小幅板1の表裏面に表面仕上げ用小幅板4を重ね、凹凸部を噛み合わせて無垢木材集成パネルを構成してもよい。
上記好ましい基本的な第1実施例では、内部構造用小幅板1,1同士の凸部2と凹部3が噛み合っており、また、内部構造用小幅板1と表面仕上げ用小幅板4の凸部2と凹部3とが噛み合っており、これら凸部2と凹部3とのパネルの平面と直交する二面が摩擦接合し、この摩擦接合によって結合力が増し、パネルの一体化が強くなり、パネルの一体化のためのだぼ、木釘が必要ではないが、よりパネルの一体化を強化するために、だぼ、木釘等の結合具5を打込むことが効果的である。
次に、本発明の接着剤を使用しない無垢木材集成パネル及びこの無垢木材集成パネルに使用する小幅板の好ましい第2実施例を図8乃至図14に示してある。
この第2実施例は、第1実施例とほとんど相違なく、従って、同じ符号を付して示してある。そして、この第2実施例が第1実施例と相違するところは、内部構造用小幅板1の凸部2と凹部3の配置が相違するだけで、この第2実施例では、小幅板1の表裏の同一位置に凸部2同士及び凹部3同士を配置してあることで、その他は第1実施例と全く同様である。
この第2実施例は、第1実施例とほとんど相違なく、従って、同じ符号を付して示してある。そして、この第2実施例が第1実施例と相違するところは、内部構造用小幅板1の凸部2と凹部3の配置が相違するだけで、この第2実施例では、小幅板1の表裏の同一位置に凸部2同士及び凹部3同士を配置してあることで、その他は第1実施例と全く同様である。
図15乃至図25に本発明の接着剤を使用しない無垢木材集成パネル及びこの無垢木材集成パネルに使用する小幅板の第3実施例を示してある。
この実施例では、凹凸部の配置が異なる形状からなる多数の小幅板を交互に直交して重ねて構成してある。
即ち、第1実施例に示した内部構造用小幅板1と同様に表裏の同一位置に凸部2と凹部3を配置し、しかも、凸部2の高さ及び凹部3の深さを大きくした内部構造用小幅板7と、第2実施例に示した内部構造用小幅板1と同様に表裏の同一位置に凸部2同士と凹部3同士を配置し、その凸部2の高さと凹部3の深さを大きくした内部構造用小幅板8を多数設けてある。
そして図21乃至図23に表面用仕上げ用小幅板9を示してあり、表面を平面とし、裏面に第1実施例の凸部2及び凹部3より高さ及び深さを大きくした凸部2及び凹部3を形成してある。
この実施例では、凹凸部の配置が異なる形状からなる多数の小幅板を交互に直交して重ねて構成してある。
即ち、第1実施例に示した内部構造用小幅板1と同様に表裏の同一位置に凸部2と凹部3を配置し、しかも、凸部2の高さ及び凹部3の深さを大きくした内部構造用小幅板7と、第2実施例に示した内部構造用小幅板1と同様に表裏の同一位置に凸部2同士と凹部3同士を配置し、その凸部2の高さと凹部3の深さを大きくした内部構造用小幅板8を多数設けてある。
そして図21乃至図23に表面用仕上げ用小幅板9を示してあり、表面を平面とし、裏面に第1実施例の凸部2及び凹部3より高さ及び深さを大きくした凸部2及び凹部3を形成してある。
そして、この第3実施例では、上記内部構造用小幅板7と8を多数設け、第1実施例及び第2実施例同様、小幅板の凸部2と凹部3を交互にずらせて図24に示すように横並びに並設し、小幅板7と8とを交互に重ねてそれぞれの凸部2と凹部3を噛み合わせて二層構造又は複層構造としてある。この二層構造又は複層構造の表裏に表面仕上げ用小幅板9を重ね凹凸部を噛み合わせて組んである。
この実施例では、凸部2と凹部3とがその周囲四面で接合し、その摩擦接合強度が高く、一体化強度を高めることができる。
この実施例では、凸部2と凹部3とがその周囲四面で接合し、その摩擦接合強度が高く、一体化強度を高めることができる。
次に、図26乃至図32に斜め配置用の内部構造用小幅板11と表面仕上げ用小幅板14を使用した実施例を示してある。この斜め配置用の小幅板11は、上記第1実施例及び第2実施例の凸部2及び凹部3と同一寸法の凸部12を、その一辺が小幅板11,14の側辺と45度傾斜させた位置で、小幅板11,14の長手方向に連続して設けてある。そして、この斜め配置用の小幅板11,14を第1実施例又は第2実施例の組まれたパネルの小幅板に対して45度傾斜させて配置し、相互の凹凸部を噛み合わせて構成するものである(図32図示)。
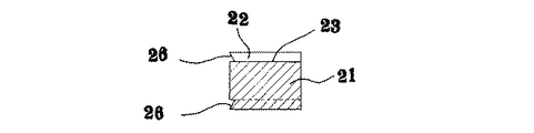
さらに図33乃至図40に、本発明の接着剤を使用しない無垢木材集成パネル及びこの無垢木材集成パネルに使用する小幅板の第5実施例を示してある。この実施例では、図中符号21が内部構造用小幅板で、この小幅板21の表裏面の長手方向に、この小幅板21の幅寸法より僅かに大きい寸法からなる凸部22と小幅板21の幅寸法より僅かに小さい寸法からなる凹部23とを小幅板の幅全部を占めて交互に形成してある。そして、この第5実施例では、小幅板21の表裏の同一位置に、凸部22と凹部23とを配置して設けてある。
そして、この実施例では、上記凸部22の底部が狭くなるよう、また、凹部23の底部が広くなるよう、上記凸部22の片側辺を斜めに傾斜するよう傾斜部25を形成して、凸部22と凹部23の底部の寸法を小幅板21の幅寸法と同一にしてある。さらに、上記凸部22の小幅板片側部にも同様の斜めに傾斜する傾斜部26を形成してある。
図37及び図38に表面仕上げ用小幅板24を示してあり、この表面仕上げ用小幅板24は、その表面を平面とし、裏面に上記凸部22及び凹部23と同様の凸部22と凹部23を設けてある。
図37及び図38に表面仕上げ用小幅板24を示してあり、この表面仕上げ用小幅板24は、その表面を平面とし、裏面に上記凸部22及び凹部23と同様の凸部22と凹部23を設けてある。
この実施例においても、上記第1及び第2実施例と同様に多数の小幅板を設け、複数の内部構造用小幅板21を同一方向に指向して、それぞれの凸部22及び凹部23の位置を交互にずらせて横並びに並設し、同じく複数の内部構造用小幅板21を上記横並びに並設した小幅板に直交させて重ね、それぞれの凸部22と凹部23を噛み合わせ係合させて二層構造又は三層以上の複層構造とする。
この際、相互の凸部22の傾斜部25,25を係合させるため、小幅板21を斜めにして位置合わせして重ねてもよいが,傾斜部と反対の垂直部を木殺しして重ね、木殺しした部分を復元させるようにしてもよい。
この際、相互の凸部22の傾斜部25,25を係合させるため、小幅板21を斜めにして位置合わせして重ねてもよいが,傾斜部と反対の垂直部を木殺しして重ね、木殺しした部分を復元させるようにしてもよい。
次に、本発明の接着剤を使用しない無垢木材集成パネル及びこの無垢木材集成パネルに使用する小幅板の第6実施例を図41乃至図48に示してある。この第6実施例では、上記第5実施例とほとんど相違がなく、従って、同じ符号を付して示してある。この第6実施例が第5実施例と相違するところは、内部構造用小幅板21の凸部22と凹部23の配置が相違するだけであり、この第6実施例では、小幅板21の表裏の同一位置に凸部22同士及び凹部23同士を配置してある。その他は第5実施例と全く同様である。
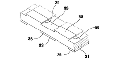
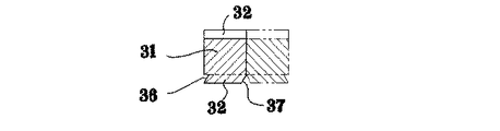
さらに、本発明の接着剤を使用しない無垢木材集成パネル及びこの無垢木材集成パネルに使用する小幅板の第7実施例を図49乃至図61に示してある。図中符号31が内部構造用小幅板で、その表面の長手方向に小幅板の幅寸法の2倍の寸法より僅かに大きい寸法からなる凸部32と,小幅板31の幅寸法の2倍の寸法より僅かに小さい寸法からなる凹部33を小幅板31の幅全部を占めて形成してある。そして、それぞれの凸部32の底部が狭くなるよう、又凹部33の底部が広くなるよう、上記凹部33の小幅板長手方向両側辺に斜めに傾斜する傾斜部35を形成して凸部32と凹部33の底部の寸法を小幅板31の幅寸法の2倍としてある。
一方、上記小幅板31の裏面の上記表面の凹部33と対応する位置に、小幅板31の幅寸法の2倍の寸法からなる凸部32を形成し、その片側辺に上記傾斜部と同様の傾斜部36を形成し、反対側の角を削除した形状の傾斜部37を形成してある。そして、図中34と38が表面仕上げ用小幅板で、いずれも片側表面を平面としてある。そして、表面仕上げ用小幅板34の反対面に上記内部構造用小幅板31の表面の凹凸部と同様の凸部32と凹部33を形成してある。一方、表面仕上げ用小幅板38の反対面には、内部構造用小幅板31の裏面の凹凸部と同様の凸部32と凹部33を形成してある。
この第7実施例を組んでパネルを構成するには、図60に示すように内部構造用小幅板31をその裏面の凸部32の片側辺の傾斜部36が外側になるよう、一対の小幅板31を組んで一対からなる内部構造用小幅板の組とし、この一対からなる内部構造用小幅板31の組を多数設け、複数の内部構造用小幅板31の組を同一方向に指向して、それぞれの凹凸部の位置をずらせて横並びに並設し、同じく複数の内部構造用小幅板31の組を上記横並びに並設した小幅板に直交させて重ね、それぞれ凸部32と凹部33とを噛み合わせ係合させて二層又は複層構造としてある。
そして、この第7実施例のパネルを組むには、図60に示すように一対からなる内部構造小幅板31,31を、その表面が拡がる方向に傾けて、裏面の凸部32の外側の傾斜部36を下層の小幅板31の凹部33の両側の傾斜部35に係合するよう位置合わせをし、小幅板31,31を垂直になるよう合体すれば、容易に組み込むことができる。
1,7,8,11,21,31 内部構造用小幅板
2,12,22,32 凸部
3,23,33 凹部
4,9,14,24,34,38 表面仕上げ用小幅板
5 結合具
25,26,35,36,38 傾斜部
2,12,22,32 凸部
3,23,33 凹部
4,9,14,24,34,38 表面仕上げ用小幅板
5 結合具
25,26,35,36,38 傾斜部
Claims (25)
- 小幅板の表裏面に、一辺が小幅板の幅寸法と同一の寸法からなる正方形形状の凹凸部を有し、この凹凸部を、小幅板の長手方向に交互に形成して構成した凹凸部を有する内部構造用小幅板を多数設け、複数の内部構造用小幅板をそれぞれの凹凸部の位置を交互にずらせて横並びに並設し、同じく複数の内部構造用小幅板を上記横並びに並設した小幅板に直交させて重ね、それぞれの凹凸部を噛み合わせて二層構造とし、少なくともこの二層構造を含んでいる、接着剤を使用しない無垢木材集成パネル。
- 上記請求項1に記載の二層構造の片面又は両面に、さらに複数の内部構造用小幅板を直交して重ねて相互の凹凸部を噛み合わせて複層構造とし、この複層構造を含んでいる、接着剤を使用しない無垢木材集成パネル。
- 上記凹凸部を有する内部構造用小幅板の表裏の同一位置に凸部と凹部を配置してある上記請求項1又は2に記載の接着剤を使用しない無垢木材集成パネル。
- 上記凹凸部を有する内部構造用小幅板の表裏の同一位置に凸部同士と凹部同士を配置してある上記請求項1又は2に記載の接着剤を使用しない無垢木材集成パネル。
- 上記請求項3又は4に記載の凹凸部の配置が同一形状からなる多数の小幅板を交互に直交して重ねて構成してある上記請求項1又は2に記載の接着剤を使用しない無垢木材集成パネル。
- 上記請求項3又は4に記載の凹凸部の配置が異なる形状からなる多数の小幅板を交互に直交して重ねて構成してある上記請求項1又は2に記載の接着剤を使用しない無垢木材集成パネル。
- 表面を平面とし、裏面に上記同一寸法の正方形状の凹凸部を長手方向に交互に形成した表面仕上げ用小幅板を設け、一枚の内部構造用小幅板又は上記請求項1又は2に記載の二層構造又は複層構造の表裏面に、上記表面仕上げ用小幅板をそれぞれの凹凸部を噛み合わせて構成した、接着剤を使用しない無垢木材集成パネル。
- 表裏面に、上記正方形状の凹凸部と同一寸法の凸部をその一辺が小幅板の側辺と45度傾斜させた位置で小幅板の長手方向に連続して設けた斜め配置用小幅板を設け、この斜め配置用小幅板を上記請求項1乃至5に記載の内部構造用小幅板に45度傾斜させて配置し、相互の凹凸部を噛み合わせて構成した上記請求項1乃至7の何れかに記載の接着剤を使用しない無垢木材集成パネル。
- 上記凹凸部を噛み合わせて構成した二層構造又は複層構造に、込栓、だぼ、木釘、ネジ釘等を打込み固定してある上記請求項1乃至9の何れかに記載の接着剤を使用しない無垢木材集成パネル。
- 小幅板の表裏面に、小幅板の長手方向に小幅板の幅寸法より僅かに大きい寸法からなる凸部と、小幅板の幅寸法より僅かに小さい寸法からなる凹部を小幅板の幅全部を占めて形成し、それぞれの上記凸部の底部が狭くなるよう、又凹部の底部が広くなるよう、上記凸部の片側辺を斜めに傾斜する傾斜部を形成して凸部と凹部の底部の寸法を小幅板の幅寸法と同一とし、さらに上記凸部の小幅板片側部にも同様の斜めに傾斜する傾斜部を形成した凹凸部を有し、この凹凸部を、小幅板の長手方向に交互に形成して構成した、凹凸部を有する内部構造用小幅板を多数設け、複数の内部構造用小幅板を同一方向に指向してそれぞれの凹凸部の位置を交互にずらせて横並びに並設し、同じく複数の内部構造用小幅板を上記横並びに並設した小幅板に直交させて重ね、それぞれの凹凸部を噛み合わせ係合させて二層構造とし、少なくともこの二層構造を含んでいる、接着剤を使用しない無垢木材集成パネル。
- 上記請求項10に記載の二層構造の片面又は両面にさらに複数の内部構造用小幅板を直交して重ねて相互の凹凸部を噛み合わせ係合させて複層構造とし、この複層構造を含んでいる、接着剤を使用しない無垢木材集成パネル。
- 上記凹凸部を有する内部構造用小幅板の表裏の同一位置に凸部と凹部を配置してある上記請求項10又は11に記載の接着剤を使用しない無垢木材集成パネル。
- 上記凹凸部を有する内部構造用小幅板の表裏の同一位置に凸部同士と凹部同士を配置してある上記請求項10又は11に記載の接着剤を使用しない無垢木材集成パネル。
- 上記請求項12又は13に記載の凹凸部の配置が同一形状からなる多数の小幅板を交互に直交して重ねて構成してある上記請求項10又は11に記載の接着剤を使用しない無垢木材集成パネル。
- 表面を平面とし、裏面に上記傾斜部を有する凹凸部を長手方向に交互に形成した表面仕上げ用小幅板を設け、一枚の内部構造用小幅板又は上記請求項10又は11に記載の二層構造又は複層構造の表裏面に、上記表面仕上げ用小幅板をそれぞれの凹凸部を噛み合わせ係合させて構成した、接着剤を使用しない無垢木材集成パネル。
- 小幅板の表面に、小幅板の長手方向に小幅板の幅寸法の2倍の寸法より僅かに大きい寸法からなる凸部と、小幅板の幅寸法の2倍の寸法より僅かに小さい寸法からなる凹部を小幅板の幅全部を占めて形成し、それぞれの上記凸部の底部が狭くなるよう、又凹部の底部が広くなるよう、上記凹部の小幅板長手方向両側辺に斜めに傾斜する傾斜部を形成して凸部と凹部の底部の寸法を小幅板の幅寸法の2倍の寸法とする一方、小幅板の裏面の上記表面の凹部と対応する位置に、小幅板の幅寸法の2倍の寸法からなる凸部を形成し、その片側辺に上記傾斜部と同様の傾斜部を形成し、反対側に角を削除した形状の傾斜部を形成して、表裏に凹凸部を有する内部構造用小幅板を設け、この内部構造用小幅板を、上記裏面の凸部の片側辺の傾斜部が外側になるよう一対の小幅板を組んで、一対からなる内部構造用小幅板の組とし、この一対からなる内部構造用小幅板の組を多数設け、複数の内部構造用小幅板の組を同一方向に指向してそれぞれの凹凸部の位置をずらせて横並びに並設し、同じく複数の内部構造用小幅板の組を上記横並びに並設した小幅板に直交させて重ね、それぞれを凹凸部を噛み合わせ係合させて二層構造とし、少なくともこの二層構造を含んでいる、接着剤を使用しない無垢木材集成パネル。
- 上記請求項16に記載の二層構造の片面又は両面に、さらに複数の内部構造用小幅板の組を直交して重ねて相互の凹凸部を噛み合わせ係合させて複層構造とし、この複層構造を含んでいる、接着剤を使用しない無垢木材集成パネル。
- 表面を平面とし、裏面に上記傾斜部を有する凹凸部を長手方向に交互に形成した表面仕上げ用小幅板の組を設け、一枚の内部構造用小幅板又は上記請求項16又は17に記載の二層構造又は複層構造の表裏面に、上記表面仕上げ用小幅板の組をそれぞれの凹凸部を噛み合わせ係合させて構成した、接着剤を使用しない無垢木材集成パネル。
- 上記請求項1、2又は7に記載の接着剤を使用しない無垢木材集成パネルに使用する小幅板であって、表裏面に一辺が小幅板の幅寸法と同一の寸法からなる正方形形状の凹凸部を有し、この凹凸部を、小幅板の長手方向に交互に形成して構成してある小幅板。
- 表裏の同一位置に凸部と凹部を配置してある上記請求項19に記載の小幅板。
- 表裏の同一位置に凸部同士と凹部同士を配置してある上記請求項19に記載の小幅板。
- 上記請求項10、11又は15に記載の接着剤を使用しない無垢木材集成パネルに使用する小幅板であって、表裏面に、小幅板の長手方向に小幅板の幅寸法より僅かに大きい寸法からなる凸部と、小幅板の幅寸法より僅かに小さい寸法からなる凹部を小幅板の幅全部を占めて形成し、それぞれの上記凸部の底部が狭くなるよう、又凹部の底部が広くなるよう、上記凸部の片側辺を斜めに傾斜する傾斜部を形成して凸部と凹部の底部の寸法を小幅板の幅寸法と同一とし、さらに上記凸部の小幅板片側部にも同様の斜めに傾斜する傾斜部を形成した凹凸部を有し、この凹凸部を、小幅板の長手方向に交互に形成して構成してある小幅板。
- 表裏の同一位置に凸部と凹部を配置してある上記請求項22に記載の小幅板。
- 表裏の同一位置に凸部同士と凹部同士を配置してある上記請求項22に記載の小幅板。
- 上記請求項16に記載の接着剤を使用しない無垢木材集成パネルに使用する小幅板であって、表面に、小幅板の長手方向に小幅板の幅寸法の2倍の寸法より僅かに大きい寸法からなる凸部と、小幅板の幅寸法の2倍の寸法より僅かに小さい寸法からなる凹部を小幅板の幅全部を占めて形成し、それぞれの上記凸部の底部が狭くなるよう、又凹部の底部が広くなるよう、上記凹部の小幅板長手方向両側辺に斜めに傾斜する傾斜部を形成して凸部と凹部の底部の寸法を小幅板の幅寸法の2倍の寸法とする一方、小幅板の裏面の上記表面の凹部と対応する位置に、小幅板の幅寸法の2倍の寸法からなる凸部を形成し、その片側辺に上記傾斜部と同様の傾斜部を形成し、反対側に角を削除した形状の傾斜部を形成してある小幅板。
Priority Applications (1)
| Application Number | Priority Date | Filing Date | Title |
|---|---|---|---|
| JP2003308192A JP2005074817A (ja) | 2003-09-01 | 2003-09-01 | 接着剤を使用しない無垢木材集成パネル及びこのパネルに使用する小幅板 |
Applications Claiming Priority (1)
| Application Number | Priority Date | Filing Date | Title |
|---|---|---|---|
| JP2003308192A JP2005074817A (ja) | 2003-09-01 | 2003-09-01 | 接着剤を使用しない無垢木材集成パネル及びこのパネルに使用する小幅板 |
Publications (1)
| Publication Number | Publication Date |
|---|---|
| JP2005074817A true JP2005074817A (ja) | 2005-03-24 |
Family
ID=34410728
Family Applications (1)
| Application Number | Title | Priority Date | Filing Date |
|---|---|---|---|
| JP2003308192A Pending JP2005074817A (ja) | 2003-09-01 | 2003-09-01 | 接着剤を使用しない無垢木材集成パネル及びこのパネルに使用する小幅板 |
Country Status (1)
| Country | Link |
|---|---|
| JP (1) | JP2005074817A (ja) |
Cited By (1)
| Publication number | Priority date | Publication date | Assignee | Title |
|---|---|---|---|---|
| JP2018084027A (ja) * | 2016-11-21 | 2018-05-31 | 株式会社サカワ | 直交集成板 |
-
2003
- 2003-09-01 JP JP2003308192A patent/JP2005074817A/ja active Pending
Cited By (1)
| Publication number | Priority date | Publication date | Assignee | Title |
|---|---|---|---|---|
| JP2018084027A (ja) * | 2016-11-21 | 2018-05-31 | 株式会社サカワ | 直交集成板 |
Similar Documents
| Publication | Publication Date | Title |
|---|---|---|
| CA2420896C (en) | Building with prefabricated ventilated wall panels | |
| JP2009024353A (ja) | 板状体連結具、簡易間仕切り構造及び簡易間仕切りセット | |
| JP2005074817A (ja) | 接着剤を使用しない無垢木材集成パネル及びこのパネルに使用する小幅板 | |
| JP4070789B2 (ja) | 無垢木材合成パネル及びこのパネルに使用する小幅板 | |
| RU2640624C2 (ru) | Легкая строительная плита и способ ее изготовления | |
| JP2013018280A (ja) | バイアスコア木製パネル | |
| JP4641879B2 (ja) | 小径木を利用した木質パネル及びその製造方法 | |
| JP4915750B2 (ja) | 壁面パネル及びこの壁面パネルを用いた木造建物の壁面構造 | |
| JP2014055406A (ja) | 木製梁 | |
| JP2018178655A (ja) | 小屋面構造 | |
| JP3746053B2 (ja) | 平板体および仮設住居 | |
| JP6891044B2 (ja) | 木造パネル | |
| JP6840499B2 (ja) | 仮設パーティションキット | |
| JP2015182354A (ja) | 建築用重ね合わせパネル、建築物の構造体及び建築用重ね合わせパネルの製造方法 | |
| JP7384953B2 (ja) | 組立間仕切の製造方法 | |
| CN102356201A (zh) | 折叠支撑或框架结构 | |
| CN204983369U (zh) | 利用高温挤压无胶秸秆板制备的多层结构复合板 | |
| JPWO2006040795A1 (ja) | 無垢木材結合パネル及びこのパネルに使用する角材 | |
| JP2020026659A (ja) | 木の板で木の板セパを挟み圧着して成る成型部材 | |
| JP5618777B2 (ja) | 建築用パネル | |
| JP6927683B2 (ja) | ハニカムコア | |
| JP2024004939A (ja) | 木質材料製の壁構造 | |
| JP2006307607A (ja) | 木質系の壁体 | |
| JP3376521B2 (ja) | 多層壁の井桁組構造物の構築方法とその構造物 | |
| JP2006009441A (ja) | 木造建築物 |