JP2005061064A - Curved road surface corresponding type box girder, and form device and manufacturing method for the same - Google Patents

Curved road surface corresponding type box girder, and form device and manufacturing method for the same Download PDF

Info

Publication number
JP2005061064A
JP2005061064A JP2003292431A JP2003292431A JP2005061064A JP 2005061064 A JP2005061064 A JP 2005061064A JP 2003292431 A JP2003292431 A JP 2003292431A JP 2003292431 A JP2003292431 A JP 2003292431A JP 2005061064 A JP2005061064 A JP 2005061064A
Authority
JP
Japan
Prior art keywords
box girder
face
end surface
mold
formwork
Prior art date
Legal status (The legal status is an assumption and is not a legal conclusion. Google has not performed a legal analysis and makes no representation as to the accuracy of the status listed.)
Granted
Application number
JP2003292431A
Other languages
Japanese (ja)
Other versions
JP3842255B2 (en
Inventor
Hiroshi Yoshino
博 吉野
Hirotaka Sahashi
裕隆 佐橋
Masaru Ueda
勝 上田
Current Assignee (The listed assignees may be inaccurate. Google has not performed a legal analysis and makes no representation or warranty as to the accuracy of the list.)
Oriental Construction Co
Toda Kogyo Corp
Original Assignee
Oriental Construction Co
Toda Kogyo Corp
Priority date (The priority date is an assumption and is not a legal conclusion. Google has not performed a legal analysis and makes no representation as to the accuracy of the date listed.)
Filing date
Publication date
Application filed by Oriental Construction Co, Toda Kogyo Corp filed Critical Oriental Construction Co
Priority to JP2003292431A priority Critical patent/JP3842255B2/en
Publication of JP2005061064A publication Critical patent/JP2005061064A/en
Application granted granted Critical
Publication of JP3842255B2 publication Critical patent/JP3842255B2/en
Anticipated expiration legal-status Critical
Expired - Fee Related legal-status Critical Current

Links

Images

Landscapes

  • Bridges Or Land Bridges (AREA)

Abstract

<P>PROBLEM TO BE SOLVED: To provide a curved road surface corresponding type box girder prevented from concentration of bending stress on an intermediate part in a bridge axis direction caused by twisting without causing unnatural twisted formation of a box girder body part (a lower floor slab and a web) even if both end parts in the bridge axis direction are twisted. <P>SOLUTION: In one end face shape of the box girder, intersections of the end faces of the webs 4 and the end face of an upper floor slab 2 formed using the end face of an existing box girder as a form are made A, B, and intersections of the end faces of the webs 4 and the end face of the lower floor slab 3 are made C, D, whereas the other end face shape of the box girder is twisted by a prescribed angle with the end face center of the upper floor slab 2 as a rotational center O, and the end face of the lower floor slab 3 is displaced while keeping parallel with the end face of the upper floor slab 2, so that the end faces of both webs 3 intersect the end face of the lower floor slab 3 and the end face of the upper floor slab 2 at displaced intersections A-1, B-1, C-1, D-1. Both end faces of the box girder are thereby formed in non-identical shape from the bridge axis direction view. <P>COPYRIGHT: (C)2005,JPO&NCIPI

Description

本発明は、高架橋などのカーブ路面に設置するプレキャスト橋桁ブロック(以下カーブ路面対応型箱桁という)と、その型枠装置及び製作方法に関するものである。   The present invention relates to a precast bridge girder block (hereinafter referred to as a curved road surface-compatible box girder) installed on a curved road surface such as a viaduct, a formwork apparatus thereof, and a manufacturing method thereof.

背景技術をはじめに説明する。PC箱桁により高架橋を施工する際には、該箱桁の高耐久性・ハイスピード製作、製作コスト削減を可能とした合理性ある施工法として、プレキャストセグメント工法が多用されつつある。この工法の特徴は(1)施工現場に近接したヤードでPC箱桁を効率的に順次製作しながら架設するもので、箱桁製作と架設を平行して作業できるため、工期の短縮が可能であり、工期の削減に寄与できる。   The background art will be described first. When constructing viaducts with PC box girders, the precast segment method is being frequently used as a rational construction method that enables high durability, high-speed production of the box girders and reduction of production costs. The features of this construction method are as follows: (1) Construction of PC box girders in the yard close to the construction site, while building them efficiently and sequentially. Since the box girders can be built and installed in parallel, the construction period can be shortened. Yes, it can contribute to reduction of construction period.

(2)設備の整ったヤードで箱桁を製作するため、製品の集中管理ができる。(3)箱桁製作のための型枠装置の機械化と、同一作業の連続化による省力化が可能となっている。 (2) Since box girders are manufactured in a well-equipped yard, centralized management of products is possible. (3) Mechanization of the formwork device for box girder production and labor saving by continuation of the same work are possible.

前記PC箱桁の省力化を可能とする製作方法として、ショートライン・マッチキャスト工法がある。このショートライン工法は、機械化された型枠装置により、一連の橋桁(箱桁)を輪切りにした状態(セグメント)で繰り返し製作する方法で既に公知である(例えば、特開平8−120620号公報)。   As a manufacturing method that enables labor saving of the PC box girder, there is a short line match cast method. This short line construction method is already known by a method of repeatedly producing a series of bridge girders (box girders) in a state (segment) by a mechanized formwork device (for example, JP-A-8-120620). .

図12に示すような断面構造の箱桁1をショートライン工法で製作する場合について、(1)〜(6)の工程に分けて説明する。箱桁1は、上床版2と下床版3の間を両側のウエブ4で連結して構成され、上下の床版2、3とウエブ4で囲まれる内側が中空部5とされている。以下では、下床版3とウエブ4を含めて箱桁本体部6という。   A case where the box girder 1 having a cross-sectional structure as shown in FIG. 12 is manufactured by the short line method will be described by dividing it into steps (1) to (6). The box girder 1 is configured by connecting the upper floor slab 2 and the lower floor slab 3 with the webs 4 on both sides, and the inside surrounded by the upper and lower floor slabs 2 and 3 and the web 4 is a hollow portion 5. Hereinafter, the lower girder 3 and the web 4 are referred to as a box girder body 6.

第1の工程は、既設(前工程で構築した箱桁を既設という)の箱桁1の一端面を、型枠装置の一方の端面型枠として利用して新設(現工程で構築する箱桁を新設という)の箱桁が完成した段階であり、かつ、外型枠を外方に逃がすと共に、箱桁1の中空部5を形成する内型枠が台車に載って軸方向に移動する脱枠の工程である。   The first process is a new installation (a box girder constructed in the current process) using one end face of the existing girder 1 (the box girder constructed in the previous process is called an existing one) as one end face formwork of the formwork device. The box girder is newly completed), and the outer frame is released outward, and the inner frame forming the hollow portion 5 of the box girder 1 is mounted on the carriage and moved in the axial direction. It is a frame process.

第2の工程では、既設箱桁と新製箱桁の端面同士を切り離し、かつ、台車に載った両箱桁を所定距離次工程に順次に移動する。これにより既設箱桁は完成品となって型枠装置から退出すると共に、新設箱桁は、次工程では既設箱桁の位置に移動して、次工程で製作する新設箱桁のための一端面型枠として機能する。   In the second step, the end faces of the existing box girder and the new box girder are separated from each other, and both box girders placed on the carriage are sequentially moved to the next step for a predetermined distance. As a result, the existing box girder becomes a finished product and exits the formwork device, and the new box girder moves to the position of the existing box girder in the next process, and one end surface for the new box girder to be manufactured in the next process Functions as a formwork.

第3の工程では、箱桁と相似形の鉄筋ユニットを上方から吊り下ろして所定の位置に配置する。   In the third step, a reinforcing bar unit similar in shape to a box girder is suspended from above and arranged at a predetermined position.

第4の工程では、内型枠を移動させて次に製作する新設箱桁のため、所定の位置に移動させる。   In the fourth step, the inner mold is moved and moved to a predetermined position for a new box girder to be manufactured next.

第5の工程では、外型枠と内型枠の間にコンクリートを打設する。   In the fifth step, concrete is placed between the outer mold frame and the inner mold frame.

第6の工程では、箱桁が完成する。その後再び、第1の工程に戻る。   In the sixth step, the box girder is completed. Thereafter, the process returns again to the first step.

前記のショートライン工法によると、既設の箱桁の一端面を新たに製作する箱桁の端面型枠として利用し、順次製作するものであるので、型枠装置の機械化が可能であり、同一作業を連続して行うことにより、省力化されている。また、前記の工法で製作した箱桁における接合部は同一形状となり、架設時には、各箱桁の接合面にエポキシ樹脂系の接着材を塗布し、密着性および止水性を確保するものである。
特開平8−120620号公報
According to the short line construction method described above, one end face of an existing box girder is used as an end face formwork of a box girder to be newly produced, and is produced sequentially, so that the formwork apparatus can be mechanized and the same work The labor saving is achieved by continuously performing the above. Moreover, the junction part in the box girder manufactured with the said construction method becomes the same shape, and at the time of erection, an epoxy resin-type adhesive material is apply | coated to the joint surface of each box girder, and adhesiveness and water stop are ensured.
JP-A-8-120620

ショートライン・マッチキャスト工法は、省力化が可能な箱桁の製作方法であるが、この工法で用いられる型枠装置は内型枠と外型枠、両端面型枠は全て固定配置方式であるので、この従来の型枠装置で製作される箱桁の両端面形状は全て同一端面形状となる。したがって、この型枠装置で製作された箱桁で直線路面を構築する場合は問題ないが、図13(a)、(b)に示すようにカーブした道路7を構築する場合、従来の箱桁1では理想的な横断面構造とはいえない。   The short line / match cast method is a method for manufacturing box girders that can save labor, but the formwork used in this method is an inner formwork and an outer formwork, and both end formwork is a fixed arrangement method. Therefore, the shape of both end faces of the box girder manufactured by this conventional formwork apparatus is the same end face shape. Therefore, there is no problem when building a straight road surface with a box girder manufactured by this formwork apparatus, but when building a curved road 7 as shown in FIGS. 13A and 13B, a conventional box girder is used. 1 is not an ideal cross-sectional structure.

すなわち、カーブした道路7では、最初は直線路面の勾配がゼロから徐々に大きくなり、再び直線路面の勾配がゼロに戻ってカーブ道路が終わるのであるが、この路面勾配を出すためカーブ道路の始点から終了地点までの間では、各箱桁1を軸線を回転軸としてカーブする道路の曲率に合わせて徐々に順次傾けて施工するものである。   That is, in the curved road 7, the slope of the straight road surface gradually increases from zero at first, the slope of the straight road surface returns to zero again, and the curved road ends. From the end to the end point, each box girder 1 is constructed by gradually inclining in accordance with the curvature of the road that curves with the axis as the axis of rotation.

前記のカーブ対応型箱桁をショートライン工法で製作することは従来も行われていた。しかし、従来の工法で製作したカーブ対応型の箱桁では、箱桁の両端部の端面形状が製作上同一となり、それ故に、箱桁の両端部間で不自然な捻りとなり、かつ、中間部に曲げ応力が集中しやすい構造であると共に、設置時にカーブに沿って配設した各箱桁のウエブ間が揃わない等の問題があった。   Conventionally, the curve-compatible box girder has been manufactured by a short line method. However, with the curve-compatible box girder manufactured by the conventional method, the end face shape of both ends of the box girder is the same in manufacturing, and therefore, unnatural twist between the both ends of the box girder and the middle part However, there is a problem that the bending stresses are easily concentrated and the webs of the box girders arranged along the curve at the time of installation are not aligned.

さらに説明すると、図12(b)に示すようにカーブ対応型箱桁1aは、各箱桁1aを軸線を回転軸として道路がカーブする徐々に順次傾けて施工することに加えて、このように傾斜配設する箱桁間の上床版の間に段差が生じないように、標準型箱桁に比べて箱桁自体の構造を変えるもので、上床版の軸方向両端部を互いに捻った構造とするものである。図12(b)のカーブ対応型箱桁1aにおいて、点線で示すのが、ショートライン工法における既設箱桁利用の一端面の捻り位置であり、実線で示すのが他端面の捻り位置である。   More specifically, as shown in FIG. 12 (b), the curve-corresponding box girder 1a is constructed in such a manner that each box girder 1a is tilted and gradually inclined with the axis as a rotation axis. The structure of the box girder itself is changed compared to the standard box girder so that there is no step between the upper floor slabs between the inclined box girders. To do. In the curve-corresponding box girder 1a of FIG. 12B, the dotted line indicates the twisted position of the one end face using the existing box girder in the short line method, and the solid line indicates the twisted position of the other end face.

前記のごとき、上床版の軸方向両端部を互いに捻ったカーブ対応型箱桁を、従来のショートライン工法で製作する場合、既述のように、箱桁の軸方向中間部に曲げ応力が集中しやすい構造である。すなわち、従来のショートライン工法では、成形型枠全体が完全固定構造であり、特に、既設箱桁利用の一端面と反対側の上床版の他端面を形成するための上床版型枠(バルクヘッド)を含む全端面型枠は、その固定用フレーム(バルクヘッド固定用フレーム)に完全固定していたので、上床版の軸方向両端部を互いに捻って成形するとき、両端面部型枠は同一形状を保って捻られることになる。   As described above, when a curve-compatible box girder in which both axial ends of the upper floor slab are twisted with each other is manufactured by the conventional short line method, bending stress is concentrated in the axial middle portion of the box girder as described above. It is easy to do. That is, in the conventional short line construction method, the entire forming mold has a completely fixed structure. In particular, the upper floor formwork (bulkhead) for forming the other end face of the upper floor slab opposite to the one end face of the existing box girder is used. ) Including all the end surface molds were completely fixed to the fixing frame (bulkhead fixing frame), so when both ends in the axial direction of the upper floor slab were twisted together, the both end surface molds had the same shape Will be twisted.

このように両端面型枠の全体を同一形状を保って捻って配置したうえ、この両端面型枠の間にわたって内外型枠を配置するとき、この内外型枠の両端部も互いに捻った両端面型枠に揃うように捻られて配置されるが、これは全長にわたり同じ径の所定長の物体の両端部を無理に捻ったとき、当該物体に発生する不自然な捻りにより両端部の間で不自然な捻り応力が生じるのと同じ原理により、成形されるカーブ対応型の箱桁にも同様な問題を内包することになる。   In this way, both end surface molds are twisted while maintaining the same shape, and when the inner and outer molds are arranged between the both end surface molds, both end surfaces of the inner and outer molds are also twisted together. It is arranged to be twisted so as to align with the formwork, but when both ends of a predetermined length object of the same diameter over the entire length are forcibly twisted, the unnatural twist generated in the object causes an unnatural twist between the ends. By the same principle that unnatural torsional stress is generated, the same problem is included in the curved box girder that is formed.

したがって、従来技術により、橋軸方向両端部が互いに捻られたカーブ対応型箱桁を成形するとき、上床版の橋軸方向両端部が互いに捻られている点では、カーブ対応型箱桁としての機能を満たすものの、箱桁本体部(両ウエブや下床版)が一端から他端にかけて不自然に捻られて成形されることになり、箱桁の軸方向中間部において捻り応力が集中しやすい箱桁構造であった。   Therefore, when a curve-compatible box girder in which both ends in the bridge axis direction are twisted with each other according to the conventional technology, the both ends in the bridge axis direction of the upper floor slab are twisted with respect to each other. Although satisfying the function, the box girder main body (both webs and lower floor slab) will be unnaturally twisted from one end to the other, and the twisting stress will tend to concentrate in the axial middle part of the box girder. It was a box girder structure.

本発明は、前記の問題点を解決するために提案されたもので、上床版の横断勾配を変化させてなるカーブ路面対応型の箱桁において、箱桁本体部(両ウエブや下床版)の一端から他端にかけて不自然に捻られて成形されることがない箱桁と、これを製作する型枠装置及び製作方法を提供することを目的とする。   The present invention has been proposed in order to solve the above-described problems. In a box girder corresponding to a curved road surface in which the crossing gradient of the upper floor slab is changed, the box girder main body (both webs and lower floor slab) is provided. An object of the present invention is to provide a box girder that is not unnaturally twisted and formed from one end to the other end, and a formwork apparatus and a manufacturing method for manufacturing the box girder.

前記の目的を達成するため、本発明は次のように構成する。   In order to achieve the above object, the present invention is configured as follows.

第1発明は、上床版および下床版と、上下の床版を連結するウエブとからなり、箱桁の橋軸方向両端部を所定角度捻ってショートライン方式により成形されるカーブ路面対応型の箱桁において、既設箱桁端面を一端側の型枠として成形される上床版端面とウエブ端面の交点を(A)、(B)とし、下床版端面とウエブ端面の交点を(C)、(D)とした箱桁一端面形状に対し、箱桁他端面形状は、その上床版端面の中心を回転芯(O)として所定角度捻り、かつ、下床版端面を上床版端面と平行を保って変位させることにより、両ウエブ端面と下床版端面と上床版端面が、前記交点(A)、(B)、(C)、(D)に対比して変位した交点(A−1)、(B−1)、(C−1)、(D−1)で交わるように設け、橋軸方向にみて箱桁両端面形状は非同一形状に形成されており、前記箱桁一端面から他端面にわたって、箱桁輪郭形状が連続して形成されていることを特徴とする。
また第2発明は、外型枠と内型枠と両端面型枠とで第1発明に記載のカーブ路面対応型の箱桁を製作するショートライン方式による型枠装置であって、既設箱桁端面からなる一端面型枠と対峙して配設される他端面型枠は、上床版端面型枠と、複数の箱桁本体部端面型枠とからなり、上床版端面型枠を、型枠装置の架台に設けた型枠支持用上部梁と平行に配置すると共に、当該上床版端面型枠の中心を、前記型枠支持用上部梁から側方に突出する支持軸によって枢支させ、かつ上床版端面型枠の両端部は、架台に設けた勾配調整用ジャッキの伸縮作動軸に連結して、前記支持軸を回転芯として回転自在に設けられ、前記複数の箱桁本体部端面型枠は、上床版端面型枠の回動変位に対応して変位して配置可能に設けられていることを特徴とする。
1st invention consists of the upper floor slab and the lower floor slab, and the web which connects an upper and lower floor slab, and twists the bridge shaft direction both ends of a box girder by a predetermined angle, and is a curve road surface corresponding type | mold formed by a short line system. In the box girder, the intersection of the upper floor slab end surface and the web end surface formed with the end face of the existing box girder as the mold on one end side is defined as (A) and (B), and the intersection of the lower floor slab end surface and the web end surface is (C), (D) The box girder one end surface shape is twisted at a predetermined angle with the center of the upper floor slab end surface as the rotation core (O), and the lower floor slab end surface is parallel to the upper floor slab end surface. Intersection (A-1) in which both web end faces, lower floor slab end faces, and upper floor slab end faces are displaced relative to the intersections (A), (B), (C), (D) by keeping the displacement. , (B-1), (C-1), (D-1) are provided so as to cross each other, and the box girder both end faces when viewed in the bridge axis direction Wherein the is formed in a non-identical shape, over the other end surface from the box girder end surface, it is formed box girder profile continuously.
Further, the second invention is a formwork device by a short line method for producing the curved road surface-compatible box girder according to the first invention with the outer mold frame, the inner mold frame and the both end surface mold frames, The other end surface formwork arranged opposite to the one end face formwork composed of the end face is composed of the upper floor slab end face formwork and a plurality of box girder body end face formwork. Arranged in parallel with the upper beam for supporting the formwork provided on the frame of the apparatus, and the center of the upper form plate end face formwork is pivotally supported by a support shaft protruding laterally from the upper beam for supporting the formwork, and Both end portions of the upper floor slab end face formwork are connected to an expansion / contraction operation shaft of a gradient adjusting jack provided on the gantry, and are provided rotatably with the support shaft as a rotation core. The plurality of box girder body end face formwork Is provided so that it can be displaced and arranged corresponding to the rotational displacement of the end plate formwork of the upper floor slab.

第3発明は、第1発明のカーブ路面対応型の箱桁を、下記工程のショートライン方式により製作する方法。
(第1の工程)前工程で構築した既設箱桁の軸方向の一端面を型枠の一部として新設の箱桁が完成した状態において、外型枠を外方に逃がすと共に、箱桁の中空部を形成する内型枠を軸方向に移動させ脱枠させる。
(第2の工程)既設箱桁と新設箱桁の軸方向に接した端面を切り離し、かつ、両箱桁を軸方向に所定距離次工程に順次に移動することで、既設箱桁を完成品として型枠装置から退出させる共に、新設箱桁を次工程で製作する箱桁の端面を形成する他端面型枠となる位置に移動させる。
(第3の工程)箱桁と相似形の鉄筋ユニットを所定の位置に配置する。
(第4の工程)内型枠を軸方向に移動させて次に製作する新設箱桁のため、所定位置に移動させる。
(第5の工程)既設箱桁の端面で構成される一端面型枠と平行に配設される他端面側の上床版端面型枠を、当該上床版端面型枠の軸線上に配置の回転芯を中心に所定角度傾斜させ、この傾斜した上床版端面型枠に対応して、他端面側の箱桁本体部端面型枠である、ウエブ端面型枠と下床版端面型枠とコーナ部上下端面型枠を所定の部位に配置変えし、前記端面型枠と外型枠と内型枠を含む型枠内にコンクリートを打設する。
(第6の工程)箱桁が完成する。
The third invention is a method of manufacturing the curved road surface type box girder of the first invention by the short line method of the following process.
(First step) In the state where the new box girder is completed with the axial end of the existing box girder constructed in the previous process as a part of the mold, the outer mold is allowed to escape outward and the box girder The inner mold forming the hollow portion is moved in the axial direction to be removed.
(Second process) The existing box girder is completed by separating the end faces of the existing box girder and the new box girder in the axial direction and moving the box girder to the next process in the axial direction sequentially. And the new box girder is moved to a position to be the other end face form frame forming the end face of the box girder to be manufactured in the next process.
(Third step) A reinforcing bar unit similar in shape to a box girder is placed at a predetermined position.
(Fourth step) The inner mold is moved in the axial direction and moved to a predetermined position for a new box girder to be manufactured next.
(Fifth step) Rotation of the upper floor plate end surface mold on the other end surface arranged in parallel with the one end surface mold formed by the end surface of the existing box girder on the axis of the upper floor plate end surface mold Inclined by a predetermined angle around the core, and corresponding to the inclined upper floor slab end face mold, the web girder body part end face mold, the web end face mold, the lower floor slab end face mold, and the corner The upper and lower end surface formwork is rearranged to a predetermined part, and concrete is placed in the formwork including the end face formwork, the outer formwork and the inner formwork.
(Sixth step) A box girder is completed.

本発明は、カーブ路面対応型の箱桁において、上床版は、その軸方向一端側から他端側にかけて所定の角度捻られておりカーブ路面に円滑に対応できると共に、このとき下床版は上床版と平行を保って変位し、かつ両ウエブはその上下方向の長さを保って前記上床版と下床版の変位に追従して変位した形態を保て構成されているので、箱桁の軸方向中間部を境としてその両端部、特に、箱桁本体部である両ウエブと下床版は、全体的に均等に、かつ無理なく自然な形態で捻られており、捻り部が局部に集中せず構造力学的に最も合理的なカーブ路面対応型の箱桁を構成できる。   The present invention relates to a curved road surface type box girder, and the upper floor slab is twisted at a predetermined angle from one end side to the other end side in the axial direction, and can smoothly correspond to the curved road surface. Since the web is displaced in parallel with the plate, and both webs are configured to keep the vertical length and follow the displacement of the upper floor plate and the lower floor plate so that they are displaced. Both ends of the intermediate part in the axial direction, especially the two webs and the lower floor slab, which are the box girder main body, are twisted evenly and reasonably in a natural form as a whole. A box girder corresponding to a curved road surface that is the most rational in terms of structural mechanics without being concentrated can be constructed.

また、本発明の型枠装置と製作方法によると、上床版端面型枠(バルクヘッド)を回転芯を中心に所定角度回転させることで、それと共にウエブ端面型枠、下床版端面型枠を所定の配置に設けることにより、上床版に所定の捻りを加えたカーブ路面対応型の箱桁を工場内で容易に製作できる。
Further, according to the formwork apparatus and the manufacturing method of the present invention, the upper end plate end formwork (bulk head) is rotated by a predetermined angle around the rotation core, and the web end face formwork and the lower floor end face formwork are By providing in a predetermined arrangement, a curved road surface type box girder in which a predetermined twist is applied to the upper floor slab can be easily manufactured in the factory.

以下、本発明の実施形態を図を参照して説明する。   Embodiments of the present invention will be described below with reference to the drawings.

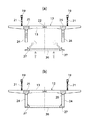
図1(a)、(b)は、ショートライン工法による型枠装置(後述する)で製作した箱桁11を示す。また図(a)はその標準型の一端面(11a)を示し、図1(b)は、カーブ路面対応型の他端面11bを示す。図1(c)は、他の成形例に係るカーブ路面対応型の箱桁11を一つの図で示し、箱桁両端面が非同一形状であることを示すため、一端側端面を実線11cで示し、他端面側端面を点線11dで示す。   1 (a) and 1 (b) show a box girder 11 manufactured by a formwork apparatus (described later) using a short line method. FIG. 1 (a) shows one end face (11a) of the standard type, and FIG. 1 (b) shows the other end face 11b of the curved road surface type. FIG. 1 (c) shows a curved road surface corresponding box girder 11 according to another molding example in one figure, and shows that the both ends of the box girder have non-identical shapes. The other end surface side end surface is indicated by a dotted line 11d.

さらに説明すると、図1(a)、(b)において、箱桁11は、上床版2と下床版3の間を両側のウエブ4で連結して構成され、上下の床版2、3とウエブ4で囲まれる内側が中空部5とされている。下床版2とウエブ4を含めて箱桁本体部6という。図1(a)の箱桁11の標準型の端面では、軸心を通る中心線の左右は対称である。つまり、箱桁本体部6に対して、上床版2の横断勾配はゼロを示す。直線道路では、このような上床版2の両端部の横断勾配がゼロの箱桁11を用いて構築する。図1(b)に示す、カーブ路面対応型の箱桁端面11bでは、上床版2は箱桁本体部6に対して、横断勾配を有して構成されている。本発明では、この箱桁11をショートライン工法により新規な型枠装置(図4〜図13に示す)を用いて製作できる。   More specifically, in FIGS. 1 (a) and 1 (b), the box girder 11 is configured by connecting the upper floor slab 2 and the lower floor slab 3 with the webs 4 on both sides, and the upper and lower floor slabs 2, 3 and The inner side surrounded by the web 4 is a hollow portion 5. The lower girder 2 and the web 4 are referred to as a box girder body 6. In the standard end face of the box girder 11 in FIG. 1A, the left and right of the center line passing through the axis are symmetric. That is, the cross gradient of the upper floor slab 2 is zero with respect to the box girder body 6. The straight road is constructed by using such box girders 11 whose crossing gradients at both ends of the upper floor slab 2 are zero. In the box girder end face 11 b corresponding to the curved road surface shown in FIG. 1B, the upper floor slab 2 is configured to have a transverse gradient with respect to the box girder main body 6. In the present invention, the box girder 11 can be manufactured using a novel formwork apparatus (shown in FIGS. 4 to 13) by a short line method.

図1(a)、(b)に示す箱桁11の大きさ寸法の一例を説明すると、上床版2の幅寸法は7.8m、長さは3.0m、下床版3の幅は、4.5m、上床版2から下床版3までの桁高は、2.0mである。勿論、前記以外の寸法関係に成形されることもある。   An example of the size of the box girder 11 shown in FIGS. 1A and 1B will be described. The width dimension of the upper floor slab 2 is 7.8 m, the length is 3.0 m, and the width of the lower floor slab 3 is The girder height from the upper floor slab 2 to the lower floor slab 3 is 4.5 m and 2.0 m. Of course, it may be formed in dimensions other than those described above.

ここで、本発明のカーブ路面対応型箱桁の構造的特徴を、図1(a)、(b)の両図によって説明する。なお、ここで、図1(a)と(b)とは、同一の箱桁の一端面と他端面を示すものとして説明する(直線路面からカーブ路面が始まる部位の箱桁を想定されたい)。そして、図1(a)は、ショートライン工法において、既設箱桁端面を一端側の型枠として成形された箱桁の一端面を示し、図1(b)は、本発明の主要素をなす、後述の型枠装置で捻られて成形された箱桁の他端面を示すものとして、以下説明する。   Here, the structural features of the curved road surface type box girder of the present invention will be described with reference to FIGS. 1 (a) and 1 (b). Here, FIGS. 1 (a) and 1 (b) are described as showing one end face and the other end face of the same box girder (assuming a box girder at a portion where a curved road surface starts from a straight road surface). . FIG. 1 (a) shows one end face of a box girder formed by using the existing box girder end face as a mold on one end side in the short line method, and FIG. 1 (b) shows the main element of the present invention. The following description will be made on the assumption that the other end face of the box girder that is twisted and formed by the formwork apparatus described later is shown.

図1(a)、(b)の箱桁11において、上床版2は、橋軸方向の一端部を所定角度捻って成形されるもので、図1(a)に示す、既設箱桁端面を型枠として成形される箱桁一端面側において、上床版2の端面と、ウエブ4の端面の交点を(A)、(B)、下床版3の端面とウエブ4の端面の交点を(C)、(D)とし、この箱桁一端面形状に対し、図1(b)に示す、箱桁11の他端面11bの形状は、その上床版2の端面の中心を回転芯(O)として所定角度捻り、かつ、下床版3の端面を上床版2の端面と平行を保って変位させると共に、両ウエブ4の端面が、変位した交点(A−1)、(B−1)、(C−1)、(D−1)で下床版3の端面と上床版2の端面に交わるように設けることにより、橋軸方向にみて箱桁両端面形状は非同一形状に形成されており、前記箱桁一端面から他端面にわたって、箱桁輪郭形状が連続して形成されている。   In the box girder 11 of FIGS. 1 (a) and 1 (b), the upper floor slab 2 is formed by twisting one end of the bridge axis direction by a predetermined angle, and the end face of the existing box girder shown in FIG. On the one end face side of the box girder formed as a mold, the intersection of the end face of the upper floor slab 2 and the end face of the web 4 is (A), (B), and the intersection of the end face of the lower floor slab 3 and the end face of the web 4 is ( C) and (D), and the shape of the other end surface 11b of the box girder 11 shown in FIG. 1 (b) with respect to the shape of the one end surface of the box girder is the rotation core (O) And twisting a predetermined angle and displacing the end surface of the lower floor slab 3 in parallel with the end surface of the upper floor slab 2, and the intersections (A-1), (B-1) where the end surfaces of both webs 4 are displaced, In (C-1) and (D-1), by providing the end face of the lower floor slab 3 and the end face of the upper floor slab 2 so as to intersect with each other, the shape of both ends of the box girder in the bridge axis direction is not the same. Is formed into a shape over the other end surface from the box girder end surface, box girder profile are formed continuously.

このように構成されたカーブ路面対応型の箱桁11では、上床版2が、その軸方向一端面11a側から他端面11bにかけて所定の角度捻られておりカーブ路面に円滑に対応でき、しかも、このとき下床版3は上床版2と平行を保って変位し、かつ両ウエブ4はその上下方向の長さを保って上床版2と下床版3の変位に追従して変位した形態を保て構成されているので、箱桁11の軸方向中間部を境としてその両端部、特に、箱桁本体部6を構成する両ウエブ4と下床版3は、全体的に均等に、かつ無理なく自然な形態で捻られており、捻り部が箱桁11の軸方向中間部に局部に集中せず、構造力学的に最も合理的なカーブ路面対応型の箱桁を構成できる。   In the curved road surface corresponding type box girder 11 configured in this way, the upper floor slab 2 is twisted at a predetermined angle from the axial one end surface 11a side to the other end surface 11b, and can smoothly correspond to the curved road surface. At this time, the lower floor slab 3 is displaced while maintaining parallel to the upper floor slab 2, and both webs 4 are displaced following the displacement of the upper floor slab 2 and the lower floor slab 3 while maintaining the vertical length thereof. The both ends of the box girder 11 in the middle of the axial direction of the box girder 11, in particular, the both webs 4 and the lower floor slab 3 constituting the box girder main body 6 are uniformly and The twisted portion is reasonably natural, and the twisted portion does not concentrate locally in the middle portion of the box girder 11 in the axial direction, so that it is possible to construct a box girder corresponding to a curved road surface that is most rational in terms of structural mechanics.

本発明に係るカーブ路面対応型の箱桁11をカーブ道路を構築すべく架設したとき、構造力学的に最も合理的なカーブ道路を構築でき、強度的に優れるとともに、ウエブ4が垂直の場合、カーブに沿って配置される各箱桁のウエブ間に段差が生じない効果もある。   When the curved road surface type box girder 11 according to the present invention is installed to construct a curved road, the most rational curved road can be constructed in terms of structural mechanics, the strength is excellent, and the web 4 is vertical. There is also an effect that no step is generated between the webs of the box girders arranged along the curve.

本発明に係るカーブ路面対応型の箱桁11をショートライン工法によって製作する場合、従来の型枠装置では製作できず、特に、端面型枠に関して新規な装置が必要になる。   In the case where the curved road surface-compatible box girder 11 according to the present invention is manufactured by the short line method, it cannot be manufactured by the conventional formwork apparatus, and in particular, a new apparatus is required for the end face formwork.

以下その型枠装置について、特に、本発明で改良した構成を図2〜図11を参照して説明する。なお、従来のショートライン工法における周知の型枠を適用できる点については、詳細説明を省略する。   Hereinafter, the configuration improved by the present invention will be described with reference to FIGS. In addition, detailed description is abbreviate | omitted about the point which can apply the well-known formwork in the conventional short line construction method.

図2〜図5は、ショートライン工法に用いる型枠装置において、箱桁の横断勾配変化時の上床版端面型枠(バルクヘッド)を回転させるときの、他の部位の端面型枠の変位形態を示す説明図である。図6〜図11は、上床版端面型枠(バルクヘッド)を回転させる機構を示す図である。   FIGS. 2 to 5 show displacement forms of end face formwork in other parts when rotating the upper floor end face formwork (bulk head) when the transverse gradient of the box girder is changed in the formwork apparatus used in the short line construction method. It is explanatory drawing which shows. 6-11 is a figure which shows the mechanism which rotates an upper floor slab end surface formwork (bulk head).

ショートライン工法に用いる型枠装置において、型枠は、複数の内外型枠を箱桁11bの内外形状に合わせて組立てて構成される。すなわち複数の型枠板は、上床版2の上面を構築する上部フラット外型枠板、下床版3の下面を構築する下部フラット外型枠板、ウエブ4の両外側面を構築する両側フラット外型枠板、中空部5の天井面、両側内面、内底面を構築する内型枠および、これに加えて箱桁11の軸方向の一方の端面型枠と他方の端面型枠とからなる。各外型枠と内型枠については公知につき図示を省略し、以下では、本発明に係る型枠装置12の主要部をなす上床版端面型枠(バルクヘッド)13と本体部部(ウエブと下床版)の端面型枠の構成を説明する。   In the formwork apparatus used for the short line method, the formwork is constructed by assembling a plurality of inner and outer formwork in accordance with the inner and outer shape of the box girder 11b. That is, the plurality of form plates are: an upper flat outer form plate that constructs the upper surface of the upper floor slab 2, a lower flat outer form plate that constructs the lower surface of the lower floor slab 3, and a flat on both sides that constructs both outer surfaces of the web 4 It consists of an outer mold plate, a ceiling surface of the hollow portion 5, inner surfaces on both sides, and an inner bottom frame, and in addition to this, one end surface mold frame in the axial direction of the box girder 11 and the other end surface mold frame. . Each of the outer mold form and the inner mold form is publicly known and is not shown. In the following, an upper floor end face form form (bulk head) 13 and a main body part (web) that form the main part of the form work apparatus 12 according to the present invention will be described. The configuration of the end face formwork of the lower floor slab will be described.

ショートライン工法において、既設の箱桁の一端面が、次工程で製作する箱桁の端面型枠として機能するのは従来と同じである。   In the short line construction method, one end surface of an existing box girder functions as an end face formwork of a box girder to be manufactured in the next process.

図6〜図11において、図6は型枠装置12の正面図、図7は平面図、図8は側面図である。各図において、複数の枠体を組立てなる型枠固定用フレーム14が、所定の間隔をあけて左右に配設してあり、左右の型枠固定用フレーム14の間に型枠支持用上部梁15と、型枠支持用下部梁16が水平に架設されている。   6 to 11, FIG. 6 is a front view of the mold apparatus 12, FIG. 7 is a plan view, and FIG. 8 is a side view. In each figure, a mold fixing frame 14 formed by assembling a plurality of frames is arranged on the left and right sides at a predetermined interval, and the upper beam for supporting the mold is interposed between the left and right mold fixing frames 14. 15 and the lower beam 16 for supporting the formwork are installed horizontally.

左右の型枠固定用フレーム14における上部横枠17の上端からは支持柱18が立ち上がっており、左右の支持柱18の上端に設けた上部横腕19の先端下部に、支持ピン20(図9に示す)により勾配調整用ジャッキ21が枢着されており、左右に配設の勾配調整用ジャッキ21の下端で上床版端面型枠13の左右両端部が支持されている。上床版端面型枠13の下部には、箱桁端面11b(図1bに示す)の中空部5を構築するための内型枠が配置されるが、内型枠とこれを載せて移動する台車は図示省略する。   A support column 18 rises from the upper end of the upper horizontal frame 17 in the left and right mold fixing frames 14, and a support pin 20 (see FIG. 9) is provided at the lower end of the upper horizontal arm 19 provided at the upper end of the left and right support columns 18. The slope adjusting jack 21 is pivotally attached to the left and right ends of the upper floor slab end face mold 13 at the lower ends of the slope adjusting jacks 21 arranged on the left and right. An inner mold frame for constructing the hollow portion 5 of the box girder end surface 11b (shown in FIG. 1b) is arranged at the lower part of the upper floor plate end surface mold frame 13, and the inner mold frame and a carriage that moves on the inner mold frame Are omitted in the figure.

型枠支持用上部梁15の中央部には、型枠回転用芯棒22が横方向に貫通しており、この型枠回転用芯棒22が、型枠支持用上部梁15と平行に配設してある上床版端面型枠13の中央部を支持している。したがって、左右に配設の各勾配調整用ジャッキ21を相互に高さ調整することで、型枠回転用芯棒22を回転芯として上床版端面型枠13を任意の勾配に傾斜でき、他の部位の端面型枠と相俟って箱桁本体部6に対し所定の横断勾配を付与した図1に示すような箱桁11を製作できる。   At the center of the mold support upper beam 15, a mold rotation core rod 22 penetrates in the lateral direction, and this mold rotation core rod 22 is arranged in parallel with the mold frame support upper beam 15. The center part of the provided upper floor slab end face formwork 13 is supported. Therefore, by adjusting the heights of the respective gradient adjusting jacks 21 arranged on the left and right, the upper floor slab end face formwork 13 can be inclined to an arbitrary inclination using the mold rotation core rod 22 as a rotation core. A box girder 11 as shown in FIG. 1 in which a predetermined transverse gradient is given to the box girder body 6 in combination with the end face formwork of the part can be manufactured.

型枠装置12における上床版端面型枠13の横断勾配変化時には、勾配調整用ジャッキ21を用いて調整を行うことで、任意に微調整可能となる。この勾配調整用ジャッキ21は、上床版端面型枠(バルクヘッド)13の回転軸(型枠回転用芯棒22)を固定フレーム(型枠支持用上部梁15)の中心でとっているため、勾配調整用ジャッキ21の端部側は、回転移動による芯ズレを考慮し、上下ピン20による支持構造としている。   When the transverse gradient of the upper floor slab end formwork 13 in the mold apparatus 12 is changed, it can be arbitrarily finely adjusted by performing adjustment using the gradient adjusting jack 21. The gradient adjusting jack 21 has the rotation axis (core frame rotating core rod 22) of the upper floor plate end form frame (bulk head) 13 at the center of the fixed frame (form frame supporting upper beam 15). The end side of the gradient adjusting jack 21 has a support structure with upper and lower pins 20 in consideration of misalignment due to rotational movement.

図6において、上床版端面型枠13の下方には、箱桁の中空部を形成するための内型枠29が配置され、また、ウエブ端面型枠24や下床版端面型枠26などが、型枠保持材28によって保持されるがこれらは周知であるので詳細は省略する。   In FIG. 6, an inner mold 29 for forming a hollow portion of a box girder is disposed below the upper floor slab end face mold 13, and the web end face mold 24, the lower floor slab end face mold 26 and the like are arranged. Although these are held by the formwork holding material 28, these are well known and will not be described in detail.

カーブ路面対応型の箱桁11の製作に際しては、図2〜図5に示すように、左右の配調整用ジャッキ21を相互に高さ調整して上床版端面型枠13を支軸(型枠回転用芯棒22)を回転軸として右又は左に所定角度回動させて、製作する箱桁11における上床版2の横断勾配を決める。それに対応して、ウエブ端面型枠と下床版端面型枠も変位して配置することになる。以下これを説明する。   When manufacturing the box girder 11 corresponding to the curved road surface, as shown in FIG. 2 to FIG. A transverse gradient of the upper floor slab 2 in the box girder 11 to be manufactured is determined by rotating the core rod 22) about the rotation axis to the right or left by a predetermined angle. Correspondingly, the web end face formwork and the lower floor end face formwork are also displaced and arranged. This will be described below.

図2〜図5において、左右のウエブ端面型枠24と、左右のコーナ部上端面型枠25と、下床版端面型枠26と、左右のコーナ部上端面型枠25が何れも分割単位部材をなしている。そして、上床版端面型枠13の回動変位に伴って前記の各単位部材を所定の位置に変位させて配置し組み立てて、カーブ路面対応型箱桁11の本体部6の端面型枠全体を組み立てるものである。   2 to 5, the left and right web end face molds 24, the left and right corner part upper end face molds 25, the lower floor slab end face molds 26, and the left and right corner part upper end face molds 25 are all divided units. It is a member. Then, with the rotational displacement of the upper floor slab end form mold 13, the unit members are displaced and arranged at predetermined positions and assembled to assemble the entire end form mold of the main body 6 of the curved road surface type box girder 11. To assemble.

図2は、標準型の箱桁端面を製作する時の端面型枠の配置態様を示すものであり、水平配置(横断勾配一定時)の上床版端面型枠13に対し、左右のウエブ端面型枠24と、左右のコーナ部上端面型枠25と、下床版端面型枠26と、左右のコーナ部下端面型枠27は、図示の位置に配置されている。前記端面型枠の配置態様を含む型枠全体で標準型の箱桁も成形できる。   FIG. 2 shows an arrangement form of the end face formwork when producing the standard box girder end face, and the left and right web end face molds with respect to the upper floor end face formwork 13 in the horizontal arrangement (when the transverse gradient is constant). The frame 24, the left and right corner portion upper surface mold frame 25, the lower floor slab end surface mold frame 26, and the left and right corner portion lower end surface mold frames 27 are arranged at the positions shown in the drawing. A standard box girder can also be formed on the entire form including the arrangement of the end face form.

次に、上床版端面型枠13を型枠回転用芯棒22を中心に回転させて、上床版に捻りが加えられたカーブ路面対応型の箱桁を製作するに際しては、まず、図3(a)に示すように、左右のウエブ端面型枠24と、左右のコーナ部上端面型枠25と、下床版端面型枠26を下向き矢印で示すジャッキ・ダウン操作にて、上床版端面型枠13から切り離す。   Next, when the box girder corresponding to the curved road surface in which the upper floor slab is twisted by rotating the upper floor slab end face mold 13 around the core rod 22 for mold rotation, first, FIG. As shown in a), the left and right web end face molds 24, the left and right corner part upper end face molds 25, and the lower floor plate end face molds 26 are jacked down as indicated by the downward arrows, and the upper floor slab end face molds Separate from the frame 13.

次に、図3(b)に示すように、左右の配調整用ジャッキ21を相互に高さ調整して、上床版端面型枠13を上床版の横断勾配に合わせて、型枠回転用芯棒22を中心に所定角度回転させる。つづいて、上床版端面型枠13に対し、左右のウエブ端面型枠24を所定の位置に仮固定する。   Next, as shown in FIG. 3 (b), the left and right jacks 21 for adjusting the arrangement of the left and right are mutually adjusted in height so that the upper floor slab end face mold 13 is matched to the transverse gradient of the upper floor slab, and the mold rotating core The rod 22 is rotated by a predetermined angle around the center. Subsequently, the left and right web end face molds 24 are temporarily fixed at predetermined positions to the upper floor slab end face mold 13.

次に、図4(a)に示すように、下向き矢印で示すジャッキ・ダウン操作にて下床版端面型枠26から左右のコーナ部下端面型枠27を切り離す。   Next, as shown in FIG. 4A, the left and right corner part lower end surface molds 27 are separated from the lower floor slab end surface molds 26 by a jack-down operation indicated by a downward arrow.

次に、図4(b)に示すように、左右のコーナ部上端面型枠25を上床版端面型枠13に新規に取り付ける。また、左側上向き矢印、右側下向き矢印で示すジャッキ・アップとジャッキ・ダウン操作にて下床版端面型枠26を上床版端面型枠13の勾配に合わせて傾斜調整する。   Next, as shown in FIG. 4 (b), the left and right corner part upper end surface formwork 25 is newly attached to the upper floor slab end face formwork 13. Further, the inclination of the lower floor slab end face mold 26 is adjusted according to the slope of the upper floor slab end face mold 13 by the jack up and jack down operations indicated by the left upward arrow and the right downward arrow.

次に、図5(a)に示すように、ウエブ端面型枠24を左右のコーナ部上端面型枠25にセットする。また、下床版端面型枠26にコーナ部下端面型枠27を取り付け、さらに、上向き矢印で示すジャッキ・アップ操作にて下床版端面型枠26をウエブ端面型枠24に取り付ける。   Next, as shown in FIG. 5A, the web end face mold 24 is set on the left and right corner part upper face mold 25. Further, the corner part lower end surface mold frame 27 is attached to the lower floor plate end surface mold frame 26, and further, the lower floor plate end surface mold frame 26 is attached to the web end surface mold frame 24 by a jack-up operation indicated by an upward arrow.

前記一連の操作により、図5(b)に示すように、所定の勾配に傾斜させた上床版端面型枠13の勾配に合わせて、カーブ路面対応型箱桁の端面型枠の本体部を構成する、左右のウエブ端面型枠24と、左右のコーナ部上端面型枠25と、下床版端面型枠26と、左右のコーナ部下端面型枠27を円滑に配置でき、こうして構成された端面型枠を含む型枠全体で図1(b)に示すカーブ路面対応型の箱桁11を円滑に成形できる。   By the series of operations, as shown in FIG. 5B, the main body of the end surface formwork of the curved road surface type box girder is configured in accordance with the inclination of the upper floor slab end face formwork 13 inclined to a predetermined slope. The left and right web end face formwork 24, the left and right corner part upper end face formwork 25, the lower floor slab end face formwork 26, and the left and right corner part lower end face formwork 27 can be smoothly arranged. A curved road surface-corresponding box girder 11 shown in FIG. 1B can be smoothly formed over the entire mold including the mold.

すなわち、型枠装置12において、前述のようにして新設する箱桁の両端面型枠の配置準備ができたならば、続いて、上床版2の上面を構築する上部フラット外型枠板、下床版3の下面を構築する下部フラット外型枠板、ウエブ4の両外側面を構築する両側フラット外型枠板、中空部5の天井面、両側内面、内底面を構築する内型枠(何れも図示省略)を所定の位置に配設し支持固定したうえ、内部にコンクリートを打設して箱桁11bを構築する。   That is, in the mold apparatus 12, when the arrangement of the both-ends formwork of the box girder newly provided as described above is ready, the upper flat outer formplate for constructing the upper surface of the upper floor slab 2, the lower Lower flat outer mold plate for constructing the lower surface of the floor slab 3, both flat outer mold plates for constructing both outer surfaces of the web 4, the inner mold frame for constructing the ceiling surface, both inner surfaces, and inner bottom surface of the hollow portion 5 ( Both of them are not shown) and are arranged and supported at predetermined positions, and concrete is cast inside to construct a box girder 11b.

本発明の型枠装置によると、上床版端面型枠(バルクヘッド)を回転させることで、ウエブ、下床版(ブロック本体部)は回転させず、上床版が横断面勾配をもつカーブ路面対応型の箱桁を工場内で容易に製作できる。   According to the formwork apparatus of the present invention, the upper floor slab end formwork (bulk head) is rotated, so that the web and lower floor slab (block body) are not rotated, and the upper floor slab is compatible with curved road surfaces having a cross-sectional gradient. Mold box girder can be easily manufactured in the factory.

本発明において、請求項1の技術思想を生かしたカーブ路面対応型の箱桁は、ウエブが傾斜した箱桁にも適用実施できる。その他、各実施形態で示した構成を適宜設計変更して実施することは、本発明の範囲に含まれる。
In the present invention, the curved road surface type box girder utilizing the technical idea of claim 1 can be applied to a box girder having an inclined web. In addition, it is within the scope of the present invention to appropriately change the design of the configuration shown in each embodiment.

(a)は、本発明に係る型枠装置によって製作した箱桁の標準型の端面図、(b)は、本発明に係る型枠装置によって製作した箱桁の上床版が横断面勾配を有するの端面図、図(c)は、カーブ路面対応型の箱桁の他の例における両端部面のズレ(非同一形状)を示す端面説明図である。(A) is an end view of a standard type of box girder manufactured by the formwork apparatus according to the present invention, and (b) is an upper floor slab of the box girder manufactured by the formwork apparatus according to the present invention. FIG. 6C is an end surface explanatory view showing a shift (non-identical shape) of both end surfaces in another example of a curved road surface corresponding type box girder. 箱桁の横断勾配一定時(上床版端面型枠(バルクヘッド)水平時)の箱桁端面型枠の配置態様を示す正面説明図である。It is front explanatory drawing which shows the arrangement | positioning aspect of the box-girder end surface formwork at the time of the crossing gradient of a box girder being constant (at the time of an upper floor slab end surface formwork (bulkhead) horizontal). (a)、(b)は、箱桁の横断勾配変化時の上床版端面型枠(バルクヘッド)を回転させる際の、箱桁本体部端面型枠の取替え、変位形態を示す第1工程と第2工程の説明図である。(A), (b) is a first step showing the replacement of the box girder body end face formwork and the displacement form when rotating the upper floor end face formwork (bulk head) at the time of changing the cross gradient of the box girder. It is explanatory drawing of a 2nd process. (a)、(b)は、箱桁の横断勾配変化時の上床版端面型枠(バルクヘッド)を回転させる際の、箱桁本体部端面型枠の取替え、変位形態を示す第3工程と第4工程の説明図である。(A), (b) is a third step showing the replacement of the box girder body end face formwork and the displacement form when rotating the upper floor end face formwork (bulk head) at the time of changing the cross gradient of the box girder. It is explanatory drawing of a 4th process. (a)、(b)は、箱桁の横断勾配変化時の上床版端面型枠(バルクヘッド)を回転させる際の、箱桁本体部端面型枠の取替え、変位形態を示す第5工程と第6工程の説明図である。(A), (b) is a fifth step showing the replacement of the box girder body end face formwork and the displacement form when rotating the upper floor slab end face formwork (bulk head) at the time of changing the cross gradient of the box girder. It is explanatory drawing of a 6th process. 型枠装置の正面図である。It is a front view of a formwork apparatus. 型枠装置の平面図である。It is a top view of a formwork apparatus. 型枠装置の側面図である。It is a side view of a formwork apparatus. 上床版端面型枠(バルクヘッド)と勾配調整用ジヤッキの調整機構の拡大図である。It is an enlarged view of the adjustment mechanism of the upper floor slab end face formwork (bulk head) and the gradient adjusting jack. (a)、(b)は、勾配調整用ジヤッキの伸長時と収縮時における図9の右側面図である。(A), (b) is the right view of FIG. 9 at the time of expansion | extension of a jack for gradient adjustment, and shrinkage | contraction. (a)は、図10(A)部の断面詳細図、(b)は、図(a)のB−B断面図、(c)は、図(b)において、心棒を中心とする上床版端面型枠の回転変形を示す説明図である。10A is a detailed cross-sectional view of FIG. 10A, FIG. 10B is a cross-sectional view along the line BB in FIG. 10A, and FIG. It is explanatory drawing which shows the rotational deformation of an end surface formwork. (a)は、従来の型枠装置によって製作した標準型箱桁の端面図、(b)は、図(a)の箱桁をカーブ道路に架設したときの箱桁端面同士のズレを示す端面説明図である。(A) is an end view of a standard box girder manufactured by a conventional formwork device, and (b) is an end face showing a deviation between the end faces of the box girder when the box girder of FIG. It is explanatory drawing. (a)はカーブ道路の一部を示す平面図、(b)は、カーブ道路を斜め下方から見た斜視図である。(A) is the top view which shows a part of curve road, (b) is the perspective view which looked at the curve road from diagonally downward.

符号の説明Explanation of symbols

1 箱桁
1a 箱桁
2 上床版
3 下床版
4 ウエブ
5 中空部
6 箱桁本体部
7 カーブ道路
11 箱桁
11b カーブ対応型箱桁端面
12 型枠装置
13 上床版端面型枠
14 型枠固定用フレーム
15 型枠支持用上部梁
16 型枠支持用下部フレーム
17 上部横枠
18 支柱
19 上部横腕
20 支持ピン
21 勾配調整用ジヤッキ
22 型枠回転用芯棒
24 ウエブ端面型枠
25 コーナ部下端面型枠
26 下床版端面型枠
27 コーナ部下端面型枠
28 型枠保持材
29 内型枠
DESCRIPTION OF SYMBOLS 1 Box girder 1a Box girder 2 Upper floor slab 3 Lower floor slab 4 Web 5 Hollow part 6 Box girder main part 7 Curve road 11 Box girder 11b Curve corresponding type box girder end surface 12 Formwork device 13 Upper floor slab end face formwork 14 Form fixing Frame 15 Upper beam for mold support 16 Lower frame for mold support 17 Upper horizontal frame 18 Post 19 Upper horizontal arm 20 Support pin 21 Jack for adjusting gradient 22 Core rod for mold rotation 24 Web end surface mold frame 25 Lower end surface of corner Formwork 26 Lower floor plate end face formwork 27 Corner part lower end face formwork 28 Formwork holding material 29 Inner formwork

Claims (3)

上床版および下床版と、上下の床版を連結するウエブとからなり、箱桁の橋軸方向両端部を所定角度捻ってショートライン方式により成形されるカーブ路面対応型の箱桁において、既設箱桁端面を一端側の型枠として成形される上床版端面とウエブ端面の交点を(A)、(B)とし、下床版端面とウエブ端面の交点を(C)、(D)とした箱桁一端面形状に対し、箱桁他端面形状は、その上床版端面の中心を回転芯(O)として所定角度捻り、かつ、下床版端面を上床版端面と平行を保って変位させることにより、両ウエブ端面と下床版端面と上床版端面が、前記交点(A)、(B)、(C)、(D)に対比して変位した交点(A−1)、(B−1)、(C−1)、(D−1)で交わるように設け、橋軸方向にみて箱桁両端面形状は非同一形状に形成されており、前記箱桁一端面から他端面にわたって、箱桁輪郭形状が連続して形成されていることを特徴とするカーブ路面対応型の箱桁。   It is already installed in a curved road surface type box girder that consists of upper and lower floor slabs and webs that connect the upper and lower floor slabs, and twists both ends of the box girder in the direction of the bridge axis to form a short line method. The intersections of the upper floor plate end surface and the web end surface molded with the box girder end surface as a mold on one end side are defined as (A) and (B), and the intersection points of the lower floor plate end surface and the web end surface are defined as (C) and (D). With respect to the box girder one end surface shape, the box girder other end surface shape is twisted by a predetermined angle with the center of the upper floor slab end surface as the rotation core (O), and the lower floor slab end surface is displaced in parallel with the upper floor slab end surface. Thus, the intersection points (A-1), (B-1) where the web end face, the lower floor end face, and the upper floor end face are displaced relative to the intersection points (A), (B), (C), (D). ), (C-1), and (D-1) so that they cross each other. Are formed on, over the other end surface from the box girder end face, curve road corresponding type, characterized in that the box girder profile are formed continuously box girder. 外型枠と内型枠と両端面型枠とで請求項1記載のカーブ路面対応型の箱桁を製作するショートライン方式による型枠装置であって、既設箱桁端面からなる一端面型枠と対峙して配設される他端面型枠は、上床版端面型枠と、複数の箱桁本体部端面型枠とからなり、、上床版端面型枠を、型枠装置の架台に設けた型枠支持用上部梁と平行に配置すると共に、当該上床版端面型枠の中心を、前記型枠支持用上部梁から側方に突出する支持軸によって枢支させ、かつ上床版端面型枠の両端部は、架台に設けた勾配調整用ジャッキの伸縮作動軸に連結して、前記支持軸を回転芯として回転自在に設けられ、前記複数の箱桁本体部端面型枠は、上床版端面型枠の回動変位に対応して変位して配置可能に設けられていることを特徴とする型枠装置。   2. A formwork apparatus using a short line method for manufacturing a curved road surface-compatible box girder according to claim 1, comprising an outer mold frame, an inner mold frame, and both end surface mold frames, wherein the one-end surface mold frame comprises an end surface of an existing box girder. The other end surface formwork arranged opposite to the upper floor plate is composed of an upper floor plate end surface mold frame and a plurality of box girder body end surface mold frames, and the upper floor plate end surface mold frame is provided on the frame of the mold apparatus. It is arranged in parallel with the upper beam for formwork support, and the center of the upper floor slab end face formwork is pivotally supported by a support shaft protruding laterally from the upper beam for formwork support, and Both end portions are connected to a telescopic operation shaft of a gradient adjusting jack provided on the gantry, and are provided rotatably with the support shaft as a rotation core. The plurality of box girder body end face molds are upper floor slab end face molds. A formwork apparatus characterized by being provided so as to be able to be displaced and arranged corresponding to the rotational displacement of the frame. 請求項1記載のカーブ路面対応型の箱桁を、下記工程のショートライン方式により製作する方法。
(第1の工程)前工程で構築した既設箱桁の軸方向の一端面を型枠の一部として新設の箱桁が完成した状態において、外型枠を外方に逃がすと共に、箱桁の中空部を形成する内型枠を軸方向に移動させ脱枠させる。
(第2の工程)既設箱桁と新設箱桁の軸方向に接した端面を切り離し、かつ、両箱桁を軸方向に所定距離次工程に順次に移動することで、既設箱桁を完成品として型枠装置から退出させる共に、新設箱桁を次工程で製作する箱桁の端面を形成する他端面型枠となる位置に移動させる。
(第3の工程)箱桁と相似形の鉄筋ユニットを所定の位置に配置する。
(第4の工程)内型枠を軸方向に移動させて次に製作する新設箱桁のため、所定位置に移動させる。
(第5の工程)既設箱桁の端面で構成される一端面型枠と平行に配設される他端面側の上床版端面型枠を、当該上床版端面型枠の軸線上に配置の回転芯を中心に所定角度傾斜させ、この傾斜した上床版端面型枠に対応して、他端面側の箱桁本体部端面型枠である、ウエブ端面型枠と下床版端面型枠とコーナ部上下端面型枠を所定の部位に配置変えし、前記端面型枠と外型枠と内型枠を含む型枠内にコンクリートを打設する。
(第6の工程)箱桁が完成する。
A method for manufacturing a curved road surface type box girder according to claim 1 by a short line method of the following process.
(First step) In the state where the new box girder is completed with the axial end of the existing box girder constructed in the previous process as a part of the mold, the outer mold is allowed to escape outward and the box girder The inner mold forming the hollow portion is moved in the axial direction to be removed.
(Second process) The existing box girder is completed by separating the end faces of the existing box girder and the new box girder in the axial direction and moving the box girder to the next process in the axial direction sequentially. And the new box girder is moved to a position to be the other end face form frame forming the end face of the box girder to be manufactured in the next process.
(Third step) A reinforcing bar unit similar in shape to a box girder is placed at a predetermined position.
(Fourth step) The inner mold is moved in the axial direction and moved to a predetermined position for a new box girder to be manufactured next.
(Fifth step) Rotation of the upper floor plate end surface mold on the other end surface arranged in parallel with the one end surface mold formed by the end surface of the existing box girder on the axis of the upper floor plate end surface mold Inclined by a predetermined angle around the core, and corresponding to the inclined upper floor slab end face mold, the web girder body part end face mold, the web end face mold, the lower floor slab end face mold, and the corner The upper and lower end surface formwork is rearranged to a predetermined part, and concrete is placed in the formwork including the end face formwork, the outer formwork and the inner formwork.
(Sixth step) A box girder is completed.
JP2003292431A 2003-08-12 2003-08-12 Curved road surface type box girder, its formwork apparatus and manufacturing method Expired - Fee Related JP3842255B2 (en)

Priority Applications (1)

Application Number Priority Date Filing Date Title
JP2003292431A JP3842255B2 (en) 2003-08-12 2003-08-12 Curved road surface type box girder, its formwork apparatus and manufacturing method

Applications Claiming Priority (1)

Application Number Priority Date Filing Date Title
JP2003292431A JP3842255B2 (en) 2003-08-12 2003-08-12 Curved road surface type box girder, its formwork apparatus and manufacturing method

Publications (2)

Publication Number Publication Date
JP2005061064A true JP2005061064A (en) 2005-03-10
JP3842255B2 JP3842255B2 (en) 2006-11-08

Family

ID=34369788

Family Applications (1)

Application Number Title Priority Date Filing Date
JP2003292431A Expired - Fee Related JP3842255B2 (en) 2003-08-12 2003-08-12 Curved road surface type box girder, its formwork apparatus and manufacturing method

Country Status (1)

Country Link
JP (1) JP3842255B2 (en)

Cited By (8)

* Cited by examiner, † Cited by third party
Publication number Priority date Publication date Assignee Title
CN101181796B (en) * 2006-11-14 2010-09-15 上海市建筑构件制品有限公司 Adjustable radius of curvature prefabricated box girder mold and its construction method
CN103290788A (en) * 2012-03-03 2013-09-11 四川华西绿舍预制构件有限公司 Prefabricated corner box culvert, and manufacturing method and manufacturing mold of prefabricated corner box culvert
CN107142832A (en) * 2017-05-23 2017-09-08 中建钢构有限公司 A kind of construction method of arc steel box-girder
CN107956201A (en) * 2016-10-17 2018-04-24 重庆大学 Double-deck Wavelike steel webplate and construction for Wavelike steel webplate PC combination box beam bridges
CN112706258A (en) * 2020-11-26 2021-04-27 中电建路桥集团有限公司 T-shaped beam prefabricating equipment suitable for large longitudinal slope beam field
CN114319066A (en) * 2021-12-01 2022-04-12 中国建筑土木建设有限公司 Spliced steel truss box girder and mounting method thereof
CN115391883A (en) * 2022-08-11 2022-11-25 华南理工大学 A Calculation Method for the Manufacture Inclination Angle of the End Face of Large Segment Steel Box Girder
CN115476066A (en) * 2022-10-08 2022-12-16 江苏京沪重工有限公司 Positive and negative manufacturing process of assembled and superposed twin-tire approach bridge steel box girder

Families Citing this family (1)

* Cited by examiner, † Cited by third party
Publication number Priority date Publication date Assignee Title
CN104999548B (en) * 2015-06-30 2018-02-13 中铁二十三局集团有限公司 Magnetic floats the mechanical template system of curve track beam and application method

Cited By (14)

* Cited by examiner, † Cited by third party
Publication number Priority date Publication date Assignee Title
CN101181796B (en) * 2006-11-14 2010-09-15 上海市建筑构件制品有限公司 Adjustable radius of curvature prefabricated box girder mold and its construction method
CN103290788A (en) * 2012-03-03 2013-09-11 四川华西绿舍预制构件有限公司 Prefabricated corner box culvert, and manufacturing method and manufacturing mold of prefabricated corner box culvert
CN103290788B (en) * 2012-03-03 2017-05-24 四川华西绿舍预制构件有限公司 Prefabricated corner box culvert, and manufacturing method and manufacturing mold of prefabricated corner box culvert
CN107956201A (en) * 2016-10-17 2018-04-24 重庆大学 Double-deck Wavelike steel webplate and construction for Wavelike steel webplate PC combination box beam bridges
CN107142832A (en) * 2017-05-23 2017-09-08 中建钢构有限公司 A kind of construction method of arc steel box-girder
CN107142832B (en) * 2017-05-23 2019-08-13 中建钢构有限公司 A kind of construction method of arc steel box-girder
CN112706258A (en) * 2020-11-26 2021-04-27 中电建路桥集团有限公司 T-shaped beam prefabricating equipment suitable for large longitudinal slope beam field
CN112706258B (en) * 2020-11-26 2022-04-12 中电建路桥集团有限公司 T-shaped beam prefabricating equipment suitable for large longitudinal slope beam field
CN114319066A (en) * 2021-12-01 2022-04-12 中国建筑土木建设有限公司 Spliced steel truss box girder and mounting method thereof
CN114319066B (en) * 2021-12-01 2024-05-10 中国建筑土木建设有限公司 Spliced steel truss box girder and installation method thereof
CN115391883A (en) * 2022-08-11 2022-11-25 华南理工大学 A Calculation Method for the Manufacture Inclination Angle of the End Face of Large Segment Steel Box Girder
CN115391883B (en) * 2022-08-11 2024-02-02 华南理工大学 A calculation method for the manufacturing inclination angle of the end face of large-segment steel box beams
CN115476066A (en) * 2022-10-08 2022-12-16 江苏京沪重工有限公司 Positive and negative manufacturing process of assembled and superposed twin-tire approach bridge steel box girder
CN115476066B (en) * 2022-10-08 2024-02-20 江苏京沪重工有限公司 Forward and reverse manufacturing process of assembled and stacked twin-type approach bridge steel box girder

Also Published As

Publication number Publication date
JP3842255B2 (en) 2006-11-08

Similar Documents

Publication Publication Date Title
CN102182139B (en) Manufacturing method of three-crankcase steel connecting bridge
CN110512523B (en) Construction method of large-span door type upper cross beam split support
JP7213136B2 (en) Box girder construction method and construction system
JP3842255B2 (en) Curved road surface type box girder, its formwork apparatus and manufacturing method
CN108505443A (en) A kind of big segment lifting self-anchored suspension bridge construction method not setting camber
US5134741A (en) Bridge structure prefabricated with positive imprint end panels
KR20000017883A (en) Incremental launching method type pc box girder bridge making mold system and segment making method thereof
CN104631317B (en) Hollow plate girder bridge structure and construction process thereof
CN210507144U (en) Stiff skeleton for positioning cable saddle of cable-branching pipe of short-tower cable-stayed bridge
CN201786045U (en) House structure with combined steel beam and pretensioning method prestress laminated beam
CN215051984U (en) Wide-width large-span hybrid beam short-tower cable-stayed bridge system
CN106760486A (en) Exterior wall mould and its erection method in foundation ditch
KR101926440B1 (en) Psc girder manufacture method,the psc girder and girdrr manufacturing system
US4123485A (en) Stage construction of an elevated box girder and roadway structure
CN221031390U (en) Concrete placement template suitable for slope wall body
CN107626822B (en) Adjustable die for prefabricated T-beam for small-radius bent bridge
CN212316706U (en) Erecting machine
JP2000045229A (en) Bridge construction method
KR20200019807A (en) Inverse Tee PSC Girder Prefabricated With Top Saddle PC blocks And Slab Construction Method Using Thereof
JP2003239435A (en) Reinforced-concrete void slab structure and its building method
CN108775192B (en) Prestressed concrete tower column structure and construction method thereof
CN115233541A (en) A connection structure of a segmented prefabricated and assembled cover beam and its construction method
KR100458046B1 (en) Struture for continuing intermediate support of compositive girder bridge
CN115726463A (en) A prefabricated concrete frame structure
KR101347558B1 (en) Construction method for corrugated steel plate web-psc composite beam

Legal Events

Date Code Title Description
A977 Report on retrieval

Free format text: JAPANESE INTERMEDIATE CODE: A971007

Effective date: 20060320

A131 Notification of reasons for refusal

Free format text: JAPANESE INTERMEDIATE CODE: A131

Effective date: 20060411

A521 Written amendment

Free format text: JAPANESE INTERMEDIATE CODE: A523

Effective date: 20060612

TRDD Decision of grant or rejection written
A01 Written decision to grant a patent or to grant a registration (utility model)

Free format text: JAPANESE INTERMEDIATE CODE: A01

Effective date: 20060808

A61 First payment of annual fees (during grant procedure)

Free format text: JAPANESE INTERMEDIATE CODE: A61

Effective date: 20060809

R150 Certificate of patent (=grant) or registration of utility model

Free format text: JAPANESE INTERMEDIATE CODE: R150

S533 Written request for registration of change of name

Free format text: JAPANESE INTERMEDIATE CODE: R313533

FPAY Renewal fee payment (prs date is renewal date of database)

Free format text: PAYMENT UNTIL: 20090818

Year of fee payment: 3

R350 Written notification of registration of transfer

Free format text: JAPANESE INTERMEDIATE CODE: R350

LAPS Cancellation because of no payment of annual fees