JP2005052912A - カムシャフトの仕上げ加工装置 - Google Patents

カムシャフトの仕上げ加工装置 Download PDF

Info

Publication number
JP2005052912A
JP2005052912A JP2003284507A JP2003284507A JP2005052912A JP 2005052912 A JP2005052912 A JP 2005052912A JP 2003284507 A JP2003284507 A JP 2003284507A JP 2003284507 A JP2003284507 A JP 2003284507A JP 2005052912 A JP2005052912 A JP 2005052912A
Authority
JP
Japan
Prior art keywords
camshaft
cam
finishing
lapping
pieces
Prior art date
Legal status (The legal status is an assumption and is not a legal conclusion. Google has not performed a legal analysis and makes no representation as to the accuracy of the status listed.)
Pending
Application number
JP2003284507A
Other languages
English (en)
Other versions
JP2005052912A5 (ja
Inventor
Kyoji Watanabe
恭治 渡辺
Current Assignee (The listed assignees may be inaccurate. Google has not performed a legal analysis and makes no representation or warranty as to the accuracy of the list.)
Musashi Seimitsu Industry Co Ltd
Original Assignee
Musashi Seimitsu Industry Co Ltd
Priority date (The priority date is an assumption and is not a legal conclusion. Google has not performed a legal analysis and makes no representation as to the accuracy of the date listed.)
Filing date
Publication date
Application filed by Musashi Seimitsu Industry Co Ltd filed Critical Musashi Seimitsu Industry Co Ltd
Priority to JP2003284507A priority Critical patent/JP2005052912A/ja
Publication of JP2005052912A publication Critical patent/JP2005052912A/ja
Publication of JP2005052912A5 publication Critical patent/JP2005052912A5/ja
Pending legal-status Critical Current

Links

Images

Landscapes

  • Grinding And Polishing Of Tertiary Curved Surfaces And Surfaces With Complex Shapes (AREA)
  • Valve-Gear Or Valve Arrangements (AREA)

Abstract

【課題】カムシャフトにおける位相の異なるカム駒を同時に仕上げ加工でき、位相が異なるカム駒の数の増加に伴う仕上げ加工時間の増加を抑制する。
【解決手段】カム形状の複数のカム駒をカム軸上に有し、カム駒が異なる位相で配置されるカムシャフトのカム駒に仕上げ加工を施すカムシャフトの仕上げ加工装置において、円盤状又はリング状で外周に加工面を有する仕上げホイールを複数備え、ホイールはカムシャフトの側面視で外周側に周状に配置される。
【選択図】図2

Description

本発明は、カム軸上に異なる位相を有する状態で配置されたカム駒を有するカムシャフトのカム駒に仕上げ加工を施す仕上げ加工装置に関する。
一般的なカムシャフトの製造方法としては、鋳造によりカム予備体を成形し、次にカム駒部分及びカム軸部分を順次砥石により研磨し、その後、カム駒表面に仕上げ加工を施すという方法がある。この仕上げ加工としては、カム駒に研磨時に付着した研磨屑を排除したり磨きを施すためのバフ加工や、面粗度を高くするためのラップ加工などがあった。
上記の如き工程で製造されるカムシャフトは、自動車の内燃機関等で使用される。近年の自動車においては低燃費が求められており、カムシャフトには摩擦抵抗を低くするために高い面粗度が求められる傾向にある。そのため、上記の如き仕上げ加工は特に重要な工程となっている。ここで仕上げ加工の一つであるラップ加工について詳細に説明する。
カムシャフトのラップ加工は、ペーパーラップやストーンラップなど様々な形態があるが、ここでは弾性を有する研磨材によるリング状のラップ用ホイールを使用してラップ加工を施す場合を説明する。一般にラップ加工は、ラップ用ホイール及びカムシャフトを反対方向に回転させ、カムシャフトのカム駒の外径形状に倣ってラップ用ホイールが進退して、カム駒の外周に均一にラップ加工を施す。ここでカムシャフトのカム駒の位相は各々異なっておりいるため、ラップ用ホイールで同時にラップ加工を施すとカム駒の面粗度を均一に高くすることができない。そのため、順次カム駒にラップ加工を施す方法がとられていた。
上述の如く、異なる位相のカム駒を設けたカムシャフトに対し、順次各カム駒にラップ加工を施すことにより、全カム駒に均一のラップ加工を施すことができる。この場合、カム駒の数の少ないカムシャフトであれば加工時間は少なくてすむが、カム駒の数が多いカムシャフトでは順次各カム駒にラップ加工を施すことにより、加工時間が多大にかかってしまうということがある。
解決しようとする問題点は、カムシャフトにおける位相の異なるカム駒を同時に仕上げ加工できないため、位相が異なるカム駒の数の増加に伴い仕上げ加工時間も増加する点である。
本発明は、カム形状の複数のカム駒をカム軸上に有し、カム駒が異なる位相で配置されるカムシャフトのカム駒に仕上げ加工を施すカムシャフトの仕上げ加工装置において、円盤状又はリング状で外周に加工面を有する仕上げホイールを複数備え、ホイールはカムシャフトの側面視で外周側に周状に配置されることを最も主要な特徴とする。
本発明のカムシャフトの仕上げ加工装置は、円盤状又はリング状で外周に加工面を有する仕上げホイールを複数備え、ホイールはカムシャフトの軸線に対して周状に配置されるため、位相の異なるカム駒に同時に仕上げ加工を施すことができるので、位相の異なるカム駒の数が増加しても加工時間の増加が抑制でき、生産性が向上する。また、限られた一方向から仕上げ加工が施されないので、カムシャフトにかかる荷重が分散されるため、カムシャフト仕上げ加工時における負荷が偏らない。
カムシャフトの位相の異なるカム駒に同時に仕上げ加工を施すという目的を、カムシャフトに一定の方向から偏った荷重がかるという負荷を与えることなく実現した。
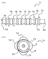
図1は、位相の異なるカム駒73,74,75,76を有する一般的なカムシャフト71を表す。このカムシャフト71は、軸線方向に延びるカム軸77と、カム軸77上に設けられる複数のカム駒73,74,75,76及びジャーナル駒81から構成される。カム軸77は一方端部78側端面から外側に向けて軸線方向に突出するピン79を備えている。ジャーナル駒81は、その外周がカム軸77より大径で同心の円形状である。またカム駒73,74,75,76は、その外周がカム軸77より大径で同心の半円形状であるカムベース部aと、そのカムベース部aから突出するカムトップ部bを有するカム形状である。カム軸77上では一対のカム駒73,73が同位相の状態に配置され、一対のカム駒が位相の異なる状態で第一カム駒73から第四カム駒76まで、四対形成されている。各一対のカム駒間にはジャーナル駒81が配置されている。
このようなカムシャフト71は、予め鋳造によりカムシャフト予備体を成形し、次にジャーナル駒81及びカム駒73,74,75,76に研削加工が施され、最後に仕上げ加工としてラップ加工がカム駒73,74,75,76に施されるという工程で製造される。このラップ加工を行うラップ加工装置について図2及び図3を基に説明する。
図2及び図3に示されるのはカムシャフトの仕上げ加工装置の一つであるラップ加工装置1である。まず第一カム駒73にラップ加工を施す第一ラップ部2Aについて説明する。第一ラップ部2Aは、第一カム駒73に対向して図2に示される如くカムシャフト71の他方端部80側から見てカムシャフト71の右側に配置される。この第一ラップ部2Aは本体12上に形成され、カムシャフト71の軸線に対して垂直方向に延びるレール9と、レール9に摺動可能に取り付けられる可動テーブル8とを備え、可動テーブル8をレール9に沿って往復動させる駆動手段11が設けられる。この駆動手段11は、可動テーブル8に螺合されるねじ軸10と、本体上12に取り付けられて上記ねじ軸10を正逆回転させ得る第一電動モータ11aとから構成される。また、可動テーブル8の側面にはカムシャフト71の軸線に対して水平方向に延びる側面レール7が形成されており、側面レール7に摺動可能に取り付けるホイール台6が支承される。ホイール台6にはカムシャフトのホイール軸3とホイール軸3の両端を支持する支持具4,4を備える。ホイール台6は連結ブロック15により一体に連結されて側面レール7上を摺動し得るようになっており、この連結ブロック15には、連結ブロック15を往復動させ得る連結ブロック駆動手段13が設けられる。この連結ブロック駆動手段13は、連結ブロック15に螺合されるねじ軸14と、可動テーブル8に取り付けられて上記ねじ軸14を正逆回転させ得る第二電動モータ13とから構成される。ラップ加工用ホイール2はその軸心にホイール軸3を備えた状態に配置され、ホイール軸3には一体に設けられる図示せぬギアがモータ5に接続され、モータ5の回転によりラップ加工用ホイール2は回転する。また第二カム駒74にラップ加工を施す第二ラップ部22Aは第二カム駒74と対向して図2に示される如く他方端部80側から見てカムシャフト71の上側に配置される。また第三カム駒75にラップ加工を施す第三ラップ部32Aは第三カム駒75と対向して図2に示される如く他方端部80側から見てカムシャフト71の下側に配置される。また第四カム駒76にラップ加工を施す第四ラップ部42Aは第四カム駒76と対向して図2に示される如く他方端部側から見てカムシャフト71の左側に配置される。第二ラッブ部22A、第三ラップ部32A及び第四ラップ部42Aは第一ラップ部2Aと同様の構造であり、第一ラップ部2A乃至第四ラップ部42Aはカムシャフト71の軸77に対してラップ加工用ホイール2,22,32,42が側面視で重ならない状態に配置されている。
また、図2及び図3に示す如くカムシャフト71の軸線方向両側には、カムシャフト71を支持するワーク支持具61が配置され、一方第一ワーク支持具62は軸線方向に固定され、他方第二ワーク支持具63は軸線方向に対して進退可能である。またワーク支持具61は軸心を中心に回転可能で、第一ワーク支持具62に一体に設けられるメインギア64が、噛合するサブギア65を介してモータ66に接続され、モータ66の回転により第一ワーク支持具62は回転する。
続いて、上記ラップ加工装置1を使用してカムシャフト71にラップ加工を施す工程を説明する。
まず、ワーク支持具61でカムシャフト71の両端を支持する。このときカム軸77の一方端面78から突出するピン79を第一ワーク支持具62の孔部(図示せず)に挿入して、予め設定された位相状態に配置する。続いて第一ワーク支持具62に接続したモータ66及び第一ラッブ部2A乃至第四ラップ部42Aの各ホイール支持具3に接続したモータ5を各々反対方向に回転させカムシャフト71及び各ラップ用ホイール2,22,32,42を反対方向に回転させる。その後、NC制御により駆動手段11が作動して、第一電動モータ11a及び第二電動モータ13aの作動を制御し、各可動テーブル8をカムシャフト71の軸線に対して水平方向に往復動させるとともに垂直方向に微速で送って、各ラップ加工用ホイール2,22,32,42がカム駒72の形状に倣って第一カム73駒乃至第四カム駒76にラップ加工を施し、カムシャフト71の仕上げ加工が完了する。
よって上記の如きカムシャフトのラップ加工装置1によれば、リング状で外周に加工面を有するラッブ加工用ホイール2,22,32,42を備え、ラッブ加工用ホイール2,22,32,42はカムシャフト71の軸線に対して周状に配置されるので、カムシャフト71のカム軸77上に配置される位相の異なる各カム駒73,74,75,76を同時にラップ加工することができる。
尚、上記実施例では仕上げ加工としてラップ加工が挙げられているが、これに限定されるわけではなく、バフホイールを用いたバフ加工など、カムシャフトの仕上げ加工を円盤形状又はリング形状の加工用ホイールで行う加工であれば、全て適用できる。また、上記実施例では仕上げ加工用ホイールの数は四個であったが、仕上げ加工用ホイールの個数も限定されることはない。
カム軸上に異なる位相を有する状態で配置されたカム駒を有するカムシャフトを表し、(ア)は平面図、(イ)は側面図である。 本発明の実施例によるカムシャフトの仕上げ加工装置を表す部分断面側面図である。 本発明の実施例によるカムシャフトの仕上げ加工装置を表す平面図である。
符号の説明
2、22,32,42 仕上げ加工用ホイール
71 カムシャフト
73,74,75,76 カム駒
77 カム軸

Claims (1)

  1. カム形状の複数のカム駒(73,74,75,76)をカム軸(77)上に有し、前記カム駒(73,74,75,76)が異なる位相で配置されるカムシャフト(71)の前記カム駒(73,74,75,76)に仕上げ加工を施すカムシャフトの仕上げ加工装置において、円盤状又はリング状で外周に加工面を有する仕上げ加工用ホイール(2,22,32,42)を複数備え、該仕上げ加工用ホイール(2,22,32,42)は前記カムシャフト(71)の側面視で外周側に周状に配置されることを特徴とするカムシャフトの仕上げ加工装置。
JP2003284507A 2003-07-31 2003-07-31 カムシャフトの仕上げ加工装置 Pending JP2005052912A (ja)

Priority Applications (1)

Application Number Priority Date Filing Date Title
JP2003284507A JP2005052912A (ja) 2003-07-31 2003-07-31 カムシャフトの仕上げ加工装置

Applications Claiming Priority (1)

Application Number Priority Date Filing Date Title
JP2003284507A JP2005052912A (ja) 2003-07-31 2003-07-31 カムシャフトの仕上げ加工装置

Publications (2)

Publication Number Publication Date
JP2005052912A true JP2005052912A (ja) 2005-03-03
JP2005052912A5 JP2005052912A5 (ja) 2006-03-23

Family

ID=34364422

Family Applications (1)

Application Number Title Priority Date Filing Date
JP2003284507A Pending JP2005052912A (ja) 2003-07-31 2003-07-31 カムシャフトの仕上げ加工装置

Country Status (1)

Country Link
JP (1) JP2005052912A (ja)

Cited By (5)

* Cited by examiner, † Cited by third party
Publication number Priority date Publication date Assignee Title
JP2006250011A (ja) * 2005-03-10 2006-09-21 Hitachi Ltd 内燃機関のカム
DE102008026655A1 (de) 2007-06-13 2008-12-18 Emag Holding Gmbh Verfahren und Vorrichtung zum Schleifen von Nocken einer Nockenwelle
JP2010060062A (ja) * 2008-09-04 2010-03-18 Jtekt Corp 軸受付カムシャフトの製造方法
CN103121184A (zh) * 2013-01-08 2013-05-29 北京工业大学 一种数控凸轮轴磨床磨削变形补偿装置及方法
JP2017078368A (ja) * 2015-10-21 2017-04-27 トヨタ自動車株式会社 カムユニットの製造方法

Cited By (9)

* Cited by examiner, † Cited by third party
Publication number Priority date Publication date Assignee Title
JP2006250011A (ja) * 2005-03-10 2006-09-21 Hitachi Ltd 内燃機関のカム
DE102008026655A1 (de) 2007-06-13 2008-12-18 Emag Holding Gmbh Verfahren und Vorrichtung zum Schleifen von Nocken einer Nockenwelle
WO2008151586A1 (de) 2007-06-13 2008-12-18 Emag Holding Gmbh Verfahren und vorrichtung zum schleifen von nocken einer nockenwelle
US8398455B2 (en) 2007-06-13 2013-03-19 Emag Holding Gmbh Method of and apparatus for grinding cams of a camshaft
DE102008026655B4 (de) * 2007-06-13 2016-06-02 Emag Holding Gmbh Verfahren und Vorrichtung zum Schleifen von Nocken einer Nockenwelle
JP2010060062A (ja) * 2008-09-04 2010-03-18 Jtekt Corp 軸受付カムシャフトの製造方法
CN103121184A (zh) * 2013-01-08 2013-05-29 北京工业大学 一种数控凸轮轴磨床磨削变形补偿装置及方法
CN103121184B (zh) * 2013-01-08 2015-05-20 北京工业大学 一种数控凸轮轴磨床磨削变形补偿装置及方法
JP2017078368A (ja) * 2015-10-21 2017-04-27 トヨタ自動車株式会社 カムユニットの製造方法

Similar Documents

Publication Publication Date Title
TWI414396B (zh) Repair method of internal gear grinding machine and barrel screw type tool
TWI438048B (zh) Internal gear grinding machine
TW201008705A (en) Polishing apparatus, polishing auxiliary apparatus and polishing method
JP2008264941A (ja) 円板形ワークの研磨装置および研磨方法
JP2005052912A (ja) カムシャフトの仕上げ加工装置
WO2007072879A1 (ja) 砥石修正装置
JP5206194B2 (ja) 砥石のツルーイング方法およびツルーイング装置
JP2005131760A (ja) ボールねじ溝加工工具およびボールねじ溝の加工方法
JP6151529B2 (ja) サファイアウェーハの研削方法
JP2004237406A (ja) 微細溝加工方法
JP4768692B2 (ja) 研磨装置及び研磨方法
US9694466B2 (en) Lens processing apparatus and method for lens processing
JP6006144B2 (ja) レンズ加工装置、レンズ加工方法、及びレンズ加工用工具
JP5699537B2 (ja) 研削方法および複合研削盤
JP2002079469A (ja) 砥石車
JP7595929B2 (ja) 加工用砥石の研削面の修正方法
JP3445237B2 (ja) ワーク外周の研磨方法および研磨装置
JP3738571B2 (ja) ローディングカム装置のカム面の加工方法及び加工装置
JP7398096B2 (ja) 回転砥石の研削面修正方法
JPH0523959A (ja) ワークエツジの鏡面研磨方法及び装置
JP2007030143A (ja) ワークのバリ除去若しくは研磨の方法及びその装置
JP2006043787A (ja) 平面研削用セグメント砥石
JP2004090117A (ja) 砥石
JP2009142959A (ja) カムシャフトの加工方法
JP2006159329A (ja) 研削加工方法

Legal Events

Date Code Title Description
A521 Written amendment

Free format text: JAPANESE INTERMEDIATE CODE: A523

Effective date: 20060131

A621 Written request for application examination

Free format text: JAPANESE INTERMEDIATE CODE: A621

Effective date: 20060131

A977 Report on retrieval

Effective date: 20070710

Free format text: JAPANESE INTERMEDIATE CODE: A971007

A131 Notification of reasons for refusal

Free format text: JAPANESE INTERMEDIATE CODE: A131

Effective date: 20070717

A521 Written amendment

Free format text: JAPANESE INTERMEDIATE CODE: A523

Effective date: 20070918

A131 Notification of reasons for refusal

Free format text: JAPANESE INTERMEDIATE CODE: A131

Effective date: 20071105

A02 Decision of refusal

Free format text: JAPANESE INTERMEDIATE CODE: A02

Effective date: 20080305