JP2005036548A - 屋根機能パネル用ベース板の取付構造 - Google Patents

屋根機能パネル用ベース板の取付構造 Download PDF

Info

Publication number
JP2005036548A
JP2005036548A JP2003275665A JP2003275665A JP2005036548A JP 2005036548 A JP2005036548 A JP 2005036548A JP 2003275665 A JP2003275665 A JP 2003275665A JP 2003275665 A JP2003275665 A JP 2003275665A JP 2005036548 A JP2005036548 A JP 2005036548A
Authority
JP
Japan
Prior art keywords
base plate
roof
ridge
eaves
base
Prior art date
Legal status (The legal status is an assumption and is not a legal conclusion. Google has not performed a legal analysis and makes no representation as to the accuracy of the status listed.)
Granted
Application number
JP2003275665A
Other languages
English (en)
Other versions
JP3838226B2 (ja
Inventor
Masatoshi Sekoguchi
雅利 世古口
Tomohide Yoshida
朋秀 吉田
Current Assignee (The listed assignees may be inaccurate. Google has not performed a legal analysis and makes no representation or warranty as to the accuracy of the list.)
Panasonic Electric Works Co Ltd
Original Assignee
Matsushita Electric Works Ltd
Priority date (The priority date is an assumption and is not a legal conclusion. Google has not performed a legal analysis and makes no representation as to the accuracy of the date listed.)
Filing date
Publication date
Application filed by Matsushita Electric Works Ltd filed Critical Matsushita Electric Works Ltd
Priority to JP2003275665A priority Critical patent/JP3838226B2/ja
Publication of JP2005036548A publication Critical patent/JP2005036548A/ja
Application granted granted Critical
Publication of JP3838226B2 publication Critical patent/JP3838226B2/ja
Anticipated expiration legal-status Critical
Expired - Fee Related legal-status Critical Current

Links

Images

Classifications

    • FMECHANICAL ENGINEERING; LIGHTING; HEATING; WEAPONS; BLASTING
    • F24HEATING; RANGES; VENTILATING
    • F24SSOLAR HEAT COLLECTORS; SOLAR HEAT SYSTEMS
    • F24S25/00Arrangement of stationary mountings or supports for solar heat collector modules
    • F24S25/40Arrangement of stationary mountings or supports for solar heat collector modules using plate-like mounting elements, e.g. profiled or corrugated plates; Plate-like module frames 
    • FMECHANICAL ENGINEERING; LIGHTING; HEATING; WEAPONS; BLASTING
    • F24HEATING; RANGES; VENTILATING
    • F24SSOLAR HEAT COLLECTORS; SOLAR HEAT SYSTEMS
    • F24S25/00Arrangement of stationary mountings or supports for solar heat collector modules
    • F24S25/20Peripheral frames for modules
    • FMECHANICAL ENGINEERING; LIGHTING; HEATING; WEAPONS; BLASTING
    • F24HEATING; RANGES; VENTILATING
    • F24SSOLAR HEAT COLLECTORS; SOLAR HEAT SYSTEMS
    • F24S25/00Arrangement of stationary mountings or supports for solar heat collector modules
    • F24S25/60Fixation means, e.g. fasteners, specially adapted for supporting solar heat collector modules
    • F24S25/67Fixation means, e.g. fasteners, specially adapted for supporting solar heat collector modules for coupling adjacent modules or their peripheral frames
    • FMECHANICAL ENGINEERING; LIGHTING; HEATING; WEAPONS; BLASTING
    • F24HEATING; RANGES; VENTILATING
    • F24SSOLAR HEAT COLLECTORS; SOLAR HEAT SYSTEMS
    • F24S20/00Solar heat collectors specially adapted for particular uses or environments
    • F24S2020/10Solar modules layout; Modular arrangements
    • F24S2020/12Coplanar arrangements with frame overlapping portions
    • YGENERAL TAGGING OF NEW TECHNOLOGICAL DEVELOPMENTS; GENERAL TAGGING OF CROSS-SECTIONAL TECHNOLOGIES SPANNING OVER SEVERAL SECTIONS OF THE IPC; TECHNICAL SUBJECTS COVERED BY FORMER USPC CROSS-REFERENCE ART COLLECTIONS [XRACs] AND DIGESTS
    • Y02TECHNOLOGIES OR APPLICATIONS FOR MITIGATION OR ADAPTATION AGAINST CLIMATE CHANGE
    • Y02BCLIMATE CHANGE MITIGATION TECHNOLOGIES RELATED TO BUILDINGS, e.g. HOUSING, HOUSE APPLIANCES OR RELATED END-USER APPLICATIONS
    • Y02B10/00Integration of renewable energy sources in buildings
    • Y02B10/20Solar thermal
    • YGENERAL TAGGING OF NEW TECHNOLOGICAL DEVELOPMENTS; GENERAL TAGGING OF CROSS-SECTIONAL TECHNOLOGIES SPANNING OVER SEVERAL SECTIONS OF THE IPC; TECHNICAL SUBJECTS COVERED BY FORMER USPC CROSS-REFERENCE ART COLLECTIONS [XRACs] AND DIGESTS
    • Y02TECHNOLOGIES OR APPLICATIONS FOR MITIGATION OR ADAPTATION AGAINST CLIMATE CHANGE
    • Y02EREDUCTION OF GREENHOUSE GAS [GHG] EMISSIONS, RELATED TO ENERGY GENERATION, TRANSMISSION OR DISTRIBUTION
    • Y02E10/00Energy generation through renewable energy sources
    • Y02E10/40Solar thermal energy, e.g. solar towers
    • Y02E10/47Mountings or tracking

Landscapes

  • Engineering & Computer Science (AREA)
  • Physics & Mathematics (AREA)
  • Life Sciences & Earth Sciences (AREA)
  • Sustainable Development (AREA)
  • Sustainable Energy (AREA)
  • Thermal Sciences (AREA)
  • Chemical & Material Sciences (AREA)
  • Combustion & Propulsion (AREA)
  • Mechanical Engineering (AREA)
  • General Engineering & Computer Science (AREA)
  • Roof Covering Using Slabs Or Stiff Sheets (AREA)

Abstract

【課題】 屋根瓦上に並べて敷設される複数のベース板の位置決めを容易且つ正確に行なうことができ、屋根瓦上の適切な位置にベース板を介して屋根機能パネルを簡単且つ強固に取り付けることができ、施工性及び防水性に優れたものとする。
【解決手段】 太陽電池パネルのベース板1を屋根瓦の上に載設し、ベース板1の上面に固定バーを載置して、ビス、釘等の固着具を固定バーからベース板1、屋根瓦を介して屋根下地まで打設してベース板1を固定する構造である。上記ベース板1の軒側端部1aと棟側端部1bとに屋根機能パネルの周縁を支持する支持フレーム11をそれぞれ取り付けると共に、軒側のベース板1の棟側端部1bの上面に棟側のベース板1の軒側端部1aの下面を重ねた状態で、軒側のベース板1の支持フレーム11に設けた当接部12と棟側A2のベース板1の支持フレーム11に設けた当接部13とを互いに当接させる。
【選択図】 図1

Description

本発明は、太陽電池パネル等の屋根機能パネルのベース板を屋根瓦に取り付ける構造に関するものである。
従来、太陽電池パネル8を屋根面の上に設置する例として、例えば、図16に示すものがある。金属の平板状のベース板1’の四隅に図16(a)に示す取り付け孔2を穿孔し、この取り付け孔2に取り付け金具3をビスにて図16(b)に示すように取着する。次いでこのベース板1’を屋根面の上に載せ、ベース板1’に設けたスリット状の固定孔からビス、釘等の固着具4を屋根下地まで打入して固定する。この際、屋根面上に複数枚のベース板1’が並べて敷設されるが、屋根面の軒棟方向に隣り合うベース板1’は重ね合わせで止水され、左右に隣り合うベース板1’間はジョイナー或いは捨て板金等を用いて止水される。固着具4を打入した部分はカバー材5で覆われる。ベース板1’の棟側の端部とこれよりも棟側の屋根瓦6との間は、水切り板7で止水される。このようにベース板1’を屋根面に取り付けた状態で各ベース板1’の上にはそれぞれ太陽電池パネル8が配置され、ベース板1’にそれぞれ太陽電池パネル8が取り付けられる。
ところがこの従来例では、平板状のベース板1’を用いるため、隣り合うベース板1’同士の位置決めに手間がかかり、屋根面上の適切な位置にベース板1’を取り付けることが困難であり、施工性が悪いという問題がある。
他の従来例として、太陽電池パネルを屋根面に設置する際に、矩形状の枠組したフレーム部材を屋根面から浮かせて設置し、このフレーム部材に太陽電池パネルを嵌め込んで装着する構造が知られている(例えば、特許文献1参照)。
ところがこの特許文献1に見られる従来例では、フレーム部材が屋根面から浮いた状態で取り付けられるため、フレーム部材に剛性を要し、またフレーム部材の重量が重くなるという問題があり、さらにフレーム部材の取り付け孔から雨水が屋根下地まで浸入し、屋根下地を腐らせるという問題もある。
特開平11−131734号公報
本発明は上記の従来の問題点に鑑みて発明したものであって、屋根瓦上に並べて敷設される複数のベース板の位置決めを容易且つ正確に行なうことができ、屋根瓦上の適切な位置にベース板を介して屋根機能パネルを簡単且つ強固に取り付けることができ、施工性及び防水性に優れ、さらに、意匠性に優れた屋根機能パネル用ベース板の取付構造を提供することを課題とする。
上記課題を解決するために請求項1の発明は、太陽電池パネル8、太陽熱集熱パネル、緑化パネル等の屋根機能パネル8Aのベース板1を屋根瓦6の上に載設し、ベース板1の上面に固定バー9を載置して、ビス、釘等の固着具4を固定バー9からベース板1、屋根瓦6を介して屋根下地10まで打設してベース板1を固定する屋根機能パネル用ベース板の取付構造において、上記ベース板1の軒側端部1aと棟側端部1bとに屋根機能パネル8Aの周縁を支持する支持フレーム11をそれぞれ取り付けると共に、軒側A1のベース板1の棟側端部1bの上面に棟側A2のベース板1の軒側端部1aの下面を重ねた状態で、軒側A1のベース板1の支持フレーム11に設けた当接部12とこれに対向する棟側A2のベース板1の支持フレーム11に設けた当接部13とが互いに当接していることを特徴としている。このように構成することで、屋根瓦6上の軒棟方向Aに複数のベース板1を並べて敷設する際に対向するベース板1の支持フレーム11の当接部12,13同士を互いに当接させるだけで、軒棟方向Aに隣り合うベース板1同士の位置決めを容易に且つ正確に行なうことができるようになり、これにより、屋根瓦6上の適切な位置にベース板1を介して屋根機能パネル8Aを簡単且つ強固に取り付けることができる。
また、請求項2の発明は、上記対向する軒側のベース板1の支持フレーム11と棟側A2のベース板1の支持フレーム11のいずれか一方に嵌合凹部14、いずれか他方に嵌合凸部15がそれぞれ設けられ、嵌合凹部14と嵌合凸部15との嵌合によりベース板1の浮き上がりを防止していることを特徴とするのが好ましく、この場合、支持フレーム11を利用して軒棟方向Aに隣り合うベース板1の浮き上がりを防止できるようになり、結果、施工性及び意匠性の高い屋根機能パネル8Aの葺き構造が得られる。
また請求項3の発明は、上記固定バー9は、ベース板1における軒棟方向Aの中間位置よりも軒側A1或いは棟側A2に寄せて取り付けられることを特徴とするのが好ましく、この場合、軒棟方向Aに複数のベース板1が並べて敷設される場合にあっては、軒側A1のベース板1の棟側端部1bをこれと隣り合う棟側A2のベース板1の軒側端部1aによって上から押さえて固定できるので、軒側A1のベース板1の軒側A1に寄せた位置に固定バー9を取り付けるだけで、固定バー9の数を減らしながらベース板1の固定力を高めることができる。
また請求項4の発明は、上記屋根瓦6と屋根下地10間にコーキング剤16が充填される空間部17が存在していると共に、該空間部17と対向するベース板1の上面位置に上記固定バー9の取り付け位置を表わす目印18を設けることを特徴とするのが好ましく、この場合、空間部17によって屋根瓦6と屋根下地10間にコーキング剤16を充填することができ、またベース板1上の目印18に沿わせて固定バー9を載置してビス等の固着具4を打入することで、固定バー9の取り付け位置をわかり易くでき、職人による施工ミスが減少し、施工のバラツキが減少する。しかも、空間部17のコーキング剤16を狙って固着具4を打入することで、コーキング剤16により固着具4回りの空間部17が封止されて、屋根の防水性を一層確保できる。
また請求項5の発明は、上記ベース板1は、軒棟方向Aと直交する左右方向Bに山部19と谷部20とを交互に設けた波板状に形成されていると共に、ベース板1の棟側端部1bを左右方向Bの略全長に亘って平板状に形成したことを特徴とするのが好ましく、この場合、ベース板1を波板状に形成することで、板厚を厚くすることなく剛性を上げることができ、コスト削減及び重量軽減を図ることができ施工性を向上させることができるものであり、また、ベース板1の棟側端部1bを平板状に形成することで、仮に軒側端部1aの下面から雨水が逆流しても、平板状の棟側端部1bにおいて水が阻止され、それ以上の逆流を防止でき、ベース板1とこれよりも棟側A2に位置する屋根瓦6との間の防水性能を高めることができる。
本発明は、屋根瓦上の軒棟方向に複数のベース板を並べて敷設する際に軒棟方向に隣り合うベース板の支持フレームの当接部同士を互いに当接させるだけで、軒棟方向に隣り合うベース板同士の位置決めを容易に且つ正確に行なうことができる結果、屋根瓦上の適切な位置にベース板を介して屋根機能パネルを簡単且つ精度良く取り付けることができ、施工性の大幅な向上を図ることができる。
以下、本発明を添付図面に示す実施形態に基いて説明する。
本実施形態の屋根機能パネル用のベース板1は、既築スレート瓦等の屋根瓦6の上に軒棟方向A及びこれと直交する左右方向Bに並べて載設されるものであり、各ベース板1は、図2(a)に示すように、左右方向Bに山部19と谷部20とを交互に設けた波板状に形成されている。ここで、軒棟方向Aに隣り合うベース板1間はベース板1の端部の上下の重ね合わせにより止水され、左右に隣り合うベース板1間は、図2(b)に示すように、一方のベース板1の側端部の山部19と他方のベース板1の側端部の谷部20とを嵌合させることで止水されている。またベース板1を波板状に形成することで、左右方向Bへの位置決めが容易になると共に、軒側A1への排水も容易になり、さらに加えて、ベース板1の板厚を厚くすることなく剛性を上げることができ、コストを削減しながら必要な強度が得られると共に、ベース板1の重量を軽減できて施工性が向上するという利点もある。また本例では、ベース板1の棟側端部1bは左右方向Bの略全長に亘って平板状に形成されており、これにより軒側端部1aの下面から雨水が逆流しても、平板状の棟側端部1bにおいて水が阻止され、それ以上の逆流を防いで、ベース板1とこれよりも棟側に位置する屋根瓦6との隙間に雨水が浸入するのを防止できる構造となっている。
上記ベース板1の山部19上には屋根瓦6に対して固定するための固定バー9が載置される。この固定バー9は、ベース板1の左右方向Bに沿って複数の山部19に跨るような長手形状の底板部9aと、底板部9aの上下両端からそれぞれ上方に突設される一対の角筒形状の補強部9bとが一体に構成されている。本例の固定バー9は、図4に示すように、ベース板1における軒棟方向Aの中間位置よりも軒側A1に寄せて取り付けられている。その理由は、軒棟方向Aに2枚のベース板1が並べて敷設される場合にあっては、軒側A1のベース板1の棟側端部1bを棟側A2のベース板1の軒側端部1aによって上から押さえて固定できるので、軒側A1のベース板1の軒側A1に寄った位置に固定バー9を取り付けるだけで、固定バー9の数を減らしながら屋根瓦6に対するベース板1全体の固定力を高めることができる構造となっている。
上記屋根瓦6と屋根下地10間には、図6に示すように、コーキング剤16が充填される空間部17が存在していると共に、該空間部17と対向するベース板1の上面位置に、固定バー9の取り付け位置を表わす目印18が設けられている。本例では、図5に示すように、目印18としてけがき線が描かれている。ここで、固定バー9の固着具4(以下「ビス4」と称する)はベース板1から屋根瓦6を貫通して屋根下地10(野地板)に打設されるが、このとき、固定バー9の取り付け位置、つまり、ビス4の打入位置は、屋根瓦6が2枚重ねの箇所を狙う必要がある。その理由は、屋根瓦6と屋根下地10との間に空間部17が存在していない箇所にはコーキング剤16を充填することができず、ビス4を打設したときにコーキング剤16による防水効果が期待できなくなる。そこで本例では、上記空間部17と対向するベース板1の上面位置に固定バー9を取り付けるようにしている。このとき、ベース板1を屋根瓦6の面に対してピッチ合わせして設置した場合、固定バー9の取り付け位置の確認ができるようにするため、予めベース板1上面に目印18をつけておき、この目印18に沿わせて固定バー9を載置して取り付けることで、ビス4を屋根瓦6と屋根下地10間の空間部17に充填されているコーキング剤16を狙って打入することができる。このときコーキング剤16はビス4回りの空間部17を封止してベース板1の固定バー9の部分から雨水が屋根下地10や小屋裏に雨水が浸入して腐食したりすることがなく、高度な防水構造を確保できるようになる。またベース板1上に設けられる目印18は固定バー9の取り付け位置をわかり易くして、施工性を向上させる働きをする。なお本例では、最も棟側A2に位置するベース板1には図9に示すように、中間位置よりも軒側A1寄りと棟側A2寄りの両方に固定バー9が取り付けられるため、軒側A1寄りだけでなく棟側A2寄りにも目印18’(図5(a))を設けるようにしている。
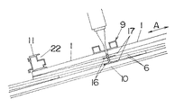
上記ベース板1の軒側端部1a及び棟側端部1bには、図2に示すように、金属製の支持フレーム11がそれぞれ取り付けられており、この支持フレーム11によって太陽電池パネル8の周縁が支持されるようになっている。本例では支持フレーム11がベース板1の左右方向Bに間隔をあけて複数本(本例では3本)取り付けられている。各支持フレーム11の長さは、図4に示すように、軒側A1のベース板1に対して棟側A2のベース板1を左右方向Bにずらせて配置する場合においても、少なくとも1箇所の支持フレーム11同士が必ず当接し合うような長手形状をしている。ここで、各支持フレーム11には、図1、図3に示すように、互いに当接する当接部12,13が設けられており、軒側A1(下段)のベース板1の棟側端部1bの上面に棟側A2(上段)のベース板1の軒側端部1aの下面を重ねた状態で、軒側A1のベース板1の支持フレーム11に設けた当接部12とこれと対向する棟側A2のベース板1の支持フレーム11に設けた当接部13とが互いに当接することで、両ベース板1が位置決めされるようになっている。図3に示す例では、軒棟方向Aに対向する2つの支持フレーム11において、軒側A1に位置する支持フレーム11には、上下の嵌合凹部14と中央の当接部12とが形成されており、一方、軒側A1に位置する支持フレーム11の対向面には、上下の嵌合凸部15と中央の当接部13とが形成されている。当接部12,13の互いの当接によって両ベース板1が位置決めされるようになっており、さらに嵌合凹部14と嵌合凸部15との嵌合によって、両ベース板1の浮き上がりを防止できるようになっている。さらに、上記支持フレーム11の当接部12(13)等が設けられている面とは反対側の面には、太陽電池パネル8の前縁或いは後端が挿入される挿入凹所22が設けられている。
しかして、屋根瓦6の上に太陽電池パネル8を葺設するにあたっては、先ず、複数のベース板1を屋根瓦6上に並べて敷設する。このとき、最も軒側A1のベース板1を屋根瓦6の軒先側の端部に合わせて載置し、このベース板1の棟側端部1bの上面にこれと隣り合う棟側A2のベース板1の軒側端部1aを上から重ねるようにして設置する。このとき図3に示すように、軒側A1のベース板1の棟側端部1bに取り付けた支持フレーム11の当接部12を棟側A2のベース板1の軒側端部1aに取り付けた支持フレーム11の当接部13に当接させることにより、軒棟方向Aに隣り合うベース板1同士を位置決めできると同時に、嵌合凹部14と嵌合凸部15との嵌合によって、両ベース板1の浮き上がりを防止できるようになる。またこのとき、長手形状の支持フレーム11がベース板1の左右方向Bに間隔をあけて3本取り付けられているため、図4に示すように、軒側A1のベース板1に対して棟側A2のベース板1を左右方向Bにずらせて配置する場合でも、少なくとも2つの支持フレーム11同士が対向し合うようになる。
その後、固定バー9の長手方向をベース板1の左右方向Bに向け且つ固定バー9をベース板1の複数の山部19に跨いだ状態で、ベース板1の上面に設けた目印18に合わせて固定バー9を載置する。このとき固定バー9の裏面(接着面)の離型紙を剥がして、図5に示すベース板1の目印18に合わせて仮接着する。そして先ず、図6に示すように、ドリルによって固定バー9の底板部9aからベース板1、屋根瓦6まで先穴をあけ、この穴に図7に示すように、コーキング剤16を流し込むことにより、屋根瓦6の上下両側の空間部17にそれぞれコーキング剤16を充填し、その後、図8に示すように、ビス4を屋根下地10まで打入することで、ベース板1を固定する。ここで、ベース板1の棟側A2(上段)に別のベース板1が存在しない場合においては図9に示すように、当該ベース板1の軒側A1及び棟側A2の両方にそれぞれ固定バー9を取り付ける。さらに当該ベース板1の棟側端部1bとこれよりも棟側A2の屋根瓦6との間は、図10に示すように、防水テープ23にて防水され、さらにこの防水テープ23の上にガルバリウム鋼板等からなる差込み板金24の下半部を被せると共に、差込み板金24の上半部をこれよりも棟側の屋根瓦6の下面に差込む。これにより、差込み板金24で水切りされ、ベース板1の棟側端部1bとこれよりも棟側の屋根瓦6との隙間からの雨水が浸入するのを防止できる。
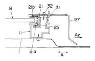
その後、図12〜図14に示すように、上記支持フレーム11に対して太陽電池パネル8を取り付ける。ここにおいて、図12に示すように、軒側A1のベース板1と棟側A2のベース板1との突き合わせ部分にて対向する2つの支持フレーム11において、軒側A1の支持フレーム11の挿入凹所22内には引掛け部25が突設されており、太陽電池パネル8の後端を挿入凹所22に挿入した状態で、コ字状のクリップ金具21を横方向から挿入凹所22に嵌め込んで、クリップ金具21の下片21aを引掛け部25の下面に引っ掛け、クリップ金具21の上片21bを太陽電池パネル8の後端の上面に引っ掛ける。一方、棟側A2の支持フレーム11の挿入凹所22内に他の太陽電池パネル8の前端を挿入する。その後、上方から中央カバー26を被せると、中央カバー26の下面中央に設けた位置決めリブ29が軒側A1の支持フレーム11の上側の嵌合凸部15の内側に挿入されて中央カバー26を位置決めでき、この状態で複数のネジ30を中央カバー26から各支持フレーム11の上端にそれぞれ締め込むことで、対向する支持フレーム11同士を固定できる。一方、図13に示すように、最も棟側A2のベース板1の棟側端部1bに位置する支持フレーム11の挿入凹所22には、太陽電池パネル8の後端を挿入した後、上記と同様にしてクリップ金具21を取り付け、その後、上方から棟側カバー27を被せると、棟側カバー27の下面に設けた位置決めリブ31が支持フレーム11の後端に当たることで棟側カバー27を位置決めでき、この状態でネジ32にて棟側カバー27を支持フレーム11の上端に固定する。他方、図14に示すように、最も軒側A1のベース板1の軒側端部1aに位置する支持フレーム11の挿入凹所22には、太陽電池パネル8の前端を挿入した後、上方から軒側カバー28を被せると、軒側カバー28の下面に設けた位置決めリブ33が支持フレーム11の上側の嵌合凸部15の内側に挿入されて軒側カバー28を位置決めでき、この状態でネジ34にて軒側カバー28を支持フレーム11の上端に固定する。
この結果、既存スレート瓦の適切な位置へのベース板1の固定力が強く、簡単且つ強固に取り付けることができ、施工性及び意匠性に優れた状態で太陽電池パネル8を施工することができる。
なお、前記実施形態では、屋根機能パネル8Aとして太陽電池パネル8を例示したが、太陽熱集熱パネルでもよく、或いは、太陽電池パネル8の代わりに植物を植えた緑化パネルを太陽電池パネル8と同様にベース板1の上に取り付けたものでもよい。
本発明の一実施形態のベース板に取り付けられた支持フレームの当接状態を説明する斜視図である。 (a)は同上のベース板の斜視図、(b)は(a)のイ部において左右方向に隣り合うベース板の端部間の連結状態を説明する拡大断面図である。 (a)は支持フレーム同士を当接させる前の状態の側面図、(b)は支持フレーム同士を当接させた状態の側面図である。 同上のベース板を左右方向及び軒棟方向に並べて敷設した状態の斜視図である。 (a)は同上のベース板に固定バーを載置した状態の平面図、(b)は固定バーの目印を説明する拡大図である。 同上の固定バーからベース板、屋根瓦に至るまで先穴をあけた状態の説明図である。 同上の先穴にコーキング剤を流し込んだ状態の説明図である。 同上のコーキング剤に沿って屋根下地までビスを打入した状態の説明図である。 同上のベース板に固定バーを取り付けた状態の平面図である。 同上のベース板の棟側端部とこれよりも棟側の屋根瓦との間を防水テープにて防水し、さらに水切り用の差込み板金を差し込んだ状態を説明する平面図である。 同上の太陽電池パネルをベース板に取り付けた状態の一部破断斜視図である。 同上の中央カバー付近の側面図である。 同上の棟側カバー付近の側面図である。 同上の軒側カバー付近の側面図である。 (a)〜(d)は同上のクリップ金具の正面図、側面図、平面図、下面図である。 (a)〜(e)は従来例の説明図である。
符号の説明
1 ベース板
1a 軒側端部
1b 棟側端部
4 固着具
6 屋根瓦
8A 屋根機能パネル
8 太陽電池パネル
9 固定バー
10 屋根下地
11 支持フレーム
12,13 当接部
14 嵌合凹部
15 嵌合凸部
16 コーキング剤
17 空間部
18 目印
19 山部
20 谷部
A 軒棟方向
A1 軒側
A2 棟側
B 左右方向

Claims (5)

  1. 太陽電池パネル、太陽熱集熱パネル、緑化パネル等の屋根機能パネルのベース板を屋根瓦の上に載設し、ベース板の上面に固定バーを載置して、ビス、釘等の固着具を固定バーからベース板、屋根瓦を介して屋根下地まで打設してベース板を固定する屋根機能パネル用ベース板の取付構造において、上記ベース板の軒側端部と棟側端部とに屋根機能パネルの周縁を支持する支持フレームをそれぞれ取り付けると共に、軒側のベース板の棟側端部の上面に棟側のベース板の軒側端部の下面を重ねた状態で、軒側のベース板の支持フレームに設けた当接部とこれに対向する棟側のベース板の支持フレームに設けた当接部とが互いに当接していることを特徴とする屋根機能パネル用ベース板の取付構造。
  2. 上記対向する軒側のベース板の支持フレームと棟側のベース板の支持フレームのいずれか一方に嵌合凹部、いずれか他方に嵌合凸部がそれぞれ設けられ、嵌合凹部と嵌合凸部との嵌合によりベース板の浮き上がりを防止していることを特徴とする請求項1記載の屋根機能パネル用ベース板の取付構造。
  3. 上記固定バーは、ベース板における軒棟方向の中間位置よりも軒側或いは棟側に寄せて取り付けられることを特徴とする請求項1記載の屋根機能パネル用ベース板の取付構造。
  4. 上記屋根瓦と屋根下地間にコーキング剤が充填される空間部が存在していると共に、該空間部と対向するベース板の上面位置に上記固定バーの取り付け位置を表わす目印を設けたことを特徴とする請求項1又は請求項3記載の屋根機能パネル用ベース板の取付構造。
  5. 上記ベース板は、軒棟方向と直交する左右方向に山部と谷部とを交互に設けた波板状に形成されていると共に、ベース板の棟側端部を左右方向の略全長に亘って平板状に形成したことを特徴とする請求項1乃至請求項4のいずれかに記載の屋根機能パネル用ベース板の取付構造。
JP2003275665A 2003-07-16 2003-07-16 屋根機能パネル用ベース板の取付構造 Expired - Fee Related JP3838226B2 (ja)

Priority Applications (1)

Application Number Priority Date Filing Date Title
JP2003275665A JP3838226B2 (ja) 2003-07-16 2003-07-16 屋根機能パネル用ベース板の取付構造

Applications Claiming Priority (1)

Application Number Priority Date Filing Date Title
JP2003275665A JP3838226B2 (ja) 2003-07-16 2003-07-16 屋根機能パネル用ベース板の取付構造

Publications (2)

Publication Number Publication Date
JP2005036548A true JP2005036548A (ja) 2005-02-10
JP3838226B2 JP3838226B2 (ja) 2006-10-25

Family

ID=34212245

Family Applications (1)

Application Number Title Priority Date Filing Date
JP2003275665A Expired - Fee Related JP3838226B2 (ja) 2003-07-16 2003-07-16 屋根機能パネル用ベース板の取付構造

Country Status (1)

Country Link
JP (1) JP3838226B2 (ja)

Cited By (8)

* Cited by examiner, † Cited by third party
Publication number Priority date Publication date Assignee Title
JP2006328773A (ja) * 2005-05-25 2006-12-07 Sanko Metal Ind Co Ltd 緑化屋根
JP2011208382A (ja) * 2010-03-29 2011-10-20 Otis:Kk 太陽電池パネルの軒先カバー
KR101201428B1 (ko) 2005-07-18 2012-11-14 애리조나 퍼블릭 서비스 컴파니 에너지 변환 모듈을 지지하기 위한 시스템
JP2012237105A (ja) * 2011-05-10 2012-12-06 Ever Kk 屋根配置設備の屋根への取付方法、屋根配置設備を配置した屋根構造、屋根配置設備を取り付ける取付基台及び防水板
JP2013072204A (ja) * 2011-09-27 2013-04-22 Toshiba Corp 屋根建材
WO2013114767A1 (ja) * 2012-02-02 2013-08-08 シャープ株式会社 太陽電池モジュールの設置構造、太陽電池モジュールの設置方法、太陽電池モジュール設置用桟、及び太陽光発電システム
JP2013170351A (ja) * 2012-02-17 2013-09-02 Sharp Corp 枠体、この枠体を備えた太陽電池モジュール及び太陽電池モジュールの設置構造並びに太陽電池モジュールの設置方法
JP2014221989A (ja) * 2013-05-14 2014-11-27 株式会社吉岡 太陽電池モジュールの設置構造

Cited By (9)

* Cited by examiner, † Cited by third party
Publication number Priority date Publication date Assignee Title
JP2006328773A (ja) * 2005-05-25 2006-12-07 Sanko Metal Ind Co Ltd 緑化屋根
KR101201428B1 (ko) 2005-07-18 2012-11-14 애리조나 퍼블릭 서비스 컴파니 에너지 변환 모듈을 지지하기 위한 시스템
JP2011208382A (ja) * 2010-03-29 2011-10-20 Otis:Kk 太陽電池パネルの軒先カバー
JP2012237105A (ja) * 2011-05-10 2012-12-06 Ever Kk 屋根配置設備の屋根への取付方法、屋根配置設備を配置した屋根構造、屋根配置設備を取り付ける取付基台及び防水板
JP2013072204A (ja) * 2011-09-27 2013-04-22 Toshiba Corp 屋根建材
WO2013114767A1 (ja) * 2012-02-02 2013-08-08 シャープ株式会社 太陽電池モジュールの設置構造、太陽電池モジュールの設置方法、太陽電池モジュール設置用桟、及び太陽光発電システム
CN104170245A (zh) * 2012-02-02 2014-11-26 夏普株式会社 太阳能电池模块的设置结构、太阳能电池模块的设置方法、太阳能电池模块设置用梁、以及太阳能发电系统
JP2013170351A (ja) * 2012-02-17 2013-09-02 Sharp Corp 枠体、この枠体を備えた太陽電池モジュール及び太陽電池モジュールの設置構造並びに太陽電池モジュールの設置方法
JP2014221989A (ja) * 2013-05-14 2014-11-27 株式会社吉岡 太陽電池モジュールの設置構造

Also Published As

Publication number Publication date
JP3838226B2 (ja) 2006-10-25

Similar Documents

Publication Publication Date Title
JP2018137962A (ja) 太陽電池モジュール用サイドフレーム
JP2004300865A (ja) 太陽電池付き建築用板
JP3838226B2 (ja) 屋根機能パネル用ベース板の取付構造
JP2005277216A (ja) 太陽電池パネル用ベース板の取付構造
JPWO2018061696A1 (ja) 太陽光発電装置
JP5674889B1 (ja) 太陽電池モジュールの設置構造
JP2006132111A (ja) 太陽電池パネルの支持具及び太陽電池パネルの支持構造
JPH11311002A (ja) 太陽電池一体型屋根材敷設用取付具
JP2005281978A (ja) 機能部材取付け構造
JP2002061338A (ja) 屋根改修工法および改修屋根用の下地構造
JP3829799B2 (ja) 屋根機能パネルの取り付け構造
JP6878151B2 (ja) 屋根構造
JP5601923B2 (ja) 屋根外設材の取付方法
JP2005282124A (ja) パネルの取付構造
JP4749865B2 (ja) 太陽電池モジュール一体型屋根材、これに用いる固定部材及び太陽電池モジュールの交換方法
JP7807928B2 (ja) 雨押え換気部材の施工構造
JP2006090082A (ja) スタータ金具及び平板状屋根の葺設方法
JP2004293200A (ja) すがもれ防止瓦屋根
JPH11107460A (ja) 屋根瓦の固定具
JP3512018B2 (ja) 太陽電池モジュールの千鳥葺き構造
JP2012154155A (ja) 設備固定防水構造
JP4679470B2 (ja) 瓦及び瓦敷設構造
JPH10317592A (ja) 太陽電池付屋根
JPWO2018061649A1 (ja) 太陽光発電装置
JP2003293531A (ja) 屋根及びその施工方法

Legal Events

Date Code Title Description
A621 Written request for application examination

Free format text: JAPANESE INTERMEDIATE CODE: A621

Effective date: 20050218

A977 Report on retrieval

Free format text: JAPANESE INTERMEDIATE CODE: A971007

Effective date: 20060706

TRDD Decision of grant or rejection written
A01 Written decision to grant a patent or to grant a registration (utility model)

Free format text: JAPANESE INTERMEDIATE CODE: A01

Effective date: 20060711

A61 First payment of annual fees (during grant procedure)

Free format text: JAPANESE INTERMEDIATE CODE: A61

Effective date: 20060724

FPAY Renewal fee payment (event date is renewal date of database)

Free format text: PAYMENT UNTIL: 20090811

Year of fee payment: 3

S533 Written request for registration of change of name

Free format text: JAPANESE INTERMEDIATE CODE: R313533

FPAY Renewal fee payment (event date is renewal date of database)

Free format text: PAYMENT UNTIL: 20090811

Year of fee payment: 3

R350 Written notification of registration of transfer

Free format text: JAPANESE INTERMEDIATE CODE: R350

FPAY Renewal fee payment (event date is renewal date of database)

Free format text: PAYMENT UNTIL: 20090811

Year of fee payment: 3

FPAY Renewal fee payment (event date is renewal date of database)

Free format text: PAYMENT UNTIL: 20100811

Year of fee payment: 4

FPAY Renewal fee payment (event date is renewal date of database)

Free format text: PAYMENT UNTIL: 20110811

Year of fee payment: 5

FPAY Renewal fee payment (event date is renewal date of database)

Free format text: PAYMENT UNTIL: 20120811

Year of fee payment: 6

FPAY Renewal fee payment (event date is renewal date of database)

Free format text: PAYMENT UNTIL: 20130811

Year of fee payment: 7

LAPS Cancellation because of no payment of annual fees