JP2004360948A - 冷蔵庫 - Google Patents
冷蔵庫 Download PDFInfo
- Publication number
- JP2004360948A JP2004360948A JP2003157508A JP2003157508A JP2004360948A JP 2004360948 A JP2004360948 A JP 2004360948A JP 2003157508 A JP2003157508 A JP 2003157508A JP 2003157508 A JP2003157508 A JP 2003157508A JP 2004360948 A JP2004360948 A JP 2004360948A
- Authority
- JP
- Japan
- Prior art keywords
- vegetable
- vegetable container
- refrigerator
- container
- oxygen
- Prior art date
- Legal status (The legal status is an assumption and is not a legal conclusion. Google has not performed a legal analysis and makes no representation as to the accuracy of the status listed.)
- Pending
Links
- 235000013311 vegetables Nutrition 0.000 claims abstract description 241
- QVGXLLKOCUKJST-UHFFFAOYSA-N atomic oxygen Chemical compound [O] QVGXLLKOCUKJST-UHFFFAOYSA-N 0.000 claims abstract description 78
- 239000001301 oxygen Substances 0.000 claims abstract description 78
- 229910052760 oxygen Inorganic materials 0.000 claims abstract description 78
- 239000012528 membrane Substances 0.000 claims abstract description 26
- XLYOFNOQVPJJNP-UHFFFAOYSA-N water Substances O XLYOFNOQVPJJNP-UHFFFAOYSA-N 0.000 claims description 10
- 230000006866 deterioration Effects 0.000 abstract description 9
- 230000003750 conditioning effect Effects 0.000 abstract 1
- 238000004321 preservation Methods 0.000 abstract 1
- 239000010408 film Substances 0.000 description 33
- 238000001816 cooling Methods 0.000 description 12
- 238000003860 storage Methods 0.000 description 11
- IJGRMHOSHXDMSA-UHFFFAOYSA-N Atomic nitrogen Chemical compound N#N IJGRMHOSHXDMSA-UHFFFAOYSA-N 0.000 description 8
- 230000000694 effects Effects 0.000 description 7
- 238000000034 method Methods 0.000 description 7
- 238000012856 packing Methods 0.000 description 7
- 238000001704 evaporation Methods 0.000 description 5
- 238000007710 freezing Methods 0.000 description 4
- 230000008014 freezing Effects 0.000 description 4
- 230000007774 longterm Effects 0.000 description 4
- 229910052757 nitrogen Inorganic materials 0.000 description 4
- 238000005192 partition Methods 0.000 description 4
- 238000001035 drying Methods 0.000 description 3
- 239000003507 refrigerant Substances 0.000 description 3
- 238000005057 refrigeration Methods 0.000 description 3
- 235000013305 food Nutrition 0.000 description 2
- 239000011521 glass Substances 0.000 description 2
- 230000014759 maintenance of location Effects 0.000 description 2
- 244000005700 microbiome Species 0.000 description 2
- 230000005855 radiation Effects 0.000 description 2
- 102000004190 Enzymes Human genes 0.000 description 1
- 108090000790 Enzymes Proteins 0.000 description 1
- 229910052782 aluminium Inorganic materials 0.000 description 1
- XAGFODPZIPBFFR-UHFFFAOYSA-N aluminium Chemical compound [Al] XAGFODPZIPBFFR-UHFFFAOYSA-N 0.000 description 1
- 230000015556 catabolic process Effects 0.000 description 1
- 238000009833 condensation Methods 0.000 description 1
- 230000005494 condensation Effects 0.000 description 1
- 230000006837 decompression Effects 0.000 description 1
- 230000007423 decrease Effects 0.000 description 1
- 238000006731 degradation reaction Methods 0.000 description 1
- 230000000994 depressogenic effect Effects 0.000 description 1
- 238000001514 detection method Methods 0.000 description 1
- 238000007599 discharging Methods 0.000 description 1
- 238000005553 drilling Methods 0.000 description 1
- 239000006260 foam Substances 0.000 description 1
- 239000011810 insulating material Substances 0.000 description 1
- 230000002503 metabolic effect Effects 0.000 description 1
- 229910052751 metal Inorganic materials 0.000 description 1
- 239000002184 metal Substances 0.000 description 1
- 230000003647 oxidation Effects 0.000 description 1
- 238000007254 oxidation reaction Methods 0.000 description 1
- 230000002093 peripheral effect Effects 0.000 description 1
- 230000035699 permeability Effects 0.000 description 1
- 239000002861 polymer material Substances 0.000 description 1
- 230000029058 respiratory gaseous exchange Effects 0.000 description 1
- 239000000126 substance Substances 0.000 description 1
- 239000000758 substrate Substances 0.000 description 1
- 239000010409 thin film Substances 0.000 description 1
Images
Classifications
-
- F—MECHANICAL ENGINEERING; LIGHTING; HEATING; WEAPONS; BLASTING
- F25—REFRIGERATION OR COOLING; COMBINED HEATING AND REFRIGERATION SYSTEMS; HEAT PUMP SYSTEMS; MANUFACTURE OR STORAGE OF ICE; LIQUEFACTION SOLIDIFICATION OF GASES
- F25D—REFRIGERATORS; COLD ROOMS; ICE-BOXES; COOLING OR FREEZING APPARATUS NOT OTHERWISE PROVIDED FOR
- F25D17/00—Arrangements for circulating cooling fluids; Arrangements for circulating gas, e.g. air, within refrigerated spaces
- F25D17/04—Arrangements for circulating cooling fluids; Arrangements for circulating gas, e.g. air, within refrigerated spaces for circulating air, e.g. by convection
- F25D17/042—Air treating means within refrigerated spaces
-
- F—MECHANICAL ENGINEERING; LIGHTING; HEATING; WEAPONS; BLASTING
- F25—REFRIGERATION OR COOLING; COMBINED HEATING AND REFRIGERATION SYSTEMS; HEAT PUMP SYSTEMS; MANUFACTURE OR STORAGE OF ICE; LIQUEFACTION SOLIDIFICATION OF GASES
- F25D—REFRIGERATORS; COLD ROOMS; ICE-BOXES; COOLING OR FREEZING APPARATUS NOT OTHERWISE PROVIDED FOR
- F25D2317/00—Details or arrangements for circulating cooling fluids; Details or arrangements for circulating gas, e.g. air, within refrigerated spaces, not provided for in other groups of this subclass
- F25D2317/04—Treating air flowing to refrigeration compartments
- F25D2317/041—Treating air flowing to refrigeration compartments by purification
Landscapes
- Engineering & Computer Science (AREA)
- Chemical & Material Sciences (AREA)
- Combustion & Propulsion (AREA)
- Physics & Mathematics (AREA)
- Mechanical Engineering (AREA)
- Thermal Sciences (AREA)
- General Engineering & Computer Science (AREA)
- Cold Air Circulating Systems And Constructional Details In Refrigerators (AREA)
Abstract
【課題】野菜室内の空気を減圧ポンプによって酸素富化膜を通して取り出し野菜室内の野菜等を減酸素雰囲気で保存して微生物、酵素の活性抑制、酸化抑制などにより、品質劣化を抑えて保存する冷蔵庫がある。しかし、野菜室内の空気が排出されることに伴って野菜室内が乾燥し、野菜等を瑞々しく保つ点で問題である。本発明は、酸素富化膜の特性により野菜等を減酸素雰囲気で保存して、野菜等の品質劣化を抑えると共に、野菜等を瑞々しく保つことができる保存方式を提供するものである。
【解決手段】野菜容器内の空気を酸素富化膜を通して冷蔵庫外に吸引する吸引ポンプを設け、野菜容器内が過湿状態のとき野菜容器内から過剰な水分を吸収し、野菜容器内が低湿度状態のとき吸収した水分を野菜容器内に放出する作用をする調湿部材を設けたこと。
【選択図】 図1
【解決手段】野菜容器内の空気を酸素富化膜を通して冷蔵庫外に吸引する吸引ポンプを設け、野菜容器内が過湿状態のとき野菜容器内から過剰な水分を吸収し、野菜容器内が低湿度状態のとき吸収した水分を野菜容器内に放出する作用をする調湿部材を設けたこと。
【選択図】 図1
Description
【0001】
【発明の属する技術分野】
本発明は、野菜室内に野菜等を収納する野菜容器を備えた冷蔵庫に関する。
【0002】
【従来の技術】
前面開口の冷蔵庫本体内に冷蔵室とその下方に野菜室を形成し、野菜室には野菜室の前面開口を開閉する扉と共に引き出し自在に野菜容器が設けられ、冷却器で冷却した冷気を送風機によって前記冷蔵室へ供給し、冷蔵室と野菜室とを区画する密閉蓋を通して野菜室が冷却され、野菜室の後壁には酸素富化膜が設けられ、野菜室の空気を減圧ポンプによって酸素富化膜を通して冷蔵庫の背面に排出するものがある(例えば、特許文献1参照)。
【0003】
特許文献1のものでは、減圧ポンプの運転によって、野菜室内の空気は酸素富化膜の特性により酸素が選択的に取り出され、野菜室内の野菜等は減酸素雰囲気で保存されるため、呼吸作用が抑制されて代謝活動が抑えられ、微生物、酵素の活性抑制、酸化抑制などにより、品質劣化が抑えられ、長期間新鮮に保存することができると記載されている。
【0004】
【特許文献1】
特開平5‐288463号公報(P2、図1、図3)
【0005】
【発明が解決しようとする課題】
上記のように、特許文献1のものでは酸素富化膜の特性により野菜室内を減酸素雰囲気として、野菜等の品質劣化を抑えて長期間新鮮に保存することに適するが、減圧ポンプの運転によって野菜室内の空気が排出されることに伴って野菜室内が乾燥することとなる。この乾燥は、野菜等を瑞々しく保つ点ではマイナスである。
【0006】
本発明は、このような点に鑑みて、酸素富化膜の特性により野菜等を減酸素雰囲気で保存して、野菜等の品質劣化を抑えると共に、野菜等を瑞々しく保つことができる保存方式を提供するものである。
【0007】
【課題を解決するための手段】
本発明の冷蔵庫は、冷却された野菜室内にこの野菜室の前方へ引き出し自在な野菜容器を設けた冷蔵庫において、前記野菜容器内の空気を酸素富化膜を通して冷蔵庫外に吸引する吸引ポンプを設け、前記野菜容器内が過湿状態のとき野菜容器内から過剰な水分を吸収し、野菜容器内が低湿度状態のとき吸収した水分を野菜容器内に放出する作用をする調湿部材を設けたことを特徴とする。
【0008】
これによって、酸素富化膜の特性により野菜等を減酸素雰囲気で保存して、野菜等の品質劣化を抑えると共に、野菜等を瑞々しく保つことができることとなり、野菜等の長期保存に適した冷蔵庫となる。
【0009】
また、本発明の冷蔵庫は、間接冷却冷却される野菜室内にこの野菜室の前方へ引き出し自在な上面開口の野菜容器を設け、前記野菜室の上壁には前記野菜容器の上面開口に対向して酸素富化膜を設け、前記野菜容器内が過湿状態のとき野菜容器内から過剰な水分を吸収し野菜容器内が低湿度状態のとき吸収した水分を野菜容器内に放出する作用をする調湿部材を前記酸素富化膜を野菜容器側から覆うように前記野菜室の上壁に設け、前記野菜容器内の空気を前記調湿部材と酸素富化膜を通して冷蔵庫外に吸引する吸引ポンプを設けことを特徴とする。
【0010】
これによって、酸素富化膜の特性により野菜等を減酸素雰囲気で保存して、野菜等の品質劣化を抑えると共に、野菜等を瑞々しく保つことができることとなり、野菜等の長期保存に適した冷蔵庫となる。そして、調湿部材と酸素富化膜を野菜室の上壁に一対として設けることにより、野菜室を間接冷却する方式と、野菜室は冷気が流入するが野菜容器内が間接冷却される方式のいずれにも適用できることとなり、野菜容器を野菜室内に引き出し自在に収納するタイプの冷蔵庫に適用し易くなり、野菜の出し入れがし易い冷蔵庫を提供できることとなる。
【0011】
本発明の冷蔵庫は、上面開口の野菜容器を冷却された野菜室内に前方へ引き出し自在に設けた冷蔵庫において、前記野菜容器は前記野菜室内に収納された状態で前記上面開口が前記野菜室の上壁で塞がれて前記野菜容器内は前記野菜室の冷気によって間接冷却される構成であり、前記野菜室の上壁には、前記上面開口に対応して酸素富化膜と、前記野菜容器内が過湿状態のとき野菜容器内から過剰な水分を吸収し野菜容器内が低湿度状態のとき吸収した水分を野菜容器内に放出する作用をする調湿部材を設け、前記野菜容器内の空気を酸素富化膜を通して冷蔵庫外に吸引ポンプによって吸引することを特徴とする。
【0012】
これによって、酸素富化膜の特性により野菜等を減酸素雰囲気で保存して、野菜等の品質劣化を抑えると共に、野菜等を瑞々しく保つことができることとなり、野菜等の長期保存に適した冷蔵庫となる。そして、調湿部材と酸素富化膜を野菜室の上壁に設けることにより、野菜室は冷気が流入し循環するが野菜容器内は間接冷却される方式に採用することができ、野菜容器を野菜室内に引き出し自在に収納するタイプとして、野菜の出し入れがし易い冷蔵庫を提供できることとなる。
【0013】
また、前記吸引ポンプの運転を、前記野菜室の前面扉が閉じたときから所定時間運転するようにするか、前記野菜容器内の酸素が所定の低酸素状態よりも高い酸素状態のとき運転するようにしたことを特徴とする。これによって、野菜容器内の空気の余分な排出が防止でき、野菜等の乾燥を抑制でき、野菜等の瑞々しさを維持できるものとなる。
【0014】
【発明の実施の形態】
次に、本発明の冷蔵庫について説明する。図1乃至図4は本発明の冷蔵庫の実施形態を示しており、図1は冷蔵庫の縦断側面図、図2は酸素富化膜と調湿部材を備えた野菜室の部分拡大図、図3は酸素富化膜と調湿部材を備えた野菜室の他の形態を示す部分拡大図、図4は野菜室へ冷気が循環するタイプの冷蔵庫の野菜室部分の断面図である。
【0015】
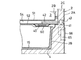
先ず図1と図2において、1は冷却貯蔵庫の一つである蔵庫であり、全面開口の本体2内を区画して複数の貯蔵室を形成し、これら各貯蔵室の前面は扉で開閉できる構成である。冷蔵庫本体2は、外箱(外壁板)2Aと内箱(内壁板)2Bとの間に発泡断熱材2Cを充填した断熱構造である。冷蔵庫本体2内には、上から冷蔵室3、野菜室4、上冷凍室5、下冷凍室6が区画して設けられ、冷蔵室3内の底部にはその上方の冷蔵室3と区画板(区画壁)8にて区画された特定低温室9が設けられている。特定低温室9には前方へ引き出し自在に食品貯蔵容器9Aが収納されている。上冷凍室5は冷気量調節装置を手動操作して冷蔵室とすることもできるので、切り替え室と称することもできる。
【0016】
冷蔵室3の前面開口は、冷蔵庫本体2の一側部にヒンジ装置にて横方向に回動して開閉される回動式の冷蔵室扉10にて閉塞される。冷蔵室3と野菜室4との間の仕切り50は、前部が断熱仕切り構造であり、その後側は冷蔵室3の底板51の下方に野菜室4の上壁52が底板51と間隔を存して設けられた構成である。底板51の前部には冷蔵室3の冷気吸い込み口53が形成されており、冷気吸い込み口53から流入した冷気は、底板51と上壁52の間隔を冷気通路54として後方へ流れる。冷気通路54の冷気によって上壁52が冷却され、この上壁52からの放射冷却作用によって野菜室4が間接冷却され、後述の野菜容器15内が間接冷却される。
【0017】
野菜室4の前面開口は、野菜室4内に設けた左右のレール又はローラ装置38によって前後方向へ引き出し収納自在に支持された野菜容器15と共に前後方向へ可動の引き出し式前面扉11にて閉塞されている。引き出し式前面扉11の裏面周縁にはパッキン11Aが取り付けられており、このパッキン11Aが冷蔵庫本体2の前面開口周縁に密着して、引き出し式前面扉11と冷蔵庫本体2との間を気密に保つ。上冷凍室5と下冷凍室6はそれぞれ野菜室4と同様に、冷凍室内に設けた左右のレールに対して、それぞれ前後方向へ引き出し可能に支持した容器16、17と共に前方へ引き出される引き出し式扉12、13にて閉塞されている。
【0018】
野菜容器15の上面開口は、上壁52と若干の間隔を存して対峙しており、上壁52からの放射冷却作用によって野菜容器15内が冷却される。このため上壁52をアルミニウム等のように熱伝導良好な金属製とすることにより、野菜容器15内の冷却を良好にすることができる。
【0019】
24は冷凍システムの冷媒の圧縮機、25は冷凍システムの冷媒の凝縮器である。26は凝縮器25の熱によって後述の除霜水を蒸発させるための蒸発皿であり、凝縮器25上に載置して冷凍冷蔵庫本体2の前面下部から引き出し自在である。圧縮機24、凝縮器25、蒸発皿26は、冷蔵庫本体2の下部に設けた機械室28に設置されている。29、30は冷凍システムの冷媒の蒸発器(冷却器)である。31は第1蒸発器(冷却器)29で冷却した冷気を上冷凍室5及び下冷凍室6へ循環する第1送風機、32は第2蒸発器(冷却器)30で冷却した冷気を冷蔵室3、野菜室4及び特定低温室9へ循環する第2送風機である。33は第1蒸発器(冷却器)29の除霜用ガラス管ヒータ、34は第2蒸発器(冷却器)30の除霜用ガラス管ヒータである。第1蒸発器(冷却器)29及び第2蒸発器(冷却器)30の除霜水は排水管を通って蒸発皿26へ導かれてそこで蒸発する。
【0020】
第2蒸発器(冷却器)30で冷却された冷気は、第2送風機32によって冷蔵室上部冷気供給通路35Aと冷蔵室背部冷気供給通路35Bを通ってそれぞれ対応する冷気吹き出し口36、39から冷蔵室3へ供給され、冷気吸い込み口53から冷気通路54を通って再び第2蒸発器(冷却器)30へ帰還する循環をする。この循環は矢印で示す。また、第1蒸発器(冷却器)29で冷却した冷気は、第1送風機31によって矢印のように循環して上冷凍室5と下冷凍室6を所定温度に冷却する。
【0021】
このような構成において、各室の温度は、冷蔵室3が約3〜4℃、野菜室4及び野菜容器15内が約4〜6℃に保たれ、上冷凍室8と下冷凍室9が約−18℃〜−20℃である。また、冷蔵室扉10の内側に設けた貯蔵棚37上は5〜8℃である。特定低温室9は、0℃よりも高い約1℃のチルド室であったり、0℃よりも低く食品の凍結温度よりも高い約0〜−1℃の氷温室であったり、また、食品の表面に薄い氷の層が形成される程度の約−4℃の部分凍結室であったりする。
【0022】
40は酸素富化膜であり、野菜容器15の上面開口と対向した位置で野菜室4の上壁52に取り付けられている。酸素富化膜40は、野菜室4の上壁52の下側に設けるか、又は上壁52と一体化した状態で設けることができる。41はパイプ42を通して吸引した空気を排出する吸引ポンプである。酸素富化膜40は、高分子材料から構成されて窒素よりも酸素の透過性がよい薄膜である。吸引ポンプ41の運転により、酸素富化膜40のパイプ42側が低圧となって、野菜容器15内の空気が酸素富化膜40に吸引され、酸素富化膜40の原理によって、空気中の主たる成分である窒素と酸素のうちの酸素が選択的にパイプ42へ取り出され、排出孔43から冷蔵庫1の背面側へ排出される作用をする。
【0023】
60は調湿部材であり、保湿膜、透湿膜、調湿膜等とも呼ばれる。調湿部材60は、酸素富化膜40よりも野菜容器15内側に位置するように、酸素富化膜40を覆って上壁52の下側に設けられている。調湿部材60は、野菜容器15内が過湿状態のとき野菜容器15内から過剰な水分を吸収し、野菜容器15内が低湿度状態のとき吸収した水分を野菜容器15内に放出する作用をすることにより、野菜容器15内の湿度を調節して野菜容器15内を適度の湿度状態に保つ作用をする。
【0024】
このような構成において、引き出し式前面扉11が閉じている状態において、吸引ポンプ41が運転されると、野菜容器15内の空気が調湿部材60を通して酸素富化膜40に吸引され、酸素富化膜40の原理によって、空気中の主たる成分である窒素と酸素のうちの酸素が選択的にパイプ42へ取り出され、排出孔43から冷蔵庫1の背面側へ排出される。これによって、野菜容器15内は窒素リッチ、即ち酸素量が減少した低酸素状態となり、野菜容器15内の野菜等の呼吸作用が抑制される。このため、野菜等の劣化防止効果が得られ、野菜を新鮮な状態で保存できる期間が延びることとなる。
【0025】
この場合、調湿部材60が存在しない場合には、吸引ポンプ41の運転により、野菜容器15内の空気が酸素富化膜40に吸引され排出されることに伴って野菜容器15内の水分も排出されて野菜容器15内の野菜等が乾燥する虞があるが、本発明では、調湿部材60の存在によって、野菜容器15内が過湿状態のとき野菜容器15内から過剰な水分を吸収し、野菜容器15内が低湿度状態のとき吸収した水分を野菜容器15内に放出する作用をすることにより、野菜容器15内の湿度を調節して野菜容器15内を適度の湿度状態に保つ作用をする。
【0026】
このように、調湿部材60によって野菜容器15内の湿度を調節して野菜容器15内を適度の湿度状態に保ち、酸素富化膜40によって野菜等の劣化を抑制するため、野菜を新鮮な状態で保存することができる期間を、より長くできることとなる。そして、排出孔43から冷蔵庫1の背面側へ排出される酸素によって、冷蔵庫1周辺の酸素を増やすことにも繋がる。
【0027】
なお、調湿部材60は、上記のような湿度調節作用を保ちつつ空気流通も行える構成であれば好ましいが、調湿部材60を通過する空気流通が悪い場合には、調湿部材60に複数の小孔を明ける等の構成によって、それをカバーすることもできる。
【0028】
なお、上記では調湿部材60が酸素富化膜40よりも野菜容器15内側に位置するように、野菜容器15の上面開口と対向した位置で酸素富化膜40を覆って上壁52の下側に設けられているが、この構成に拘束されず、図3のように、上壁52の下側に調湿部材60を取り付け、この調湿部材60から離れた位置で上壁52に酸素富化膜40を取り付け、野菜容器15内の空気を酸素富化膜40を通してパイプ42から吸引し、調湿部材60によって野菜容器15内の湿度を調節するようにしてもよい。この場合、調湿部材60に対応して上壁52に小さな透孔55を形成してもよい。また調湿部材60を野菜容器15の左右前後の壁のいずれかの内側に取り付けた構成でもよい。
【0029】
65は冷蔵庫1の制御を司る電子部品を基板に取り付けた制御回路装置であり、蓋66によって覆われている。ポンプ41は、野菜室4の引き出し式前面扉11を開いて閉じたときから一定時間運転するように構成してもよい。また、野菜室4の酸素濃度を検知素子で検知して、所定の低酸素状態よりも高い酸素濃度状態では制御回路装置65によってポンプ41を運転し、所定の低酸素状態に低下したときポンプ41を停止する制御することもできる。また、制御回路装置65のタイマー機能によって、ポンプ41を一定時間間隔で運転する方式でもよい。
【0030】
上記の実施形態では、酸素富化膜40と調湿部材60とを上壁52に取り付けたが、野菜室4の壁に取り付けた構成でもよく、野菜室4の背面側か側面側に配置した構成でもよい。
【0031】
また、上記の構成は、冷気通路54の冷気が野菜室4内へ循環しないように野菜室4が上壁52によって仕切られた間接冷却方式であるが、野菜室4内へは冷気通路54の冷気が循環するが、野菜容器15内は野菜室4の冷気で周囲から冷却される間接冷却方式とすることもできる。
【0032】
この方式の一つの形態として、図4に示すように、上壁52には上方へ窪んだ窪み部52A内に酸素富化膜40が配置され、この窪み部52Aの下面開口を塞ぐように調湿部材60が設けられている。上壁52は前部が高く後部が低くなるように傾斜して配置されており、野菜容器15の上面開口もこの傾斜に沿うように傾斜している。野菜容器15の上面開口周縁にはパッキン15Aが設けられており、野菜容器15が野菜室4内へ押し込み収納された状態で、野菜容器15の上面開口のパッキン15Aが上壁52に当接して、野菜容器15の上面開口が塞がれる。
【0033】
なお、パッキン15Aに代わって、上壁52の下面に比較的幅広にパッキンを設けておき、野菜容器15が野菜室4内へ押し込み収納された状態で、野菜容器15の上面開口周縁がこの幅広パッキンに当接することによって、野菜容器15の上面開口が閉塞されるように構成したものでもよい。
【0034】
そして、冷気通路54の冷気の一部は仕切り50と上壁52との間を通って野菜室4内へ矢印のように流入し、野菜容器15の周辺を流れた後、上壁52の後部から冷気通路54の後部へ流出して第2蒸発器(冷却器)30へ帰還する循環をする。なお、図4において図1乃至図3と同符合部分は、図1乃至図3の部分と同様の機能部分を表す。
【0035】
この図4の場合も酸素富化膜40と調湿部材60とを図3のように配置する構成とすることもできる。このように図2乃至図4の構成では、酸素富化膜40と調湿部材60とが野菜容器15の上面開口に対応した位置で上壁52に取り付けられているため、酸素富化膜40と吸引ポンプ41の作用によって野菜容器15内の酸素量は減少状態となると共に、調湿部材60によって野菜容器15内の湿度調節が行われる。
【0036】
なお、野菜容器15内は野菜容器15の周囲から冷却する間接冷却方式であるが、野菜容器15内の冷却不足が生じる虞がある場合や、野菜容器15内の露付きを現象させる場合には、酸素富化膜40による効果は減少するが、この間接冷却方式を維持しつつ冷気通路54または野菜室4の冷気の微量が野菜室4内に流入するようにすることもできる。
【0037】
上記の各実施形態では、酸素富化膜40と調湿部材60とを野菜容器15の上面開口に対応した位置で上壁52に取り付けている。このため、酸素富化膜40と調湿部材60を野菜室4の背壁の窪みに取り付ける構成に比して、酸素富化膜40と調湿部材60を予め取り付けた上壁52を冷蔵庫1の内箱(内壁板)2Bへ組み込みできる構成とすることも可能であるため、組立てがし易い冷蔵庫の提供も可能である。この場合、パイプ42は酸素富化膜40に連通するように予め取り付けておき、上壁52を冷蔵庫1の内箱(内壁板)2Bへ組み込む際に外箱(外壁板)2Aに取り付けられる吸引ポンプ41の入口側へ接続すればよい。更に組立てし易くするためには、吸引ポンプ41も上壁52に予め取り付けておき、吸引ポンプ41の出口パイプを冷蔵庫1の背面に開口させた構成とすればよい。
【0038】
なお、野菜容器15が引き出し式前面扉11と連動して引き出される方式とせず、野菜室4の前面開口を左右へ開閉する開き扉方式とし、野菜容器15はその扉を開いた状態で引き出される方式とするタイプでもよい。
【0039】
本発明は上記実施形態に限定されるものではなく、特許請求の範囲を逸脱しない範囲で種々の実施形態を包含するものである。
【0040】
【発明の効果】
本発明によれば、酸素富化膜の特性により野菜等を減酸素雰囲気で保存して、野菜等の品質劣化を抑えると共に、野菜等を瑞々しく保つことができることとなり、野菜等の長期保存に適した冷蔵庫となる。
【0041】
請求項2の発明によれば、上記効果に加えて、調湿部材と酸素富化膜を野菜室の上壁に設けることにより、野菜室を間接冷却する方式と、野菜室は冷気が循環するが野菜容器内は間接冷却される方式のいずれにも適用できることとなり、野菜容器を野菜室内に引き出し自在に収納するタイプの冷蔵庫に適用し易くなり、野菜の出し入れがし易い冷蔵庫を提供できることとなる。また、酸素富化膜と調湿部材を予め取り付けた上壁を冷蔵庫へ組み込みできる構成とすることも可能であるため、組立てがし易い構成にできる。
【0042】
請求項3の発明によれば、酸素富化膜の特性により野菜等を減酸素雰囲気で保存して、野菜等の品質劣化を抑えると共に、野菜等を瑞々しく保つことができることとなり、野菜等の長期保存に適した冷蔵庫となる。そして、調湿部材と酸素富化膜を野菜室の上壁に設けることにより、野菜室は冷気が流入し循環するが野菜容器内は間接冷却される方式に採用することができ、野菜容器を野菜室内に引き出し自在に収納するタイプとして、野菜の出し入れがし易い冷蔵庫を提供できることとなる。また、酸素富化膜と調湿部材を予め取り付けた上壁を冷蔵庫へ組み込みできる構成とすることも可能であるため、組立てがし易い冷蔵庫の提供も可能である。
【0043】
請求項4並びに5の発明によれば、上記効果に加えて、野菜容器内の空気の余分な排出が防止でき、野菜等の乾燥を抑制でき、野菜等の瑞々しさを維持できるものとなる。
【図面の簡単な説明】
【図1】本発明冷蔵庫の縦断側面図である。
【図2】本発明冷蔵庫の酸素富化膜と調湿部材を備えた野菜室の部分拡大図である。
【図3】本発明冷蔵庫の酸素富化膜と調湿部材を備えた野菜室の他の形態を示す部分拡大図である。
【図4】本発明冷蔵庫の野菜室へ冷気が循環するタイプの冷蔵庫の野菜室部分の断面図である。
【符号の説明】
1……冷蔵庫
2……冷蔵庫本体
3……冷蔵室
4……野菜室
15……野菜容器
30……冷却器
32……送風機
40……酸素富化膜
41……吸引ポンプ
42……パイプ
43……排出孔
52……野菜室の上壁
54……冷気通路
60……調湿部材
【発明の属する技術分野】
本発明は、野菜室内に野菜等を収納する野菜容器を備えた冷蔵庫に関する。
【0002】
【従来の技術】
前面開口の冷蔵庫本体内に冷蔵室とその下方に野菜室を形成し、野菜室には野菜室の前面開口を開閉する扉と共に引き出し自在に野菜容器が設けられ、冷却器で冷却した冷気を送風機によって前記冷蔵室へ供給し、冷蔵室と野菜室とを区画する密閉蓋を通して野菜室が冷却され、野菜室の後壁には酸素富化膜が設けられ、野菜室の空気を減圧ポンプによって酸素富化膜を通して冷蔵庫の背面に排出するものがある(例えば、特許文献1参照)。
【0003】
特許文献1のものでは、減圧ポンプの運転によって、野菜室内の空気は酸素富化膜の特性により酸素が選択的に取り出され、野菜室内の野菜等は減酸素雰囲気で保存されるため、呼吸作用が抑制されて代謝活動が抑えられ、微生物、酵素の活性抑制、酸化抑制などにより、品質劣化が抑えられ、長期間新鮮に保存することができると記載されている。
【0004】
【特許文献1】
特開平5‐288463号公報(P2、図1、図3)
【0005】
【発明が解決しようとする課題】
上記のように、特許文献1のものでは酸素富化膜の特性により野菜室内を減酸素雰囲気として、野菜等の品質劣化を抑えて長期間新鮮に保存することに適するが、減圧ポンプの運転によって野菜室内の空気が排出されることに伴って野菜室内が乾燥することとなる。この乾燥は、野菜等を瑞々しく保つ点ではマイナスである。
【0006】
本発明は、このような点に鑑みて、酸素富化膜の特性により野菜等を減酸素雰囲気で保存して、野菜等の品質劣化を抑えると共に、野菜等を瑞々しく保つことができる保存方式を提供するものである。
【0007】
【課題を解決するための手段】
本発明の冷蔵庫は、冷却された野菜室内にこの野菜室の前方へ引き出し自在な野菜容器を設けた冷蔵庫において、前記野菜容器内の空気を酸素富化膜を通して冷蔵庫外に吸引する吸引ポンプを設け、前記野菜容器内が過湿状態のとき野菜容器内から過剰な水分を吸収し、野菜容器内が低湿度状態のとき吸収した水分を野菜容器内に放出する作用をする調湿部材を設けたことを特徴とする。
【0008】
これによって、酸素富化膜の特性により野菜等を減酸素雰囲気で保存して、野菜等の品質劣化を抑えると共に、野菜等を瑞々しく保つことができることとなり、野菜等の長期保存に適した冷蔵庫となる。
【0009】
また、本発明の冷蔵庫は、間接冷却冷却される野菜室内にこの野菜室の前方へ引き出し自在な上面開口の野菜容器を設け、前記野菜室の上壁には前記野菜容器の上面開口に対向して酸素富化膜を設け、前記野菜容器内が過湿状態のとき野菜容器内から過剰な水分を吸収し野菜容器内が低湿度状態のとき吸収した水分を野菜容器内に放出する作用をする調湿部材を前記酸素富化膜を野菜容器側から覆うように前記野菜室の上壁に設け、前記野菜容器内の空気を前記調湿部材と酸素富化膜を通して冷蔵庫外に吸引する吸引ポンプを設けことを特徴とする。
【0010】
これによって、酸素富化膜の特性により野菜等を減酸素雰囲気で保存して、野菜等の品質劣化を抑えると共に、野菜等を瑞々しく保つことができることとなり、野菜等の長期保存に適した冷蔵庫となる。そして、調湿部材と酸素富化膜を野菜室の上壁に一対として設けることにより、野菜室を間接冷却する方式と、野菜室は冷気が流入するが野菜容器内が間接冷却される方式のいずれにも適用できることとなり、野菜容器を野菜室内に引き出し自在に収納するタイプの冷蔵庫に適用し易くなり、野菜の出し入れがし易い冷蔵庫を提供できることとなる。
【0011】
本発明の冷蔵庫は、上面開口の野菜容器を冷却された野菜室内に前方へ引き出し自在に設けた冷蔵庫において、前記野菜容器は前記野菜室内に収納された状態で前記上面開口が前記野菜室の上壁で塞がれて前記野菜容器内は前記野菜室の冷気によって間接冷却される構成であり、前記野菜室の上壁には、前記上面開口に対応して酸素富化膜と、前記野菜容器内が過湿状態のとき野菜容器内から過剰な水分を吸収し野菜容器内が低湿度状態のとき吸収した水分を野菜容器内に放出する作用をする調湿部材を設け、前記野菜容器内の空気を酸素富化膜を通して冷蔵庫外に吸引ポンプによって吸引することを特徴とする。
【0012】
これによって、酸素富化膜の特性により野菜等を減酸素雰囲気で保存して、野菜等の品質劣化を抑えると共に、野菜等を瑞々しく保つことができることとなり、野菜等の長期保存に適した冷蔵庫となる。そして、調湿部材と酸素富化膜を野菜室の上壁に設けることにより、野菜室は冷気が流入し循環するが野菜容器内は間接冷却される方式に採用することができ、野菜容器を野菜室内に引き出し自在に収納するタイプとして、野菜の出し入れがし易い冷蔵庫を提供できることとなる。
【0013】
また、前記吸引ポンプの運転を、前記野菜室の前面扉が閉じたときから所定時間運転するようにするか、前記野菜容器内の酸素が所定の低酸素状態よりも高い酸素状態のとき運転するようにしたことを特徴とする。これによって、野菜容器内の空気の余分な排出が防止でき、野菜等の乾燥を抑制でき、野菜等の瑞々しさを維持できるものとなる。
【0014】
【発明の実施の形態】
次に、本発明の冷蔵庫について説明する。図1乃至図4は本発明の冷蔵庫の実施形態を示しており、図1は冷蔵庫の縦断側面図、図2は酸素富化膜と調湿部材を備えた野菜室の部分拡大図、図3は酸素富化膜と調湿部材を備えた野菜室の他の形態を示す部分拡大図、図4は野菜室へ冷気が循環するタイプの冷蔵庫の野菜室部分の断面図である。
【0015】
先ず図1と図2において、1は冷却貯蔵庫の一つである蔵庫であり、全面開口の本体2内を区画して複数の貯蔵室を形成し、これら各貯蔵室の前面は扉で開閉できる構成である。冷蔵庫本体2は、外箱(外壁板)2Aと内箱(内壁板)2Bとの間に発泡断熱材2Cを充填した断熱構造である。冷蔵庫本体2内には、上から冷蔵室3、野菜室4、上冷凍室5、下冷凍室6が区画して設けられ、冷蔵室3内の底部にはその上方の冷蔵室3と区画板(区画壁)8にて区画された特定低温室9が設けられている。特定低温室9には前方へ引き出し自在に食品貯蔵容器9Aが収納されている。上冷凍室5は冷気量調節装置を手動操作して冷蔵室とすることもできるので、切り替え室と称することもできる。
【0016】
冷蔵室3の前面開口は、冷蔵庫本体2の一側部にヒンジ装置にて横方向に回動して開閉される回動式の冷蔵室扉10にて閉塞される。冷蔵室3と野菜室4との間の仕切り50は、前部が断熱仕切り構造であり、その後側は冷蔵室3の底板51の下方に野菜室4の上壁52が底板51と間隔を存して設けられた構成である。底板51の前部には冷蔵室3の冷気吸い込み口53が形成されており、冷気吸い込み口53から流入した冷気は、底板51と上壁52の間隔を冷気通路54として後方へ流れる。冷気通路54の冷気によって上壁52が冷却され、この上壁52からの放射冷却作用によって野菜室4が間接冷却され、後述の野菜容器15内が間接冷却される。
【0017】
野菜室4の前面開口は、野菜室4内に設けた左右のレール又はローラ装置38によって前後方向へ引き出し収納自在に支持された野菜容器15と共に前後方向へ可動の引き出し式前面扉11にて閉塞されている。引き出し式前面扉11の裏面周縁にはパッキン11Aが取り付けられており、このパッキン11Aが冷蔵庫本体2の前面開口周縁に密着して、引き出し式前面扉11と冷蔵庫本体2との間を気密に保つ。上冷凍室5と下冷凍室6はそれぞれ野菜室4と同様に、冷凍室内に設けた左右のレールに対して、それぞれ前後方向へ引き出し可能に支持した容器16、17と共に前方へ引き出される引き出し式扉12、13にて閉塞されている。
【0018】
野菜容器15の上面開口は、上壁52と若干の間隔を存して対峙しており、上壁52からの放射冷却作用によって野菜容器15内が冷却される。このため上壁52をアルミニウム等のように熱伝導良好な金属製とすることにより、野菜容器15内の冷却を良好にすることができる。
【0019】
24は冷凍システムの冷媒の圧縮機、25は冷凍システムの冷媒の凝縮器である。26は凝縮器25の熱によって後述の除霜水を蒸発させるための蒸発皿であり、凝縮器25上に載置して冷凍冷蔵庫本体2の前面下部から引き出し自在である。圧縮機24、凝縮器25、蒸発皿26は、冷蔵庫本体2の下部に設けた機械室28に設置されている。29、30は冷凍システムの冷媒の蒸発器(冷却器)である。31は第1蒸発器(冷却器)29で冷却した冷気を上冷凍室5及び下冷凍室6へ循環する第1送風機、32は第2蒸発器(冷却器)30で冷却した冷気を冷蔵室3、野菜室4及び特定低温室9へ循環する第2送風機である。33は第1蒸発器(冷却器)29の除霜用ガラス管ヒータ、34は第2蒸発器(冷却器)30の除霜用ガラス管ヒータである。第1蒸発器(冷却器)29及び第2蒸発器(冷却器)30の除霜水は排水管を通って蒸発皿26へ導かれてそこで蒸発する。
【0020】
第2蒸発器(冷却器)30で冷却された冷気は、第2送風機32によって冷蔵室上部冷気供給通路35Aと冷蔵室背部冷気供給通路35Bを通ってそれぞれ対応する冷気吹き出し口36、39から冷蔵室3へ供給され、冷気吸い込み口53から冷気通路54を通って再び第2蒸発器(冷却器)30へ帰還する循環をする。この循環は矢印で示す。また、第1蒸発器(冷却器)29で冷却した冷気は、第1送風機31によって矢印のように循環して上冷凍室5と下冷凍室6を所定温度に冷却する。
【0021】
このような構成において、各室の温度は、冷蔵室3が約3〜4℃、野菜室4及び野菜容器15内が約4〜6℃に保たれ、上冷凍室8と下冷凍室9が約−18℃〜−20℃である。また、冷蔵室扉10の内側に設けた貯蔵棚37上は5〜8℃である。特定低温室9は、0℃よりも高い約1℃のチルド室であったり、0℃よりも低く食品の凍結温度よりも高い約0〜−1℃の氷温室であったり、また、食品の表面に薄い氷の層が形成される程度の約−4℃の部分凍結室であったりする。
【0022】
40は酸素富化膜であり、野菜容器15の上面開口と対向した位置で野菜室4の上壁52に取り付けられている。酸素富化膜40は、野菜室4の上壁52の下側に設けるか、又は上壁52と一体化した状態で設けることができる。41はパイプ42を通して吸引した空気を排出する吸引ポンプである。酸素富化膜40は、高分子材料から構成されて窒素よりも酸素の透過性がよい薄膜である。吸引ポンプ41の運転により、酸素富化膜40のパイプ42側が低圧となって、野菜容器15内の空気が酸素富化膜40に吸引され、酸素富化膜40の原理によって、空気中の主たる成分である窒素と酸素のうちの酸素が選択的にパイプ42へ取り出され、排出孔43から冷蔵庫1の背面側へ排出される作用をする。
【0023】
60は調湿部材であり、保湿膜、透湿膜、調湿膜等とも呼ばれる。調湿部材60は、酸素富化膜40よりも野菜容器15内側に位置するように、酸素富化膜40を覆って上壁52の下側に設けられている。調湿部材60は、野菜容器15内が過湿状態のとき野菜容器15内から過剰な水分を吸収し、野菜容器15内が低湿度状態のとき吸収した水分を野菜容器15内に放出する作用をすることにより、野菜容器15内の湿度を調節して野菜容器15内を適度の湿度状態に保つ作用をする。
【0024】
このような構成において、引き出し式前面扉11が閉じている状態において、吸引ポンプ41が運転されると、野菜容器15内の空気が調湿部材60を通して酸素富化膜40に吸引され、酸素富化膜40の原理によって、空気中の主たる成分である窒素と酸素のうちの酸素が選択的にパイプ42へ取り出され、排出孔43から冷蔵庫1の背面側へ排出される。これによって、野菜容器15内は窒素リッチ、即ち酸素量が減少した低酸素状態となり、野菜容器15内の野菜等の呼吸作用が抑制される。このため、野菜等の劣化防止効果が得られ、野菜を新鮮な状態で保存できる期間が延びることとなる。
【0025】
この場合、調湿部材60が存在しない場合には、吸引ポンプ41の運転により、野菜容器15内の空気が酸素富化膜40に吸引され排出されることに伴って野菜容器15内の水分も排出されて野菜容器15内の野菜等が乾燥する虞があるが、本発明では、調湿部材60の存在によって、野菜容器15内が過湿状態のとき野菜容器15内から過剰な水分を吸収し、野菜容器15内が低湿度状態のとき吸収した水分を野菜容器15内に放出する作用をすることにより、野菜容器15内の湿度を調節して野菜容器15内を適度の湿度状態に保つ作用をする。
【0026】
このように、調湿部材60によって野菜容器15内の湿度を調節して野菜容器15内を適度の湿度状態に保ち、酸素富化膜40によって野菜等の劣化を抑制するため、野菜を新鮮な状態で保存することができる期間を、より長くできることとなる。そして、排出孔43から冷蔵庫1の背面側へ排出される酸素によって、冷蔵庫1周辺の酸素を増やすことにも繋がる。
【0027】
なお、調湿部材60は、上記のような湿度調節作用を保ちつつ空気流通も行える構成であれば好ましいが、調湿部材60を通過する空気流通が悪い場合には、調湿部材60に複数の小孔を明ける等の構成によって、それをカバーすることもできる。
【0028】
なお、上記では調湿部材60が酸素富化膜40よりも野菜容器15内側に位置するように、野菜容器15の上面開口と対向した位置で酸素富化膜40を覆って上壁52の下側に設けられているが、この構成に拘束されず、図3のように、上壁52の下側に調湿部材60を取り付け、この調湿部材60から離れた位置で上壁52に酸素富化膜40を取り付け、野菜容器15内の空気を酸素富化膜40を通してパイプ42から吸引し、調湿部材60によって野菜容器15内の湿度を調節するようにしてもよい。この場合、調湿部材60に対応して上壁52に小さな透孔55を形成してもよい。また調湿部材60を野菜容器15の左右前後の壁のいずれかの内側に取り付けた構成でもよい。
【0029】
65は冷蔵庫1の制御を司る電子部品を基板に取り付けた制御回路装置であり、蓋66によって覆われている。ポンプ41は、野菜室4の引き出し式前面扉11を開いて閉じたときから一定時間運転するように構成してもよい。また、野菜室4の酸素濃度を検知素子で検知して、所定の低酸素状態よりも高い酸素濃度状態では制御回路装置65によってポンプ41を運転し、所定の低酸素状態に低下したときポンプ41を停止する制御することもできる。また、制御回路装置65のタイマー機能によって、ポンプ41を一定時間間隔で運転する方式でもよい。
【0030】
上記の実施形態では、酸素富化膜40と調湿部材60とを上壁52に取り付けたが、野菜室4の壁に取り付けた構成でもよく、野菜室4の背面側か側面側に配置した構成でもよい。
【0031】
また、上記の構成は、冷気通路54の冷気が野菜室4内へ循環しないように野菜室4が上壁52によって仕切られた間接冷却方式であるが、野菜室4内へは冷気通路54の冷気が循環するが、野菜容器15内は野菜室4の冷気で周囲から冷却される間接冷却方式とすることもできる。
【0032】
この方式の一つの形態として、図4に示すように、上壁52には上方へ窪んだ窪み部52A内に酸素富化膜40が配置され、この窪み部52Aの下面開口を塞ぐように調湿部材60が設けられている。上壁52は前部が高く後部が低くなるように傾斜して配置されており、野菜容器15の上面開口もこの傾斜に沿うように傾斜している。野菜容器15の上面開口周縁にはパッキン15Aが設けられており、野菜容器15が野菜室4内へ押し込み収納された状態で、野菜容器15の上面開口のパッキン15Aが上壁52に当接して、野菜容器15の上面開口が塞がれる。
【0033】
なお、パッキン15Aに代わって、上壁52の下面に比較的幅広にパッキンを設けておき、野菜容器15が野菜室4内へ押し込み収納された状態で、野菜容器15の上面開口周縁がこの幅広パッキンに当接することによって、野菜容器15の上面開口が閉塞されるように構成したものでもよい。
【0034】
そして、冷気通路54の冷気の一部は仕切り50と上壁52との間を通って野菜室4内へ矢印のように流入し、野菜容器15の周辺を流れた後、上壁52の後部から冷気通路54の後部へ流出して第2蒸発器(冷却器)30へ帰還する循環をする。なお、図4において図1乃至図3と同符合部分は、図1乃至図3の部分と同様の機能部分を表す。
【0035】
この図4の場合も酸素富化膜40と調湿部材60とを図3のように配置する構成とすることもできる。このように図2乃至図4の構成では、酸素富化膜40と調湿部材60とが野菜容器15の上面開口に対応した位置で上壁52に取り付けられているため、酸素富化膜40と吸引ポンプ41の作用によって野菜容器15内の酸素量は減少状態となると共に、調湿部材60によって野菜容器15内の湿度調節が行われる。
【0036】
なお、野菜容器15内は野菜容器15の周囲から冷却する間接冷却方式であるが、野菜容器15内の冷却不足が生じる虞がある場合や、野菜容器15内の露付きを現象させる場合には、酸素富化膜40による効果は減少するが、この間接冷却方式を維持しつつ冷気通路54または野菜室4の冷気の微量が野菜室4内に流入するようにすることもできる。
【0037】
上記の各実施形態では、酸素富化膜40と調湿部材60とを野菜容器15の上面開口に対応した位置で上壁52に取り付けている。このため、酸素富化膜40と調湿部材60を野菜室4の背壁の窪みに取り付ける構成に比して、酸素富化膜40と調湿部材60を予め取り付けた上壁52を冷蔵庫1の内箱(内壁板)2Bへ組み込みできる構成とすることも可能であるため、組立てがし易い冷蔵庫の提供も可能である。この場合、パイプ42は酸素富化膜40に連通するように予め取り付けておき、上壁52を冷蔵庫1の内箱(内壁板)2Bへ組み込む際に外箱(外壁板)2Aに取り付けられる吸引ポンプ41の入口側へ接続すればよい。更に組立てし易くするためには、吸引ポンプ41も上壁52に予め取り付けておき、吸引ポンプ41の出口パイプを冷蔵庫1の背面に開口させた構成とすればよい。
【0038】
なお、野菜容器15が引き出し式前面扉11と連動して引き出される方式とせず、野菜室4の前面開口を左右へ開閉する開き扉方式とし、野菜容器15はその扉を開いた状態で引き出される方式とするタイプでもよい。
【0039】
本発明は上記実施形態に限定されるものではなく、特許請求の範囲を逸脱しない範囲で種々の実施形態を包含するものである。
【0040】
【発明の効果】
本発明によれば、酸素富化膜の特性により野菜等を減酸素雰囲気で保存して、野菜等の品質劣化を抑えると共に、野菜等を瑞々しく保つことができることとなり、野菜等の長期保存に適した冷蔵庫となる。
【0041】
請求項2の発明によれば、上記効果に加えて、調湿部材と酸素富化膜を野菜室の上壁に設けることにより、野菜室を間接冷却する方式と、野菜室は冷気が循環するが野菜容器内は間接冷却される方式のいずれにも適用できることとなり、野菜容器を野菜室内に引き出し自在に収納するタイプの冷蔵庫に適用し易くなり、野菜の出し入れがし易い冷蔵庫を提供できることとなる。また、酸素富化膜と調湿部材を予め取り付けた上壁を冷蔵庫へ組み込みできる構成とすることも可能であるため、組立てがし易い構成にできる。
【0042】
請求項3の発明によれば、酸素富化膜の特性により野菜等を減酸素雰囲気で保存して、野菜等の品質劣化を抑えると共に、野菜等を瑞々しく保つことができることとなり、野菜等の長期保存に適した冷蔵庫となる。そして、調湿部材と酸素富化膜を野菜室の上壁に設けることにより、野菜室は冷気が流入し循環するが野菜容器内は間接冷却される方式に採用することができ、野菜容器を野菜室内に引き出し自在に収納するタイプとして、野菜の出し入れがし易い冷蔵庫を提供できることとなる。また、酸素富化膜と調湿部材を予め取り付けた上壁を冷蔵庫へ組み込みできる構成とすることも可能であるため、組立てがし易い冷蔵庫の提供も可能である。
【0043】
請求項4並びに5の発明によれば、上記効果に加えて、野菜容器内の空気の余分な排出が防止でき、野菜等の乾燥を抑制でき、野菜等の瑞々しさを維持できるものとなる。
【図面の簡単な説明】
【図1】本発明冷蔵庫の縦断側面図である。
【図2】本発明冷蔵庫の酸素富化膜と調湿部材を備えた野菜室の部分拡大図である。
【図3】本発明冷蔵庫の酸素富化膜と調湿部材を備えた野菜室の他の形態を示す部分拡大図である。
【図4】本発明冷蔵庫の野菜室へ冷気が循環するタイプの冷蔵庫の野菜室部分の断面図である。
【符号の説明】
1……冷蔵庫
2……冷蔵庫本体
3……冷蔵室
4……野菜室
15……野菜容器
30……冷却器
32……送風機
40……酸素富化膜
41……吸引ポンプ
42……パイプ
43……排出孔
52……野菜室の上壁
54……冷気通路
60……調湿部材
Claims (5)
- 冷却された野菜室内にこの野菜室の前方へ引き出し自在に野菜容器を設けた冷蔵庫において、前記野菜容器内の空気を酸素富化膜を通して冷蔵庫外に吸引する吸引ポンプを設け、前記野菜容器内が過湿状態のとき野菜容器内から過剰な水分を吸収し野菜容器内が低湿度状態のとき吸収した水分を野菜容器内に放出する作用をする調湿部材を設けたことを特徴とする冷蔵庫。
- 間接冷却冷却される野菜室内にこの野菜室の前方へ引き出し自在な上面開口の野菜容器を設け、前記野菜室の上壁には前記野菜容器の上面開口に対向して酸素富化膜を設け、前記野菜容器内が過湿状態のとき野菜容器内から過剰な水分を吸収し野菜容器内が低湿度状態のとき吸収した水分を野菜容器内に放出する作用をする調湿部材を前記酸素富化膜を野菜容器側から覆うように前記野菜室の上壁に設け、前記野菜容器内の空気を前記調湿部材と酸素富化膜を通して冷蔵庫外に吸引する吸引ポンプを設けことを特徴とする冷蔵庫。
- 上面開口の野菜容器を冷却された野菜室内に前方へ引き出し自在に設けた冷蔵庫において、前記野菜容器は前記野菜室内に収納された状態で前記上面開口が前記野菜室の上壁で塞がれて前記野菜容器内は前記野菜室の冷気によって間接冷却される構成であり、前記野菜室の上壁には、前記上面開口に対応して酸素富化膜と、前記野菜容器内が過湿状態のとき野菜容器内から過剰な水分を吸収し野菜容器内が低湿度状態のとき吸収した水分を野菜容器内に放出する作用をする調湿部材を設け、前記野菜容器内の空気を酸素富化膜を通して冷蔵庫外に吸引ポンプによって吸引することを特徴とする冷蔵庫。
- 前記吸引ポンプを前記野菜室の前面扉が閉じたときから所定時間運転するようにしたことを特徴とする請求項1乃至3のいずれかに記載の冷蔵庫。
- 前記吸引ポンプを前記野菜容器内の酸素濃度が所定の低酸素状態よりも高い酸素状態のとき運転するようにしたことを特徴とする請求項1乃至3のいずれかに記載の冷蔵庫。
Priority Applications (1)
| Application Number | Priority Date | Filing Date | Title |
|---|---|---|---|
| JP2003157508A JP2004360948A (ja) | 2003-06-03 | 2003-06-03 | 冷蔵庫 |
Applications Claiming Priority (1)
| Application Number | Priority Date | Filing Date | Title |
|---|---|---|---|
| JP2003157508A JP2004360948A (ja) | 2003-06-03 | 2003-06-03 | 冷蔵庫 |
Publications (1)
| Publication Number | Publication Date |
|---|---|
| JP2004360948A true JP2004360948A (ja) | 2004-12-24 |
Family
ID=34051193
Family Applications (1)
| Application Number | Title | Priority Date | Filing Date |
|---|---|---|---|
| JP2003157508A Pending JP2004360948A (ja) | 2003-06-03 | 2003-06-03 | 冷蔵庫 |
Country Status (1)
| Country | Link |
|---|---|
| JP (1) | JP2004360948A (ja) |
Cited By (49)
| Publication number | Priority date | Publication date | Assignee | Title |
|---|---|---|---|---|
| JP2010038493A (ja) * | 2008-08-08 | 2010-02-18 | Hitachi Appliances Inc | 冷蔵庫 |
| CN101949631A (zh) * | 2010-10-11 | 2011-01-19 | 合肥美的荣事达电冰箱有限公司 | 冰箱 |
| JP2011099652A (ja) * | 2009-11-09 | 2011-05-19 | Mitsubishi Electric Corp | 冷蔵庫 |
| JP2013217648A (ja) * | 2013-08-02 | 2013-10-24 | Mitsubishi Electric Corp | 冷蔵庫 |
| JP2014009860A (ja) * | 2012-06-28 | 2014-01-20 | Toshiba Corp | 冷蔵庫 |
| KR20140121536A (ko) * | 2013-04-05 | 2014-10-16 | 삼성전자주식회사 | 냉장고 |
| CN106546053A (zh) * | 2016-12-09 | 2017-03-29 | 青岛海尔股份有限公司 | 冷藏冷冻装置 |
| CN106642913A (zh) * | 2016-12-02 | 2017-05-10 | 青岛海尔股份有限公司 | 冷藏冷冻装置 |
| CN106642916A (zh) * | 2016-12-09 | 2017-05-10 | 青岛海尔股份有限公司 | 冷藏冷冻装置 |
| CN106642918A (zh) * | 2016-12-09 | 2017-05-10 | 青岛海尔股份有限公司 | 冷藏冷冻装置 |
| CN106679274A (zh) * | 2016-12-02 | 2017-05-17 | 青岛海尔股份有限公司 | 冷藏冷冻装置 |
| CN106679275A (zh) * | 2016-12-02 | 2017-05-17 | 青岛海尔股份有限公司 | 冷藏冷冻装置 |
| CN106679278A (zh) * | 2016-12-09 | 2017-05-17 | 青岛海尔股份有限公司 | 冷藏冷冻装置 |
| CN106679277A (zh) * | 2016-12-09 | 2017-05-17 | 青岛海尔股份有限公司 | 冷藏冷冻装置及其控制方法 |
| CN106679276A (zh) * | 2016-12-09 | 2017-05-17 | 青岛海尔股份有限公司 | 具有气调保鲜功能的冷藏冷冻装置 |
| CN106705536A (zh) * | 2016-12-02 | 2017-05-24 | 青岛海尔股份有限公司 | 冰箱 |
| CN106705534A (zh) * | 2016-12-02 | 2017-05-24 | 青岛海尔股份有限公司 | 具备高氧储肉功能的冷藏冷冻装置 |
| CN106766521A (zh) * | 2016-12-09 | 2017-05-31 | 青岛海尔股份有限公司 | 冷藏冷冻装置 |
| CN106766520A (zh) * | 2016-12-09 | 2017-05-31 | 青岛海尔股份有限公司 | 冷藏冷冻装置及其气调保鲜储物信息的输出方法 |
| CN106766515A (zh) * | 2016-12-02 | 2017-05-31 | 青岛海尔股份有限公司 | 冷藏冷冻设备的气调控制方法与冷藏冷冻设备 |
| CN106766622A (zh) * | 2016-12-02 | 2017-05-31 | 青岛海尔股份有限公司 | 抽屉组件及具有该抽屉组件的冷藏冷冻装置 |
| CN106766519A (zh) * | 2016-12-09 | 2017-05-31 | 青岛海尔股份有限公司 | 冷藏冷冻装置及其气调保鲜控制方法 |
| CN106766510A (zh) * | 2016-12-02 | 2017-05-31 | 青岛海尔股份有限公司 | 冷藏冷冻装置 |
| CN106766565A (zh) * | 2016-12-02 | 2017-05-31 | 青岛海尔股份有限公司 | 冰箱 |
| CN106802047A (zh) * | 2016-12-02 | 2017-06-06 | 青岛海尔股份有限公司 | 冷藏冷冻装置 |
| CN106813441A (zh) * | 2016-12-02 | 2017-06-09 | 青岛海尔股份有限公司 | 具备高氧储肉功能的冷藏冷冻装置 |
| CN106813444A (zh) * | 2016-12-09 | 2017-06-09 | 青岛海尔股份有限公司 | 冷藏冷冻装置 |
| CN106813443A (zh) * | 2016-12-02 | 2017-06-09 | 青岛海尔股份有限公司 | 冷藏冷冻设备 |
| CN106839586A (zh) * | 2016-12-09 | 2017-06-13 | 青岛海尔股份有限公司 | 冷藏冷冻装置 |
| CN106839584A (zh) * | 2016-12-09 | 2017-06-13 | 青岛海尔股份有限公司 | 风冷冰箱 |
| CN106839585A (zh) * | 2016-12-09 | 2017-06-13 | 青岛海尔股份有限公司 | 冷藏冷冻装置 |
| CN107044752A (zh) * | 2016-12-02 | 2017-08-15 | 青岛海尔股份有限公司 | 冰箱 |
| CN107062746A (zh) * | 2016-12-09 | 2017-08-18 | 青岛海尔股份有限公司 | 冷藏冷冻装置 |
| WO2018103719A1 (zh) * | 2016-12-09 | 2018-06-14 | 青岛海尔股份有限公司 | 具有气调保鲜功能的冷藏冷冻装置 |
| JP2018096661A (ja) * | 2016-12-16 | 2018-06-21 | 東芝ライフスタイル株式会社 | 貯蔵庫 |
| JP2018200156A (ja) * | 2017-05-29 | 2018-12-20 | 東芝ライフスタイル株式会社 | 貯蔵庫 |
| CN109654794A (zh) * | 2017-10-12 | 2019-04-19 | 东芝生活电器株式会社 | 储藏库 |
| JP2019100556A (ja) * | 2017-11-28 | 2019-06-24 | 東芝ライフスタイル株式会社 | 貯蔵庫 |
| KR20190083342A (ko) * | 2016-12-02 | 2019-07-11 | 칭다오 하이얼 조인트 스탁 씨오.,엘티디. | 냉장 냉동 장치 |
| KR20190083343A (ko) * | 2016-12-02 | 2019-07-11 | 칭다오 하이얼 조인트 스탁 씨오.,엘티디. | 냉장 냉동 장치 |
| EP3550229A4 (en) * | 2016-12-02 | 2019-11-27 | Qingdao Haier Joint Stock Co., Ltd | COOLING AND FREEZING DEVICE |
| JP2020507046A (ja) * | 2016-12-02 | 2020-03-05 | チンダオ ハイアール ジョイント ストック カンパニー リミテッドQingdao Haier Joint Stock Co.,Ltd | ガス調整鮮度保持収納装置 |
| WO2020151565A1 (zh) * | 2019-01-23 | 2020-07-30 | 青岛海尔电冰箱有限公司 | 冷藏冷冻装置 |
| WO2021098785A1 (zh) * | 2019-11-21 | 2021-05-27 | 青岛海尔电冰箱有限公司 | 用于冰箱的抽屉组件和冰箱 |
| CN113048708A (zh) * | 2019-12-26 | 2021-06-29 | 青岛海尔电冰箱有限公司 | 气调保鲜冰箱的控制方法、冰箱和存储介质 |
| EP3812671A4 (en) * | 2018-06-19 | 2021-09-15 | Qingdao Haier Co., Ltd. | REFRIGERATOR WITH OXYGEN CONTROL AND FRESH KEEPING |
| WO2022042423A1 (zh) * | 2020-08-25 | 2022-03-03 | 青岛海尔电冰箱有限公司 | 冰箱 |
| WO2022042422A1 (zh) * | 2020-08-25 | 2022-03-03 | 青岛海尔电冰箱有限公司 | 冰箱 |
| CN115704629A (zh) * | 2021-08-05 | 2023-02-17 | 青岛海尔电冰箱有限公司 | 抽屉组件、制冷设备及制冷设备的控制方法 |
-
2003
- 2003-06-03 JP JP2003157508A patent/JP2004360948A/ja active Pending
Cited By (103)
| Publication number | Priority date | Publication date | Assignee | Title |
|---|---|---|---|---|
| JP2010038493A (ja) * | 2008-08-08 | 2010-02-18 | Hitachi Appliances Inc | 冷蔵庫 |
| JP2011099652A (ja) * | 2009-11-09 | 2011-05-19 | Mitsubishi Electric Corp | 冷蔵庫 |
| CN101949631A (zh) * | 2010-10-11 | 2011-01-19 | 合肥美的荣事达电冰箱有限公司 | 冰箱 |
| JP2014009860A (ja) * | 2012-06-28 | 2014-01-20 | Toshiba Corp | 冷蔵庫 |
| KR20140121536A (ko) * | 2013-04-05 | 2014-10-16 | 삼성전자주식회사 | 냉장고 |
| KR102028022B1 (ko) * | 2013-04-05 | 2019-10-04 | 삼성전자주식회사 | 냉장고 |
| JP2013217648A (ja) * | 2013-08-02 | 2013-10-24 | Mitsubishi Electric Corp | 冷蔵庫 |
| KR20190083343A (ko) * | 2016-12-02 | 2019-07-11 | 칭다오 하이얼 조인트 스탁 씨오.,엘티디. | 냉장 냉동 장치 |
| CN106813443B (zh) * | 2016-12-02 | 2020-08-28 | 青岛海尔股份有限公司 | 冷藏冷冻设备 |
| US11517035B2 (en) | 2016-12-02 | 2022-12-06 | Qingdao Haier Joint Stock Co., Ltd. | Drawer assembly and refrigerating and freezing device with drawer assembly |
| CN106679274A (zh) * | 2016-12-02 | 2017-05-17 | 青岛海尔股份有限公司 | 冷藏冷冻装置 |
| CN106679275A (zh) * | 2016-12-02 | 2017-05-17 | 青岛海尔股份有限公司 | 冷藏冷冻装置 |
| US11268747B2 (en) * | 2016-12-02 | 2022-03-08 | Qingdao Haier Joint Stock Co., Ltd. | Refrigerating and freezing device |
| US11147298B2 (en) * | 2016-12-02 | 2021-10-19 | Qingdao Haier Joint Stock Co., Ltd. | Refrigerator |
| US11015857B2 (en) | 2016-12-02 | 2021-05-25 | Qingdao Haier Joint Stock Co., Ltd. | Refrigerator |
| EP3550233A4 (en) * | 2016-12-02 | 2019-11-27 | Qingdao Haier Joint Stock Co., Ltd | FRIDGE |
| CN106705534A (zh) * | 2016-12-02 | 2017-05-24 | 青岛海尔股份有限公司 | 具备高氧储肉功能的冷藏冷冻装置 |
| AU2019240580B2 (en) * | 2016-12-02 | 2021-05-06 | Qingdao Haier Joint Stock Co., Ltd | Refrigerator |
| KR102209635B1 (ko) | 2016-12-02 | 2021-01-29 | 칭다오 하이얼 조인트 스탁 씨오.,엘티디. | 냉장 냉동 장치 |
| CN106766515A (zh) * | 2016-12-02 | 2017-05-31 | 青岛海尔股份有限公司 | 冷藏冷冻设备的气调控制方法与冷藏冷冻设备 |
| CN106766622A (zh) * | 2016-12-02 | 2017-05-31 | 青岛海尔股份有限公司 | 抽屉组件及具有该抽屉组件的冷藏冷冻装置 |
| KR102209645B1 (ko) | 2016-12-02 | 2021-01-29 | 칭다오 하이얼 조인트 스탁 씨오.,엘티디. | 냉장 냉동 장치 |
| CN106766510A (zh) * | 2016-12-02 | 2017-05-31 | 青岛海尔股份有限公司 | 冷藏冷冻装置 |
| CN106766565A (zh) * | 2016-12-02 | 2017-05-31 | 青岛海尔股份有限公司 | 冰箱 |
| CN106802047A (zh) * | 2016-12-02 | 2017-06-06 | 青岛海尔股份有限公司 | 冷藏冷冻装置 |
| CN106813441A (zh) * | 2016-12-02 | 2017-06-09 | 青岛海尔股份有限公司 | 具备高氧储肉功能的冷藏冷冻装置 |
| US10820614B2 (en) | 2016-12-02 | 2020-11-03 | Qingdao Haier Joint Stock Co., Ltd. | Refrigerator |
| CN106813443A (zh) * | 2016-12-02 | 2017-06-09 | 青岛海尔股份有限公司 | 冷藏冷冻设备 |
| RU2733617C2 (ru) * | 2016-12-02 | 2020-10-05 | Циндао Хайер Джойнт Сток Ко., Лтд | Холодильник |
| CN106705536B (zh) * | 2016-12-02 | 2020-08-28 | 青岛海尔股份有限公司 | 冰箱 |
| EP3699518A1 (en) * | 2016-12-02 | 2020-08-26 | Qingdao Haier Joint Stock Co., Ltd | Refrigerator |
| CN107044752A (zh) * | 2016-12-02 | 2017-08-15 | 青岛海尔股份有限公司 | 冰箱 |
| RU2722545C1 (ru) * | 2016-12-02 | 2020-06-01 | Циндао Хайер Джойнт Сток Ко., Лтд | Холодильное и морозильное устройство |
| WO2018099463A1 (zh) * | 2016-12-02 | 2018-06-07 | 青岛海尔股份有限公司 | 冷藏冷冻装置 |
| WO2018099373A1 (zh) * | 2016-12-02 | 2018-06-07 | 青岛海尔股份有限公司 | 冰箱 |
| WO2018099455A1 (zh) * | 2016-12-02 | 2018-06-07 | 青岛海尔股份有限公司 | 抽屉组件及具有该抽屉组件的冷藏冷冻装置 |
| WO2018099412A1 (zh) * | 2016-12-02 | 2018-06-07 | 青岛海尔股份有限公司 | 冷藏冷冻装置 |
| RU2721835C1 (ru) * | 2016-12-02 | 2020-05-22 | Циндао Хайер Джойнт Сток Ко., Лтд | Холодильное и морозильное устройство |
| RU2721729C1 (ru) * | 2016-12-02 | 2020-05-21 | Циндао Хайер Джойнт Сток Ко., Лтд | Холодильное и морозильное устройство |
| EP3550230A4 (en) * | 2016-12-02 | 2019-11-27 | Qingdao Haier Joint Stock Co., Ltd | COOLING AND FREEZING DEVICE |
| RU2721527C1 (ru) * | 2016-12-02 | 2020-05-19 | Циндао Хайер Джойнт Сток Ко., Лтд | Холодильник |
| RU2721525C1 (ru) * | 2016-12-02 | 2020-05-19 | Циндао Хайер Джойнт Сток Ко., Лтд | Холодильник |
| AU2017369107B2 (en) * | 2016-12-02 | 2020-04-30 | Qingdao Haier Joint Stock Co., Ltd | Refrigeration and freezing apparatus |
| AU2017369104B2 (en) * | 2016-12-02 | 2020-04-23 | Qingdao Haier Joint Stock Co., Ltd | Refrigerating and freezing device |
| JP2020507046A (ja) * | 2016-12-02 | 2020-03-05 | チンダオ ハイアール ジョイント ストック カンパニー リミテッドQingdao Haier Joint Stock Co.,Ltd | ガス調整鮮度保持収納装置 |
| JP2020501098A (ja) * | 2016-12-02 | 2020-01-16 | チンダオ ハイアール ジョイント ストック カンパニー リミテッドQingdao Haier Joint Stock Co.,Ltd | 冷蔵冷凍装置 |
| JP2019536974A (ja) * | 2016-12-02 | 2019-12-19 | チンダオ ハイアール ジョイント ストック カンパニー リミテッドQingdao Haier Joint Stock Co.,Ltd | 冷蔵冷凍装置 |
| CN106679274B (zh) * | 2016-12-02 | 2019-12-10 | 青岛海尔股份有限公司 | 冷藏冷冻装置 |
| KR20190083342A (ko) * | 2016-12-02 | 2019-07-11 | 칭다오 하이얼 조인트 스탁 씨오.,엘티디. | 냉장 냉동 장치 |
| CN106642913A (zh) * | 2016-12-02 | 2017-05-10 | 青岛海尔股份有限公司 | 冷藏冷冻装置 |
| CN106766510B (zh) * | 2016-12-02 | 2019-12-10 | 青岛海尔股份有限公司 | 冷藏冷冻装置 |
| CN106802047B (zh) * | 2016-12-02 | 2019-11-05 | 青岛海尔股份有限公司 | 冷藏冷冻装置 |
| EP3550228A4 (en) * | 2016-12-02 | 2019-11-27 | Qingdao Haier Joint Stock Co., Ltd | COOLING AND FREEZING DEVICE |
| CN106766622B (zh) * | 2016-12-02 | 2019-12-10 | 青岛海尔股份有限公司 | 抽屉组件及具有该抽屉组件的冷藏冷冻装置 |
| EP3550229A4 (en) * | 2016-12-02 | 2019-11-27 | Qingdao Haier Joint Stock Co., Ltd | COOLING AND FREEZING DEVICE |
| CN106705536A (zh) * | 2016-12-02 | 2017-05-24 | 青岛海尔股份有限公司 | 冰箱 |
| CN106679276B (zh) * | 2016-12-09 | 2020-05-26 | 青岛海尔股份有限公司 | 具有气调保鲜功能的冷藏冷冻装置 |
| CN107062746A (zh) * | 2016-12-09 | 2017-08-18 | 青岛海尔股份有限公司 | 冷藏冷冻装置 |
| WO2018103720A1 (zh) * | 2016-12-09 | 2018-06-14 | 青岛海尔股份有限公司 | 冷藏冷冻装置 |
| CN106546053A (zh) * | 2016-12-09 | 2017-03-29 | 青岛海尔股份有限公司 | 冷藏冷冻装置 |
| CN106839584B (zh) * | 2016-12-09 | 2023-11-21 | 海尔智家股份有限公司 | 风冷冰箱 |
| CN106766519B (zh) * | 2016-12-09 | 2019-05-31 | 青岛海尔股份有限公司 | 冷藏冷冻装置及其气调保鲜控制方法 |
| CN106679278B (zh) * | 2016-12-09 | 2023-09-22 | 海尔智家股份有限公司 | 冷藏冷冻装置 |
| CN106766521B (zh) * | 2016-12-09 | 2023-09-22 | 海尔智家股份有限公司 | 冷藏冷冻装置 |
| CN106679278A (zh) * | 2016-12-09 | 2017-05-17 | 青岛海尔股份有限公司 | 冷藏冷冻装置 |
| CN106839586A (zh) * | 2016-12-09 | 2017-06-13 | 青岛海尔股份有限公司 | 冷藏冷冻装置 |
| CN106839586B (zh) * | 2016-12-09 | 2023-07-21 | 海尔智家股份有限公司 | 冷藏冷冻装置 |
| RU2721246C1 (ru) * | 2016-12-09 | 2020-05-18 | Циндао Хайер Джойнт Сток Ко., Лтд | Холодильное и морозильное устройство |
| WO2018103731A1 (zh) * | 2016-12-09 | 2018-06-14 | 青岛海尔股份有限公司 | 具有气调保鲜功能的冷藏冷冻装置 |
| WO2018103722A1 (zh) * | 2016-12-09 | 2018-06-14 | 青岛海尔股份有限公司 | 冷藏冷冻装置 |
| CN106546053B (zh) * | 2016-12-09 | 2019-12-06 | 青岛海尔股份有限公司 | 冷藏冷冻装置 |
| WO2018103719A1 (zh) * | 2016-12-09 | 2018-06-14 | 青岛海尔股份有限公司 | 具有气调保鲜功能的冷藏冷冻装置 |
| CN106813444A (zh) * | 2016-12-09 | 2017-06-09 | 青岛海尔股份有限公司 | 冷藏冷冻装置 |
| WO2018103730A1 (zh) * | 2016-12-09 | 2018-06-14 | 青岛海尔股份有限公司 | 冷藏冷冻装置及其气调保鲜储物信息的输出方法 |
| CN106813444B (zh) * | 2016-12-09 | 2023-07-21 | 海尔智家股份有限公司 | 冷藏冷冻装置 |
| CN106839585A (zh) * | 2016-12-09 | 2017-06-13 | 青岛海尔股份有限公司 | 冷藏冷冻装置 |
| CN106839584A (zh) * | 2016-12-09 | 2017-06-13 | 青岛海尔股份有限公司 | 风冷冰箱 |
| EP3553432A4 (en) * | 2016-12-09 | 2019-11-27 | Qingdao Haier Joint Stock Co., Ltd | COOLING AND FREEZING DEVICE |
| CN106642916A (zh) * | 2016-12-09 | 2017-05-10 | 青岛海尔股份有限公司 | 冷藏冷冻装置 |
| AU2017373235B2 (en) * | 2016-12-09 | 2020-04-09 | Qingdao Haier Joint Stock Co., Ltd | Refrigerating and freezing device |
| CN106766519A (zh) * | 2016-12-09 | 2017-05-31 | 青岛海尔股份有限公司 | 冷藏冷冻装置及其气调保鲜控制方法 |
| CN106766520A (zh) * | 2016-12-09 | 2017-05-31 | 青岛海尔股份有限公司 | 冷藏冷冻装置及其气调保鲜储物信息的输出方法 |
| CN106766521A (zh) * | 2016-12-09 | 2017-05-31 | 青岛海尔股份有限公司 | 冷藏冷冻装置 |
| CN106679276A (zh) * | 2016-12-09 | 2017-05-17 | 青岛海尔股份有限公司 | 具有气调保鲜功能的冷藏冷冻装置 |
| CN106839585B (zh) * | 2016-12-09 | 2023-07-21 | 海尔智家股份有限公司 | 冷藏冷冻装置 |
| CN106642918A (zh) * | 2016-12-09 | 2017-05-10 | 青岛海尔股份有限公司 | 冷藏冷冻装置 |
| US11280537B2 (en) | 2016-12-09 | 2022-03-22 | Qingdao Haier Joint Stock Co., Ltd. | Refrigerating and freezing device |
| CN106679277A (zh) * | 2016-12-09 | 2017-05-17 | 青岛海尔股份有限公司 | 冷藏冷冻装置及其控制方法 |
| CN108204699A (zh) * | 2016-12-16 | 2018-06-26 | 东芝生活电器株式会社 | 储藏箱 |
| JP2018096661A (ja) * | 2016-12-16 | 2018-06-21 | 東芝ライフスタイル株式会社 | 貯蔵庫 |
| JP2018200156A (ja) * | 2017-05-29 | 2018-12-20 | 東芝ライフスタイル株式会社 | 貯蔵庫 |
| CN109654794A (zh) * | 2017-10-12 | 2019-04-19 | 东芝生活电器株式会社 | 储藏库 |
| JP2019100556A (ja) * | 2017-11-28 | 2019-06-24 | 東芝ライフスタイル株式会社 | 貯蔵庫 |
| JP7019393B2 (ja) | 2017-11-28 | 2022-02-15 | 東芝ライフスタイル株式会社 | 貯蔵庫 |
| EP3812671A4 (en) * | 2018-06-19 | 2021-09-15 | Qingdao Haier Co., Ltd. | REFRIGERATOR WITH OXYGEN CONTROL AND FRESH KEEPING |
| WO2020151565A1 (zh) * | 2019-01-23 | 2020-07-30 | 青岛海尔电冰箱有限公司 | 冷藏冷冻装置 |
| WO2021098785A1 (zh) * | 2019-11-21 | 2021-05-27 | 青岛海尔电冰箱有限公司 | 用于冰箱的抽屉组件和冰箱 |
| CN113048708B (zh) * | 2019-12-26 | 2022-01-25 | 青岛海尔电冰箱有限公司 | 气调保鲜冰箱的控制方法、冰箱和存储介质 |
| CN113048708A (zh) * | 2019-12-26 | 2021-06-29 | 青岛海尔电冰箱有限公司 | 气调保鲜冰箱的控制方法、冰箱和存储介质 |
| WO2022042422A1 (zh) * | 2020-08-25 | 2022-03-03 | 青岛海尔电冰箱有限公司 | 冰箱 |
| WO2022042423A1 (zh) * | 2020-08-25 | 2022-03-03 | 青岛海尔电冰箱有限公司 | 冰箱 |
| CN115704629A (zh) * | 2021-08-05 | 2023-02-17 | 青岛海尔电冰箱有限公司 | 抽屉组件、制冷设备及制冷设备的控制方法 |
| CN115704629B (zh) * | 2021-08-05 | 2025-05-09 | 青岛海尔电冰箱有限公司 | 抽屉组件、制冷设备及制冷设备的控制方法 |
Similar Documents
| Publication | Publication Date | Title |
|---|---|---|
| JP2004360948A (ja) | 冷蔵庫 | |
| JP4619379B2 (ja) | 冷蔵庫 | |
| CN100406825C (zh) | 制冷冰箱 | |
| CN101446464B (zh) | 冷冻冰箱 | |
| US20150247662A1 (en) | Single Evaporator Refrigeration System For Multi-Compartment Refrigerator Appliance With Isolated Air Flows | |
| CN203642591U (zh) | 冰箱 | |
| CN108759243A (zh) | 控氧保鲜冰箱 | |
| JP2008292101A (ja) | 冷凍冷蔵庫 | |
| JP4076804B2 (ja) | 冷蔵庫 | |
| JP7016002B2 (ja) | 冷蔵庫 | |
| JP2003279232A (ja) | 冷蔵庫の加湿装置 | |
| JP2019100654A (ja) | 冷蔵庫 | |
| JP2002357385A (ja) | 冷蔵庫の野菜室構成 | |
| JPH0579742A (ja) | 冷凍冷蔵庫 | |
| JP2006010162A (ja) | 冷蔵庫 | |
| JP2003042632A (ja) | 冷凍冷蔵庫 | |
| JP4785414B2 (ja) | 冷蔵庫 | |
| JP3549358B2 (ja) | 冷蔵庫 | |
| JP2003287349A (ja) | 湿度調節式冷蔵庫 | |
| JP2015121387A (ja) | 冷蔵庫 | |
| JP2015014423A (ja) | 冷蔵庫 | |
| JP2005016903A (ja) | 冷蔵庫 | |
| JP2003279230A (ja) | 冷蔵庫の加湿装置 | |
| CN216409433U (zh) | 冷藏冷冻装置 | |
| CN204421457U (zh) | 冷藏库 |