JP2004332953A - Air conditioner - Google Patents

Air conditioner Download PDF

Info

Publication number
JP2004332953A
JP2004332953A JP2003125300A JP2003125300A JP2004332953A JP 2004332953 A JP2004332953 A JP 2004332953A JP 2003125300 A JP2003125300 A JP 2003125300A JP 2003125300 A JP2003125300 A JP 2003125300A JP 2004332953 A JP2004332953 A JP 2004332953A
Authority
JP
Japan
Prior art keywords
air
blade
outlet
blade portion
blow
Prior art date
Legal status (The legal status is an assumption and is not a legal conclusion. Google has not performed a legal analysis and makes no representation as to the accuracy of the status listed.)
Pending
Application number
JP2003125300A
Other languages
Japanese (ja)
Inventor
Koichi Aoishi
浩一 青石
Yoshiyuki Kitamura
芳之 北村
Yasuhiro Mogi
康弘 茂木
Kozo Ninomiya
浩三 二宮
Takahiko Ukuchi
隆彦 宇口
Current Assignee (The listed assignees may be inaccurate. Google has not performed a legal analysis and makes no representation or warranty as to the accuracy of the list.)
Sanyo Electric Co Ltd
Sanyo Air Conditioners Co Ltd
Original Assignee
Sanyo Electric Co Ltd
Sanyo Air Conditioners Co Ltd
Priority date (The priority date is an assumption and is not a legal conclusion. Google has not performed a legal analysis and makes no representation as to the accuracy of the date listed.)
Filing date
Publication date
Application filed by Sanyo Electric Co Ltd, Sanyo Air Conditioners Co Ltd filed Critical Sanyo Electric Co Ltd
Priority to JP2003125300A priority Critical patent/JP2004332953A/en
Priority to CNB2004100420841A priority patent/CN1240972C/en
Publication of JP2004332953A publication Critical patent/JP2004332953A/en
Pending legal-status Critical Current

Links

Images

Landscapes

  • Air-Conditioning Room Units, And Self-Contained Units In General (AREA)
  • Air-Flow Control Members (AREA)
  • Structures Of Non-Positive Displacement Pumps (AREA)

Abstract

<P>PROBLEM TO BE SOLVED: To provide an air conditioner, allowing a blower to be moved out of a blow-off opening of a blade part in cleaning the blower, and facilitating re-installation work after cleaning. <P>SOLUTION: This air conditioner includes: a blowing fan 5 for sucking air in a room into a heat exchanger 4; a blow-off opening 9 for blowing off cold air/hot air heat-exchanged by the heat exchanger; and the blade part 12 for turning the direction of cold air/hot air blown off from the blow-off opening 9 to the right and left. The blade part is fitted and supported to turn in the vertical direction to the blow-off opening by fitting of a shaft part 16 and a bearing part 18 provided on the mutual fitting edge parts of the blade part and the blow-off opening. Since the blade part is opened downward to facilitate cleaning of the internal blowing fan from the blow-off opening without detaching from an interior unit case, the blade part can be simply reset, and there is no fear of breaking the blade part. <P>COPYRIGHT: (C)2005,JPO&NCIPI

Description

【0001】
【発明の属する技術分野】
本発明は、室内機の内部を掃除ができるようにした空気調和機に関する。
【0002】
【従来の技術】
今日、空気調和機としては室内機と室外機とに分離し、両機を冷媒配管で接続した分離型タイプのものが広く普及している。その室内機は室内の壁に取り付けられて使用される。
【0003】
室内機は、そのケース内部に配した送風機によりケース前面ないしは上面部にかけて形成されている吸込口より吸い込まれた室内空気を、前記送風機を囲繞するように配置された熱交換器にて加熱/冷却して、ケース下部の吹出口より温風/冷風を吹き出し室内に循環するものである。なお、吹出口には、一般に、吹き出される温風/冷風の上下方向の風向及び左右方向の風向を変更する風向変更器が設けられており、上下方向の風向変更器はフラップ部と称され、左右方向の風向を変更する風向変更器はブレード部と称される。
【0004】
このような室内機にあっては、室内に清浄空気が吹き出されるように、集塵フィルターや脱臭フィルター等を吸込口の背後に設け、衛生性を維持するように図っているが、それでも長時間経過するうちに小さな隙間から室内機の内部に埃が侵入し、この埃が送風機等に付着してしまう。
【0005】
このため、定期的に送風機の清掃を必要とする。ここでこの清掃に当たって、送風機の前部には熱交換器が存在し清掃具を正面部側の吸込口から挿入して清掃ができないという構造的な制約があるので、風向変更器がある下部の吹出口から内部を清掃するような対応が取られている。
【0006】
そこで、このような風向変更器が存在している吹出口において、この吹出口に着脱自在にブレード部を備えて、このブレード部を外すことにより送風ファンの清掃を容易に行うものが提案されている(例えば、特許文献1)。
【0007】
【特許文献】
特開平2002−31404号公報
【0008】
【発明が解決しようとする課題】
しかしながら、ブレードが完全に取り外されてしまうものであると、ブレード部を元の状態に吹出口に取り付ける作業が大変であると共に、取り付け方がぞんざいであったり、無理に押し込んだりしたりした場合にはブレード部が損傷するという問題がある。また特にブレード部がモーター駆動により風向変更を行うタイプのものの場合には、掃除後の再セット時に、ブレード部をモータ駆動部側の連動部と確実に連結するように慎重に接続作業をしなけらばならず、その際正常に連結されないと風向機能が正常に発揮されなかったり、駆動部の故障の原因になったりする問題があった。
【0009】
掃除などはメカに不慣れな主婦等が行うことが多く、また室内機が壁の上方にある手の届きにくい場所にあることなどから、上述した清掃後のブレード部のセットや駆動可能状態に吹出口に再装着する作業は労苦が伴い大変であった。
【0010】
本発明は上記問題に鑑み成されたもので、ブレード部を吹出口に回動可能に取り付け保持した取付構造とし、ブレード部の下方回動により吹出口の開放が図られ清掃を容易にすると共に、上方へ回動することによりブレード部の駆動部との連結が可能となって、清掃後の再装着作業が容易に行えるようになした空気調和機を提供することを目的とする。
【0011】
【課題を解決するための手段】
本発明は、室内の空気を熱交換器に吸い込む送風ファンと、前記熱交換器で熱交換された冷風/温風を吹き出す吹出口と、この吹出口から吹き出される冷風/温風の風向きを左右方向へ変えるブレード部を備えた空気調和器において、前記ブレード部が前記吹出口に対して上下方向に回動操作可能に取付保持されているものである。
【0012】
また前記ブレード部の前記吹出口との取付側縁部と、前記ブレード部が取り付けられる吹出口の被取付側縁部に、互いに嵌合し前記ブレード部を前記吹出口に軸着するための軸部と軸受け部とが設けられてなるものである。
【0013】
さらに前記軸部と軸承部とは、複数のブレードを間隔を空けて回動自在に軸支させたブレード部側の基部の長手方向の一方の縁部と、空気調和機のケースの下端部に形成した吹出口の長手方向の一方の開口縁部に対向して設けられてなるものである。
【0014】
【発明の実施の形態】
以下、本発明の実施例を図面に基づき説明する。分離型空気調和機は、室外に設置される室外機と、この室外機と冷媒管により接続されて室内に設置に設置される室内機とにより構成され、これら室外機と室内機1とを冷媒が循環するようになっている。
【0015】
図1は、本発明に係る室内機のうち、室内の壁に据え付けられるいわゆる壁掛型室内機1の側断面を示した図である。室内機1のケースは、前面側の前ケース部2Aと、この前ケース部2Aの前部に設けられ室内の空気の吸込口を備えた吸込パネル2Bと、背面側の後ケース部3とで構成されている。またケースの中には室内の空気を加熱/冷却する熱交換器4が配設され、冷媒がその配管内を通過することにより、冷房/除湿運転時に冷却器として機能し、暖房運転時には加熱器として機能するものである。
【0016】
またケースの内部には、送風ファン(クロススローファン)5が設けられ、該送風ファン5により室内の空気が吸込パネル2Bから吸い込まれ、熱交換器4で加熱/冷却されて冷風/温風が再び室内に吹き出され循環する。熱交換器4は、送風ファン5を包むように概略「く」字状に形成されて、熱交換器4を小型化しても熱交換率が低下しないようになっている。
【0017】
また前記熱交換器4の下端部には、該熱交換器4で結露して滴下するドレン水を溜め排出するためのドレンパン6が設けられている。また熱交換器4と吸込パネル2Bとの間には、送風ファン5により吸引される室内の空気の比較的大きな塵を除去するエアフィルタ7とこのエアフィルタ7を通過した空気の比較的細かい塵を除去する空気清浄フィルタ8が設けられている。
【0018】
さて、ケースの下端部には熱交換後の空気調和された空気、すなわち冷風/温風が送風ファン5により加速され室内に吹き出される吹出口9が形成されている。そしてこの吹出口9に、吹き出す空気の方向を設定するための風向変更器10が設けられている。
【0019】
風向変更器10は、吹出口9に取り付けられて吹出口9から吹き出す冷風/温風の上下方向を制御するフラップ部11と、同じく吹出口9に取り付けられ冷風/温風の左右方向を制御するブレード部12とから構成されており、前者のフラップ部11は室内機1が運転停止しているとき、すなわち室内に空気が送風されていないときは吹出口9を閉塞し、運転が開始されると吹出口9を開くようになっている。また同フラップ部11は、その長手方向の両端部に設けた支軸13が吹出口9の長手方向両端部に備わる軸孔(図せず)に嵌合して回転自在に取り付けられており、従って支軸13を軸孔から外せばフラップ部11は、吹出口9から外れるという着脱自在な構造のものとなっている。
【0020】
一方、ブレード部12は、図4および図5に示すように、断面略コ字型のケース状の基部14と、該基部14に縦に間隔を空けて配列されてかつ回動自在に軸支された複数のブレード15と、これらブレード15を連結して各ブレード15を左右方向に回動する連動板(図示せず)とで構成されている。なお、この連動板は、モーター(図示せず)で直接駆動される直動ブレード(図示せず)側の連動部と一端部側が連結される構成となっており、これによりブレード部12はモーター駆動されるようになっている。
【0021】
そしてこのブレード部12は、吹出口9に上下方向に回動操作可能に取り付け支持されている。
【0022】
次にこの取り付け構造を説明すると、図4に示すように、ブレード部12の基部14の吹出口9との取り付け部となる長手方向の取付側縁部14Bに3個の固定用の軸部16が等間隔に突設形成されている。一方、ケース側にはその後ケース部3の下壁部17に前記3個の軸部16と対応させて、該軸部16を受け入れ支持する3個の円弧形状の軸受部18が形成されている。したがって、この軸部16と軸受部18とを、図3に示すように嵌合させることにより、ブレード部12は軸受部18にて回動可能に支持され、吹出口9に上下に回動自在に取り付けられる。この構成により、ブレード部12は下方に回動し吹出口9を開けても、室内機のケース側に残っている構造であるから、ブレード部が室内機から完全に外されてしまうものの場合のように、外したブレード部(羽根)を不注意で損傷させたり、再装着時に苦労したりする等の問題が軽減する。要するにブレード部12は、室内機内部の送風ファン5の清掃の際に吹出口9からの退出が可能で、かつ清掃後の再装着作業を容易に行えるものとなっている。
【0023】
なお、実施例では軸部16がブレード部3側に、軸受部18が吹出口9側に形成されたものとなっているが、これが逆に軸部16が吹出口9側に、軸受部18がブレード部3側に設けるものとしてもよい。さらに軸部16と軸受部18とは実施例では3個としたが、2個あるいは4個以上の軸部16と軸受部18とから構成されるものであってもよい。さらにブレード部3と吹出口9にその中央部を含んで左右に延在させた比較的長い一つの軸部3と軸受部18とが嵌合する軸着構造のものを採用することも可能である。また軸部3と軸受部16とは、スナップ的に嵌合しているので、少し力を入れてブレード部3を取り外すことも可能であり、ブレード部3の清掃を行うこともできる。
【0024】
上記のように吹出口9に軸部16と軸受部18にて回動可能に装着されたブレード部12は、清掃時にユーザーがまず空気調和機の電源を切り、モーターとの連携を解除し、フラップ部11を取り外した後に、ブレード部12を手に持ち下方(図1中の破線矢印)に回動すれば、図2に示すように送風ファン5等の清掃が容易に行えるように吹出口9が大きく開放される。この状態では、ブレード部12は室内機ケース側に残って吹出口9にぶら下がった状態になっている。よって吹出口9から電気掃除機の吸込アタッチメントなどを通風路の奥深く送風ファン5の近くまで差し入れることができるので、送風ファン5および通風路内を清掃することができる。
【0025】
掃除後、ブレード部12を図2の状態から、実線矢印に示すように上方に回動し図1に示す如く吹出口9に戻せば、モーターにて駆動可能な設置状態に装着され、清掃後のブレード部12のセッティングが容易に行えるようになっている。
【0026】
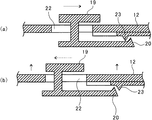
なお、ブレード部12を吹出口9に復帰回動したとき、そのセット状態にブレード部12を保持固定するための固定部材を、後ケース部3側の中央部に有している。固定部材は、図7(a)に示すように、先端に係止爪20を有したスライド操作可能なストッパ19が、ブレード部12側に設けた中央部の窓部22に、図6に示すように上下にスライド操作可能に臨み、かつ上方(実線矢印)にスライドした時に係止爪20が、ブレード部12側の裏側に設けた係止突起23と係合してブレード部12が取り外れないように固定されるものとなっており、一方ブレード部12を外す時は、図7(b)に示すように、ストッパー21を下方(点線矢印)にスライドすると係止突起23とから係合が外れ、ブレード部12を吹出口を開放するように下方へ回動が可能となる。
【0027】
【発明の効果】
以上のように、本発明によれば、吹出す空気の左右方向の向きを変えるブレード部が吹出口に対して上下方向に回動可能に取付保持したものであるから、吹出口から清掃具を挿入し送風ファン等を清掃するときにはブレード部を下方回動することで吹出口は大きく開かれ掃除が容易に行えるとともに、このときブレード部は室内機側に残っていて完全に取り外されてしまうものではないので、清掃後のブレード部の再装着が簡単に行えようになる。また外したブレード部の保管場所を考えたり、外したブレード部を不注意で損傷させてしまうといった問題も軽減する。要するに本発明によるブレード部によって、室内機内部の送風ファンの清掃の際にブレード部が吹出口からの退出が可能で、かつ清掃後の再装着作業を容易に行える空気調和機を提供することができる。
【0028】
またブレード部の吹出口に対する取り付けは、ブレード部側および吹出口側の互いの取付縁部に設けた軸部と軸受部とを嵌合するだけで、回動可能に取り付けられるという簡易な手段で達成できる。
【図面の簡単な説明】
【図1】本発明の実施例を示す空気調和機の略中央断面の説明図。
【図2】本発明の実施例を示す空気調和機の吹出口を開放するようブレード部を回動させた時の略中央断面の説明図。
【図3】本発明の実施例を示す空気調和機の回動可能としたブレード部の軸着部の拡大断面図。
【図4】本発明の実施例を示す空気調和機の前ケース部から分解したブレード部の軸着構造を説明する斜視図。
【図5】本発明の実施例を示す空気調和機の前ケース部にブレード部を回動し軸着させた状態を説明する斜視図。
【図6】本発明の実施例を示す空気調和機の前ケース部にブレード部を回動して装着固定するための固定手段を示す要部拡大斜視図。
【図7】ブレード部を前ケース部に固定させるための固定手段によるブレード部固定状態の時の断面図(a)と、ブレード部を取外し状態の時の断面図(b)。
【符号の説明】
1 室内機
3 後ケース部
4 熱交換器
5 送風ファン
9 吹出口
11 フラップ部
12 ブレード部
15 羽根
16 軸部
18 軸受部
19 固定部材
[0001]
TECHNICAL FIELD OF THE INVENTION
The present invention relates to an air conditioner capable of cleaning the inside of an indoor unit.
[0002]
[Prior art]
2. Description of the Related Art As an air conditioner, a separation type in which an indoor unit and an outdoor unit are separated and both units are connected by a refrigerant pipe is widely used today. The indoor unit is used by being attached to an indoor wall.
[0003]
The indoor unit heats / cools indoor air sucked from a suction port formed over the front or upper surface of the case by a blower disposed inside the case by a heat exchanger arranged so as to surround the blower. Then, warm air / cold air is blown out from an outlet at the lower part of the case and circulated into the room. In addition, the air outlet is generally provided with a wind direction change device that changes the up-down direction and the left-right direction of the hot / cold air to be blown, and the up-down direction wind direction changer is called a flap portion. The wind direction changer that changes the wind direction in the left-right direction is called a blade portion.
[0004]
In such an indoor unit, a dust collecting filter, a deodorizing filter, and the like are provided behind the suction port so that clean air is blown into the room, and the sanitation is maintained. As time passes, dust enters the interior of the indoor unit through a small gap, and the dust adheres to the blower or the like.
[0005]
Therefore, it is necessary to periodically clean the blower. Here, in this cleaning, there is a structural restriction that a heat exchanger is present at the front of the blower and cleaning cannot be performed by inserting a cleaning tool from the suction port on the front side, so the lower part where the wind direction changer is located is provided. Measures have been taken to clean the inside from the outlet.
[0006]
In view of the above, there has been proposed an air outlet in which such a wind direction changer is provided, which is provided with a blade portion detachably at the air outlet and which easily cleans the blower fan by removing the blade portion. (For example, Patent Document 1).
[0007]
[Patent Document]
JP-A-2002-31404
[Problems to be solved by the invention]
However, if the blade is completely removed, it is difficult to attach the blade part to the air outlet in the original state, and when the installation is sloppy or forcibly pushed in However, there is a problem that the blade is damaged. Also, especially when the blade is of a type that changes the wind direction by driving a motor, when connecting the blade to the motor drive side, be careful when re-setting after cleaning. In this case, there is a problem that, if the connection is not performed normally, the wind direction function cannot be normally exhibited or the drive unit may be broken.
[0009]
Cleaning is often performed by housewives who are unfamiliar with the mechanism, and because the indoor unit is located above the wall in a hard-to-reach place, the above-mentioned setting of the blade unit after cleaning and blowing to the drivable state are performed. The work of reattaching to the exit was laborious and difficult.
[0010]
SUMMARY OF THE INVENTION The present invention has been made in view of the above problems, and has a mounting structure in which a blade portion is rotatably mounted and held on an air outlet, and the lower portion of the blade portion opens the air outlet to facilitate cleaning and It is an object of the present invention to provide an air conditioner that can be connected to a drive unit of a blade unit by rotating upward, so that remounting work after cleaning can be easily performed.
[0011]
[Means for Solving the Problems]
The present invention relates to a blower fan that sucks indoor air into a heat exchanger, an outlet that blows cold air / hot air that has been heat-exchanged by the heat exchanger, and a direction of the cool air / hot air that is blown from the outlet. In an air conditioner provided with a blade portion that changes in the left-right direction, the blade portion is attached and held so as to be vertically rotatable with respect to the outlet.
[0012]
A shaft for fitting the blade portion to the outlet on the side where the blade is attached to the outlet, and an edge on the side of the outlet to which the blade is attached for mounting the blade to the outlet; Part and a bearing part are provided.
[0013]
Further, the shaft portion and the bearing portion are provided at one end in a longitudinal direction of a base portion on a blade portion side on which a plurality of blades are rotatably supported at intervals, and at a lower end portion of a case of the air conditioner. It is provided so as to face one opening edge in the longitudinal direction of the formed outlet.
[0014]
BEST MODE FOR CARRYING OUT THE INVENTION
Hereinafter, embodiments of the present invention will be described with reference to the drawings. The separation-type air conditioner includes an outdoor unit installed outdoors and an indoor unit connected to the outdoor unit by a refrigerant pipe and installed indoors. Is circulating.
[0015]
FIG. 1 is a diagram showing a side cross section of a so-called wall-mounted indoor unit 1 installed on an indoor wall among the indoor units according to the present invention. The case of the indoor unit 1 includes a front case portion 2A on the front side, a suction panel 2B provided at a front portion of the front case portion 2A and having a suction port for indoor air, and a rear case portion 3 on the rear side. It is configured. A heat exchanger 4 for heating / cooling indoor air is provided in the case, and functions as a cooler during a cooling / dehumidifying operation by passing a refrigerant through the piping, and a heater during a heating operation. It functions as.
[0016]
A blower fan (cross-slow fan) 5 is provided inside the case, and the air in the room is sucked from the suction panel 2B by the blower fan 5, and is heated / cooled by the heat exchanger 4 to generate cool air / hot air. It is blown out into the room again and circulates. The heat exchanger 4 is formed in a substantially “C” shape so as to surround the blower fan 5, so that the heat exchange rate does not decrease even if the heat exchanger 4 is downsized.
[0017]
At the lower end of the heat exchanger 4, a drain pan 6 for storing and discharging drain water that is condensed and dropped in the heat exchanger 4 is provided. Further, between the heat exchanger 4 and the suction panel 2B, an air filter 7 for removing relatively large dust of the indoor air sucked by the blower fan 5 and a relatively fine dust of the air passing through the air filter 7 are provided. An air purifying filter 8 for removing air is provided.
[0018]
At the lower end of the case, there is formed an outlet 9 from which the air-conditioned air after the heat exchange, that is, cool air / hot air, is accelerated by the blower fan 5 and blown out into the room. The outlet 9 is provided with a wind direction changer 10 for setting the direction of the blown air.
[0019]
The wind direction changer 10 is attached to the outlet 9 and controls the vertical direction of the cool air / hot air blown out from the outlet 9, and is also attached to the outlet 9 to control the horizontal direction of the cool air / hot air. When the indoor unit 1 is stopped, that is, when no air is blown into the room, the flap unit 11 closes the air outlet 9 and the operation is started. And the outlet 9 is opened. In addition, the flap portion 11 is rotatably mounted by supporting shafts 13 provided at both ends in the longitudinal direction thereof with shaft holes (not shown) provided at both ends in the longitudinal direction of the outlet 9. Therefore, when the support shaft 13 is removed from the shaft hole, the flap portion 11 has a detachable structure in which it is removed from the outlet 9.
[0020]
On the other hand, as shown in FIGS. 4 and 5, the blade portion 12 has a case-shaped base 14 having a substantially U-shaped cross section, and is vertically arranged on the base 14 at an interval and is rotatably supported. A plurality of blades 15 are provided, and an interlocking plate (not shown) that connects these blades 15 and rotates each blade 15 in the left-right direction. In addition, this interlocking plate is configured such that an interlocking portion of a direct-acting blade (not shown) directly driven by a motor (not shown) is connected to one end of the interlocking plate. It is designed to be driven.
[0021]
The blade portion 12 is attached to and supported by the air outlet 9 so that the blade portion 12 can be turned vertically.
[0022]
Next, this mounting structure will be described. As shown in FIG. 4, three fixing shaft portions 16 are provided on a mounting side edge portion 14B in the longitudinal direction which is a mounting portion of the base portion 14 of the blade portion 12 with the blowout port 9. Are formed at equal intervals. On the other hand, on the case side, three arc-shaped bearing portions 18 for receiving and supporting the shaft portions 16 are formed on the lower wall portion 17 of the case portion 3 so as to correspond to the three shaft portions 16. . Therefore, the blade portion 12 is rotatably supported by the bearing portion 18 by fitting the shaft portion 16 and the bearing portion 18 as shown in FIG. Attached to. With this configuration, even if the blade portion 12 is rotated downward and opens the outlet 9, the blade portion 12 remains on the case side of the indoor unit, so that the blade portion is completely removed from the indoor unit. Thus, problems such as inadvertent damage to the removed blade portion (blades) and difficulty in reattachment are reduced. In short, the blade section 12 is capable of retreating from the air outlet 9 when cleaning the blower fan 5 inside the indoor unit, and can easily perform remounting work after cleaning.
[0023]
In the embodiment, the shaft portion 16 is formed on the blade portion 3 side, and the bearing portion 18 is formed on the blowout port 9 side. May be provided on the blade portion 3 side. Further, although the number of the shaft portions 16 and the bearing portions 18 is three in the embodiment, the shaft portion 16 and the bearing portions 18 may be two or four or more. Further, it is also possible to adopt a shaft-mounted structure in which one relatively long shaft portion 3 extending to the left and right including the central portion of the blade portion 3 and the air outlet 9 and the bearing portion 18 are fitted. is there. Further, since the shaft portion 3 and the bearing portion 16 are fitted in a snap manner, the blade portion 3 can be removed with a slight force, and the blade portion 3 can be cleaned.
[0024]
As described above, the blade portion 12 rotatably mounted on the outlet 9 with the shaft portion 16 and the bearing portion 18 allows the user to first turn off the air conditioner at the time of cleaning and release the cooperation with the motor, After removing the flap portion 11 and holding the blade portion 12 in a hand and rotating it downward (indicated by a broken line arrow in FIG. 1), the air outlet is provided so that the blower fan 5 and the like can be easily cleaned as shown in FIG. 9 is greatly opened. In this state, the blade portion 12 remains on the indoor unit case side and hangs on the outlet 9. Therefore, since the suction attachment or the like of the electric vacuum cleaner can be inserted deeply into the ventilation path from the air outlet 9 to the vicinity of the ventilation fan 5, the ventilation fan 5 and the inside of the ventilation path can be cleaned.
[0025]
After cleaning, the blade portion 12 is turned upward from the state shown in FIG. 2 as shown by the solid line arrow and returned to the outlet 9 as shown in FIG. The setting of the blade portion 12 can be easily performed.
[0026]
When the blade 12 is returned to the outlet 9 and rotated, a fixing member for holding and fixing the blade 12 in the set state is provided at the center of the rear case 3. As shown in FIG. 7A, the fixing member has a stopper 19 having a locking claw 20 at its tip and a slidable operation, which is provided in a central window portion 22 provided on the blade portion 12 side, as shown in FIG. When sliding upward and downward (solid arrow), the locking claw 20 engages with the locking projection 23 provided on the back side of the blade portion 12 to detach the blade portion 12. When the blade portion 12 is to be removed, the stopper 21 is slid downward (indicated by a dotted arrow) as shown in FIG. Is released, and the blade portion 12 can be rotated downward so as to open the outlet.
[0027]
【The invention's effect】
As described above, according to the present invention, the blade for changing the direction of the blown air in the left-right direction is attached and held rotatably in the vertical direction with respect to the outlet. When inserting and cleaning the blower fan, etc., by rotating the blade part downward, the air outlet is widely opened to facilitate cleaning, and at this time, the blade part remains on the indoor unit side and is completely removed. Therefore, the blade portion can be easily remounted after cleaning. In addition, the problem of considering the storage location of the removed blade portion and inadvertently damaging the removed blade portion can be reduced. In short, the blade unit according to the present invention can provide an air conditioner that allows the blade unit to exit from the air outlet when cleaning the blower fan inside the indoor unit and that can easily perform re-installation work after cleaning. it can.
[0028]
Further, the blade portion is attached to the outlet by a simple means that the blade portion and the outlet portion are rotatably attached only by fitting a shaft portion and a bearing portion provided at the mounting edges of each other. Can be achieved.
[Brief description of the drawings]
FIG. 1 is an explanatory diagram of a substantially central cross section of an air conditioner showing an embodiment of the present invention.
FIG. 2 is an explanatory view of a substantially central section when a blade is rotated so as to open an air outlet of the air conditioner according to the embodiment of the present invention.
FIG. 3 is an enlarged cross-sectional view of a rotatable blade attachment portion of the air conditioner according to the embodiment of the present invention.
FIG. 4 is a perspective view illustrating a shaft mounting structure of a blade part disassembled from a front case part of the air conditioner according to the embodiment of the present invention.
FIG. 5 is a perspective view illustrating a state in which the blade unit is pivotally mounted on the front case of the air conditioner according to the embodiment of the present invention.
FIG. 6 is an enlarged perspective view of a main part showing fixing means for rotatingly attaching and fixing the blade to the front case of the air conditioner according to the embodiment of the present invention.
FIGS. 7A and 7B are a cross-sectional view when a blade is fixed by a fixing unit for fixing the blade to the front case, and a cross-sectional view when the blade is removed; FIG.
[Explanation of symbols]
REFERENCE SIGNS LIST 1 indoor unit 3 rear case section 4 heat exchanger 5 blower fan 9 blowout port 11 flap section 12 blade section 15 blade 16 shaft section 18 bearing section 19 fixing member

Claims (3)

室内の空気を熱交換器に吸い込む送風ファンと、前記熱交換器で熱交換された冷風/温風を吹き出す吹出口と、この吹出口から吹き出される冷風/温風の風向きを左右方向へ変えるブレード部を備えた空気調和器において、前記ブレード部が前記吹出口に対して上下方向に回動操作可能に取付保持されていることを特徴とする空気調和機。A blower fan that sucks indoor air into a heat exchanger, an outlet that blows out cold air / hot air that has been heat-exchanged by the heat exchanger, and changes the direction of cold air / hot air that is blown out from the air outlet to the left and right. An air conditioner provided with a blade portion, wherein the blade portion is attached and held so as to be vertically rotatable with respect to the air outlet. 前記ブレード部の前記吹出口との取付側縁部と、前記ブレード部が取り付けられる吹出口の被取付側縁部に、互いに嵌合し前記ブレード部を前記吹出口に軸着するための軸部と軸受け部とが設けられていることを特徴とする請求項1に記載の空気調和機。A shaft portion for fitting the blade portion to the mounting side edge of the air outlet and the mounting side edge of the air outlet to which the blade portion is mounted, and for fitting the blade portion to the air outlet. The air conditioner according to claim 1, further comprising a bearing and a bearing. 前記軸部と軸承部とは、複数のブレードを間隔を空けて回動自在に軸支させたブレード部の基部の長手方向の一方の縁部と、空気調和機のケースの下端部に形成した吹出口の長手方向の一方の開口縁部に対向して設けられていることを特徴とする請求項2に記載の空気調和機。The shaft portion and the bearing portion are formed at one edge in the longitudinal direction of a base portion of a blade portion that rotatably supports a plurality of blades at intervals and at a lower end portion of a case of an air conditioner. The air conditioner according to claim 2, wherein the air outlet is provided so as to face one of the opening edges in the longitudinal direction of the outlet.
JP2003125300A 2003-04-30 2003-04-30 Air conditioner Pending JP2004332953A (en)

Priority Applications (2)

Application Number Priority Date Filing Date Title
JP2003125300A JP2004332953A (en) 2003-04-30 2003-04-30 Air conditioner
CNB2004100420841A CN1240972C (en) 2003-04-30 2004-04-30 Air conditioner

Applications Claiming Priority (1)

Application Number Priority Date Filing Date Title
JP2003125300A JP2004332953A (en) 2003-04-30 2003-04-30 Air conditioner

Publications (1)

Publication Number Publication Date
JP2004332953A true JP2004332953A (en) 2004-11-25

Family

ID=33502609

Family Applications (1)

Application Number Title Priority Date Filing Date
JP2003125300A Pending JP2004332953A (en) 2003-04-30 2003-04-30 Air conditioner

Country Status (2)

Country Link
JP (1) JP2004332953A (en)
CN (1) CN1240972C (en)

Cited By (2)

* Cited by examiner, † Cited by third party
Publication number Priority date Publication date Assignee Title
JP2016215978A (en) * 2015-05-26 2016-12-22 スズキ株式会社 Louver device
CN110785611A (en) * 2018-05-14 2020-02-11 日立江森自控空调有限公司 Air conditioner

Families Citing this family (6)

* Cited by examiner, † Cited by third party
Publication number Priority date Publication date Assignee Title
KR101315604B1 (en) * 2006-01-16 2013-10-08 엘지전자 주식회사 Indoor unit for air conditioner
KR20080045562A (en) * 2006-11-20 2008-05-23 삼성전자주식회사 Airflow guide device and air conditioner having same
CN201680560U (en) * 2010-04-09 2010-12-22 珠海格力电器股份有限公司 Wall-mounted air conditioner
CN103673086B (en) * 2012-09-24 2016-04-06 珠海格力电器股份有限公司 Air conditioner indoor unit and air conditioner with same
CN103673084B (en) * 2012-09-24 2016-05-04 珠海格力电器股份有限公司 Air conditioner indoor unit, air conditioner with air conditioner indoor unit and control method of indoor unit
CN103673087B (en) * 2012-09-24 2016-03-23 珠海格力电器股份有限公司 Air conditioner indoor unit and air conditioner with same

Cited By (2)

* Cited by examiner, † Cited by third party
Publication number Priority date Publication date Assignee Title
JP2016215978A (en) * 2015-05-26 2016-12-22 スズキ株式会社 Louver device
CN110785611A (en) * 2018-05-14 2020-02-11 日立江森自控空调有限公司 Air conditioner

Also Published As

Publication number Publication date
CN1542368A (en) 2004-11-03
CN1240972C (en) 2006-02-08

Similar Documents

Publication Publication Date Title
JP4698747B2 (en) Wall-mounted air conditioner
JP2008175458A (en) Floor-mounted air conditioner
CN101225981B (en) Floor type air conditioner
JP2004332953A (en) Air conditioner
JP2005083612A (en) Air conditioner
JP3306250B2 (en) Indoor unit of air conditioner
KR102094306B1 (en) A Ceiling Type Airconditioner
JP3749155B2 (en) Wall-mounted air conditioner
JP3066272B2 (en) Air conditioner
KR20150103581A (en) Indoor unit of ceiling type air-conditioner
JP4381048B2 (en) Air conditioner
JP2002031404A (en) Air conditioner
KR100399855B1 (en) Air conditioner
JP2006010177A (en) Blower and air conditioner equipped with the same
JP2004219049A (en) Air conditioner
JP3145553B2 (en) Air conditioner
TW561235B (en) Air conditioner
JP3269280B2 (en) Ceiling-mounted air conditioner
JP4739512B2 (en) Air conditioner
KR100964365B1 (en) Air conditioner
JP7356602B2 (en) Air conditioner indoor unit
JP3575410B2 (en) Vane detachment mechanism for air conditioner
JP2001201090A (en) Air conditioner
JP2003074902A (en) Air conditioner
KR200146106Y1 (en) Bearing fixing apparatus of indoor machine in airconditioner