JP2004313245A - Excrement treating system and apparatus - Google Patents

Excrement treating system and apparatus Download PDF

Info

Publication number
JP2004313245A
JP2004313245A JP2003107726A JP2003107726A JP2004313245A JP 2004313245 A JP2004313245 A JP 2004313245A JP 2003107726 A JP2003107726 A JP 2003107726A JP 2003107726 A JP2003107726 A JP 2003107726A JP 2004313245 A JP2004313245 A JP 2004313245A
Authority
JP
Japan
Prior art keywords
air
tank
excrement
way valve
pipe
Prior art date
Legal status (The legal status is an assumption and is not a legal conclusion. Google has not performed a legal analysis and makes no representation as to the accuracy of the status listed.)
Pending
Application number
JP2003107726A
Other languages
Japanese (ja)
Inventor
Toshio Nakayama
敏男 中山
Tatsuo Namatame
達夫 生田目
Toshio Kubo
敏男 久保
Current Assignee (The listed assignees may be inaccurate. Google has not performed a legal analysis and makes no representation or warranty as to the accuracy of the list.)
Sanyo Electric Co Ltd
Sanyo Electric Air Conditioning Co Ltd
Original Assignee
Sanyo Electric Co Ltd
Sanyo Electric Air Conditioning Co Ltd
Priority date (The priority date is an assumption and is not a legal conclusion. Google has not performed a legal analysis and makes no representation as to the accuracy of the date listed.)
Filing date
Publication date
Application filed by Sanyo Electric Co Ltd, Sanyo Electric Air Conditioning Co Ltd filed Critical Sanyo Electric Co Ltd
Priority to JP2003107726A priority Critical patent/JP2004313245A/en
Publication of JP2004313245A publication Critical patent/JP2004313245A/en
Pending legal-status Critical Current

Links

Images

Landscapes

  • Absorbent Articles And Supports Therefor (AREA)
  • Orthopedics, Nursing, And Contraception (AREA)
  • Accommodation For Nursing Or Treatment Tables (AREA)

Abstract

<P>PROBLEM TO BE SOLVED: To achieve a higher suction capacity of the excrements in an excrement treating apparatus. <P>SOLUTION: A vacuum tank 230 is provided between a suction port Aa of an air compressor 205 which sucks the air in a discharge tank 200 to get the inside thereof 200 evacuated to a negative pressure and the discharge tank 200 and an air tank 229 is provided on the side of a delivery port Ab of the air compressor 205. When sucking the excrements discharged into a diaper 12, two-way valves 204 and 208 are closed and the air compressor 205 is operated to render the vacuum tank 230 vacuum so that the compressed air is stored into the air tank 229 while the two-way valves 204 and 208 are opened simultaneously. This shifts the pressure inside the diaper 12 to a weak negative pressure to improve the suction capacity of the excrements while enabling the miniaturization of the excrement treating apparatus. <P>COPYRIGHT: (C)2005,JPO&NCIPI

Description

【0001】
【発明の属する技術分野】
この発明は、病院等における歩行不能な病人または寝たきりの老人に好適な排泄物処理に関する。
【0002】
【従来の技術】
従来、通常の体位では排泄をすることができない病人や寝たきりの老人等、自分で自分の排泄物を処理することができない人には、オシメを使用して排泄物を処理していた。しかしながら、オシメを用いる場合には、付添い人などの人的労力を必要とし、その上、オシメの交換時などに臭いを発して周囲に迷惑をかけたり、また、使用者が羞恥心を覚えたりするものである。そこで最近では、浅い器状の特殊な排泄物受具(以下、「アタッチメント」と称する)を股間に装着し、排泄後に陰部等を洗浄処理すると共に、排泄された便や汚水等を吸引処理する各種の排泄物処理装置が提案されている(例えば、特許文献1参照)。
【0003】
【特許文献1】
特開2002−153498号公報(第1図)
【0004】
【発明が解決しようとする課題】
しかしながら、上記従来技術にあっては、排泄物の吸引処理を行う場合、前記排泄を貯留する排泄タンクを設け、この排泄タンク内の空気をエアコンプレッサで吸引し、前記排泄タンク内を負圧にして前記排泄物の吸引を行わせていた。このため、前記エアコンプレッサは、相応した吸引量のものを備える必要があり、排泄物処理装置の小型化を行うことができなかった。また、エアコンプレッサを小型して、排泄物処理装置を小型化した場合、前記排泄物を十分に排泄タンク内へ吸引することができないという問題もあった。
【0005】
本発明は、上記事情に鑑みてなされたものであり、排泄物の吸引能力を向上させた排泄物処理装置および排泄物処理システムを提供することを目的とする。
【0006】
【課題を解決するための手段】
上記目標を達成するために、請求項1に記載の発明は、使用者の股間にあてがわれる汚物収集カップを備えたオムツと、前記エアコンプレッサから吹出された空気を除臭殺菌して前記汚物収集カップ内へと吹き込み、排泄タンク内の空気をエアコンプレッサで吸引して負圧にし、使用者の腰臀部を包囲するオムツ内に排泄された排泄物を排泄タンク内へ吸引する排泄物処理装置とを備える排泄物処理システムにおいて、前記エアコンプレッサの吸込口側へ真空タンクを設け、前記エアコンプレッサの吹出口側へ空気タンクを設け、前記真空タンクの前記排泄タンク側へ第1二方弁を設け、前記空気タンクのオムツ側へ第2二方弁を備えたことを特徴とするものである。
【0007】
請求項2に記載の発明は、請求項1に記載のものにおいて、前記空気タンクは、前記真空タンクよりも容積の小さいタンクとしたことを特徴とするものである。
【0008】
請求項3に記載の発明は、請求項1または2に記載のものにおいて、前記第1二方弁および前記第2二方弁は、同時に開動作させるものとしたことを特徴とするものである。
【0009】
請求項4に記載の発明は、使用者の股間にあてがわれる汚物収集カップを備えたオムツに接続され、前記エアコンプレッサから吹出された空気を除臭殺菌して前記オムツカップ内へと吹き込み、排泄タンク内の空気をエアコンプレッサで吸引して負圧にし、使用者の腰臀部を包囲するオムツ内に排泄された排泄物を排泄タンク内へ吸引する排泄物処理装置において、前記エアコンプレッサの吸込口側へ真空タンクを設け、前記エアコンプレッサの吹出口側へ空気タンクを設け、前記真空タンクの前記排泄タンク側へ第1二方弁を設け、前記空気タンクのオムツ側へ第2二方弁を備えたことを特徴とするものである。
【0010】
請求項5に記載の発明は、請求項4に記載のものにおいて、前記空気タンクは、前記真空タンクよりも容積の小さいタンクとしたことを特徴とするものである。
【0011】
請求項6に記載の発明は、請求項4または5に記載のものにおいて、前記第1二方弁および前記第2二方弁は、同時に開動作させるものとしたことを特徴とするものである。
【0012】
【発明の実施の形態】
以下、図面を参照して本発明の実施の形態について説明する。図1は、本発明の実施形態にかかる排泄物処理システム1の構成を示す図である。この図に示す様に、排泄物処理システム1は、使用者3によって装着されるオムツ12と、オムツ12内部の排泄物または汚水を吸引し蓄積する排泄物処理装置14と、使用者3が横たわるマット10とを備えている。
【0013】
図2に示す様に、オムツ12は、使用者3に装着された状態では、股下が短く膝上丈の、いわゆるショーツ(ショートパンツ)を模した外観をなしており、その股間に位置する箇所には、汚物収集カップ120および汚物収集パイプ122が設けられている。この汚物収集パイプ122には、図1に示す如く、排泄物処理装置14とオムツ12とを接続する汚物吸引ホース16が取り付けられる。すなわち、オムツ12内の排泄物および汚水は、排泄物処理装置14の吸引機構(後述)により、汚物収集パイプ122から汚物吸引ホース16を通して排泄物処理装置14に吸引され、この排泄物処理装置14に蓄積される。なお、排泄物処理装置14の詳細については、後に詳述することにし、先ず、オムツ12とマット10について説明する。
【0014】
図3は、オムツ12の展開図である。この図に示す様に、オムツ12は、汚物収集カップ120から前方に延在し使用者3の臍下付近を覆う腹当て部12aと、汚物収集カップ120から後方に延在し、使用者3の臀部を覆う背当て部12bを有している。すなわち、オムツ12は、一般的なショーツの両腰脇付近を大腿部方向に裂くと共に、汚物収集カップ120の取付用に股間周辺がくり抜かれ、このくり抜かれた箇所に汚物収集カップ120が取付けられた形状と略等しい形状を有している。このオムツ12の腹当て部12aおよび背当て部12bは、通気性が良く、なおかつ、水分を通さない素材(例えばPTFE:ポリテトラフロロエチレン)から形成されており、使用者3が長時間装着し続けても、発汗によるムレが防止される様になっている。なお、オムツ12の素材として、ウェットスーツなどに用いられる伸縮性のある発泡合成樹脂(例えば、発泡ネオプレーン系)からなる素材を用い、フィット性を高める様にしても良い。
【0015】
また、背当て部12bの左側部12bLと右側部12bRには、合計4つの止着部126が夫々取り付けられている。止着部126の上面(図面上面)には、夫々ベルクロワファスナー(いわゆる、マジックテープ(登録商標))が貼着されており、止着部126が腹当て部12aの表面に係止する構成となっている。
【0016】
使用者3にオムツ12を装着する場合には、汚物収集カップ120を股間にあてがう一方、従来のオシメをはかす様に、背当て部12bを臀部に、腹当て部12aを臍下付近にあてがい、腰および大腿部に巻き付けるべく背当て部12bの両側部12bL、12bRに設けられた止着部126を腹当て部12aの上面まで運んで貼付固定する。
【0017】
また、このオムツ12にあっては、腹当て部12aおよび背当て部12bのうち、使用者3の腹に巻き付く箇所の縁部128a、128b、および、使用者3の大腿部に巻き付く箇所の縁部128c、128dには、ゴムバンドが設けられており、使用者3が装着した際の気密性が高まる様になっている。
【0018】
次いで、汚物収集カップ120の構成について詳述する。図4は汚物収集カップ120の側面図であり、また、図5はその断面図である。これらの図に示す様に、汚物収集カップ120は、曲線見を帯びた略コの字状に一体的に形成されており、その図面下方には、汚物収集パイプ122が一体成形されている。この汚物収集カップ120は、ある程度の弾性を有したプラスチックなどから形成されており、多少の押圧力が加わったとしても、その押圧力を吸収可能となっている。
【0019】
また、図5に示す様に、この汚物収集カップ120の側壁には、洗浄水を噴射するための洗浄ノズル130a、130bおよび134aが設けられており、各洗浄ノズル130a、130bには、洗浄水チューブ132を介して排泄物処理装置14から洗浄水が供給され、洗浄ノズル134aには、空気管134を介して排泄物処理装置14から後述する脱臭・殺菌器207を流通して殺菌された空気と前記洗浄水とが混合されて供給される構成となっている。洗浄ノズル134aは、汚物を汚物収集パイプ122が設けられている方へ押し流すためのものであり、汚物収集カップ120の背面(使用者3の臀部に対向する面)に設けられ、その噴射口の方向が汚物収集パイプ122を向く様に設定されている。洗浄ノズル130aは、使用者3の肛門を洗浄するためのものであり、汚物収集パイプ122付近に設けられ、その噴射口の方向は、洗浄水が使用者3の肛門に向けて噴射される様に設定されている。また、洗浄ノズル130bは、女性使用者3の陰部を洗浄するためのものであり、使用者3の下腹部に相当する位置付近に設けられ、その噴射口の方向は、洗浄水が女性使用者3の陰部に向けて噴射される様に設定されている。なお、洗浄水は、使用者3の不快感を招かぬよう適度な温度の温水であることが望ましい。この様に、汚物収集カップ120には、女性の陰部(特に、尿内、ちつ等)を洗浄するための洗浄ノズル130bが設けられているため、排尿後も陰部を清潔に保ち、不快感を覚えることのない様になっている。なお、使用者3が男性である場合を考慮して、洗浄水チューブ132と洗浄ノズル130bとの間に開閉弁などを設け、洗浄ノズル130bからの洗浄水噴射を選択的に行う構成としても良い。
【0020】
また、上述の洗浄水チューブ132には、洗浄水のみならず空気が供給される構成となっている。すなわち、洗浄水により使用者3の各部位を洗浄した後、後述する温風ヒータ219により加熱された空気(外気)を吹き付けることにより、乾燥させる様になっている。また、洗浄水チューブ132から汚物収集カップ120内に供給された空気は、空気管134の先端のノズル134aから外気へ逃がす構造になっている(この構造は排泄物処理装置14の説明時に説明する)。
【0021】
このような構成の下、使用者3が排泄した後、排泄物処理装置14から空気管134に洗浄水と空気とが混合されて供給され、洗浄ノズル134aから吐出される。これにより、排泄物が汚物収集パイプ122の方へ流され吸引される。その後、洗浄水チューブ132に洗浄水が供給され、洗浄ノズル130a、130bの夫々から洗浄水が噴射される。
【0022】
これにより、使用者の肛門及び陰部が洗浄される。次いで、この洗浄水チューブ132内に残留する洗浄水を吸引して水抜した後に、洗浄水チューブ132に空気を供給する。
【0023】
これにより、使用者の肛門及び陰部の乾燥が行われる。なお、使用者が男性である場合など、陰部に乾燥が必要でない場合には、洗浄ノズル130bからの空気噴射、すなわち、肛門の乾燥のみを行う構成としても良い。
【0024】
また、汚物収集パイプ122は、図5に示す様に、汚物収集カップ120の底部から一端落ち込む、いわゆるU字状形成を成している。この構成において、排泄物は、洗浄ノズル134aからの洗浄水により、汚物収集パイプ122の底部122aに向かって洗浄水や尿などと共に集められた後、排泄物処理装置14により汚物吸引ホース16を経由して吸引排出される。
【0025】
ここで、排泄物処理装置14が吸引を開始すると、汚物収集パイプ122がU字形状をなしているため、サイフォンの原理により、汚水や洗浄水などは、吸引が停止したとしても、汚物収集カップ120より低い箇所に置かれた排泄物処理装置14のタンクなどに溜められることとなる。これにより、汚物の吸引が不十分であったとしても、汚物収集カップ120内に汚水などが残るのが防止される。この汚物収集パイプ122は、排泄物などの液状物ばかりでなく、空気も流通できるような構造を有し、排泄物処理装置14が汚物を空気の圧力差で吸引しても管径が小さくならないような剛性をもった屈曲管で形成されている。
【0026】
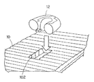
ところで、上述の様に、汚物収集パイプ122は、U字形状をなしているため、図6に示す様に、使用者3の股間から図面下方に突出することとなる。従って、使用者3がオムツ12を装着してベッドなどに仰向けで横たわると、この汚物収集パイプ122や汚物収集カップ120の背面部(使用者3の臀部に位置する部分)により、使用者3の臀部が浮き上がってしまい、使用者3の寝心地が悪くなる。
【0027】
そこで、本実施形態では、図7に示す様に、使用者3が横たわるマット10には、汚物収集パイプ122および汚物収集カップ120の背面部を収容するための収容貫通穴102が形成されている。このマット10は、図8に示す様に、略円柱形に膨張する様に構成されたエアーセル100がマット10の長さ方向に適宜数(図示例では26本)並設されて構成されている。より具体的には、マット10の長尺方向の両端には、他とは寸法の違うエアーセル100a、100b(例えば、48mm×825mm)が配置され、これらのエアーセル100a、100bとの間に、エアーセル100d、100e(76mm×825mm)が交互に並設されて、寸法が1920mm×825mmのマット10が構成される。
【0028】
また、マット10の図面左右両側の各々には、このマット10の長尺方向に伸びる空気導入帯108a、108bが設けられている。空気導入帯108a、108bの各々の一端(図示例では、図面下端)には、排泄物処理装置14に内蔵された後述するエアコンプレッサ205からの空気が注がれる空気注入口112が設けられており、この空気注入口112から注入された空気がエアーセル100b、100d、100eの各々に導かれるよう構成されている。
【0029】
さらに詳述すると、マット10にあっては、図面上方(使用者3の頭部方向)に位置する4本のエアーセル100a、100cを除き、100dには、空気導入帯108aから空気が導入され、エアーセル100eおよび100bには、空気導入帯108bから空気が導入される。また、使用者3の頭部に相当する箇所のエアーセル100、すなわち、エアーセル100a、100cの空気圧は、常に略一定圧に維持されており、これにより、枕が載置されたときのグラツキを抑え、使用者3が不快感を覚えることのない様になっている。
【0030】
また、このマット10にあっては、図面左側に配置された空気導入帯108aと連通するエアーセル100dと、図面右側に配置された空気導入帯108bと連通するエアーセル100eとが交互に並設されると共に、図面下端にエアーセル100bが並設されている。すなわち、マット10にあっては、空気の導入経路の異なるエアーセル100d、100eが交互に配置される構成となっているため、空気導入帯108a、108bに注入される空気圧の各々を適宜変更することにより、空気圧の互いに異なるエアーセルが交互に配置することになる。例えば、空気導入帯108a、108bの各々に注入される空気圧を交互に間欠的に増減させ、エアーセル100d、100eを膨張、収縮させれば、使用者3とマット10とが当接する場所を変えることができ、床ずれを防止することができる。
【0031】
また、このマット10の図面上下端には、固定穴110aが穿たれた縁110が設けられており、この固定穴110aに紐などを通し、ベッドの枠などに結び付けることにより、ベッド上にマット10を固定する様になっている。
【0032】
さらに、上述の様に、マット10のうち、使用者3の臀部から股間に相当する箇所には、汚物収集カップ120の汚物収集パイプ122および汚物収集カップ120の背面部を収容するための収容貫通穴102が形成されている。この収容貫通穴102は、マット10をくり抜いて成るものであるため、収容貫通穴102が形成されている箇所のエアーセル100d、100eの各々は、収容貫通穴102により左右に分断されても、収容貫通穴102の両側で空気の導通が図れる構成となっている。具体的には、図9に示す様に、収容貫通穴102によって分断された各エアーセル100d、100eには、収容貫通穴102を挟んだ両側での空気の導通を図るためのバイパスチューブ104が設けられている。
【0033】
次いで、排泄物処理装置14について説明する。図10は、排泄物処理装置14の構成を示す模式図である。この図において、排泄タンク200は、排泄物および汚物(洗浄水など)を貯留するものであり、上述の様に、汚物吸引ホース16を介して汚物収集カップ120の汚物収集パイプ122に接続されている。排泄タンク200の底部付近には、このタンク内に貯留された汚物および排泄物の量を検出する重量センサ201が設けられており、排泄タンク200に貯留されている排泄物および汚物の量が検出される。205は2つの圧縮部A、Bを備えた2段圧縮式のエアコンプレッサである。このエアコンプレッサ205の圧縮部A、Bには吸込口Aa、吸込口Baおよび吐出口Ab、吐出口Bbとが夫々設けられている。また、圧縮部Aと圧縮部Bとは夫々を接続する接続配管Cと接続配管Dとを備えており、それらの接続配管は夫々二方弁Eと二方弁Fにより開閉されるものである。即ち、二方弁Eと二方弁Fとを同時に開閉することにより、高流量のエアコンプレッサ1台分の機能(ただし、この場合は一方の圧縮部の吸込口および吐出口とを閉鎖する閉鎖手段が必要であるが、これは後述する)を持つエアコンプレッサと、低流量のエアコンプレッサ2台分の機能を持つエアコンプレッサとを切り替えて用いることができる構造である。また、前記排泄タンク200の上部の出口には、液体を除去し気体のみを通過させるセパレータ202が設けられ、このセパレータ202(すなわち、排泄タンク200の出口)は、空気管140、ミストフィルタ203、空気管141、二方弁204(第1二方弁)、真空タンク230、分岐管172、空気管142を経て前記エアコンプレッサ205の吸込口Aaに接続されている。この空気管140から空気管142までは、後述する吸引工程時、負圧となるため負圧回路とされている。一方、エアコンプレッサ205の吐出口Abは、空気管143、分岐管174、空気管144、脱臭・殺菌器207、空気管145、空気タンク229、空気管166、二方弁208(第2二方弁)、空気管146、分岐管173、空気管163、分岐管175を経て汚物収集カップ120に連通する空気管134(図5参照)に接続され、洗浄ノズル134aを通って汚物収集カップ120内に空気が供給される。なお、空気管143には分岐管174が介挿されている。この分岐管174の分岐先は空気管150、分岐管170、空気管151、二方弁218、温風ヒータ219、逆止弁217が接続されている。一方、空気管142には分岐管172が介挿され、この分岐管172の分岐先は、空気管155、二方弁220、空気管162、ストレーナ225が接続される。また、空気管146には分岐管173が介挿され、この分岐管173の分岐先は、空気管157、二方弁221、空気管156を介して、前記エアコンプレッサ205の吸込口Baが接続されている。吐出口Bbには二方弁226、空気管164を介してサイレンサ227が接続されている。また、空気タンク229は、真空タンク230よりも容積の小さいタンクとなっている。それは、前記真空タンク230内の空気を吸引しても真空状態まで、つまり、外気の気圧に対して1気圧程度までしか負圧に出来ないのに対し、前記空気タンク229内に空気を貯留させる場合には、この空気タンク229の耐圧性を数気圧程度のものとすれば、この数気圧程度までの空気を前記空気タンク229内へと貯留することができ、この空気タンク229の容積を小さくすることができるからである。
【0034】
210は、洗浄水を貯留する洗浄水タンクである。この、洗浄水タンク210の底部には、貯留されている洗浄水を暖める温水ヒータ211が設けられ、また、洗浄水タンク210の内部には、貯留洗浄水の水温を検出するサーミスタ212と、貯留洗浄水の量を検出するフロートセンサ(水位計)213とが設けられており、貯留洗浄水の量と、その水温とを監視可能になっている。洗浄水タンク210の上部には、図示せぬ注入口が設けられており、この洗浄水タンク210に洗浄水を給水する場合には、その注入口から注入する。また、洗浄水タンク210の下部には、水抜コック(活栓)214を備える水管147が接続されており、洗浄水タンク210から洗浄水を抜く場合には、水抜コック214を開き、水管147から洗浄水を外部に流出させる。さらに、洗浄水タンク210に設けられた水出口は、水管148、ウォータポンプ215、水管149、三方弁228、前記洗浄水チューブ132を経て汚物収集カップ120の洗浄ノズル130a、130bに接続されている(三方弁228のCOMポート側が水管149、NOポート側が洗浄水チューブ132)。三方弁228のNCポートには、水管165を介して前記分岐管175が接続される。水管149には分岐管171が介挿され、この分岐管171の分岐先は、前記逆止弁217に接続されている。
【0035】
排泄物処理装置14の動作について説明する。尚、すべての二方弁は初期状態において閉鎖されている。
この動作は吸引工程、洗浄工程、乾燥工程の3工程に大別される。
【0036】
まず、吸引工程は、オムツ12の汚物収集カップ120から排泄物などを吸引する動作であり、先ず、エアコンプレッサ205の二方弁Eおよび二方弁Fが開くことによりエアコンプレッサ205は高流量のエアコンプレッサ1台分の機能する。そして、二方弁204および二方弁208が開くことで排泄タンク200内は、エアコンプレッサ205および真空タンク230によって空気が吸引されて負圧に保たれ、汚物収集カップ120から汚物吸引ホース16、排泄タンク200、真空タンク230、エアコンプレッサ205に向かって空気が流れる一方、エアコンプレッサ205の吐出口Abから空気管143〜145、空気タンク229、空気管166、空気管134、洗浄ノズル134aを通って、オムツ12に空気が循環する。
【0037】
このとき、三方弁228は水管149と水管165とを導通する方向に開くと共に、ウォータポンプ215が運転され洗浄水タンク210から洗浄水が水管148、水管149、水管165を経て空気管134内で気液が混合された状態で汚物収集カップ120に送水され、洗浄ノズル134aから噴射されることで汚物の流動性を高めることにより汚物の吸引を行うものである。
【0038】
さらに詳述すると、排泄タンク200が負圧に保たれると、セパレータ202により、排泄タンク200内の空気だけが空気管140に導かれ、ミストフィルタ203によって空気中の水分が除去されて、湿度の低い空気がエアコンプレッサ205の吸込口Aaに流入する。また、エアコンプレッサ205の吐出口Abから吐出された空気は、脱臭・殺菌器207により、空気に含まれる臭気の除去と除菌とが行われ、汚物収集カップ120内に導かれ、汚物収集カップ120内が衛生に保たれる。
【0039】
また、二方弁204を閉じた状態で、エアコンプレッサ205の運転を開始すると、真空タンク230が真空状態となり、この状態で、前記二方弁204を開とすることにより、排泄タンク200内の負圧が一時的に高まるため、汚物収集カップ120内の排泄物を勢い良く吸引することができる。
【0040】
これと同時に、二方弁208を閉じた状態で、エアコンプレッサ205の運転を開始すると、空気タンク229内には、圧縮空気が貯留され、この状態で二方弁208を開とすることにより、空気タンク229内に貯留された空気は、空気管146、134を流通して洗浄ノズル134aから汚物収集カップ120内へ噴出されるため、汚物収集カップ120内に排泄された排泄物を汚物収集パイプ122の方へと押し流し、前記排泄物の吸引を補助することができる。
【0041】
さらに、洗浄ノズル134aの噴出口の直径は、汚物収集パイプ122の吸引口の直径よりも小さいものとなっており、前記空気タンク229内に貯留された圧縮空気は、洗浄ノズル134aで減圧されて吹出されるため、汚物収集カップ120内は、弱負圧に保たれることとなる。このため、ショーツの隙間からの空気漏れ等が低減できる。
【0042】
また、排泄物処理装置14は、エアコンプレッサ205に近接して配置される冷却ファン216を備え、この冷却ファン216により、エアコンプレッサ205が空冷される。
【0043】
次に、洗浄工程は、使用者3の各部位を洗浄する動作であり、先ず、二方弁Eおよび二方弁Fが開くことによりエアコンプレッサ205は、高流量のエアコンプレッサ1台分の機能となる。そして、三方弁228は、水管149と132とを導通する方向に開くことで、ウォータポンプ215により洗浄水タンク210から洗浄水が水管148、149、132を経て汚物収集カップ120に送水され、各洗浄ノズル130a、130bから噴射される。また、この洗浄工程にあっては、汚物収集カップ120内から洗浄水を吸引するために、上述した吸引工程における空気の循環も合わせて行われる。
【0044】
ウォータポンプ215の停止後、コンプレッサ205運転の状態で、二方弁208を閉じ、且つ、二方弁218を開放することで水管149内に吐出口Abからの空気を導通でき、水管149、三方弁228および洗浄水チューブ132内に溜まった洗浄水が排水できる。これにより、次回洗浄開始時に水管内に溜まる水を少なくでき、使用者3へ噴出する低温の洗浄水を少なくできる。
【0045】
乾燥工程は、使用者3の各部位の洗浄後に、洗浄ノズル130a、130bの各々から乾燥空気を噴射し、乾燥する構成となっている。
具体的には、三方弁228が水管149、132を導通する方向であり、エアコンプレッサ205の二方弁Eおよび二方弁Fを閉じることにより低流量のエアコンプレッサ2台分の機能を持つエアコンプレッサとして機能させる。
その後、二方弁220、218が開くことで、外気はストレーナ225により異物を除去された後、空気管162、155、分岐管172、空気管142を経て、エアコンプレッサ205の圧縮部Aの吸込口Aaに流入し、エアコンプレッサ205の圧縮部Aの吐出口Abより吐出され、空気管143、分岐管174、空気管150、分岐管170、空気管151、二方弁218、空気管152、温風ヒータ219、空気管153、逆止弁217、空気管154、分岐管171を経て、水管149、三方弁228、洗浄水チューブ132を通って洗浄ノズル130a、130bの各々に導かれ、汚物収集カップ120内へ噴出される。ここで、温風ヒータ219は、空気を加熱乾燥させるものである。この温風ヒータ219により、外気は所定温度(例えば60℃)に加温されると共に、冷えた空気の流入により温度が下がるのが防止されている。ここで、温風ヒータ219には、サーミスタと温度ヒューズ(共に不図示)とが設けられており、ヒータが所定温度まで温められると、温風ヒータ219がオフになる様に構成されている。
【0046】
汚物収集カップ120内へ噴出された空気(外気)は、エアコンプレッサ205の圧縮部Bにより、洗浄ノズル134aより空気管134、分岐管175、空気管163、分岐管173、空気管157、二方弁221、空気管156を経て、吸込口Baから圧縮部Bへと吸引され、吹出口Bbから二方弁226、空気管164を経てサイレンサ227から外気へ放出されることとなる。なお、この空気(外気)は、既に洗浄後であるから、悪臭の心配は殆ど無い。
【0047】
また、排泄物処理装置14には、上述のマット10(図8参照)に空気を注入するための機構が設けられている。具体的には、前述の空気管150は分岐管170によって、前述の空気管151と空気管158とに分岐され、この空気管158側に二方弁222、空気管159、バッファタンク223、空気管160、レギュレータ224、空気管161が順に接続され、さらに、空気管161の出口側がマット10の空気注入口112(図8参照)に接続される構成となっている。
【0048】
この構成において、マット10に空気を注入する場合には、二方弁220および二方弁222が開いた状態である共に、エアコンプレッサ205を動作させて、ストレーナ225から異物を除去された空気を取り込み、この空気をマット10に注入する。この様に、本実施形態にかかる排泄物処理装置14にあっては、マット10に空気を注入するためのエアコンプレッサを、汚物および排泄物を処理するためのエアコンプレッサと共用する構成となっているため、本体サイズをコンパクトにすることができると共に、マット10への空気注入のための装置を別途用意する必要がない。
【0049】
また、排泄物処理装置14本体には、操作者が操作するための操作パネル300が設けられている。図11は、操作パネル300の一例を示す図である。この図において、電源スイッチ300aは、排泄物処理装置14の電源投入/切断を指示するための押下式スイッチであり、タイマー運転スイッチ300bは、操作者の操作に関係なく、所定時間毎に、吸引工程、洗浄工程および乾燥工程の一連の工程を自動で行わせることを指示するための押下式スイッチである。動作モードランプ300eは、排泄物処理装置14の動作モードが、操作者の操作に応じて動作する手動モードであるか、あるいは、所定時間毎に自動で動作するタイマー(自動)モードであるかを報知するための表示ランプである。さらに、動作モードランプ300eには、タイマーモードとして設定可能な時間間隔(例えば、2時間、4時間、6時間)に対応して複数の表示ランプが設けられており、タイマーモード動作時には、タイマー運転スイッチ300bの押下によって選択された設定時間に対応する表示ランプが点灯し、その動作時間間隔が報知される。温水設定スイッチ300cは、洗浄水タンク210に貯留されている洗浄水の温度を設定するための押下式スイッチである。温水表示パネル300fは、温水設定スイッチ300cの操作により、洗浄水の温水設定が行われている間は、その設定された温度を表示し、また、温水設定以外では、サーミスタ212の検出値に基づき現在の洗浄水の温度を表示する。圧力設定スイッチ300dは、マット10の空気圧を設定するためのスイッチである。給水ランプ300gは、洗浄水タンク210に貯留されている洗浄水の水量が不足していることを報知するための表示ランプであり、温水ランプ300iは、洗浄水の水温が設定された温度に達していないことを報知するための表示ランプである。また、満杯ランプ300hは、排泄タンク200に貯留されている排泄物および汚物の量が所定量をこえていること、すなわち、排泄物を新たに貯留する余裕がないことを報知するための表示ランプである。
【0050】
また、本実施形態の排泄物処理システム1は、操作者(使用者3)などが排泄物処理装置14に対して無線、および/又は有線により指示信号を送信して操作するためのリモートコントローラ302を備えている。図12に示す様に、リモートコントローラ302は、吸引/停止ボタン302aと、洗浄ボタン302bと、乾燥ボタン302cとを備えている。吸引/停止ボタン302aは、吸引工程の開始、あるいは、吸引工程、洗浄工程および乾燥工程の各工程の停止を指示するための操作ボタンである。また、洗浄ボタン302bは、洗浄工程の開始を指示するための操作ボタンであり、乾燥ボタン302cは、乾燥工程の開始を指示するための操作ボタンである。この様に、リモートコントローラ302による操作を可能としたのは、操作者が使用者3であって、寝たきりの人である場合に、その操作者が操作し易くするためである。
【0051】
次いで、本実施形態の動作について説明する。上述した様に、排泄物処理装置14は、吸引工程、洗浄工程および乾燥工程の一連の工程を操作者の操作指示があった場合に行う手動モードと、所定時間毎に自動で行う自動モードとの2つの動作モードを有している。
【0052】
図13は、手動モード動作時の排泄物処理装置14の処理手順を示すフローチャートである。同図に示す様に、排泄物処理装置14は、電源スイッチ300aの操作により、本体の電源が投入されると(ステップSa1)、洗浄水タンク210に貯留されている洗浄水の水量および温度と、排泄タンク200に貯留されている排泄物の量をチェックするためのチェック処理を行う(ステップSa2)。図14は、チェック処理の処理手順を示すフローチャートである。この図に示す様に、排泄物処理装置14は、先ず、フロートセンサ213の検出値に基づいて、洗浄水タンク210に蓄えられている洗浄水の水量が、使用者3を洗浄するのに十分であるか否かをチェックし(ステップSb1)、水量が不十分である場合には(ステップSb1:NO)、操作者に洗浄水の給水を促すべく給水ランプ300gを点灯させ警報した後に(ステップSb2)、リモートコントローラ302からの操作受付を禁止し(ステップSb3)、再度、洗浄水量をチェックすべく、処理手順をステップSb1に戻す。ここで、洗浄水量が十分であるかは、洗浄1回に要する水量(例えば600cc)を基準に判断され、この基準に満たない場合には、洗浄水量が不十分であると判断される。
【0053】
さて、洗浄水量が十分であれば(ステップSb1:YES)、排泄物処理装置14は、温水ヒータ211を稼動させて洗浄水を加温し(ステップSb4)、サーミスタ212に検出値に基づいて、洗浄水の温度が所定温度(予め設定された温度など)に達しているか否かをチェックする(ステップSb5)。このチェックの結果、洗浄水の温度が設定温度に達していなければ(ステップSb5:NO)、排泄物処理装置14は、温水ランプ300iを点灯させて操作者に温水が適温でない旨を警報した後(ステップSb6)、リモートコントローラ302からの操作受付を禁止し(ステップSb7)、再度、水温を検出すべく処理手順をステップSb5に戻す。
【0054】
また、洗浄水の温度が設定温度以上である場合(ステップSb5:YES)、排泄物処理装置14は、液面センサ201の検出値に基づいて排泄タンク200に、新たに排泄物を貯留するための余裕があるかをチェックする(ステップSb8)。このチェックの結果、排泄タンク200に余裕がなければ(ステップSb8:NO)、排泄物処理装置14は、満杯ランプ300hを点灯させて排泄タンク200が排泄物などで満杯である旨を操作者に警報した後(ステップSb9)、リモートコントローラ302からの操作受付を禁止し(ステップSb10)、再度、この排泄タンク200に余裕があるかをチェックすべく処理手順をステップSb8に戻す。一方、排泄タンク200に新たに排泄物などを貯留する余裕がある場合には(ステップSb8:YES)、排泄物処理装置14は、チェック処理を終了する。なお、排泄タンク200に余裕があるか否かは、排泄1回分の容量(例えば300cc)を基準に判断され、空き容量が基準に満たない場合には、空き容量に余裕がないものと判断される。
【0055】
この様に、本実施形態では、電源投入後であって、吸引工程、洗浄工程または乾燥工程の各工程が行われる前に、洗浄水の水量や温度、排泄タンク200の空き容量など、各工程を実施する上で問題となり得る要素が予めチェックされ、問題があれば、各工程の実施を指示する操作受付が禁止されるため、これらの工程の実施が禁止される。これにより、各工程を実施中に、排泄タンク200に排泄物や汚物を貯留しきれないなどの問題が発生することが予防される。
【0056】
具体的には、チェック処理により、吸引工程および洗浄工程が1回行われた場合に貯留され得る汚物および排泄物分の容量が排泄タンク200に確保されている場合にだけ、吸引工程から乾燥工程までが行われるため、これら一連の工程中に排泄タンク200の空き容量が全く無くなることが防止される。また、チェック処理により、1回の洗浄工程を行うに要する洗浄水が洗浄水タンク210に確保されている場合にだけ、吸引工程から乾燥工程までが行われるため、これら一連の工程中に洗浄水タンク210内の洗浄水が空になることが防止される。
【0057】
次いで、図13に示す様に、排泄物処理装置14は、リモートコントローラ302からの吸引指示を受け取ると(ステップSa3)、汚物収集カップ120から排泄物を吸引する吸引工程を行う(ステップSa4)。なお、すべての二方弁は、初期状態では、閉状態となっている。
【0058】
この吸引工程にあっては、図15に示す様に、排泄物処理装置14は、二方弁EおよびFを開として(ステップSc1)冷却ファン216を始動し(ステップSc2)、エアコンプレッサ205を始動し(ステップSc3)、真空タンク230内を真空状態にすると同時に、空気タンク229内に圧縮空気を貯留させる。次いで、三方弁228を水管149と水管165を連通する方向へ開とし(ステップSc4)、二方弁204および208を開として(ステップSc5)、ウォータポンプ215を所定時間(例えば、20秒)の間だけ稼動させる(ステップSc6)。これにより、エアコンプレッサ205の吸引により、汚物収集カップ120内が減圧され、排泄物が洗浄ノズル134aから噴射された水および空気と共に排泄タンク200に向けて吸引されることとなる。そして、前記所定時間(例えば、20秒)が経過するまで、ウォータポンプ215を稼動させ(ステップSc7:NO)、前記所定時間が経過したならば(ステップSc7:YES)、ウォータポンプ215を停止させて(ステップSc8)、エアコンプレッサ205を停止させ(ステップSc9)、冷却ファン216を停止させて(ステップSc10)、全二方弁を閉てして(ステップSc11)吸引工程を終了する。
【0059】
そして、図13に示す様に、排泄物処理装置14は、リモートコントローラ302から洗浄指示があるまで、吸引工程を続け(ステップSa5:NO)、洗浄指示があった場合には(ステップSa5:YES)、洗浄工程を行う(ステップSa6)。なお、吸引工程の次に行われるべき工程は、洗浄工程であるため、吸引工程が行われている間は、誤動作を防ぐべく乾燥工程の操作受付は禁止されている。さて、図16に示す様に、洗浄工程にあっては、排泄物処理装置14は、二方弁EおよびFを開とし(ステップSd1)、次いで、二方弁204および208を開として(ステップSd2)、冷却ファン216を始動し(ステップSd3)、次いで、エアコンプレッサ205を始動した後に(ステップSd4)、三方弁228を水管149と洗浄水チューブ132を連通する方向へ開とし(ステップSd5)、ウォータポンプ215を所定時間(例えば、20秒)の間だけ稼動させる(ステップSd6)。これにより、洗浄水タンク210に貯留されている洗浄水を水管149に接続された洗浄ノズル130a、130bから噴射させ、使用者3の各部位(肛門や陰部など)を洗浄する。このとき、汚物収集カップ120内から洗浄水が吸引され、排泄タンク200に貯留される。そして、前記所定時間(例えば、20秒)が経過するまで、ウォータポンプ215を稼動させ(ステップSd7:NO)、前記所定時間が経過したならば(ステップSd7:YES)、ウォータポンプ215を停止させて(ステップSd8)、エアコンプレッサ205を停止させ(ステップSd9)、冷却ファン216を停止させて(ステップSd10)、全二方弁を閉てして(ステップSd11)洗浄工程を終了する。
【0060】
次いで、図13に示す様に、排泄物処理装置14は、乾燥工程を行う(ステップSa7)。この乾燥工程にあっては、図17に示す様に、排泄物処理装置14は、乾燥空気が排泄タンク200を経由しない様に、乾燥空気の循環経路を形成する。具体的には、排泄物処理装置14は、すべての二方弁が閉じた状態であり、且つ、三方弁228が水管149、水管132を導通する方向である状態から、二方弁221および二方弁226を開ける(ステップSe1)。その後、二方弁220、218を開けることで(ステップSe2)、ストレーナ225、空気管162、155、分岐管172、空気管142、エアコンプレッサ205の圧縮部Aの吸込口Aa、エアコンプレッサ205の圧縮部Aの吐出口Ab、空気管143、分岐管174、空気管150、151、二方弁218、空気管152、温風ヒータ219、空気管153、逆止弁217、空気管154、分岐管171、水管149、三方弁228、水管132、洗浄ノズル130a、130bの順に空気を循環させる経路が形成されると共にノズル134aより空気管134、分岐管175、空気管163、分岐管173、空気管157、二方弁221、空気管156、エアコンプレッサ205の圧縮部Bの吸込口Ba、エアコンプレッサ205の圧縮部Bの吐出口Bb、二方弁226、空気管164、サイレンサ227の順に空気を循環させる経路が形成される。次いで、排泄物処理装置14は、冷却ファン216を始動させ(ステップSe3)、エアコンプレッサ205を所定時間(例えば、420秒)の間だけ稼動させて(ステップSe4)、外気を吸引し、汚物収集カップ120内へと循環させて外部に放出させる。また、温風ヒータ219を所定温度(例えば、乾燥空気の噴出し温度50℃)になるよう稼動させる(ステップSe5)。これにより、温風ヒータ219によって加熱された乾燥空気が洗浄ノズル130a〜130bから使用者3の各部位(肛門や陰部など)に吹き付けられ、乾燥が行われる。そして、前記所定時間(例えば、420秒)が経過するまでエアコンプレッサ205の稼動を行い(ステップSe6:NO)、前記所定時間の稼動が行われたら(ステップSe6:YES)エアコンプレッサ205を停止させ(ステップSe7)、冷却ファン216を停止させて(ステップSe8)、乾燥工程を終了する。
【0061】
なお、エアコンプレッサ205よりも先に、温風ヒータ219をオンにしても良く、また、両者を略同時にオンにしても良い。さらに、温風ヒータ219による無駄な空気加熱を防ぐために、温風ヒータ219は、そのヒータの温度が所定温度(例えば60℃)に達するか、あるいは、エアコンプレッサ205が稼動し始めてから所定時間経過(例えば415秒)した後であって、エアコンプレッサ205が停止する前にオフにすることが望ましい。
【0062】
ここで、洗浄および乾燥が行われる時間は予め設定されているが、状況によっては、洗浄あるいは乾燥が不十分となる恐れがある。そこで、排泄物処理装置14は、図13に示す様に、リモートコントローラ302から、洗浄指示を再度受け付けたか否かを判断し(ステップSa8)、洗浄指示がなかった場合には(ステップSa8:NO)、乾燥指示を再度受け付けたか否かを判断する(ステップSa9)。そして、洗浄指示があった場合には、(ステップSa8:YES)、排泄物処理装置14は、再度洗浄工程を行うべく、処理手順をステップSa6に戻す。また、乾燥指示があった場合には(ステップSa9:YES)、排泄物処理装置14は、再度、乾燥工程を行うべく、処理手順をステップSa7に戻す。そして、排泄物処理装置14は、乾燥指示を受け付けなかった場合に(ステップSa9:NO)、冷却ファン216を停止して(ステップSa10)、処理を終了する。
【0063】
さて、上述した様に、本実施形態の排泄物処理装置14は、動作モードとして手動モードの他に、予め設定された設定時間毎(例えば2時間、4時間、6時間毎)に、吸引工程、洗浄工程および乾燥工程の一連の工程を自動で行う自動モードを有する。この自動モードにあっては、吸引工程から乾燥工程に至る一連の工程が行われる。以下、この自動モード時の動作について説明する。
【0064】
図18は、自動モード時の排泄物処理装置14の処理手順を示すフローチャートである。この図に示す様に、自装置14の電源が投入され(ステップSf1)、タイマー運転スイッチ300bの押下により、自動運転モード(タイマー運転)が指示され、吸引工程から乾燥工程までを自動で実行する際の時間サイクル(例えば2時間、4時間、6時間など)の設定を受取ると(ステップSf2)、排泄物処理装置14は、上述した手動モードと同様のチェック処理(図14参照)を行う(ステップSf3)。これにより、後に行われる吸引工程、洗浄工程および乾燥工程において、問題が生じるのが防止される。
【0065】
次に、排泄物処理装置14は、時間サイクル(例えば、2時間)が経過後に(ステップSf4:YES)、図15に示す手動モード時の乾燥工程と同じ手順での吸引工程(ステップSf5)、図16に示す手動モード時の洗浄工程と同じ手順での洗浄工程(ステップSf6)、図17に示す手動モード時の乾燥工程と同じ手順での乾燥工程(ステップSf7)の一連の処理を行なうものである。その後、洗浄水タンク210に貯留されている洗浄水の量や水温、排泄タンク200に貯留されている排泄物量が変化を確認すべく、一連の工程終了後に、チェック処理(ステップSf7)を行うものとする。
【0066】
さて、上述した様に、排泄物処理装置14には、マット10に空気を注入するための機構が設けられている。以下、この機構によりマット10に空気を注入する際の処理手順について説明する。図19は、マット10への空気注入動作時の処理手順を示すフローチャートである。同図に示す様に、自装置14の電源が投入されると(ステップSi1)、排泄物処理装置14は、上述したチェック処理(図14参照)を行う(ステップSi2)。そして、圧力設定スイッチ300dが操作され、マット10への空気注入が指示されると(ステップSi3)、排泄物処理装置14は、二方弁E(ステップSi4)および二方弁Fが開く(ステップSi5)。そして、ストレーナ−225から空気を吸込み、マット10に吐出すべく、二方弁220を開ける(ステップSi6)。そして、排泄物処理装置14は、エアコンプレッサ205の吐出口Abをマット10に接続すべく、二方弁222を開ける(ステップSi7)。そして、排泄物処理装置14は、冷却ファン216を始動させた後(ステップSi8)、エアコンプレッサ205を稼動させて(ステップSi9)、空気をマット10に注入する。排泄物処理装置14は、マット10の空気圧が設定値以上になるまで空気注入を続け(ステップSi10:NO)、マット10の空気圧が設定値以上になった場合に(ステップSi10:YES)、エアコンプレッサ205を停止し(ステップSi11)、次いで、冷却ファン216を停止し(ステップSi12)、マット10への空気注入を終了する。
【0067】
尚、上述した実施形態は、あくまでも本発明の一態様にすぎず、本発明は、これに限定されるものではなく、本発明の範囲内で任意に変形可能であることは勿論である。
【0068】
例えば、上述した手動モードあるいは自動モード動作時において、排泄物処理装置14は、吸引工程または洗浄工程中に排泄タンク200の空き容量に余裕が無くなった場合に、吸引工程から乾燥工程までの一連の工程が終了した後に、満杯ランプ300hを点灯させて操作者に警報すると共に、排泄タンク200の空き容量に余裕ができるまで、吸引工程の指示受け付けをキャンセルする様に構成されても良い。
【0069】
また例えば、上述した手動モードあるいは自動モード動作時において、排泄物処理装置14は、洗浄工程中に洗浄水タンク210に貯留されている洗浄水の残量が所定値よりも少なくなった場合には、乾燥工程が完了した後に、給水ランプ300gを点灯させて操作者に警報すると共に、洗浄水が給水されるまで、吸引工程から乾燥工程までの一連の指示受け付けをキャンセルする様に構成されても良い。
【0070】
【発明の効果】
以上説明した様に、本発明によれば、排泄物を吸引し、貯留する排泄タンク内を負圧にするエアコンプレッサの吸込側に真空タンクを設け、吹出側に空気タンクをそれぞれ設けているので、前記汚物収集カップ内へ吹出す空気により前記排泄物の吸引を補助することができるとともに、汚物収集カップ内に排泄された排泄物を吸引する吸引能力が向上する。
【図面の簡単な説明】
【図1】本発明の実施形態にかかる排泄物処理システムの構成を示す図である。
【図2】同オムツの外観構成を示す斜視図である。
【図3】同オムツの構成を示す斜視図である。
【図4】同オムツに設けられた汚物収集カップの構成を示す側面図である。
【図5】同汚物収集カップの断面図である。
【図6】同オムツを背面方向から見た斜視図である。
【図7】同マットに設けられた収容貫通穴を説明するための図である。
【図8】同マットの構成を示す図である。
【図9】同マットに設けられたバイパスチューブを説明するための図である。
【図10】同排泄物処理装置の構成を示す図である。
【図11】同排泄物処理装置本体に設けられた操作パネルを示す図である。
【図12】同排泄物処理装置を操作するためのリモートコントローラを示す図である。
【図13】同手動モード動作時における排泄物処理装置の処理手順を示すフローチャートである。
【図14】同チェック処理の処理手順を示すフローチャートである。
【図15】同手動モード動作時に行われる吸引工程の処理手順を示すフローチャートである。
【図16】同手動モード動作時に行われる洗浄工程の処理手順を示すフローチャートである。
【図17】同手動モード動作時に行われる乾燥工程の処理手順を示すフローチャートである。
【図18】同自動モード動作時における排泄物処理装置の処理手順を示すフローチャートである。
【図19】マットに空気を注入するための処理手順を示すフローチャートである。
【符号の説明】
1 排泄物処理システム
3 使用者
10 マット
12 オムツ
14 排泄物処理装置
130a、130b、130c 洗浄ノズル
148、149 水管
140〜146、150〜162 空気管
200 排泄タンク
201 重量センサ
205 エアコンプレッサ
210 洗浄水タンク
211 温水ヒータ
212 サーミスタ
213 フロートセンサ
215 ウォータポンプ
219 温風ヒータ
229 空気タンク
230 真空タンク
302 リモートコントローラ
[0001]
TECHNICAL FIELD OF THE INVENTION
The present invention relates to an excrement disposal suitable for a sick or immobilized elderly person who cannot walk in a hospital or the like.
[0002]
[Prior art]
2. Description of the Related Art Conventionally, sick people who cannot excrete in their normal postures, bedridden elderly people, and other persons who cannot process their own excretions themselves, have used excrement to process excrement. However, when using Oshime, human labor such as an attendant is required, and furthermore, when exchanging Oshime, it emits a odor and disturbs the surroundings, and the user feels shame. Things. Therefore, recently, a special excrement receiver (hereinafter, referred to as an “attachment”) having a shallow container shape is attached to a crotch, and after excretion, a genital area and the like are washed, and excreted stool and sewage are suctioned. Various types of excrement disposal devices have been proposed (for example, see Patent Document 1).
[0003]
[Patent Document 1]
JP-A-2002-153498 (FIG. 1)
[0004]
[Problems to be solved by the invention]
However, in the above-mentioned conventional technology, when performing the excrement suction process, an excretion tank for storing the excretion is provided, and the air in the excretion tank is suctioned by an air compressor, and the pressure in the excretion tank is reduced to a negative pressure. Thus, the excrement is sucked. For this reason, the air compressor needs to be provided with an appropriate suction amount, and the excrement disposal device cannot be downsized. Further, when the size of the air compressor is reduced to reduce the size of the excrement disposal device, there is a problem that the excrement cannot be sufficiently sucked into the excretion tank.
[0005]
The present invention has been made in view of the above circumstances, and an object of the present invention is to provide an excrement processing apparatus and an excrement processing system that have improved excrement suction capability.
[0006]
[Means for Solving the Problems]
In order to achieve the above-mentioned object, the invention according to claim 1 is a diaper having a waste collection cup applied to a user's crotch, and deodorizing and sterilizing the air blown out from the air compressor to remove the waste. An excrement disposal device that blows into the collection cup, sucks the air in the excretion tank with an air compressor to create a negative pressure, and aspirates the excreta excreted in the diaper surrounding the hips of the user into the excretion tank. In the excrement disposal system comprising: a vacuum tank is provided on the suction port side of the air compressor, an air tank is provided on the air outlet side of the air compressor, and a first two-way valve is provided on the vacuum tank on the excretion tank side. And a second two-way valve is provided on the diaper side of the air tank.
[0007]
According to a second aspect of the present invention, in the first aspect, the air tank is a tank having a smaller volume than the vacuum tank.
[0008]
According to a third aspect of the present invention, in the first or second aspect, the first two-way valve and the second two-way valve are simultaneously opened. .
[0009]
The invention according to claim 4 is connected to a diaper provided with a waste collection cup applied to a user's crotch, and deodorizes and sterilizes air blown out from the air compressor and blows the air into the diaper cup, In the excrement disposal device, the air in the excretion tank is suctioned by an air compressor to create a negative pressure, and the excrement excreted in the diaper surrounding the hips of the user is sucked into the excretion tank. A vacuum tank is provided on the mouth side, an air tank is provided on the air outlet side of the air compressor, a first two-way valve is provided on the vacuum tank on the excretion tank side, and a second two-way valve is provided on the diaper side of the air tank. It is characterized by having.
[0010]
According to a fifth aspect of the present invention, in the fourth aspect, the air tank is a tank having a smaller volume than the vacuum tank.
[0011]
The invention according to claim 6 is the invention according to claim 4 or 5, characterized in that the first two-way valve and the second two-way valve are simultaneously opened. .
[0012]
BEST MODE FOR CARRYING OUT THE INVENTION
Hereinafter, embodiments of the present invention will be described with reference to the drawings. FIG. 1 is a diagram showing a configuration of an excrement disposal system 1 according to an embodiment of the present invention. As shown in this figure, the excrement disposal system 1 includes a diaper 12 worn by a user 3, an excrement disposal device 14 that sucks and accumulates excrement or wastewater inside the diaper 12, and a user 3 lying down. And a mat 10.
[0013]
As shown in FIG. 2, when the diaper 12 is worn by the user 3, the diaper 12 has a short crotch length and a knee-length height, so-called shorts (short pants), and is located at the crotch. Is provided with a waste collection cup 120 and a waste collection pipe 122. As shown in FIG. 1, a waste suction hose 16 that connects the excrement disposal device 14 and the diaper 12 is attached to the waste collection pipe 122. That is, the excrement and sewage in the diaper 12 are sucked from the filth collection pipe 122 to the excrement processing apparatus 14 through the filth suction hose 16 by the suction mechanism (described later) of the excrement processing apparatus 14, and the excrement processing apparatus 14 Is accumulated in The excrement processing apparatus 14 will be described in detail later, and the diaper 12 and the mat 10 will be described first.
[0014]
FIG. 3 is a development view of the diaper 12. As shown in the figure, the diaper 12 extends forward from the waste collection cup 120 and covers the vicinity of the umbilicus of the user 3. Has a backrest 12b that covers the buttocks of the subject. That is, the diaper 12 tears the vicinity of both waist sides of general shorts in the direction of the thigh, and the crotch area is cut out for mounting the waste collection cup 120, and the waste collection cup 120 is attached to the hollowed portion. It has a shape substantially equal to the shape given. The belly portion 12a and the back portion 12b of the diaper 12 are made of a material (eg, PTFE: polytetrafluoroethylene) that has good air permeability and does not allow moisture to pass therethrough. Even if you continue, stuffiness due to sweating is prevented. The diaper 12 may be made of a stretchable synthetic resin (for example, a neoprene foam) used for wet suits or the like to improve the fit.
[0015]
Further, a total of four fastening portions 126 are attached to the left side portion 12bL and the right side portion 12bR of the backrest portion 12b. Velcro fasteners (so-called magic tape (registered trademark)) are adhered to the upper surface (upper surface in the drawing) of the fastening portion 126, and the fastening portion 126 is locked to the surface of the stomach rest portion 12a. It has become.
[0016]
When the diaper 12 is worn on the user 3, the filth collection cup 120 is applied to the crotch, and the back support 12b is applied to the buttocks and the abdomen support 12a is provided near the navel, as with a conventional shime. Then, the fastening portions 126 provided on both sides 12bL and 12bR of the backrest 12b to be wound around the waist and thighs are carried to the upper surface of the abdomen rest 12a and fixed.
[0017]
In the diaper 12, the wrapper wraps around the edges 128a, 128b of the stomach rest portion 12a and the back rest portion 12b, which wrap around the belly of the user 3, and the thigh of the user 3. Rubber bands are provided on the edge portions 128c and 128d at the locations, so that the airtightness when the user 3 wears them is enhanced.
[0018]
Next, the configuration of the waste collection cup 120 will be described in detail. FIG. 4 is a side view of the waste collection cup 120, and FIG. 5 is a sectional view thereof. As shown in these drawings, the waste collection cup 120 is integrally formed in a substantially U-shape with a curved appearance, and a waste collection pipe 122 is integrally formed below the drawing. The waste collection cup 120 is made of plastic having a certain degree of elasticity, and can absorb the pressing force even if a slight pressing force is applied.
[0019]
As shown in FIG. 5, cleaning nozzles 130a, 130b and 134a for injecting cleaning water are provided on the side wall of the waste collection cup 120, and the cleaning nozzles 130a and 130b are provided with cleaning water. Cleaning water is supplied from the excrement disposal device 14 through the tube 132, and air that has been sterilized by flowing through the deodorization / sterilizer 207 described below from the excrement disposal device 14 through the air pipe 134 to the cleaning nozzle 134a. And the cleaning water are mixed and supplied. The cleaning nozzle 134a is for flushing filth toward the side where the filth collection pipe 122 is provided, and is provided on the back of the filth collection cup 120 (the surface facing the buttocks of the user 3). The direction is set so as to face the waste collection pipe 122. The cleaning nozzle 130a is for cleaning the anus of the user 3 and is provided in the vicinity of the waste collection pipe 122. The direction of the injection port is such that the cleaning water is injected toward the anus of the user 3. Is set to Further, the cleaning nozzle 130b is for cleaning the genital area of the female user 3, and is provided near a position corresponding to the lower abdomen of the female user 3. 3 is set to be injected toward the genital area. It is desirable that the washing water is warm water having an appropriate temperature so as not to cause the user 3 to feel uncomfortable. As described above, the waste collection cup 120 is provided with the cleaning nozzle 130b for cleaning the genital area (particularly, urine, vagina, etc.) of a woman, so that the genital area is kept clean even after urination, and discomfort is caused. It is not remembered. In consideration of the case where the user 3 is a male, an opening / closing valve or the like may be provided between the washing water tube 132 and the washing nozzle 130b, and the washing water may be selectively injected from the washing nozzle 130b. .
[0020]
The above-mentioned washing water tube 132 is configured to be supplied with air as well as washing water. That is, after each part of the user 3 is washed with the washing water, it is dried by blowing air (outside air) heated by a warm air heater 219 described later. Further, the air supplied from the washing water tube 132 into the waste collection cup 120 is released from the nozzle 134a at the end of the air pipe 134 to the outside air (this structure will be described when the excrement disposal device 14 is described). ).
[0021]
Under such a configuration, after the user 3 has excreted, washing water and air are mixed and supplied from the excrement disposal device 14 to the air pipe 134, and are discharged from the cleaning nozzle 134a. Thereby, the excrement is flowed toward the waste collection pipe 122 and is sucked. Thereafter, the washing water is supplied to the washing water tube 132, and the washing water is jetted from each of the washing nozzles 130a and 130b.
[0022]
This cleanses the user's anus and pubic area. Next, after the washing water remaining in the washing water tube 132 is sucked and drained, air is supplied to the washing water tube 132.
[0023]
Thereby, the user's anus and pubic area are dried. When drying is not necessary for the genital area, such as when the user is a male, a configuration may be adopted in which only the air is injected from the washing nozzle 130b, that is, the anus is dried.
[0024]
Further, as shown in FIG. 5, the waste collection pipe 122 has a so-called U-shape, which is partially dropped from the bottom of the waste collection cup 120. In this configuration, excrement is collected together with washing water, urine, and the like toward the bottom 122a of the waste collection pipe 122 by the washing water from the washing nozzle 134a, and then passed through the waste suction hose 16 by the excrement processing device 14. And is discharged.
[0025]
Here, when the excrement disposal device 14 starts suction, the waste collection pipe 122 has a U-shape, so that the waste water and the washing water are kept in the waste collection cup by the siphon principle even if the suction is stopped. The waste will be stored in a tank of the excrement disposal device 14 placed at a position lower than 120. This prevents sewage and the like from remaining in the filth collection cup 120 even if the suction of filth is insufficient. The waste collection pipe 122 has a structure that allows not only liquid matter such as excrement and the like but also air to flow therethrough, and the pipe diameter does not become small even if the excrement disposal device 14 sucks dirt by the pressure difference of air. It is formed of a bent tube having such rigidity.
[0026]
By the way, as described above, since the waste collection pipe 122 has a U-shape, it protrudes downward from the crotch of the user 3 as shown in FIG. Therefore, when the user 3 wears the diaper 12 and lays on his / her back on a bed or the like, the waste collection pipe 122 and the rear part of the waste collection cup 120 (the portion located on the buttocks of the user 3) cause the waste of the user 3. The buttocks are raised, and the sleeping comfort of the user 3 becomes poor.
[0027]
Therefore, in the present embodiment, as shown in FIG. 7, the mat 10 on which the user 3 lays is formed with a storage through-hole 102 for storing the waste collection pipe 122 and the rear surface of the waste collection cup 120. . As shown in FIG. 8, the mat 10 has an appropriate number (26 in the illustrated example) of air cells 100 arranged so as to expand into a substantially columnar shape in the length direction of the mat 10. . More specifically, air cells 100a and 100b (for example, 48 mm × 825 mm) having different dimensions from the others are arranged at both ends in the longitudinal direction of the mat 10, and an air cell is provided between the air cells 100a and 100b. 100d and 100e (76 mm x 825 mm) are alternately arranged to form a mat 10 having dimensions of 1920 mm x 825 mm.
[0028]
Further, air introduction zones 108a and 108b extending in the longitudinal direction of the mat 10 are provided on each of the left and right sides of the mat 10 in the drawing. At one end of each of the air introduction zones 108a and 108b (in the illustrated example, the lower end of the drawing), an air injection port 112 into which air from an air compressor 205 described later incorporated in the excrement disposal apparatus 14 is provided. The air injected from the air injection port 112 is guided to each of the air cells 100b, 100d, and 100e.
[0029]
More specifically, in the mat 10, except for the four air cells 100a and 100c located above the drawing (in the direction of the head of the user 3), air is introduced into the mat 100d from the air introduction zone 108a. Air is introduced into the air cells 100e and 100b from the air introduction zone 108b. Further, the air pressure of the air cell 100 corresponding to the head of the user 3, that is, the air pressure of the air cells 100 a and 100 c is always maintained at a substantially constant pressure, thereby suppressing the unevenness when the pillow is placed. Thus, the user 3 does not feel uncomfortable.
[0030]
In the mat 10, air cells 100d communicating with the air introduction zone 108a arranged on the left side of the drawing and air cells 100e communicating with the air introduction zone 108b arranged on the right side of the drawing are alternately arranged. At the same time, air cells 100b are juxtaposed at the lower end of the drawing. That is, since the air cells 100d and 100e having different air introduction paths are alternately arranged in the mat 10, it is necessary to appropriately change each of the air pressures injected into the air introduction zones 108a and 108b. Accordingly, air cells having different air pressures are alternately arranged. For example, if the air pressure injected into each of the air introduction zones 108a and 108b is alternately increased and decreased alternately, and the air cells 100d and 100e are expanded and contracted, the place where the user 3 and the mat 10 come into contact with each other is changed. To prevent bedsores.
[0031]
An edge 110 having a fixing hole 110a formed therein is provided at the upper and lower end of the mat 10 in the drawing. A string or the like is passed through the fixing hole 110a, and the mat is tied to a bed frame or the like. 10 is fixed.
[0032]
Further, as described above, the portion of the mat 10 corresponding to the user's 3 buttocks to the crotch is provided with a storage through hole for storing the waste collection pipe 122 of the waste collection cup 120 and the rear surface of the waste collection cup 120. A hole 102 is formed. Since the accommodation through hole 102 is formed by hollowing out the mat 10, each of the air cells 100 d and 100 e where the accommodation through hole 102 is formed is accommodated even if the air cells 100 d and 100 e are divided right and left by the accommodation through hole 102. The air is conducted on both sides of the through hole 102. Specifically, as shown in FIG. 9, each of the air cells 100 d and 100 e divided by the accommodation through hole 102 is provided with a bypass tube 104 for conducting air on both sides of the accommodation through hole 102. Has been.
[0033]
Next, the excrement disposal device 14 will be described. FIG. 10 is a schematic diagram illustrating a configuration of the excrement disposal device 14. In this figure, the excrement tank 200 stores excrement and dirt (wash water, etc.), and is connected to the dirt collection pipe 122 of the dirt collection cup 120 via the dirt suction hose 16 as described above. I have. In the vicinity of the bottom of the excretion tank 200, a weight sensor 201 for detecting the amount of dirt and excrement stored in this tank is provided, and the amount of excrement and dirt stored in the excretion tank 200 is detected. Is done. Reference numeral 205 denotes a two-stage compression type air compressor having two compression units A and B. A suction port Aa, a suction port Ba, a discharge port Ab, and a discharge port Bb are provided in the compression sections A and B of the air compressor 205, respectively. Further, the compression section A and the compression section B are provided with a connection pipe C and a connection pipe D for connecting each of them, and these connection pipes are opened and closed by a two-way valve E and a two-way valve F, respectively. . That is, by simultaneously opening and closing the two-way valve E and the two-way valve F, the function of one high-flow-rate air compressor (however, in this case, the closing of the suction port and the discharge port of one of the compression sections is closed) This is a structure that can be used by switching between an air compressor having a means (which will be described later) and an air compressor having the function of two low-flow air compressors. At the upper outlet of the excretion tank 200, a separator 202 for removing liquid and passing only gas is provided. This separator 202 (that is, the outlet of the excretion tank 200) is provided with an air pipe 140, a mist filter 203, The air compressor 141 is connected to the suction port Aa of the air compressor 205 via an air pipe 141, a two-way valve 204 (first two-way valve), a vacuum tank 230, a branch pipe 172, and an air pipe 142. A negative pressure circuit is provided from the air pipe 140 to the air pipe 142 because a negative pressure is applied during a suction step described later. On the other hand, the discharge port Ab of the air compressor 205 is connected to the air pipe 143, the branch pipe 174, the air pipe 144, the deodorizer / sterilizer 207, the air pipe 145, the air tank 229, the air pipe 166, the two-way valve 208 (second two-way valve 208). Valve), an air pipe 146, a branch pipe 173, an air pipe 163, and a branch pipe 175, which are connected to an air pipe 134 (see FIG. 5) communicating with the waste collection cup 120, and through the cleaning nozzle 134 a inside the waste collection cup 120. Is supplied with air. Note that a branch pipe 174 is inserted into the air pipe 143. The branch of the branch pipe 174 is connected to the air pipe 150, the branch pipe 170, the air pipe 151, the two-way valve 218, the hot air heater 219, and the check valve 217. On the other hand, a branch pipe 172 is inserted into the air pipe 142, and the branch of the branch pipe 172 is connected to the air pipe 155, the two-way valve 220, the air pipe 162, and the strainer 225. A branch pipe 173 is inserted into the air pipe 146, and a branch destination of the branch pipe 173 is connected to a suction port Ba of the air compressor 205 via an air pipe 157, a two-way valve 221, and an air pipe 156. Have been. A silencer 227 is connected to the discharge port Bb via a two-way valve 226 and an air pipe 164. The air tank 229 has a smaller volume than the vacuum tank 230. That is, even if the air in the vacuum tank 230 is sucked, the vacuum can be reduced to a vacuum state, that is, only about 1 atm with respect to the atmospheric pressure of the outside air, whereas the air is stored in the air tank 229. In this case, if the pressure resistance of the air tank 229 is about several atmospheres, air up to about several atmospheres can be stored in the air tank 229, and the volume of the air tank 229 can be reduced. Because you can.
[0034]
Reference numeral 210 denotes a cleaning water tank that stores cleaning water. At the bottom of the washing water tank 210, a hot water heater 211 for warming the stored washing water is provided. Inside the washing water tank 210, a thermistor 212 for detecting the temperature of the stored washing water, A float sensor (water level gauge) 213 for detecting the amount of washing water is provided, and the amount of stored washing water and the temperature of the washing water can be monitored. An injection port (not shown) is provided at an upper portion of the cleaning water tank 210. When the cleaning water is supplied to the cleaning water tank 210, the water is injected from the injection port. A water pipe 147 provided with a drain cock (stopcock) 214 is connected to a lower portion of the washing water tank 210. When draining the washing water from the washing water tank 210, the drain cock 214 is opened and the washing is performed from the water pipe 147. Let the water drain out. Further, the water outlet provided in the washing water tank 210 is connected to the washing nozzles 130a and 130b of the waste collection cup 120 via the water pipe 148, the water pump 215, the water pipe 149, the three-way valve 228, and the washing water tube 132. (The water port 149 is on the COM port side of the three-way valve 228, and the washing water tube 132 is on the NO port side). The branch pipe 175 is connected to an NC port of the three-way valve 228 via a water pipe 165. A branch pipe 171 is inserted into the water pipe 149, and a branch destination of the branch pipe 171 is connected to the check valve 217.
[0035]
The operation of the excrement disposal device 14 will be described. All the two-way valves are closed in the initial state.
This operation is roughly divided into three steps: a suction step, a cleaning step, and a drying step.
[0036]
First, the suction step is an operation of sucking excrement and the like from the waste collection cup 120 of the diaper 12. First, when the two-way valve E and the two-way valve F of the air compressor 205 are opened, the air compressor 205 has a high flow rate. Functions for one air compressor. When the two-way valve 204 and the two-way valve 208 are opened, the air inside the excretion tank 200 is sucked by the air compressor 205 and the vacuum tank 230 and kept at a negative pressure. While air flows toward the excretion tank 200, the vacuum tank 230, and the air compressor 205, the air flows from the discharge port Ab of the air compressor 205 through the air pipes 143 to 145, the air tank 229, the air pipe 166, the air pipe 134, and the cleaning nozzle 134a. Thus, air circulates through the diaper 12.
[0037]
At this time, the three-way valve 228 is opened in a direction in which the water pipe 149 and the water pipe 165 are connected to each other, and the water pump 215 is operated to wash water from the washing water tank 210 via the water pipe 148, the water pipe 149, and the water pipe 165 in the air pipe 134. Water is sent to the waste collection cup 120 in a state where gas and liquid are mixed, and the waste is sucked by increasing the fluidity of the waste by being jetted from the cleaning nozzle 134a.
[0038]
More specifically, when the excretion tank 200 is maintained at a negative pressure, only air in the excretion tank 200 is guided to the air pipe 140 by the separator 202, and moisture in the air is removed by the mist filter 203, and the humidity is reduced. Flows into the suction port Aa of the air compressor 205. The air discharged from the discharge port Ab of the air compressor 205 is subjected to odor removal and sterilization by the deodorizer / sterilizer 207, and is guided into the filth collection cup 120. The inside of 120 is kept hygienic.
[0039]
Further, when the operation of the air compressor 205 is started in a state where the two-way valve 204 is closed, the vacuum tank 230 is brought into a vacuum state. Since the negative pressure temporarily increases, the excrement in the waste collection cup 120 can be sucked vigorously.
[0040]
At the same time, when the operation of the air compressor 205 is started with the two-way valve 208 closed, compressed air is stored in the air tank 229, and by opening the two-way valve 208 in this state, The air stored in the air tank 229 flows through the air pipes 146 and 134 and is ejected from the cleaning nozzle 134a into the waste collection cup 120, so that the waste discharged in the waste collection cup 120 is discharged into the waste collection pipe. It can be flushed toward 122 to assist in the suction of the excrement.
[0041]
Further, the diameter of the ejection port of the cleaning nozzle 134a is smaller than the diameter of the suction port of the waste collection pipe 122, and the compressed air stored in the air tank 229 is decompressed by the cleaning nozzle 134a. Since it is blown out, the inside of the waste collection cup 120 is maintained at a weak negative pressure. For this reason, it is possible to reduce air leakage and the like from the gap between the shorts.
[0042]
Further, the excrement disposal device 14 includes a cooling fan 216 arranged in proximity to the air compressor 205, and the air compressor 205 is air-cooled by the cooling fan 216.
[0043]
Next, the cleaning step is an operation of cleaning each part of the user 3. First, the two-way valve E and the two-way valve F are opened, so that the air compressor 205 functions as one high-flow air compressor. It becomes. Then, the three-way valve 228 is opened in a direction in which the water pipes 149 and 132 are connected to each other, so that the washing water is sent from the washing water tank 210 to the waste collection cup 120 through the water pipes 148, 149, and 132 by the water pump 215. It is jetted from the cleaning nozzles 130a and 130b. In addition, in this cleaning step, the circulation of air in the above-described suction step is also performed in order to suction the cleaning water from the inside of the waste collection cup 120.
[0044]
After the water pump 215 is stopped, while the compressor 205 is operating, the two-way valve 208 is closed and the two-way valve 218 is opened, so that air from the discharge port Ab can be conducted into the water pipe 149. The washing water accumulated in the valve 228 and the washing water tube 132 can be drained. Thereby, the water that accumulates in the water pipe at the start of the next cleaning can be reduced, and the low-temperature cleaning water spouting to the user 3 can be reduced.
[0045]
In the drying step, after cleaning each part of the user 3, dry air is sprayed from each of the cleaning nozzles 130a and 130b to dry.
Specifically, the three-way valve 228 is in the direction in which the water pipes 149 and 132 are conducted, and by closing the two-way valve E and the two-way valve F of the air compressor 205, the air having the function of two low-flow air compressors is provided. Function as a compressor.
Thereafter, by opening the two-way valves 220 and 218, the outside air is subjected to removal of foreign matter by the strainer 225, and then is passed through the air pipes 162 and 155, the branch pipe 172, and the air pipe 142, and is then sucked into the compression unit A of the air compressor 205. The air flows into the port Aa and is discharged from the discharge port Ab of the compression section A of the air compressor 205. The air pipe 143, the branch pipe 174, the air pipe 150, the branch pipe 170, the air pipe 151, the two-way valve 218, the air pipe 152, After passing through the hot air heater 219, the air pipe 153, the check valve 217, the air pipe 154, and the branch pipe 171, the water passes through the water pipe 149, the three-way valve 228, and the cleaning water tube 132 to each of the cleaning nozzles 130a and 130b. Squirted into the collection cup 120. Here, the hot air heater 219 heats and dries the air. The warm air heater 219 heats the outside air to a predetermined temperature (for example, 60 ° C.), and also prevents the temperature from lowering due to the inflow of cool air. Here, the hot air heater 219 is provided with a thermistor and a temperature fuse (both not shown), and is configured such that when the heater is heated to a predetermined temperature, the hot air heater 219 is turned off.
[0046]
The air (outside air) jetted into the waste collection cup 120 is sent from the cleaning nozzle 134 a to the air pipe 134, the branch pipe 175, the air pipe 163, the branch pipe 173, the air pipe 157, and the two sides by the compression part B of the air compressor 205. The air is sucked from the suction port Ba to the compression section B via the valve 221 and the air pipe 156, and is discharged from the silencer 227 to the outside air from the air outlet Bb via the two-way valve 226 and the air pipe 164. Since this air (outside air) has already been washed, there is almost no fear of bad smell.
[0047]
Further, the excrement disposal device 14 is provided with a mechanism for injecting air into the above-described mat 10 (see FIG. 8). Specifically, the air pipe 150 is branched into the air pipe 151 and the air pipe 158 by the branch pipe 170, and the two-way valve 222, the air pipe 159, the buffer tank 223, and the air The pipe 160, the regulator 224, and the air pipe 161 are connected in this order, and the outlet side of the air pipe 161 is connected to the air inlet 112 of the mat 10 (see FIG. 8).
[0048]
In this configuration, when injecting air into the mat 10, while the two-way valve 220 and the two-way valve 222 are in an open state, the air compressor 205 is operated to remove air from which foreign matter has been removed from the strainer 225. Take in and inject this air into the mat 10. Thus, in the excrement disposal apparatus 14 according to the present embodiment, the air compressor for injecting air into the mat 10 is shared with the air compressor for treating dirt and excrement. Therefore, the size of the main body can be reduced, and it is not necessary to separately prepare a device for injecting air into the mat 10.
[0049]
In addition, an operation panel 300 for an operator to operate is provided on the body of the excrement disposal apparatus 14. FIG. 11 is a diagram illustrating an example of the operation panel 300. In this figure, a power switch 300a is a push-down switch for instructing turning on / off of the excrement processing apparatus 14, and a timer operation switch 300b is operated at predetermined time intervals regardless of the operation of the operator. This is a push-down switch for instructing that a series of steps of a process, a washing process, and a drying process be automatically performed. The operation mode lamp 300e determines whether the operation mode of the excrement processing apparatus 14 is a manual mode that operates according to an operation of an operator or a timer (automatic) mode that operates automatically at predetermined time intervals. It is a display lamp for notifying. Further, the operation mode lamp 300e is provided with a plurality of display lamps corresponding to time intervals (for example, 2 hours, 4 hours, and 6 hours) that can be set as the timer mode. The display lamp corresponding to the set time selected by pressing the switch 300b is turned on, and the operation time interval is notified. The hot water setting switch 300c is a push-down switch for setting the temperature of the cleaning water stored in the cleaning water tank 210. The hot water display panel 300f displays the set temperature while the hot water setting is being performed by operating the hot water setting switch 300c, and based on the detected value of the thermistor 212 except for the hot water setting. Displays the current temperature of the wash water. The pressure setting switch 300d is a switch for setting the air pressure of the mat 10. The water supply lamp 300g is a display lamp for notifying that the amount of the washing water stored in the washing water tank 210 is insufficient, and the hot water lamp 300i is a lamp at which the temperature of the washing water reaches the set temperature. This is a display lamp for notifying that no operation has been performed. The full lamp 300h is a display lamp for notifying that the amount of excrement and filth stored in the excrement tank 200 exceeds a predetermined amount, that is, that there is no room to newly store excrement. It is.
[0050]
Further, the excrement processing system 1 of the present embodiment includes a remote controller 302 for an operator (user 3) or the like to transmit an instruction signal to the excrement processing apparatus 14 by wireless and / or wired operation. It has. As shown in FIG. 12, the remote controller 302 includes a suction / stop button 302a, a cleaning button 302b, and a drying button 302c. The suction / stop button 302a is an operation button for instructing the start of the suction step or the stop of each step of the suction step, the cleaning step, and the drying step. The cleaning button 302b is an operation button for instructing the start of the cleaning process, and the drying button 302c is an operation button for instructing the start of the drying process. In this way, the reason why the operation by the remote controller 302 is made possible is that when the operator is the user 3 and is a bedridden person, the operator can easily perform the operation.
[0051]
Next, the operation of the present embodiment will be described. As described above, the excrement disposal apparatus 14 includes a manual mode in which a series of steps of a suction step, a washing step, and a drying step are performed when an operation instruction is given by an operator, and an automatic mode in which the series is automatically performed at predetermined time intervals. The following two operation modes are provided.
[0052]
FIG. 13 is a flowchart showing a processing procedure of the excrement processing apparatus 14 during the manual mode operation. As shown in the figure, when the power of the main body is turned on by operating the power switch 300a (step Sa1), the amount and temperature of the cleaning water stored in the cleaning water tank 210 and the excrement processing device 14 are determined. Then, a check process is performed to check the amount of the excrement stored in the excretion tank 200 (step Sa2). FIG. 14 is a flowchart illustrating the procedure of the check process. As shown in this figure, the excrement disposal device 14 first determines that the amount of washing water stored in the washing water tank 210 is sufficient for washing the user 3 based on the detection value of the float sensor 213. Is checked (step Sb1), and when the amount of water is insufficient (step Sb1: NO), a water supply lamp 300g is turned on to warn the operator to supply cleaning water, and an alarm is issued (step Sb1). Sb2) The operation reception from the remote controller 302 is prohibited (step Sb3), and the processing procedure returns to step Sb1 to check the amount of cleaning water again. Here, whether the amount of washing water is sufficient is determined based on the amount of water required for one washing (for example, 600 cc). If the amount is less than this standard, it is determined that the amount of washing water is insufficient.
[0053]
If the amount of washing water is sufficient (step Sb1: YES), the excrement disposal device 14 activates the hot water heater 211 to heat the washing water (step Sb4). It is checked whether or not the temperature of the washing water has reached a predetermined temperature (such as a preset temperature) (step Sb5). As a result of this check, if the temperature of the washing water has not reached the set temperature (step Sb5: NO), the excrement disposal device 14 turns on the warm water lamp 300i to warn the operator that the warm water is not at an appropriate temperature. (Step Sb6), operation acceptance from the remote controller 302 is prohibited (Step Sb7), and the processing procedure returns to Step Sb5 again to detect the water temperature.
[0054]
If the temperature of the washing water is equal to or higher than the set temperature (step Sb5: YES), the excrement disposal device 14 stores new excrement in the excrement tank 200 based on the detection value of the liquid level sensor 201. It is checked whether or not there is enough time (step Sb8). As a result of this check, if there is no room in the excrement tank 200 (step Sb8: NO), the excrement disposal device 14 turns on the full lamp 300h to notify the operator that the excrement tank 200 is full of excrement or the like. After the alarm is issued (step Sb9), operation acceptance from the remote controller 302 is prohibited (step Sb10), and the process returns to step Sb8 to check whether the excretion tank 200 has room again. On the other hand, when there is room to newly store excrement or the like in the excrement tank 200 (step Sb8: YES), the excrement disposal device 14 ends the check processing. It should be noted that whether or not there is room in the excretion tank 200 is determined based on the capacity of one excretion (for example, 300 cc). If the free capacity is less than the standard, it is determined that there is no free capacity. You.
[0055]
As described above, in the present embodiment, after the power is turned on and before the suction step, the cleaning step, or the drying step is performed, each step such as the amount and temperature of the cleaning water and the free capacity of the excretion tank 200 is performed. Are checked in advance, and if there is a problem, operation acceptance for instructing the execution of each step is prohibited, and thus the execution of these steps is prohibited. This prevents problems such as the inability to store the excrement and filth in the excretion tank 200 during the execution of each step.
[0056]
More specifically, the check process causes the suction process to start the drying process only when the capacity of the waste and excreta that can be stored when the suction process and the cleaning process are performed once is secured in the excretion tank 200. Therefore, it is possible to prevent the empty capacity of the excrement tank 200 from being completely lost during these series of steps. In addition, since the check process performs the steps from the suction step to the drying step only when the washing water required for performing one washing step is secured in the washing water tank 210, the washing water is performed during these series of steps. The washing water in the tank 210 is prevented from being empty.
[0057]
Next, as shown in FIG. 13, upon receiving the suction instruction from the remote controller 302 (step Sa3), the excrement disposal device 14 performs a suction step of sucking the excrement from the waste collection cup 120 (step Sa4). All the two-way valves are in a closed state in an initial state.
[0058]
In this suction step, as shown in FIG. 15, the excrement disposal apparatus 14 opens the two-way valves E and F (Step Sc1), starts the cooling fan 216 (Step Sc2), and starts the air compressor 205. Starting (step Sc3), the inside of the vacuum tank 230 is evacuated and, at the same time, compressed air is stored in the air tank 229. Next, the three-way valve 228 is opened in a direction to connect the water pipe 149 and the water pipe 165 (step Sc4), the two-way valves 204 and 208 are opened (step Sc5), and the water pump 215 is turned on for a predetermined time (for example, 20 seconds). It is operated only for a while (step Sc6). As a result, the pressure inside the waste collection cup 120 is reduced by the suction of the air compressor 205, and the excrement is sucked toward the excretion tank 200 together with the water and air jetted from the washing nozzle 134a. Then, the water pump 215 is operated until the predetermined time (for example, 20 seconds) elapses (step Sc7: NO). If the predetermined time elapses (step Sc7: YES), the water pump 215 is stopped. (Step Sc8), the air compressor 205 is stopped (Step Sc9), the cooling fan 216 is stopped (Step Sc10), all the two-way valves are closed (Step Sc11), and the suction step is ended.
[0059]
Then, as shown in FIG. 13, the excrement disposal device 14 continues the suction process until there is a cleaning instruction from the remote controller 302 (step Sa5: NO), and when there is a cleaning instruction (step Sa5: YES). ), A cleaning step is performed (step Sa6). Since the process to be performed next to the suction process is a cleaning process, operation acceptance of the drying process is prohibited during the suction process to prevent malfunction. Now, as shown in FIG. 16, in the cleaning process, the excrement disposal device 14 opens the two-way valves E and F (step Sd1), and then opens the two-way valves 204 and 208 (step Sd1). Sd2), the cooling fan 216 is started (Step Sd3), and after the air compressor 205 is started (Step Sd4), the three-way valve 228 is opened in a direction to connect the water pipe 149 and the washing water tube 132 (Step Sd5). Then, the water pump 215 is operated only for a predetermined time (for example, 20 seconds) (step Sd6). As a result, the washing water stored in the washing water tank 210 is jetted from the washing nozzles 130a and 130b connected to the water pipe 149, and each part of the user 3 (anus, pubic region, etc.) is washed. At this time, the washing water is sucked from the waste collection cup 120 and stored in the excretion tank 200. Then, the water pump 215 is operated until the predetermined time (for example, 20 seconds) elapses (step Sd7: NO). If the predetermined time elapses (step Sd7: YES), the water pump 215 is stopped. (Step Sd8), the air compressor 205 is stopped (Step Sd9), the cooling fan 216 is stopped (Step Sd10), all the two-way valves are closed (Step Sd11), and the cleaning process is completed.
[0060]
Next, as shown in FIG. 13, the excrement disposal device 14 performs a drying process (step Sa7). In the drying step, as shown in FIG. 17, the excrement disposal device 14 forms a circulation path of the dried air so that the dried air does not pass through the excretion tank 200. Specifically, the excrement disposal apparatus 14 changes the state in which all the two-way valves are closed and the state in which the three-way valve 228 is in a direction of conducting the water pipe 149 and the water pipe 132 from the two-way valves 221 and 221. The direction valve 226 is opened (Step Se1). Then, by opening the two-way valves 220 and 218 (Step Se2), the strainer 225, the air pipes 162 and 155, the branch pipe 172, the air pipe 142, the suction port Aa of the compression section A of the air compressor 205, and the air compressor 205 Discharge port Ab of compression section A, air pipe 143, branch pipe 174, air pipes 150, 151, two-way valve 218, air pipe 152, hot air heater 219, air pipe 153, check valve 217, air pipe 154, branch A path for circulating air is formed in the order of the pipe 171, the water pipe 149, the three-way valve 228, the water pipe 132, and the washing nozzles 130a and 130b, and the air pipe 134, the branch pipe 175, the air pipe 163, the branch pipe 173, and the air from the nozzle 134a. Pipe 157, two-way valve 221, air pipe 156, suction port Ba of compression section B of air compressor 205, air compressor 20 Discharge port Bb compression section B of the two-way valve 226, air tube 164, the path for circulating the air in the order of the silencer 227 is formed. Next, the excrement disposal apparatus 14 starts the cooling fan 216 (Step Se3), operates the air compressor 205 for a predetermined time (for example, 420 seconds) (Step Se4), sucks outside air, and collects waste. It is circulated into the cup 120 and released to the outside. Further, the hot air heater 219 is operated so as to be at a predetermined temperature (for example, a temperature at which dry air is blown out at 50 ° C.) (Step Se5). As a result, the dry air heated by the hot air heater 219 is blown from the cleaning nozzles 130a to 130b to each part (anus, pubic region, and the like) of the user 3, and drying is performed. Then, the operation of the air compressor 205 is performed until the predetermined time (for example, 420 seconds) elapses (step Se6: NO), and when the operation is performed for the predetermined time (step Se6: YES), the air compressor 205 is stopped. (Step Se7), the cooling fan 216 is stopped (Step Se8), and the drying step ends.
[0061]
The warm air heater 219 may be turned on before the air compressor 205, or both may be turned on substantially simultaneously. Further, in order to prevent wasteful air heating by the hot air heater 219, the hot air heater 219 is operated after the temperature of the heater reaches a predetermined temperature (for example, 60 ° C.) or when a predetermined time has elapsed since the air compressor 205 started operating. It is desirable to turn it off after (for example, 415 seconds) and before the air compressor 205 stops.
[0062]
Here, the time for cleaning and drying is set in advance, but depending on the situation, there is a possibility that cleaning or drying may be insufficient. Therefore, as shown in FIG. 13, the excrement disposal device 14 determines whether or not the cleaning instruction has been received again from the remote controller 302 (step Sa8), and when there is no cleaning instruction (step Sa8: NO). ), It is determined whether or not the drying instruction has been received again (step Sa9). If there is a cleaning instruction (step Sa8: YES), the excrement disposal apparatus 14 returns the processing procedure to step Sa6 to perform the cleaning step again. If there is a drying instruction (step Sa9: YES), the excrement disposal apparatus 14 returns the processing procedure to step Sa7 to perform the drying step again. If the drying instruction has not been received (step Sa9: NO), the excrement disposal apparatus 14 stops the cooling fan 216 (step Sa10) and ends the processing.
[0063]
As described above, in addition to the manual mode as the operation mode, the excrement processing apparatus 14 according to the present embodiment performs the suction process every preset time (for example, every 2 hours, 4 hours, and 6 hours). And an automatic mode for automatically performing a series of steps of a washing step and a drying step. In the automatic mode, a series of steps from a suction step to a drying step is performed. Hereinafter, the operation in the automatic mode will be described.
[0064]
FIG. 18 is a flowchart showing a processing procedure of the excrement processing apparatus 14 in the automatic mode. As shown in this figure, the power of the own apparatus 14 is turned on (step Sf1), and by pressing the timer operation switch 300b, an automatic operation mode (timer operation) is instructed, and the steps from the suction step to the drying step are automatically executed. When the setting of the time cycle (for example, 2 hours, 4 hours, 6 hours, etc.) is received (step Sf2), the excrement disposal apparatus 14 performs the same check processing as in the manual mode (see FIG. 14) (see FIG. 14). Step Sf3). This prevents a problem from occurring in the suction step, cleaning step, and drying step performed later.
[0065]
Next, after a lapse of a time cycle (for example, 2 hours) (step Sf4: YES), the excrement processing apparatus 14 performs a suction step (step Sf5) in the same procedure as the drying step in the manual mode shown in FIG. A series of processes including a cleaning step (step Sf6) in the same procedure as the cleaning step in the manual mode shown in FIG. 16 and a drying step (step Sf7) in the same procedure as the drying step in the manual mode shown in FIG. It is. After that, a check process (Step Sf7) is performed after a series of steps to confirm changes in the amount and temperature of the washing water stored in the washing water tank 210 and the amount of excrement stored in the excretion tank 200. And
[0066]
Now, as described above, the excrement disposal device 14 is provided with a mechanism for injecting air into the mat 10. Hereinafter, a processing procedure when air is injected into the mat 10 by this mechanism will be described. FIG. 19 is a flowchart showing a processing procedure at the time of the operation of injecting air into the mat 10. As shown in the figure, when the power of the own apparatus 14 is turned on (step Si1), the excrement disposal apparatus 14 performs the above-described check processing (see FIG. 14) (step Si2). When the pressure setting switch 300d is operated to instruct air injection into the mat 10 (step Si3), the excrement disposal apparatus 14 opens the two-way valve E (step Si4) and the two-way valve F (step Si3). Si5). Then, the two-way valve 220 is opened to suck air from the strainer-225 and discharge the air to the mat 10 (step Si6). Then, the excrement disposal apparatus 14 opens the two-way valve 222 to connect the discharge port Ab of the air compressor 205 to the mat 10 (Step Si7). Then, the excrement disposal device 14 starts the cooling fan 216 (step Si8), and then operates the air compressor 205 (step Si9) to inject air into the mat 10. The excrement disposal device 14 continues injecting air until the air pressure of the mat 10 becomes equal to or higher than the set value (Step Si10: NO). When the air pressure of the mat 10 becomes equal to or higher than the set value (Step Si10: YES), the air is discharged. The compressor 205 is stopped (Step Si11), then the cooling fan 216 is stopped (Step Si12), and the air injection into the mat 10 is terminated.
[0067]
It should be noted that the above-described embodiment is merely one aspect of the present invention, and the present invention is not limited to this, and it is needless to say that the present invention can be arbitrarily modified within the scope of the present invention.
[0068]
For example, in the above-described manual mode or automatic mode operation, the excrement disposal device 14 performs a series of processes from the suction process to the drying process when the free space of the excrement tank 200 becomes insufficient during the suction process or the cleaning process. After the process is completed, the full lamp 300h may be turned on to alert the operator and cancel the instruction of the suction process until the free space of the excrement tank 200 is sufficient.
[0069]
Further, for example, in the above-described manual mode or automatic mode operation, the excrement disposal device 14 may be configured to operate when the remaining amount of the washing water stored in the washing water tank 210 during the washing process becomes smaller than a predetermined value. After the drying step is completed, the water supply lamp 300g may be turned on to alert the operator, and a series of instructions from the suction step to the drying step may be canceled until the cleaning water is supplied. good.
[0070]
【The invention's effect】
As described above, according to the present invention, a vacuum tank is provided on the suction side of an air compressor that draws in excrement and makes the inside of the excretion tank for storing negative pressure, and an air tank is provided on the blowout side. The suction of the excrement can be assisted by the air blown into the waste collection cup, and the suction ability for sucking the excrement discharged in the waste collection cup is improved.
[Brief description of the drawings]
FIG. 1 is a diagram showing a configuration of an excrement disposal system according to an embodiment of the present invention.
FIG. 2 is a perspective view showing an external configuration of the diaper.
FIG. 3 is a perspective view showing a configuration of the diaper.
FIG. 4 is a side view showing a configuration of a waste collection cup provided in the diaper.
FIG. 5 is a sectional view of the waste collection cup.
FIG. 6 is a perspective view of the diaper as viewed from the back.
FIG. 7 is a view for explaining a housing through hole provided in the mat.
FIG. 8 is a diagram showing a configuration of the mat.
FIG. 9 is a view for explaining a bypass tube provided on the mat.
FIG. 10 is a diagram showing a configuration of the excrement processing apparatus.
FIG. 11 is a view showing an operation panel provided on the excrement disposal apparatus main body.
FIG. 12 is a view showing a remote controller for operating the excrement disposal apparatus.
FIG. 13 is a flowchart showing a processing procedure of the excrement processing apparatus during the manual mode operation.
FIG. 14 is a flowchart showing a processing procedure of the check processing.
FIG. 15 is a flowchart showing a processing procedure of a suction step performed during the manual mode operation.
FIG. 16 is a flowchart showing a processing procedure of a cleaning step performed during the manual mode operation.
FIG. 17 is a flowchart showing a processing procedure of a drying step performed during the manual mode operation.
FIG. 18 is a flowchart showing a processing procedure of the excrement processing apparatus during the automatic mode operation.
FIG. 19 is a flowchart showing a processing procedure for injecting air into the mat.
[Explanation of symbols]
1 Excrement disposal system
3 users
10 mat
12 diapers
14 Excrement disposal device
130a, 130b, 130c Cleaning nozzle
148, 149 water pipe
140-146, 150-162 Air tube
200 excretion tank
201 Weight sensor
205 air compressor
210 Wash water tank
211 Hot water heater
212 Thermistor
213 Float sensor
215 Water pump
219 Hot air heater
229 Air tank
230 vacuum tank
302 Remote Controller

Claims (6)

使用者の股間にあてがわれる汚物収集カップを備えたオムツと、前記エアコンプレッサから吹出された空気を除臭殺菌して前記汚物収集カップ内へと吹き込み、排泄タンク内の空気をエアコンプレッサで吸引して負圧にし、使用者の腰臀部を包囲するオムツ内に排泄された排泄物を排泄タンク内へ吸引する排泄物処理装置とを備える排泄物処理システムにおいて、
前記エアコンプレッサの吸込口側へ真空タンクを設け、前記エアコンプレッサの吹出口側へ空気タンクを設け、前記真空タンクの前記排泄タンク側へ第1二方弁を設け、前記空気タンクのオムツ側へ第2二方弁を備えたことを特徴とする排泄物処理システム。
A diaper equipped with a waste collection cup applied to a user's crotch, and air blown out of the air compressor is deodorized and sterilized and blown into the waste collection cup, and air in a waste tank is sucked by an air compressor. A negative pressure, and a waste treatment system comprising: a waste treatment device that sucks the waste discharged in a diaper surrounding the hips of the user into a waste container.
A vacuum tank is provided on the suction port side of the air compressor, an air tank is provided on the air outlet side of the air compressor, a first two-way valve is provided on the excretion tank side of the vacuum tank, and a diaper side of the air tank is provided. An excrement disposal system comprising a second two-way valve.
前記空気タンクは、前記真空タンクよりも容積の小さいタンクとしたことを特徴とする請求項1に記載の排泄物処理システム。The excrement disposal system according to claim 1, wherein the air tank is a tank having a smaller volume than the vacuum tank. 前記第1二方弁および前記第2二方弁は、同時に開動作させるものとしたことを特徴とする請求項1または2に記載の排泄物処理システム。The excrement disposal system according to claim 1, wherein the first two-way valve and the second two-way valve are simultaneously opened. 使用者の股間にあてがわれる汚物収集カップを備えたオムツに接続され、前記エアコンプレッサから吹出された空気を除臭殺菌して前記汚物収集カップ内へと吹き込み、排泄タンク内の空気をエアコンプレッサで吸引して負圧にし、使用者の腰臀部を包囲するオムツ内に排泄された排泄物を排泄タンク内へ吸引する排泄物処理装置において、
前記エアコンプレッサの吸込口側へ真空タンクを設け、前記エアコンプレッサの吹出口側へ空気タンクを設け、前記真空タンクの前記排泄タンク側へ第1二方弁を設け、前記空気タンクのオムツ側へ第2二方弁を備えたことを特徴とする排泄物処理装置。
Connected to a diaper provided with a waste collection cup applied to a user's crotch, deodorized and sterilized air blown out from the air compressor, blows the air into the waste collection cup, and removes air in the waste tank from the air compressor. In the excrement processing device for sucking the excrement excreted in the diaper surrounding the waist buttocks of the user into the excretion tank,
A vacuum tank is provided on the suction port side of the air compressor, an air tank is provided on the air outlet side of the air compressor, a first two-way valve is provided on the excretion tank side of the vacuum tank, and a diaper side of the air tank is provided. An excrement disposal device comprising a second two-way valve.
前記空気タンクは、前記真空タンクよりも容積の小さいタンクとしたことを特徴とする請求項4に記載の排泄物処理装置。The excrement disposal device according to claim 4, wherein the air tank is a tank having a smaller volume than the vacuum tank. 前記第1二方弁および前記第2二方弁は、同時に開動作させるものとしたことを特徴とする請求項4または5に記載の排泄物処理装置。The excrement disposal device according to claim 4 or 5, wherein the first two-way valve and the second two-way valve are simultaneously opened.
JP2003107726A 2003-04-11 2003-04-11 Excrement treating system and apparatus Pending JP2004313245A (en)

Priority Applications (1)

Application Number Priority Date Filing Date Title
JP2003107726A JP2004313245A (en) 2003-04-11 2003-04-11 Excrement treating system and apparatus

Applications Claiming Priority (1)

Application Number Priority Date Filing Date Title
JP2003107726A JP2004313245A (en) 2003-04-11 2003-04-11 Excrement treating system and apparatus

Publications (1)

Publication Number Publication Date
JP2004313245A true JP2004313245A (en) 2004-11-11

Family

ID=33469481

Family Applications (1)

Application Number Title Priority Date Filing Date
JP2003107726A Pending JP2004313245A (en) 2003-04-11 2003-04-11 Excrement treating system and apparatus

Country Status (1)

Country Link
JP (1) JP2004313245A (en)

Cited By (3)

* Cited by examiner, † Cited by third party
Publication number Priority date Publication date Assignee Title
JP2007301013A (en) * 2006-05-09 2007-11-22 Fujii Yozo Automatic excrement disposal apparatus
KR100897541B1 (en) 2007-09-11 2009-05-15 라니쎄인트웰 주식회사 Control method and device for excretion treatment of automatic excreta processor
KR100897540B1 (en) * 2007-09-11 2009-05-15 라니쎄인트웰 주식회사 Control method and device for excretion treatment of automatic excreta processor

Cited By (3)

* Cited by examiner, † Cited by third party
Publication number Priority date Publication date Assignee Title
JP2007301013A (en) * 2006-05-09 2007-11-22 Fujii Yozo Automatic excrement disposal apparatus
KR100897541B1 (en) 2007-09-11 2009-05-15 라니쎄인트웰 주식회사 Control method and device for excretion treatment of automatic excreta processor
KR100897540B1 (en) * 2007-09-11 2009-05-15 라니쎄인트웰 주식회사 Control method and device for excretion treatment of automatic excreta processor

Similar Documents

Publication Publication Date Title
JP4065002B2 (en) Automatic defecation processing device
KR20130140136A (en) Processing equipment of excretory substances and the method
JP2009039405A (en) Diaper for care and mat for care
KR101072842B1 (en) Apparatus for treating patient&#39;s urine and feces automatically
JPWO2005041829A1 (en) Excrement disposal device
JP4663747B2 (en) Excrement disposal device
JP4643523B2 (en) Automatic defecation processing device
JP4119462B2 (en) Automatic defecation processing device
JP4841117B2 (en) Excrement disposal system and diaper
JP2004321399A (en) Excrement treatment system and apparatus, and diaper
JP2004313245A (en) Excrement treating system and apparatus
JP4345990B1 (en) Excretion processing diaper with automatic cleaning device
JP2004313246A (en) Excrement treating system and apparatus
JP4141268B2 (en) Excrement disposal device
JP4116652B2 (en) Automatic defecation processing device
JP3401482B2 (en) Excrement collection device worn on the body
JP2006000288A (en) Excrement treating system and diaper
JP2004324773A (en) Selector valve, and excrement treatment system equipped with the same
JP2008036018A (en) User-worn device and automatic excretion disposal apparatus
JP2004321440A (en) Gas-liquid separator and excrement treatment system provided with the same
KR100795149B1 (en) Automatic feces processing device
JP4476052B2 (en) Excrement disposal system and diaper
JP5022634B2 (en) Nursing mat
KR100829525B1 (en) Automatic defecation processing device
JP2004173935A (en) Excreta disposal system

Legal Events

Date Code Title Description
RD01 Notification of change of attorney

Effective date: 20051227

Free format text: JAPANESE INTERMEDIATE CODE: A7421