JP2004285577A - 組み立て家屋 - Google Patents
組み立て家屋 Download PDFInfo
- Publication number
- JP2004285577A JP2004285577A JP2003075788A JP2003075788A JP2004285577A JP 2004285577 A JP2004285577 A JP 2004285577A JP 2003075788 A JP2003075788 A JP 2003075788A JP 2003075788 A JP2003075788 A JP 2003075788A JP 2004285577 A JP2004285577 A JP 2004285577A
- Authority
- JP
- Japan
- Prior art keywords
- roof
- frame
- metal
- partial
- floor
- Prior art date
- Legal status (The legal status is an assumption and is not a legal conclusion. Google has not performed a legal analysis and makes no representation as to the accuracy of the status listed.)
- Pending
Links
- 239000000463 material Substances 0.000 claims abstract description 107
- 230000008878 coupling Effects 0.000 claims abstract description 38
- 238000010168 coupling process Methods 0.000 claims abstract description 38
- 238000005859 coupling reaction Methods 0.000 claims abstract description 38
- 239000002184 metal Substances 0.000 claims description 100
- 229910052751 metal Inorganic materials 0.000 claims description 100
- 239000002023 wood Substances 0.000 claims description 23
- 230000003014 reinforcing effect Effects 0.000 claims description 12
- 239000012779 reinforcing material Substances 0.000 claims 1
- 238000010276 construction Methods 0.000 abstract description 15
- 239000000470 constituent Substances 0.000 description 11
- 230000002787 reinforcement Effects 0.000 description 10
- 238000009408 flooring Methods 0.000 description 7
- 238000003780 insertion Methods 0.000 description 7
- 230000037431 insertion Effects 0.000 description 7
- 238000003466 welding Methods 0.000 description 7
- 238000010079 rubber tapping Methods 0.000 description 6
- 238000003825 pressing Methods 0.000 description 3
- 241000272525 Anas platyrhynchos Species 0.000 description 2
- XEEYBQQBJWHFJM-UHFFFAOYSA-N Iron Chemical compound [Fe] XEEYBQQBJWHFJM-UHFFFAOYSA-N 0.000 description 2
- 238000009434 installation Methods 0.000 description 2
- 238000004519 manufacturing process Methods 0.000 description 2
- 230000000149 penetrating effect Effects 0.000 description 2
- 239000003566 sealing material Substances 0.000 description 2
- 229920003002 synthetic resin Polymers 0.000 description 2
- 239000000057 synthetic resin Substances 0.000 description 2
- 235000017166 Bambusa arundinacea Nutrition 0.000 description 1
- 235000017491 Bambusa tulda Nutrition 0.000 description 1
- 241001330002 Bambuseae Species 0.000 description 1
- RYGMFSIKBFXOCR-UHFFFAOYSA-N Copper Chemical compound [Cu] RYGMFSIKBFXOCR-UHFFFAOYSA-N 0.000 description 1
- 235000015334 Phyllostachys viridis Nutrition 0.000 description 1
- 108010001267 Protein Subunits Proteins 0.000 description 1
- 229910000831 Steel Inorganic materials 0.000 description 1
- 239000011425 bamboo Substances 0.000 description 1
- 238000005452 bending Methods 0.000 description 1
- 238000005260 corrosion Methods 0.000 description 1
- 230000007797 corrosion Effects 0.000 description 1
- 238000010586 diagram Methods 0.000 description 1
- 230000000694 effects Effects 0.000 description 1
- 238000009413 insulation Methods 0.000 description 1
- 230000002452 interceptive effect Effects 0.000 description 1
- 229910052742 iron Inorganic materials 0.000 description 1
- 238000005304 joining Methods 0.000 description 1
- 238000000034 method Methods 0.000 description 1
- 239000011120 plywood Substances 0.000 description 1
- 239000010959 steel Substances 0.000 description 1
- 239000000725 suspension Substances 0.000 description 1
- 238000009423 ventilation Methods 0.000 description 1
Images
Landscapes
- Working Measures On Existing Buildindgs (AREA)
Abstract
【課題】工場から建築現場への搬送、建築後の他の移築場所への搬送等を容易にできると共に、その建築又は移築に際しての組み立て、分解を容易にできるようにする。
【解決手段】複数の部分ユニット3をその一側面で結合して組み立てる組み立て家屋であって、一体構造の金属製骨格体4に屋根5、床材6及び壁材7,8が装着され且つ結合側に開口部9が設けられた部分ユニット3と、金属製骨格体4の支柱10,11に固設され且つ屋根5から上側に突出する複数の吊り具12,13と、隣接する部分ユニット3の金属製骨格体4同士を開口部9側で着脱自在に結合する結合手段14〜16とを備えている。
【選択図】 図4
【解決手段】複数の部分ユニット3をその一側面で結合して組み立てる組み立て家屋であって、一体構造の金属製骨格体4に屋根5、床材6及び壁材7,8が装着され且つ結合側に開口部9が設けられた部分ユニット3と、金属製骨格体4の支柱10,11に固設され且つ屋根5から上側に突出する複数の吊り具12,13と、隣接する部分ユニット3の金属製骨格体4同士を開口部9側で着脱自在に結合する結合手段14〜16とを備えている。
【選択図】 図4
Description
【0001】
【発明の属する技術分野】
本発明は、建設現場事務所、バンガロー、別荘その他に使用する可搬式の組み立て家屋に関するものである。
【0002】
【従来の技術】
別荘、その他の目的で使用する組み立て家屋には、従来、例えば特許文献1に記載のようなものがある。この組み立て家屋は、全体を1階部分ユニットと屋根ユニットとその他の部材とに分割すると共に、1階部分ユニットを木造構造の2個の部分ユニットに分割する。そして、2個の部分ユニットの内装、設備機器類の他、室内のインテリア、家具、電化製品までを含めて、1階部分ユニット、屋根ユニット等の夫々を工場生産により予め製作しておく。
【0003】
建築時の施工に際しては、1階部分ユニットを構成する2個の部分ユニット、屋根ユニット等の夫々をトラック等により建築現場に搬入し、建築現場の基礎上に2個の部分ユニットを据え付けて結合することにより1階部分ユニットを組み立て、この1階部分ユニットの上に屋根ユニットを取り付けた後、その他の部材を取り付けて1個の家屋を仕上げる。
【0004】
【特許文献1】
特開2002−242309号公報
【0005】
【発明が解決しようとする課題】
この組み立て家屋は、1階部分ユニットを構成する2個の部分ユニットをその内装、設備機器類の他、室内のインテリア、家具、電化製品までを含めて構成しておくため、建築現場で1階部分ユニットの2個の部分ユニットを結合し、その上に屋根ユニットを取り付ければ良く、組み立て後の内装、設備機器類の施工、更にはその後のインテリア、家具、電化製品等の施工が不要になるという利点がある。
【0006】
しかし、従来の組み立て家屋は、特定の建築現場の基礎上に据え付けて建築すれば、その場所で半永久的に使用することを前提としたものであって、その後に他の場所に移築するようにはなっていない。
【0007】
また従来の1階部分ユニットは、各部分ユニットに必要な全ての機器類等を組み込んでおり、各部分ユニットの重量が重たくなるにも拘わらず、主要構造材に木材を使用した木造構造であって、強度的に弱く、しかも吊り具等を備え難い構造であるため、仮に一旦建築した後に他の場所に移築するとしても、その移築が非常に困難である。
【0008】
本発明は、このような従来の問題点に鑑み、工場から建築現場への搬送、建築後の他の移築場所への搬送等を容易にできると共に、その建築又は移築に際しての組み立て、分解を容易にできる組み立て家屋を提供することを目的とする。
【0009】
【課題を解決するための手段】
本発明は、複数の部分ユニット3をその一側面で結合して組み立てる組み立て家屋において、一体構造の金属製骨格体4に屋根5、床材6及び壁材7,8が装着され且つ結合側に開口部9が設けられた前記部分ユニット3と、前記金属製骨格体4の支柱10,11に固設され且つ前記屋根5から上側に突出する複数の吊り具12,13と、隣接する前記部分ユニット3の前記金属製骨格体4同士を開口部9側で着脱自在に結合する結合手段14〜16とを備えたものである。
【0010】
この組み立て家屋は、前記金属製骨格体4の前記開口部9側が前記屋根5、前記床材6及び前記壁材7,8の端縁よりも相手側に突出する一対の前記部分ユニット3を備え、該両部分ユニット3の前記屋根5に跨がってその棟の略全長に着脱自在に装着された笠木材19と、前記両部分ユニット3の前記床材6間に着脱自在に装着され且つ前記金属製骨格体4の突出部分を覆う中間床材20と、前記両部分ユニット3の前記壁材7,8に跨がって着脱自在に装着され且つ前記金属製骨格体4の突出部分を覆う化粧柱21,22とを備えたものでも良い。
【0011】
また前記両部分ユニット3の前記金属製骨格体4の屋根枠体24側を結合する横方向に1又は複数の上部結合手段14と、前記金属製骨格体4の床枠体23側を結合する1又は複数の下部結合手段15と、前記金属製骨格体4の支柱10,11側を結合する1又は複数の側部結合手段16とを夫々設け、前記上部結合手段14を一方の構成部材35に対して他方の構成部材72及び/又は屋根枠体24が上下方向に嵌脱自在に嵌合する嵌合型とし、前記下部結合手段15及び/又は前記側部結合手段16を一方の構成部材に対して他方の構成部材が上下又は水平方向に対向する対向型とすることが望ましい。
【0012】
更に前記支柱10,11の内外両側に内壁材7、外壁材8を装着し、一方の前記金属製骨格体4の前記開口部9側の前記支柱11に、その前記内壁材7からの突出部分の内側に内固定手段66を設け、他方の前記金属製骨格体4の前記開口部9側の前記支柱11に、その前記外壁材8からの突出部分の外側に外固定手段67と前記側部結合手段16とを設け、前記支柱11を内側から覆う内化粧柱21を前記内固定手段66により前記両部分ユニット3の前記両内壁材7に跨がって着脱自在に固定し、前記支柱11及び前記側部結合手段16を外側から覆う外化粧柱22を前記外固定手段67により前記両部分ユニット3の前記両外壁材8に跨がって着脱自在に固定しても良い。
【0013】
前記屋根5はその略全体にわたる金属シート45と、該金属シート45の下側に設けられた防水シート46と、前記金属シート45の下側に横方向に所定間隔をおいて配置された複数の垂木47と、前記金属シート45の上側に配置された屋根板53とを備え、前記金属シート45は前記各垂木47に上側から嵌合する複数の凹部48と、該凹部48間に形成された複数の溝部49とを備えていることが望ましい。
【0014】
また前記金属製骨格体4は略水平に配置された矩形状の床枠体23と、傾斜状に配置された矩形状の屋根枠体24と、前記床枠体23及び前記屋根枠体24をその少なくとも四隅で上下に連結する前記支柱10,11と、短い前記支柱10の上端側と隣接する長い前記支柱11とを略水平方向に連結する側枠材25と、前記開口部9の両側の長い前記支柱11を前記側枠材25と略同高さ位置又は前記側枠材25よりも高い位置で略水平方向に連結する鴨居枠材26とを含み、前記吊り具12,13を前記支柱10,11の外側面に固着し、前記屋根枠体24の棟側の横枠材29と前記鴨居枠材26との間に、前記金属製骨格体4の前記開口部9側を補強する複数の補強材33,34を設けることが望ましい。
【0015】
【発明の実施の形態】
以下、本発明の実施形態を図面に基づいて詳述する。図1〜図16は建築現場事務所、バンガロー、別荘その他に使用する可搬式の1室型の組み立て家屋の第1の実施形態を例示する。
【0016】
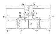
この組み立て家屋1は、図1及び図2に示すように、例えば木製その他のデッキ等の基礎2上に2個(複数)の部分ユニット3を据え付けて、その両部分ユニット3を一側面で結合することにより組み立てられている。各部分ユニット3は、例えば図16に示すようにトラックaの荷台等に積載して搬送できる程度の大きさであって、図3に示すように溶接等で一体化された一体構造の金属製骨格体4に、図4に示すように屋根5、床材6、内壁材7及び外壁材8が装着され、その一側の結合側に開口部9が構成されている。
【0017】
また部分ユニット3は、金属製骨格体4の少なくとも四隅の支柱10,11に固設され且つ屋根5から上側に突出する吊り具12,13と、隣接する両部分ユニット3の金属製骨格体4同士を開口部9側で突き合わせた後に、その状態で金属製骨格体4の開口部9側同士を着脱自在に結合する上部結合手段14、下部結合手段15及び側部結合手段16とを備えている。なお、部分ユニット3の一方又は両方に窓、出入口用のドアー17,18等が設けられている。
【0018】
各部分ユニット3の金属製骨格体4の開口部9側は、図4に示すようにその開口部9側が屋根5、床材6、内壁材7及び外壁材8の開口部9側の端縁よりも相手側に突出している。そして、組み立て状態では、両部分ユニット3の屋根5に、その隙間を覆う笠木材19が両棟に跨がって横方向の全長に着脱自在に装着され、また床材6間に金属製骨格体4の床側の突出部分を覆う中間床材20が横方向の全長に着脱自在に装着され、更に壁材7,8間に金属製骨格体4の壁側の突出部分を内外両側から覆う化粧柱21,22が、両部分ユニット3の内外壁材7,8に跨がって上下方向の全長に着脱自在に装着されている。
【0019】
笠木材19は横方向の両端部が屋根5より若干突出する長さを有する丸太等の適宜木材により構成されている。この笠木材19には、図6、図7に示すように、その下側の両端部を除く中間部分に各屋根5の棟側に対応する切欠き部19aが形成されている。そして、この笠木材19は、その切欠き部19aが各部分ユニット3の屋根5上に当接するように、両屋根5に跨がって棟上に載置されている。
【0020】
また笠木材19には、各吊り具13に対応する箇所に、その吊り具13が下側から干渉しないように嵌合する凹部19bが形成され、屋根5に載置したときに笠木材19で吊り具13を上側から覆うようになっている。なお、笠木材19は屋根5上に載置するのみでも良いし、釘等の固定手段、又は銅線等の締結手段で屋根5に着脱自在に固定しても良い。
【0021】
金属製骨格体4は、図3に示すように、略水平に配置され且つ基礎2上に設置された矩形状の床枠体23と、屋根5の傾斜に沿って傾斜状に配置された矩形状の屋根枠体24と、床枠体23及び屋根枠体24をその四隅で上下に連結する軒側の短い短支柱10及び開口部9側(棟側)の長い長支柱11と、短支柱10の上端側と隣接する長支柱11とを略水平方向に連結する側枠材25と、開口部9の両側の長支柱11を側枠材25と略同高さで略水平方向に連結する鴨居枠材26とを含み、金属製の角パイプ材等を溶接等により接合して構成されている。なお、鴨居枠材26は側枠材25よりも若干高い位置に配置しても良い。
【0022】
床枠体23は、内外両側(棟側及び開口部9側)に横方向に配置された一対の長い横枠材27と、この一対の横枠材27の長手方向(横方向)の両端間に縦方向に配置された一対の縦枠材28とを溶接等により接合して矩形状に構成され、その四隅の上側に各支柱10,11の下端が溶接等により固定されている。
【0023】
屋根枠体24は、内外両側(棟側及び開口部9側)に横方向に配置された一対の横枠材29と、一対の横枠材29の長手方向(横方向)の両端部間に傾斜方向に配置された一対の傾斜枠材30と、一対の傾斜枠材30間で一対の横枠材29間に跨がって配置された1個又は複数の傾斜枠材31とを溶接等により接合して構成され、その四隅に各支柱10,11の上端が溶接等により固定されている。なお、各傾斜枠材30,31は横方向に略等間隔をおいて配置されている。両端の傾斜枠材30は、短支柱10側では側枠材25の上側に溶接等で固定されている。
【0024】
屋根枠体24の開口部9側の横枠材29と鴨居枠材26との間には、その長手方向に所定間隔をおいて上下方向に配置された複数の上下補強材33と、その上下補強材33間又は上下補強材33及び長支柱11間に斜め方向に配置された複数の斜め補強材34とが左右略対称に設けられ、これらの補強材33,34によって金属製骨格体4の開口部9側がその上部側で補強されている。
【0025】
補強材33,34には棒鋼等が使用されており、その上下補強材33は開口部9側の横枠材29と鴨居枠材26とに溶接され、また斜め補強材34は横方向の中央側が下になるように隣接する一対の上下補強材33間、隣接する上下補強材33及び長支柱11間に斜め方向に配置されている。なお、金属製骨格体4の開口部9側の補強は、上下補強材33、斜め補強材34による補強構造以外のものでしても良い。
【0026】
上部結合手段14は両金属製骨格体4の屋根枠体24側を結合するためのもので、図7に示すように、一方の屋根枠体24の横枠材29の下側に固定され且つ他方の屋根枠体24の横枠材29が上側から上下方向に嵌脱自在に嵌合する嵌合受け具35と、この嵌合受け具35に螺合され且つ嵌合受け具35に嵌合した他方の屋根枠体24の横枠材29を一方の横枠材29側に押圧する押圧ボルト36とを備えた嵌合型になっている。嵌合受け具35は上部結合手段14の構成部材であって、この嵌合受け具35に他方の金属製骨格体4の屋根枠体24の横枠材29が嵌合するようになっている。
【0027】
下部結合手段15は両金属製骨格体4の床枠体23側を結合するためのもので、図8、図9に示すように、他方の床枠体23の開口部9側の横枠材27の上側に固定され且つ一方の床枠体23の開口部9側の横枠材27の上側面に突出して横枠材27に対し上下方向に対向する当接板37と、この当接板37から一方の床枠体23の横枠材27に対して着脱自在に螺合するタッピングネジ38とを備えた対向型となっている。当接板37は下部結合手段15の構成部材であって、この当接板に他方の床枠体23の横枠材27が下側から対向するようになっている。
【0028】
なお、上部結合手段14、下部結合手段15は横方向に所定の間隔をおいてその両端部近傍に2個(複数)設けられているが、横方向の中間に1個又は複数個追加しても良い。また上部結合手段14は、横方向の略中央に1個設けても良い。
【0029】
側部結合手段16は両金属製骨格体4の支柱11を結合するためのもので、図8、図9に示すように、両金属製骨格体4の長支柱11における外壁材8からの突出部分に、側枠材25及び床枠体23の近傍に2個(複数)設けられている。この側部結合手段16は、各長支柱11から外側に突出し且つ縦方向(水平方向)に対向して当接又は近接する2個の固定板39と、2個の固定板39の挿通孔に縦方向に挿通されるボルト40と、ボルト40に螺合するナット41とを備えた対向型となっている。なお、何れか一方の固定板39に挿通孔に替えてネジ孔又はナットを設けても良い。また側部結合手段16は1個でも良い。
【0030】
下側の側部結合手段16の上側又は下側の近傍には、図8、図9に示すように、一方の部分ユニット3を設置した後、それに合わせて他方の部分ユニット3の位置を調整するための位置調整手段42が設けられている。この位置調整手段42は両金属製骨格体4の長支柱11における外壁材8からの突出部分から外側に突出し且つ縦方向に対向して当接又は近接する2個の調整板43を備え、この両調整板43の貫通孔にコッター等の挿通部材を縦方向に挿通することにより、側部結合手段16の固定板39相互の挿通孔を一致させるようになっている。なお、この各長支柱11の調整板43は、搬送時にロープ等を掛けて部分ユニット3をトラックa等の荷台に固定するためにも利用可能である。
【0031】
屋根5は金属製骨格体4の屋根枠体24の上側に設けられており、図4〜図7、図10、図11に示すように、その略全体に設けられた薄鉄板等の金属シート45と、金属シート45の下側に設けられた防水シート46と、横方向に所定間隔をおいて配置された複数の垂木47と、金属シート45の上側に配置された屋根板53とを備え、金属シート45は各垂木47が下側から嵌合する複数の凹部48と、隣接する垂木47間に形成された排水用の複数の溝部49とを備えている。
【0032】
即ち、屋根5は、屋根枠体24の傾斜枠材30,31上に傾斜方向に略等間隔をおいて横方向に配置された複数の横桟50と、複数の横桟50に跨がってその上に横方向に略隙間なく配置された天井兼用の傾斜方向の下地板51と、下地板51の上に略全体に張られた防水シート46と、防水シート46上に横方向に略等間隔をおいて傾斜方向に配置された複数の垂木47と、垂木47の上側に張られた金属シート45と、金属シート45上に傾斜方向に略等間隔をおいて横方向に配置された複数の横桟52と、複数の横桟52に跨がってその上に横方向に略隙間なく配置された複数の傾斜方向の屋根板53と、各屋根板53の継ぎ目部分を覆う断面半円状の複数の継ぎ目カバー54等を備えている。
【0033】
棟側と軒先側の横桟50は、下地板51と横枠材29との間に隙間ができないように、横枠材29に近接して配置されている。防水シート46は、金属シート45の下側であれば良く、金属シート45に沿って垂木47の上側に設けても良い。
【0034】
屋根5の横方向の両端は屋根枠体24から横方向に突出しており、また屋根板53は屋根枠体24から軒先側に突出し、その軒先の下側に端隠し材55が横方向に取り付けられている。横桟50は傾斜枠材30,31上に、下地板51は横桟50に、垂木47は下地板51を介して横桟50に、横桟52は垂木47に、屋根板53は横桟52に、継ぎ目カバー54は屋根板53を介して横桟52に夫々釘、タッピングネジ等により固定されている。
【0035】
短支柱10及び長支柱11の外側面には、図5、図6に示すように吊り具12,13が溶接等で固着されると共に、屋根5の下地板51、防水シート46、金属シート45、屋根板53等を貫通して上側に突出している。この吊り具12,13は、部分ユニット3の搬送時にロープ等を掛け得る構造のものであれば十分であり、この実施形態では屋根5よりも上側に孔、切欠き等の引っ掛け部が形成された板材を使用しているが、その他にフック状のもの、逆U字状のもの等を使用することも可能である。なお、吊り具12の屋根5の貫通部分はシール材によりシールされている。吊り具13の屋根5の貫通部分は笠木材19で覆われているが、シール材によりシールしても良い。
【0036】
内壁材7、外壁材8は、図4、図12〜図15に示すように多数の水平方向(横方向及び縦方向)の帯板材により構成されている。そして、内壁材7は隙間ができないように上下方向に突き合わせて略連続状に多数配置され、各支柱10,11の側面に釘、タッピングネジ等で固定された桟材56、隣接する支柱間で屋根枠体24と床枠体23との間に固定された上下方向の桟材56aに釘等で固定されている。また外壁材8は隙間ができないように順次鎧状に重ね合わせて略連続して多数配置され、内壁材7と同様に桟材56等に釘等で固定されている。
【0037】
各部分ユニット3の軒側の隅部には、図12、図14、図15に示すようにその短支柱10及び外壁材8の端部を覆う上下方向の隅化粧柱57が、隣接する二辺の外壁材8の端部に跨がって設けられている。隅化粧柱57には短支柱10及び外壁材8の端部に対応する切欠き部58が形成された丸太が使用され、この隅化粧柱57はその切欠き部58を短支柱10及び外壁材8の端部に対応させた状態で、タッピングネジ59又は釘により短支柱10に、釘60により外壁材8を介して桟材56に夫々固定されている。
【0038】
短支柱10の下部側には、図14、図15に示すように外側に突出する固定用金具61が固定され、また隅化粧柱57に、その固定用金具61を外側に挿通する孔62が形成されている。固定金具61は、部分ユニット3の搬送時にトラックaの荷台に固定する際、又は建築時に部分ユニット3をデッキ等に固定する際に、ロープ等の固定索61aを掛けるためのものである。
【0039】
床材6は、横方向の多数の帯板材により構成されている。そして、床材6は 図12、図13に示すように端面同士を突き合わせて略連続状に配置されており、各床材6は床枠体23の一対の縦枠材28間に、一対の横枠材29に跨がって配置された縦方向の複数の桟材62b等に釘等で固定されている。
【0040】
鴨居枠材26の下側面には、図4、図7に示すように、鴨居枠材26を覆う板材63が釘等で取り付けられ、また鴨居枠材26及び屋根枠体24の開口部9側の横枠材29の開口端と反対側には、鴨居枠材26、横枠材29及び長支柱11等に固定された桟材64a,64b等に、横方向の複数の板材64を上下方向に突き合わせて釘等で固定されている。従って、鴨居枠材26、横枠材29及びその中間部分は、内部側に露出しないように板材63,64により覆われている。その他の金属製骨格体4の構成部分は、例えば図12に屋根枠体24の傾斜枠材31を示すように板材65により覆われており、室内外から見えないようになっている。屋根枠体24の両端の傾斜枠材30と側枠材25との間には、その部分を塞ぐ合成樹脂製の透明板、半透明板等の閉塞板68が装着されている。
【0041】
各部分ユニット3の金属製骨格体4は、その開口部9側が床材6及び壁材7,8の開口部9側の端縁よりも相手側に突出しており、各部分ユニット3の金属製骨格体4の開口部9側の対向端面同士を突き合わせた状態でも、その各部分ユニット3の床材6間、内壁材7間、及び外壁材8間で床枠体23の内側の横枠材27、長支柱11等の一部が露出している。
【0042】
なお、金属製骨格体4の開口部9側の端縁は屋根5、床材6、内壁材7及び外壁材8の端縁よりも突出しているが、その屋根枠体24の屋根5に対する突出量は、両部分ユニット3の組み立て時に相手側の金属製骨格体4が屋根5と干渉しない程度であって、他の部分の床材6、内壁材7及び外壁材8からの突出量に比較して小さくなっている。
【0043】
中間床材20は、両部分ユニット3を結合した後に、その両部分ユニット3の床材6間に嵌め込んで、床枠体23の横枠材27を上側から覆うためのものであり、この中間床材20には、図8、図13に示すように、下部結合手段15に対応する切欠き部20aが形成されている。
【0044】
内化粧柱21及び外化粧柱22は、両部分ユニット3を結合した後に、両部分ユニット3の内壁材7間、外壁材8間に夫々装着して長支柱11を覆うためのものであって、図8、図12、図13に示すように、各金属製骨格体4の長支柱11に対して固定手段66,67により着脱自在に固定されている。内固定手段66と外固定手段67は上下方向に所定間隔をおいて3個(複数)あり、2個の部分ユニット3の長支柱11の夫々に分けて反対側に設けられている。
【0045】
即ち、一方側の部分ユニット3の長支柱11には、内壁材7から突出する突出部分の内側に内固定手段66が、他方の部分ユニット3の長支柱11には、外壁材8から突出する突出部分の外側に外固定手段67が夫々設けられている。この各固定手段66,67は、長支柱11の開口端側に固定されたボルト66a,67aと、ボルト66a,67aに螺合するナット66b,67bとを備えている。
【0046】
内化粧柱21は、図8、図12に示すように両部分ユニット3の床材6と鴨居枠材26との間の長支柱11を内側から覆い、内固定手段66のボルト66aとナット66bとにより両部分ユニット3の両内壁材7の端部に跨がって着脱自在に固定されている。外化粧柱22は図8、図12に示すように両部分ユニット3の屋根枠体24と床枠体23との間の長支柱11、吊り具12,13の下部、側部結合手段16、位置調整手段42を外側から覆い、外固定手段67のボルト67aとナット67bとにより両部分ユニット3の両外壁材8の端部に跨がって着脱自在に固定されている。内化粧柱21、外化粧柱22は半割り状に形成された丸太等により構成され、ボルト66a,67a用の挿通孔21a,22aが形成されている。
【0047】
なお、床枠体23、屋根枠体24及び支柱10,11等の金属製骨格体4のほか、屋根5の金属シート45、吊り具12,13、結合手段14〜16、固定手段66,67、位置調整手段42、固定金具61は金属製、閉塞板68は合成樹脂製、継ぎ目カバー54は竹製である。その他の各構成部材は木材からなり、またその木材には間伐材が使用されている。しかし、他の材料を使用しても良い。また内壁材7、外壁材8の横方向の中間、窓の両側、出入口の両側等の所要箇所には、半割り状の丸太等からなる化粧柱70が内外に対応してタッピングネジ、釘等により固定されている。
【0048】
上記構成の組み立て家屋1は、工場生産により部分ユニット3毎に製作しておく。そして、建築する際には、各部分ユニット3をトラック等により建築現場へと搬送して、その建築現場の基礎2上で2個の部分ユニット3を結合して組み立てる。
【0049】
部分ユニット3をトラックaに積み込み、またトラックaから降ろして組み立てる場合には、図16に示すように屋根5から突出する四隅の吊り具12,13にロープb等を掛けて、クレーンcで吊る。このように屋根5から上側に突出する吊り具12,13を予め設けておくことにより、部分ユニット3の移動等を容易に行うことができる。また部分ユニット3は一体化された金属製骨格体4に屋根5、床材6、内壁材7、外壁材8等を装着しているので、屋根5、床材6、内壁材7、外壁材8が木造等であっても、金属製骨格体4の強度を確保できる。
【0050】
しかも、金属製骨格体4の四隅に吊り具12,13を設けているため、部分ユニット3側の重量を金属製骨格体4を介して支持でき、部分ユニット3の歪み等を極力少なくできる。特に部分ユニット3は一側が開口部9により開口状になっているが、その開口部9側の上部を補強材33,34により補強しているので、金属製骨格体4の開口部9側の歪み等も少なくできる。
【0051】
なお、部分ユニット3をトラックaの荷台上で固定する必要があれば、軒先側の一対の固定金具61と、開口部9側の調整板43とにロープを掛けて固定すれば良い。
【0052】
建築現場で組み立てる場合には、次のように行う。図16に示すように、先ず一方の部分ユニット3を基礎2上の所定位置に据え付ける。そして、次に他方の部分ユニット3を吊り下げた状態で、この他方の部分ユニット3の開口部9側を一方の部分ユニット3の開口部9側に合わせながら他方の部分ユニット3を徐々に降ろし、両部分ユニット3の金属製骨格体4の開口部9側の対向端面が突き合わさるように、他方の部分ユニット3を基礎2上に据え付ける。
【0053】
この実施形態では、部分ユニット3には、上部結合手段14を備えた一方の部分ユニット3と、下部結合手段15を備えた他方の部分ユニット3との二種類がある。そこで、上部結合手段14を備えた一方の部分ユニット3を先に基礎2上に据え付けておき、次にその一方の部分ユニット3に合わせて他方の部分ユニット3を据え付ける方法を採る必要がある。
【0054】
他方の部分ユニット3の屋根枠体24の横枠材29を上部結合手段14の嵌合受け具35に嵌合させる場合には、他方の部分ユニット3をクレーンc等で吊り下げた状態で、その横方向の位置を一方の部分ユニット3に合わせた後、他方の部分ユニット3を一方の部分ユニット3側へと移動させて、両者の金属製骨格体4の対向端面側を近接又は当接させる。
【0055】
この場合、屋根枠体24の横枠材29が嵌合受け具35の若干上側となる高さに他方の部分ユニット3を保っておけば、この他方の部分ユニット3の接近によって、嵌合受け具35が相対的に一方の部分ユニット3の横枠材29の下側に入り、両金属製骨格体4の対向端面同士が近接又は当接したときに、嵌合受け具35の上方に横枠材29が位置する。なお、他方の部分ユニット3の板材64が邪魔になる場合には、横枠材29の近傍の1〜2枚程度の板材64を取り外しておき、上部結合手段14の結合後に板材64を取り付けても良い。
【0056】
次に金属製骨格体4同士が対向端面側で摺動するように、他方の部分ユニット3を徐々に降ろして行けば、一方の部分ユニット3の金属製骨格体4をガイドとして他方の部分ユニット3の横枠材29を嵌合受け具35に円滑に嵌合させながら、この他方の部分ユニット3を基礎2上の所定位置に据え付けることができる。
【0057】
このようにして他方の部分ユニット3を据え付けると、両部分ユニット3の金属製骨格体4の対向端面同士が近接又は当接した状態となる。他方の部分ユニット3側にある下部結合手段15の結合板は、一方の部分ユニット3の床枠体23の横枠材27上に上側から当接又は近接し、また側部結合手段16の一対の固定板39は縦方向に対向するため、その後に各結合手段14〜16により両部分ユニット3の金属製骨格体4同士を結合する。
【0058】
上部結合手段14、下部結合手段15及び側部結合手段16は、何れから結合しても良いが、両部分ユニット3が横方向に多少ずれておれば、両部分ユニット3の長支柱11に固定された調整板43の貫通孔にコッター等を挿入して、両部分ユニット3を横方向に相対的に移動させる。これによって両部分ユニット3の金属製骨格体4の開口部9側が一致するため、側部結合手段16の固定板39の挿通孔が一致し、その挿通孔にボルト40を挿通し易くなる。
【0059】
そして、横方向に2個の上部結合手段14の押圧ボルト36を締め付けると、屋根枠体24の対向端面同士が、また上下に2個の側部結合手段16のボルト40を締め付けると、長支柱11の対向端面同士が、更にその後に横方向に2個の下部結合手段15のタッピングネジ38を締め付けると、床枠体23の対向端面同士が夫々当接して、その状態で両金属製骨格体4を結合できる。
【0060】
その後、笠木材19の切欠き部19aを両部分ユニット3の屋根5の棟側に合わせて、笠木材19を両屋根5に跨がって棟側の継ぎ目部分に笠木材19を載せ、笠木材19により継ぎ目部分を覆う。これによって屋根5側を容易に仕上げることができ、屋根5の継ぎ目部分からの雨水等の浸入を確実に防止できる。また笠木材19は長手方向の中間に切欠き部19aがあるので、その切欠き部19aの両側で屋根5の継ぎ目部分を横方向の両側から覆うことができる。
【0061】
床側では両部分ユニット3の床材6間に中間床材20を嵌め込んで、両床枠体23の開口部9側の横枠材27の突出部分を上側から覆い両床材6間の隙間を塞ぐように、その中間床材20を釘等で横枠材27等に固定する。このとき中間床材20の切欠き部20aを下部結合手段15に合わせて、中間床材20が当接板37上に乗らないようにして、中間床材20を両側の床材6と略面一状にする。
【0062】
内壁側では一方の部分ユニット3側の長支柱11にある内固定手段66のボルト66aを内化粧柱21の挿通孔21aに通して、両部分ユニット3の長支柱11、内壁材7の端縁側を内側から覆うように、内化粧柱21を両部分ユニット3の内壁材7の端縁に跨がって当接し、ボルト66aに螺合するナット66bを締め付けて内化粧柱21を固定する。また外壁側でも、他方の部分ユニット3側の外固定手段67のボルト67aを利用して、同様に両部分ユニット3の長支柱11、外壁材8の端縁側を外側から覆うように、外化粧柱22を固定する。
【0063】
これによって両部分ユニット3の結合部分の内外両側に化粧柱21,22を設けることによって、壁面側の結合部分の仕舞いが容易であると共に、その結合部分にあたかも柱があるかのように仕上げることができる。また内外両側の固定手段66,67として、長支柱11にボルト66a,67aを固定しているが、両部分ユニット3の内、その一方の固定手段66のボルト66aを一方の長支柱11に、他方の固定手段67の67aボルトを他方の長支柱11に夫々設けているので、夫々の化粧柱21,22が相手側の部分ユニット3の壁材を互いに押圧し合う構造となり、化粧柱21,22と壁材7,8との間の隙間の発生等を極力防止できる。
【0064】
これによって1個の家屋1の組み立てが終了する。建築後に家屋1を別の場所に移築する場合には、逆の手順で2個の部分ユニット3とその他の笠木材19、中間床材20、内化粧柱21、外化粧柱22とに分解し、それらを別の場所まで搬送して再度組み立てれば良い。この場合の組み立て、分解等も容易にでき、しかも各部分ユニット3には吊り具12,13があるため、クレーンc等で吊り上げてトラックa等に容易に積み込むことができる。
【0065】
この実施形態では、屋根5、床材6、壁材7,8等に間伐材を使用し、笠木材19に丸太を、化粧柱21,22に丸太の半割り材を夫々使用しているため、家屋1全体をログハウス調又はそれに近い状態に仕上げることができる。また床枠体23、屋根枠体24、支柱10,11、側枠材25、鴨居枠材26等を溶接等で一体化して金属製骨格体4を構成し、この金属製骨格体4に木造構造の屋根5、床材6、壁材7,8等を装着しているため、部分ユニット3全体を軽量化できると共に、その金属製骨格体4の補強効果によって部分ユニット3全体の強度を容易に確保でき、建築現場への搬送等を容易に行うことができる。
【0066】
屋根5は天井板兼用の下地板51の上側に垂木47、防水シート46、金属シート45、横桟50,52、屋根板53等で構成しているため、主として木造構造であるにも拘わらず、それらによって防水性、断熱性を確保できる。特に雨水の多くは屋根板53上を流れるが、この屋根板53の下側には、下側から垂木47が嵌合する凹部48と、この凹部48間に形成された溝部49とを有する金属シート45があり、屋根板53を通過した雨水を金属シート45の溝部49を経て速やかに排水することができる。また屋根板53の下側には、金属シート45の溝部49によって形成された通気空間があるため、その腐食等も極力防止でき耐久性が向上する。
【0067】
図17は本発明の第2の実施形態を例示する。この実施形態では、上部結合手段14は、一方の部分ユニット3の屋根枠体24側の横枠材29の下側に固定され且つ嵌合孔71aを有する結合板71と、他方の部分ユニット3の屋根枠体24側の横枠材29の下側に下向きに固定され且つ結合板71の嵌合孔71aに上側から嵌脱自在に嵌合する突起72とを備えた嵌合型となっている。突起72は下側が細いテーパー状であって、嵌合孔71aに嵌合したときに、両部分ユニット3の金属製骨格体4の開口部9側の端面同士が略当接するようになっている。
【0068】
この実施形態に例示するように上部結合手段14には、一対の構成部材である結合板71と突起72との内、その一方の結合板71の嵌合孔71aに、他方の突起72を嵌合させるようにした構造のものを使用しても良い。勿論、この第1の実施形態、第2の実施形態に例示する構造以外のものを使用することも可能である。しかし、上部結合手段14には組み立て時の作業性の点から嵌合型のものを使用することが望ましい。
【0069】
図18は本発明の第3の実施形態を例示する。この実施形態では、下部結合手段15は、一方の部分ユニット3の床枠体23側の横枠材27の下側に固定され且つ嵌合部73aと案内部73bとを有する下結合板73を備え、その案内部73bの下側に、基礎2に当接するストッパー部73cが設けられている。
【0070】
この実施形態に例示するように下結合手段15に嵌合型のものを使用することも可能である。この場合には、案内部73bで他方の部分ユニット3の床枠体23の横枠部27を嵌合部73a側へと案内し、横枠材27が嵌合部73aに嵌合したときに、両部分ユニット3の床枠体23の対向端面が当接するようになっている。但し、上結合手段14に嵌合型のものを使用する場合には、上下の結合手段14,15の内、一方、例えば上部結合手段14側が先に嵌合するように構成しておくことが望ましい。
【0071】
図19(A)(B)は本発明の第4の実施形態を例示する。図19(A)では、2個の部分ユニット3が食い違い状に配置されている。一方の部分ユニット3には結合側の横方向の一端側に、他方の部分ユニット3には結合側の横方向の他端側に夫々開口部9が設けられ、その開口部9同士が縦方向に対向するように両部分ユニット3が配置されている。両部分ユニット3の結合部分にはその内外に内化粧柱21、外化粧柱22が夫々設けられている。
【0072】
図19(B)では横方向の一端側が縦方向に略直線上となるように、横方向の長さが長い部分ユニット3の一端側に短い部分ユニット3が結合されている。長い部分ユニット3には、その結合側の横方向の一端側に開口部9が設けられ、また短い部分ユニット3には長い部分ユニット3の開口部9に対応して開口部9が設けられている。両部分ユニット3の結合部分にはその内外に内化粧柱21、外化粧柱22が夫々設けられている。
【0073】
これらのように2個の部分ユニット3を組み合わせて1個の家屋1を建築する場合には、その部分ユニット3同士を食い違い状に配置しても良いし、横方向の長さの異なる2個の部分ユニット3を用い、その一方の部分ユニット3の横方向の一端側に、又は中央に他方の部分ユニット3を配置することも可能である。また各部分ユニット3は縦方向の長さが異なるものでも良い。
【0074】
図20(A)(B)は本発明の第5の実施形態を例示する。この実施形態では3個の部分ユニット3を結合して1個の家屋1が構成されている。両側の部分ユニット3は第1の実施形態と同様に縦方向の内側に開口部9が設けられると共に、屋根5が片側に傾斜して設けられている。中間の部分ユニット3は縦方向の両側に開口部9が設けられ、また屋根5が横方向の中間の棟から横方向の両側に傾斜して設けられている。なお、両側の部分ユニット3には、その屋根5の棟に横方向の笠木材19が、中間の部分ユニット3にはその棟に縦方向の笠木材19が夫々設けられている。
【0075】
このように3個の部分ユニット3を結合して1個の家屋1を構成することも可能である。この場合、中間の部分ユニット3の屋根5は、その両側の部分ユニット3の屋根5と同一方向に傾斜させて、その先端側を両側の部分ユニット3の屋根5に重ねることも考えられるが、中間の部分ユニット3の屋根5が高くなり過ぎて搬送が困難になる。従って、この実施形態に例示するように、中間の部分ユニット3の屋根5は両側に傾斜する切り妻式、又は片側に傾斜する片傾斜式にする等、両側の部分ユニット3の屋根5と異なる方向に傾斜させて、高さを両側の部分ユニット3の屋根5と略同じ程度にすることが望ましい。
【0076】
図21は本発明の第6の実施形態を例示する。この実施形態では両端にフックその他の係合具80を有する横方向の吊り枠81を使用し、その各係合具80を部分ユニット3の吊り具12,13に引っ掛けて、吊り枠81、吊り索82を介してクレーンcにより部分ユニット3を吊るようにしている。このように吊り枠81を使用すれば、部分ユニット3にかかる曲げ力が小さくなり、部分ユニット3の歪み等を極力少なくできる。
【0077】
以上、本発明の各実施形態を例示したが、本発明はこれらに限定されるものではない。例えば、複数の部分ユニット3を結合して1個の家屋1とするものであれば、その部分ユニット3の数は特に問題ではない。またその場合の各部分ユニット3は、同一又は略同一構造でも良いし、全く異なる構造のものでも良い。
【0078】
部分ユニット3を据え付ける基礎2は、コンクリート製でも良いし、木材を組み合わせて構成されたデッキ等でも良い。工事現場の現場事務所等として使用する場合には、比較的短期間で他の場所に移築することになるため、地面に杭等を打ち込んで櫓等を組み、その上にフラットデッキを設けて据え付けることが望ましい。
【0079】
第1の実施形態では、金属製骨格体4の開口部9側の鴨居枠材26を側枠材25と略同じ高さにしているが、側枠材25よりも高くしても良い。複数の外壁材8を鎧状に順次重ねる場合には、化粧柱22,57の外壁材8に対応する部分は、各外壁材8の重なり形状に合わせて鋸歯状に形成しても良く、この場合には外壁材8と化粧柱22,57との間の隙間を極力少なくできる。部分ユニット3の四隅の支柱10,11の長さを略同じにして、屋根5をフラット状に構成しても良い。
【0080】
上部結合手段14はそれを構成する一対の構成部材の内、その一方の構成部材に対して他方の構成部材が上下方向に嵌脱自在に嵌合するようにしても良いし、実施形態に例示するように一方の構成部材に対して他方の屋根枠体24が上下方向に嵌脱自在に嵌合するようにしても良い。下部結合手段15はそれを構成する一対の構成部材の内、その一方の構成部材に対して他方の構成部材が上下方向に対向するようにしても良いし、一方の構成部材に対して他方の床枠体23が上下方向に嵌脱自在に対向するようにしても良い。側部結合手段16は実施形態に例示するように一対の構成部材が水平方向に対向するようにしても良いし、一方の構成部材に対して他方の支柱11が水平方向に嵌脱自在に対向するようにしても良い。
【0081】
金属製骨格体4の突出部分を覆う化粧柱21,22は、丸太の半割り材以外の材料、例えば厚手の板材を使用しても良い。隅化粧柱57も同様である。内壁材7及び/又は外壁材8には合板、その他の板材を使用しても良い。別荘等に使用する家屋1でログハウス調に仕上げる場合には、半割り状の壁材をその円弧状の面が外側になるように使用すれば良い。内固定手段66、外固定手段67は支柱11側にネジ孔、ナット等を設けておき、化粧柱21,22に挿通したボルトをそのネジ孔、ナット等に螺合するようにしても良い。
【0082】
【発明の効果】
本発明では、複数の部分ユニット3をその一側面で結合して組み立てる組み立て家屋において、一体構造の金属製骨格体4に屋根5、床材6及び壁材7,8が装着され且つ結合側に開口部9が設けられた部分ユニット3と、金属製骨格体4の支柱10,11に固設され且つ屋根5から上側に突出する複数の吊り具12,13と、隣接する部分ユニット3の金属製骨格体4同士を開口部9側で着脱自在に結合する結合手段14〜16とを備えているので、工場から建築現場への搬送、建築後の他の移築場所への搬送等を容易にできると共に、その建築又は移築に際しての組み立て、分解を容易にできる利点がある。
【図面の簡単な説明】
【図1】本発明の第1の実施形態を示す組み立て家屋の斜視図である。
【図2】本発明の第1の実施形態を示す組み立て家屋の一部破断平面図である。
【図3】本発明の第1の実施形態を示す金属製骨格体の斜視図である。
【図4】本発明の第1の実施形態を示す組み立て家屋の分解断面図である。
【図5】本発明の第1の実施形態を示す組み立て家屋の軒側の縦断面図である。
【図6】本発明の第1の実施形態を示す組み立て家屋の棟側の縦断面図である。
【図7】本発明の第1の実施形態を示す組み立て家屋の棟側の縦断面図である。
【図8】本発明の第1の実施形態を示す組み立て家屋の壁側の横断面図である。
【図9】本発明の第1の実施形態を示す組み立て家屋の下部側の一部破断正面図である。
【図10】本発明の第1の実施形態を示す組み立て家屋の屋根側の斜視図である。
【図11】本発明の第1の実施形態を示す組み立て家屋の屋根側の縦断面図である。
【図12】本発明の第1の実施形態を示す組み立て家屋の壁側の分解断面図である。
【図13】本発明の第1の実施形態を示す組み立て家屋の下部側の分解斜視図である。
【図14】本発明の第1の実施形態を示す組み立て家屋の隅部の横断面図である。
【図15】本発明の第1の実施形態を示す組み立て家屋の隅部の正面図である。
【図16】本発明の第1の実施形態を示す組み立て家屋の組み立て時の説明図である。
【図17】本発明の第2の実施形態を示す組み立て家屋の屋根側の縦断面図である。
【図18】本発明の第3の実施形態を示す組み立て家屋の床側の縦断面図である。
【図19】(A)(B)は本発明の第4の実施形態を示す組み立て家屋の平面図である。
【図20】(A)は本発明の第5の実施形態を示す組み立て家屋の斜視図、(B)はその平面図である。
【図21】本発明の第6の実施形態を示す吊り下げ状態の説明図である。
【符号の説明】
3 部分ユニット
4 金属骨格体
5 屋根
6 床材
7 内壁材
8 外壁材
9 開口部
10,11 支柱
12,13 吊り具
14 上部結合手段
15 下部結合手段
16 側部結合手段
19 笠木材
20 中間床材
21,22 化粧柱
23 床枠体
24 屋根枠体
25 側枠材
26 鴨居枠材
29 横枠材
33 上下補強材
34 斜め補強材
35 嵌合受け具(構成部材)
45 金属シート
46 防水シート
47 垂木
48 凹部
49 溝部
53 屋根板
66 内固定手段
67 外固定手段
72 突起(構成部材)
【発明の属する技術分野】
本発明は、建設現場事務所、バンガロー、別荘その他に使用する可搬式の組み立て家屋に関するものである。
【0002】
【従来の技術】
別荘、その他の目的で使用する組み立て家屋には、従来、例えば特許文献1に記載のようなものがある。この組み立て家屋は、全体を1階部分ユニットと屋根ユニットとその他の部材とに分割すると共に、1階部分ユニットを木造構造の2個の部分ユニットに分割する。そして、2個の部分ユニットの内装、設備機器類の他、室内のインテリア、家具、電化製品までを含めて、1階部分ユニット、屋根ユニット等の夫々を工場生産により予め製作しておく。
【0003】
建築時の施工に際しては、1階部分ユニットを構成する2個の部分ユニット、屋根ユニット等の夫々をトラック等により建築現場に搬入し、建築現場の基礎上に2個の部分ユニットを据え付けて結合することにより1階部分ユニットを組み立て、この1階部分ユニットの上に屋根ユニットを取り付けた後、その他の部材を取り付けて1個の家屋を仕上げる。
【0004】
【特許文献1】
特開2002−242309号公報
【0005】
【発明が解決しようとする課題】
この組み立て家屋は、1階部分ユニットを構成する2個の部分ユニットをその内装、設備機器類の他、室内のインテリア、家具、電化製品までを含めて構成しておくため、建築現場で1階部分ユニットの2個の部分ユニットを結合し、その上に屋根ユニットを取り付ければ良く、組み立て後の内装、設備機器類の施工、更にはその後のインテリア、家具、電化製品等の施工が不要になるという利点がある。
【0006】
しかし、従来の組み立て家屋は、特定の建築現場の基礎上に据え付けて建築すれば、その場所で半永久的に使用することを前提としたものであって、その後に他の場所に移築するようにはなっていない。
【0007】
また従来の1階部分ユニットは、各部分ユニットに必要な全ての機器類等を組み込んでおり、各部分ユニットの重量が重たくなるにも拘わらず、主要構造材に木材を使用した木造構造であって、強度的に弱く、しかも吊り具等を備え難い構造であるため、仮に一旦建築した後に他の場所に移築するとしても、その移築が非常に困難である。
【0008】
本発明は、このような従来の問題点に鑑み、工場から建築現場への搬送、建築後の他の移築場所への搬送等を容易にできると共に、その建築又は移築に際しての組み立て、分解を容易にできる組み立て家屋を提供することを目的とする。
【0009】
【課題を解決するための手段】
本発明は、複数の部分ユニット3をその一側面で結合して組み立てる組み立て家屋において、一体構造の金属製骨格体4に屋根5、床材6及び壁材7,8が装着され且つ結合側に開口部9が設けられた前記部分ユニット3と、前記金属製骨格体4の支柱10,11に固設され且つ前記屋根5から上側に突出する複数の吊り具12,13と、隣接する前記部分ユニット3の前記金属製骨格体4同士を開口部9側で着脱自在に結合する結合手段14〜16とを備えたものである。
【0010】
この組み立て家屋は、前記金属製骨格体4の前記開口部9側が前記屋根5、前記床材6及び前記壁材7,8の端縁よりも相手側に突出する一対の前記部分ユニット3を備え、該両部分ユニット3の前記屋根5に跨がってその棟の略全長に着脱自在に装着された笠木材19と、前記両部分ユニット3の前記床材6間に着脱自在に装着され且つ前記金属製骨格体4の突出部分を覆う中間床材20と、前記両部分ユニット3の前記壁材7,8に跨がって着脱自在に装着され且つ前記金属製骨格体4の突出部分を覆う化粧柱21,22とを備えたものでも良い。
【0011】
また前記両部分ユニット3の前記金属製骨格体4の屋根枠体24側を結合する横方向に1又は複数の上部結合手段14と、前記金属製骨格体4の床枠体23側を結合する1又は複数の下部結合手段15と、前記金属製骨格体4の支柱10,11側を結合する1又は複数の側部結合手段16とを夫々設け、前記上部結合手段14を一方の構成部材35に対して他方の構成部材72及び/又は屋根枠体24が上下方向に嵌脱自在に嵌合する嵌合型とし、前記下部結合手段15及び/又は前記側部結合手段16を一方の構成部材に対して他方の構成部材が上下又は水平方向に対向する対向型とすることが望ましい。
【0012】
更に前記支柱10,11の内外両側に内壁材7、外壁材8を装着し、一方の前記金属製骨格体4の前記開口部9側の前記支柱11に、その前記内壁材7からの突出部分の内側に内固定手段66を設け、他方の前記金属製骨格体4の前記開口部9側の前記支柱11に、その前記外壁材8からの突出部分の外側に外固定手段67と前記側部結合手段16とを設け、前記支柱11を内側から覆う内化粧柱21を前記内固定手段66により前記両部分ユニット3の前記両内壁材7に跨がって着脱自在に固定し、前記支柱11及び前記側部結合手段16を外側から覆う外化粧柱22を前記外固定手段67により前記両部分ユニット3の前記両外壁材8に跨がって着脱自在に固定しても良い。
【0013】
前記屋根5はその略全体にわたる金属シート45と、該金属シート45の下側に設けられた防水シート46と、前記金属シート45の下側に横方向に所定間隔をおいて配置された複数の垂木47と、前記金属シート45の上側に配置された屋根板53とを備え、前記金属シート45は前記各垂木47に上側から嵌合する複数の凹部48と、該凹部48間に形成された複数の溝部49とを備えていることが望ましい。
【0014】
また前記金属製骨格体4は略水平に配置された矩形状の床枠体23と、傾斜状に配置された矩形状の屋根枠体24と、前記床枠体23及び前記屋根枠体24をその少なくとも四隅で上下に連結する前記支柱10,11と、短い前記支柱10の上端側と隣接する長い前記支柱11とを略水平方向に連結する側枠材25と、前記開口部9の両側の長い前記支柱11を前記側枠材25と略同高さ位置又は前記側枠材25よりも高い位置で略水平方向に連結する鴨居枠材26とを含み、前記吊り具12,13を前記支柱10,11の外側面に固着し、前記屋根枠体24の棟側の横枠材29と前記鴨居枠材26との間に、前記金属製骨格体4の前記開口部9側を補強する複数の補強材33,34を設けることが望ましい。
【0015】
【発明の実施の形態】
以下、本発明の実施形態を図面に基づいて詳述する。図1〜図16は建築現場事務所、バンガロー、別荘その他に使用する可搬式の1室型の組み立て家屋の第1の実施形態を例示する。
【0016】
この組み立て家屋1は、図1及び図2に示すように、例えば木製その他のデッキ等の基礎2上に2個(複数)の部分ユニット3を据え付けて、その両部分ユニット3を一側面で結合することにより組み立てられている。各部分ユニット3は、例えば図16に示すようにトラックaの荷台等に積載して搬送できる程度の大きさであって、図3に示すように溶接等で一体化された一体構造の金属製骨格体4に、図4に示すように屋根5、床材6、内壁材7及び外壁材8が装着され、その一側の結合側に開口部9が構成されている。
【0017】
また部分ユニット3は、金属製骨格体4の少なくとも四隅の支柱10,11に固設され且つ屋根5から上側に突出する吊り具12,13と、隣接する両部分ユニット3の金属製骨格体4同士を開口部9側で突き合わせた後に、その状態で金属製骨格体4の開口部9側同士を着脱自在に結合する上部結合手段14、下部結合手段15及び側部結合手段16とを備えている。なお、部分ユニット3の一方又は両方に窓、出入口用のドアー17,18等が設けられている。
【0018】
各部分ユニット3の金属製骨格体4の開口部9側は、図4に示すようにその開口部9側が屋根5、床材6、内壁材7及び外壁材8の開口部9側の端縁よりも相手側に突出している。そして、組み立て状態では、両部分ユニット3の屋根5に、その隙間を覆う笠木材19が両棟に跨がって横方向の全長に着脱自在に装着され、また床材6間に金属製骨格体4の床側の突出部分を覆う中間床材20が横方向の全長に着脱自在に装着され、更に壁材7,8間に金属製骨格体4の壁側の突出部分を内外両側から覆う化粧柱21,22が、両部分ユニット3の内外壁材7,8に跨がって上下方向の全長に着脱自在に装着されている。
【0019】
笠木材19は横方向の両端部が屋根5より若干突出する長さを有する丸太等の適宜木材により構成されている。この笠木材19には、図6、図7に示すように、その下側の両端部を除く中間部分に各屋根5の棟側に対応する切欠き部19aが形成されている。そして、この笠木材19は、その切欠き部19aが各部分ユニット3の屋根5上に当接するように、両屋根5に跨がって棟上に載置されている。
【0020】
また笠木材19には、各吊り具13に対応する箇所に、その吊り具13が下側から干渉しないように嵌合する凹部19bが形成され、屋根5に載置したときに笠木材19で吊り具13を上側から覆うようになっている。なお、笠木材19は屋根5上に載置するのみでも良いし、釘等の固定手段、又は銅線等の締結手段で屋根5に着脱自在に固定しても良い。
【0021】
金属製骨格体4は、図3に示すように、略水平に配置され且つ基礎2上に設置された矩形状の床枠体23と、屋根5の傾斜に沿って傾斜状に配置された矩形状の屋根枠体24と、床枠体23及び屋根枠体24をその四隅で上下に連結する軒側の短い短支柱10及び開口部9側(棟側)の長い長支柱11と、短支柱10の上端側と隣接する長支柱11とを略水平方向に連結する側枠材25と、開口部9の両側の長支柱11を側枠材25と略同高さで略水平方向に連結する鴨居枠材26とを含み、金属製の角パイプ材等を溶接等により接合して構成されている。なお、鴨居枠材26は側枠材25よりも若干高い位置に配置しても良い。
【0022】
床枠体23は、内外両側(棟側及び開口部9側)に横方向に配置された一対の長い横枠材27と、この一対の横枠材27の長手方向(横方向)の両端間に縦方向に配置された一対の縦枠材28とを溶接等により接合して矩形状に構成され、その四隅の上側に各支柱10,11の下端が溶接等により固定されている。
【0023】
屋根枠体24は、内外両側(棟側及び開口部9側)に横方向に配置された一対の横枠材29と、一対の横枠材29の長手方向(横方向)の両端部間に傾斜方向に配置された一対の傾斜枠材30と、一対の傾斜枠材30間で一対の横枠材29間に跨がって配置された1個又は複数の傾斜枠材31とを溶接等により接合して構成され、その四隅に各支柱10,11の上端が溶接等により固定されている。なお、各傾斜枠材30,31は横方向に略等間隔をおいて配置されている。両端の傾斜枠材30は、短支柱10側では側枠材25の上側に溶接等で固定されている。
【0024】
屋根枠体24の開口部9側の横枠材29と鴨居枠材26との間には、その長手方向に所定間隔をおいて上下方向に配置された複数の上下補強材33と、その上下補強材33間又は上下補強材33及び長支柱11間に斜め方向に配置された複数の斜め補強材34とが左右略対称に設けられ、これらの補強材33,34によって金属製骨格体4の開口部9側がその上部側で補強されている。
【0025】
補強材33,34には棒鋼等が使用されており、その上下補強材33は開口部9側の横枠材29と鴨居枠材26とに溶接され、また斜め補強材34は横方向の中央側が下になるように隣接する一対の上下補強材33間、隣接する上下補強材33及び長支柱11間に斜め方向に配置されている。なお、金属製骨格体4の開口部9側の補強は、上下補強材33、斜め補強材34による補強構造以外のものでしても良い。
【0026】
上部結合手段14は両金属製骨格体4の屋根枠体24側を結合するためのもので、図7に示すように、一方の屋根枠体24の横枠材29の下側に固定され且つ他方の屋根枠体24の横枠材29が上側から上下方向に嵌脱自在に嵌合する嵌合受け具35と、この嵌合受け具35に螺合され且つ嵌合受け具35に嵌合した他方の屋根枠体24の横枠材29を一方の横枠材29側に押圧する押圧ボルト36とを備えた嵌合型になっている。嵌合受け具35は上部結合手段14の構成部材であって、この嵌合受け具35に他方の金属製骨格体4の屋根枠体24の横枠材29が嵌合するようになっている。
【0027】
下部結合手段15は両金属製骨格体4の床枠体23側を結合するためのもので、図8、図9に示すように、他方の床枠体23の開口部9側の横枠材27の上側に固定され且つ一方の床枠体23の開口部9側の横枠材27の上側面に突出して横枠材27に対し上下方向に対向する当接板37と、この当接板37から一方の床枠体23の横枠材27に対して着脱自在に螺合するタッピングネジ38とを備えた対向型となっている。当接板37は下部結合手段15の構成部材であって、この当接板に他方の床枠体23の横枠材27が下側から対向するようになっている。
【0028】
なお、上部結合手段14、下部結合手段15は横方向に所定の間隔をおいてその両端部近傍に2個(複数)設けられているが、横方向の中間に1個又は複数個追加しても良い。また上部結合手段14は、横方向の略中央に1個設けても良い。
【0029】
側部結合手段16は両金属製骨格体4の支柱11を結合するためのもので、図8、図9に示すように、両金属製骨格体4の長支柱11における外壁材8からの突出部分に、側枠材25及び床枠体23の近傍に2個(複数)設けられている。この側部結合手段16は、各長支柱11から外側に突出し且つ縦方向(水平方向)に対向して当接又は近接する2個の固定板39と、2個の固定板39の挿通孔に縦方向に挿通されるボルト40と、ボルト40に螺合するナット41とを備えた対向型となっている。なお、何れか一方の固定板39に挿通孔に替えてネジ孔又はナットを設けても良い。また側部結合手段16は1個でも良い。
【0030】
下側の側部結合手段16の上側又は下側の近傍には、図8、図9に示すように、一方の部分ユニット3を設置した後、それに合わせて他方の部分ユニット3の位置を調整するための位置調整手段42が設けられている。この位置調整手段42は両金属製骨格体4の長支柱11における外壁材8からの突出部分から外側に突出し且つ縦方向に対向して当接又は近接する2個の調整板43を備え、この両調整板43の貫通孔にコッター等の挿通部材を縦方向に挿通することにより、側部結合手段16の固定板39相互の挿通孔を一致させるようになっている。なお、この各長支柱11の調整板43は、搬送時にロープ等を掛けて部分ユニット3をトラックa等の荷台に固定するためにも利用可能である。
【0031】
屋根5は金属製骨格体4の屋根枠体24の上側に設けられており、図4〜図7、図10、図11に示すように、その略全体に設けられた薄鉄板等の金属シート45と、金属シート45の下側に設けられた防水シート46と、横方向に所定間隔をおいて配置された複数の垂木47と、金属シート45の上側に配置された屋根板53とを備え、金属シート45は各垂木47が下側から嵌合する複数の凹部48と、隣接する垂木47間に形成された排水用の複数の溝部49とを備えている。
【0032】
即ち、屋根5は、屋根枠体24の傾斜枠材30,31上に傾斜方向に略等間隔をおいて横方向に配置された複数の横桟50と、複数の横桟50に跨がってその上に横方向に略隙間なく配置された天井兼用の傾斜方向の下地板51と、下地板51の上に略全体に張られた防水シート46と、防水シート46上に横方向に略等間隔をおいて傾斜方向に配置された複数の垂木47と、垂木47の上側に張られた金属シート45と、金属シート45上に傾斜方向に略等間隔をおいて横方向に配置された複数の横桟52と、複数の横桟52に跨がってその上に横方向に略隙間なく配置された複数の傾斜方向の屋根板53と、各屋根板53の継ぎ目部分を覆う断面半円状の複数の継ぎ目カバー54等を備えている。
【0033】
棟側と軒先側の横桟50は、下地板51と横枠材29との間に隙間ができないように、横枠材29に近接して配置されている。防水シート46は、金属シート45の下側であれば良く、金属シート45に沿って垂木47の上側に設けても良い。
【0034】
屋根5の横方向の両端は屋根枠体24から横方向に突出しており、また屋根板53は屋根枠体24から軒先側に突出し、その軒先の下側に端隠し材55が横方向に取り付けられている。横桟50は傾斜枠材30,31上に、下地板51は横桟50に、垂木47は下地板51を介して横桟50に、横桟52は垂木47に、屋根板53は横桟52に、継ぎ目カバー54は屋根板53を介して横桟52に夫々釘、タッピングネジ等により固定されている。
【0035】
短支柱10及び長支柱11の外側面には、図5、図6に示すように吊り具12,13が溶接等で固着されると共に、屋根5の下地板51、防水シート46、金属シート45、屋根板53等を貫通して上側に突出している。この吊り具12,13は、部分ユニット3の搬送時にロープ等を掛け得る構造のものであれば十分であり、この実施形態では屋根5よりも上側に孔、切欠き等の引っ掛け部が形成された板材を使用しているが、その他にフック状のもの、逆U字状のもの等を使用することも可能である。なお、吊り具12の屋根5の貫通部分はシール材によりシールされている。吊り具13の屋根5の貫通部分は笠木材19で覆われているが、シール材によりシールしても良い。
【0036】
内壁材7、外壁材8は、図4、図12〜図15に示すように多数の水平方向(横方向及び縦方向)の帯板材により構成されている。そして、内壁材7は隙間ができないように上下方向に突き合わせて略連続状に多数配置され、各支柱10,11の側面に釘、タッピングネジ等で固定された桟材56、隣接する支柱間で屋根枠体24と床枠体23との間に固定された上下方向の桟材56aに釘等で固定されている。また外壁材8は隙間ができないように順次鎧状に重ね合わせて略連続して多数配置され、内壁材7と同様に桟材56等に釘等で固定されている。
【0037】
各部分ユニット3の軒側の隅部には、図12、図14、図15に示すようにその短支柱10及び外壁材8の端部を覆う上下方向の隅化粧柱57が、隣接する二辺の外壁材8の端部に跨がって設けられている。隅化粧柱57には短支柱10及び外壁材8の端部に対応する切欠き部58が形成された丸太が使用され、この隅化粧柱57はその切欠き部58を短支柱10及び外壁材8の端部に対応させた状態で、タッピングネジ59又は釘により短支柱10に、釘60により外壁材8を介して桟材56に夫々固定されている。
【0038】
短支柱10の下部側には、図14、図15に示すように外側に突出する固定用金具61が固定され、また隅化粧柱57に、その固定用金具61を外側に挿通する孔62が形成されている。固定金具61は、部分ユニット3の搬送時にトラックaの荷台に固定する際、又は建築時に部分ユニット3をデッキ等に固定する際に、ロープ等の固定索61aを掛けるためのものである。
【0039】
床材6は、横方向の多数の帯板材により構成されている。そして、床材6は 図12、図13に示すように端面同士を突き合わせて略連続状に配置されており、各床材6は床枠体23の一対の縦枠材28間に、一対の横枠材29に跨がって配置された縦方向の複数の桟材62b等に釘等で固定されている。
【0040】
鴨居枠材26の下側面には、図4、図7に示すように、鴨居枠材26を覆う板材63が釘等で取り付けられ、また鴨居枠材26及び屋根枠体24の開口部9側の横枠材29の開口端と反対側には、鴨居枠材26、横枠材29及び長支柱11等に固定された桟材64a,64b等に、横方向の複数の板材64を上下方向に突き合わせて釘等で固定されている。従って、鴨居枠材26、横枠材29及びその中間部分は、内部側に露出しないように板材63,64により覆われている。その他の金属製骨格体4の構成部分は、例えば図12に屋根枠体24の傾斜枠材31を示すように板材65により覆われており、室内外から見えないようになっている。屋根枠体24の両端の傾斜枠材30と側枠材25との間には、その部分を塞ぐ合成樹脂製の透明板、半透明板等の閉塞板68が装着されている。
【0041】
各部分ユニット3の金属製骨格体4は、その開口部9側が床材6及び壁材7,8の開口部9側の端縁よりも相手側に突出しており、各部分ユニット3の金属製骨格体4の開口部9側の対向端面同士を突き合わせた状態でも、その各部分ユニット3の床材6間、内壁材7間、及び外壁材8間で床枠体23の内側の横枠材27、長支柱11等の一部が露出している。
【0042】
なお、金属製骨格体4の開口部9側の端縁は屋根5、床材6、内壁材7及び外壁材8の端縁よりも突出しているが、その屋根枠体24の屋根5に対する突出量は、両部分ユニット3の組み立て時に相手側の金属製骨格体4が屋根5と干渉しない程度であって、他の部分の床材6、内壁材7及び外壁材8からの突出量に比較して小さくなっている。
【0043】
中間床材20は、両部分ユニット3を結合した後に、その両部分ユニット3の床材6間に嵌め込んで、床枠体23の横枠材27を上側から覆うためのものであり、この中間床材20には、図8、図13に示すように、下部結合手段15に対応する切欠き部20aが形成されている。
【0044】
内化粧柱21及び外化粧柱22は、両部分ユニット3を結合した後に、両部分ユニット3の内壁材7間、外壁材8間に夫々装着して長支柱11を覆うためのものであって、図8、図12、図13に示すように、各金属製骨格体4の長支柱11に対して固定手段66,67により着脱自在に固定されている。内固定手段66と外固定手段67は上下方向に所定間隔をおいて3個(複数)あり、2個の部分ユニット3の長支柱11の夫々に分けて反対側に設けられている。
【0045】
即ち、一方側の部分ユニット3の長支柱11には、内壁材7から突出する突出部分の内側に内固定手段66が、他方の部分ユニット3の長支柱11には、外壁材8から突出する突出部分の外側に外固定手段67が夫々設けられている。この各固定手段66,67は、長支柱11の開口端側に固定されたボルト66a,67aと、ボルト66a,67aに螺合するナット66b,67bとを備えている。
【0046】
内化粧柱21は、図8、図12に示すように両部分ユニット3の床材6と鴨居枠材26との間の長支柱11を内側から覆い、内固定手段66のボルト66aとナット66bとにより両部分ユニット3の両内壁材7の端部に跨がって着脱自在に固定されている。外化粧柱22は図8、図12に示すように両部分ユニット3の屋根枠体24と床枠体23との間の長支柱11、吊り具12,13の下部、側部結合手段16、位置調整手段42を外側から覆い、外固定手段67のボルト67aとナット67bとにより両部分ユニット3の両外壁材8の端部に跨がって着脱自在に固定されている。内化粧柱21、外化粧柱22は半割り状に形成された丸太等により構成され、ボルト66a,67a用の挿通孔21a,22aが形成されている。
【0047】
なお、床枠体23、屋根枠体24及び支柱10,11等の金属製骨格体4のほか、屋根5の金属シート45、吊り具12,13、結合手段14〜16、固定手段66,67、位置調整手段42、固定金具61は金属製、閉塞板68は合成樹脂製、継ぎ目カバー54は竹製である。その他の各構成部材は木材からなり、またその木材には間伐材が使用されている。しかし、他の材料を使用しても良い。また内壁材7、外壁材8の横方向の中間、窓の両側、出入口の両側等の所要箇所には、半割り状の丸太等からなる化粧柱70が内外に対応してタッピングネジ、釘等により固定されている。
【0048】
上記構成の組み立て家屋1は、工場生産により部分ユニット3毎に製作しておく。そして、建築する際には、各部分ユニット3をトラック等により建築現場へと搬送して、その建築現場の基礎2上で2個の部分ユニット3を結合して組み立てる。
【0049】
部分ユニット3をトラックaに積み込み、またトラックaから降ろして組み立てる場合には、図16に示すように屋根5から突出する四隅の吊り具12,13にロープb等を掛けて、クレーンcで吊る。このように屋根5から上側に突出する吊り具12,13を予め設けておくことにより、部分ユニット3の移動等を容易に行うことができる。また部分ユニット3は一体化された金属製骨格体4に屋根5、床材6、内壁材7、外壁材8等を装着しているので、屋根5、床材6、内壁材7、外壁材8が木造等であっても、金属製骨格体4の強度を確保できる。
【0050】
しかも、金属製骨格体4の四隅に吊り具12,13を設けているため、部分ユニット3側の重量を金属製骨格体4を介して支持でき、部分ユニット3の歪み等を極力少なくできる。特に部分ユニット3は一側が開口部9により開口状になっているが、その開口部9側の上部を補強材33,34により補強しているので、金属製骨格体4の開口部9側の歪み等も少なくできる。
【0051】
なお、部分ユニット3をトラックaの荷台上で固定する必要があれば、軒先側の一対の固定金具61と、開口部9側の調整板43とにロープを掛けて固定すれば良い。
【0052】
建築現場で組み立てる場合には、次のように行う。図16に示すように、先ず一方の部分ユニット3を基礎2上の所定位置に据え付ける。そして、次に他方の部分ユニット3を吊り下げた状態で、この他方の部分ユニット3の開口部9側を一方の部分ユニット3の開口部9側に合わせながら他方の部分ユニット3を徐々に降ろし、両部分ユニット3の金属製骨格体4の開口部9側の対向端面が突き合わさるように、他方の部分ユニット3を基礎2上に据え付ける。
【0053】
この実施形態では、部分ユニット3には、上部結合手段14を備えた一方の部分ユニット3と、下部結合手段15を備えた他方の部分ユニット3との二種類がある。そこで、上部結合手段14を備えた一方の部分ユニット3を先に基礎2上に据え付けておき、次にその一方の部分ユニット3に合わせて他方の部分ユニット3を据え付ける方法を採る必要がある。
【0054】
他方の部分ユニット3の屋根枠体24の横枠材29を上部結合手段14の嵌合受け具35に嵌合させる場合には、他方の部分ユニット3をクレーンc等で吊り下げた状態で、その横方向の位置を一方の部分ユニット3に合わせた後、他方の部分ユニット3を一方の部分ユニット3側へと移動させて、両者の金属製骨格体4の対向端面側を近接又は当接させる。
【0055】
この場合、屋根枠体24の横枠材29が嵌合受け具35の若干上側となる高さに他方の部分ユニット3を保っておけば、この他方の部分ユニット3の接近によって、嵌合受け具35が相対的に一方の部分ユニット3の横枠材29の下側に入り、両金属製骨格体4の対向端面同士が近接又は当接したときに、嵌合受け具35の上方に横枠材29が位置する。なお、他方の部分ユニット3の板材64が邪魔になる場合には、横枠材29の近傍の1〜2枚程度の板材64を取り外しておき、上部結合手段14の結合後に板材64を取り付けても良い。
【0056】
次に金属製骨格体4同士が対向端面側で摺動するように、他方の部分ユニット3を徐々に降ろして行けば、一方の部分ユニット3の金属製骨格体4をガイドとして他方の部分ユニット3の横枠材29を嵌合受け具35に円滑に嵌合させながら、この他方の部分ユニット3を基礎2上の所定位置に据え付けることができる。
【0057】
このようにして他方の部分ユニット3を据え付けると、両部分ユニット3の金属製骨格体4の対向端面同士が近接又は当接した状態となる。他方の部分ユニット3側にある下部結合手段15の結合板は、一方の部分ユニット3の床枠体23の横枠材27上に上側から当接又は近接し、また側部結合手段16の一対の固定板39は縦方向に対向するため、その後に各結合手段14〜16により両部分ユニット3の金属製骨格体4同士を結合する。
【0058】
上部結合手段14、下部結合手段15及び側部結合手段16は、何れから結合しても良いが、両部分ユニット3が横方向に多少ずれておれば、両部分ユニット3の長支柱11に固定された調整板43の貫通孔にコッター等を挿入して、両部分ユニット3を横方向に相対的に移動させる。これによって両部分ユニット3の金属製骨格体4の開口部9側が一致するため、側部結合手段16の固定板39の挿通孔が一致し、その挿通孔にボルト40を挿通し易くなる。
【0059】
そして、横方向に2個の上部結合手段14の押圧ボルト36を締め付けると、屋根枠体24の対向端面同士が、また上下に2個の側部結合手段16のボルト40を締め付けると、長支柱11の対向端面同士が、更にその後に横方向に2個の下部結合手段15のタッピングネジ38を締め付けると、床枠体23の対向端面同士が夫々当接して、その状態で両金属製骨格体4を結合できる。
【0060】
その後、笠木材19の切欠き部19aを両部分ユニット3の屋根5の棟側に合わせて、笠木材19を両屋根5に跨がって棟側の継ぎ目部分に笠木材19を載せ、笠木材19により継ぎ目部分を覆う。これによって屋根5側を容易に仕上げることができ、屋根5の継ぎ目部分からの雨水等の浸入を確実に防止できる。また笠木材19は長手方向の中間に切欠き部19aがあるので、その切欠き部19aの両側で屋根5の継ぎ目部分を横方向の両側から覆うことができる。
【0061】
床側では両部分ユニット3の床材6間に中間床材20を嵌め込んで、両床枠体23の開口部9側の横枠材27の突出部分を上側から覆い両床材6間の隙間を塞ぐように、その中間床材20を釘等で横枠材27等に固定する。このとき中間床材20の切欠き部20aを下部結合手段15に合わせて、中間床材20が当接板37上に乗らないようにして、中間床材20を両側の床材6と略面一状にする。
【0062】
内壁側では一方の部分ユニット3側の長支柱11にある内固定手段66のボルト66aを内化粧柱21の挿通孔21aに通して、両部分ユニット3の長支柱11、内壁材7の端縁側を内側から覆うように、内化粧柱21を両部分ユニット3の内壁材7の端縁に跨がって当接し、ボルト66aに螺合するナット66bを締め付けて内化粧柱21を固定する。また外壁側でも、他方の部分ユニット3側の外固定手段67のボルト67aを利用して、同様に両部分ユニット3の長支柱11、外壁材8の端縁側を外側から覆うように、外化粧柱22を固定する。
【0063】
これによって両部分ユニット3の結合部分の内外両側に化粧柱21,22を設けることによって、壁面側の結合部分の仕舞いが容易であると共に、その結合部分にあたかも柱があるかのように仕上げることができる。また内外両側の固定手段66,67として、長支柱11にボルト66a,67aを固定しているが、両部分ユニット3の内、その一方の固定手段66のボルト66aを一方の長支柱11に、他方の固定手段67の67aボルトを他方の長支柱11に夫々設けているので、夫々の化粧柱21,22が相手側の部分ユニット3の壁材を互いに押圧し合う構造となり、化粧柱21,22と壁材7,8との間の隙間の発生等を極力防止できる。
【0064】
これによって1個の家屋1の組み立てが終了する。建築後に家屋1を別の場所に移築する場合には、逆の手順で2個の部分ユニット3とその他の笠木材19、中間床材20、内化粧柱21、外化粧柱22とに分解し、それらを別の場所まで搬送して再度組み立てれば良い。この場合の組み立て、分解等も容易にでき、しかも各部分ユニット3には吊り具12,13があるため、クレーンc等で吊り上げてトラックa等に容易に積み込むことができる。
【0065】
この実施形態では、屋根5、床材6、壁材7,8等に間伐材を使用し、笠木材19に丸太を、化粧柱21,22に丸太の半割り材を夫々使用しているため、家屋1全体をログハウス調又はそれに近い状態に仕上げることができる。また床枠体23、屋根枠体24、支柱10,11、側枠材25、鴨居枠材26等を溶接等で一体化して金属製骨格体4を構成し、この金属製骨格体4に木造構造の屋根5、床材6、壁材7,8等を装着しているため、部分ユニット3全体を軽量化できると共に、その金属製骨格体4の補強効果によって部分ユニット3全体の強度を容易に確保でき、建築現場への搬送等を容易に行うことができる。
【0066】
屋根5は天井板兼用の下地板51の上側に垂木47、防水シート46、金属シート45、横桟50,52、屋根板53等で構成しているため、主として木造構造であるにも拘わらず、それらによって防水性、断熱性を確保できる。特に雨水の多くは屋根板53上を流れるが、この屋根板53の下側には、下側から垂木47が嵌合する凹部48と、この凹部48間に形成された溝部49とを有する金属シート45があり、屋根板53を通過した雨水を金属シート45の溝部49を経て速やかに排水することができる。また屋根板53の下側には、金属シート45の溝部49によって形成された通気空間があるため、その腐食等も極力防止でき耐久性が向上する。
【0067】
図17は本発明の第2の実施形態を例示する。この実施形態では、上部結合手段14は、一方の部分ユニット3の屋根枠体24側の横枠材29の下側に固定され且つ嵌合孔71aを有する結合板71と、他方の部分ユニット3の屋根枠体24側の横枠材29の下側に下向きに固定され且つ結合板71の嵌合孔71aに上側から嵌脱自在に嵌合する突起72とを備えた嵌合型となっている。突起72は下側が細いテーパー状であって、嵌合孔71aに嵌合したときに、両部分ユニット3の金属製骨格体4の開口部9側の端面同士が略当接するようになっている。
【0068】
この実施形態に例示するように上部結合手段14には、一対の構成部材である結合板71と突起72との内、その一方の結合板71の嵌合孔71aに、他方の突起72を嵌合させるようにした構造のものを使用しても良い。勿論、この第1の実施形態、第2の実施形態に例示する構造以外のものを使用することも可能である。しかし、上部結合手段14には組み立て時の作業性の点から嵌合型のものを使用することが望ましい。
【0069】
図18は本発明の第3の実施形態を例示する。この実施形態では、下部結合手段15は、一方の部分ユニット3の床枠体23側の横枠材27の下側に固定され且つ嵌合部73aと案内部73bとを有する下結合板73を備え、その案内部73bの下側に、基礎2に当接するストッパー部73cが設けられている。
【0070】
この実施形態に例示するように下結合手段15に嵌合型のものを使用することも可能である。この場合には、案内部73bで他方の部分ユニット3の床枠体23の横枠部27を嵌合部73a側へと案内し、横枠材27が嵌合部73aに嵌合したときに、両部分ユニット3の床枠体23の対向端面が当接するようになっている。但し、上結合手段14に嵌合型のものを使用する場合には、上下の結合手段14,15の内、一方、例えば上部結合手段14側が先に嵌合するように構成しておくことが望ましい。
【0071】
図19(A)(B)は本発明の第4の実施形態を例示する。図19(A)では、2個の部分ユニット3が食い違い状に配置されている。一方の部分ユニット3には結合側の横方向の一端側に、他方の部分ユニット3には結合側の横方向の他端側に夫々開口部9が設けられ、その開口部9同士が縦方向に対向するように両部分ユニット3が配置されている。両部分ユニット3の結合部分にはその内外に内化粧柱21、外化粧柱22が夫々設けられている。
【0072】
図19(B)では横方向の一端側が縦方向に略直線上となるように、横方向の長さが長い部分ユニット3の一端側に短い部分ユニット3が結合されている。長い部分ユニット3には、その結合側の横方向の一端側に開口部9が設けられ、また短い部分ユニット3には長い部分ユニット3の開口部9に対応して開口部9が設けられている。両部分ユニット3の結合部分にはその内外に内化粧柱21、外化粧柱22が夫々設けられている。
【0073】
これらのように2個の部分ユニット3を組み合わせて1個の家屋1を建築する場合には、その部分ユニット3同士を食い違い状に配置しても良いし、横方向の長さの異なる2個の部分ユニット3を用い、その一方の部分ユニット3の横方向の一端側に、又は中央に他方の部分ユニット3を配置することも可能である。また各部分ユニット3は縦方向の長さが異なるものでも良い。
【0074】
図20(A)(B)は本発明の第5の実施形態を例示する。この実施形態では3個の部分ユニット3を結合して1個の家屋1が構成されている。両側の部分ユニット3は第1の実施形態と同様に縦方向の内側に開口部9が設けられると共に、屋根5が片側に傾斜して設けられている。中間の部分ユニット3は縦方向の両側に開口部9が設けられ、また屋根5が横方向の中間の棟から横方向の両側に傾斜して設けられている。なお、両側の部分ユニット3には、その屋根5の棟に横方向の笠木材19が、中間の部分ユニット3にはその棟に縦方向の笠木材19が夫々設けられている。
【0075】
このように3個の部分ユニット3を結合して1個の家屋1を構成することも可能である。この場合、中間の部分ユニット3の屋根5は、その両側の部分ユニット3の屋根5と同一方向に傾斜させて、その先端側を両側の部分ユニット3の屋根5に重ねることも考えられるが、中間の部分ユニット3の屋根5が高くなり過ぎて搬送が困難になる。従って、この実施形態に例示するように、中間の部分ユニット3の屋根5は両側に傾斜する切り妻式、又は片側に傾斜する片傾斜式にする等、両側の部分ユニット3の屋根5と異なる方向に傾斜させて、高さを両側の部分ユニット3の屋根5と略同じ程度にすることが望ましい。
【0076】
図21は本発明の第6の実施形態を例示する。この実施形態では両端にフックその他の係合具80を有する横方向の吊り枠81を使用し、その各係合具80を部分ユニット3の吊り具12,13に引っ掛けて、吊り枠81、吊り索82を介してクレーンcにより部分ユニット3を吊るようにしている。このように吊り枠81を使用すれば、部分ユニット3にかかる曲げ力が小さくなり、部分ユニット3の歪み等を極力少なくできる。
【0077】
以上、本発明の各実施形態を例示したが、本発明はこれらに限定されるものではない。例えば、複数の部分ユニット3を結合して1個の家屋1とするものであれば、その部分ユニット3の数は特に問題ではない。またその場合の各部分ユニット3は、同一又は略同一構造でも良いし、全く異なる構造のものでも良い。
【0078】
部分ユニット3を据え付ける基礎2は、コンクリート製でも良いし、木材を組み合わせて構成されたデッキ等でも良い。工事現場の現場事務所等として使用する場合には、比較的短期間で他の場所に移築することになるため、地面に杭等を打ち込んで櫓等を組み、その上にフラットデッキを設けて据え付けることが望ましい。
【0079】
第1の実施形態では、金属製骨格体4の開口部9側の鴨居枠材26を側枠材25と略同じ高さにしているが、側枠材25よりも高くしても良い。複数の外壁材8を鎧状に順次重ねる場合には、化粧柱22,57の外壁材8に対応する部分は、各外壁材8の重なり形状に合わせて鋸歯状に形成しても良く、この場合には外壁材8と化粧柱22,57との間の隙間を極力少なくできる。部分ユニット3の四隅の支柱10,11の長さを略同じにして、屋根5をフラット状に構成しても良い。
【0080】
上部結合手段14はそれを構成する一対の構成部材の内、その一方の構成部材に対して他方の構成部材が上下方向に嵌脱自在に嵌合するようにしても良いし、実施形態に例示するように一方の構成部材に対して他方の屋根枠体24が上下方向に嵌脱自在に嵌合するようにしても良い。下部結合手段15はそれを構成する一対の構成部材の内、その一方の構成部材に対して他方の構成部材が上下方向に対向するようにしても良いし、一方の構成部材に対して他方の床枠体23が上下方向に嵌脱自在に対向するようにしても良い。側部結合手段16は実施形態に例示するように一対の構成部材が水平方向に対向するようにしても良いし、一方の構成部材に対して他方の支柱11が水平方向に嵌脱自在に対向するようにしても良い。
【0081】
金属製骨格体4の突出部分を覆う化粧柱21,22は、丸太の半割り材以外の材料、例えば厚手の板材を使用しても良い。隅化粧柱57も同様である。内壁材7及び/又は外壁材8には合板、その他の板材を使用しても良い。別荘等に使用する家屋1でログハウス調に仕上げる場合には、半割り状の壁材をその円弧状の面が外側になるように使用すれば良い。内固定手段66、外固定手段67は支柱11側にネジ孔、ナット等を設けておき、化粧柱21,22に挿通したボルトをそのネジ孔、ナット等に螺合するようにしても良い。
【0082】
【発明の効果】
本発明では、複数の部分ユニット3をその一側面で結合して組み立てる組み立て家屋において、一体構造の金属製骨格体4に屋根5、床材6及び壁材7,8が装着され且つ結合側に開口部9が設けられた部分ユニット3と、金属製骨格体4の支柱10,11に固設され且つ屋根5から上側に突出する複数の吊り具12,13と、隣接する部分ユニット3の金属製骨格体4同士を開口部9側で着脱自在に結合する結合手段14〜16とを備えているので、工場から建築現場への搬送、建築後の他の移築場所への搬送等を容易にできると共に、その建築又は移築に際しての組み立て、分解を容易にできる利点がある。
【図面の簡単な説明】
【図1】本発明の第1の実施形態を示す組み立て家屋の斜視図である。
【図2】本発明の第1の実施形態を示す組み立て家屋の一部破断平面図である。
【図3】本発明の第1の実施形態を示す金属製骨格体の斜視図である。
【図4】本発明の第1の実施形態を示す組み立て家屋の分解断面図である。
【図5】本発明の第1の実施形態を示す組み立て家屋の軒側の縦断面図である。
【図6】本発明の第1の実施形態を示す組み立て家屋の棟側の縦断面図である。
【図7】本発明の第1の実施形態を示す組み立て家屋の棟側の縦断面図である。
【図8】本発明の第1の実施形態を示す組み立て家屋の壁側の横断面図である。
【図9】本発明の第1の実施形態を示す組み立て家屋の下部側の一部破断正面図である。
【図10】本発明の第1の実施形態を示す組み立て家屋の屋根側の斜視図である。
【図11】本発明の第1の実施形態を示す組み立て家屋の屋根側の縦断面図である。
【図12】本発明の第1の実施形態を示す組み立て家屋の壁側の分解断面図である。
【図13】本発明の第1の実施形態を示す組み立て家屋の下部側の分解斜視図である。
【図14】本発明の第1の実施形態を示す組み立て家屋の隅部の横断面図である。
【図15】本発明の第1の実施形態を示す組み立て家屋の隅部の正面図である。
【図16】本発明の第1の実施形態を示す組み立て家屋の組み立て時の説明図である。
【図17】本発明の第2の実施形態を示す組み立て家屋の屋根側の縦断面図である。
【図18】本発明の第3の実施形態を示す組み立て家屋の床側の縦断面図である。
【図19】(A)(B)は本発明の第4の実施形態を示す組み立て家屋の平面図である。
【図20】(A)は本発明の第5の実施形態を示す組み立て家屋の斜視図、(B)はその平面図である。
【図21】本発明の第6の実施形態を示す吊り下げ状態の説明図である。
【符号の説明】
3 部分ユニット
4 金属骨格体
5 屋根
6 床材
7 内壁材
8 外壁材
9 開口部
10,11 支柱
12,13 吊り具
14 上部結合手段
15 下部結合手段
16 側部結合手段
19 笠木材
20 中間床材
21,22 化粧柱
23 床枠体
24 屋根枠体
25 側枠材
26 鴨居枠材
29 横枠材
33 上下補強材
34 斜め補強材
35 嵌合受け具(構成部材)
45 金属シート
46 防水シート
47 垂木
48 凹部
49 溝部
53 屋根板
66 内固定手段
67 外固定手段
72 突起(構成部材)
Claims (6)
- 複数の部分ユニット(3)をその一側面で結合して組み立てる組み立て家屋において、一体構造の金属製骨格体(4)に屋根(5)、床材(6)及び壁材(7)(8)が装着され且つ結合側に開口部(9)が設けられた前記部分ユニット(3)と、前記金属製骨格体(4)の支柱(10)(11)に固設され且つ前記屋根(5)から上側に突出する複数の吊り具(12)(13)と、隣接する前記部分ユニット(3)の前記金属製骨格体(4)同士を開口部(9)側で着脱自在に結合する結合手段(14)〜(16)とを備えたことを特徴とする組み立て家屋。
- 前記金属製骨格体(4)の前記開口部(9)側が前記屋根(5)、前記床材(6)及び前記壁材(7)(8)の端縁よりも相手側に突出する一対の前記部分ユニット(3)を備え、該両部分ユニット(3)の前記屋根(5)に跨がってその棟の略全長に着脱自在に装着された笠木材(19)と、前記両部分ユニット(3)の前記床材(6)間に着脱自在に装着され且つ前記金属製骨格体(4)の突出部分を覆う中間床材(20)と、前記両部分ユニット(3)の前記壁材(7)(8)に跨がって着脱自在に装着され且つ前記金属製骨格体(4)の突出部分を覆う化粧柱(21)(22)とを備えたことを特徴とする請求項1に記載の組み立て家屋。
- 前記両部分ユニット(3)の前記金属製骨格体(4)の屋根枠体(24)側を結合する横方向に1又は複数の上部結合手段(14)と、前記金属製骨格体(4)の床枠体(23)側を結合する1又は複数の下部結合手段(15)と、前記金属製骨格体(4)の支柱(10)(11)側を結合する1又は複数の側部結合手段(16)とを夫々設け、前記上部結合手段(14)を一方の構成部材(35)に対して他方の構成部材(72)及び/又は屋根枠体(24)が上下方向に嵌脱自在に嵌合する嵌合型とし、前記下部結合手段(15)及び/又は前記側部結合手段(16)を一方の構成部材に対して他方の構成部材が上下又は水平方向に対向する対向型としたことを特徴とする請求項1又は2に記載の組み立て家屋。
- 前記支柱(10)(11)の内外両側に内壁材(7)、外壁材(8)を装着し、一方の前記金属製骨格体(4)の前記開口部(9)側の前記支柱(11)に、その前記内壁材(7)からの突出部分の内側に内固定手段(66)を設け、他方の前記金属製骨格体(4)の前記開口部(9)側の前記支柱(11)に、その前記外壁材(8)からの突出部分の外側に外固定手段(67)と前記側部結合手段(16)とを設け、前記支柱(11)を内側から覆う内化粧柱(21)を前記内固定手段(66)により前記両部分ユニット(3)の前記両内壁材(7)に跨がって着脱自在に固定し、前記支柱(11)及び前記側部結合手段(16)を外側から覆う外化粧柱(22)を前記外固定手段(67)により前記両部分ユニット(3)の前記両外壁材(8)に跨がって着脱自在に固定したことを特徴とする請求項3に記載の組み立て家屋。
- 前記屋根(5)はその略全体にわたる金属シート(45)と、該金属シート(45)の下側に設けられた防水シート(46)と、前記金属シート(45)の下側に横方向に所定間隔をおいて配置された複数の垂木(47)と、前記金属シート(45)の上側に配置された屋根板(53)とを備え、前記金属シート(45)は前記各垂木(47)に上側から嵌合する複数の凹部(48)と、該凹部(48)間に形成された複数の溝部(49)とを備えたことを特徴とする請求項1〜4の何れかに記載の組み立て家屋。
- 前記金属製骨格体(4)は略水平に配置された矩形状の床枠体(23)と、傾斜状に配置された矩形状の屋根枠体(24)と、前記床枠体(23)及び前記屋根枠体(24)をその少なくとも四隅で上下に連結する前記支柱(10)(11)と、短い前記支柱(10)の上端側と隣接する長い前記支柱(11)とを略水平方向に連結する側枠材(25)と、前記開口部(9)の両側の長い前記支柱(11)を前記側枠材(25)と略同高さ位置又は前記側枠材(25)よりも高い位置で略水平方向に連結する鴨居枠材(26)とを含み、前記吊り具(12)(13)を前記支柱(10)(11)の外側面に固着し、前記屋根枠体(24)の棟側の横枠材(29)と前記鴨居枠材(26)との間に、前記金属製骨格体(4)の前記開口部(9)側を補強する複数の補強材(33)(34)を設けたことを特徴とする請求項1〜5の何れかに記載の組み立て家屋。
Priority Applications (1)
| Application Number | Priority Date | Filing Date | Title |
|---|---|---|---|
| JP2003075788A JP2004285577A (ja) | 2003-03-19 | 2003-03-19 | 組み立て家屋 |
Applications Claiming Priority (1)
| Application Number | Priority Date | Filing Date | Title |
|---|---|---|---|
| JP2003075788A JP2004285577A (ja) | 2003-03-19 | 2003-03-19 | 組み立て家屋 |
Publications (1)
| Publication Number | Publication Date |
|---|---|
| JP2004285577A true JP2004285577A (ja) | 2004-10-14 |
Family
ID=33291013
Family Applications (1)
| Application Number | Title | Priority Date | Filing Date |
|---|---|---|---|
| JP2003075788A Pending JP2004285577A (ja) | 2003-03-19 | 2003-03-19 | 組み立て家屋 |
Country Status (1)
| Country | Link |
|---|---|
| JP (1) | JP2004285577A (ja) |
Cited By (3)
| Publication number | Priority date | Publication date | Assignee | Title |
|---|---|---|---|---|
| CN108222569A (zh) * | 2018-03-19 | 2018-06-29 | 宁夏凤凰城智能制造有限公司 | 一种移动式装配车间 |
| CN108412047A (zh) * | 2017-07-06 | 2018-08-17 | 华北理工大学 | 一种装配式房屋的快速安装工艺与方法 |
| JP2021147967A (ja) * | 2020-03-23 | 2021-09-27 | ミサワホーム株式会社 | 居住用ユニットの連結方法 |
-
2003
- 2003-03-19 JP JP2003075788A patent/JP2004285577A/ja active Pending
Cited By (5)
| Publication number | Priority date | Publication date | Assignee | Title |
|---|---|---|---|---|
| CN108412047A (zh) * | 2017-07-06 | 2018-08-17 | 华北理工大学 | 一种装配式房屋的快速安装工艺与方法 |
| CN108412047B (zh) * | 2017-07-06 | 2023-06-09 | 华北理工大学 | 一种装配式房屋的快速安装工艺与方法 |
| CN108222569A (zh) * | 2018-03-19 | 2018-06-29 | 宁夏凤凰城智能制造有限公司 | 一种移动式装配车间 |
| JP2021147967A (ja) * | 2020-03-23 | 2021-09-27 | ミサワホーム株式会社 | 居住用ユニットの連結方法 |
| JP7350683B2 (ja) | 2020-03-23 | 2023-09-26 | ミサワホーム株式会社 | 居住用ユニットの連結方法 |
Similar Documents
| Publication | Publication Date | Title |
|---|---|---|
| US4644708A (en) | Prefabricated modular building element and a building comprising such elements | |
| US6604328B1 (en) | Portable cabin, components therefor, methods of making and erecting same | |
| CN211774523U (zh) | 一种可临时搭建的装配式建筑 | |
| US6588161B2 (en) | Laminated construction elements and method for constructing an earthquake-resistant building | |
| JP3247307U (ja) | 可搬式の家屋 | |
| US4187655A (en) | Panel constructed building | |
| US20150267395A1 (en) | Building System, Particularly a Residential Building | |
| US20080148678A1 (en) | Frames For Buildings | |
| JP3175215U (ja) | 組み立て家屋 | |
| JP2004285577A (ja) | 組み立て家屋 | |
| EP0105406B1 (en) | Building units | |
| JP7309792B2 (ja) | 連結方法 | |
| US5177914A (en) | Vertical section building construction | |
| JP7369022B2 (ja) | プレハブ建築物 | |
| JP3112560U (ja) | 壁式木造建築物 | |
| JP2023026810A (ja) | 居住用ユニット | |
| JP3356881B2 (ja) | 組立シェルター | |
| JP2006322205A (ja) | 壁式木造建築物 | |
| JP7244592B2 (ja) | 居住用ユニット | |
| JP7244593B2 (ja) | 居住用ユニット | |
| GB2466361A (en) | Orangery with structural perimeter for roof glazing | |
| JP3053732B2 (ja) | ユニット建物 | |
| JP3810869B2 (ja) | 玄関庇ユニットおよびその取付方法 | |
| JPH07317142A (ja) | 木造住宅の建築工法 | |
| JP3902847B2 (ja) | バルコニー付きユニット建物 |
Legal Events
| Date | Code | Title | Description |
|---|---|---|---|
| A977 | Report on retrieval |
Free format text: JAPANESE INTERMEDIATE CODE: A971007 Effective date: 20050310 |
|
| A131 | Notification of reasons for refusal |
Free format text: JAPANESE INTERMEDIATE CODE: A131 Effective date: 20050322 |
|
| A02 | Decision of refusal |
Free format text: JAPANESE INTERMEDIATE CODE: A02 Effective date: 20050802 |