JP2004263984A - Air conditioner - Google Patents

Air conditioner Download PDF

Info

Publication number
JP2004263984A
JP2004263984A JP2003056856A JP2003056856A JP2004263984A JP 2004263984 A JP2004263984 A JP 2004263984A JP 2003056856 A JP2003056856 A JP 2003056856A JP 2003056856 A JP2003056856 A JP 2003056856A JP 2004263984 A JP2004263984 A JP 2004263984A
Authority
JP
Japan
Prior art keywords
suction
filter
air conditioner
air
dust
Prior art date
Legal status (The legal status is an assumption and is not a legal conclusion. Google has not performed a legal analysis and makes no representation as to the accuracy of the status listed.)
Granted
Application number
JP2003056856A
Other languages
Japanese (ja)
Other versions
JP2004263984A5 (en
JP4360105B2 (en
Inventor
Akihiko Shimizu
昭彦 清水
Masaharu Ebihara
正春 海老原
Current Assignee (The listed assignees may be inaccurate. Google has not performed a legal analysis and makes no representation or warranty as to the accuracy of the list.)
Panasonic Holdings Corp
Original Assignee
Matsushita Electric Industrial Co Ltd
Priority date (The priority date is an assumption and is not a legal conclusion. Google has not performed a legal analysis and makes no representation as to the accuracy of the date listed.)
Filing date
Publication date
Application filed by Matsushita Electric Industrial Co Ltd filed Critical Matsushita Electric Industrial Co Ltd
Priority to JP2003056856A priority Critical patent/JP4360105B2/en
Publication of JP2004263984A publication Critical patent/JP2004263984A/en
Publication of JP2004263984A5 publication Critical patent/JP2004263984A5/ja
Application granted granted Critical
Publication of JP4360105B2 publication Critical patent/JP4360105B2/en
Anticipated expiration legal-status Critical
Expired - Fee Related legal-status Critical Current

Links

Images

Landscapes

  • Filtering Of Dispersed Particles In Gases (AREA)
  • Air Filters, Heat-Exchange Apparatuses, And Housings Of Air-Conditioning Units (AREA)

Abstract

<P>PROBLEM TO BE SOLVED: To always secure a superior air blowing state and eliminate troublesomeness of periodic cleaning of an air filter. <P>SOLUTION: This air conditioner is provided with a filter device for arranging a filter frame, the air filter, a plurality of movable suction nozzles for sucking in dust and dirt, and suction ducts in the plurality of suction nozzles between a heat exchanger and a suction port of the air conditioner, and also having a suction-exhaust device connected to the suction ducts, and an exhaust duct for exhausting the dust and dirt outside a room. <P>COPYRIGHT: (C)2004,JPO&NCIPI

Description

【0001】
【発明の属する技術分野】
本発明は、自動清掃が可能なフィルター装置を備えた空気調和機に関するものである。
【0002】
【従来の技術】
従来の空気調和機は、図8及び図9に示すように熱交換器11の前面に、空気調和機の本体内部へ塵埃が侵入することを防ぐためのエアフィルター6が設けられており、このエアフィルター6は、付着した塵埃を手で清掃できるように着脱自在に構成されている。
【0003】
一方、空気調和機には、エアフィルターの清掃手段として、回転ブラシと、ブラシカバーと、前記回転ブラシに同軸に設けられるピニオンからなるフィルターブラシが構成されているものが知られている(例えば特許文献1参照)。
【0004】
また、捕集装置と、清浄装置と、吸込み機構と、前記吸込み機構に繋がる担持ビームと、前記担持ビームに接続されたホースと真空発生器などで構成されているものが知られている(例えば特許文献2参照)。
【0005】
また、ベルト状のフィルターを張設した駆動軸及び従動軸と、サーボモータと、ブラシと、排気管に配設された塵埃センサー及びファンと、前記フィルターの連続使用時間を算出する演算処理手段と、制御手段とが構成されているものが知られている(例えば特許文献3参照)。
【0006】
【特許文献1】
特開平11−226331号公報(第2頁、第1〜4図)
【特許文献2】
特開平1−75020号公報(第1〜9頁、第4図)
【特許文献3】
特開平6−74521号公報(第2頁、第1図)
【0007】
【発明が解決しようとする課題】
しかしながら、上記従来のフィルターの構成では、空気調和機の使用頻度に応じて空気調和機より取り外し、水洗いもしくは掃除機などで付着した塵埃を掃除するという周期的なメンテナンスを要する。また、周期的なメンテナンスが成されなかった場合、エアフィルターに塵埃が堆積し吸込み空気の通気抵抗が増大するため空気調和機の性能が低下、消費電力が増大するという課題があった。
【0008】
また、動作手段に制約があったり、集塵後の塵埃処理の手間が発生するなどして確実な手段ではなかった。
【0009】
また、動作手段に制約があったり、本体サイズが拡大化するなどの課題を有した。
【0010】
【課題を解決するための手段】
前記従来の課題を解決するため、本発明の空気調和機は、フィルター枠と、エアフィルターと、移動可能な複数の吸入ノズルと、前記複数の吸入ノズルに吸い込みダクトを設け、さらに前記吸い込みダクトに連結する吸引排気装置と排気ダクトとを具備したフィルター装置を備えたものである。
【0011】
上記構成により、エアフィルターの清掃を自動的に、且つ確実に行うことが可能となり、空気調和機の性能維持、及び消費電力の増大防止を図ることができる。
【0012】
【発明の実施の形態】
以下に、本発明の実施の形態について、図面を参照しながら説明する。
【0013】
(実施の形態1)
図1は本発明の実施の形態1におけるフィルター装置の斜視図、図2、3は本発明の実施の形態1におけるの吸入ノズルの外観図、図4は空気調和機の正面図、図5、図6は本発明の実施の形態1における空気調和機の断面図である。
【0014】
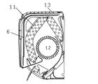
空気調和機本体13の内部には、熱交換器11とファン12が配設されており、本体13の前面から上面に渡り形成される複数の吸込口(図示せず)からは、ファンの動作により空気が吸い込まれ、これらの空気中に漂う塵埃は、前記吸込口と熱交換器11との間に設けたフィルター装置1で取り除かれる。
【0015】
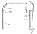
このフィルター装置1は、フィルター枠2と、エアフィルター6と、移動可能な吸入ノズル5と、吸入ノズル5に吸い込みダクト3を設け、さらに吸い込みダクト3に連結する吸引排気装置7と排気ダクト8とから構成したものである。ここで、吸入ノズル5は吸入ノズル5の移動方向に対し2本並べた形態で配設し、それぞれに第一吸入口5a1、第二吸入口5a2を設けている。第一吸入口5a1はエアフィルター6の前面部に相対する位置に、第二吸入口5a2はエアフィルター6の上面部に相対する位置に開口している。
【0016】
このように構成されたフィルター装置1の動作について説明する。空気調和機本体13の運転停止後に、吸引排気装置7が運転開始し、吸い込みダクト3に設置された2本の吸入ノズル5に個々に設けた第一吸入口5a1、第二吸入口5a2から空気を吸い込み始める。そして、エアフィルター6の片側端に位置していた2本の吸入ノズル5が、駆動モータ10に連結された駆動用ワイヤー9によって、図1に示すようにAの矢印方向に移動し、エアフィルター6の表面に付着した塵埃を吸入ノズル5に設けた第一吸入口5a1、第二吸入口5a2から吸い取り、塵埃は吸い込みダクト3、吸引排気装置7を通り、排気ダクト8から室外へ吐き出される。
【0017】
ここで、吸入ノズル5がエアフィルター6の表面を全面清掃し、対向する片側端まで移動したときに駆動モータ10を逆回転させれば、吸入ノズル5は初期の位置に戻る方向に移動して、もう一度エアフィルター5の表面を清掃することが可能となる。
【0018】
前述のように、2本の吸入ノズル5を設けて吸入口を分割することで、吸入ノズル1本当りの吸入口の開口面積を小さくすることができるため、吸入口を通過する吸込み空気の速度が増して、吸引力を上げることができる。このため、エアフィルター6の表面に付着した塵埃をより確実に吸引することが可能となる。
【0019】
本実施の形態では、2本構成の吸入ノズル5を設けたが、場合によっては、2本以上の構成としてもよい。また、図2、図3に示したように、1本の吸入ノズル5において、吸入通路5cを分割し、それぞれの吸入通路5cに吸入口を設けても構わない。
【0020】
そして、この実施の形態によれば、空気調和機に、吸塵性能に優れた、自動清掃可能なフィルター装置を設けることができ、性能維持、及び消費電力の増大防止を図ることができる。
【0021】
(実施の形態2)
図7は本発明の実施の形態2を説明した図である。
【0022】
分割した吸入通路5cに個々に設けた吸入口5a1、5a2を、吸入ノズル5の移動方向に対して直交する方向に、隙間なく、もしくはオーバーラップさせて配列(δ≧0)することで、エアフィルター6の表面に付着している塵埃を残すことなく吸引することができる。このためエアフィルター6をより確実に清掃することが可能となる。
【0023】
【発明の効果】
以上のように、本発明の空気調和機においては、フィルター枠と、エアフィルターと、移動可能な複数の吸入ノズルと、前記複数の吸入ノズルに吸い込みダクトを設け、さらに前記吸い込みダクトに連結する吸引排気装置と排気ダクトとを具備したフィルター装置を設けたことで、エアフィルターの清掃を自動的に、且つ確実に行うことが可能になり、空気調和機の性能維持、及び消費電力の増大防止を図ることができるという効果を奏する。
【図面の簡単な説明】
【図1】本発明の実施の形態1におけるフィルター装置の斜視図
【図2】本発明の実施の形態1におけるフィルター装置の吸入ノズルの外観図
【図3】本発明の実施の形態2におけるフィルター装置の吸入ノズルの外観図
【図4】本発明の実施の形態1における空気調和機の正面図
【図5】図4のI−I断面における断面図
【図6】図4のII−II断面における断面図
【図7】本発明の実施の形態2におけるフィルター装置の吸入ノズルの外観図
【図8】従来例を示す空気調和機の正面図
【図9】図8のIII−III断面における断面図
【符号の説明】
1 フィルター装置
2 フィルター枠
3 吸い込みダクト
5 吸入ノズル
5a1 第一吸入口
5a2 第二吸入口
5c 吸入通路
6 エアフィルター
7 吸引排気装置
8 排気ダクト
9 駆動用ワイヤー
10 駆動モータ
11 熱交換器
12 ファン
13 本体
[0001]
TECHNICAL FIELD OF THE INVENTION
The present invention relates to an air conditioner provided with a filter device capable of automatic cleaning.
[0002]
[Prior art]
In the conventional air conditioner, as shown in FIGS. 8 and 9, an air filter 6 for preventing dust from entering the inside of the main body of the air conditioner is provided on the front surface of the heat exchanger 11. The air filter 6 is detachably configured so that the attached dust can be cleaned by hand.
[0003]
On the other hand, an air conditioner is known in which a rotating brush, a brush cover, and a filter brush composed of a pinion provided coaxially with the rotating brush are configured as cleaning means for an air filter (for example, see Japanese Patent Application Laid-Open No. H11-163873). Reference 1).
[0004]
Further, there is known a trapping device, a cleaning device, a suction mechanism, a carrier beam connected to the suction mechanism, a hose connected to the carrier beam, a vacuum generator, and the like (for example, a known device). Patent Document 2).
[0005]
Further, a drive shaft and a driven shaft having a belt-shaped filter stretched thereon, a servomotor, a brush, a dust sensor and a fan disposed in an exhaust pipe, and arithmetic processing means for calculating a continuous use time of the filter. And a control means are known (for example, see Patent Document 3).
[0006]
[Patent Document 1]
JP-A-11-226331 (page 2, FIG. 1 to FIG. 4)
[Patent Document 2]
JP-A-1-75020 (pages 1 to 9, FIG. 4)
[Patent Document 3]
JP-A-6-74521 (page 2, FIG. 1)
[0007]
[Problems to be solved by the invention]
However, the above-described conventional filter configuration requires periodic maintenance such as removing the air conditioner from the air conditioner in accordance with the frequency of use of the air conditioner, and washing the attached dust with water or a vacuum cleaner. In addition, when the periodic maintenance is not performed, dust accumulates on the air filter, and the ventilation resistance of the intake air increases, so that the performance of the air conditioner decreases and the power consumption increases.
[0008]
In addition, there are restrictions on the operation means, and the time and effort for dust treatment after dust collection are increased, so that the method is not reliable.
[0009]
In addition, there are problems such as limitations on the operation means and an increase in the size of the main body.
[0010]
[Means for Solving the Problems]
In order to solve the conventional problem, the air conditioner of the present invention includes a filter frame, an air filter, a plurality of movable suction nozzles, and a suction duct provided in the plurality of suction nozzles. It is provided with a filter device having a suction and exhaust device and an exhaust duct to be connected.
[0011]
With the above configuration, the air filter can be automatically and reliably cleaned, so that the performance of the air conditioner can be maintained and the power consumption can be prevented from increasing.
[0012]
BEST MODE FOR CARRYING OUT THE INVENTION
Hereinafter, embodiments of the present invention will be described with reference to the drawings.
[0013]
(Embodiment 1)
1 is a perspective view of a filter device according to Embodiment 1 of the present invention, FIGS. 2 and 3 are external views of a suction nozzle according to Embodiment 1 of the present invention, FIG. 4 is a front view of an air conditioner, FIG. FIG. 6 is a cross-sectional view of the air conditioner according to Embodiment 1 of the present invention.
[0014]
A heat exchanger 11 and a fan 12 are provided inside the air conditioner main body 13, and the operation of the fan is performed through a plurality of suction ports (not shown) formed from the front surface to the upper surface of the main body 13. And the dust floating in the air is removed by the filter device 1 provided between the suction port and the heat exchanger 11.
[0015]
The filter device 1 includes a filter frame 2, an air filter 6, a movable suction nozzle 5, a suction duct 3 provided on the suction nozzle 5, and a suction and exhaust device 7 and an exhaust duct 8 connected to the suction duct 3. It consists of. Here, two suction nozzles 5 are arranged in a form arranged side by side in the moving direction of the suction nozzles 5, and each has a first suction port 5 a 1 and a second suction port 5 a 2. The first suction port 5a1 opens at a position facing the front surface of the air filter 6, and the second suction port 5a2 opens at a position facing the upper surface of the air filter 6.
[0016]
The operation of the filter device 1 configured as described above will be described. After the operation of the air conditioner main body 13 is stopped, the suction / exhaust device 7 starts operating, and air flows from the first suction port 5a1 and the second suction port 5a2 respectively provided to the two suction nozzles 5 installed in the suction duct 3. Start sucking. Then, the two suction nozzles 5 located at one end of the air filter 6 are moved in the direction of arrow A as shown in FIG. The dust adhering to the surface of the suction nozzle 6 is sucked from the first suction port 5a1 and the second suction port 5a2 provided in the suction nozzle 5, and the dust passes through the suction duct 3 and the suction / exhaust device 7, and is discharged from the exhaust duct 8 to the outside of the room.
[0017]
Here, if the drive motor 10 is rotated reversely when the suction nozzle 5 cleans the entire surface of the air filter 6 and moves to the opposite one end, the suction nozzle 5 moves in the direction to return to the initial position. Thus, the surface of the air filter 5 can be cleaned again.
[0018]
As described above, by providing the two suction nozzles 5 and dividing the suction port, the opening area of the suction port per suction nozzle can be reduced, so that the speed of the suction air passing through the suction port can be reduced. And the suction force can be increased. For this reason, the dust adhering to the surface of the air filter 6 can be more reliably sucked.
[0019]
In the present embodiment, two suction nozzles 5 are provided, but in some cases, two or more suction nozzles may be provided. Further, as shown in FIGS. 2 and 3, in one suction nozzle 5, the suction passage 5c may be divided, and a suction port may be provided in each suction passage 5c.
[0020]
According to this embodiment, an air conditioner can be provided with a filter device that is excellent in dust-absorbing performance and that can be automatically cleaned, so that performance can be maintained and power consumption can be prevented from increasing.
[0021]
(Embodiment 2)
FIG. 7 is a view for explaining Embodiment 2 of the present invention.
[0022]
By arranging the suction ports 5a1 and 5a2 individually provided in the divided suction passages 5c in a direction perpendicular to the moving direction of the suction nozzle 5 without a gap or overlapping (δ ≧ 0), air The suction can be performed without leaving the dust attached to the surface of the filter 6. Therefore, the air filter 6 can be more reliably cleaned.
[0023]
【The invention's effect】
As described above, in the air conditioner of the present invention, a filter frame, an air filter, a plurality of movable suction nozzles, a suction duct provided for the plurality of suction nozzles, and a suction duct connected to the suction duct are further provided. By providing a filter device including an exhaust device and an exhaust duct, it is possible to automatically and reliably clean the air filter, thereby maintaining the performance of the air conditioner and preventing an increase in power consumption. This has the effect that it can be achieved.
[Brief description of the drawings]
FIG. 1 is a perspective view of a filter device according to Embodiment 1 of the present invention. FIG. 2 is an external view of a suction nozzle of the filter device according to Embodiment 1 of the present invention. FIG. 3 is a filter according to Embodiment 2 of the present invention. FIG. 4 is a front view of an air conditioner according to Embodiment 1 of the present invention. FIG. 5 is a cross-sectional view taken along a line II in FIG. 4. FIG. 6 is a cross-sectional view taken along a line II-II in FIG. FIG. 7 is an external view of a suction nozzle of a filter device according to Embodiment 2 of the present invention. FIG. 8 is a front view of an air conditioner showing a conventional example. FIG. 9 is a cross section taken along line III-III of FIG. Figure [Explanation of symbols]
DESCRIPTION OF SYMBOLS 1 Filter device 2 Filter frame 3 Suction duct 5 Suction nozzle 5a1 First suction port 5a2 Second suction port 5c Suction passage 6 Air filter 7 Suction and exhaust device 8 Exhaust duct 9 Driving wire 10 Drive motor 11 Heat exchanger 12 Fan 13 Main body

Claims (1)

空気調和機の熱交換器と吸込口との間に、フィルター枠と、エアフィルターと、塵埃を吸入する移動可能な複数の吸入ノズルと、前記複数の吸入ノズルに吸い込みダクトを設け、さらに前記吸い込みダクトに連結する吸引排気装置と、塵埃を室外に排気する排気ダクトとを具備したフィルター装置を設けたことを特徴とする空気調和機。A filter frame, an air filter, a plurality of movable suction nozzles for sucking dust, and a suction duct are provided between the plurality of suction nozzles between the heat exchanger and the suction port of the air conditioner; An air conditioner comprising a filter device including a suction / exhaust device connected to a duct and an exhaust duct for exhausting dust to the outside of a room.
JP2003056856A 2003-03-04 2003-03-04 Air conditioner Expired - Fee Related JP4360105B2 (en)

Priority Applications (1)

Application Number Priority Date Filing Date Title
JP2003056856A JP4360105B2 (en) 2003-03-04 2003-03-04 Air conditioner

Applications Claiming Priority (1)

Application Number Priority Date Filing Date Title
JP2003056856A JP4360105B2 (en) 2003-03-04 2003-03-04 Air conditioner

Related Child Applications (1)

Application Number Title Priority Date Filing Date
JP2008197337A Division JP4725616B2 (en) 2008-07-31 2008-07-31 Air conditioner

Publications (3)

Publication Number Publication Date
JP2004263984A true JP2004263984A (en) 2004-09-24
JP2004263984A5 JP2004263984A5 (en) 2006-03-30
JP4360105B2 JP4360105B2 (en) 2009-11-11

Family

ID=33120424

Family Applications (1)

Application Number Title Priority Date Filing Date
JP2003056856A Expired - Fee Related JP4360105B2 (en) 2003-03-04 2003-03-04 Air conditioner

Country Status (1)

Country Link
JP (1) JP4360105B2 (en)

Cited By (13)

* Cited by examiner, † Cited by third party
Publication number Priority date Publication date Assignee Title
JP2006105591A (en) * 2005-11-29 2006-04-20 Matsushita Electric Ind Co Ltd Air conditioner filter device
JP2006105590A (en) * 2005-11-29 2006-04-20 Matsushita Electric Ind Co Ltd Air conditioner filter device
WO2006043534A1 (en) * 2004-10-19 2006-04-27 Matsushita Electric Industrial Co., Ltd. Filter device for air conditioner
WO2006046409A1 (en) * 2004-10-26 2006-05-04 Matsushita Electric Industrial Co., Ltd. Air conditioner having indoor unit with automatic cleaning function for air filter
WO2006049060A1 (en) * 2004-11-05 2006-05-11 Matsushita Electric Industrial Co., Ltd. Air conditioner
WO2006049244A1 (en) * 2004-11-08 2006-05-11 Matsushita Electric Industrial Co., Ltd. Air conditioner
WO2006051740A1 (en) * 2004-11-10 2006-05-18 Matsushita Electric Industrial Co., Ltd. Air conditioner having indoor unit with automatic air filter cleaning function
JP2006214721A (en) * 2004-10-27 2006-08-17 Matsushita Electric Ind Co Ltd Air conditioner
JP2006220412A (en) * 2004-11-08 2006-08-24 Matsushita Electric Ind Co Ltd Air conditioner
JP2007101113A (en) * 2005-10-06 2007-04-19 Matsushita Electric Ind Co Ltd Filter cleaning device
CN101360956B (en) * 2006-01-19 2010-06-16 夏普株式会社 air conditioner
CN105057283A (en) * 2015-08-14 2015-11-18 珠海格力电器股份有限公司 Cleaning mechanism, cleaning device and air conditioner
CN106545987A (en) * 2015-09-17 2017-03-29 广东美的制冷设备有限公司 A kind of air-conditioner outdoor unit dust arrester and dust collection method

Cited By (24)

* Cited by examiner, † Cited by third party
Publication number Priority date Publication date Assignee Title
WO2006043534A1 (en) * 2004-10-19 2006-04-27 Matsushita Electric Industrial Co., Ltd. Filter device for air conditioner
CN100427838C (en) * 2004-10-19 2008-10-22 松下电器产业株式会社 Filter device for air conditioner
WO2006046409A1 (en) * 2004-10-26 2006-05-04 Matsushita Electric Industrial Co., Ltd. Air conditioner having indoor unit with automatic cleaning function for air filter
JP2006214721A (en) * 2004-10-27 2006-08-17 Matsushita Electric Ind Co Ltd Air conditioner
JPWO2006049060A1 (en) * 2004-11-05 2008-05-29 松下電器産業株式会社 Air conditioner
JP4843500B2 (en) * 2004-11-05 2011-12-21 パナソニック株式会社 Air conditioner
WO2006049060A1 (en) * 2004-11-05 2006-05-11 Matsushita Electric Industrial Co., Ltd. Air conditioner
WO2006049244A1 (en) * 2004-11-08 2006-05-11 Matsushita Electric Industrial Co., Ltd. Air conditioner
JP2006220412A (en) * 2004-11-08 2006-08-24 Matsushita Electric Ind Co Ltd Air conditioner
JPWO2006049244A1 (en) * 2004-11-08 2008-05-29 松下電器産業株式会社 Air conditioner
WO2006051740A1 (en) * 2004-11-10 2006-05-18 Matsushita Electric Industrial Co., Ltd. Air conditioner having indoor unit with automatic air filter cleaning function
JP4932491B2 (en) * 2004-11-10 2012-05-16 パナソニック株式会社 Air conditioner with indoor unit with automatic air filter cleaning function
JPWO2006051740A1 (en) * 2004-11-10 2008-05-29 松下電器産業株式会社 Air conditioner with indoor unit with automatic air filter cleaning function
CN100578108C (en) * 2004-11-10 2010-01-06 松下电器产业株式会社 Air conditioner having indoor unit with automatic cleaning function of air filter
JP2007101113A (en) * 2005-10-06 2007-04-19 Matsushita Electric Ind Co Ltd Filter cleaning device
JP2006105591A (en) * 2005-11-29 2006-04-20 Matsushita Electric Ind Co Ltd Air conditioner filter device
JP2006105590A (en) * 2005-11-29 2006-04-20 Matsushita Electric Ind Co Ltd Air conditioner filter device
CN101360956B (en) * 2006-01-19 2010-06-16 夏普株式会社 air conditioner
CN105057283A (en) * 2015-08-14 2015-11-18 珠海格力电器股份有限公司 Cleaning mechanism, cleaning device and air conditioner
WO2017028710A1 (en) * 2015-08-14 2017-02-23 珠海格力电器股份有限公司 Cleaning mechanism, cleaning device and air conditioner
JP2018526604A (en) * 2015-08-14 2018-09-13 グリー エレクトリック アプライアンス、インコーポレイテッド オブ チューハイ Cleaning mechanism, cleaning device, and air conditioner
US10814359B2 (en) 2015-08-14 2020-10-27 Gree Electric Appliances, Inc. Of Zhuhai Cleaning mechanism, cleaning device and air conditioner
JP7097811B2 (en) 2015-08-14 2022-07-08 グリー エレクトリック アプライアンス、インコーポレイテッド オブ チューハイ Cleaning mechanism, cleaning device, and air conditioner
CN106545987A (en) * 2015-09-17 2017-03-29 广东美的制冷设备有限公司 A kind of air-conditioner outdoor unit dust arrester and dust collection method

Also Published As

Publication number Publication date
JP4360105B2 (en) 2009-11-11

Similar Documents

Publication Publication Date Title
JP4107119B2 (en) Air conditioner filter device
JP2004283703A (en) Air conditioner filter device
JP4350705B2 (en) Air conditioner with indoor unit with automatic air filter cleaning function
JP4360105B2 (en) Air conditioner
JP4384115B2 (en) Air conditioner with indoor unit with automatic air filter cleaning function
JP2004283704A (en) Air conditioner filter device
WO2006043430A1 (en) Air conditioner
JP4860131B2 (en) Method for controlling dust suction device of air conditioner
JP4401387B2 (en) Air conditioner filter device
CN100338399C (en) Air conditioner having indoor unit with automatic air filter-cleaning function
JP4134768B2 (en) Air conditioner
JP4725616B2 (en) Air conditioner
JP4089510B2 (en) Air conditioner filter device
WO2006046409A1 (en) Air conditioner having indoor unit with automatic cleaning function for air filter
JP3992722B2 (en) Air conditioner
JP4946452B2 (en) Air conditioner filter device
JP4645059B2 (en) Filter device and air conditioner
JP2006284044A (en) Air conditioner filter device
JP3907675B2 (en) Air conditioner
JP4599970B2 (en) Air conditioner
KR20060054075A (en) Air conditioner
JP5061837B2 (en) Air conditioner
JP4449564B2 (en) Filter device and air conditioner
JP2007127289A (en) Air conditioner
JP2004263983A (en) Air conditioner

Legal Events

Date Code Title Description
A521 Request for written amendment filed

Free format text: JAPANESE INTERMEDIATE CODE: A523

Effective date: 20060215

A621 Written request for application examination

Free format text: JAPANESE INTERMEDIATE CODE: A621

Effective date: 20060215

RD01 Notification of change of attorney

Free format text: JAPANESE INTERMEDIATE CODE: A7421

Effective date: 20060314

A977 Report on retrieval

Free format text: JAPANESE INTERMEDIATE CODE: A971007

Effective date: 20080606

A131 Notification of reasons for refusal

Free format text: JAPANESE INTERMEDIATE CODE: A131

Effective date: 20080617

A521 Request for written amendment filed

Free format text: JAPANESE INTERMEDIATE CODE: A523

Effective date: 20080801

A131 Notification of reasons for refusal

Free format text: JAPANESE INTERMEDIATE CODE: A131

Effective date: 20081202

A521 Request for written amendment filed

Free format text: JAPANESE INTERMEDIATE CODE: A523

Effective date: 20090130

TRDD Decision of grant or rejection written
A01 Written decision to grant a patent or to grant a registration (utility model)

Free format text: JAPANESE INTERMEDIATE CODE: A01

Effective date: 20090721

A01 Written decision to grant a patent or to grant a registration (utility model)

Free format text: JAPANESE INTERMEDIATE CODE: A01

A61 First payment of annual fees (during grant procedure)

Free format text: JAPANESE INTERMEDIATE CODE: A61

Effective date: 20090803

FPAY Renewal fee payment (event date is renewal date of database)

Free format text: PAYMENT UNTIL: 20120821

Year of fee payment: 3

FPAY Renewal fee payment (event date is renewal date of database)

Free format text: PAYMENT UNTIL: 20130821

Year of fee payment: 4

LAPS Cancellation because of no payment of annual fees