JP2004244965A - Rigid frame for wooden structure - Google Patents

Rigid frame for wooden structure Download PDF

Info

Publication number
JP2004244965A
JP2004244965A JP2003037514A JP2003037514A JP2004244965A JP 2004244965 A JP2004244965 A JP 2004244965A JP 2003037514 A JP2003037514 A JP 2003037514A JP 2003037514 A JP2003037514 A JP 2003037514A JP 2004244965 A JP2004244965 A JP 2004244965A
Authority
JP
Japan
Prior art keywords
column
steel box
wooden structure
column member
beam member
Prior art date
Legal status (The legal status is an assumption and is not a legal conclusion. Google has not performed a legal analysis and makes no representation as to the accuracy of the status listed.)
Pending
Application number
JP2003037514A
Other languages
Japanese (ja)
Inventor
Yasuhiro Kawachi
保弘 河内
Current Assignee (The listed assignees may be inaccurate. Google has not performed a legal analysis and makes no representation or warranty as to the accuracy of the list.)
Individual
Original Assignee
Individual
Priority date (The priority date is an assumption and is not a legal conclusion. Google has not performed a legal analysis and makes no representation as to the accuracy of the date listed.)
Filing date
Publication date
Application filed by Individual filed Critical Individual
Priority to JP2003037514A priority Critical patent/JP2004244965A/en
Publication of JP2004244965A publication Critical patent/JP2004244965A/en
Pending legal-status Critical Current

Links

Images

Landscapes

  • Joining Of Building Structures In Genera (AREA)

Abstract

<P>PROBLEM TO BE SOLVED: To provide a rigid frame for a wooden structure which can be easily constructed in the field even by a worker without skills, and to provide a steel box into which an end of a column member or a beam member for use in constructing the rigid frame is inserted/fixed. <P>SOLUTION: In construction of the rigid frame, first the steel box body which has an opening on one side thereof and a closed surface on the other side thereof, and protrudes a connecting element outward from the closed surface, is provided, and the end of the column member 1 or the beam member 2 is inserted and fixed into the opening, to thereby obtain the column member or the beam member for constructing the rigid frame. Next the column members or the beam members thus obtained are connected together or assembled, to thereby construct the rigid frame. <P>COPYRIGHT: (C)2004,JPO&NCIPI

Description

【0001】
【発明の属する技術分野】本発明は、木造構造物におけるモーメント抵抗接合を用いたラーメン架構及びラーメン架構構築用の柱部材及び梁部材の端部挿入・固着用鋼製箱体に関する。
【0002】
【従来の技術及び発明が解決しようとする課題】近年、木質柱と建築物の基礎部からなる木造構造物におけるラーメン架構の構築においては、建築現場で、基礎部にアンカーボルトを埋設し、その後アンカーボルトに、柱脚金物を固設したのちに、木質柱を柱脚金物にボルト締め等で固定する工法が採られている。しかし、前記工法は、現場加工に長時間を要し、また木質柱を柱脚金物に設置固定するのに熟練した技術を要するなどの問題があった。
【0003】
【課題を解決するための手段】上記に鑑み本発明者等は鋭意実験研究の結果下記の手段によりこの課題を解決した。
(1)木造構造物におけるラーメン架構において、一側面が開口し、閉口している他側面に接続要素を外側へ突設してなる鋼製箱体に、その開口部から柱部材又は梁部材の端部を挿入し固着してなるラーメン架構構築用の柱部材又は梁部材を、前記接続要素を介して結合・組み立ててなることを特徴とする木造構造物におけるラーメン架構。
(2)木造構造物におけるラーメン架構構築用の柱部材又は梁部材において、前記柱部材又は梁部材の端部を、一側面が開口し、閉口している他側面に接続要素を備えてなる鋼製箱体に、その開口部から挿入し、固着してなることを特徴とする木造構造物におけるラーメン架構構築用の柱部材又は梁部材。
(3)柱部材の端部が挿入・固着される鋼製箱体が、開口している一側面が上部であり、閉口している他側面が底部であり、前記他側面(底部)には接続要素が垂設されてなり、
同接続要素は、基礎コンクリートから突出している複数のアンカーボルトの先頭部挿入用のボルト孔を有する支持板を備えてなる柱脚支持金物であることを特徴とする木造構造物におけるラーメン架構構築用の柱部材の端部挿入・固着用鋼製箱体。
(4)梁部材の端部が挿入・固着される鋼製箱体が、開口している一側面が横端部であり、閉口している他側面が他の横端部であり、前記一側面又は前記他側面(横端部)には接続要素が突設されてなり、
同接続要素は前記一側面又は他側面(横端部)から突出している複数のボルト挿入用のボルト孔を有する支持板を備えてなる梁支持金物であることを特徴とする木造構造物におけるラーメン架構構築用の梁部材の端部挿入・固着用鋼製箱体。
(5)柱部材又は梁部材の端部が挿入・固着される鋼製箱体が、開口部以外の箱体外周面に接続要素が突設されてなり、
同接続要素は、他の梁部材又は柱部材の端部を固定するための複数のボルトの挿入用のボルト孔を有する支持板を備えてなる柱又は梁支持金物であることを特徴とする前記(3)又は(4)に記載の木造構造物におけるラーメン架構構築用の柱部材又は梁部材の端部挿入・固着用鋼製箱体。
(6)木造構造物におけるラーメン架構において、前記(3)〜(5)のいずれか1項に記載の接続要素を備えてなる柱部材又は梁部材の挿入・固着用鋼製箱体に、その開口部から柱部材又は梁部材の端部を挿入し固着してなるラーメン架構構築用の柱部材又は梁部材を、前記接続要素を介して結合・組み立ててなることを特徴とする木造構造物におけるラーメン架構。
【0004】
【発明の実施の形態】本発明の木造構造物におけるラーメン架構は、一側面が開口し、閉口している他側面に接続要素を外側へ突設して形成される鋼製箱体に、その開口部から柱部材又は梁部材の端部を挿入し固着して構成されるラーメン架構構築用の柱部材又は梁部材を、前記接続要素を介して結合・組み立てて構成される木造構造物におけるラーメン架構である。
そして、前記木造構造物におけるラーメン架構構築用の柱部材又は梁部材は、その端部を、鋼製箱体に挿入され、固着されて構成される。なお、前記鋼製箱体は、一側面が開口し、閉口している他側面に接続要素が備えられている。
【0005】
前記鋼製箱体において、柱部材の端部に挿入し固着される柱部材の端部挿入・固着用鋼製箱体は、開口している一側面が上部であり、閉口している他側面が底部であり、前記他側面(底部)には接続要素が垂設され、同接続要素が基礎コンクリートから突出している複数のアンカーボルト先頭部挿入用のボルト孔が穿設された支持板で構成されてなる柱脚支持金物である。
また、梁部材の端部に挿入し固着される梁部材の端部挿入・固着用鋼製箱体は、開口している一側面が横端部であり、閉口している他側面が他の横端部であり、前記一側面又は他側面(横端部)には接続要素が突設され、同接続要素が、前記一側面又は他側面(横端部)から突出している複数のボルト挿入用のボルト孔が穿設された支持板で構成されてなる梁支持金物である。
さらに、柱部材又は梁部材の端部に挿入し固着される柱部材又は梁部材の端部挿入・固着用鋼製箱体は、開口部以外の箱体外周面に接続要素が突設され、同接続要素が、他の梁部材又は柱部材の端部を固定するための複数のボルト挿入用のボルト孔が穿設された支持板で構成されてなる柱又は梁支持金物である。
そして、前記柱脚支持金物、梁支持金物及び柱又は梁支持金物を構成する挿入・固着用鋼製箱体は、柱部材又は梁部材と、頑強に接合される。前記柱部材又は梁部材の端部を、鋼製箱体の開口部から挿入し、固着する際には、接着剤によるものの他、柱脚支持金物又は梁支持金物を構成する鋼製箱体の側面の対抗する2側面又は4側面に形成・穿設された複数のボルト挿入孔にボルトを挿入し、ボルト締めによるボルト接合によるものなどが、柱脚支持金物又は梁支持金物と、柱部材又は梁部材とを一体的に頑強に締着することができるものとして好ましい。
【0006】
本発明の木造構造物におけるラーメン架構は、柱部材が挿入され固着された柱脚支持金物と構造物の基礎コンクリート部を、前記柱脚支持金物の支持板に穿設された複数のアンカーボルト頭部挿入用のボルト孔に同構造物の基礎コンクリート部に突出している複数のアンカーボルトの頭部を挿入し、前記アンカーボルト頭部をナットにて締着して形成されるので、柱脚支持金物と柱部材の接合のための作業、例えばボルトによる接合作業や接着剤による接合作業など、精度を要求される接合部の取り付け作業を、建築現場ではなく、製作機械、工具等を十分に備えた工場で実施し、接合された柱部材を現場で構造物の基礎コンクリート部に配設することができるものである。
同様に、梁部材と、梁支持金物との接合のための作業も、工場で実施することができる。
なお、本発明における柱脚支持金物、柱又は梁支持金物及び梁指示金物は、鋼製箱体を備えて構成され、柱部材及び梁部材との接合は、前記鋼製箱体の開口部へ柱部材又は梁部材の端部を挿入し固着することにより行われるので、工場での接合作業でなくとも、建築現場における接合作業も簡単、確実でかつ強固に製作することができる。
さらに、柱脚支持金物及び梁支持金物に備えられる接続要素により、柱部材及び梁部材の支持が容易となり、接合作業時の高度な技術を必要とせずに施工できるものとなっている。
なお、鋼製箱体に接続要素を備える作業は工場で行うことが好ましい。
【0007】
【実施例】
以下図面に基づいて本発明の実施例を説明する。
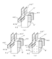
図1は本発明の木造構造物におけるラーメン架構の実施例1の外観斜視図、図2は、図1に示す実施例1の断面図、図3は柱脚支持金物の実施例を示す外観斜視図、図4は柱又は梁支持金物の実施例を示す外観斜視図、図5は梁支持金物の実施例を示す外観斜視図、図6は本発明の木造構造物におけるラーメン架構の柱脚支持金物と柱部材の接合方法を示す説明図、図7は本発明の木造構造物におけるラーメン架構の実施例2の外観斜視図、図8は本発明の木造構造物におけるラーメン架構の実施例3の外観斜視図、図9は本発明の木造構造物におけるラーメン架構により構成された構造物の外観斜視図、である。
図において、1は柱部材、2は梁部材、3、3’、3”は柱脚支持金物、4、4’、4”は柱又は梁支持金物、5、5’、5”は梁支持金物、6はボルト孔、7ボルト、7’はナット、8は基礎コンクリート部、9はアンカーボルト、30・40・50は支持板である。
【0008】
本発明の木造構造物におけるラーメン架構は、図1の本発明の木造構造物におけるラーメン架構の実施例1の外観斜視図及び図2の図1に示す実施例1の断面図に示すように、ラーメン架構構築用の柱部材1の端部が、柱脚支持金物3の開口部から挿入され固着され、また、同柱部材1の端部が、柱又は梁支持金物4の開口部から挿入され固着され、そして、ラーメン架構構築用の梁部材2の端部が、梁支持金物5の開口部から挿入され固着され、柱脚支持金物3の接続要素である支持板30は基礎コンクリート部8と固着され、柱又は梁支持金物4の接続要素である支持板40と梁支持金物5の接続要素である支持板50はボルト7で頑強に締着されて構成されている。
また、柱部材1’及び梁部材2’はそれぞれ、柱又は梁支持金物4の接続要素である支持板40’及び支持板40”とボルト7で強固に締着されている。
ここで、支持板40’は、梁支持用の受け板40’aを備えておくと、現場での施工が格段に容易になる。
【0009】
なお、本発明の木造構造物におけるラーメン架構における柱部材1と柱脚支持金物3、梁部材2と柱又は梁支持金物4及び梁支持金物5の接合は、接着剤によるもの、柱脚支持金物3又は柱又は梁支持金物4及び梁支持金物5を構成する鋼製箱体の側面の対抗する2側面又は4側面に形成・穿設された複数のボルト挿入孔6にボルト7を挿入し、ボルト締めによるボルト接合によるものなどが挙げられるが、柱部材1と柱脚支持金物3及び柱又は梁支持金物4、そして、梁部材2と柱又は梁支持金物4及び梁支持金物5とが、頑強に結合・固着できる手段であれば、その接合方法は限定されるものでない。
【0010】
本発明の木造構造物におけるラーメン架構の柱脚支持金物3、柱又は梁支持金物4及び梁支持金物5は、それぞれ、一側面が開口し、閉口している他側面や、開口部以外の箱体外周面に接続要素が外側へ突設された鋼製箱体で構成される。
図3は柱脚支持金物の実施例を示す外観斜視図であるが、(a)は柱部材1との接合が接着剤等による接合の際に用いられる柱脚支持金物3’、(b)は鋼製箱体の側面の2側面に柱部材1との固着用ボルト挿入孔6が形成・穿設された柱脚支持金物3、(c)は鋼製箱体の4側面に、柱部材1との固着用ボルト挿入孔6が形成・穿設された柱脚支持金物3”である。
それぞれ、柱脚支持金物3、3’、3”はいずれも、鋼製箱体3aの上部が開口しており、かつ底部は閉口している。そして、底部には、接続要素である複数のアンカーボルト頭部挿入用のボルト孔6を有する支持板30が備えられて構成されている。図に示す柱脚支持金物3、3’、3”における鋼製箱体3aと支持板30は、複数枚の立設された接続用鋼板で接合されて構成されているが、柱脚支持金物3、3’、3”の鋼製箱体3aと支持板30との接合は強固に接合されていればよく、その手段形状は限定されない。
【0011】
また、図4は柱又は梁支持金物の実施例を示す外観斜視図であるが、(a)は柱部材1との接合が接着剤等による接合の際に用いられる柱又は梁支持金物4’、(b)は鋼製箱体の側面の2側面に柱部材1との固着用ボルト挿入孔6が形成・穿設された柱又は梁支持金物4、(c)は鋼製箱体の4側面に、柱部材1との固着用ボルト挿入孔6が形成・穿設された柱又は梁支持金物4”である。
それぞれ、梁支持金物4、4’、4”はいずれも、鋼製箱体4aの下部が開口しており、かつ上部は閉口している。そして、上部には、上方に接続される柱部材1’(図1参照)との接続要素である複数のボルト挿入用のボルト孔6を有する支持板40”が備えられ、鋼製箱体4aの上部側面には、梁部材2’との接続要素である支持板40’が備えられ、支持板40’には、梁支持用の受け板40’aが突設され、鋼製箱体4aの他の上部側面には、梁部材2と固着された梁支持金物5(図1参照)との接続要素である支持板40が備えられており、それぞれ支持板40、40’、40”には、複数のボルト挿入用のボルト孔6が穿設されて構成されている。
【0012】
また、図5は梁支持金物の実施例を示す外観斜視図であるが、(a)は梁部材2との接合が接着剤等による接合の際に用いられる梁支持金物5’、(b)は鋼製箱体の側面の2側面に梁部材2との固着用ボルト挿入孔6が形成・穿設された梁支持金物5、(c)は鋼製箱体の4側面に、梁部材2との固着用ボルト挿入孔6が形成・穿設された梁支持金物5”である。
それぞれ、梁支持金物5、5’、5”はいずれも、鋼製箱体5aの側面の横端部が開口しており、かつ他側面の他の横端部は閉口している。そして、閉口している横端部には、柱又は梁支持金物4(図1参照)との接続要素である複数のボルト挿入用のボルト孔6を有する支持板50が突出して備えられ、前記支持板50には複数のボルト挿入用のボルト孔6が穿設されて構成されている。
【0013】
前記した図3〜5に図示した各支持金物において、柱部材1及び梁部材2と鋼製箱体3a、4a、5aとの固着は、それぞれ(a)は接着剤等、(b)は一方向のボルト締めによるもの、(c)は2方向のボルト締めによってなされるものであるが、柱部材1及び梁部材2と鋼製箱体3a、4a、5aとの固着は、構築する木造構造物の形状や環境等を考慮し、適宜最も好適な手段が選択され固着されることが好ましい。
また、支持板30、40、40’、40”、50の鋼製箱体3a、4a、5aへの配置は、同じく木造構造物の形状や立地条件等を鑑み、その配置個所や支持板の大きさ、形状等を検討し、適宜最適なものを選択することが好ましく、図に示したものは、その一例にすぎない。
【0014】
次ぎに、本発明の木造構造物におけるラーメン架構の柱脚支持金物と柱部材の接合方法の一例を図6に基づいて説明する。
図6は、本発明の木造構造物におけるラーメン架構の柱脚支持金物と柱部材の接合方法を示す説明図である。
ここで、柱脚支持金物3は、2側面にボルト挿入用のボルト孔6が穿設されている。柱部材1の端部が、柱脚支持金物3の鋼製箱体3aの開口部から挿入され、ボルト7及びナット7’により強固に締着される。また、柱脚支持金物3の底部に固着された支持板30に設けられたアンカーボルト頭部挿入用のボルト孔6に、基礎コンクリート部8に突出されたアンカーボルト9の頭部が挿入され、ナット7’で締着され、基礎コンクリート部8と柱脚支持金物3は強固に固着される。
その他、梁部材2と梁支持金物5の接合等も、同様の方法により固着される。
図7は本発明の木造構造物におけるラーメン架構の実施例2の外観斜視図であるが、同実施例2では、柱部材1と柱脚支持金物3及び柱又は梁支持金物4とが、2方向でボルト締されて、頑強に固着されている。
また、図8は本発明の木造構造物におけるラーメン架構の実施例3の外観斜視図であり、同実施例3においては、柱部材1と柱脚支持金物3及び柱又は梁支持金物4との固着及び、梁部材2と梁支持金物5との固着が、接着剤等で施されている。
【0015】
なお、図9は本発明の木造構造物におけるラーメン架構により構成された構造物の外観斜視図である。
基礎コンクリート部8の上面に、複数の柱脚支持金物3に挿入・固着された柱部材1が立設し、前記柱部材1の上方の端部には柱又は梁支持金物4が固着され、同柱又は梁支持金物4の接続要素(支持板40)と、梁支持金物5の接続要素(支持板50)がボルトにより結合され組立られて本発明の木造構造物におけるラーメン架構が構成されている。
【0016】
【発明の効果】本発明によれば、木造構造物におけるラーメン架構を熟練者でなくとも現場において容易に構築することができる。
また、木造構造物におけるラーメン架構を構築するために使用するラーメン架構構築用の柱部材又は梁部材は、工場等において接続要素を備えた鋼製箱体にその開口部から柱部材又は梁部材を挿入・固着することにより簡単・確実かつ強固に製作することができる。
【図面の簡単な説明】
【図1】本発明の木造構造物におけるラーメン架構の実施例1の外観斜視図
【図2】図1に示す実施例1の断面図
【図3】柱脚支持金物の実施例を示す外観斜視図
【図4】柱又は梁支持金物の実施例を示す外観斜視図
【図5】梁支持金物の実施例を示す外観斜視図
【図6】本発明の木造構造物におけるラーメン架構の柱脚支持金物と柱部材の接合方法を示す説明図
【図7】本発明の木造構造物におけるラーメン架構の実施例2の外観斜視図
【図8】本発明の木造構造物におけるラーメン架構の実施例3の外観斜視図
【図9】本発明の木造構造物におけるラーメン架構により構成された構造物の外観斜視図
【符号の説明】
1 柱部材
2 梁部材
3、3’、3” 柱脚支持金物
3a、4a、5a 鋼製箱体
4、4’、4” 柱又は梁支持金物
5、5’、5” 梁支持金物
6 ボルト孔
7 ボルト
7’ ナット
8 基礎コンクリート部
9 アンカーボルト
30・40・50 支持板
[0001]
BACKGROUND OF THE INVENTION 1. Field of the Invention The present invention relates to a ramen frame using moment resistance joining in a wooden structure, and a steel box for inserting and fixing end portions of pillar members and beam members for constructing the ramen frame.
[0002]
2. Description of the Related Art In recent years, in the construction of a ramen frame of a wooden structure composed of wooden pillars and a foundation of a building, anchor bolts are buried in the foundation at a construction site, and thereafter, A method of fixing a wooden pillar to an anchor bolt and then fixing the wooden pillar to the pillar base by bolting or the like is employed. However, the above-mentioned construction method has problems that a long time is required for on-site processing and a skilled technique is required for installing and fixing the wooden pillar to the pillar base metal.
[0003]
In view of the above, the present inventors have assiduously conducted an experimental study to solve this problem by the following means.
(1) In a ramen frame of a wooden structure, a steel box having one side opened and a connecting element protruding outward on the other side that is closed is provided with a column member or a beam member from the opening. A frame member for a wooden structure, wherein a column member or a beam member for constructing a frame frame having end portions inserted and fixed is connected and assembled via the connection element.
(2) In a column member or a beam member for constructing a rigid frame structure in a wooden structure, steel having an end portion of the column member or the beam member having an opening on one side and a connection element on the other side closed. A column member or beam member for constructing a rigid frame in a wooden structure, wherein the column member or the beam member is inserted into and fixed to an opening of a box body.
(3) The steel box body into which the end of the column member is inserted and fixed has one open side being the upper part, the other closed side being the bottom, and the other side (bottom) having Connecting elements are suspended,
The connecting element is a column base supporting hardware having a supporting plate having a bolt hole for inserting a head portion of a plurality of anchor bolts protruding from the foundation concrete, for constructing a rigid frame structure in a wooden structure. Steel box for insertion and fixation of the end of the pillar member.
(4) In the steel box into which the end of the beam member is inserted and fixed, one open side is the lateral end, and the other closed side is the other lateral end. A connection element is protruded on the side surface or the other side surface (lateral end portion),
The ramen in a wooden structure, wherein the connecting element is a beam supporting hardware having a supporting plate having a plurality of bolt holes for bolt insertion protruding from the one side surface or the other side surface (lateral end). Steel box for inserting and fixing the ends of beam members for frame construction.
(5) The steel box into which the end of the column member or the beam member is inserted and fixed has a connection element protruding from the outer peripheral surface of the box other than the opening,
The connecting element is a column or beam supporting hardware including a support plate having a bolt hole for inserting a plurality of bolts for fixing an end of another beam member or a column member. (3) or a steel box for end insertion and fixation of a column member or a beam member for constructing a rigid frame in the wooden structure according to (4).
(6) In a ramen frame of a wooden structure, a steel box body for inserting and fixing a column member or a beam member including the connection element according to any one of (3) to (5) above is provided. In a wooden structure, a column member or a beam member for constructing a rigid frame structure, which is obtained by inserting and fixing an end portion of a column member or a beam member from an opening, is connected and assembled via the connection element. Ramen frame.
[0004]
BEST MODE FOR CARRYING OUT THE INVENTION The frame structure of a wooden structure according to the present invention has a steel box body formed by projecting a connecting element outward on one side and opening on the other side which is closed. A ramen in a wooden structure constructed by connecting and assembling, via the connection element, a column member or a beam member for constructing a rigid frame constructed by inserting and fixing an end of the column member or the beam member from the opening. It is a frame.
The column member or the beam member for constructing the ramen frame in the wooden structure is configured such that its end is inserted into a steel box and fixed thereto. The steel box has an opening on one side and a connection element on the other side that is closed.
[0005]
In the steel box body, an end insertion / fixation steel box body of a column member to be inserted and fixed to an end of the column member has an upper side on one side that is open and another side that is closed. Is a bottom portion, and the other side surface (bottom portion) is formed of a support plate having a connection element vertically provided thereon, the connection element being provided with a plurality of bolt holes for inserting a head portion of an anchor bolt projecting from the foundation concrete. It is a column base support hardware that is made.
Further, in the steel box for inserting and fixing the end of the beam member to be inserted and fixed to the end of the beam member, one open side is a lateral end, and the other closed side is another side. A plurality of bolt insertions which are lateral ends, and a connection element is protruded from the one side surface or the other side surface (lateral end portion), and the connection element projects from the one side surface or the other side surface (lateral end portion). Is a beam supporting hardware constituted by a supporting plate in which bolt holes are drilled.
Further, the steel box body for inserting and fixing the end part of the pillar member or the beam member to be inserted and fixed to the end of the pillar member or the beam member is provided with a connection element protruding from the outer peripheral surface of the box body other than the opening. The connecting element is a column or beam support fitting made of a support plate having a plurality of bolt holes for inserting bolts for fixing the ends of other beam members or column members.
The column base support, the beam support, and the insertion / fixing steel box constituting the column or the beam support are rigidly joined to the column or the beam. When the end of the column member or the beam member is inserted from the opening of the steel box and fixed, other than by an adhesive, the steel box constituting the column base supporting member or the beam supporting member may be used. A bolt is inserted into a plurality of bolt insertion holes formed and drilled on two or four side faces opposite to the side face, and bolted joints by bolting are used. It is preferable that the beam member and the beam member can be integrally and firmly fastened.
[0006]
The ramen frame of the wooden structure according to the present invention comprises a column base supporting member to which a column member is inserted and fixed, and a foundation concrete portion of the structure, a plurality of anchor bolt heads drilled in a supporting plate of the column base supporting member. Since the heads of a plurality of anchor bolts protruding from the foundation concrete part of the same structure are inserted into the bolt holes for part insertion and the anchor bolt heads are tightened with nuts, the column base support is formed. Providing not only the construction site but also the production machine, tools, etc., not for the construction site, but for the work for joining the hardware and the column member, such as the joining work with bolts and the joining work with adhesive, etc. In this case, the jointed column members can be disposed on the foundation concrete section of the structure on site.
Similarly, the work for joining the beam member and the beam supporting hardware can be performed in a factory.
The column base support, the column or beam support, and the beam indicator in the present invention are configured to include a steel box, and the joint with the column member and the beam is connected to the opening of the steel box. Since this is performed by inserting and fixing the ends of the column members or the beam members, the joining work at the building site can be made easily, reliably and firmly, not only at the factory.
Further, the connecting elements provided on the column base support member and the beam support member facilitate the support of the column member and the beam member, and can be performed without requiring advanced technology at the time of joining work.
In addition, it is preferable to perform the operation | work which equips a steel box with a connection element in a factory.
[0007]
【Example】
Hereinafter, embodiments of the present invention will be described with reference to the drawings.
1 is an external perspective view of a first embodiment of a ramen frame in a wooden structure of the present invention, FIG. 2 is a cross-sectional view of the first embodiment shown in FIG. 1, and FIG. 3 is an external perspective view of an embodiment of a column base support. FIG. 4 is a perspective view showing an external appearance of an embodiment of a column or beam supporting hardware, FIG. 5 is an external perspective view showing an embodiment of a beam supporting hardware, and FIG. 6 is a column base support of a ramen frame in a wooden structure of the present invention. FIG. 7 is an explanatory view showing a method of joining a metal member and a column member, FIG. 7 is an external perspective view of a second embodiment of a ramen frame in a wooden structure of the present invention, and FIG. 8 is a third embodiment of a ramen frame in a wooden structure of the present invention. FIG. 9 is an external perspective view of a wooden structure according to the present invention, which is formed by a ramen frame.
In the figure, 1 is a column member, 2 is a beam member, 3, 3 ', 3 "are column base support members, 4, 4', 4" are column or beam support members, 5, 5 ', 5 "are beam supports. Hardware, 6 is a bolt hole, 7 bolts, 7 'is a nut, 8 is a foundation concrete part, 9 is an anchor bolt, and 30, 40, and 50 are support plates.
[0008]
The ramen frame in the wooden structure of the present invention is, as shown in an external perspective view of Example 1 of the ramen frame in the wooden structure of the present invention in FIG. 1 and a cross-sectional view of Example 1 in FIG. An end of the column member 1 for constructing a rigid frame is inserted and fixed from an opening of the column base support fitting 3, and an end of the column member 1 is inserted from an opening of the column or beam support 4. The end of the beam member 2 for rigid frame construction is inserted and fixed through the opening of the beam support 5, and the support plate 30, which is a connecting element of the column base support 3, is fixed to the foundation concrete section 8. The support plate 40, which is fixed and is a connection element between the column or beam support hardware 4, and the connection element between the beam support hardware 5, is firmly fastened with bolts 7.
The column member 1 ′ and the beam member 2 ′ are firmly fastened to the support plate 40 ′ and the support plate 40 ″, which are connection elements of the column or beam support fitting 4, respectively, by bolts 7.
Here, if the support plate 40 'is provided with a receiving plate 40'a for supporting the beam, construction at the site becomes much easier.
[0009]
The column member 1 and the column base support 3 and the beam member 2 and the column or beam support 4 and the beam support 5 in the ramen frame of the wooden structure of the present invention are joined by an adhesive or a column base support. A bolt 7 is inserted into a plurality of bolt insertion holes 6 formed and drilled on two or four opposite sides of the steel box constituting the 3 or pillar or beam supporting hardware 4 and the beam supporting hardware 5, Examples include a bolt connection by bolting, and the column member 1 and the column base support member 3 and the column or beam support member 4, and the beam member 2 and the column or beam support member 4 and the beam support member 5, The joining method is not limited as long as it is a means that can be firmly connected and fixed.
[0010]
The column base support 3, the column or beam support 4, and the beam support 5 of the ramen frame in the wooden structure of the present invention are open on one side and closed on the other side, and on boxes other than the opening. It is composed of a steel box with connecting elements protruding outward on the outer peripheral surface of the body.
FIG. 3 is an external perspective view showing an embodiment of the column base supporting hardware. FIG. 3 (a) is a column base supporting metal 3 ′ used for bonding with the column member 1 using an adhesive or the like. Is a column base supporting metal member 3 in which bolt insertion holes 6 for fixing to the column member 1 are formed and drilled on two side surfaces of the steel box body, and (c) is a column member supporting member on four side surfaces of the steel box body. 1 is a column base support 3 ″ in which a fixing bolt insertion hole 6 is formed and drilled.
Each of the pedestal supports 3, 3 ′, 3 ″ has an open top at the top of the steel box 3 a and a closed bottom, and has a plurality of connection elements at the bottom. A support plate 30 having a bolt hole 6 for inserting an anchor bolt head is provided and configured.The steel box 3a and the support plate 30 in the column base support hardware 3, 3 ', 3 "shown in the figure are provided. Although it is configured to be joined by a plurality of standing connection steel plates, the joint between the steel box 3a of the column base support hardware 3, 3 ', 3 "and the support plate 30 is firmly joined. The shape of the means is not limited.
[0011]
FIG. 4 is an external perspective view showing an embodiment of a column or beam supporting hardware. FIG. 4A shows a column or beam supporting hardware 4 ′ used for bonding with a column member 1 by using an adhesive or the like. (B) is a column or beam support fitting 4 in which bolt insertion holes 6 for fixing to the column member 1 are formed and drilled on two side surfaces of the steel box body, and (c) is a steel box body 4. A pillar or beam support 4 ″ having a bolt insertion hole 6 for fixing to the column member 1 formed on the side surface.
Each of the beam supports 4, 4 ', and 4 "has a steel box 4a having an open lower part and an upper part closed. The upper part has column members connected upward. A supporting plate 40 "having a plurality of bolt holes 6 for bolt insertion, which is a connection element with the beam member 2 ', is provided on the upper side surface of the steel box 4a. A support plate 40 ', which is an element, is provided, and a support plate 40'a for supporting a beam is provided on the support plate 40', and the beam member 2 is fixed to the other upper side surface of the steel box 4a. A support plate 40 is provided as a connection element with the beam supporting hardware 5 (see FIG. 1), and a plurality of bolt holes 6 for inserting a plurality of bolts are formed in the support plates 40, 40 ′, and 40 ″, respectively. It is provided and configured.
[0012]
FIG. 5 is an external perspective view showing an embodiment of the beam supporting hardware. FIG. 5 (a) is a beam supporting hardware 5 ′ used for bonding with the beam member 2 using an adhesive or the like. Is a beam support metal fitting 5 in which a bolt insertion hole 6 for fixing to the beam member 2 is formed and drilled on two side surfaces of the steel box body, and (c) is a beam member 2 on four side surfaces of the steel box body. Is a beam supporting metal member 5 ″ having a fixing bolt insertion hole 6 formed and perforated.
In each of the beam supporting hardwares 5, 5 ', 5 ", the lateral end of the side surface of the steel box 5a is open, and the other lateral end of the other side surface is closed. At the closed lateral end, a support plate 50 having a plurality of bolt holes 6 for inserting bolts, which are connection elements with the column or beam support hardware 4 (see FIG. 1), is protrudingly provided. The bolt 50 has a plurality of bolt holes 6 for inserting bolts.
[0013]
In each of the supporting hardware shown in FIGS. 3 to 5, the column members 1 and the beam members 2 are fixed to the steel boxes 3a, 4a, and 5a, respectively. (C) is performed by bolting in two directions, and the column member 1 and the beam member 2 are fixed to the steel boxes 3a, 4a, and 5a by a wooden structure to be constructed. It is preferable that the most suitable means is appropriately selected and fixed in consideration of the shape and environment of the object.
The arrangement of the support plates 30, 40, 40 ', 40 ", and 50 on the steel boxes 3a, 4a, and 5a also takes into account the shape of the wooden structure, the location conditions, and the like. It is preferable to consider the size, shape, and the like, and to select an optimal one as appropriate.
[0014]
Next, an example of a method of joining the column base support metal and the column member of the rigid frame in the wooden structure of the present invention will be described with reference to FIG.
FIG. 6 is an explanatory view showing a method of joining the column base support metal and the column member of the ramen frame in the wooden structure of the present invention.
Here, the column base supporting metal member 3 is provided with a bolt hole 6 for inserting a bolt on two side surfaces. The end of the column member 1 is inserted through the opening of the steel box 3a of the column base support 3 and is firmly fastened by the bolt 7 and the nut 7 '. Further, the head of the anchor bolt 9 protruding from the foundation concrete part 8 is inserted into the bolt hole 6 for inserting the anchor bolt head provided on the support plate 30 fixed to the bottom of the column base supporting metal 3, The base concrete part 8 and the column base support hardware 3 are firmly fixed with the nut 7 '.
In addition, the joint between the beam member 2 and the beam supporting hardware 5 is fixed by the same method.
FIG. 7 is an external perspective view of the second embodiment of the ramen frame in the wooden structure of the present invention. In the second embodiment, the column member 1, the column base support 3 and the column or beam support It is bolted in the direction and firmly fixed.
FIG. 8 is an external perspective view of Embodiment 3 of the ramen frame in the wooden structure of the present invention. In Embodiment 3, the column member 1 and the column base support 3 and the column or beam support 4 are used. The fixing and the fixing between the beam member 2 and the beam supporting hardware 5 are performed with an adhesive or the like.
[0015]
FIG. 9 is an external perspective view of a wooden structure according to the present invention, which is configured by a ramen frame.
On the upper surface of the foundation concrete portion 8, a column member 1 inserted and fixed to a plurality of column base supporting members 3 stands, and a column or beam supporting member 4 is fixed to an upper end of the column member 1; The connecting element (supporting plate 40) of the same column or beam supporting hardware 4 and the connecting element (supporting plate 50) of the beam supporting hardware 5 are connected and assembled by bolts to form a ramen frame in the wooden structure of the present invention. I have.
[0016]
According to the present invention, a ramen frame in a wooden structure can be easily constructed on site without a skilled person.
Further, a column member or a beam member for constructing a ramen frame used for constructing a ramen frame in a wooden structure, a column member or a beam member is formed in a steel box body having a connection element from an opening thereof in a factory or the like. By inserting and fixing, it can be manufactured simply, reliably and firmly.
[Brief description of the drawings]
1 is an external perspective view of a first embodiment of a ramen frame in a wooden structure of the present invention. FIG. 2 is a cross-sectional view of the first embodiment shown in FIG. 1. FIG. 3 is an external perspective view showing an embodiment of a column base support. FIG. 4 is an external perspective view showing an embodiment of a column or beam supporting hardware. FIG. 5 is an external perspective view showing an embodiment of a beam supporting hardware. FIG. 6 is a column base support of a ramen frame in a wooden structure of the present invention. FIG. 7 is an explanatory view showing a method for joining a metal member and a column member. FIG. 7 is an external perspective view of a second embodiment of a ramen frame in a wooden structure of the present invention. FIG. 8 is a third embodiment of a ramen frame in a wooden structure of the present invention. External perspective view [FIG. 9] External perspective view of a structure formed by a ramen frame in a wooden structure of the present invention [Description of reference numerals]
DESCRIPTION OF SYMBOLS 1 Column member 2 Beam member 3, 3 ', 3 "column base support 3a, 4a, 5a Steel box 4, 4', 4" column or beam support 5, 5 ', 5 "beam support 6 bolt Hole 7 Bolt 7 'Nut 8 Foundation concrete part 9 Anchor bolt 30, 40, 50 Support plate

Claims (6)

木造構造物におけるラーメン架構において、一側面が開口し、閉口している他側面に接続要素を外側へ突設してなる鋼製箱体に、その開口部から柱部材又は梁部材の端部を挿入し固着してなるラーメン架構構築用の柱部材又は梁部材を、前記接続要素を介して結合・組み立ててなることを特徴とする木造構造物におけるラーメン架構。In a ramen frame of a wooden structure, one side surface is opened, and a steel box body having a connection element protruding outward on the other side surface which is closed is provided with an end of a column member or a beam member from the opening. A ramen frame in a wooden structure, wherein a column member or a beam member for constructing a ramen frame, which is inserted and fixed, is connected and assembled via the connection element. 木造構造物におけるラーメン架構構築用の柱部材又は梁部材において、前記柱部材又は梁部材の端部を、一側面が開口し、閉口している他側面に接続要素を備えてなる鋼製箱体に、その開口部から挿入し、固着してなることを特徴とする木造構造物におけるラーメン架構構築用の柱部材又は梁部材。In a column member or a beam member for constructing a rigid frame structure in a wooden structure, a steel box body including an end portion of the column member or the beam member, one side of which is open and a connection element is provided on the other side which is closed. A column member or a beam member for constructing a rigid frame in a wooden structure, wherein the column member or the beam member is inserted and fixed through an opening of the column member. 柱部材の端部が挿入・固着される鋼製箱体が、開口している一側面が上部であり、閉口している他側面が底部であり、前記他側面(底部)には接続要素が垂設されてなり、
同接続要素は、基礎コンクリートから突出している複数のアンカーボルトの先頭部挿入用のボルト孔を有する支持板を備えてなる柱脚支持金物であることを特徴とする木造構造物におけるラーメン架構構築用の柱部材の端部挿入・固着用鋼製箱体。
The steel box body into which the end of the column member is inserted and fixed has an open one side as an upper part, a closed other side as a bottom, and a connection element on the other side (bottom). It is erected,
The connecting element is a column base supporting hardware having a supporting plate having a bolt hole for inserting a head portion of a plurality of anchor bolts protruding from the foundation concrete, for constructing a rigid frame structure in a wooden structure. Steel box for insertion and fixation of the end of the pillar member.
梁部材の端部が挿入・固着される鋼製箱体が、開口している一側面が横端部であり、閉口している他側面が他の横端部であり、前記一側面又は前記他側面(横端部)には接続要素が突設されてなり、
同接続要素は前記一側面又は他側面(横端部)から突出している複数のボルト挿入用のボルト孔を有する支持板を備えてなる梁支持金物であることを特徴とする木造構造物におけるラーメン架構構築用の梁部材の端部挿入・固着用鋼製箱体。
The steel box body into which the end of the beam member is inserted and fixed is one side that is open is a lateral end, the other side that is closed is another lateral end, the one side or the one side On the other side (horizontal end), connecting elements are protruded,
The ramen in a wooden structure, wherein the connecting element is a beam supporting hardware having a supporting plate having a plurality of bolt holes for bolt insertion protruding from the one side surface or the other side surface (lateral end). Steel box for inserting and fixing the ends of beam members for frame construction.
柱部材又は梁部材の端部が挿入・固着される鋼製箱体が、開口部以外の箱体外周面に接続要素が突設されてなり、
同接続要素は、他の梁部材又は柱部材の端部を固定するための複数のボルトの挿入用のボルト孔を有する支持板を備えてなる柱又は梁支持金物であることを特徴とする請求項3又は4に記載の木造構造物におけるラーメン架構構築用の柱部材又は梁部材の端部挿入・固着用鋼製箱体。
The steel box body into which the end of the column member or the beam member is inserted and fixed, the connection element is provided by projecting on the outer peripheral surface of the box body other than the opening,
The connecting element is a column or beam supporting hardware including a supporting plate having a bolt hole for inserting a plurality of bolts for fixing an end of another beam member or a column member. Item 4. A steel box for inserting and fixing an end portion of a column member or a beam member for constructing a rigid frame in a wooden structure according to Item 3 or 4.
木造構造物におけるラーメン架構において、請求項3〜5のいずれか1項に記載の接続要素を備えてなる柱部材又は梁部材の挿入・固着用鋼製箱体に、その開口部から柱部材又は梁部材の端部を挿入し固着してなるラーメン架構構築用の柱部材又は梁部材を、前記接続要素を介して結合・組み立ててなることを特徴とする木造構造物におけるラーメン架構。In a rigid frame of a wooden structure, a steel box body for insertion and fixation of a column member or a beam member provided with the connection element according to any one of claims 3 to 5, and a column member or A frame member for a wooden structure, wherein a column member or a beam member for constructing a frame structure, which is formed by inserting and fixing an end of a beam member, is connected and assembled via the connection element.
JP2003037514A 2003-02-14 2003-02-14 Rigid frame for wooden structure Pending JP2004244965A (en)

Priority Applications (1)

Application Number Priority Date Filing Date Title
JP2003037514A JP2004244965A (en) 2003-02-14 2003-02-14 Rigid frame for wooden structure

Applications Claiming Priority (1)

Application Number Priority Date Filing Date Title
JP2003037514A JP2004244965A (en) 2003-02-14 2003-02-14 Rigid frame for wooden structure

Publications (1)

Publication Number Publication Date
JP2004244965A true JP2004244965A (en) 2004-09-02

Family

ID=33022292

Family Applications (1)

Application Number Title Priority Date Filing Date
JP2003037514A Pending JP2004244965A (en) 2003-02-14 2003-02-14 Rigid frame for wooden structure

Country Status (1)

Country Link
JP (1) JP2004244965A (en)

Cited By (2)

* Cited by examiner, † Cited by third party
Publication number Priority date Publication date Assignee Title
CN111255072A (en) * 2020-01-22 2020-06-09 青岛理工大学 Bowl-buckle type wood beam column combined node and mounting method
JP2023096238A (en) * 2021-12-27 2023-07-07 Jfeスチール株式会社 Steel frame structure, design method of steel frame structure

Citations (6)

* Cited by examiner, † Cited by third party
Publication number Priority date Publication date Assignee Title
JPS61127202U (en) * 1985-01-25 1986-08-09
JPH09165818A (en) * 1995-12-18 1997-06-24 Shierutaa Home Kk Joint device for building member
JPH09268655A (en) * 1996-03-28 1997-10-14 Seijiro Tsutsui Framework fixing tool and framework structure
JPH1193261A (en) * 1997-09-16 1999-04-06 Ncn:Kk Timber framed structure
JPH11193572A (en) * 1997-12-29 1999-07-21 Sakio Ito Joint fixing for wooden building
JP2001227063A (en) * 2000-02-15 2001-08-24 Sakio Ito Splicing hardware for wooden building

Patent Citations (6)

* Cited by examiner, † Cited by third party
Publication number Priority date Publication date Assignee Title
JPS61127202U (en) * 1985-01-25 1986-08-09
JPH09165818A (en) * 1995-12-18 1997-06-24 Shierutaa Home Kk Joint device for building member
JPH09268655A (en) * 1996-03-28 1997-10-14 Seijiro Tsutsui Framework fixing tool and framework structure
JPH1193261A (en) * 1997-09-16 1999-04-06 Ncn:Kk Timber framed structure
JPH11193572A (en) * 1997-12-29 1999-07-21 Sakio Ito Joint fixing for wooden building
JP2001227063A (en) * 2000-02-15 2001-08-24 Sakio Ito Splicing hardware for wooden building

Cited By (3)

* Cited by examiner, † Cited by third party
Publication number Priority date Publication date Assignee Title
CN111255072A (en) * 2020-01-22 2020-06-09 青岛理工大学 Bowl-buckle type wood beam column combined node and mounting method
JP2023096238A (en) * 2021-12-27 2023-07-07 Jfeスチール株式会社 Steel frame structure, design method of steel frame structure
JP7484878B2 (en) 2021-12-27 2024-05-16 Jfeスチール株式会社 Steel frame structure, how to design steel frame structure

Similar Documents

Publication Publication Date Title
JP2004244965A (en) Rigid frame for wooden structure
JP5172607B2 (en) Joint structure of flat column and beam
JP3990715B1 (en) Wooden frame frame
JP2998000B2 (en) Joint equipment for building components
JP2001107456A (en) Column base structure in wooden rigid frame
JP3130864B2 (en) Wooden building
JP2004156214A (en) Assembling structure of bracing frame for use in steel-framed framework structure
JP2002115325A (en) Connecting structure of composite beam and wooden column, and gate-shaped frame
JPH10266363A (en) Structure construction method by two-member jointing metal fixture
JP4654674B2 (en) How to install seismic reinforcement brackets for wooden buildings
JP3606986B2 (en) Inner balcony having a truss unit as a superstructure and its construction method
JP2003013508A (en) Fastening device of strut and groundsill
JP2010077645A (en) Joint structure in wooden building
JPH11256696A (en) Connecting plate and connecting method of building unit
KR200407075Y1 (en) Frame Unit
JPH09111877A (en) Column base-column beam connecting structure, and metallic material used therein
JP4837393B2 (en) Column and foundation joining device
JPH08302817A (en) Framework fixing structure
JP2711824B2 (en) Joint equipment for building components
JP2008255713A (en) Wooden building and its seismic reinforcement method
JPH08120787A (en) Stabilizing metal fitting and frame assembly structure
JP2005171525A (en) Column base hardware, and the joint structure of the column and foundation using this column base hardware
JP2018115491A (en) Building structure
JP2817655B2 (en) Fixtures for wooden buildings
JP2916891B2 (en) Joint equipment for building components

Legal Events

Date Code Title Description
A621 Written request for application examination

Free format text: JAPANESE INTERMEDIATE CODE: A621

Effective date: 20060206

A977 Report on retrieval

Free format text: JAPANESE INTERMEDIATE CODE: A971007

Effective date: 20070612

A131 Notification of reasons for refusal

Free format text: JAPANESE INTERMEDIATE CODE: A131

Effective date: 20070620

A02 Decision of refusal

Free format text: JAPANESE INTERMEDIATE CODE: A02

Effective date: 20071017