JP2004244036A - 品質保持剤包装体 - Google Patents
品質保持剤包装体 Download PDFInfo
- Publication number
- JP2004244036A JP2004244036A JP2003033696A JP2003033696A JP2004244036A JP 2004244036 A JP2004244036 A JP 2004244036A JP 2003033696 A JP2003033696 A JP 2003033696A JP 2003033696 A JP2003033696 A JP 2003033696A JP 2004244036 A JP2004244036 A JP 2004244036A
- Authority
- JP
- Japan
- Prior art keywords
- packaging material
- quality
- breathable packaging
- breathable
- laminated
- Prior art date
- Legal status (The legal status is an assumption and is not a legal conclusion. Google has not performed a legal analysis and makes no representation as to the accuracy of the status listed.)
- Granted
Links
- 239000005022 packaging material Substances 0.000 claims abstract description 131
- 238000004806 packaging method and process Methods 0.000 claims abstract description 25
- 239000003755 preservative agent Substances 0.000 claims description 63
- 230000002335 preservative effect Effects 0.000 claims description 34
- 239000010410 layer Substances 0.000 claims description 33
- 238000007789 sealing Methods 0.000 claims description 23
- 239000000853 adhesive Substances 0.000 claims description 8
- 230000001070 adhesive effect Effects 0.000 claims description 8
- 239000012790 adhesive layer Substances 0.000 claims description 4
- 239000004820 Pressure-sensitive adhesive Substances 0.000 claims description 3
- 238000005452 bending Methods 0.000 claims description 2
- 239000003795 chemical substances by application Substances 0.000 abstract description 23
- 239000007789 gas Substances 0.000 description 48
- CURLTUGMZLYLDI-UHFFFAOYSA-N Carbon dioxide Chemical compound O=C=O CURLTUGMZLYLDI-UHFFFAOYSA-N 0.000 description 22
- VGGSQFUCUMXWEO-UHFFFAOYSA-N Ethene Chemical compound C=C VGGSQFUCUMXWEO-UHFFFAOYSA-N 0.000 description 19
- 239000005977 Ethylene Substances 0.000 description 19
- 239000000463 material Substances 0.000 description 15
- 238000003860 storage Methods 0.000 description 13
- 239000001569 carbon dioxide Substances 0.000 description 11
- 229910002092 carbon dioxide Inorganic materials 0.000 description 11
- -1 polypropylene Polymers 0.000 description 11
- 239000004698 Polyethylene Substances 0.000 description 9
- 229920000573 polyethylene Polymers 0.000 description 8
- 230000002745 absorbent Effects 0.000 description 7
- 239000002250 absorbent Substances 0.000 description 7
- 239000000126 substance Substances 0.000 description 7
- QVGXLLKOCUKJST-UHFFFAOYSA-N atomic oxygen Chemical compound [O] QVGXLLKOCUKJST-UHFFFAOYSA-N 0.000 description 6
- 239000001301 oxygen Substances 0.000 description 6
- 229910052760 oxygen Inorganic materials 0.000 description 6
- XAGFODPZIPBFFR-UHFFFAOYSA-N aluminium Chemical compound [Al] XAGFODPZIPBFFR-UHFFFAOYSA-N 0.000 description 5
- 229910052782 aluminium Inorganic materials 0.000 description 5
- 239000004745 nonwoven fabric Substances 0.000 description 5
- 239000004743 Polypropylene Substances 0.000 description 4
- 238000010521 absorption reaction Methods 0.000 description 4
- 230000004888 barrier function Effects 0.000 description 4
- 239000003814 drug Substances 0.000 description 4
- 239000000835 fiber Substances 0.000 description 4
- 239000011888 foil Substances 0.000 description 4
- 235000013305 food Nutrition 0.000 description 4
- 235000012055 fruits and vegetables Nutrition 0.000 description 4
- 239000007788 liquid Substances 0.000 description 4
- 238000004519 manufacturing process Methods 0.000 description 4
- 239000002344 surface layer Substances 0.000 description 4
- 235000009434 Actinidia chinensis Nutrition 0.000 description 3
- 244000298697 Actinidia deliciosa Species 0.000 description 3
- 235000009436 Actinidia deliciosa Nutrition 0.000 description 3
- 229910021536 Zeolite Inorganic materials 0.000 description 3
- 239000006096 absorbing agent Substances 0.000 description 3
- 239000002274 desiccant Substances 0.000 description 3
- HNPSIPDUKPIQMN-UHFFFAOYSA-N dioxosilane;oxo(oxoalumanyloxy)alumane Chemical compound O=[Si]=O.O=[Al]O[Al]=O HNPSIPDUKPIQMN-UHFFFAOYSA-N 0.000 description 3
- 230000000694 effects Effects 0.000 description 3
- 238000005538 encapsulation Methods 0.000 description 3
- 230000035699 permeability Effects 0.000 description 3
- 229920000728 polyester Polymers 0.000 description 3
- 229920001155 polypropylene Polymers 0.000 description 3
- 239000010457 zeolite Substances 0.000 description 3
- BJEPYKJPYRNKOW-REOHCLBHSA-N (S)-malic acid Chemical compound OC(=O)[C@@H](O)CC(O)=O BJEPYKJPYRNKOW-REOHCLBHSA-N 0.000 description 2
- OEPOKWHJYJXUGD-UHFFFAOYSA-N 2-(3-phenylmethoxyphenyl)-1,3-thiazole-4-carbaldehyde Chemical compound O=CC1=CSC(C=2C=C(OCC=3C=CC=CC=3)C=CC=2)=N1 OEPOKWHJYJXUGD-UHFFFAOYSA-N 0.000 description 2
- LFQSCWFLJHTTHZ-UHFFFAOYSA-N Ethanol Chemical compound CCO LFQSCWFLJHTTHZ-UHFFFAOYSA-N 0.000 description 2
- XEEYBQQBJWHFJM-UHFFFAOYSA-N Iron Chemical compound [Fe] XEEYBQQBJWHFJM-UHFFFAOYSA-N 0.000 description 2
- 239000004677 Nylon Substances 0.000 description 2
- UIIMBOGNXHQVGW-DEQYMQKBSA-M Sodium bicarbonate-14C Chemical compound [Na+].O[14C]([O-])=O UIIMBOGNXHQVGW-DEQYMQKBSA-M 0.000 description 2
- BJEPYKJPYRNKOW-UHFFFAOYSA-N alpha-hydroxysuccinic acid Natural products OC(=O)C(O)CC(O)=O BJEPYKJPYRNKOW-UHFFFAOYSA-N 0.000 description 2
- 238000004320 controlled atmosphere Methods 0.000 description 2
- 230000002950 deficient Effects 0.000 description 2
- 238000009820 dry lamination Methods 0.000 description 2
- 235000013399 edible fruits Nutrition 0.000 description 2
- 239000012793 heat-sealing layer Substances 0.000 description 2
- 239000002650 laminated plastic Substances 0.000 description 2
- 238000010030 laminating Methods 0.000 description 2
- 230000014759 maintenance of location Effects 0.000 description 2
- 239000001630 malic acid Substances 0.000 description 2
- 235000011090 malic acid Nutrition 0.000 description 2
- 230000004048 modification Effects 0.000 description 2
- 238000012986 modification Methods 0.000 description 2
- 229920001778 nylon Polymers 0.000 description 2
- 229920006284 nylon film Polymers 0.000 description 2
- 238000012856 packing Methods 0.000 description 2
- 239000000843 powder Substances 0.000 description 2
- 238000004321 preservation Methods 0.000 description 2
- 230000009467 reduction Effects 0.000 description 2
- 230000005070 ripening Effects 0.000 description 2
- XLYOFNOQVPJJNP-UHFFFAOYSA-N water Substances O XLYOFNOQVPJJNP-UHFFFAOYSA-N 0.000 description 2
- UDPGUMQDCGORJQ-UHFFFAOYSA-N (2-chloroethyl)phosphonic acid Chemical compound OP(O)(=O)CCCl UDPGUMQDCGORJQ-UHFFFAOYSA-N 0.000 description 1
- UXVMQQNJUSDDNG-UHFFFAOYSA-L Calcium chloride Chemical compound [Cl-].[Cl-].[Ca+2] UXVMQQNJUSDDNG-UHFFFAOYSA-L 0.000 description 1
- 239000004343 Calcium peroxide Substances 0.000 description 1
- OKTJSMMVPCPJKN-UHFFFAOYSA-N Carbon Chemical class [C] OKTJSMMVPCPJKN-UHFFFAOYSA-N 0.000 description 1
- 239000005976 Ethephon Substances 0.000 description 1
- 239000004793 Polystyrene Substances 0.000 description 1
- 239000004372 Polyvinyl alcohol Substances 0.000 description 1
- VYPSYNLAJGMNEJ-UHFFFAOYSA-N Silicium dioxide Chemical compound O=[Si]=O VYPSYNLAJGMNEJ-UHFFFAOYSA-N 0.000 description 1
- XUIMIQQOPSSXEZ-UHFFFAOYSA-N Silicon Chemical compound [Si] XUIMIQQOPSSXEZ-UHFFFAOYSA-N 0.000 description 1
- 230000009471 action Effects 0.000 description 1
- 239000001110 calcium chloride Substances 0.000 description 1
- 229910001628 calcium chloride Inorganic materials 0.000 description 1
- 235000011148 calcium chloride Nutrition 0.000 description 1
- AXCZMVOFGPJBDE-UHFFFAOYSA-L calcium dihydroxide Chemical compound [OH-].[OH-].[Ca+2] AXCZMVOFGPJBDE-UHFFFAOYSA-L 0.000 description 1
- 239000000920 calcium hydroxide Substances 0.000 description 1
- 229910001861 calcium hydroxide Inorganic materials 0.000 description 1
- LHJQIRIGXXHNLA-UHFFFAOYSA-N calcium peroxide Chemical compound [Ca+2].[O-][O-] LHJQIRIGXXHNLA-UHFFFAOYSA-N 0.000 description 1
- 235000019402 calcium peroxide Nutrition 0.000 description 1
- 239000000470 constituent Substances 0.000 description 1
- 238000000354 decomposition reaction Methods 0.000 description 1
- 230000006866 deterioration Effects 0.000 description 1
- 239000008187 granular material Substances 0.000 description 1
- 230000001771 impaired effect Effects 0.000 description 1
- 239000011229 interlayer Substances 0.000 description 1
- 229910052742 iron Inorganic materials 0.000 description 1
- 150000002741 methionine derivatives Chemical class 0.000 description 1
- 238000000034 method Methods 0.000 description 1
- 239000000203 mixture Substances 0.000 description 1
- 239000003921 oil Substances 0.000 description 1
- 238000007254 oxidation reaction Methods 0.000 description 1
- 229920003023 plastic Polymers 0.000 description 1
- 239000004033 plastic Substances 0.000 description 1
- 239000002985 plastic film Substances 0.000 description 1
- 229920006255 plastic film Polymers 0.000 description 1
- 230000000379 polymerizing effect Effects 0.000 description 1
- 229920000306 polymethylpentene Polymers 0.000 description 1
- 239000011116 polymethylpentene Substances 0.000 description 1
- 229920002223 polystyrene Polymers 0.000 description 1
- 229920002451 polyvinyl alcohol Polymers 0.000 description 1
- 239000012286 potassium permanganate Substances 0.000 description 1
- 239000000741 silica gel Substances 0.000 description 1
- 229910002027 silica gel Inorganic materials 0.000 description 1
- 229910052710 silicon Inorganic materials 0.000 description 1
- 239000010703 silicon Substances 0.000 description 1
- 229920001169 thermoplastic Polymers 0.000 description 1
- 239000012815 thermoplastic material Substances 0.000 description 1
- 229920005992 thermoplastic resin Polymers 0.000 description 1
- 239000004416 thermosoftening plastic Substances 0.000 description 1
Images
Landscapes
- Bag Frames (AREA)
- Packages (AREA)
- Wrappers (AREA)
Abstract
【解決手段】気体を吸収もしくは発生する品質保持剤本体9aを通気性包装材5に封入して品質保持剤9を構成し、通気性包装材5とほぼ同形状の非通気性包装材1を通気性包装材の表面に積層して品質保持剤9を熱シールにより密封包装した品質保持剤包装体11であって、通気性包装材5と非通気性包装材1との重ね合わせ面の両面もしくは片面にイージーピール層4、8が積層され、使用時に非通気性包装材1の一部もしくは全部を通気性包装材5から剥離できるように構成する。
【選択図】 図1
Description
【発明の属する技術分野】
本発明は、青果物、食品、医療機器などの包装容器に同封され、包装容器内の滅菌・静菌、青果物や食品の熟成、鮮度保持を図るために気体を発生もしくは吸収させる品質保持剤に関し、特に品質保持剤をその使用時まで密封包装する品質保持剤包装体に関するものである。
【0002】
【従来の技術】
青果物の鮮度保持には、炭酸ガス濃度と酸素ガス濃度を制御するCA(Controlled Atmosphere)貯蔵、MA(Modified Atmosphere)包装がなされている。例えば、スダチなどの果実は、緑色を保持するため炭酸ガス濃度を増加させる必要があり、果実を入れる包装容器内に炭酸ガス発生剤を同封することが行われている。水分吸収を契機として炭酸ガスを発生させる炭酸ガス発生剤本体としては、りんご酸と炭酸水素ナトリウム、塩化カルシウムなどの混合物が使用され、これらを通気性包装材に封入して炭酸ガス発生剤を構成する。炭酸ガス発生剤は使用時までは非通気性のプラスチック袋に多数個を入れて保存されている。また、食品包装でカビ発生防止などに有用な酸素吸収剤、吸湿防止のために水蒸気を吸収させる乾燥剤などにあっても、同様にして保存される。
【0003】
また、キウイの熟度促進剤としては、エチレンガスを吸収させたゼオライトを通気性包装材に封入した袋状エチレンガス発生剤を使用する。通常、アルミ箔積層プラスチック袋あるいはアルミ蒸着フィルム積層プラスチック袋などのガスバリアー性の保存袋に多数個を入れて保存している。
【0004】
【発明が解決しようとする課題】
上記従来の各品質保持剤は、使用可能な状態つまり気体を吸収ないし発生させる品質保持剤本体を通気性包装材で封入した状態で製造されるため、使用時まで品質保持能力が劣化しないように、自動充填包装機等で製造された品質保持剤を多数個づつまとめて非通気性の保存袋に収容しているため、手間やコストがかかるという問題がある。
【0005】
また、保存袋に収容されていても、例えば袋状エチレンガス発生剤にあっては保存袋とガス発生剤との間に生じる空間にエチレンガスが揮散し、ガス発生剤の能力が低下するという問題や、乾燥剤や酸素吸収剤などの気体吸収剤にあっては、使用の度に保存袋を開封するため外気が流入して適正な保存状態が維持できないという問題が生じる。
【0006】
さらに使用時に保存袋を開封して品質保持剤を取り出し、青果物などの品質保持対象物と共に包装容器に1個づつ封入作業を行う際、多数個の封入が完了するまでの長い時間、放置されることがあり品質保持能力(気体吸収能力や気体発生能力)が低下する問題や、その取扱いに充分な注意を要するという問題も生じる。封入作業の機械の故障等で生産工程が中断されることも比較的多く、能力低下に対応するためにあらかじめ能力低下に見合う量を増量する必要がある等、コスト的側面からも問題を有している。
【0007】
本発明は、上記従来例の問題点に鑑み、使用される直前まで品質保持剤を密封包装することで本来の能力を維持でき、かつ使用時には非通気性包装材を容易に剥離することで取扱い易く低コストで製造できる品質保持剤包装体を提供することを目的とするものである。
【0008】
【課題を解決するための手段】
本発明の品質保持剤包装体は上記目的を達成するため、気体を吸収もしくは発生する品質保持剤本体を通気性包装材に封入して品質保持剤を構成し、前記通気性包装材とほぼ同形状の非通気性包装材を通気性包装材の表面に積層して前記品質保持剤を熱シールにより密封包装した品質保持剤包装体であって、前記通気性包装材と前記非通気性包装材との重ね合わせ面の両面もしくは片面にイージーピール層が積層され、使用時に非通気性包装材の一部もしくは全部を通気性包装材から剥離できるように構成したことを特徴とするものである。
【0009】
上記発明によれば、気体を吸収もしくは発生することによって食品等の品質保持を図る品質保持剤本体、つまり炭酸ガス発生剤や炭酸ガス吸収剤、酸素吸収剤や乾燥剤は、その外装袋をなす通気性包装材に封入され、かつその表面に積層された非通気性包装材によって1個単位で密封包装されているので、自動包装充填機等を用いて保存可能な状態で品質保持剤包装体を製造し、その状態で長期間放置しても使用直前まで品質保持能力が低下することはない。したがって従来のように、自動充填包装機で製造された品質保持剤を多数個づつまとめて別途用意した非通気性包装材に封入する作業や能力低下分を増量する手段が不要となり、容易かつ低コストに製造することができる。また、ガス発生剤にあってはガスバリアー性保存袋での保存状態と異なり、品質保持剤と包装体との間は非通気性包装材と通気性包装材とが積層され空間がほとんど存在していないので、空間にガスが揮散してガス発生能力が低下する問題が生じない。さらに、通気性包装材と非通気性包装材との重ね合わせ面にはイージーピール層が積層されているので、使用時にはそのイージーピール性(易開封性)により非通気性包装材の一部もしくは全部を通気性包装材から容易に剥離でき、品質保持剤の表面を露出もしくは品質保持剤を取り出して気体の吸収・発生を開始でき、使用に際しても取扱い易くなる。
【0010】
上記発明において、通気性包装材のイージーピール層を、多数の通気孔が穿設されたイージーピール性を有する穿孔フィルムとすれば、熱シール部(封緘部)ではフィルム断面からの気体透過はなく、また穿孔面は非通気性包装材による熱シールによって密封されているので、良好な非透過性を実現できる。そして穿孔フィルムのイージーピール性により、容易に非通気性包装材を通気性包装材から剥離することができるので、上記同様の作用効果を発揮することができる。
【0011】
上記発明において、非通気性包装材のイージーピール層を粘着剤層とし、通気性包装材のイージーピール層を、多数の通気孔が穿設された粘着剤剥離フィルムとすることも可能であり、この場合もイージーピール性により上述したものと同様の作用効果を発揮することができる。
【0012】
上記発明において、通気性包装材の層構造の一部に微多孔フィルムを用い、品質保持剤本体と接する内面に、前記微多孔フィルムが積層されるようにすれば、品質保持剤本体が液体もしくは液体で濡れている物質である場合に有効である。
【0013】
上記発明において、通気性包装材を内側にして折り曲げてその間に品質保持剤本体を封入し、折り曲げ辺を除く3辺を熱シールして品質保持剤を密封包装すれば、いわゆる3方シール包装により品質保持剤包装体の製造が容易であり、また、前記3辺の熱シール部を除く通気性包装材と非通気性包装材との重ね合わせ面のうち、少なくとも折り曲げ辺部分の重ね合わせ面が、熱シールあるいは粘着剤によりイージーピール性を有するように接着すると、折り曲げたときにその折り曲げ部内側に空隙が発生し、その空隙によって熱シールの不良部分が万一発生した場合にも、その折り曲げ部分の重ね合わせ面は、熱シールあるいは接着剤により接着されているので、前記不良部分からの気体の漏れを防止することができる。さらに、その折り曲げ部のみがイージーピール性を有するように部分的に接着され、その他の重ね合わせ面(品質保持剤本体が封入される薬包部)には空気層が介在されることになり、非通気性包装材を通気性包装材から剥離させる際に大きな力を必要とせず容易に剥離することができる。
【0014】
上記発明において、非通気性包装材の1辺が通気性包装材よりやや外側に拡張されて通気性包装材に積層しない非積層部をなし、その非積層部の少なくとも一部に互いに重なり合わない剥がし代が形成されていると、非積層部が剥がし代を用いた指掛け部となり、非通気性包装材の剥離動作をよりスムーズにできるので好適であると共に、上記3方シールの包装の場合においては、非通気性包装材の片側の1辺をやや長く形成してズラすことで前記剥がし代を容易に形成できるので、好適である。
【0015】
【本発明の実施の形態】
以下、本発明に係る実施の形態について、図1〜図4を用いて説明する。
【0016】
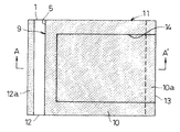
図1は本発明の第1実施形態を示す平面図、図2はそのA−A’線断面図である。第1実施形態の品質保持剤包装体11は、気体を吸収もしくは発生する品質保持剤本体9a(図2)を通気性包装材5に封入して品質保持剤9を構成し、通気性包装材5とほぼ同形状の非通気性包装材1を通気性包装材5の表面に積層して品質保持剤9を熱シールにより密封包装して構成される。そして通気性包装材5と非通気性包装材1との重ね合わせ面にはそれぞれイージーピール層4、8が積層され、使用時に非通気性包装材1を通気性包装材5から剥離できるように構成している。
【0017】
非通気性包装材1は、1例として、その外側からポリエステル層2、アルミ箔3、イージーピール層4をドライラミネーションで積層した3層構造をなしている。このように気体非透過性(ガスバリアー性)素材としてアルミ箔3を積層する他、ポリエステル層にアルミ蒸着フィルム、シリカ蒸着、アルミナ蒸着フィルムを用いるもの、あるいは塩化ビニリデンコート延伸ポリプロピレンフイルム、塩化ビニリデンコートナイロンフィルム、あるいはポリビニルアルコールフィルム積層フィルムなど、一般にガスバリアーフィルムと言われる非通気性包装材をイージーピールフィルムに積層して使用すると良い。
【0018】
通気性包装材5としては、非通気性包装材1のイージーピール層4と接する面は、多数の通気孔が穿設されたイージーピール性を有する穿孔フィルム8とし、この穿孔フィルム8に、例えば微多孔フィルム7と熱シール性を有する穿孔ポリエチレンフィルム6とが積層される。この他の層構造として、イージーピール性フィルム、ナイロンフィルム、ポリエチレンフィルムがドライラミネートで積層されているフィルムに穿孔加工を施した包装材や、イージーピール性を有する穿孔フィルムと微多孔フィルムが繊維状及び点状熱可塑性樹脂や格子状に印刷された接着剤等によって通気性を阻害されないように積層されている包装材等を使用すると良い。
【0019】
通気性包装材5のうち、熱シール性を有する内面層フィルムとイージーピール性を有する表面層フィルムとの間の中間層として、不織布を用いてもよいが、この不織布は熱可塑性を有する材質が好ましく、芯鞘構造を有するユニチカ(株)製エルベス、チッソ(株)製ESボンド、ユニセル製ユニセル、PP系スパンボンド、PE系スパンボンド等を使用すると良い。このような材質のものであれば、通気性包装材5の中間層としてだけでなく、表面層や内面層である熱シール層にも使用可能であるが、熱可塑性の無いパルプ層やポリエステル不織布やナイロン不織布である場合は、これらの繊維の空隙断面より気体が揮散したり侵入するため、品質保持剤9の能力低下を招くことがあるので不適当である。そこで熱可塑性のあるポリエチレンやポリプロピレンの繊維および芯鞘繊維の鞘部を形成する不織布が、熱シール時に不織布層が押し潰され空隙をなくすので好適に使用できる。
【0020】
イージーピール性を有するフィルムの市販品としては、東セロ(株)製のCMPS、出光ユニテック製のマジックトップ、和田化学工業(株)製のVMXフィルム等、種々のものを採用することができる。また、非通気性包装材1の通気性包装材5と接する面に粘着剤層(イージーピール層)を積層する場合は、通気性包装材5のイージーピール層(実施例では穿孔フィルム8)が、シリコンコート材等を使用して粘着剤の剥離を可能とし、かつ多数の通気孔を穿設した剥離プラスチックフィルムであっても良い。
【0021】
本実施形態では、非通気性包装材1と通気性包装材5との重ね合わせ面に形成されるイージーピール層(粘着材層とその剥離基材も含む)は、使用時に非通気性包装材1を通気性包装材5から剥離して品質保持剤9を取り出す際に、作業者が容易に剥がせる程度の接着強度を維持するイージーピール性(易開封性)と、後記熱シール部10では気体が漏れない十分な熱シール性(密封性、封緘性)の両方を発揮するように構成している。尚、本実施形態のように非通気性包装材1を全部剥離する他、その一部を剥離して品質保持剤9の表面を露出するように構成しても良い。
【0022】
品質保持剤9の本体9aが気体発生剤である場合は、エチレンガスをゼオライトに吸着させたものや、エテホン、メチオニン誘導体などを利用したエチレン発生剤、シリカゲル粉末にアルコールを含浸させたり、繊維層間に染み込ませたアルコール発生剤、りんご酸と炭酸水素ナトリウムを使用した炭酸ガス発生剤、過酸化カルシウム等の酸素を含む物質の分解を利用した酸素発生剤等、種々の気体発生剤が使用される。
【0023】
また、気体吸収剤である場合は、鉄や有機物等の酸化反応を利用した脱酸素剤、過マンガン酸カリウムや臭素化活性炭を使用したエチレン吸収剤、水酸化カルシウム等のアルカリ性物質を利用した炭酸ガス吸収剤等、種々の気体吸収剤が使用される。
【0024】
本実施形態では、微多孔フィルム7を通気性包装材5の中間層として用いたが、ポリエチレンやポリプロピレンを基材とする微多孔フィルムである場合には、気体発生剤や気体吸収剤等の品質保持剤本体9aと接する内面層(熱シール層)として用いることもでき、その場合には、品質保持剤本体9aが液体もしくは液体で濡れている物質である場合に有効である。また、気体発生速度もしくは気体吸収速度が緩やかで良い場合は、ポリメチルペンテンフィルム、ポリスチレンフィルム等の比較的気体透過性が高い無孔フィルムも、通気性包装材5の層構造の一部に使用することも可能である。
【0025】
上記のように構成された品質保持剤包装体11は、非通気性包装材1を表面に積層した通気性包装材5の穿孔ポリエチレンフィルム6を内側にして折り曲げて、その間に品質保持剤本体9aを封入し、折り曲げ辺13を除く3辺を熱シールして品質保持剤9を密封包装する。そして本実施形態では、3辺の熱シール部10を除く通気性包装材5と非通気性包装材1との重ね合わせ面のうち、折り曲げ辺13部分の重ね合わせ面が熱シールあるいは粘着剤によりイージーピール性を有するように接着され、イージーピール接着部10aを形成する、これによって、周囲4辺を囲まれた平面視矩形状の空間(薬包部14)に品質保持剤本体9aが充填される。そして薬包部14における非通気性包装材1と通気性包装材5との重ね合わせ面には空気層15が介在される。品質保持剤本体9aが、粒状物や粉状物である場合は、粉末充填機や粒状充填機を用い、非通気性包装材1と通気性包装材5とを重合させた包装材を製袋しながら充填される。
【0026】
自動充填包装機の一般形態としては、第1実施形態に用いる3方シール機のほか、4方シール機、ピロー包装機がある。
【0027】
3方シール自動充填包装機による密封包装では、ロール状の包装材を半折して製袋されるが、非通気性包装材1と通気性包装材5を単に重ねて自動充填包装機に繰り出した場合、折り曲げ辺13部分が、その層構造の段差のために空間が発生して熱シール部10に接着不良が生じ、完全に熱シールすることができずに両端の隙間からガス漏れするおそれがあった。しかし本実施形態では上述のように、折り曲げ辺13部分の重ね合わせ面をイージーピール性を有するように接着しているので、折り曲げ辺13部分に万一隙間が生じても、イージーピール接着部10aが接着不良によるガス漏れを防止することができる。また熱シール部10の他はイージーピール接着部10aによる部分接着であり、薬包部14における非通気性包装材1と通気性包装材5との間には空気層15が介在しているので、作業者が非通気性包装材1を通気性包装材5から容易に剥離することができるので好適である。尚、場合によっては重ね合わせ面をイージーピール性を保持しながら全面接着することも可能である。
【0028】
また本実施形態では、非通気性包装材1の折り曲げ辺13と対向する1辺が通気性包装材5よりやや拡張されて通気性包装材5に積層しない非積層部12を形成し、その非積層部12が通気性包装材5から非通気性包装材1を剥離する際の指掛け部となり、剥離動作をよりスムーズにできるので好適である。さらに本実施形態では、非積層部12の端辺をズラすことによって、非通気性包装材1同士が重なり合わない剥がし代12aを容易に形成することができるので、非通気性包装材1の非積層部12に指を掛けてめくり易くなる。尚、この剥がし代12aは、非積層部12をズラして形成する他、図3に示す変形例のように、片側(上側)だけに非積層部12を設けてそれ自体を剥がし代12aとすることもできる等、種々の開封手段が考えられる。3方シール包装は、指掛け部となる非積層部12ないし剥がし代12aを、前記拡張された非通気性包装材1の片側をズラすことによって容易に形成できるので、好適な包装方法である。
【0029】
次に図4と図5に示す本発明の第2実施形態について説明する。図4は第2実施形態を示す平面図、図5はそのB−B’線断面図である。
【0030】
第1実施形態が3方シール包装であったのに対し、第2実施形態では4方シール包装の品質保持剤包装体11を示している。非通気性包装材1や通気性包装材5の層構造は第1実施形態と同様に形成されるので、各構成要素については同符号を付し説明を省略する。
【0031】
4方シール包装では、ロール状の非通気性包装材1、通気性包装材5をそれぞれ重ねて製袋され、非通気性包装材1の幅は通気性包装材5よりやや図左側が長いものを用い、かつ下側の非通気性包装材1の幅は上側のそれより図左側が長いものを用いている。そして通気性包装材5の内面層である穿孔ポリエチレンフィルム6を対向させてその間に品質保持剤本体9aを配し、周囲4辺を熱シールしている。そして第1実施形態と同様にして非積層部12、剥がし代12aを設けるが、この場合も図3に示すようにして設けても良い。
【0032】
尚、第2実施形態の4方シール包装、あるいはその他のピロー包装において、非通気性包装材1に非積層部12や剥がし代12aを形成することが困難である場合は、例えば、熱シール部10のコーナ部において、非通気性包装材1と通気性包装材5とを非接着として、そのコーナ部を指掛け部とすることも可能であり、種々、剥がし易い工夫をすることも開封手段の1つである。
【0033】
(実施例)
上記第1実施形態で示した3方シール包装を用いて作製した品質保持剤包装体の実施例を以下に説明する。
【0034】
12μm厚ポリエステル、9μm厚アルミ箔、30μm厚イージーピールフィルム(東レ合成フィルム(株)製CFフィルム)をドライラミネーションした積層フィルムを非通気性包装材1として用い、30μm厚イージーピールフィルム、15μm厚ナイロン、40μm厚ポリエチレンの積層フィルムに0.4mmφの孔を2mm間隔で開けた穿孔フィルムを通気性包装材5として用い、図1で示したように積層し、トパック(株)製高速充填包装機にて50mm×65mm袋にエチレン発生剤本体(ゼオライトにエチレンガスを吸着させたもの)を1.5g充填したエチレン発生剤およびそのエチレン発生剤を密封包装したエチレン発生剤包装体を作製した。このエチレン発生剤のエチレン発生量は、8.4mlであった。
【0035】
製造から3ケ月経過した後の上記エチレン発生剤のエチレン発生量は、8.3mlであり、3ケ月間の保存による劣化は観察されなかった。また3ケ月保存後に、非通気性包装材1を剥離したエチレン発生剤を、6個入りのキウイパックに封入したところ、パック内エチレンガス濃度が4000ppmとなり、キウイの追熟に良好な濃度であった。2日後には適当な熟れごろとなり、良好な追熟剤(エチレンガス発生剤=品質保持剤)であることが示された。
【0036】
【発明の効果】
以上説明したように、本発明によれば、品質保持剤の製造時に非通気性包装材によってその表面を密封包装することによって、保存可能な状態の品質保持剤包装体が自動包装充填機等を用いて製造でき、別途保存袋に封入する手間や能力低下分の増量を含めたコストをかけることなく、製造から使用までの長期間、本来の品質保持能力を維持することができると共に、使用時にはイージーピール性により非通気性包装材を通気性包装材から容易に剥離することができ、より取扱い易くなる。
【図面の簡単な説明】
【図1】本発明の第1実施形態に係る品質保持剤包装体を示す平面図。
【図2】同実施形態を示す断面図。
【図3】同実施形態の変形例の要部を示す断面図。
【図4】本発明の第2実施形態に係る品質保持剤包装体を示す平面図。
【図5】同実施形態を示す断面図。
【符号の説明】
1 非通気性包装材
4 イージーピール層
5 通気性包装材
8 穿孔フィルム(イージーピール層)
9 品質保持剤
9a 品質保持剤本体
10 熱シール部
10a イージーピール接着部
11 品質保持剤包装体
12 非通気性包装材の非積層部
12a 剥がし代
13 折り曲げ辺
Claims (7)
- 気体を吸収もしくは発生する品質保持剤本体を通気性包装材に封入して品質保持剤を構成し、前記通気性包装材とほぼ同形状の非通気性包装材を通気性包装材の表面に積層して前記品質保持剤を熱シールにより密封包装した品質保持剤包装体であって、前記通気性包装材と前記非通気性包装材との重ね合わせ面の両面もしくは片面にイージーピール層が積層され、使用時に非通気性包装材の一部もしくは全部を通気性包装材から剥離できるように構成したことを特徴とする品質保持剤包装体。
- 通気性包装材のイージーピール層は、多数の通気孔が穿設されたイージーピール性を有する穿孔フィルムである請求項1記載の品質保持剤包装体。
- 非通気性包装材のイージーピール層は、粘着剤層であり、通気性包装材のイージーピール層は、多数の通気孔が穿設された粘着剤剥離フィルムである請求項1記載の品質保持剤包装体。
- 通気性包装材の層構造の一部に微多孔フィルムを用い、品質保持剤本体と接する内面に、前記微多孔フィルムが積層されるようにした請求項1から3のいずれか1項に記載の品質保持剤包装体。
- 通気性包装材を内側にして折り曲げてその間に品質保持剤本体を封入し、折り曲げ辺を除く3辺を熱シールして品質保持剤を密封包装した請求項1から4のいずれか1項に記載の品質保持剤包装体。
- 前記3辺の熱シール部を除く通気性包装材と非通気性包装材との重ね合わせ面のうち、少なくとも折り曲げ辺部分の重ね合わせ面が、熱シールあるいは粘着剤によりイージーピール性を有するように接着されている請求項5記載の品質保持剤包装体。
- 非通気性包装材の1辺が通気性包装材よりやや外側に拡張されて通気性包装材に積層しない非積層部をなし、その非積層部の少なくとも一部に互いに重なり合わない剥がし代が形成されている請求項1から6のいずれか1項に記載の品質保持剤包装体。
Priority Applications (1)
| Application Number | Priority Date | Filing Date | Title |
|---|---|---|---|
| JP2003033696A JP3860547B2 (ja) | 2003-02-12 | 2003-02-12 | 品質保持剤包装体 |
Applications Claiming Priority (1)
| Application Number | Priority Date | Filing Date | Title |
|---|---|---|---|
| JP2003033696A JP3860547B2 (ja) | 2003-02-12 | 2003-02-12 | 品質保持剤包装体 |
Publications (2)
| Publication Number | Publication Date |
|---|---|
| JP2004244036A true JP2004244036A (ja) | 2004-09-02 |
| JP3860547B2 JP3860547B2 (ja) | 2006-12-20 |
Family
ID=33019603
Family Applications (1)
| Application Number | Title | Priority Date | Filing Date |
|---|---|---|---|
| JP2003033696A Expired - Fee Related JP3860547B2 (ja) | 2003-02-12 | 2003-02-12 | 品質保持剤包装体 |
Country Status (1)
| Country | Link |
|---|---|
| JP (1) | JP3860547B2 (ja) |
Cited By (11)
| Publication number | Priority date | Publication date | Assignee | Title |
|---|---|---|---|---|
| JP2008155976A (ja) * | 2006-12-26 | 2008-07-10 | Okamoto Ind Inc | 使い捨てカイロ等に使用される包装材 |
| JP2011042089A (ja) * | 2009-08-20 | 2011-03-03 | Snow Brand Milk Prod Co Ltd | 包装用フィルム、充填包装体および充填包装方法 |
| WO2014027513A1 (ja) * | 2012-08-17 | 2014-02-20 | 株式会社ロッテ | 板状物品用の包装構造、包装容器および個包装 |
| JP2014055002A (ja) * | 2012-09-11 | 2014-03-27 | Hosokawa Yoko Co Ltd | バリア性保護フィルムおよびバリア性袋体 |
| JP2015169339A (ja) * | 2014-03-05 | 2015-09-28 | 日立アプライアンス株式会社 | 冷蔵庫 |
| JP2016147027A (ja) * | 2015-02-13 | 2016-08-18 | 小林製薬株式会社 | 空気清浄器 |
| JP2016147028A (ja) * | 2015-02-13 | 2016-08-18 | 小林製薬株式会社 | 空気清浄器 |
| WO2017171036A1 (ja) * | 2016-03-31 | 2017-10-05 | Jxエネルギー株式会社 | シート材及びこのシート材を用いたアルコール蒸散剤包材 |
| WO2018034344A1 (ja) * | 2016-08-19 | 2018-02-22 | 株式会社W | 袋体 |
| JP2018118742A (ja) * | 2017-01-23 | 2018-08-02 | 藤森工業株式会社 | ガゼット袋 |
| CN113104386A (zh) * | 2021-01-28 | 2021-07-13 | 张天明 | 一种气封式隔离取料型食品包装袋 |
-
2003
- 2003-02-12 JP JP2003033696A patent/JP3860547B2/ja not_active Expired - Fee Related
Cited By (12)
| Publication number | Priority date | Publication date | Assignee | Title |
|---|---|---|---|---|
| JP2008155976A (ja) * | 2006-12-26 | 2008-07-10 | Okamoto Ind Inc | 使い捨てカイロ等に使用される包装材 |
| JP2011042089A (ja) * | 2009-08-20 | 2011-03-03 | Snow Brand Milk Prod Co Ltd | 包装用フィルム、充填包装体および充填包装方法 |
| WO2014027513A1 (ja) * | 2012-08-17 | 2014-02-20 | 株式会社ロッテ | 板状物品用の包装構造、包装容器および個包装 |
| JP2014055002A (ja) * | 2012-09-11 | 2014-03-27 | Hosokawa Yoko Co Ltd | バリア性保護フィルムおよびバリア性袋体 |
| JP2015169339A (ja) * | 2014-03-05 | 2015-09-28 | 日立アプライアンス株式会社 | 冷蔵庫 |
| JP2016147027A (ja) * | 2015-02-13 | 2016-08-18 | 小林製薬株式会社 | 空気清浄器 |
| JP2016147028A (ja) * | 2015-02-13 | 2016-08-18 | 小林製薬株式会社 | 空気清浄器 |
| WO2017171036A1 (ja) * | 2016-03-31 | 2017-10-05 | Jxエネルギー株式会社 | シート材及びこのシート材を用いたアルコール蒸散剤包材 |
| WO2018034344A1 (ja) * | 2016-08-19 | 2018-02-22 | 株式会社W | 袋体 |
| JP2018118742A (ja) * | 2017-01-23 | 2018-08-02 | 藤森工業株式会社 | ガゼット袋 |
| CN113104386A (zh) * | 2021-01-28 | 2021-07-13 | 张天明 | 一种气封式隔离取料型食品包装袋 |
| CN113104386B (zh) * | 2021-01-28 | 2022-12-20 | 杭州神彩包装印业有限公司 | 一种气封式隔离取料型食品包装袋 |
Also Published As
| Publication number | Publication date |
|---|---|
| JP3860547B2 (ja) | 2006-12-20 |
Similar Documents
| Publication | Publication Date | Title |
|---|---|---|
| KR100961028B1 (ko) | 포장체용 분위기 개량성 테이프, 분위기 개량성 테이프가 부착된 포장체 및 그 제조방법, 분위기 개량성 테이프가 부착된 포장 용기, 결합구 및 결합구가 부착된 포장체 | |
| US4485133A (en) | Oxygen absorbent packaging | |
| JP2004244036A (ja) | 品質保持剤包装体 | |
| JP2926724B2 (ja) | 酸素吸収体収納袋及びその切断方法 | |
| JP5174476B2 (ja) | アルコール揮散剤 | |
| JP3246538B2 (ja) | 蓋用パッキング | |
| JP3092193B2 (ja) | 薬剤包装体、その供給方法及びその供給装置 | |
| JP2508617B2 (ja) | 脱酸素剤二重包装体 | |
| JPH07219430A (ja) | ラベル型脱酸素剤 | |
| JP2666381B2 (ja) | 脱酸素剤用包装フィルム | |
| JPH092528A (ja) | 包装袋 | |
| JP2011000082A (ja) | 食品鮮度保持具 | |
| JP3116227U (ja) | 気体透過性、水分不透過性不織布からなるオゾン氷カプセル | |
| JP3129685U (ja) | 炭酸ガス吸収包装袋 | |
| JP2002284216A (ja) | 脱酸素機能を有する蓋 | |
| JP3592478B2 (ja) | 吸液性包袋 | |
| JP3651719B2 (ja) | 品質保持方法 | |
| JP2532078Y2 (ja) | 包装体 | |
| JP2003261182A (ja) | 包装体に使用する隔壁材料 | |
| JPS60172672A (ja) | 二重包装材料 | |
| JP3809953B2 (ja) | 通気性包材および通気性包材の製袋方法 | |
| JP2010173684A (ja) | 食品鮮度保持具 | |
| JP2008126172A (ja) | 自力反応ラベル型脱酸素剤 | |
| JPH0226869Y2 (ja) | ||
| JP2003221075A (ja) | 包装体用雰囲気改良性テープ、雰囲気改良性テープ付包装体、雰囲気改良性テープ付包装容器、咬合具および咬合具付包装体 |
Legal Events
| Date | Code | Title | Description |
|---|---|---|---|
| A977 | Report on retrieval |
Free format text: JAPANESE INTERMEDIATE CODE: A971007 Effective date: 20051021 |
|
| A131 | Notification of reasons for refusal |
Free format text: JAPANESE INTERMEDIATE CODE: A131 Effective date: 20051122 |
|
| A521 | Written amendment |
Free format text: JAPANESE INTERMEDIATE CODE: A523 Effective date: 20060117 |
|
| TRDD | Decision of grant or rejection written | ||
| A01 | Written decision to grant a patent or to grant a registration (utility model) |
Free format text: JAPANESE INTERMEDIATE CODE: A01 Effective date: 20060912 |
|
| A61 | First payment of annual fees (during grant procedure) |
Free format text: JAPANESE INTERMEDIATE CODE: A61 Effective date: 20060921 |
|
| R150 | Certificate of patent (=grant) or registration of utility model |
Free format text: JAPANESE INTERMEDIATE CODE: R150 |
|
| FPAY | Renewal fee payment (prs date is renewal date of database) |
Free format text: PAYMENT UNTIL: 20140929 Year of fee payment: 8 |
|
| LAPS | Cancellation because of no payment of annual fees |