JP2004132475A - 車軸用転がり軸受装置 - Google Patents
車軸用転がり軸受装置 Download PDFInfo
- Publication number
- JP2004132475A JP2004132475A JP2002297921A JP2002297921A JP2004132475A JP 2004132475 A JP2004132475 A JP 2004132475A JP 2002297921 A JP2002297921 A JP 2002297921A JP 2002297921 A JP2002297921 A JP 2002297921A JP 2004132475 A JP2004132475 A JP 2004132475A
- Authority
- JP
- Japan
- Prior art keywords
- rolling bearing
- stator
- rotor
- bearing device
- outer ring
- Prior art date
- Legal status (The legal status is an assumption and is not a legal conclusion. Google has not performed a legal analysis and makes no representation as to the accuracy of the status listed.)
- Pending
Links
- 238000005096 rolling process Methods 0.000 title claims abstract description 41
- 238000004804 winding Methods 0.000 claims abstract description 38
- 230000005284 excitation Effects 0.000 claims description 18
- 238000001514 detection method Methods 0.000 abstract description 10
- 230000002093 peripheral effect Effects 0.000 description 12
- 239000000696 magnetic material Substances 0.000 description 7
- PXHVJJICTQNCMI-UHFFFAOYSA-N Nickel Chemical compound [Ni] PXHVJJICTQNCMI-UHFFFAOYSA-N 0.000 description 4
- XEEYBQQBJWHFJM-UHFFFAOYSA-N Iron Chemical compound [Fe] XEEYBQQBJWHFJM-UHFFFAOYSA-N 0.000 description 2
- 238000010586 diagram Methods 0.000 description 2
- 229910000640 Fe alloy Inorganic materials 0.000 description 1
- 229910000990 Ni alloy Inorganic materials 0.000 description 1
- XUIMIQQOPSSXEZ-UHFFFAOYSA-N Silicon Chemical compound [Si] XUIMIQQOPSSXEZ-UHFFFAOYSA-N 0.000 description 1
- 229910001035 Soft ferrite Inorganic materials 0.000 description 1
- 239000000919 ceramic Substances 0.000 description 1
- 238000006073 displacement reaction Methods 0.000 description 1
- 239000000428 dust Substances 0.000 description 1
- 230000000694 effects Effects 0.000 description 1
- 239000004519 grease Substances 0.000 description 1
- 229910052742 iron Inorganic materials 0.000 description 1
- 238000012986 modification Methods 0.000 description 1
- 230000004048 modification Effects 0.000 description 1
- 229910052759 nickel Inorganic materials 0.000 description 1
- 229910000889 permalloy Inorganic materials 0.000 description 1
- 238000005498 polishing Methods 0.000 description 1
- 229910052710 silicon Inorganic materials 0.000 description 1
- 239000010703 silicon Substances 0.000 description 1
- 239000002356 single layer Substances 0.000 description 1
- 229910000859 α-Fe Inorganic materials 0.000 description 1
Images
Abstract
【課題】車軸用転がり軸受装置において、回転体の回転状態を高精度に検出できるようにする。
【解決手段】外輪31の内周に多数の転動体33を介してハブ軸2を回転自在に挿通した車軸用転がり軸受装置1において、ハブ軸2の回転状態を検出するためのVRタイプのブラシレスレゾルバ10を備えている。このブラシレスレゾルバ10は、例えばハブ軸2側に一体的に設けられるロータ(六角ナット6)と、外輪31側に一体的に設けられるステータ12と、励磁巻線13と、第1、第2出力巻線14,15とを備えている。ブラシレスレゾルバ10は、ハブ軸2が停止しているときにほぼ一定の振幅の信号を出力し、ハブ軸2と一体の六角ナット6が回転しているときに、その回転状態に応じて振幅が無段階に変化する信号を出力する。
【選択図】 図1
【解決手段】外輪31の内周に多数の転動体33を介してハブ軸2を回転自在に挿通した車軸用転がり軸受装置1において、ハブ軸2の回転状態を検出するためのVRタイプのブラシレスレゾルバ10を備えている。このブラシレスレゾルバ10は、例えばハブ軸2側に一体的に設けられるロータ(六角ナット6)と、外輪31側に一体的に設けられるステータ12と、励磁巻線13と、第1、第2出力巻線14,15とを備えている。ブラシレスレゾルバ10は、ハブ軸2が停止しているときにほぼ一定の振幅の信号を出力し、ハブ軸2と一体の六角ナット6が回転しているときに、その回転状態に応じて振幅が無段階に変化する信号を出力する。
【選択図】 図1
Description
【0001】
【発明の属する技術分野】
本発明は、自動車などの車軸用転がり軸受装置に関する。
【0002】
【従来の技術】
例えば自動車などでは、車軸用転がり軸受装置に対して、アンチロックブレーキシステム(ABS)等の制御に用いる回転検出器を装備させることがある。
【0003】
このような回転検出器には、周知のパッシブタイプ(特許文献1参照)とアクティブタイプ(特許文献2参照)とがあるが、後者の回転検出器のほうが、非回転状態を検出できる点、回転検出精度が高い点で優れている。
【0004】
上記アクティブタイプの回転検出器は、トーンホイール(別称パルサーリング)と、磁気センサとを含む。トーンホイールは、周方向交互にN極とS極とを配置した多極磁石からなり、転がり軸受の回転体(内輪または外輪)に対して装着される。磁気センサは、転がり軸受に備える非回転体(外輪または内輪)に対して前記トーンホイールに対向する状態で取り付けられる。
【0005】
動作としては、回転体と同期回転するトーンホイールの回転に応じて磁気センサからパルス信号を出力するようになっており、このパルス信号を信号処理することにより回転体の回転速度や回転方向などの回転状態を認識するようになっている。
【0006】
【特許文献1】
実開平6−47867号公報
【特許文献2】
特開平11−174069号公報
【0007】
【発明が解決しようとする課題】
上記アクティブタイプの回転検出器において、検出精度のさらなる向上を図るには、トーンホイールの磁極それぞれのピッチを小さくすればいいが、このピッチを小さくすることに限界があることが指摘される。そのため、例えば回転検出器の出力を、グローバル・ポジショニング・システム(GPS)などの移動情報として利用する場合に精度が不十分になると考えられ、回転検出器の出力を広く応用しにくいと言える。
【0008】
【課題を解決するための手段】
本発明の車軸用転がり軸受装置は、軸体の外径側に外輪が多数の転動体を介して配置され、前記外輪および軸体のうちの一方が車体に、また、他方に車輪がそれぞれ取り付けられるもので、入力励磁電圧を、前記軸体と外輪との相対的な回転状態に応じた誘起電圧に変換して出力する回転検出器を備えている。
【0009】
この場合、回転検出器が、軸体と外輪のうち回転体となる側の非回転状態でもほぼ一定の振幅の誘起電圧を出力するものであるから、回転体の停止状態を確実に認識できる他、回転体の回転状態に応じて振幅が無段階に変化する誘起電圧を出力するものであるから、回転体の回転状態を従来例に比べて詳細にかつ高精度に把握できるようになる。
【0010】
ところで、上記回転検出器は、前記軸体と外輪とのうちの一方側に一体的に設けられるロータと、前記軸体と外輪とのうちの他方側に一体的に設けられるステータと、前記ロータまたはステータに巻回される励磁巻線と、前記ロータおよびステータのいずれかに巻回される出力巻線とを有し、前記励磁巻線に対して励磁電圧を入力することにより前記出力巻線から前記ロータとステータとの間のギャップパーミアンスに応じて誘起される電圧を出力するものとすることができる。この構成は、周知のブラシレスレゾルバまたはブラシレスシンクロを含むようになっている。
【0011】
また、上記回転検出器は、前記外輪の内径側と軸体の外径側との一方に一体的に設けられかつ円周数ヶ所に極歯を有するステータと、ステータの各極歯に対して適宜巻回される励磁巻線および出力巻線と、前記外輪の内径側と軸体の外径側との他方に一体的に設けられかつ回転に伴い前記ステータの各極歯との間のギャップパーミアンスを変化させるロータとを含むVR(バリアブル・リラクタンス)タイプのブラシレスレゾルバとされる。
【0012】
なお、上記「一体的に」とは、2つの部材を結合固定して同体化したものと、2つの部材を1つの部材にしたものとの両方を含む意味で使用している。
【0013】
また、上記軸体を、前記ロータとして兼用することができる。この場合、構成簡素化、ローコスト化が可能となる。
【0014】
【発明の実施形態】
図1から図3に本発明の実施形態1を示している。ここでは、自動車の従動輪の支持に用いられる車軸用転がり軸受装置を例に挙げる。図例の車軸用転がり軸受装置1は、ハブ軸2と、複列転がり軸受3とを備えている。
【0015】
上記ハブ軸2の一方軸端寄りには、径方向外向きに延びるフランジ2aが設けられており、このハブ軸2においてフランジ2aよりも車両インナー側の領域に複列転がり軸受3が外装されている。このハブ軸2の車両インナー側の端部には、小径のねじ軸部2bが設けられている。
【0016】
複列転がり軸受3は、複列外向きアンギュラ玉軸受とされ、二列の軌道溝を有する単一の外輪31と、一列の軌道溝を有しかつハブ軸2の小径外周面に外嵌される単一の内輪32と、二列で配設される複数の玉33と、二つの冠形保持器34,35とを備えており、上記ハブ軸2の大径外周面を前記片方列の玉33群の内輪軌道面とする構成になっている。外輪31の外周には、径方向外向きに延びるフランジ36が設けられている。
【0017】
そして、上記複列転がり軸受3の外輪31のフランジ36が、車体の一部となるキャリアまたはナックル(図示省略)に対してボルトで非回転に取り付けられる。上記ハブ軸2のフランジ2aの車両アウター側の面(図1の右側)と、フランジ2aの円周数ヶ所に貫通装着されるボルト5に対して螺合されるナット(図示省略)とで、図示しないディスクブレーキ装置のディスクロータおよび車輪が挟持されて固定される。また、上記複列転がり軸受3の内輪32は、ハブ軸2のねじ軸2bに対して螺合装着される六角ナット6でもってハブ軸2に対して一体的に結合されている。これにより、ハブ軸2が回転体となり、外輪31が非回転体となる。
【0018】
さらに、上記外輪31の車両インナー側の端部には、当該外輪31の車両インナー側開口を閉塞するためのキャップ7が取り付けられており、また、外輪31の車両アウター側の端部には、ハブ軸2の外周面との間で接触密封部を作るシールリング8が取り付けられている。これら、キャップ7とシールリング8によって外輪31と内輪32との対向空間内部に、図示しないグリースを封入するとともに、外部から水分や埃などが浸入することを防止するようになっている。
【0019】
この実施形態では、上記車軸用転がり軸受装置1に対して回転検出器として周知のVR(バリアブル・リラクタンス)タイプのブラシレスレゾルバ10を組み込むことにより、上記ハブ軸2の回転状態(回転停止状態、回転角度、回転速度や回転方向など)を検出できるようにしている。
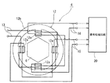
【0020】
ブラシレスレゾルバ10は、上記六角ナット6をロータとして用いているとともに、ステータ12、励磁巻線13、第1出力巻線14、第2出力巻線15を備えている。このブラシレスレゾルバ10は、この実施形態において1相励磁/2相出力とする場合を例に挙げている。
【0021】
なお、ロータとしての六角ナット6は、磁性材からなる。この六角ナット6の外周面の形状は、その回転に伴ない、下記ステータ12の内径面との間のギャップパーミアンスを変化させる形状であればよいので、上記に限らず、周知の楕円形、おむすび形などとしてもよい。また、前記ロータは、上記六角ナット6で兼用せず、別個の部材として設けてもよい。
【0022】
上記ステータ12は、磁性材からなり、上記キャップ7の円筒部7aの内周に圧入などにより嵌合固定される。このステータ12の内周の形状は櫛歯状に形成されている。このステータ12の円周数ヶ所に設けられる極歯12aに対して、励磁巻線13、第1出力巻線14、第2出力巻線15が適宜巻回され、各極歯12aそれぞれの間に設けられる薄肉連結部12bが磁気通路となる。なお、図2に示す断面図では、極歯12aの数を8個としているが、図3に示す概略図では、説明を判りやすくするために、極歯12aの数を4個としている。この極歯12aの最小数は、周方向に90度ずれた2つとなるが、多くする場合には2の倍数とする必要がある。また、ステータ12の各極歯12aの内接円の直径寸法は、六角ナット6の外接円の直径寸法よりも僅かに大きく設定されている。
【0023】
上記ロータやステータ12は、磁気抵抗(リラクタンス)が小さくかつ磁気飽和密度が高い磁性材料、例えば軟磁性材料が好ましい。具体的には、例えば鉄を主成分として含む磁性材料、あるいはニッケルを主成分として含む磁性材料などがあり、積層や単層ケイ素剛板からなるもの、パーマロイ(鉄とニッケルとの合金)、フェライト、ソフトフェライトセラミック、など種々ある。言うまでもないが、このようなレゾルバを構成するロータやステータ12の磁性材料としては、上記のようにリラクタンスが小さい材料程、ロータの回転に伴なうロータとステータ12との間におけるギャップパーミアンスの変化が明瞭にあらわれ、その変化に伴なう巻線の誘起電圧(回転状態検出電圧)の発生精度が高まり、回転状態の検出精度の向上に好ましい。
【0024】
ところで、励磁巻線13は、ステータ12のすべての極歯12aに対して直列的に巻回されている。第1出力巻線14と第2出力巻線15は、誘起電圧分布が各々正弦波分布となるように各極歯12aに分布巻きされている。そして、励磁巻線13に対して正弦波励磁電圧を入力すると、第1出力巻線14と第2出力巻線15それぞれからは互いに電気的に90度位相がずれた波形の2相交流電圧である信号を出力する。例えば、励磁巻線13への正弦波励磁入力に対して第1出力巻線14から正弦波信号(SIN信号)を、また、第2出力巻線15からは前記正弦波信号から90度位相がずれた余弦波信号(COS信号)を出力する。
【0025】
このようなブラシレスレゾルバ10では、励磁巻線13に対して1相交流電圧を印加した状態において、ハブ軸2が回転すると、ハブ軸2と一体の六角ナット6の外周面とステータ12の各極歯12aの内周面との間のギャップパーミアンスが順次変化することになり、第1、第2出力巻線14,15から前記ギャップパーミアンスの変化に応じて振幅が無段階に変化する前記SIN信号やCOS信号を出力し、この信号が信号処理回路20に入力される。なお、ハブ軸2が停止しているときは、ハブ軸2と一体の六角ナット6の外周面とステータ12の各極歯12aの内周面との間のギャップパーミアンスが変化しないので、第1、第2出力巻線14,15からそれぞれほぼ一定の振幅のSIN信号とCOS信号を出力する。
【0026】
そして、上記信号処理回路20は、周知のR/D(レゾルバ/デジタル)コンバータやDSP(デジタル・シグナル・プロセッサ)などとされ、入力される信号に基づく周知の信号処理により、ハブ軸2の回転状態(停止位置、回転方向、回転角度、回転速度など)を認識するようになっている。
【0027】
以上説明したように、車軸用転がり軸受装置1にブラシレスレゾルバ10を組み込んだ構成にしているから、ハブ軸2が停止している非回転状態を確実に検出できる他、ハブ軸2の回転状態を従来例のアクティブタイプの回転検出器に比べて高精度に検出できるようになる。そのため、この車軸用転がり軸受装置1に組み込んだブラシレスレゾルバ10の出力を、例えばグローバル・ポジショニング・システム(GPS)などの移動情報として利用することができるなど、応用用途が拡大できるようになる。また、ブラシレスレゾルバ10のロータを前述の六角ナット6で兼用させているから、構成簡素化、ローコスト化が可能となる。
【0028】
また、車軸用転がり軸受装置1にブラシレスレゾルバ10を一体的に組み合わせることにより、以下のような利点がある。すなわち、ブラシレスレゾルバ10は、ロータとステータとの位置精度(軸振れ、軸方向移動量など)が低いと性能を十分に発揮できないことがあるが、車軸用転がり軸受装置1の内輪と外輪の径方向および軸方向の位置精度は高精度に管理されているので、本発明のようにロータとステータを内輪と外輪に取り付けた場合は、容易にレゾルバ本来の性能を発揮することができ、回転状態の検出精度を向上できる。一例をあげると、一般的なレゾルバでは、ロータとステータの径方向の振れ精度(軸振れ精度)の許容値は50μm以下、ロータとステータの軸方向許容移動量は±250μm以下とされているが、図1の実施形態のような、斜接形式の複列玉軸受(アンギュラ玉軸受)を用いた車軸用転がり軸受装置1の場合、通常は予圧を与えて負すきまで使用される。このため、径方向および軸方向ともに移動量は「0」であり、レゾルバの取り付け許容精度を十分に満たしており、レゾルバの回転状態の検出精度を向上できる。
【0029】
以下で、本発明の種々な応用や変形を述べる。
【0030】
(1)上記実施形態において、六角ナット6を用いずに、図示しないが、ハブ軸2の車両インナー側の端部を円筒形にして、この円筒形部分をローリングかしめでもって径方向外向きに広げて内輪32の外端面に押し付けることにより、ハブ軸2と内輪32とを一体化するようにしたものも本発明の実施形態とすることができる。この場合、ハブ軸2の車両インナー側端部に形成される前記かしめ部分の外径面を、ブラシレスレゾルバ10のロータの役割を果たす形状に形成してもよいし、このかしめ部分の外周に別個にロータを装着してもよい。
【0031】
(2)図4および図5に本発明の実施形態2を示している。この実施形態2では、外輪31の軸方向2列の軌道溝31a,31bの間の領域にブラシレスレゾルバ10を配置している。つまり、ブラシレスレゾルバ10のステータ12を、外輪31の内周面において軸方向中間の領域に取り付けており、また、ハブ軸2において前記ステータ12に対して径方向で対向する領域の円周数ヶ所に切り欠き2cを設けることによって、当該領域をブラシレスレゾルバ10のロータとして利用するようになっている。なお、ステータ12は、例えば外輪31に対して圧入などにより嵌合固定することができる。また、励磁巻線13、第1出力巻線14、第2出力巻線15は、外輪31の軸方向中央の円周1ヶ所に貫通孔を設け、この貫通孔から外部に引き出すことができる。さらに、図示しないが、ブラシレスレゾルバ10のロータについては、ハブ軸2と別体とし、このロータをハブ軸2の所定領域に外嵌装着するようにしてもよい。そもそも、外輪31の内周面は、研磨などによって高精度に寸法調整されているので、このブラシレスレゾルバ10の取り付け精度が向上し、ブラシレスレゾルバ10の検出精度の向上にも貢献する。
【0032】
(3)図6に本発明の実施形態3を示している。この実施形態3では、上記実施形態2において車両アウター側の列の玉33群の中心それぞれを結ぶ円径(PCD)を、車両インナー側の列の玉33群のPCDよりも大きく設定している。具体的に、外輪31において車両アウター側の軌道溝31aを、車両インナー側の列の軌道溝31bよりも大径とするとともに、ハブ軸2の軌道溝2dを、内輪32の軌道溝32aよりも大径とし、さらに外輪31においてブラシレスレゾルバ10の装着領域を、図4に示した構造よりも大径にしている。この場合、外輪31においてブラシレスレゾルバ10の装着領域と車両インナー側の軌道溝31bとの間に存在する径方向内向きの鍔31cによって、ブラシレスレゾルバ10の車両インナー側への変位を確実に規制することができる。
【0033】
(4)上記各実施形態に示す車軸用転がり軸受装置1において、図示しないが、例えばハブ軸2を中空形状とし、このハブ軸2の中心孔に対して駆動軸をスプライン嵌合させるようにすることができる。この場合だと、駆動輪に用いるタイプの車軸用転がり軸受装置1となる。
【0034】
(5)上記各実施形態で示した複列転がり軸受3の形式については、複列外向きアンギュラ玉軸受の他に、円錐ころ等の各種斜接形式の複列転がり軸受であっても構わない。なお、実施形態2,3においても、斜接形式の複列玉軸受を用いているので、実施形態1と同様に、ブラシレスレゾルバ10のロータとステータとの相対位置を高精度に維持することができ、ブラシレスレゾルバ10の回転状態の検出精度が向上する。また、円錐ころ軸受や円筒ころ軸受などの他形式の転がり軸受においても、径方向および軸方向の精度が高精度に管理されているので、ブラシレスレゾルバ10の回転状態の検出精度が向上する。
【0035】
(6)ブラシレスレゾルバ10に備えるステータ12とロータの配置関係は、上記各実施形態で説明したものと逆に、ステータ12を内径側に、また、ロータを外径側に配置することもできる。例えば、上記車軸用転がり軸受装置1としては、図示しないが、外輪を回転させる構造のものがあるが、その場合には、回転体となる外輪に対してブラシレスレゾルバ10のロータを一体的に取り付けるようにし、外輪の内径側に配置される非回転体に対してブラシレスレゾルバ10のステータ12を取り付けるようにすればよい。
【0036】
(7)上記実施形態では、回転検出器として、VRタイプのブラシレスレゾルバを例に挙げたが、その他のタイプのブラシレスレゾルバや、ブラシレスシンクロを用いることができる。
【0037】
【発明の効果】
本発明の車軸用転がり軸受装置は、回転体の回転状態(停止位置、回転方向、回転角度、回転速度など)を、従来例のアクティブタイプの回転検出器に比べて詳細かつ高精度に認識できるようになるなど、信頼性の向上に貢献できる。
【図面の簡単な説明】
【図1】本発明の実施形態1に係る車軸用転がり軸受装置の断面図
【図2】図1の(2)−(2)線断面の矢視図
【図3】図1のブラシレスレゾルバの構成を概略的に示す図
【図4】本発明の実施形態2に係る車軸用転がり軸受装置の断面図
【図5】図4の(5)−(5)線断面の矢視図
【図6】本発明の実施形態3に係る車軸用転がり軸受装置の断面図
【符号の説明】
1 車軸用転がり軸受装置 2 ハブ軸
3 複列転がり軸受 31 外輪
32 内輪 33 玉
6 六角ナット(レゾルバのロータを兼用)
10 ブラシレスレゾルバ 12 ステータ
13 励磁巻線 14 第1出力巻線
15 第2出力巻線
【発明の属する技術分野】
本発明は、自動車などの車軸用転がり軸受装置に関する。
【0002】
【従来の技術】
例えば自動車などでは、車軸用転がり軸受装置に対して、アンチロックブレーキシステム(ABS)等の制御に用いる回転検出器を装備させることがある。
【0003】
このような回転検出器には、周知のパッシブタイプ(特許文献1参照)とアクティブタイプ(特許文献2参照)とがあるが、後者の回転検出器のほうが、非回転状態を検出できる点、回転検出精度が高い点で優れている。
【0004】
上記アクティブタイプの回転検出器は、トーンホイール(別称パルサーリング)と、磁気センサとを含む。トーンホイールは、周方向交互にN極とS極とを配置した多極磁石からなり、転がり軸受の回転体(内輪または外輪)に対して装着される。磁気センサは、転がり軸受に備える非回転体(外輪または内輪)に対して前記トーンホイールに対向する状態で取り付けられる。
【0005】
動作としては、回転体と同期回転するトーンホイールの回転に応じて磁気センサからパルス信号を出力するようになっており、このパルス信号を信号処理することにより回転体の回転速度や回転方向などの回転状態を認識するようになっている。
【0006】
【特許文献1】
実開平6−47867号公報
【特許文献2】
特開平11−174069号公報
【0007】
【発明が解決しようとする課題】
上記アクティブタイプの回転検出器において、検出精度のさらなる向上を図るには、トーンホイールの磁極それぞれのピッチを小さくすればいいが、このピッチを小さくすることに限界があることが指摘される。そのため、例えば回転検出器の出力を、グローバル・ポジショニング・システム(GPS)などの移動情報として利用する場合に精度が不十分になると考えられ、回転検出器の出力を広く応用しにくいと言える。
【0008】
【課題を解決するための手段】
本発明の車軸用転がり軸受装置は、軸体の外径側に外輪が多数の転動体を介して配置され、前記外輪および軸体のうちの一方が車体に、また、他方に車輪がそれぞれ取り付けられるもので、入力励磁電圧を、前記軸体と外輪との相対的な回転状態に応じた誘起電圧に変換して出力する回転検出器を備えている。
【0009】
この場合、回転検出器が、軸体と外輪のうち回転体となる側の非回転状態でもほぼ一定の振幅の誘起電圧を出力するものであるから、回転体の停止状態を確実に認識できる他、回転体の回転状態に応じて振幅が無段階に変化する誘起電圧を出力するものであるから、回転体の回転状態を従来例に比べて詳細にかつ高精度に把握できるようになる。
【0010】
ところで、上記回転検出器は、前記軸体と外輪とのうちの一方側に一体的に設けられるロータと、前記軸体と外輪とのうちの他方側に一体的に設けられるステータと、前記ロータまたはステータに巻回される励磁巻線と、前記ロータおよびステータのいずれかに巻回される出力巻線とを有し、前記励磁巻線に対して励磁電圧を入力することにより前記出力巻線から前記ロータとステータとの間のギャップパーミアンスに応じて誘起される電圧を出力するものとすることができる。この構成は、周知のブラシレスレゾルバまたはブラシレスシンクロを含むようになっている。
【0011】
また、上記回転検出器は、前記外輪の内径側と軸体の外径側との一方に一体的に設けられかつ円周数ヶ所に極歯を有するステータと、ステータの各極歯に対して適宜巻回される励磁巻線および出力巻線と、前記外輪の内径側と軸体の外径側との他方に一体的に設けられかつ回転に伴い前記ステータの各極歯との間のギャップパーミアンスを変化させるロータとを含むVR(バリアブル・リラクタンス)タイプのブラシレスレゾルバとされる。
【0012】
なお、上記「一体的に」とは、2つの部材を結合固定して同体化したものと、2つの部材を1つの部材にしたものとの両方を含む意味で使用している。
【0013】
また、上記軸体を、前記ロータとして兼用することができる。この場合、構成簡素化、ローコスト化が可能となる。
【0014】
【発明の実施形態】
図1から図3に本発明の実施形態1を示している。ここでは、自動車の従動輪の支持に用いられる車軸用転がり軸受装置を例に挙げる。図例の車軸用転がり軸受装置1は、ハブ軸2と、複列転がり軸受3とを備えている。
【0015】
上記ハブ軸2の一方軸端寄りには、径方向外向きに延びるフランジ2aが設けられており、このハブ軸2においてフランジ2aよりも車両インナー側の領域に複列転がり軸受3が外装されている。このハブ軸2の車両インナー側の端部には、小径のねじ軸部2bが設けられている。
【0016】
複列転がり軸受3は、複列外向きアンギュラ玉軸受とされ、二列の軌道溝を有する単一の外輪31と、一列の軌道溝を有しかつハブ軸2の小径外周面に外嵌される単一の内輪32と、二列で配設される複数の玉33と、二つの冠形保持器34,35とを備えており、上記ハブ軸2の大径外周面を前記片方列の玉33群の内輪軌道面とする構成になっている。外輪31の外周には、径方向外向きに延びるフランジ36が設けられている。
【0017】
そして、上記複列転がり軸受3の外輪31のフランジ36が、車体の一部となるキャリアまたはナックル(図示省略)に対してボルトで非回転に取り付けられる。上記ハブ軸2のフランジ2aの車両アウター側の面(図1の右側)と、フランジ2aの円周数ヶ所に貫通装着されるボルト5に対して螺合されるナット(図示省略)とで、図示しないディスクブレーキ装置のディスクロータおよび車輪が挟持されて固定される。また、上記複列転がり軸受3の内輪32は、ハブ軸2のねじ軸2bに対して螺合装着される六角ナット6でもってハブ軸2に対して一体的に結合されている。これにより、ハブ軸2が回転体となり、外輪31が非回転体となる。
【0018】
さらに、上記外輪31の車両インナー側の端部には、当該外輪31の車両インナー側開口を閉塞するためのキャップ7が取り付けられており、また、外輪31の車両アウター側の端部には、ハブ軸2の外周面との間で接触密封部を作るシールリング8が取り付けられている。これら、キャップ7とシールリング8によって外輪31と内輪32との対向空間内部に、図示しないグリースを封入するとともに、外部から水分や埃などが浸入することを防止するようになっている。
【0019】
この実施形態では、上記車軸用転がり軸受装置1に対して回転検出器として周知のVR(バリアブル・リラクタンス)タイプのブラシレスレゾルバ10を組み込むことにより、上記ハブ軸2の回転状態(回転停止状態、回転角度、回転速度や回転方向など)を検出できるようにしている。
【0020】
ブラシレスレゾルバ10は、上記六角ナット6をロータとして用いているとともに、ステータ12、励磁巻線13、第1出力巻線14、第2出力巻線15を備えている。このブラシレスレゾルバ10は、この実施形態において1相励磁/2相出力とする場合を例に挙げている。
【0021】
なお、ロータとしての六角ナット6は、磁性材からなる。この六角ナット6の外周面の形状は、その回転に伴ない、下記ステータ12の内径面との間のギャップパーミアンスを変化させる形状であればよいので、上記に限らず、周知の楕円形、おむすび形などとしてもよい。また、前記ロータは、上記六角ナット6で兼用せず、別個の部材として設けてもよい。
【0022】
上記ステータ12は、磁性材からなり、上記キャップ7の円筒部7aの内周に圧入などにより嵌合固定される。このステータ12の内周の形状は櫛歯状に形成されている。このステータ12の円周数ヶ所に設けられる極歯12aに対して、励磁巻線13、第1出力巻線14、第2出力巻線15が適宜巻回され、各極歯12aそれぞれの間に設けられる薄肉連結部12bが磁気通路となる。なお、図2に示す断面図では、極歯12aの数を8個としているが、図3に示す概略図では、説明を判りやすくするために、極歯12aの数を4個としている。この極歯12aの最小数は、周方向に90度ずれた2つとなるが、多くする場合には2の倍数とする必要がある。また、ステータ12の各極歯12aの内接円の直径寸法は、六角ナット6の外接円の直径寸法よりも僅かに大きく設定されている。
【0023】
上記ロータやステータ12は、磁気抵抗(リラクタンス)が小さくかつ磁気飽和密度が高い磁性材料、例えば軟磁性材料が好ましい。具体的には、例えば鉄を主成分として含む磁性材料、あるいはニッケルを主成分として含む磁性材料などがあり、積層や単層ケイ素剛板からなるもの、パーマロイ(鉄とニッケルとの合金)、フェライト、ソフトフェライトセラミック、など種々ある。言うまでもないが、このようなレゾルバを構成するロータやステータ12の磁性材料としては、上記のようにリラクタンスが小さい材料程、ロータの回転に伴なうロータとステータ12との間におけるギャップパーミアンスの変化が明瞭にあらわれ、その変化に伴なう巻線の誘起電圧(回転状態検出電圧)の発生精度が高まり、回転状態の検出精度の向上に好ましい。
【0024】
ところで、励磁巻線13は、ステータ12のすべての極歯12aに対して直列的に巻回されている。第1出力巻線14と第2出力巻線15は、誘起電圧分布が各々正弦波分布となるように各極歯12aに分布巻きされている。そして、励磁巻線13に対して正弦波励磁電圧を入力すると、第1出力巻線14と第2出力巻線15それぞれからは互いに電気的に90度位相がずれた波形の2相交流電圧である信号を出力する。例えば、励磁巻線13への正弦波励磁入力に対して第1出力巻線14から正弦波信号(SIN信号)を、また、第2出力巻線15からは前記正弦波信号から90度位相がずれた余弦波信号(COS信号)を出力する。
【0025】
このようなブラシレスレゾルバ10では、励磁巻線13に対して1相交流電圧を印加した状態において、ハブ軸2が回転すると、ハブ軸2と一体の六角ナット6の外周面とステータ12の各極歯12aの内周面との間のギャップパーミアンスが順次変化することになり、第1、第2出力巻線14,15から前記ギャップパーミアンスの変化に応じて振幅が無段階に変化する前記SIN信号やCOS信号を出力し、この信号が信号処理回路20に入力される。なお、ハブ軸2が停止しているときは、ハブ軸2と一体の六角ナット6の外周面とステータ12の各極歯12aの内周面との間のギャップパーミアンスが変化しないので、第1、第2出力巻線14,15からそれぞれほぼ一定の振幅のSIN信号とCOS信号を出力する。
【0026】
そして、上記信号処理回路20は、周知のR/D(レゾルバ/デジタル)コンバータやDSP(デジタル・シグナル・プロセッサ)などとされ、入力される信号に基づく周知の信号処理により、ハブ軸2の回転状態(停止位置、回転方向、回転角度、回転速度など)を認識するようになっている。
【0027】
以上説明したように、車軸用転がり軸受装置1にブラシレスレゾルバ10を組み込んだ構成にしているから、ハブ軸2が停止している非回転状態を確実に検出できる他、ハブ軸2の回転状態を従来例のアクティブタイプの回転検出器に比べて高精度に検出できるようになる。そのため、この車軸用転がり軸受装置1に組み込んだブラシレスレゾルバ10の出力を、例えばグローバル・ポジショニング・システム(GPS)などの移動情報として利用することができるなど、応用用途が拡大できるようになる。また、ブラシレスレゾルバ10のロータを前述の六角ナット6で兼用させているから、構成簡素化、ローコスト化が可能となる。
【0028】
また、車軸用転がり軸受装置1にブラシレスレゾルバ10を一体的に組み合わせることにより、以下のような利点がある。すなわち、ブラシレスレゾルバ10は、ロータとステータとの位置精度(軸振れ、軸方向移動量など)が低いと性能を十分に発揮できないことがあるが、車軸用転がり軸受装置1の内輪と外輪の径方向および軸方向の位置精度は高精度に管理されているので、本発明のようにロータとステータを内輪と外輪に取り付けた場合は、容易にレゾルバ本来の性能を発揮することができ、回転状態の検出精度を向上できる。一例をあげると、一般的なレゾルバでは、ロータとステータの径方向の振れ精度(軸振れ精度)の許容値は50μm以下、ロータとステータの軸方向許容移動量は±250μm以下とされているが、図1の実施形態のような、斜接形式の複列玉軸受(アンギュラ玉軸受)を用いた車軸用転がり軸受装置1の場合、通常は予圧を与えて負すきまで使用される。このため、径方向および軸方向ともに移動量は「0」であり、レゾルバの取り付け許容精度を十分に満たしており、レゾルバの回転状態の検出精度を向上できる。
【0029】
以下で、本発明の種々な応用や変形を述べる。
【0030】
(1)上記実施形態において、六角ナット6を用いずに、図示しないが、ハブ軸2の車両インナー側の端部を円筒形にして、この円筒形部分をローリングかしめでもって径方向外向きに広げて内輪32の外端面に押し付けることにより、ハブ軸2と内輪32とを一体化するようにしたものも本発明の実施形態とすることができる。この場合、ハブ軸2の車両インナー側端部に形成される前記かしめ部分の外径面を、ブラシレスレゾルバ10のロータの役割を果たす形状に形成してもよいし、このかしめ部分の外周に別個にロータを装着してもよい。
【0031】
(2)図4および図5に本発明の実施形態2を示している。この実施形態2では、外輪31の軸方向2列の軌道溝31a,31bの間の領域にブラシレスレゾルバ10を配置している。つまり、ブラシレスレゾルバ10のステータ12を、外輪31の内周面において軸方向中間の領域に取り付けており、また、ハブ軸2において前記ステータ12に対して径方向で対向する領域の円周数ヶ所に切り欠き2cを設けることによって、当該領域をブラシレスレゾルバ10のロータとして利用するようになっている。なお、ステータ12は、例えば外輪31に対して圧入などにより嵌合固定することができる。また、励磁巻線13、第1出力巻線14、第2出力巻線15は、外輪31の軸方向中央の円周1ヶ所に貫通孔を設け、この貫通孔から外部に引き出すことができる。さらに、図示しないが、ブラシレスレゾルバ10のロータについては、ハブ軸2と別体とし、このロータをハブ軸2の所定領域に外嵌装着するようにしてもよい。そもそも、外輪31の内周面は、研磨などによって高精度に寸法調整されているので、このブラシレスレゾルバ10の取り付け精度が向上し、ブラシレスレゾルバ10の検出精度の向上にも貢献する。
【0032】
(3)図6に本発明の実施形態3を示している。この実施形態3では、上記実施形態2において車両アウター側の列の玉33群の中心それぞれを結ぶ円径(PCD)を、車両インナー側の列の玉33群のPCDよりも大きく設定している。具体的に、外輪31において車両アウター側の軌道溝31aを、車両インナー側の列の軌道溝31bよりも大径とするとともに、ハブ軸2の軌道溝2dを、内輪32の軌道溝32aよりも大径とし、さらに外輪31においてブラシレスレゾルバ10の装着領域を、図4に示した構造よりも大径にしている。この場合、外輪31においてブラシレスレゾルバ10の装着領域と車両インナー側の軌道溝31bとの間に存在する径方向内向きの鍔31cによって、ブラシレスレゾルバ10の車両インナー側への変位を確実に規制することができる。
【0033】
(4)上記各実施形態に示す車軸用転がり軸受装置1において、図示しないが、例えばハブ軸2を中空形状とし、このハブ軸2の中心孔に対して駆動軸をスプライン嵌合させるようにすることができる。この場合だと、駆動輪に用いるタイプの車軸用転がり軸受装置1となる。
【0034】
(5)上記各実施形態で示した複列転がり軸受3の形式については、複列外向きアンギュラ玉軸受の他に、円錐ころ等の各種斜接形式の複列転がり軸受であっても構わない。なお、実施形態2,3においても、斜接形式の複列玉軸受を用いているので、実施形態1と同様に、ブラシレスレゾルバ10のロータとステータとの相対位置を高精度に維持することができ、ブラシレスレゾルバ10の回転状態の検出精度が向上する。また、円錐ころ軸受や円筒ころ軸受などの他形式の転がり軸受においても、径方向および軸方向の精度が高精度に管理されているので、ブラシレスレゾルバ10の回転状態の検出精度が向上する。
【0035】
(6)ブラシレスレゾルバ10に備えるステータ12とロータの配置関係は、上記各実施形態で説明したものと逆に、ステータ12を内径側に、また、ロータを外径側に配置することもできる。例えば、上記車軸用転がり軸受装置1としては、図示しないが、外輪を回転させる構造のものがあるが、その場合には、回転体となる外輪に対してブラシレスレゾルバ10のロータを一体的に取り付けるようにし、外輪の内径側に配置される非回転体に対してブラシレスレゾルバ10のステータ12を取り付けるようにすればよい。
【0036】
(7)上記実施形態では、回転検出器として、VRタイプのブラシレスレゾルバを例に挙げたが、その他のタイプのブラシレスレゾルバや、ブラシレスシンクロを用いることができる。
【0037】
【発明の効果】
本発明の車軸用転がり軸受装置は、回転体の回転状態(停止位置、回転方向、回転角度、回転速度など)を、従来例のアクティブタイプの回転検出器に比べて詳細かつ高精度に認識できるようになるなど、信頼性の向上に貢献できる。
【図面の簡単な説明】
【図1】本発明の実施形態1に係る車軸用転がり軸受装置の断面図
【図2】図1の(2)−(2)線断面の矢視図
【図3】図1のブラシレスレゾルバの構成を概略的に示す図
【図4】本発明の実施形態2に係る車軸用転がり軸受装置の断面図
【図5】図4の(5)−(5)線断面の矢視図
【図6】本発明の実施形態3に係る車軸用転がり軸受装置の断面図
【符号の説明】
1 車軸用転がり軸受装置 2 ハブ軸
3 複列転がり軸受 31 外輪
32 内輪 33 玉
6 六角ナット(レゾルバのロータを兼用)
10 ブラシレスレゾルバ 12 ステータ
13 励磁巻線 14 第1出力巻線
15 第2出力巻線
Claims (4)
- 軸体の外径側に外輪が多数の転動体を介して配置され、前記外輪および軸体のうちの一方が車体に、また、他方に車輪がそれぞれ取り付けられる車軸用転がり軸受装置であって、
入力励磁電圧を、前記軸体と外輪との相対的な回転状態に応じた誘起電圧に変換して出力する回転検出器を備えている、車軸用転がり軸受装置。 - 前記回転検出器は、前記軸体と外輪とのうちの一方側に一体的に設けられるロータと、前記軸体と外輪とのうちの他方側に一体的に設けられるステータと、前記ロータまたはステータに巻回される励磁巻線と、前記ロータおよびステータのいずれかに巻回される出力巻線とを有し、前記励磁巻線に対して励磁電圧を入力することにより前記出力巻線から前記ロータとステータとの間のギャップパーミアンスに応じて誘起される電圧を出力するものである、請求項1の車軸用転がり軸受装置。
- 前記回転検出器は、前記外輪の内径側と軸体の外径側との一方に一体的に設けられかつ円周数ヶ所に極歯を有するステータと、ステータの各極歯に対して適宜巻回される励磁巻線および出力巻線と、前記外輪の内径側と軸体の外径側との他方に一体的に設けられかつ回転に伴い前記ステータの各極歯との間のギャップパーミアンスを変化させるロータとを含むVR(バリアブル・リラクタンス)タイプのブラシレスレゾルバとされる、請求項1の車軸用転がり軸受装置。
- 前記軸体が、前記ロータとして兼用されている、請求項3の車軸用転がり軸受装置。
Priority Applications (5)
| Application Number | Priority Date | Filing Date | Title |
|---|---|---|---|
| JP2002297921A JP2004132475A (ja) | 2002-10-10 | 2002-10-10 | 車軸用転がり軸受装置 |
| EP03807988A EP1550847A4 (en) | 2002-10-10 | 2003-10-10 | ROLLER BEARING |
| US10/517,895 US7612556B2 (en) | 2002-10-10 | 2003-10-10 | Rolling bearing |
| PCT/JP2003/013036 WO2004033995A1 (ja) | 2002-10-10 | 2003-10-10 | 転がり軸受装置 |
| KR1020057006198A KR100801516B1 (ko) | 2002-10-10 | 2003-10-10 | 구름 베어링 장치 |
Applications Claiming Priority (1)
| Application Number | Priority Date | Filing Date | Title |
|---|---|---|---|
| JP2002297921A JP2004132475A (ja) | 2002-10-10 | 2002-10-10 | 車軸用転がり軸受装置 |
Publications (1)
| Publication Number | Publication Date |
|---|---|
| JP2004132475A true JP2004132475A (ja) | 2004-04-30 |
Family
ID=32287490
Family Applications (1)
| Application Number | Title | Priority Date | Filing Date |
|---|---|---|---|
| JP2002297921A Pending JP2004132475A (ja) | 2002-10-10 | 2002-10-10 | 車軸用転がり軸受装置 |
Country Status (1)
| Country | Link |
|---|---|
| JP (1) | JP2004132475A (ja) |
Citations (12)
| Publication number | Priority date | Publication date | Assignee | Title |
|---|---|---|---|---|
| JPS56110304U (ja) * | 1980-01-29 | 1981-08-26 | ||
| JPS6372512U (ja) * | 1986-10-30 | 1988-05-14 | ||
| JPH0933547A (ja) * | 1995-07-17 | 1997-02-07 | Yazaki Corp | 回転検出機能付き軸受構造 |
| JPH09238438A (ja) * | 1995-12-28 | 1997-09-09 | Nippon Seiko Kk | 密閉型アクチュエ−タ |
| JPH1068739A (ja) * | 1997-06-30 | 1998-03-10 | Koyo Seiko Co Ltd | センサー内蔵形軸受装置 |
| JPH1172501A (ja) * | 1997-06-27 | 1999-03-16 | Nippon Seiko Kk | 回転速度検出装置付転がり軸受ユニットとその組立方法 |
| JPH11313470A (ja) * | 1998-04-28 | 1999-11-09 | Hitachi Ltd | 2入出力の非干渉巻線を有する角度検出装置 |
| JP2000018968A (ja) * | 1998-07-06 | 2000-01-21 | Tamagawa Seiki Co Ltd | 複重系レゾルバ |
| JP2000258187A (ja) * | 1999-03-12 | 2000-09-22 | Tamagawa Seiki Co Ltd | バリアブルリラクタンス型レゾルバの零位置検出装置 |
| JP2001201362A (ja) * | 2000-01-18 | 2001-07-27 | Ebara Corp | 回転検出装置 |
| JP2002031147A (ja) * | 2000-07-17 | 2002-01-31 | Koyo Seiko Co Ltd | 回転速度検出装置付きホイール用転がり軸受装置 |
| JP2002084724A (ja) * | 2000-09-07 | 2002-03-22 | Mitsubishi Electric Corp | 車両用交流電機 |
-
2002
- 2002-10-10 JP JP2002297921A patent/JP2004132475A/ja active Pending
Patent Citations (12)
| Publication number | Priority date | Publication date | Assignee | Title |
|---|---|---|---|---|
| JPS56110304U (ja) * | 1980-01-29 | 1981-08-26 | ||
| JPS6372512U (ja) * | 1986-10-30 | 1988-05-14 | ||
| JPH0933547A (ja) * | 1995-07-17 | 1997-02-07 | Yazaki Corp | 回転検出機能付き軸受構造 |
| JPH09238438A (ja) * | 1995-12-28 | 1997-09-09 | Nippon Seiko Kk | 密閉型アクチュエ−タ |
| JPH1172501A (ja) * | 1997-06-27 | 1999-03-16 | Nippon Seiko Kk | 回転速度検出装置付転がり軸受ユニットとその組立方法 |
| JPH1068739A (ja) * | 1997-06-30 | 1998-03-10 | Koyo Seiko Co Ltd | センサー内蔵形軸受装置 |
| JPH11313470A (ja) * | 1998-04-28 | 1999-11-09 | Hitachi Ltd | 2入出力の非干渉巻線を有する角度検出装置 |
| JP2000018968A (ja) * | 1998-07-06 | 2000-01-21 | Tamagawa Seiki Co Ltd | 複重系レゾルバ |
| JP2000258187A (ja) * | 1999-03-12 | 2000-09-22 | Tamagawa Seiki Co Ltd | バリアブルリラクタンス型レゾルバの零位置検出装置 |
| JP2001201362A (ja) * | 2000-01-18 | 2001-07-27 | Ebara Corp | 回転検出装置 |
| JP2002031147A (ja) * | 2000-07-17 | 2002-01-31 | Koyo Seiko Co Ltd | 回転速度検出装置付きホイール用転がり軸受装置 |
| JP2002084724A (ja) * | 2000-09-07 | 2002-03-22 | Mitsubishi Electric Corp | 車両用交流電機 |
Similar Documents
| Publication | Publication Date | Title |
|---|---|---|
| US20090219016A1 (en) | System for Detecting an Absolute Angular Position by Differential Comparison, Rolling Bearing and Rotary Machine | |
| US7612556B2 (en) | Rolling bearing | |
| JP2004084848A (ja) | 転がり軸受装置 | |
| JP4281319B2 (ja) | 転がり軸受装置 | |
| JP4114438B2 (ja) | 転がり軸受装置 | |
| JP2007051683A (ja) | 転がり軸受装置 | |
| JP2006090831A (ja) | 回転センサ付軸受 | |
| JP4310975B2 (ja) | 転がり軸受装置 | |
| JP2006090511A (ja) | センサ付き転がり軸受装置 | |
| JP2004132475A (ja) | 車軸用転がり軸受装置 | |
| JP2004132476A (ja) | 転がり軸受装置 | |
| JP4238576B2 (ja) | センサ付き転がり軸受ユニット | |
| JP2004132474A (ja) | 転がり軸受装置 | |
| JP2004340579A (ja) | 転がり軸受ユニットの荷重測定装置及び荷重測定用転がり軸受ユニット | |
| JP4285151B2 (ja) | Vr型レゾルバ用ロータおよび転がり軸受装置 | |
| JP2980939B2 (ja) | 回転検出機構内蔵形の車輪用軸受装置 | |
| JP2004308724A (ja) | 回転センサ付軸受 | |
| JP2002340918A (ja) | 回転数検出装置およびこれを具備する車輪用軸受 | |
| JP2000211309A (ja) | 車軸用軸受装置 | |
| JP2004232795A (ja) | センサ付きハブユニット | |
| JP5458498B2 (ja) | 転がり軸受ユニットの状態量測定装置 | |
| JP4089470B2 (ja) | センサ付き転がり軸受ユニット | |
| JP3304943B2 (ja) | 回転角速度検出装置付転がり軸受 | |
| JP3939022B2 (ja) | 環状速度センサー | |
| JP2005337751A (ja) | 回転角度検出装置付回転支持装置 |
Legal Events
| Date | Code | Title | Description |
|---|---|---|---|
| A621 | Written request for application examination |
Free format text: JAPANESE INTERMEDIATE CODE: A621 Effective date: 20050926 |
|
| A131 | Notification of reasons for refusal |
Free format text: JAPANESE INTERMEDIATE CODE: A131 Effective date: 20080129 |
|
| A521 | Written amendment |
Free format text: JAPANESE INTERMEDIATE CODE: A523 Effective date: 20080331 |
|
| A02 | Decision of refusal |
Free format text: JAPANESE INTERMEDIATE CODE: A02 Effective date: 20080818 |