JP2004106548A - 共硬化樹脂の真空支援型トランスファー成形の製造方法 - Google Patents

共硬化樹脂の真空支援型トランスファー成形の製造方法 Download PDF

Info

Publication number
JP2004106548A
JP2004106548A JP2003314299A JP2003314299A JP2004106548A JP 2004106548 A JP2004106548 A JP 2004106548A JP 2003314299 A JP2003314299 A JP 2003314299A JP 2003314299 A JP2003314299 A JP 2003314299A JP 2004106548 A JP2004106548 A JP 2004106548A
Authority
JP
Japan
Prior art keywords
preforms
skin panel
prepreg skin
vacuum
resin
Prior art date
Legal status (The legal status is an assumption and is not a legal conclusion. Google has not performed a legal analysis and makes no representation as to the accuracy of the status listed.)
Ceased
Application number
JP2003314299A
Other languages
English (en)
Inventor
Chi Hsien Sheu
チ シエン シュー
Denise M Shimazu
デニス エム シマズ
David Michael Kane
デイヴィッド マイケル ケイン
Current Assignee (The listed assignees may be inaccurate. Google has not performed a legal analysis and makes no representation or warranty as to the accuracy of the list.)
Northrop Grumman Corp
Original Assignee
Northrop Grumman Corp
Priority date (The priority date is an assumption and is not a legal conclusion. Google has not performed a legal analysis and makes no representation as to the accuracy of the date listed.)
Filing date
Publication date
Family has litigation
First worldwide family litigation filed litigation Critical https://patents.darts-ip.com/?family=31946389&utm_source=google_patent&utm_medium=platform_link&utm_campaign=public_patent_search&patent=JP2004106548(A) "Global patent litigation dataset” by Darts-ip is licensed under a Creative Commons Attribution 4.0 International License.
Application filed by Northrop Grumman Corp filed Critical Northrop Grumman Corp
Publication of JP2004106548A publication Critical patent/JP2004106548A/ja
Ceased legal-status Critical Current

Links

Images

Classifications

    • BPERFORMING OPERATIONS; TRANSPORTING
    • B29WORKING OF PLASTICS; WORKING OF SUBSTANCES IN A PLASTIC STATE IN GENERAL
    • B29CSHAPING OR JOINING OF PLASTICS; SHAPING OF MATERIAL IN A PLASTIC STATE, NOT OTHERWISE PROVIDED FOR; AFTER-TREATMENT OF THE SHAPED PRODUCTS, e.g. REPAIRING
    • B29C70/00Shaping composites, i.e. plastics material comprising reinforcements, fillers or preformed parts, e.g. inserts
    • B29C70/04Shaping composites, i.e. plastics material comprising reinforcements, fillers or preformed parts, e.g. inserts comprising reinforcements only, e.g. self-reinforcing plastics
    • B29C70/28Shaping operations therefor
    • B29C70/40Shaping or impregnating by compression not applied
    • B29C70/42Shaping or impregnating by compression not applied for producing articles of definite length, i.e. discrete articles
    • B29C70/44Shaping or impregnating by compression not applied for producing articles of definite length, i.e. discrete articles using isostatic pressure, e.g. pressure difference-moulding, vacuum bag-moulding, autoclave-moulding or expanding rubber-moulding
    • B29C70/443Shaping or impregnating by compression not applied for producing articles of definite length, i.e. discrete articles using isostatic pressure, e.g. pressure difference-moulding, vacuum bag-moulding, autoclave-moulding or expanding rubber-moulding and impregnating by vacuum or injection
    • BPERFORMING OPERATIONS; TRANSPORTING
    • B29WORKING OF PLASTICS; WORKING OF SUBSTANCES IN A PLASTIC STATE IN GENERAL
    • B29DPRODUCING PARTICULAR ARTICLES FROM PLASTICS OR FROM SUBSTANCES IN A PLASTIC STATE
    • B29D99/00Subject matter not provided for in other groups of this subclass
    • B29D99/001Producing wall or panel-like structures, e.g. for hulls, fuselages, or buildings
    • B29D99/0014Producing wall or panel-like structures, e.g. for hulls, fuselages, or buildings provided with ridges or ribs, e.g. joined ribs

Landscapes

  • Engineering & Computer Science (AREA)
  • Mechanical Engineering (AREA)
  • Chemical & Material Sciences (AREA)
  • Composite Materials (AREA)
  • Architecture (AREA)
  • Civil Engineering (AREA)
  • Structural Engineering (AREA)
  • Casting Or Compression Moulding Of Plastics Or The Like (AREA)
  • Moulding By Coating Moulds (AREA)
  • Addition Polymer Or Copolymer, Post-Treatments, Or Chemical Modifications (AREA)

Abstract

【課題】本発明の目的は、複合構造の剛性化及び/又はアセンブルのより良好で低コストな方法を提供する。
【解決手段】本発明の一つの実施態様によると、共硬化樹脂の真空支援型トランスファー成形の製造方法は、ツールベースを提供する段階と、かかるツールベースからプレプレグスキンパネルを外に配置する段階と、かかるプレプレグスキンパネルから一つ以上の型押し細部を外に配置する段階と、かかる一つ以上の型押し細部の近位に一つ以上の予成形品を配置する段階とを含む。かかる一つ以上の予成形品は、乾燥又は結合している、いずれかである。本方法はさらに、一つ以上の型押し細部と一つ以上の予成形品との間に高い浸透性媒体を配置することと、プレプレグスキンパネルと一つ以上の型押し細部と一つ以上の予成形品と及び少なくとも一つの真空バックを備える高い浸透性媒体とを囲むことと、真空バックに真空吸引することと、樹脂で予成形品を満たすことと、並びに一つ以上の予成形品とプレプレグスキンパネルを硬化することとを含む。
【選択図】図3A

Description

 本発明は、複合構造の分野に関し、より詳細には、共硬化樹脂の真空支援型(co−cured resin vacuum−assisted)トランスファー成形の製造方法に関する。
 複合構造は、多くの産業における多数の適用に望ましい。例えば、航空機、宇宙飛行機、及び水陸両用車は、それらの組立てにおいて様々に湾曲して、さらに複合的に輪郭形成された表面構造を採用する。複合材は、他の望ましい性状において、質量に対する強い強度を有し、多大に統合された複合構造の設計及び組立てを可能にするので、一般的にそれらの構造において使用される。それでも、複合材からしばしば形成された構造は、剛性化されるか、又は隣接した構造に結合される必要がある。したがって、複合構造の製造者は、複合構造の剛性化及び/又はアセンブルがより良好で低コストな方法を常に模索している。
 本発明の目的は、複合構造の剛性化及び/又はアセンブルがより良好で低コストな方法を提供することである。
 本発明の一つの実施態様によると、共硬化樹脂の真空支援型トランスファー成形の製造方法は、ツールベースを提供する段階と、かかるツールベースからプレプレグスキンパネルを外に配置する段階と、かかるプレプレグスキンパネルから一つ以上の型押し細部を外に配置する段階と、かかる一つ以上の型押し細部の近位に一つ以上の予成形品を配置する段階とを含む。かかる一つ以上の予成形品は、乾燥又は結合している、いずれかである。本方法はさらに、一つ以上の型押し細部と一つ以上の予成形品との間に高い浸透性媒体を配置することと、プレプレグスキンパネルと一つ以上の型押し細部と一つ以上の予成形品と及び少なくとも一つの真空バックを備える高い浸透性媒体とを囲むことと、真空バックに真空吸引することと、樹脂で予成形品を満たすことと、並びに一つ以上の予成形品とプレプレグスキンパネルを硬化することとを含む。
 本発明の実施態様は、多くの技術的な利点を提供する。本発明の実施態様はそれらすべての利点か、又は幾つかの利点を含んでよく、或いはそれら利点を含まなくてよい。本発明の一つの実施態様により製造された複合構造は、部分統合により部品点数及びファスナー点数の削減によって可能とされる製造労働者が関わる実質的な削減又は排除のためにコスト効率が良い。加えて、剛性化された複合構造の優秀な規模の制御及びより軽量化された重量が達成される。かかる重量の削減は、特に航空産業で有用である。例えば、複合構造の製造者は、重量効率と一方向のプレプレグ構造形成を介する高性能のためにスキンパネルを適合されてよい。さらに、三次元の予成形品構造の結合は、結合の生産性及び構造的な性能を改善する。加えて、大規模に統合された構造は、オートクレーブせずに組立ててよく、それは時間とコストを節約する。
 数多の実施態様において、機械的なファスナー又は接着剤は、剛性化された複合構造を構成するかなりの時間と金額を節約する、スキンパネルに下部構造を取り付けるために必要とされない。しかしながら、Zピン又はフィルム接着剤は、ひび割れの広がりに対する耐性を改善するスキンパネルに下部構造の共硬化を補完するために使用されてよい。
 他の技術的な利点は、添付図、下記の記載、及び請求項から当業者にとって容易に明白である。
 本発明の効果は、複合構造の剛性化及び/又はアセンブルがより良好で低コストな方法の提供が可能である。
 本発明を完全に理解するため、及びさらなる特徴と利点において、添付図と共に下記の記載に言及される。
 本発明の具体例となる実施態様及びそれらの利点は、類似の数字は類似部分を参照する、図1乃至3Dを参照することによって最良に理解される。
 図1は、本発明の一つの実施態様により構成された複合構造200(図2)から形成されたパネル102を有する航空機100の斜視図である。航空機100は、任意の航空機であってよく、パネル102は、尾翼パネルか、主翼パネルか、又は胴体パネルなど、航空機100の任意の適切である構造的なパネルであってよい。航空機100が図1に例示されているが、パネル102は、任意の適切な航空機か、宇宙飛行機か、水陸両用車か、又は複合材によって形成される他の機械か、装置か、若しくは構造で採用されてよい。下記の詳細な記載は、本発明の教示によって製造された複合構造200の一つ以上の実施態様を例示する航空機における適用である。複合構造200の一つの実施態様は図2と共に下記に例示される。
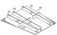
 図2は、複合構造200の一つの実施態様における内部の斜視図である。一つの実施態様において、複合構造200は、プレプレグスキンパネル202と、下記に記載のように本発明の教示によってプレプレグスキンパネル202に共硬化された、一つ以上の予成形品204とから形成される。一般的に、“プレプレグ”(つまり、樹脂で充満されるファイバー)は、未だ硬化されてはいないが、部分的になされてよい複合材である。
 プレプレグスキンパネル202は、任意の適切な樹脂で充満された任意の適切なファイバーを有する複合材から形成される。したがって、プレプレグスキンパネル202での樹脂は、任意の適切な二次元及び/又は三次元材から形成されてよく、さらに一方向であるか、二方向であるか、切られるか、織られるか、或いは編成されてよい。樹脂の任意の適切な数の層は、プレプレグスキンパネル202を形成するために使用されてよい。樹脂は、エポキシ又はビスマレイミドなどの任意の適切な樹脂であってよい。プレプレグスキンパネル202は、ハンドレイド(hand laid)、テープレイド(tape laid)、ファイバープレイス(fiber placed)などの任意の複合形成技術を使用して形成されてよいか、又はハイブリッドスキンパネルであってよい。例示された実施態様において、プレプレグスキンパネル202は、航空機100の外面の一部分を形成する。例えば、プレプレグスキンパネル202は、上に記載の尾翼部分、主翼部分、又は胴体部分の外面の一部分と一致してよい。このようにして、プレプレグスキンパネル202は、任意の適切な形状、規模、及び厚さを有してよい。加えて、プレプレグスキンパネル202は実質的に平らであってよく、又は航空機100又は他の適切な乗り物若しくは装置の特異的な部分の形状と一致する一つ以上の輪郭を有してよい。
 予成形品204は、プレプレグスキンパネル202に強度及び/若しくは剛性さを与えるか、又は取り付け要素として役立つために機能する。そのため、予成形品204は、典型的には、アイビーム、T−ビーム、ハット剛化剤又は他の適切な構造的な形状のような構造的な形状の型である。図2に例示されたように、予成形品204は、航空機100におけるパネル102のための多数の骨格的要素及び翼桁を形成する。プレプレグスキンパネル202の表面に形成される多くの予成形品204があってよく、予成形品204は複合構造200における設計パラメータに依存する任意の適切な形態で配置されてよい。予成形品204は乾燥しているか、又は結合しているかのいずれかであり、構造予成形品、ステッチ予成形品、ワープニット予成形品、三次元予成形品、組まれた予成形品又はそれら任意の組み合わせのような、任意の適切なテキスタイル予成形品かもしれない。ファイバー物質は、プレプレグスキンパネル202で使用されるファイバーと同一であっても、又は異なってもよい。結合された予成形品は、予成形品に粘着性及び処理安定を提供するために表面に適用された樹脂を備えた予成形品である。任意の適切なバインダー樹脂は、設計の要求品質と生産工程と互換性を有し、活用されてよい。
 本発明の教示によって、図3A乃至3Dと共に下記に詳細に記載のように、予成形品204は、樹脂で満たされた予成形品204でプレプレグスキンパネル202の共硬化によってプレプレグスキンパネル202に結合される。かかる共硬化は、コスト効率が良く、性能を導く複合構造200に多くの異なる製品形態及び工程の強度を混合する、ユニット化又は統合された構造を形成する。例えば、本発明の数多の実施態様は、樹脂の真空支援型トランスファー成形型の型押しにおける規模的な精密さ、及びプレプレグ製品形態の高い適合可能性、性能及び重量効率を利用する。本発明の重要な技術的利点は、航空機100におけるスキンパネルなどの非常に大きな構造が、剛性化及び/又は取り付け目的のために非常に大きな予成形品に統合して良いことである。
 図3A乃至3Dは、本発明の一つの実施態様による複合構造200の一つの構成方法を実証する、斜視図である。かかる方法は、ツール300のツールベース304から外側のプレプレグスキンパネル202を位置することによって開始する。任意の適切な物質から形成されるツールベース304は、プレプレグスキンパネル202と予成形品204の形態に依存する任意の適切な形態を有してよい。
 数多の実施態様において、プレプレグスキンパネル202がツールベース304から外に向かって位置する前に、プレプレグスキンパネル202は、プレプレグスキンパネル202のエアポケットのうちの数多を削除してもよい、デバルクされた真空(vacuum debulked)であってよい。プレプレグスキンパネル202の真空デバルク(vacuum debulking)は、室温で実行されてよい。所定時間における高温での追加的な真空デバルクサイクルは、任意で活用される。例えば、プレプレグスキンパネル202はレイアップ中に室温でデバルクされた真空であってよく、スキンコレーション(skin collation)の後、30乃至120分間で250°F±50°Fなどの圧縮を改善するために高温でデバルクされる。デバルク中に、圧力はまた、プレプレグスキンパネル202をさらに圧縮するように任意で適用してよい。ステージング(staging)は、硬化特性又はプレプレグ樹脂の流れを修正するように任意で活用されてよい。
 例示された方法の次の段階は、設計パラメータによって確定された所定の形態に予成形品204を構築することである。例えば、一つの所定の形態は、図2で示される骨格的要素と翼桁(参照番号204によって示される)によって例示される。したがって、第一の型押し細部302は、プレプレグスキンパネル202の一部分に配置されるように図3Aで示される。ここに記載された型押し細部は、複合構造200を形成するための型として使用される全体のツールの一部分か、又は構成部分を言及する。型押し細部302は、任意の適切な物質から形成されてよい。
 配置された隣接した型押し細部302は予成形品204である。かかる実施例において、予成形品204は、型押し細部302の側面に隣接するウェブ部分306及び307と、一部分が型押し細部302とプレプレグスキンパネル202との間にサンドイッチ状態であるフランジ部分308及び309を含む。ウェブ部分306、307とフランジ部分308、309の両者の物質、規模、及び形態は、複合構造200の設計によって決定される。換言すると、航空機100のスキンパネル102が図2の参照番号204によって示されるように骨格的要素と翼桁の両者を必要とする場合、ウェブ部分306とフランジ部分308は一つの骨格的要素の一部分であってよく、ウェブ部分307とフランジ部分309は一つの翼桁の一部分であってよい。骨格的要素と翼桁の残りは、さらに下記に記載のように別の型押し細部302を使用して構成される。
 予成形品204に樹脂を満たす際に樹脂の流れを容易にするために、型押し細部302はまた、肩押し細部302と、ウェブ部分306、307及びフランジ部分308、309の一部分との間に配置されてよい高い浸透性媒体310を含んでよい。高い浸透性媒体310は、樹脂の真空支援型トランスファー成形工程における樹脂の流れを容易にする、複合スクリーンなどの任意の適切な物質であってよい。高い浸透性の媒体310は、樹脂が注入され、予成形品204の形態及び細部などの、樹脂の真空支援型トランスファー成形工程の設計パラメータによって決定される位置で型押し細部302の外面に配置される。
 さらに、リリース構造312は図3Aにおいて示される。実施態様において、リリース構造312は高い浸透性媒体310と、ウェブ部分306、307及びフランジ部分308、309の両部分との間に配置される。リリース構造312はまた、型押し細部302とプレプレグスキンパネル202との間に継続してよい。リリース構造312は、テフロン(登録商標)でコーティングされたリリース構造など任意の適切なリリース構造であってよい。リリース構造312は、高い浸透性媒体310よりも大きい任意のサイズであってよい。
 図3Aにおいて明確に例証されてはいないが、ラッププライ(a wrap ply)はプレプレグスキンパネル202の設計目的を容易にするために数多の実施態様で活用されてよい。活用される場合、ラッププライは予成形品204と型押し細部302との間に配置される。別の選択として、型押し細部302及び/又はラッププライにラッププライと予成形品204の位置を容易にするために、樹脂フィルム(示されていない)はラッププライと予成形品204の外面で使用されてよい。樹脂フィルムは、一般的には、非指触乾燥物質がその場にとどまることを可能にする、指触乾燥物質である。
 個別の型押し細部302は、予成形品204の全体の形態における個別の部分を形成するために使用される。各型押し細部302は、すべての型押し細部302が置かれるまでそれぞれの予成形品204を備えるベースプレート304に連続的に配置される。図3A乃至3Dで例示される実施例において、8つ全部の型押し細部302が活用されるが、しかしながら、任意の適切な数の型押し細部は、複合構造200の形態に依存して活用される。
 図3Bは、ツール300のツールベース304に位置した8つの型押し細部302の7つを示す。例示されるように、図2に概要される予成形品204の一般的な形態は、隠れた線によって見られる。最終的な型押し細部302はツールベース304にまだ位置していないので、翼桁のウェブの一部分を含む参照番号316によって与えられる予成形品と、骨格的要素のウェブの一部分を含む参照番号318によって与えられる予成形品とを見ることができる。
 図3Cに例示されるように、プレプレグスキンパネル202と予成形品204は、下記に図3Dと関連して記載されるように、樹脂の真空支援型トランスファー成形工程を介して共硬化されるように準備される。図3Cに明確に例示されていないが、Zピンなどの複数のファスナーは、追加された強度及び/又は耐損害のための予成形品204にプレプレグスキンパネル202を結合するかもしれない。例えば、使用中にひび割れが複合構造200で発生する場合、ファスナー322はひび割れが進行することを食い止めるかもしれない。ファスナー322は、超音波エネルギーで振動される一方で、プッシング又はドライビングなどの適切な処理によって挿入されてよい。任意の適切な数のファスナー322は、任意の適切な形態で活用されてよい。粘着フィルムは、プレプレグパネル202と予成形品204との間に選択的に配置されてよい。粘着フィルムは、プレプレグパネル202と予成形品204との間に追加的な結合を提供してよい。任意の適切な粘着フィルムは、設計の要求及び製造工程と互換可能で活用されてよい。
 図3Dは、プレプレグパネル202と予成形品204における共硬化樹脂の真空支援型トランスファー成形工程の一つの実施態様を例示する。任意の適切な真空バック形成工程は、単一又は二重の真空バックの形成など活用されてよい。例示された実施態様において、真空源319は真空バック320で真空を吸引するように使用される。真空吸引後、貯蔵所322内に含まれる樹脂は、樹脂が真空バック302内に予成形品204を満たすように、入口ライン323によりツールベース304に移動することを許容する。注入は、樹脂が確認ライン324で“目撃される”まで続けられる。
 注入と硬化サイクルの実施態様は、下記のように記載される。真空は真空バック320に適用され、ツールベース304は250°F±50°Fなどの所定温度まで加熱される。室温などの他の適切な温度が活用されてよい。ツールベース304の加熱は、オーブンで達成されるか、又はツールベース304は自己加熱されるツールであってよい。同時に、注入される樹脂は、250°F±50°Fなどの所定温度まで貯蔵所322で加熱される。再度、室温などの他の適切な温度が活用されてよい。特定の実施態様において、樹脂は、ツールベース304の温度より低い温度まで加熱される。樹脂の加熱後、樹脂は、注入のための樹脂を調製する、真空脱気される。樹脂はまた、室温で真空脱気される。樹脂の注入後(高温又は室温のいずれかにおいて)、最終的な硬化サイクルが発生する。
 硬化サイクルを開始するために、ツールベース304は、注入温度から300°乃至400°Fなどの高温度まで加熱される。次いで、ツールベース304は、例えば6時間などの所定時間保持される。かかる保持期間は、プレプレグスキンパネル202と新規の樹脂が注入された予成形品204を硬化することを支援し、またそれらを共に結合する。選択として、後の硬化は所定期間において実行される。例えば、後の硬化は、ビスマレイミド樹脂においてほぼ6時間440°Fで実行されてよい。複合構造200がツールベース304にある際にかかる硬化が発生してよく、又は複合構造200はツールベース304から除去されてよく、さらに任意の適切なオーブンに位置されてよい。他の適切な温度及び保持時間は利用されてよい。
 本発明の実施態様と利点が詳細に記載されたが、当業者は、付記された請求項によって定義されるように本発明の趣旨及び範囲を逸脱せずに、様々な変更、追加、及び削除し得る。
本発明の一つの実施態様により構成された複合構造から形成されたパネルを有する航空機の斜視図である。 図1の複合構造内部の斜視図である。 本発明の一つの実施態様による複合構造の一つの製造法を例証する斜視図である。 本発明の一つの実施態様による複合構造の一つの製造法を例証する斜視図である。 本発明の一つの実施態様による複合構造の一つの製造法を例証する斜視図である。 本発明の一つの実施態様による複合構造の一つの製造法を例証する斜視図である。
符号の説明
 100 航空機
 102 パネル
 200 複合構造
 202 プレプレグスキンパネル
 204 予成形品
 300 ツール
 302 型押し細部
 304 ツールベース
 306 ウェブ部分
 307 ウェブ部分
 308 フランジ部分
 309 フランジ部分
 310 高い浸透性媒体
 312 リリース構造
 316 予成形品
 318 予成形品
 319 真空源
 320 真空バック
 322 ファスナー
 323 入口ライン
 324 確認ライン

Claims (38)

  1.  共硬化樹脂の真空支援型トランスファー成形の製造方法であって、該方法は、
     ツールベースを提供する段階と、
     前記ツールベースからプレプレグスキンパネルを外に配置する段階と、
     前記プレプレグスキンパネルから一つ以上の型押し細部を外に配置する段階と、
     前記一つ以上の型押し細部の近位に、乾燥又は結合している一つ以上の予成形品を配置する段階と、
     前記一つ以上の型押し細部と前記一つ以上の予成形品との間に高い浸透性媒体を配置する段階と、
     前記プレプレグスキンパネルと、前記一つ以上の型押し細部と、前記一つ以上の予成形品と、及び少なくとも一つの真空バックを備える前記高い浸透性媒体とを囲む段階と、
     前記真空バックに真空吸引する段階と、
     樹脂で前記一つ以上の予成形品を満たす段階と、並びに
     前記一つ以上の予成形品及び前記プレプレグスキンパネルを硬化する段階とを有することを特徴とする方法。
  2.  前記一つ以上の予成形品及び前記プレプレグスキンパネルを硬化した後に前記高い浸透性媒体を除去する段階をさらに含むことを特徴とする請求項1に記載の方法。
  3.  前記プレプレグスキンと前記一つ以上の予成形品との間にフィルム接着剤を配置する段階をさらに含むことを特徴とする請求項1に記載の方法。
  4.  前記プレプレグスキンと複数のファスナーを備える前記一つ以上の予成形品とを結合する段階をさらに含むことを特徴とする請求項1に記載の方法。
  5.  前記プレプレグスキンと複数のファスナーを備える前記一つ以上の予成形品とを結合することは、前記プレプレグスキンと複数のZピンを備える前記一つ以上の予成形品とを結合することを含むことを特徴とする請求項4に記載の方法。
  6.  前記一つ以上の予成形品は、構造予成形品と、ステッチ予成形品と、ワープニット予成形品と、三次元予成形品と、組まれた予成形品とから構成されるグループから選択されることを特徴とする請求項1に記載の方法。
  7.  前記プレプレグスキンパネルの真空デバルクをさらに含むことを特徴とする請求項1に記載の方法。
  8.  前記プレプレグスキンパネルの真空デバルクは、レイアップ中に所定時間における室温での前記プレプレグスキンパネルの真空デバルクを含み、次いでレイアップ後の所定時間における高温での前記プレプレグスキンパネルの真空デバルクを含むことを特徴とする請求項7に記載の方法。
  9.  前記プレプレグスキンパネルのステージングをさらに含むことを特徴とする請求項1に記載の方法。
  10.  前記プレプレグスキンパネルは、ハンドレイドプレプレグスキンパネルと、テープレイドプレプレグスキンパネルと、ファイバープレイスプレプレグスキンパネルと、ハイブリッドスキンパネルとから構成されるグループから選択されることを特徴とする請求項1に記載の方法。
  11.  前記高い浸透性媒体と、前記プレプレグスキンパネル及び前記一つ以上の予成形品の両者との間にリリース構造を配置する段階をさらに含むことを特徴とする請求項1に記載の方法。
  12.  前記樹脂で前記一つ以上の予成形品を満たす段階は、前記樹脂で前記一つ以上の予成形品を満たす以前に、前記樹脂を加熱することと、真空脱気することとを含むことを特徴とする請求項1に記載の方法。
  13.  前記樹脂で前記一つ以上の予成形品を満たす段階は、前記樹脂で前記一つ以上の予成形品を満たす以前に、所定温度まで前記ツールベース及び前記一つ以上の型押し細部を加熱することをさらに含むことを特徴とする請求項1に記載の方法。
  14.  前記囲む段階と、吸引する段階と、満たす段階と、及び硬化する段階は、
     前記プレプレグスキンパネルと、前記一つ以上の型押し細部と、前記一つ以上の予成形品と、及び内外部の真空バックを備える前記高い浸透性媒体とを囲む段階と、
     前記内外部真空バックに真空吸引する段階と、
     樹脂で前記一つ以上の予成形品を満たす段階と、並びに
     前記外部の真空バックで真空を維持する一方で、前記一つ以上の予成形品及び前記プレプレグスキンパネルを硬化する段階とを有することを特徴とする請求項1に記載の方法。
  15.  前記一つ以上の予成形品及び前記プレプレグスキンパネルを所定時間において高温で後の硬化段階をさらに含むことを特徴とする請求項1に記載の方法。
  16.  共硬化樹脂の真空支援型トランスファー成形の製造方法であって、該方法は、
     ツールベースを提供する段階と、
     前記ツールベースから一つ以上の型押し細部を外に配置する段階と、
     前記一つ以上の型押し細部から高い浸透性媒体を外に配置する段階と、
     前記一つ以上の型押し細部の近位に、乾燥又は結合している一つ以上の予成形品を配置する段階と
     前記高い浸透性媒体からプレプレグスキンパネルを外に配置する段階と、
     前記一つ以上の型押し細部と、前記高い浸透性媒体と、前記一つ以上の予成形品と、及び少なくとも一つの真空バックを備える前記プレプレグスキンパネルとを囲む段階と、
     前記真空バックに真空吸引する段階と、
     樹脂で前記一つ以上の予成形品を満たす段階と、並びに
     前記一つ以上の予成形品及び前記プレプレグスキンパネルを硬化する段階とを有することを特徴とする方法。
  17.  前記一つ以上の予成形品及び前記プレプレグスキンパネルを硬化した後に前記高い浸透性媒体を除去する段階をさらに含むことを特徴とする請求項16に記載の方法。
  18.  前記プレプレグスキンと前記一つ以上の予成形品との間にフィルム接着剤を配置する段階をさらに含むことを特徴とする請求項16に記載の方法。
  19.  前記プレプレグスキンと複数のファスナーを備える前記一つ以上の予成形品とを結合する段階をさらに含むことを特徴とする請求項16に記載の方法。
  20.  前記プレプレグスキンと複数のファスナーを備える前記一つ以上の予成形品とを結合することは、前記プレプレグスキンと複数のZピンを備える前記一つ以上の予成形品とを結合することを含むことを特徴とする請求項16に記載の方法。
  21.  前記一つ以上の予成形品は、構造予成形品と、ステッチ予成形品と、ワープニット予成形品と、三次元予成形品と、組まれた予成形品とから構成されるグループから選択されることを特徴とする請求項16に記載の方法。
  22.  前記プレプレグスキンパネルの真空デバルクをさらに含むことを特徴とする請求項16に記載の方法。
  23.  前記プレプレグスキンパネルの真空デバルクは、レイアップ中に所定時間における室温での前記プレプレグスキンパネルの真空デバルクを含み、次いでレイアップ後の所定時間における高温での前記プレプレグスキンパネルの真空デバルクを含むことを特徴とする請求項22に記載の方法。
  24.  前記プレプレグスキンパネルのステージングをさらに含むことを特徴とする請求項16に記載の方法。
  25.  前記プレプレグスキンパネルは、ハンドレイドプレプレグスキンパネルと、テープレイドプレプレグスキンパネルと、ファイバープレイスプレプレグスキンパネルと、ハイブリッドスキンパネルとから構成されるグループから選択されることを特徴とする請求項16に記載の方法。
  26.  前記高い浸透性媒体と、前記プレプレグスキンパネル及び前記一つ以上の予成形品の両者との間にリリース構造を配置する段階をさらに含むことを特徴とする請求項16に記載の方法。
  27.  前記樹脂で前記一つ以上の予成形品を満たす段階は、前記樹脂で前記一つ以上の予成形品を満たす以前に、前記樹脂を加熱することと、真空脱気することとを含むことを特徴とする請求項16に記載の方法。
  28.  前記樹脂で前記一つ以上の予成形品を満たす段階は、前記樹脂で前記一つ以上の予成形品を満たす以前に、所定温度まで前記ツールベース及び前記一つ以上の型押し細部を加熱することをさらに含むことを特徴とする請求項16に記載の方法。
  29.  前記囲む段階と、吸引する段階と、満たす段階と、及び硬化する段階は、
     前記プレプレグスキンパネルと、前記一つ以上の型押し細部と、前記一つ以上の予成形品と、及び内外部の真空バックを備える前記高い浸透性媒体とを囲む段階と、
     前記内外部真空バックに真空吸引する段階と、
     樹脂で前記一つ以上の予成形品を満たす段階と、並びに
     前記外部の真空バックで真空を維持する一方で、前記一つ以上の予成形品及び前記プレプレグスキンパネルを硬化する段階とを有することを特徴とする請求項16に記載の方法。
  30.  前記一つ以上の予成形品及び前記プレプレグスキンパネルを所定時間において高温で後の硬化段階をさらに含むことを特徴とする請求項16に記載の方法。
  31.  共硬化樹脂の真空支援型トランスファー成形の製造方法であって、該方法は、
     プレプレグスキンパネルを提供する段階と、
     真空デバルクとステージングから構成されるグループから選択される、前記プレプレグスキンパネルを処理する段階と、
     ツールベースを提供する段階と、
     前記ツールベースからプレプレグスキンパネルを外に配置する段階と、
     前記プレプレグスキンパネルから一つ以上の型押し細部を外に配置する段階と、
     前記一つ以上の型押し細部の近位に、乾燥又は結合している一つ以上の予成形品を配置する段階と、
     前記プレプレグスキンと前記一つ以上の予成形品との間にフィルム接着剤を配置する段階と、
     前記一つ以上の型押し細部から高い浸透性媒体を外に配置する段階と、
     前記高い浸透性媒体と、前記プレプレグスキンパネル及び前記一つ以上の予成形品の両者との間にリリース構造を配置する段階と、
     前記プレプレグスキンパネルと、前記一つ以上の型押し細部と、前記一つ以上の予成形品と、及び少なくとも一つの真空バックを備える前記高い浸透性媒体とを囲む段階と、
     前記真空バックに真空吸引する段階と、
     樹脂で前記一つ以上の予成形品を満たす段階と、並びに
     前記真空バックで真空を維持する一方で、前記一つ以上の予成形品及び前記プレプレグスキンパネルを硬化する段階とを有することを特徴とする方法。
  32.  前記プレプレグスキンと複数のZピンを備える前記一つ以上の予成形品とを結合することをさらに含むことを特徴とする請求項31に記載の方法。
  33.  前記プレプレグスキンパネルは、ハンドレイドプレプレグスキンパネルと、テープレイドプレプレグスキンパネルと、ファイバープレイスプレプレグスキンパネルと、ハイブリッドスキンパネルとから構成されるグループから選択されることを特徴とする請求項31に記載の方法。
  34.  前記一つ以上の予成形品は、構造予成形品と、ステッチ予成形品と、ワープニット予成形品と、三次元予成形品と、組まれた予成形品とから構成されるグループから選択されることを特徴とする請求項31に記載の方法。
  35.  前記樹脂で前記一つ以上の予成形品を満たす段階は、前記樹脂で前記一つ以上の予成形品を満たす以前に、前記樹脂を加熱することと、真空脱気することとを含むことを特徴とする請求項31に記載の方法。
  36.  前記樹脂で前記一つ以上の予成形品を満たす段階は、前記樹脂で前記一つ以上の予成形品を満たす以前に、所定温度まで前記ツールベース及び前記一つ以上の型押し細部を加熱することをさらに含むことを特徴とする請求項31に記載の方法。
  37.  前記一つ以上の予成形品及び前記プレプレグスキンパネルを所定時間において高温で後の硬化段階をさらに含むことを特徴とする請求項31に記載の方法。
  38.  前記囲む段階と、吸引する段階と、満たす段階と、及び硬化する段階は、
     前記プレプレグスキンパネルと、前記一つ以上の型押し細部と、前記一つ以上の予成形品と、及び内外部の真空バックを備える前記高い浸透性媒体とを囲む段階と、
     前記内外部真空バックに真空吸引する段階と、
     樹脂で前記一つ以上の予成形品を満たす段階と、並びに
     前記外部の真空バックで真空を維持する一方で、前記一つ以上の予成形品及び前記プレプレグスキンパネルを硬化する段階とを有することを特徴とする請求項1に記載の方法。
JP2003314299A 2002-09-13 2003-09-05 共硬化樹脂の真空支援型トランスファー成形の製造方法 Ceased JP2004106548A (ja)

Applications Claiming Priority (1)

Application Number Priority Date Filing Date Title
US10/243,796 US7419627B2 (en) 2002-09-13 2002-09-13 Co-cured vacuum-assisted resin transfer molding manufacturing method

Publications (1)

Publication Number Publication Date
JP2004106548A true JP2004106548A (ja) 2004-04-08

Family

ID=31946389

Family Applications (1)

Application Number Title Priority Date Filing Date
JP2003314299A Ceased JP2004106548A (ja) 2002-09-13 2003-09-05 共硬化樹脂の真空支援型トランスファー成形の製造方法

Country Status (6)

Country Link
US (1) US7419627B2 (ja)
EP (1) EP1400341B1 (ja)
JP (1) JP2004106548A (ja)
AT (1) ATE317324T1 (ja)
DE (1) DE60303484T2 (ja)
ES (1) ES2256679T3 (ja)

Cited By (3)

* Cited by examiner, † Cited by third party
Publication number Priority date Publication date Assignee Title
JP2009507689A (ja) * 2005-09-12 2009-02-26 ヨーロピアン・エアロノーティック・ディフェンス・アンド・スペース・カンパニー・イーエーディーエス・フランス Rtm複合体部品の製法及びその方法で得られた複合体部品
WO2012154544A3 (en) * 2011-05-06 2013-01-17 Purdue Research Foundation Method and system of vacuum assisted resin transfer molding for repair of composite materials and structure
JP2017226206A (ja) * 2016-03-24 2017-12-28 ザ・ボーイング・カンパニーThe Boeing Company 補強材を有する複合構造体及びその製造方法

Families Citing this family (51)

* Cited by examiner, † Cited by third party
Publication number Priority date Publication date Assignee Title
US20050255311A1 (en) * 2004-04-23 2005-11-17 Formella Stephen C Hybrid composite product and system
US20050236736A1 (en) * 2004-04-23 2005-10-27 Formella Stephen C Composite product and forming system
FR2879498B1 (fr) * 2004-12-16 2009-01-30 Snecma Propulsion Solide Sa Densification de structures fibreuses par rtm pour la realisation de pieces en materiau composite
EP1851036B1 (de) 2005-02-21 2012-10-03 Airbus Operations GmbH Faserverbund-Bauelement und Verfahren zur Herstellung eines Faserverbund-Bauelements
DE102005008252B4 (de) * 2005-02-21 2014-03-20 Airbus Operations Gmbh Verfahren zur Herstellung eines Faserverbund-Bauelements
DE102006002198B4 (de) * 2006-01-16 2011-04-28 Airbus Operations Gmbh Verfahren zur Herstellung eines Faserverbund-Bauelements
US7837147B2 (en) * 2005-03-18 2010-11-23 The Boeing Company Systems and methods for reducing noise in aircraft fuselages and other structures
US20070090554A1 (en) * 2005-10-26 2007-04-26 Rick Wykoff Panel molding method and apparatus
DE102006038205B4 (de) * 2006-08-16 2009-07-09 Küster Automotive Control Systems GmbH Befestigung eines Betätigungszuges an einem Widerlager eines Kraftfahrzeuges
US7897097B2 (en) * 2006-08-31 2011-03-01 Milgard Manufacturing Incorporated Vacuum-infused fiberglass-reinforced fenestration framing member and method of manufacture
US7749424B2 (en) * 2006-08-31 2010-07-06 Milgard Manufacturing, Inc. Vacuum-infused fiberglass-reinforced fenestration framing member and method of manufacture
DE102006050579B3 (de) * 2006-10-26 2008-03-06 Deutsches Zentrum für Luft- und Raumfahrt e.V. Verfahren zur Herstellung von Faserverbundbauteilen
GB0622691D0 (en) * 2006-11-14 2006-12-27 Airbus Uk Ltd Method and apparatus for controlling the geometry of a composite component
US9511571B2 (en) 2007-01-23 2016-12-06 The Boeing Company Composite laminate having a damping interlayer and method of making the same
DE102007004312B4 (de) 2007-01-29 2014-08-21 Airbus Operations Gmbh Verfahren zur Herstellung eines Faserverbundbauteils für ein Luft- oder Raumfahrzeug
DE102007004313B4 (de) * 2007-01-29 2015-01-15 Airbus Operations Gmbh Verfahren zur Herstellung eines Bauteils für ein Luft- oder Raumfahrzeug
GB2447964B (en) * 2007-03-29 2012-07-18 Gurit Uk Ltd Moulding material
US7861969B2 (en) * 2007-05-24 2011-01-04 The Boeing Company Shaped composite stringers and methods of making
US7879276B2 (en) * 2007-11-08 2011-02-01 The Boeing Company Foam stiffened hollow composite stringer
DE102008008386A1 (de) * 2008-02-09 2009-08-13 Airbus Deutschland Gmbh Verfahren zur Herstellung eines FVW-Bauteils
US8668857B1 (en) * 2008-04-25 2014-03-11 Abe Karem High quality out-of-autoclave composites
US8540921B2 (en) 2008-11-25 2013-09-24 The Boeing Company Method of forming a reinforced foam-filled composite stringer
US8230713B2 (en) 2008-12-30 2012-07-31 Usamp Elevated temperature forming die apparatus
US8459084B2 (en) 2009-02-05 2013-06-11 Usamp Elevated temperature forming method and preheater apparatus
US8425710B2 (en) 2009-03-13 2013-04-23 The Boeing Company Automated placement of vibration damping materials
US20100249277A1 (en) * 2009-03-31 2010-09-30 General Electric Company Cured composite composition
US8500066B2 (en) 2009-06-12 2013-08-06 The Boeing Company Method and apparatus for wireless aircraft communications and power system using fuselage stringers
US8570152B2 (en) 2009-07-23 2013-10-29 The Boeing Company Method and apparatus for wireless sensing with power harvesting of a wireless signal
US8617687B2 (en) 2009-08-03 2013-12-31 The Boeing Company Multi-functional aircraft structures
US9682514B2 (en) 2010-06-25 2017-06-20 The Boeing Company Method of manufacturing resin infused composite parts using a perforated caul sheet
US8628717B2 (en) 2010-06-25 2014-01-14 The Boeing Company Composite structures having integrated stiffeners and method of making the same
US8940213B2 (en) 2010-06-25 2015-01-27 The Boeing Company Resin infusion of composite parts using a perforated caul sheet
US8636252B2 (en) 2010-06-25 2014-01-28 The Boeing Company Composite structures having integrated stiffeners with smooth runouts and method of making the same
WO2012000678A1 (en) 2010-07-02 2012-01-05 Hexcel Holding Gmbh Fibre reinforced composite moulding
DE102011010384B4 (de) * 2011-02-05 2015-06-11 Premium Aerotec Gmbh Verfahren zur Herstellung eines Faserverbundbauteils
WO2012149939A2 (en) * 2011-05-04 2012-11-08 Vestas Wind Systems A/S Method of preparing a composite laminate
DE102011079943A1 (de) * 2011-07-27 2013-01-31 Airbus Operations Gmbh Vorrichtung zur Herstellung eines Klebebauteils mit Faserverbundkunststoffen sowie Verfahren
GB201120707D0 (en) 2011-12-01 2012-01-11 Airbus Operations Ltd Leading edge structure
US20150008623A1 (en) * 2012-02-17 2015-01-08 Saab Ab Method and mould system for net moulding of a co-cured, integrated structure
ES2427038B1 (es) * 2012-04-26 2014-09-02 Airbus Operations, S.L. Método de prevención de porosidad en piezas de material compuesto.
EP2989002B1 (en) * 2013-04-25 2019-03-06 Saab Ab A method and a production line for the manufacture of a torsion-box type skin composite structure
WO2014175799A1 (en) * 2013-04-25 2014-10-30 Saab Ab A method and a production line for the manufacture of a torsion-box type skin composite structure
ITMI20131364A1 (it) * 2013-08-08 2015-02-09 Sparco S P A Metodo per produzione di un prodotto composito che prevede una matrice polimerica presentante fibre di rinforzo, e prodotto ottenuto con tale metodo
ES2674659T3 (es) 2013-09-23 2018-07-03 Airbus Operations S.L. Método para fabricar una caja de torsión aeronáutica, caja de torsión y herramienta para fabricar una caja de torsión aeronáutica
DE102018105765A1 (de) 2018-03-13 2019-09-19 Deutsches Zentrum für Luft- und Raumfahrt e.V. Verfahren zum Herstellen eines Faserverbund-Hohlbauteils und Faserverbund-Hohlbauteil
US10899084B2 (en) * 2018-07-16 2021-01-26 Textron Innovations, Inc. Methods for forming composite structures
US12195201B2 (en) * 2020-11-18 2025-01-14 The Boeing Company Composite preform assembly method and apparatus
CN114103171B (zh) * 2021-11-24 2024-04-12 长三角先进材料研究院 一种适用于多腔结构的预浸料增强树脂传递成型方法
US12203333B2 (en) * 2022-06-06 2025-01-21 Halliburton Energy Services, Inc. Composite wellbore sealing device
US12122501B1 (en) 2023-09-06 2024-10-22 Jetzero, Inc. Aircraft with carbon fiber material and a method of manufacture
CN119305223B (zh) * 2024-11-19 2025-12-19 江苏新扬新材料股份有限公司 一种复合材料电磁防护罩制作方法

Citations (9)

* Cited by examiner, † Cited by third party
Publication number Priority date Publication date Assignee Title
JPH01221228A (ja) * 1987-12-10 1989-09-04 General Electric Co <Ge> 繊維強化複合物品の製造方および装置
JPH03262614A (ja) * 1990-03-14 1991-11-22 Mitsubishi Heavy Ind Ltd 成形材の成形方法
JPH06234127A (ja) * 1992-11-27 1994-08-23 Ciba Geigy Ag 成形方法
JPH1199529A (ja) * 1997-09-30 1999-04-13 Mitsubishi Heavy Ind Ltd 複合材一体成形方法
JPH11107107A (ja) * 1997-08-04 1999-04-20 Toray Ind Inc 炭素繊維織物と繊維強化プラスチックおよび繊維強化プラスチックの成形方法
JP2000238154A (ja) * 1999-02-19 2000-09-05 Toray Ind Inc ハニカムサンドイッチパネル
JP2001064406A (ja) * 1999-08-31 2001-03-13 Toray Ind Inc 繊維強化複合材用プリフォームおよびこれを用いてなる繊維強化複合材ならびにこれらの製造方法
JP2001253393A (ja) * 2000-03-10 2001-09-18 Fuji Heavy Ind Ltd 複合材パネルおよびその製造方法
JP2002172630A (ja) * 2000-12-06 2002-06-18 Toray Ind Inc Frpの真空成形方法

Family Cites Families (24)

* Cited by examiner, † Cited by third party
Publication number Priority date Publication date Assignee Title
US4062917A (en) * 1976-11-05 1977-12-13 Burlington Industries, Inc. Method of molding resin-impregnated fabric layer using release sheet and absorbent sheet inside evacuated bag
US4492607A (en) * 1983-02-22 1985-01-08 Rockwell International Corporation Method for producing integrally stiffened fiber reinforced plastic panels
US4654407A (en) 1985-08-02 1987-03-31 Amoco Corporation Aromatic bismaleimide and prepreg resin therefrom
US4644039A (en) 1986-03-14 1987-02-17 Basf Corporation Bis-maleimide resin systems and structural composites prepared therefrom
US4758395A (en) * 1986-11-04 1988-07-19 Owens-Corning Fiberglas Corporation Method of molding thick parts of fibrous-ply-reinforced resin
US4942013A (en) * 1989-03-27 1990-07-17 Mcdonnell Douglas Corporation Vacuum resin impregnation process
US4973636A (en) 1989-05-30 1990-11-27 Shell Oil Company Bisbenzocyclobutene/bisimide compositions
US4927907A (en) 1989-05-30 1990-05-22 Shell Oil Company Bisbenzocyclobutene/bisimide/free radical polymerization inhibitor composition
US5032451A (en) 1989-05-30 1991-07-16 Shell Oil Company Bisbenzocyclobutene/bisimide compositions
WO1991002013A1 (en) 1989-08-03 1991-02-21 Akzo N.V. Biscitraconimide copolymers with olefinically unsaturated materials
US5232650A (en) * 1991-12-31 1993-08-03 Grumman Aerospace Corporation Fabrication of detail parts for superconducting magnets by resin transfer molding
US5906782A (en) * 1994-07-23 1999-05-25 Ford Global Technolgies, Inc. Method for the simultaneous curing of thermosetting resins
US5569508A (en) 1995-01-03 1996-10-29 The Boeing Company Resin transfer molding with honeycomb core and core filler
US5588392A (en) * 1995-04-18 1996-12-31 Outboard Marine Corporation Resin transfer molding process
US5980665A (en) 1996-05-31 1999-11-09 The Boeing Company Z-pin reinforced bonds for connecting composite structures
US5876540A (en) 1996-05-31 1999-03-02 The Boeing Company Joining composites using Z-pinned precured strips
US5916469A (en) 1996-06-06 1999-06-29 The Boeing Company Susceptor integration into reinforced thermoplastic composites
FR2750071B1 (fr) * 1996-06-19 1998-09-04 Aerospatiale Procede de fabrication de pieces en materiau composite, par moulage par transfert de resine
US5968445A (en) * 1998-01-05 1999-10-19 The Boeing Company Method and apparatus for curing large composite panels
EP1235672B2 (en) 1999-12-07 2008-03-19 The Boeing Company Double bag vacuum infusion process for manufacturing a composite and composite obtained thereby
ES2185443B1 (es) * 2000-03-07 2004-09-01 Airbus España S.L. Procedimiento de fabricacion de piezas precuradas en material compuesto con rigidizadores aplicados en estado fresco.
US6638466B1 (en) * 2000-12-28 2003-10-28 Raytheon Aircraft Company Methods of manufacturing separable structures
US20030051434A1 (en) * 2001-09-20 2003-03-20 Lockheed Martin Corporation Composite structure and method for constructing same
DE10156123B4 (de) 2001-11-16 2006-07-27 Eads Deutschland Gmbh Verfahren und Vorrichtung zur Herstellung von faserverstärkten Kunststoffbauteilen

Patent Citations (9)

* Cited by examiner, † Cited by third party
Publication number Priority date Publication date Assignee Title
JPH01221228A (ja) * 1987-12-10 1989-09-04 General Electric Co <Ge> 繊維強化複合物品の製造方および装置
JPH03262614A (ja) * 1990-03-14 1991-11-22 Mitsubishi Heavy Ind Ltd 成形材の成形方法
JPH06234127A (ja) * 1992-11-27 1994-08-23 Ciba Geigy Ag 成形方法
JPH11107107A (ja) * 1997-08-04 1999-04-20 Toray Ind Inc 炭素繊維織物と繊維強化プラスチックおよび繊維強化プラスチックの成形方法
JPH1199529A (ja) * 1997-09-30 1999-04-13 Mitsubishi Heavy Ind Ltd 複合材一体成形方法
JP2000238154A (ja) * 1999-02-19 2000-09-05 Toray Ind Inc ハニカムサンドイッチパネル
JP2001064406A (ja) * 1999-08-31 2001-03-13 Toray Ind Inc 繊維強化複合材用プリフォームおよびこれを用いてなる繊維強化複合材ならびにこれらの製造方法
JP2001253393A (ja) * 2000-03-10 2001-09-18 Fuji Heavy Ind Ltd 複合材パネルおよびその製造方法
JP2002172630A (ja) * 2000-12-06 2002-06-18 Toray Ind Inc Frpの真空成形方法

Cited By (4)

* Cited by examiner, † Cited by third party
Publication number Priority date Publication date Assignee Title
JP2009507689A (ja) * 2005-09-12 2009-02-26 ヨーロピアン・エアロノーティック・ディフェンス・アンド・スペース・カンパニー・イーエーディーエス・フランス Rtm複合体部品の製法及びその方法で得られた複合体部品
WO2012154544A3 (en) * 2011-05-06 2013-01-17 Purdue Research Foundation Method and system of vacuum assisted resin transfer molding for repair of composite materials and structure
US9944026B2 (en) 2011-05-06 2018-04-17 Purdue Research Foundation Method and system of vacuum assisted resin transfer moldings for repair of composite materials and structure
JP2017226206A (ja) * 2016-03-24 2017-12-28 ザ・ボーイング・カンパニーThe Boeing Company 補強材を有する複合構造体及びその製造方法

Also Published As

Publication number Publication date
EP1400341B1 (en) 2006-02-08
EP1400341A1 (en) 2004-03-24
US20040051214A1 (en) 2004-03-18
DE60303484T2 (de) 2006-10-19
US7419627B2 (en) 2008-09-02
HK1064989A1 (en) 2005-02-08
ES2256679T3 (es) 2006-07-16
DE60303484D1 (de) 2006-04-20
ATE317324T1 (de) 2006-02-15

Similar Documents

Publication Publication Date Title
JP2004106548A (ja) 共硬化樹脂の真空支援型トランスファー成形の製造方法
CN103963315B (zh) 一种复合材料的预浸料/树脂传递模塑共固化工艺方法
US10427330B2 (en) Hybrid lay-up mold
US9120272B2 (en) Smooth composite structure
US10118348B2 (en) Aircraft component with closed box structure
CA2877224C (en) Fabrication of composite laminates using temporarily stitched preforms
EP0904929B1 (en) Method for forming a caul plate during moulding of a part
US7374715B2 (en) Co-cured resin transfer molding manufacturing method
JP2014504218A5 (ja)
EP2723554A2 (en) Tool for manufacturing a preform assembly
BR112017003641B1 (pt) Palheta difusora, motor de turbina, e, método para fabricar uma palheta difusora
CN100436095C (zh) 密封橡胶气囊阳模的制造方法及树脂传递模塑成型的新方法
US7416401B2 (en) Lightweight composite fairing bar and method for manufacturing the same
KR102030195B1 (ko) 마스터가 없는 적층 맨드릴 공구
CN114103163B (zh) 一种旋翼无人机异形碳纤维机臂的整体制造方法
GB2546858A (en) Composite structures with stiffeners and method of making the same
HK1064989B (en) Co-cured vacuum-assisted resin transfer molding manufacturing method
JP7700746B2 (ja) 接合体の製造方法
US20030051434A1 (en) Composite structure and method for constructing same
CN102765197B (zh) 热塑性树脂基编织复合材料热压成型方法

Legal Events

Date Code Title Description
A621 Written request for application examination

Free format text: JAPANESE INTERMEDIATE CODE: A621

Effective date: 20060822

A977 Report on retrieval

Free format text: JAPANESE INTERMEDIATE CODE: A971007

Effective date: 20090407

A131 Notification of reasons for refusal

Free format text: JAPANESE INTERMEDIATE CODE: A131

Effective date: 20090512

A521 Request for written amendment filed

Free format text: JAPANESE INTERMEDIATE CODE: A523

Effective date: 20090810

A131 Notification of reasons for refusal

Free format text: JAPANESE INTERMEDIATE CODE: A131

Effective date: 20091117

A521 Request for written amendment filed

Free format text: JAPANESE INTERMEDIATE CODE: A523

Effective date: 20100215

A131 Notification of reasons for refusal

Free format text: JAPANESE INTERMEDIATE CODE: A131

Effective date: 20100817

A521 Request for written amendment filed

Free format text: JAPANESE INTERMEDIATE CODE: A523

Effective date: 20101109

A01 Written decision to grant a patent or to grant a registration (utility model)

Free format text: JAPANESE INTERMEDIATE CODE: A01

Effective date: 20110111

A045 Written measure of dismissal of application [lapsed due to lack of payment]

Free format text: JAPANESE INTERMEDIATE CODE: A045

Effective date: 20110524