JP2004073066A - 食品材料の均し装置 - Google Patents

食品材料の均し装置 Download PDF

Info

Publication number
JP2004073066A
JP2004073066A JP2002237081A JP2002237081A JP2004073066A JP 2004073066 A JP2004073066 A JP 2004073066A JP 2002237081 A JP2002237081 A JP 2002237081A JP 2002237081 A JP2002237081 A JP 2002237081A JP 2004073066 A JP2004073066 A JP 2004073066A
Authority
JP
Japan
Prior art keywords
stirring blade
food material
slider
scraper
guide
Prior art date
Legal status (The legal status is an assumption and is not a legal conclusion. Google has not performed a legal analysis and makes no representation as to the accuracy of the status listed.)
Granted
Application number
JP2002237081A
Other languages
English (en)
Other versions
JP3889998B2 (ja
Inventor
Nobuaki Kikuchi
菊池 宣昭
Yoshikazu Tanaka
田中 芳和
Teruo Ebinuma
海老沼 輝雄
Current Assignee (The listed assignees may be inaccurate. Google has not performed a legal analysis and makes no representation or warranty as to the accuracy of the list.)
Morinaga and Co Ltd
Original Assignee
Morinaga and Co Ltd
Priority date (The priority date is an assumption and is not a legal conclusion. Google has not performed a legal analysis and makes no representation as to the accuracy of the date listed.)
Filing date
Publication date
Application filed by Morinaga and Co Ltd filed Critical Morinaga and Co Ltd
Priority to JP2002237081A priority Critical patent/JP3889998B2/ja
Publication of JP2004073066A publication Critical patent/JP2004073066A/ja
Application granted granted Critical
Publication of JP3889998B2 publication Critical patent/JP3889998B2/ja
Anticipated expiration legal-status Critical
Expired - Fee Related legal-status Critical Current

Links

Images

Landscapes

  • Branching, Merging, And Special Transfer Between Conveyors (AREA)
  • Confectionery (AREA)

Abstract

【課題】チョコフレークのような粘着性があって、割れやすい食品材料を、コンベヤ上で均一に均すことができるようにした食品材料の均し装置を提供する。
【解決手段】コンベヤ11の搬送方向に対して交差するように、スクリューリボン状の攪拌羽根30を配置し、この攪拌羽根30を回転させる回転手段を設け、上記攪拌羽根30の回転軸と平行なガイド21を介して、攪拌羽根30の回転軸24方向に移動できるスライダ37を設置する。このスライダ37から攪拌羽根30に向けて進退動作するスクレッパ40を設け、このスクレッパ40が攪拌羽根30に当接した状態で攪拌羽根30が回転すると、スクレッパ40を介してスライダ37がガイド21に沿って移動するように構成する。
【選択図】 図1

Description

【0001】
【発明の属する技術分野】
本発明は、粘着性を有する食品材料をコンベヤに載せて搬送する途中で、該食品材料を均一な厚さに均すための均し装置に関する。
【0002】
【従来の技術】
従来から、コーンフレークなどの膨化菓子や、アーモンドなどのナッツ類、ドライオレンジなどのドライフルーツ類、ウエハース、ビスケットなどの焼菓子をチョコレート生地やキャンディー生地で被覆した菓子が知られている。特にコーンフレークにチョコレートを被覆したものは、チョコフレークなどの名称で市販されており、人気を博している。
【0003】
しかしながら、チョコフレークは、フレーク状をなすため、バラバラとこぼれやすく、手が汚れやすく、食べにくいという問題があった。このため、本出願人は、特開2002−45163号において、チョコフレークのような粘着性のある食品片をこわさずに、内部空隙の多い塊状に成形することができる食品の成形方法及び成形装置を提案している。
ところで、上記成形装置によって食品の成形を行う場合には、チョコフレーク等の粘着性を有する菓子材料をコンベヤに載せて搬送する途中で均一な厚さに均して、上記成形装置に導入する必要があった。
【0004】
【発明が解決しようとする課題】
しかし、これらの菓子材料は、チョコレート生地やキャンディー生地が粘着性を有するため、コンベアに載せて搬送する途中で均一な厚さに均そうとしても、均し装置にチョコレート生地やキャンディー生地が付着してしまい、連続した運転が困難であるという問題があった。
【0005】
また、これらの菓子材料は、軽くてサクサクした食感を有する反面、こわれやすいので、ローラや均し板で強制的に均そうとすると、菓子材料が割れたり、潰れたりして、こわれてしまうという問題があった。
したがって、本発明の目的は、チョコフレークのような粘着性があって、割れやすい食品材料を、コンベヤ上で均一に均すことができるようにした食品材料の均し装置を提供することにある。
【0006】
【課題を解決するための手段】
上記目的を達成するため、本発明による食品材料の均し装置は、粘着性を有する食品材料をコンベヤに載せて搬送する途中で、該食品材料を均一な厚さに均すための均し装置において、前記コンベヤの搬送方向に対して交差するように、スクリューリボン状の攪拌羽根を配置し、この攪拌羽根を回転させる回転手段を設けたことを特徴とする。
【0007】
本発明の装置によれば、食品材料がコンベヤに載って搬送されてくる途中で、回転するスクリューリボン状の攪拌羽根によって攪拌され、コンベヤの幅方向に分散されて均一な厚さに均される。このとき、スクリューリボン状の攪拌羽根は、食品材料を強制的に押し付けたりすることなく、すくい上げるようにして分散させるので、例えばチョコフレークのような割れやすい食品材料であっても、こわすことなく均すことができる。また、スクリューリボン形状によって、粘着性を有する食品材料であっても付着しにくくなり、付着した場合であっても掻き落としやすくなる。
【0008】
本発明の均し装置においては、前記攪拌羽根の回転軸と平行なガイドを介して、前記攪拌羽根の回転軸方向に移動できるスライダを設置し、このスライダから前記攪拌羽根に向けて進退動作するスクレッパを設け、このスクレッパが前記攪拌羽根に当接した状態で前記攪拌羽根が回転すると、前記スクレッパを介して前記スライダが前記ガイドに沿って移動するように構成することが好ましい。
【0009】
これによれば、例えば表面にチョコレート生地やキャンディー生地を被覆された粘着性を有する食品材料の場合は、上記粘着性を有する生地が攪拌羽根に付着し、更には食品材料自体が付着してしまって均し効果が低下するが、上記装置では、スライダからスクレッパが攪拌羽根に向けて押出され、攪拌羽根に当接した状態でスライダがガイドに沿って移動し、攪拌羽根の螺旋に沿ってこびり付いた粘着性を有する生地等を掻き落とすことができる。このため、チョコフレークのような粘着性があって、割れやすい食品材料であっても、長時間安定してコンベヤ上で均一に均すことができる。
【0010】
また、本発明の均し装置においては、前記攪拌羽根は、丸線又は丸パイプをスクリューリボン状に形成したものからなることが好ましい。これによれば、粘着性を有する生地等が攪拌羽根に付着しても、スクレッパによって掻き落としやすく、割れやすい食品材料であっても、攪拌羽根の表面で滑りやすくなるため、こわすことなく分散させることができる。
【0011】
また、前記スクレッパは、先端が開口したU字状の部材からなり、前記スライダから押出されたときに、前記攪拌羽根のリボン状部分を前記U字状部分に受け入れるように構成されていることが好ましい。これによれば、スクレッパを押出すと、スクレッパのU字状部分に、攪拌羽根のリボン状部分が入り込み、攪拌羽根の外周に付着した粘着性を有する生地等がスクレッパによって効果的に掻き落とされる。また、攪拌羽根の回転によって、スクレッパが螺旋に沿って摺動するため、スライダをガイドに沿って確実に移動させることができる。
【0012】
また、前記ガイドの両端には、前記スライダを検出するセンサが配置されており、該センサが前記スライダを検出したときに、前記スクレッパを進退動作させて前記攪拌羽根から着脱させるように構成されていることが好ましい。これによれば、スライダがガイドの端部にくると、センサがスライダを検知して、スクレッパを進退動作させるので、スクレッパが攪拌羽根に当接して移動してくるときには、ガイドの端部でスクレッパを後退させて攪拌羽根から離脱させて停止させることができ、また、攪拌羽根の回転によってスクレッパを反対側の端部に移動させたいときには、センサがスライドを検知してスクレッパを押出し、攪拌羽根に当接させることができる。
【0013】
また、前記ガイドには、前記スクレッパが前記攪拌羽根から離れた状態で、前記スライダを前記ガイドに沿って移動させる手段が設けられていることが好ましい。これによれば、スクレッパが攪拌羽根に当接して、スライダがガイドの一方の端部から移動して他方の端部に到着した後、スクレッパを攪拌羽根から離して上記移動手段によってスライダを再び一方の端部に戻すことができる。
【0014】
また、前記攪拌羽根は、前記コンベアの搬送経路と直交する方向に対して15〜45度傾斜して配置されていることが好ましい。これによれば、攪拌羽根が食品材料をすくい上げて分散させるとき、食品材料を攪拌羽根の軸方向に移動させやすくなるので、食品材料をコンベヤの幅方向に分散させて均し効果を高めることができる。
【0015】
更に、前記攪拌羽根は、前記コンベヤの経路上に、前記傾斜方向を反対にして2個配置されていることが好ましい。これによれば、最初の攪拌羽根によって食品材料をコンベヤの幅方向の一方の方向に移動させつつ分散させ、次の攪拌羽根によって食品材料をコンベヤの幅方向の他方の方向に移動させつつ分散させることができるので、コンベヤの幅方向に均一に均すことができる。
【0016】
更に、前記食品材料は、膨化菓子、ナッツ類、ドライフルーツ類、焼菓子から選ばれた少なくとも一種の菓子の表面に、チョコレート生地又はキャンディー生地を被覆したものであることが好ましい。これらの食品材料は、粘着性があって、割れやすいため、本発明の装置がより好ましく適用される。
【0017】
【発明の実施の形態】
本発明において、粘着性を有する食品材料としては、特に限定されないが、例えば膨化菓子、ナッツ類、ドライフルーツ類、焼菓子から選ばれた少なくとも一種の菓子の表面に、チョコレート生地又はキャンディー生地を被覆したものが好ましく採用される。
【0018】
ここで、膨化菓子としては、例えばパフ、コーンフレークなどが挙げられ、ナッツ類としては、例えばローストした種実類、例えばアーモンド、ピーナッツ、マカダミアナッツ、カシューナッツ、くるみ、ピスタチオ、へーゼルナッツなどの全粒、粉砕物、切断物などが挙げられ、ドライフルーツ類としては、例えばドライオレンジ、干ブドウなどが挙げられ、焼菓子としては、例えばワッフル、ウエハース、ビスケットクラム、クッキークラムが挙げられる。これらの膨化菓子、ナッツ類、ドライフルーツ類、焼菓子の形状は、特に限定されないが、フレーク状、板状、棒状、球状、不定形な塊状などの形状が採用され、特にフレーク状が好ましく採用される。
【0019】
チョコレート生地の原料としては、従来から一般的に用いられているものを適宜選択して使用することができる。例えば、カカオマス、ココアパウダー、カカオバター、その他の植物性油脂、全脂粉乳、脱脂粉乳、ホエイパウダー、砂糖、マルトース、パラチノースなどの糖類、レシチンなどの乳化剤、香料などが用いられる。また、ビターチョコレート、ミルクチョコレート、ホワイトチョコレートなど、いずれの種類のチョコレートでもよく、規約に定められた純チョコレート、純ミルクチョコレート、準チョコレートであってもよいし、規約に定められたチョコレート以外の油脂性菓子であってもよい。
【0020】
一方、キャンディー生地を使用する場合、その性質上、チョコレート生地より高温を維持したまま成形しなければならない。そして、キャンディー生地としては、例えばキャラメルなどのソフトキャンディー、ハードキャンディー、ヌガー、ファッジ、タフィー、トフィー、フォンダン、マシュマロの生地が好ましく採用される。
【0021】
上記膨化菓子、ドライフルーツ類、焼菓子の少なくとも1種、あるいは更にローストした種実類及びナッツ類の少なくとも1種に、チョコレート生地又はキャンディー生地を被覆する方法としては、例えば溶融したチョコレート生地又はキャンディー生地と、上記菓子類とを混合して、菓子類の表面にチョコレート生地又はキャンディー生地をコーティングする方法が採用される。
本発明の均し装置は、例えば上記のようにして調製された食品材料を、コンベヤ上で均一に均すのに用いられる。
【0022】
図1〜10には、本発明による均し装置の一実施形態が示されている。図1は同均し装置の斜視図、図2は同均し装置の平面図、図3は同均し装置の要部側面図、図4は同均し装置による均し操作を示す斜視図、図5は同均し装置においてスクレッパがガイドの一端からスタートする状態を示す平面図、図6は同均し装置においてスクレッパが攪拌バネに沿って移動する状態を示す平面図、図7は同均し装置においてスクレッパがガイドの他端に到着する直前を示す部分拡大平面図、図8は同均し装置においてスクレッパがガイドの他端に到着した状態を示す部分拡大平面図、図9は同均し装置においてスクレッパをガイドの他端で攪拌羽根から離す状態を示す部分拡大平面図、図10は同均し装置においてスクレッパをガイドの一端に戻す状態を示す部分拡大平面図である。
【0023】
この均し装置10は、コンベヤ11上に配置された2つの攪拌羽根回転装置20a、20bで構成されている。各回転装置は、実質的に同じ構造をなしているので、以下の説明では、同じ部分に同じ符号を付して、両者共通した構造として説明することにする。
【0024】
各攪拌羽根回転装置20a、20bは、コンベヤ11に対してやや斜めに配置された細長いガイド21を有し、このガイド21の両端には、L字状に伸びる一対の対向するアーム22、23が設けられている。これらのアーム22、23間には、ガイド21と平行に回転軸24が回転可能に支持されている。そして、一方のアーム23に取付けられたモータ25によって、上記回転軸24が回転するようになっている。なお、図3、4においては、便宜上、上記アーム22、23及びモータ25は省略されている。
【0025】
この回転軸24には、丸線をスクリューリボン状(ピッチの開いた螺旋状)に形成してなる攪拌羽根30がスポーク31を介して取付けられている。なお、図2及び図5〜10においては、便宜上、上記スポーク31は省略されている。また、攪拌羽根30としては、角線や平線をスクリューリボン状に形成したものを採用することもできるが、滑りやすい表面にして食品材料の破損を防止し、表面に付着した粘着性の生地等を掻き落としやすくするために、丸線又は丸パイプを用いることが好ましい。
【0026】
2つの攪拌羽根回転装置20a、20bは、上記回転軸24が、コンベヤ11に直交する方向に対して、角度θの傾斜角で、しかも互いに反対方向に傾斜するように配置されている。上記傾斜角θは、特に限定されないが、15〜45度が好ましい。傾斜角θが上記よりも小さいと、コンベヤ11の幅方向に分散させる作用が小さくなり、傾斜角θが上記よりも大きいと、コンベヤ移動方向に長い攪拌羽根が必要となるので、設置場所を取るという不都合が生じる。
【0027】
攪拌羽根30の螺旋ピッチは20〜100mmが好ましく、攪拌羽根30の外径は75〜700mmが好ましく、回転数は20〜50Hzが好ましい。攪拌羽根30の線材の太さは、3〜10mmが好ましい。また、攪拌羽根30とコンベヤ11上面との距離は、3〜25mmが好ましい。更に、コンベヤ11の速度は1〜8m/分が好ましい。
【0028】
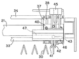
図3を併せて参照すると、ガイド21には、一対のガイド棒33、34が平行に取付けられている。そして、このガイド棒33、34を脚部35、36に挿通されて、ガイド棒33、34に沿って摺動可能なスライダ37が取付けられている。このスライダ37には、一対のガイド軸38を介して、スクレッパ40が攪拌羽根30に向けて進退可能に取付けられている。スクレッパ40は、図7〜10に示すように、攪拌羽根30に向けてU字状をなすように延出された1対の指状突起41、42を有し、攪拌羽根30に押出されると、上記指状突起41、42の間に、攪拌羽根30のリボン状の線材が挿入されるようになっている。
【0029】
再び図3を参照すると、スクレッパ40の上面には、ボス43が取付けられている。これに関連して、ガイド21から伸びる支持板44には、エアシリンダ45が取付けられており、このエアシリンダ45の作動ロッドには、上記ボス43を受け入れる溝47を有するホルダ46が取付けられている。そして、スクレッパ40がスライダ37と一緒に移動するとき、ガイド21の両端部にて、上記ボス43がホルダ46の溝47に挿入されるようになっている。また、その状態でエアシリンダ45が作動して、ホルダ46が攪拌羽根30に対して進退動作すると、上記溝46に挿入されたボス43を介して、上記スクレッパ40が進退動作するようになっている。
【0030】
また、スライダ37の下面には、突片39が取付けられている。これに対応して、ガイド21内には図示しないエアシリンダが内蔵されていて、このエアシリンダによって移動するプッシャ49が設けられている。このプッシャ49は、上記突片39に係合して、スライダ37をガイド棒33、34に沿って移動させることができる。
【0031】
なお、図示していないが、ガイド21の両端部には、スライダ37の位置を検出するスライダ検出センサと、攪拌羽根30の回転角度を検出する回転角検出センサとが設けられている。そして、スライダ検出センサによってスライダ37がガイド21端部の所定の位置に配置されたことが検出され、回転角検出センサによって攪拌羽根30が所定の回転位置にあることが検出されたときに、上記エアシリンダ45によりホルダ46が作動し、スクレッパ40を攪拌羽根30に向けて押出し、あるいは引き込ませるようになっている。
なお、図1、2、4中の50は食品の成形装置であり、図4中の51は食品材料である。
【0032】
次に、この均し装置10の作用について説明する。
図4に示すように、前述したような、例えば膨化菓子、ドライフルーツ類、焼菓子の少なくとも1種、あるいは更にローストした種実類及びナッツ類の少なくとも1種に、チョコレート生地又はキャンディー生地を被覆した食品材料51は、コンベヤ11上に堆積した状態で搬送されてくる。そして、食品材料51は、コンベヤ11上に配置された2つの攪拌羽根回転装置20a,20bによって均一に均されて、食品成形装置50に供給されるようになっている。
【0033】
各攪拌羽根回転装置20a,20bは、モータ25によって攪拌羽根30を回転させている。この場合、図2に示すように、一方の攪拌羽根回転装置20aの回転方向Aと、他方の攪拌羽根回転装置20aの回転方向Bとは逆になっており、各攪拌羽根30の回転は、食品材料が矢印C、D方向(すなわち、コンベヤ11の搬送方向Eに向けて斜め前方)に移動するように作用する方向とされている。ただし、一方の攪拌羽根回転装置20aの回転方向Aと、他方の攪拌羽根回転装置20bとの攪拌羽根30の螺旋方向を逆にして、両者を同方向に回転させるようにしてもよい。
【0034】
食品材料51は、回転する攪拌羽根30によってすくい上げられるようにして分散される。その場合、コンベヤ11の移動と、攪拌羽根30のコンベヤ11に対する斜め配置によって、一方の攪拌羽根回転装置20aにおいては、食品材料を図2中の矢印C方向に移動させる作用が加わり、他方の攪拌羽根回転装置20bにおいては、食品材料を図2中の矢印D方向に移動させる作用が加わる。その結果、食品材料51はコンベヤ11の幅方向に分散して広がり、均一な厚さに均される。
【0035】
攪拌羽根30は、前述したように、丸線をスクリューリボン状(ピッチの開いた螺旋状)に形成してなるので、食品材料51は、攪拌羽根30の表面で滑って無理な力が作用することなく分散され、例えばチョコレートフレークのような破砕されやすい菓子片であっても、破損することなく分散させることができる。
ところで、攪拌羽根30の表面には、チョコレート生地又はキャンディー生地のような粘着性の生地が付着し、この付着量が次第に増えてくると、食品材料51自体が攪拌羽根30に付着してしまうため、食品材料51を破損することなく均すことができなくなる。
【0036】
そこで、この均し装置10においては、図5〜10に示す手順によって、攪拌羽根30に付着する粘着性生地の掻き落とし操作がなされる。
すなわち、図5に示すように、スライダ37がガイド21の一方の端部に配置された状態で、スクレッパ40が押出され、その指状突起41、42の間に、攪拌羽根30の線材が入り、スクレッパ40が攪拌羽根30に当接する。
そして、図6に示すように、攪拌羽根30は、モータ25の作動で回転しているため、スクレッパ40は、攪拌羽根30によって送り作用を受け、ガイド21に沿ってスライダ37と一緒に移動する。その結果、攪拌羽根30のリボン状の線材がスクレッパ40の指状突起41、42によって擦られ、その表面に付着した粘着性生地を掻き落とされる。
【0037】
図7は、こうして移動するスライダ37が、ガイド21の反対側の端部に近接した状態を示している。ガイド21の端部では、エアシリンダ45の作動によってホルダ46が攪拌羽根30方向に押出された状態で待機している。
そして、スライダ37がガイド21の反対側の端部に到着すると、図8に示すように、スクレッパ40の上面に突設されたボス43がホルダ46の溝47に導入される。
【0038】
この状態で、図示しないスライダ検出センサが、スライダ37がガイド21端部の所定の位置に配置されたことを検出すると、図9に示すように、上記エアシリンダ45によりホルダ46が後退し、溝47に挿入されたボス43を介して、スクレッパ40を攪拌羽根30から離脱させる。
そして、ガイド21内に配置された図示しないエアシリンダの作用により、図3に示したプッシャ49が突片39を押しながら移動し、図10に示すように、スライダ37をガイド21の反対側の端部に返送する。
【0039】
更に、スライダ37がガイド21の反対側の端部に到達すると、ガイド21の端部に配置された図示しないスライダ検出センサがスライダ37を検出し、回転角検出センサが攪拌羽根30の回転位置を検出して、上記エアシリンダ45によりホルダ46が作動し、スクレッパ40を攪拌羽根30に向けて再び押出し、図5からの工程が再び繰り返される。なお、上記スクレッパ40による掻き落とし操作は、タイマー等によって所定の時間毎になされるようにしてもよい。
【0040】
【発明の効果】
以上説明したように、本発明によれば、スクリューリボン状の攪拌羽根が、食品材料を強制的に押し付けたりすることなく、すくい上げるようにして分散させるので、例えばチョコフレークのような割れやすい食品材料であっても、こわすことなく均すことができる。また、スライダからスクレッパが攪拌羽根に向けて押出され、攪拌羽根に当接した状態でスライダがガイドに沿って移動し、攪拌羽根の螺旋に沿ってこびり付いた粘着性を有する生地等を掻き落とすことことができる。したがって、チョコフレークのような粘着性があって、割れやすい食品材料であっても、長時間安定してコンベヤ上で均一に均すことができる。
【図面の簡単な説明】
【図1】本発明による均し装置の一実施形態を示す斜視図である。
【図2】同均し装置の平面図である。
【図3】同同均し装置の要部側面図である。
【図4】同均し装置による均し操作を示す斜視図である。
【図5】同均し装置においてスクレッパがガイドの一端からスタートする状態を示す平面図である。
【図6】同均し装置においてスクレッパが攪拌羽根に沿って移動する状態を示す平面図である。
【図7】同均し装置においてスクレッパがガイドの他端に到着する直前を示す部分拡大平面図である。
【図8】同均し装置においてスクレッパがガイドの他端に到着した状態を示す部分拡大平面図である。
【図9】同均し装置においてスクレッパをガイドの他端で攪拌羽根から離す状態を示す部分拡大平面図である。
【図10】同均し装置においてスクレッパをガイドの一端に戻す状態を示す部分拡大平面図である。
【符号の説明】
10 均し装置
11 コンベヤ
20a、20b 攪拌羽根回転装置
21 ガイド
24 回転軸
25 モータ
30 攪拌羽根
37 スライダ
40 スクレッパ
41、42 指状突起
51 食品材料

Claims (9)

  1. 粘着性を有する食品材料をコンベヤに載せて搬送する途中で、該食品材料を均一な厚さに均すための均し装置において、前記コンベヤの搬送方向に対して交差するように、スクリューリボン状の攪拌羽根を配置し、この攪拌羽根を回転させる回転手段を設けたことを特徴とする食品材料の均し装置。
  2. 前記攪拌羽根の回転軸と平行なガイドを介して、前記攪拌羽根の回転軸方向に移動できるスライダを設置し、このスライダから前記攪拌羽根に向けて進退動作するスクレッパを設け、このスクレッパが前記攪拌羽根に当接した状態で前記攪拌羽根が回転すると、前記スクレッパを介して前記スライダが前記ガイドに沿って移動するように構成した請求項1記載の食品材料の均し装置。
  3. 前記攪拌羽根は、丸線又は丸パイプをスクリューリボン状に形成したものからなる請求項1又は2記載の食品材料の均し装置。
  4. 前記スクレッパは、先端が開口したU字状の部材からなり、前記スライダから押出されたときに、前記攪拌羽根のリボン状部分を前記U字状部分に受け入れるように構成されている請求項2又は3記載の食品材料の均し装置。
  5. 前記ガイドの両端には、前記スライダを検出するセンサが配置されており、該センサが前記スライダを検出したときに、前記スクレッパを進退動作させて前記攪拌羽根から着脱させるように構成されている請求項2〜4のいずれか1つに記載の食品材料の均し装置。
  6. 前記ガイドには、前記スクレッパが前記攪拌羽根から離れた状態で、前記スライダを前記ガイドに沿って移動させる手段が設けられている請求項2〜5のいずれか1つに記載の食品材料の均し装置。
  7. 前記攪拌羽根は、前記コンベアの搬送経路と直交する方向に対して15〜45度傾斜して配置されている請求項1〜6のいずれか1つに記載の食品材料の均し装置。
  8. 前記攪拌羽根は、前記コンベヤの経路上に、前記傾斜方向を反対にして2個配置されている請求項7記載の食品材料の均し装置。
  9. 前記食品材料は、膨化菓子、ナッツ類、ドライフルーツ類、焼菓子から選ばれた少なくとも一種の菓子の表面に、チョコレート生地又はキャンディー生地を被覆したものである請求項1〜8のいずれか1つに記載の食品材料の均し装置。
JP2002237081A 2002-08-15 2002-08-15 食品材料の均し装置 Expired - Fee Related JP3889998B2 (ja)

Priority Applications (1)

Application Number Priority Date Filing Date Title
JP2002237081A JP3889998B2 (ja) 2002-08-15 2002-08-15 食品材料の均し装置

Applications Claiming Priority (1)

Application Number Priority Date Filing Date Title
JP2002237081A JP3889998B2 (ja) 2002-08-15 2002-08-15 食品材料の均し装置

Publications (2)

Publication Number Publication Date
JP2004073066A true JP2004073066A (ja) 2004-03-11
JP3889998B2 JP3889998B2 (ja) 2007-03-07

Family

ID=32021005

Family Applications (1)

Application Number Title Priority Date Filing Date
JP2002237081A Expired - Fee Related JP3889998B2 (ja) 2002-08-15 2002-08-15 食品材料の均し装置

Country Status (1)

Country Link
JP (1) JP3889998B2 (ja)

Cited By (7)

* Cited by examiner, † Cited by third party
Publication number Priority date Publication date Assignee Title
JP2017042080A (ja) * 2015-08-26 2017-03-02 森永製菓株式会社 食品生地成形装置及び食品生地の成形方法
CN107010382A (zh) * 2016-01-27 2017-08-04 天津市国民制药机械有限公司 一种药材专用上料装置
CN108991059A (zh) * 2018-09-06 2018-12-14 武威市津威环境科技有限责任公司 简易和面机
CN111153173A (zh) * 2020-01-20 2020-05-15 中冶焦耐(大连)工程技术有限公司 一种散装物料比例两分装置及控制方法
CN111249966A (zh) * 2020-02-19 2020-06-09 杭州伊尹健康技术有限公司 内外旋转升降式中药搅拌方法及中药搅拌装置
CN111249969A (zh) * 2020-02-19 2020-06-09 杭州伊尹健康技术有限公司 外旋移内平移式中药搅拌装置
CN111249965A (zh) * 2020-02-19 2020-06-09 杭州伊尹健康技术有限公司 内外旋转升降搅拌式中药搅拌装置

Families Citing this family (2)

* Cited by examiner, † Cited by third party
Publication number Priority date Publication date Assignee Title
KR101989278B1 (ko) * 2018-05-14 2019-06-13 현대제철 주식회사 벨트컨베이어슈트용 분진 비산 방지장치
KR102588142B1 (ko) * 2021-09-23 2023-10-11 현대제철 주식회사 비산 분진 방지용 슈트 장치

Cited By (9)

* Cited by examiner, † Cited by third party
Publication number Priority date Publication date Assignee Title
JP2017042080A (ja) * 2015-08-26 2017-03-02 森永製菓株式会社 食品生地成形装置及び食品生地の成形方法
CN107010382A (zh) * 2016-01-27 2017-08-04 天津市国民制药机械有限公司 一种药材专用上料装置
CN108991059A (zh) * 2018-09-06 2018-12-14 武威市津威环境科技有限责任公司 简易和面机
CN111153173A (zh) * 2020-01-20 2020-05-15 中冶焦耐(大连)工程技术有限公司 一种散装物料比例两分装置及控制方法
CN111249966A (zh) * 2020-02-19 2020-06-09 杭州伊尹健康技术有限公司 内外旋转升降式中药搅拌方法及中药搅拌装置
CN111249969A (zh) * 2020-02-19 2020-06-09 杭州伊尹健康技术有限公司 外旋移内平移式中药搅拌装置
CN111249965A (zh) * 2020-02-19 2020-06-09 杭州伊尹健康技术有限公司 内外旋转升降搅拌式中药搅拌装置
CN111249965B (zh) * 2020-02-19 2022-05-03 浙江厚达智能科技股份有限公司 内外旋转升降搅拌式中药搅拌装置
CN111249966B (zh) * 2020-02-19 2022-05-03 浙江厚达智能科技股份有限公司 内外旋转升降式中药搅拌方法及中药搅拌装置

Also Published As

Publication number Publication date
JP3889998B2 (ja) 2007-03-07

Similar Documents

Publication Publication Date Title
CA2189267C (en) Shaped chocolate in confectionery
US4822627A (en) Frozen confection suitable for deep frying
EP3399867B1 (en) Apparatus for delivering frozen confection comprising particulate material
JP3889998B2 (ja) 食品材料の均し装置
RU2361414C2 (ru) Способ производства съедобной оболочки на жировой основе
CN101170908A (zh) 复合冷冻甜食
CA2863351C (en) Shaped baked goods
CA2420802C (en) Cold formed food bars containing fragile baked inclusions
CN100352359C (zh) 用于生产食料的规则薄膜的装置和方法
US4229487A (en) Method and apparatus to make cookies
JP2004533844A5 (ja)
RU2628402C2 (ru) Шоколадный продукт
WO2014110129A1 (en) Caramel, confection comprising the caramel and method of making the confection
WO2012084505A1 (en) Edible receptacles for frozen confections
EP2856879A1 (en) Apparatus for depositing edible mass
JP4866058B2 (ja) 棒状食品の製造方法及び製造装置
JP2002199871A (ja) 棒状食品の製造方法及び製造装置
EP3638050B1 (en) A process for filling a receptacle with frozen confection
JP3571622B2 (ja) 食品の成形方法及び成形装置
JP2002027916A (ja) チョコレート被覆菓子
BRPI0608570A2 (pt) método e aparelho para decorar confeitos
JP2003210150A (ja) 食品の成形方法及び成形装置
Manley et al. Secondary processing of biscuits
JPH11127784A (ja) 食品成形具及びこれを備えた食品成形装置
JPS642633Y2 (ja)

Legal Events

Date Code Title Description
A621 Written request for application examination

Free format text: JAPANESE INTERMEDIATE CODE: A621

Effective date: 20050628

A977 Report on retrieval

Free format text: JAPANESE INTERMEDIATE CODE: A971007

Effective date: 20051216

A131 Notification of reasons for refusal

Free format text: JAPANESE INTERMEDIATE CODE: A131

Effective date: 20051227

A521 Written amendment

Free format text: JAPANESE INTERMEDIATE CODE: A523

Effective date: 20060220

TRDD Decision of grant or rejection written
A01 Written decision to grant a patent or to grant a registration (utility model)

Free format text: JAPANESE INTERMEDIATE CODE: A01

Effective date: 20061107

A61 First payment of annual fees (during grant procedure)

Free format text: JAPANESE INTERMEDIATE CODE: A61

Effective date: 20061201

R150 Certificate of patent or registration of utility model

Free format text: JAPANESE INTERMEDIATE CODE: R150

FPAY Renewal fee payment (event date is renewal date of database)

Free format text: PAYMENT UNTIL: 20091208

Year of fee payment: 3

FPAY Renewal fee payment (event date is renewal date of database)

Free format text: PAYMENT UNTIL: 20101208

Year of fee payment: 4

FPAY Renewal fee payment (event date is renewal date of database)

Free format text: PAYMENT UNTIL: 20101208

Year of fee payment: 4

FPAY Renewal fee payment (event date is renewal date of database)

Free format text: PAYMENT UNTIL: 20111208

Year of fee payment: 5

FPAY Renewal fee payment (event date is renewal date of database)

Free format text: PAYMENT UNTIL: 20111208

Year of fee payment: 5

FPAY Renewal fee payment (event date is renewal date of database)

Free format text: PAYMENT UNTIL: 20121208

Year of fee payment: 6

FPAY Renewal fee payment (event date is renewal date of database)

Free format text: PAYMENT UNTIL: 20121208

Year of fee payment: 6

FPAY Renewal fee payment (event date is renewal date of database)

Free format text: PAYMENT UNTIL: 20131208

Year of fee payment: 7

R250 Receipt of annual fees

Free format text: JAPANESE INTERMEDIATE CODE: R250

R250 Receipt of annual fees

Free format text: JAPANESE INTERMEDIATE CODE: R250

LAPS Cancellation because of no payment of annual fees